СП 370.1325800.2017 (28.12.2023) УСТРОЙСТВА СОЛНЦЕЗАЩИТНЫЕ ЗДАНИЙ. ПРАВИЛА ПРОЕКТИРОВАНИЯ
Утв. Приказом Министерства строительства и жилищно-коммунального хозяйства РФ от 5 декабря 2017 г. N 1615/пр
Solar Shading Devices in Buildings. Design rules
Дата введения - 6 июня 2018 года
Предисловие
Сведения о своде правил
1 ИСПОЛНИТЕЛЬ - федеральное государственное бюджетное учреждение "Научно-исследовательский институт строительной физики Российской академии архитектуры и строительных наук" (НИИСФ РААСН)
2 ВНЕСЕН Техническим комитетом по стандартизации ТК 465 "Строительство"
3 ПОДГОТОВЛЕН к утверждению Департаментом градостроительной деятельности и архитектуры Министерства строительства и жилищно-коммунального хозяйства Российской Федерации (Минстрой России)
4 УТВЕРЖДЕН приказом Министерства строительства и жилищно-коммунального хозяйства Российской Федерации от 5 декабря 2017 г. N 1615/пр и введен в действие с 6 июня 2018 г.
5 ЗАРЕГИСТРИРОВАН Федеральным агентством по техническому регулированию и метрологии (Росстандарт)
6 ВВЕДЕН ВПЕРВЫЕ
В случае пересмотра (замены) или отмены настоящего свода правил соответствующее уведомление будет опубликовано в установленном порядке. Соответствующая информация, уведомление и тексты размещаются также в информационной системе общего пользования - на официальном сайте разработчика (Минстрой России) в сети Интернет
Введение
Настоящий свода правил соответствует требованиям Федерального закона от 30 декабря 2009 г. N 384-ФЗ "Технический регламент о безопасности зданий и сооружений" с учетом части 1 статьи 46 Федерального закона от 27 декабря 2002 г. N 184-ФЗ "О техническом регулировании", Федерального закона от 23 ноября 2009 г. N 261-ФЗ "Об энергосбережении и о повышении энергетической эффективности и о внесении изменений в отдельные законодательные акты Российской Федерации".
Разработка свода правил выполнена авторским коллективом федерального государственного бюджетного учреждения "Научно-исследовательский институт строительной физики Российской академии архитектуры и строительных наук" (д-р техн. наук И.Л. Шубин, канд. техн. наук А.В. Спиридонов, инж. М.А. Кострица, Т.А. Ахмяров) при участии Крымского Федерального Университета им. В.И. Вернадского (д-р техн. наук А.Т. Дворецкий, д-р техн. наук О.В. Сергейчук, канд. техн. наук В.С. Буравченко, архитекторы К.Н. Клевец, М.А. Моргунова), ООО "Девелопмент - Проект" (архитектор А.Е. Блиндер).
Изменение N 1 к настоящему своду правил выполнено авторским коллективом федерального государственного бюджетного учреждения "Научно-исследовательский институт строительной физики Российской академии архитектуры и строительных наук" (НИИСФ РААСН) (д-р техн. наук И.Л. Шубин, канд. техн. наук А.В. Спиридонов) при участии Крымского Федерального Университета им. В.И. Вернадского (д-р техн. наук А.Т. Дворецкий, д-р техн. наук О.В. Сергейчук, канд. техн. наук С.А. Митрофанова, М.А. Моргунова).
Изменение N 2 к СП 370.1325800.2017 разработано авторским коллективом федерального государственного бюджетного учреждения "Научно-исследовательский институт строительной физики Российской академии архитектуры и строительных наук" (д-р техн. наук И.Л. Шубин, канд. техн. наук И.А. Шмаров, канд. техн. наук Е.В. Коркина, В.В. Земцов, Л.В. Бражникова) при участии ФГБОУ ВО Крымский государственный университет (д-р техн. наук А.Т. Дворецкий).
1.1 Настоящий свод правил распространяется на проектирование солнцезащитных устройств при строительстве, реконструкции и капитальном ремонте зданий и сооружений различного назначения.
1.2 Настоящий свод правил устанавливает основные требования к солнцезащитным устройствам (далее - СЗУ), изготовленным с применением различных материалов, при их размещении на наружных ограждающих конструкциях в местах расположения окон, навесных светопрозрачных фасадных систем, внутри помещений и в межстекольном пространстве.
1.3 Настоящий свод правил не распространяется на проектирование солнцезащитных устройств для зенитных фонарей.
В настоящем своде правил использованы нормативные ссылки на следующие документы:
ГОСТ 23166-2021 Конструкции оконные и балконные светопрозрачные ограждающие. Общие технические условия
ГОСТ 24866-2014 Стеклопакеты клееные. Технические условия
ГОСТ 30494-2011 Здания жилые и общественные. Параметры микроклимата в помещениях
ГОСТ 30698-2014 Стекло закаленное. Технические условия
ГОСТ 30826-2014 Стекло многослойное. Технические условия
ГОСТ 32539-2013 Стекло и изделия из него. Термины и определения
ГОСТ 33017-2014 Стекло с солнцезащитным или декоративным твердым покрытием. Технические условия
ГОСТ 33087-2014 Стекло термоупрочненное. Технические условия
ГОСТ 33125-2014 Устройства солнцезащитные. Технические условия
ГОСТ EN 410-2014 Стекло и изделия из него. Методы определения оптических характеристик. Определение световых и солнечных характеристик
ГОСТ EN 14179-1-2015 Стекло закаленное термовыдержанное. Технические требования
ГОСТ Р 54863-2011 Жалюзи и ставни. Определение дополнительного термического сопротивления
ГОСТ Р 55913-2020 Здания и сооружения. Номенклатура климатических параметров для расчета тепловой мощности системы отопления
ГОСТ Р 56926-2016 Конструкции оконные и балконные различного функционального назначения для жилых зданий. Общие технические условия
ГОСТ Р 57795-2017 Здания и сооружения. Методы расчета продолжительности инсоляции
СП 14.13330.2018 "СНиП II-7-81* Строительство в сейсмических районах" (с изменениями N 2, N 3)
СП 20.13330.2016 "СНиП 2.01.07-85* Нагрузки и воздействия" (с изменениями N 1, N 2, N 3, N 4, N 5)
СП 42.13330.2016 "СНиП 2.07.01-89* Градостроительство. Планировка и застройка городских и сельских поселений" (с изменениями N 1, N 2, N 3, N 4)
СП 50.13330.2012 "СНиП 23-02-2003 Тепловая защита зданий" (с изменениями N 1, N 2)
СП 52.13330.2016 "СНиП 23-05-95* Естественное и искусственное освещение" (с изменениями N 1, N 2)
СП 54.13330.2022 "СНиП 31-01-2003 Здания жилые многоквартирные"
СП 60.13330.2020 "СНиП 41-01-2003 Отопление, вентиляция и кондиционирование воздуха" (с изменениями N 1, N 2)
СП 118.13330.2022 "СНиП 31-06-2009 Общественные здания и сооружения" (с изменениями N 1, N 2, N 3)
СП 131.13330.2020 "СНиП 23-01-99* Строительная климатология" (с изменениями N 1, N 2)
СП 345.1325800.2017 Здания жилые и общественные. Правила проектирования тепловой защиты (с изменениями N 1, N 2)
СанПиН 1.2.3685-21 Гигиенические нормативы и требования к обеспечению безопасности и (или) безвредности для человека факторов среды обитания
Примечание - При пользовании настоящим сводом правил целесообразно проверить действие ссылочных документов в информационной системе общего пользования - на официальном сайте федерального органа исполнительной власти в сфере стандартизации в сети Интернет или по ежегодному информационному указателю "Национальные стандарты", который опубликован по состоянию на 1 января текущего года, и по выпускам ежемесячного информационного указателя "Национальные стандарты" за текущий год. Если заменен ссылочный документ, на который дана недатированная ссылка, то рекомендуется использовать действующую версию этого документа с учетом всех внесенных в данную версию изменений. Если заменен ссылочный документ, на который дана датированная ссылка, то рекомендуется использовать версию этого документа с указанным выше годом утверждения (принятия). Если после утверждения настоящего свода правил в ссылочный документ, на который дана датированная ссылка, внесено изменение, затрагивающее положение, на которое дана ссылка, то это положение рекомендуется применять без учета данного изменения. Если ссылочный документ отменен без замены, то положение, в котором дана ссылка на него, рекомендуется применять в части, не затрагивающей эту ссылку. Сведения о действии сводов правил целесообразно проверить в Федеральном информационном фонде стандартов.
В настоящем своде правил применены термины по ГОСТ 23166, ГОСТ 30494, ГОСТ 32539, ГОСТ 33125, ГОСТ Р 55913, ГОСТ Р 57795, СП 50.13330, СП 52.13330, а также следующие термины с соответствующими определениями.
3.1 инсоляционные углы светопроема: Горизонтальные и вертикальные углы, в пределах которых на плоскости светопроема возможно поступление прямых солнечных лучей в помещение.
Примечание - При расчете инсоляционных углов глубина световых проемов принимается равной расстоянию от наружной плоскости стены до внутренней плоскости переплета.
3.1а градусо-сутки периода охлаждения зданий; ГСПО: Показатель, равный произведению значения продолжительности периода охлаждения и разницы средней максимальной температуры наружного воздуха для репрезентативного дня каждого из месяцев периода охлаждения и базовой температуры 21 °C.
3.2 комплексная солнечная карта: Солнечная карта с нанесенными на нее данными о местных особенностях климата - зонами желательной и нежелательной инсоляции, которые соответствуют отопительному периоду и периоду перегрева (периоду охлаждения зданий) в году.
3.2а многофункциональное стекло: Стекло с твердым или мягким солнцезащитным и низкоэмиссионным покрытиями.
3.3 пассивное солнечное отопление: Комплекс мероприятий по использованию тепловой энергии прямой солнечной радиации для отопления зданий без применения дополнительных инженерных систем в холодный период года.
3.4 пассивное солнечное охлаждение: Комплекс мероприятий по уменьшению поступления тепловой энергии прямой солнечной радиации в помещения без применения дополнительных инженерных систем в теплый период года.
3.5 период охлаждения зданий: Период года, в течение которого есть потребность в существенном количестве энергии для охлаждения зданий; характеризуется среднесуточной температурой наружного воздуха ≥ 21 °C.
3.6 солнечная карта: Проекция на горизонтальную плоскость дневной небесной полусферы, на которой отображены солнечные траектории, часовые линии и координатная сетка, состоящая из азимутальных линий и альмукантарат.
Примечания
1 Солнечные карты могут быть ортогональные, стереографические и др.
2 Солнечные карты строятся для конкретной географической широты.
3.7 солнечный фактор: Отношение общей солнечной энергии, поступающей в помещение через светопрозрачную конструкцию, к солнечной энергии, падающей на светопрозрачную конструкцию.
Примечание - Общая солнечная энергия, поступающая в помещение через светопрозрачную конструкцию, представляет собой сумму энергии, непосредственно проходящей через светопрозрачную конструкцию, и той части энергии, которая поглощается светопрозрачной конструкцией (включая солнцезащитные устройства), и, в дальнейшем, передается внутрь помещения.
3.8 солнцезащита: Комплекс мероприятий по уменьшению воздействия вредных факторов прямой солнечной радиации на микроклимат помещений, в частности, перегрева.
3.9 солнцезащитное устройство; СЗУ: Стационарный или регулируемый элемент конструкции здания, предназначенный для защиты помещений от воздействия прямой солнечной радиации.
Примечание - СЗУ, состоящие из набора параллельный ламелей, называются ламинарными.
3.10 солнцезащитный кожух: Пространственная солнцезащитная конструкция с образующими в виде цилиндров, конусов и пр., в которой оборудованы оптимальные вырезы (с точки зрения защиты от прямых солнечных лучей).
3.11 суточный конус солнечных лучей; СКСЛ: Суточный конус солнечных лучей - однопараметрическое множество солнечных лучей, приходящих в одну точку на земной поверхности в течение суток.
3.12 пола СКСЛ: СКСЛ - коническая поверхность, состоящая из двух частей (или пол), смыкающихся в точке пересечения образующей и оси конуса - вершине конуса.
Примечание - СКСЛ состоит из двух пол - летней и зимней.
3.13 теневая маска: Графическое отображение на солнечной карте зоны экранирования небосвода непрозрачным объектом, например, элементами солнцезащитных устройств.
3.14 угол затенения элемента СЗУ: Минимальный угол с вершиной на поверхности остекления между поверхностью остекления и лучом, касательным к контуру затеняющего элемента СЗУ в рассматриваемой плоскости.
Примечание - В ламинарных СЗУ - угол с вершиной на основании соседней ламели между граничной поверхностью солнцезащиты и лучом, касательным к контуру рассматриваемой ламели, определяется в плоскости, перпендикулярной к направляющей ламелей.
3.15 угол раскрытия элемента СЗУ: Максимальный угол с вершиной на поверхности остекления между нормалью к остеклению и лучом, касательным к контуру затеняющего элемента.
Примечание - В ламинарных СЗУ - угол с вершиной в основании соседней ламели между нормалью к граничной поверхности солнцезащиты и лучом, касательным к контуру рассматриваемой ламели, определяется в плоскости, перпендикулярной к направляющей ламелей.
3.16 угловая высота Солнца: Угол между направлением на Солнце и его проекцией на плоскость горизонта.
3.17 электрохромное стекло: Стекло со специальными композитными покрытиями, изменяющее свои оптические и теплотехнические свойства при подаче электрического напряжения.
4.1 Настоящий свод правил распространяется на СЗУ, установленные так, чтобы в рабочем положении они не препятствовали обеспечению нормируемого естественного освещения и инсоляции помещений, защищая помещения от прямых солнечных лучей в период охлаждения зданий.
4.2 Для обеспечения нормативных требований по теплозащите, защите от солнечной радиации и естественному освещению в помещениях различного назначения настоящий свод правил определяет основные типы СЗУ по их местоположению, конструктивным особенностям, материалам изготовления и способам регулирования.
4.3 Проектирование солнцезащитных устройств при строительстве и реконструкции зданий различного назначения должно осуществляться с учетом требований к ним, приведенных в разделе 8.
4.4 Выбор типа солнцезащитных устройств зданий должен осуществляться в соответствии с принципами, установленными в разделе 9.
4.5 Оценку энергетической эффективности применения солнцезащитных устройств зданий в теплый и холодный периоды года следует проводить в соответствии с СП 50.13330, СП 345.1325800, разделом 10 и приложением А.
4.6 Проектирование естественного освещения помещений следует выполнять в соответствии с СП 52.13330.
4.7 Основные конструктивные особенности СЗУ, включая солнцезащитное остекление, приведены в разделах 6 - 9 и приложениях Б, В, Г, Д.
5.1 Для уменьшения воздействия вредных факторов прямой солнечной радиации на микроклимат помещений, в том числе, перегрева в период охлаждения зданий, необходимо применять солнцезащиту зданий. В качестве солнцезащиты используются: рациональная ориентация фасадов по сторонам горизонта, рациональное планирование помещений зданий (устройство лоджий, козырьков на фасадах, ориентированных по солнечным румбам горизонта и пр.), посадка зеленых насаждений у фасадов зданий, оборудование светопрозрачных конструкций солнцезащитными устройствами, солнцезащитные стекла.
5.2 В соответствии с СанПиН 1.2.3685 при устройстве окон западной и юго-западной ориентации в строящихся и реконструируемых зданиях в жилых помещениях квартир, общежитий, основных функциональных помещениях детских образовательных организаций, образовательных организаций, общеобразовательных организаций с интернатами, и других средних специальных учебных заведений, лечебно-профилактических, санаторно-оздоровительных учреждений, учреждений социального обеспечения должны быть предусмотрены средства солнцезащиты.
Комплекс мероприятий по солнцезащите должен быть предусмотрен в помещениях гражданских и производственных зданий, где в соответствии с СП 52.13330 выполняются зрительные работы высокой, очень высокой и наивысшей точности.
5.3 Наличие солнцезащитных устройств может влиять на конструктивное решение и монтаж светопрозрачных конструкций, что должно быть учтено при проектировании зданий и сооружений, в том числе в соответствии с СП 54.13330 и СП 118.13330.
5.4 При проектировании солнцезащитных устройств следует учитывать основные требования к их влиянию на микроклимат помещений и энергосбережение:
- снижение теплопоступлений в помещения в теплый период года (пассивное охлаждение);
- снижение теплопотерь и максимальные теплопоступления в помещения в холодный период года (пассивный солнечный обогрев);
- повышение зрительного комфорта, в том числе, устранение слепящей яркости в производственных и общественных зданиях и сохранение визуального контакта с внешней средой в течение всего года.
5.5 Мероприятия по солнцезащите зданий не должны приводить к нарушению требований по инсоляции и естественному освещению помещений в соответствии с СанПиН 1.2.3685 и СП 52.13330, не должны препятствовать спасению людей пожарными подразделениями через окна в соответствии с [1].
5.6 В соответствии с ГОСТ 24866 установка самоклеящихся солнцезащитных пленок на неупрочненное стекло в остеклении допускается только при условии, что коэффициент поглощения солнечного излучения стекла с установленной на него пленкой, не превышает 50%.
5.7 При проектировании солнцезащитных устройств с применением солнцезащитных и многофункциональных стекол следует предотвращать риск возникновения термического шока остекления, в том числе за счет применения термически упрочненных и закаленных стекол по ГОСТ 30698, ГОСТ 33087 и ГОСТ Р 56926.
5.8 При проектировании наружных солнцезащитных устройств в сейсмических районах Российской Федерации следует учитывать СП 14.13330.
6.1 Проектирование солнцезащитных устройств необходимо проводить с учетом климатических условий региона строительства в соответствии с СП 131.13330.
6.2 В соответствии с СП 50.13330 в районах со среднемесячной температурой июля 21 °C и выше для окон кондиционируемых помещений жилых зданий, больниц, клиник, стационаров и госпиталей, диспансеров, амбулаторно-поликлинических учреждений, родильных домов, домов ребенка, домов-интернатов для престарелых и инвалидов, детских садов, яслей, яслей-садов (комбинатов) и детских домов, а также производственных зданий, в которых должны соблюдаться оптимальные нормы температуры и относительной влажности воздуха в рабочей зоне или по условиям технологии должна поддерживаться постоянная температура и/или температура и относительная влажность воздуха, рекомендуется предусматривать солнцезащитные устройства.
При проектировании следует учитывать требования 5.2.
6.3 При проектировании солнцезащитных устройств для учета как пассивного охлаждения в теплый период года, так и пассивного отопления в холодный период года, необходимо учитывать суммарную солнечную радиацию при действительной облачности в месте строительства и ориентацию фасадов здания.
6.4 Отличия в положениях Солнца для различных ориентаций и времени года определяются по суточному конусу солнечных лучей (рисунок 1).

А - инсолируемая точка; Ф - суточный конус солнечных лучей (Ф1 - летняя пола, Ф2 - зимняя пола); α - угол между образующей СКСЛ и его осью; П - горизонтальная плоскость (поверхность Земли в инсолируемой точке); δ - широта местности и угол наклона оси конуса к плоскости горизонта; i - ось СКСЛ параллельна оси вращения Земли; Sвосх - направление на восход Солнца; Sзах - направление на заход Солнца; азимут восхода (A°восх) Солнца; H°6 - угловая высота Солнца 22.06 в 12 часов.
Рисунок 1 - Геометрическая модель суточного конуса солнечных лучей на указанные даты (22 июня и 22 декабря)
6.5 В основе всех способов формообразования рациональных стационарных солнцезащитных устройств лежит геометрия видимого движения Солнца по небосводу, а именно - геометрическая модель процесса инсоляции точки на поверхности Земли в течение суток. Эта модель представляет собой однопараметрическое множество солнечных лучей, приходящих в одну точку на земной поверхности в течение суток - суточный конус солнечных лучей. Применение суточного конуса солнечных лучей - основа всех способов формообразования солнцезащитных устройств, а также большинства способов определения продолжительности инсоляции. Методика проектирования СЗУ с применением суточного конуса солнечных лучей изложена в приложении Е.
6.6 Применяя СКСЛ можно определять следующие параметры:
- угловую высоту Солнца в полдень H°12 для выбранного дня года - применяется в расчетах параметров положения солнечных коллекторов и фотоэлектрических панелей;
- азимуты восхода A°восх и захода A°зах Солнца для выбранной даты - применяется при определении продолжительности инсоляции;
- время восхода τвосх и захода τзах Солнца.
6.7 Горизонтальная плоскость П (рисунок 1) рассекает полы конуса по двум образующим, которые на горизонтальной проекции указывают направления на восход A°восх и заход A°зах Солнца.
6.8 Значения азимутов восхода и захода Солнца, а также угловые высоты Солнца для указанных дней года показаны на рисунке 2.

а - угловые высоты Солнца; б - азимуты восхода и захода Солнца
Рисунок 2 - Солнечные углы для фасада южной ориентации (45° с.ш.)
6.9 При проектировании СЗУ необходимо учитывать различия в количестве солнечной радиации на фасадах зданий различной ориентации в зимний и летний периоды года (рисунки 3, 4).

1 - прямая солнечная радиация; 2 - рассеянная солнечная радиация
Рисунок 3 - Солнечная радиация на вертикальные фасады различной ориентации в июле месяце (50° с.ш.)

1 - лето; 2 - зима
Рисунок 4 - Солнечная радиация на вертикальные поверхности различной ориентации в зависимости от времени суток (50° с.ш.)
6.10 В приложении А приведена карта зонирования территории Российской Федерации по суммарной солнечной радиации на горизонтальной поверхности при действительных условиях облачности, построенная в соответствии с СП 345.1325800.
Для проектирования рациональных СЗУ по условиям суммарной годовой солнечной радиации на горизонтальную поверхность при действительных условиях облачности определены пять основных зон:
первая - 900 кВт·ч/м2 и менее;
вторая - св. 900 до 1000 кВт·ч/м2;
третья - св. 1000 до 1100 кВт·ч/м2;
четвертая - св. 1100 до 1200 кВт·ч/м2;
пятая зона - св. 1200 кВт·ч/м2.
6.11 В период перегрева (период охлаждения зданий) рекомендуется предусматривать экранирование светопрозрачных конструкций в зависимости от суммарного количества солнечной радиации:
в первой зоне - не регламентируется;
во второй зоне - с 22 мая по 22 июля;
в третьей и четвертой зонах - с 22 апреля по 22 августа;
в пятой зоне - с 22 марта по 22 сентября.
6.12 В климатических районах с преобладанием солнечной погоды в холодный период года необходимо предусматривать возможность обеспечения пассивного солнечного отопления помещений для снижения энергетических затрат на работу систем отопления зданий.
6.13 В приложении А приведена схема районирования территории Российской Федерации по среднемесячной температуре июля, которую следует применять для определения местоположения СЗУ относительно светопрозрачной конструкции.
6.14 Характеристика продолжительности использования энергоресурсов для достижения комфортных условий в период охлаждения - показатель градусо-суток периода охлаждения (ГСПО).
6.15 Расчет ГСПО здания выполняется в порядке, приведенном ниже.
6.15.1 Определяются климатические параметры - среднемесячная температура воздуха и средняя суточная амплитуда температуры воздуха.
Значения ГСПО рассчитываются из наличия в каждом месяце репрезентативных дней с температурой наружного воздуха выше среднемесячной. Максимальное значение температуры наружного воздуха рассчитывается по формуле
tmax = tн + 1/2A, (1)
где tmax - максимальное значение температуры наружного воздуха репрезентативного дня;
tн - среднемесячная температура воздуха;
A - средняя суточная амплитуда температуры воздуха.
6.15.2 Суточный промежуток времени периода охлаждения определяется для каждого месяца теплого периода года.
Максимальная температура, °C:
; (2)
минимальная температура, °C:
, (3)
где t - среднемесячная температура воздуха, °C (СП 131.13330.2020, таблица 3.1);
A - средняя суточная амплитуда температуры воздуха, °C (СП 131.13330.2020, таблица 11.1).
Время минимальной температуры tmin принимается на 15 мин позже рассвета.
Время максимальной температуры tmax принимается в 15 ч по солнечному времени.
6.15.3 График годового хода температуры строится по климатическим данным методом гистограмм. Средняя максимальная температура наружного воздуха изображается в виде прямоугольника, у которого основание равно числу дней месяца, а высота - средней максимальной температуре воздуха в репрезентативный день этого месяца. Кривая годового хода проводится так, что отрезок, который она отсекает с одного конца прямоугольника, равен по площади отрезку, который она прибавляет к нему с другой стороны (рисунок 4а).

Рисунок 4а - Годовой ход средней максимальной температуры наружного воздуха для репрезентативного дня каждого месяца
По графику годового хода средней максимальной температуры определяется начало и конец периода охлаждения.
На графике фиксируются даты перехода температуры воздуха через базовую температуру 21 °C. По разнице между этими датами определяется продолжительность периода охлаждения в сутках. В течение указанного периода средняя максимальная температура воздуха остается выше базового предела (рисунок 4а).
Средняя температура воздуха неполных месяцев по кривой годового хода температуры воздуха на промежутках от начала периода до конца месяца и от начала месяца до конца периода определяется как средняя за эти промежутки.
6.15.4 По графикам годового хода средней максимальной температуры определяется начало и конец периода охлаждения.
По графику определяются даты перехода температуры воздуха через базовую температуру 21 °C. По разнице между этими датами определяется продолжительность периода охлаждения в сутках. В течение указанного периода средняя максимальная температура воздуха остается выше базового предела (рисунок 5).
Средняя температура воздуха неполных месяцев по кривой годового хода температуры воздуха на отрезках от начала периода до конца месяца и от начала месяца до конца периода определяется как средняя за эти промежутки.
6.15.5 Значения ГСПО рассчитываются по формуле
, (4)
где z - продолжительность периода охлаждения, сут;
tб - базовая температура, tб = 21 °C;
tmax,i - средняя максимальная температура наружного воздуха для репрезентативного дня каждого из рассматриваемых месяцев;
i - порядковый номер месяца;
n - количество рассматриваемых месяцев.
6.16 Для проектирования систем кондиционирования воздуха и энергоэффективной солнцезащиты необходимы значения ГСПО зданий и солнечной радиации на вертикальный фасад.
6.17 Значения ГСПО для городов Южного и Северо-Кавказского Федеральных округов Российской Федерации приведены в приложении Н.
7.1 Солнцезащитные устройства классифицируются в соответствии с ГОСТ 33125 по следующим показателям:
- месту установки и положению относительно светопрозрачной конструкции;
- типу солнцезащитного устройства и конструкции затеняющих элементов;
- способу управления и методу регулирования;
- ориентации затеняющих элементов;
- материалу изготовления затеняющих элементов;
- уровню солнцезащиты.
7.2 По месту установки и положению относительно светопрозрачной конструкции различают СЗУ (рисунок 5):
- наружные;
- межстекольные;
- межстекольные с вентилированием межстекольного пространства для установки в двойных фасадах;
- внутренние;
- комбинация некоторых из перечисленных мест установки.

а - наружные СЗУ; б - межстекольные СЗУ; в – межстекольные СЗУ с вентилированием межстекольного пространства; г - внутренние СЗУ
Рисунок 5 - Классификация солнцезащитных устройств по месту установки и положению относительно светопрозрачной конструкции
7.3 По типу солнцезащитного устройства и конструкции затеняющих элементов различают (рисунок 6):
- сплошные (затеняющие) элементы - сплошные непрозрачные или частично прозрачные конструкции различной рациональной конфигурации. К ним относятся козырьки, балконные плиты, вертикальные пилоны, солнцезащитные кожухи. Внешний вид солнцезащитного кожуха зависит от выбранной начальной формы непрозрачной поверхности (цилиндр, конус и пр.), ориентации светопроема и его формы, задач, поставленных перед солнцезащитой. Для предотвращения появления эффекта тепловой ловушки, в верхней части солнцезащитных кожухов следует предусматривать вентиляционные отверстия для удаления теплого воздуха, применять материалы с низкой теплоемкостью, тонкие, с окраской в светлые тона;
- с применением ламелей (затеняющие элементы состоят из ряда параллельных ламелей. Такое решение обеспечивает солнцезащиту с меньшим расходом материалов, оптимальным сопротивлением ветровым нагрузкам).

а - сплошные; б - с применением ламелей одного размера; в - с применением ламелей разного размера; ηV - вертикальный угол затенения; δV - вертикальный угол раскрытия
Рисунок 6 - Типы СЗУ в зависимости от конструкции затеняющих элементов
Если ламели СЗУ одного размера, их следует устанавливать на равном расстоянии. Если ламели по конструктивной необходимости отличаются размерами, рекомендуется устанавливать их на расстояниях прямо пропорциональных ширинам ламелей.
7.4 По способу управления в соответствии с ГОСТ 33125 следует различать следующие основные типы солнцезащитных устройств:
- стационарные, нерегулируемые, включая солнцезащитные и мультифункциональные стекла и стекла с установленными на них солнцезащитными пленками (геометрические параметры этих СЗУ не меняются в течение всего срока эксплуатации);
- регулируемые (геометрические и технические параметры этих СЗУ могут изменяться), включая электрохромные стекла.
7.5 По способу регулирования СЗУ могут быть:
- активно регулируемыми - геометрические параметры таких СЗУ без автоматизированных алгоритмов регулирования и могут быть изменены пользователем напрямую или с применением специальных систем управления;
- циклически регулируемыми - геометрические параметры СЗУ изменяются соответствующей системой управления согласно заданному пользователем или проектом циклу (суточному или годичному);
- адаптивно регулируемыми - геометрические параметры СЗУ изменяются в зависимости от условий внешней среды, в частности температуры воздуха и интенсивности солнечной радиации;
- пассивно-адаптивными - геометрические параметры СЗУ изменяются непосредственно условиями среды за счет температурной деформации или изменения агрегатного состояния материалов;
- активно-адаптивными - геометрические параметры СЗУ изменяются соответствующей системой управления в зависимости от данных оборудования метеорологического наблюдения.
Основные виды управления и методов регулирования СЗУ приведены в ГОСТ 33125.
СЗУ могут быть с несколькими видами управления одновременно.
7.6 По положению направляющих затеняющих элементов следует различать СЗУ (рисунок 7):
- горизонтальные - в которых затеняющие элементы расположены горизонтально. В качестве горизонтальных СЗУ могут использоваться жалюзи с горизонтальными ламелями, летние помещения следующего этажа, такие как балконы и лоджии, а также консоли и козырьки над светопроемами;
- вертикальные - в которых затеняющие элементы расположены вертикально. В качестве вертикальных СЗУ могут использоваться жалюзи с вертикальными ламелями, а также боковые стенки лоджий, ризалиты, и другие внешние элементы дома;
- общего положения - в которых затеняющие элементы расположены под углом к проекции светопроема. В качестве СЗУ общего положения могут использоваться жалюзи с наклонными ламелями;
- комбинированные - состоящие из двух или более систем затеняющих элементов разного положения. В качестве комбинированных СЗУ могут использоваться сотовые конструкции, состоящие из вертикальных и горизонтальных элементов.
В СЗУ плоскости ламелей могут быть расположены как перпендикулярно к плоскости фасада, так и под определенным углом к этой плоскости.

а - горизонтальные; б - вертикальные; в - общего положения; г - комбинированные
Рисунок 7 - Классификация СЗУ по положению затеняющих элементов
7.7 Для изготовления затеняющих элементов солнцезащитных устройств применяются металл, пластик, ткань, дерево, декоративный бетон, стекло, композитные и другие материалы с малыми значениями теплоемкости.
7.8 Для солнцезащиты помещений могут применяться специальные солнцезащитные и мультифункциональные стекла и пленки - разновидность наружных СЗУ.
7.9 СЗУ классифицируют по уровню солнцезащиты в соответствии с таблицей 1 по значениям общего солнечного фактора gобщ (коэффициенту пропускания солнечной радиации).
Значение общего солнечного фактора определяется по формуле
gобщ = gСЗУ·gост, (5)
где gСЗУ - солнечный фактор солнцезащитного устройства;
gост - солнечный фактор остекления.
|
Уровень солнцезащиты |
Солнечный фактор, gобщ, отн. ед. |
|
Очень высокий |
0 - 0,20 |
|
Высокий |
0,21 - 0,40 |
|
Средний |
0,41 - 0,60 |
|
Низкий |
0,61 - 0,80 |
|
Очень низкий |
0,81 - 1,00 |
7.10 В приложении В приведены некоторые виды солнцезащитных устройств и их описания.
8.1.1 При проектировании солнцезащитных устройств зданий следует учитывать требования, направленные на обеспечение теплового и визуального комфорта в помещениях, прочности и устойчивости СЗУ (ветровые и снеговые нагрузки), атмосферостойкости и коррозионной стойкости (эксплуатационные требования).
8.2.1 Для обеспечения теплового комфорта необходимо:
- минимизировать значение общего солнечного фактора в перегревный период года (период охлаждения зданий);
- учитывать фактор вторичных теплопоступлений за счет нагрева СЗУ.
8.2.2 При проектировании солнцезащитных устройств следует учитывать, что СЗУ влияют на тепловой режим помещений, в том числе:
- в период охлаждения за счет снижения поступлений прямой и рассеянной солнечной радиации уменьшается температура воздуха в помещении, что снижает потребляемую мощность систем охлаждения и кондиционирования воздуха;
- за счет вторичных теплопоступлений от солнцезащитного устройства возможны более высокие локальные значения температуры внутреннего воздуха;
- солнцезащитные устройства могут предотвращать прямое облучение людей и поверхностей в помещении прямой солнечной радиацией;
- солнцезащитные устройства могут не препятствовать попаданию солнечной энергии в помещение в отопительный период.
8.2.3 Параметры микроклимата в помещениях должны соответствовать ГОСТ 30494.
8.2.4 В соответствии с таблицей 8 СП 50.13330.2012 коэффициент теплопропускания (коэффициент пропускания солнечной радиации) солнцезащитного устройства должен быть не более:
0,2 - для жилых зданий, больничных учреждений, диспансеров, амбулаторно-поликлинических учреждений, родильных домов, домов ребенка, домов - интернатов для престарелых и инвалидов, детских садов, яслей, яслей-садов и детских домов;
0,4 - производственных зданий, в которых должны соблюдаться заданные параметры микроклимата в рабочей зоне или по условиям технологии должны поддерживаться постоянными температура или температура и относительная влажность воздуха в здании.
8.2.5 Затеняющие элементы СЗУ должны быть с достаточной теплоотдачей, закрепленными с применением подвижных или шарнирных соединений во избежание деформаций вследствие их расширения при нагревании прямой солнечной радиацией.
Рекомендуется устройство солнцезащитных элементов на относе от остекления для обеспечения лучшей теплоотдачи.
8.2.6 В случае установки СЗУ в межстекольном пространстве рекомендуется, для удаления избыточного тепла, обеспечивать вентиляцию этого пространства с выходом нагретого воздуха наружу. В межстекольное пространство воздух может поступать как извне, так и из помещений при условии обеспечения помещений центральной или локализованной приточной вентиляцией. При этом следует учитывать повышенные температуры при выборе комплектующих для остекления (например, герметик), а также, для предотвращения риска возникновения термического шока остекления, следует применять термически упрочненные стекла.
8.3.1 Для обеспечения визуального комфорта необходимо:
- удовлетворение требований по естественному освещению помещений в соответствии с СП 52.13330 (применение СЗУ с рациональным коэффициентом светопропускания);
- визуальный контакт помещений с окружающей средой;
- исключение попадания прямых солнечных лучей в поле зрения работающих;
- обеспечение максимального использования естественного освещения в зданиях;
- минимизация искажения цветопередачи при установке СЗУ.
8.3.2 Светотехнические характеристики некоторых солнцезащитных устройств приведены в приложении Г.
8.3.3 Для повышения уровня естественного освещения в помещениях допускается использование ламелей СЗУ с отражающими покрытиями.
8.3.4 Эффективное средство повышения светового комфорта в помещениях - световые полки (рисунки 7а и 7б), расположенные горизонтально над основным окном.
Преимущества световых полок: улучшение качества и количества дневного света при установке их на южном фасаде здания; возможность проникновения света в дальние зоны помещений, уменьшение бликов; снижение затрат на охлаждение; затенение окон от высокого летнего солнца.
8.3.5 При применении световых полок допускается увеличение глубины помещений зданий и, соответственно, компактность застройки (рисунок 7а). Горизонтальная световая полка увеличивает освещенность помещения на глубину до 7,5 м при высоте помещения 3 м.

Рисунок 7а - Проникновение света в помещение, оборудованное световой полкой
8.3.6 При устройстве наклонного потолка в дополнение к световым полкам дневной свет может достигать глубины 12 м (рисунок 7б).

Рисунок 7б - Световая полка с дополнительным отражателем
8.4.1 Конструкцией СЗУ должна быть обеспечена их прочность и устойчивость, а также сохранение эксплуатационных требований в течение всего периода эксплуатации.
8.4.2 Конструкцией СЗУ должна быть обеспечена их устойчивость к воздействию нагрузок внешней среды, в частности ветровых и снеговых.
8.4.3 Сопротивление солнцезащитных устройств ветровой нагрузке назначается исходя из значений расчетной ветровой нагрузки на вертикальные и горизонтальные элементы СЗУ, определяемых согласно СП 20.13330 и действующими НД.
8.4.4 Ветровой район и соответствующая скорость ветра для оценки сопротивления ветровой нагрузке определяются для места строительства в соответствии с действующими НД.
Класс сопротивления ветровой нагрузке элементов конструкции и СЗУ в целом определяется согласно таблице 2 и в соответствии с действующими НД.
|
Наименование параметра |
Класс сопротивления ветровой нагрузке | |||||||
|
0 |
1 |
2 |
3 |
4 |
5 |
6 |
7 | |
|
Ветровое давление, Па |
<50 |
50 |
70 |
100 |
170 |
270 |
400 |
> 400 |
|
Скорость ветра, м/с |
<9,2 |
9,2 |
10,8 |
12,8 |
16,8 |
21,2 |
25,8 |
> 26,0 |
8.4.5 Для наружных СЗУ, устанавливаемых на здания, расположенные в районах с классами сопротивления ветровой нагрузке 5 - 7, необходимо предусматривать возможность дополнительного укрепления элементов СЗУ на периоды максимальных ветровых нагрузок.
8.4.6 Необходимо исключать возможность образования наледей на элементах конструкций наружных СЗУ, обеспечивая своевременную их очистку или обогрев.
При применении горизонтальных затеняющих элементов солнцезащитных устройств, рекомендуется их располагать под углом более 45° к горизонту для облегчения стекания дождевой воды и сползания снега.
8.5.1 При проектировании систем отопления, вентиляции и кондиционирования воздуха в зданиях с солнцезащитными устройствами следует учитывать, как снижение теплопоступлений в летний период, так и теплопоступления в зимний период года.
8.6.1 Конструкцией СЗУ должна быть обеспечена возможность доступа к ним для обслуживания (чистки стекол и затеняющих элементов от загрязнения и снега, удаления сосулек и т.п.). Для этого могут предусматриваться галереи шириной не менее 50 см между остеклением и СЗУ или внешние кронштейны для подвесных люлек (рисунок 8).

а - с галерей; б - из подвесной люльки; в - из помещений
Рисунок 8 - Обеспечение доступа для обслуживания наружных солнцезащитных устройств
СЗУ, установленные на светопрозрачных конструкциях небольших размеров, где все створки могут открываться внутрь, могут обслуживаться из помещений без применения указанных выше конструкций. СЗУ в малоэтажных зданиях или на первых двух этажах могут обслуживаться с уровня земли с помощью лестниц.
8.6.2 Металлические элементы внешних СЗУ должны быть защищены от коррозии. В случае применения при монтаже сварочных и иных работ, приводящих к повреждению защитного покрытия элементов СЗУ, его следует восстановить.
Деревянные элементы внешних СЗУ должны быть защищены от гниения и повреждения вредителями.
Стеклянные элементы должны быть изготовлены из безопасного стекла (ГОСТ 30698, ГОСТ EN 14179-1), предотвращающего разрушение от термического шока при неравномерном нагревании и падения крупных обломков в случае повреждения (ГОСТ 30826).
8.6.3 СЗУ не должны препятствовать спасению жильцов и сотрудников в случае пожара или других стихийных бедствий в соответствии с [1] и другими НД по пожарной безопасности.
9.1 Необходимые исходные данные для разработки рациональных СЗУ зданий:
- информация о проектируемом здании (климатические условия места строительства, ориентация и геометрические параметры светопрозрачных конструкций, архитектурные решения предполагаемых солнцезащитных устройств);
- количество суммарной солнечной радиации в условиях действительной облачности на вертикальные поверхности, соответствующие ориентации фасадов здания (методика определения приведена в СП 345.1325800, а также на схематических картах приложения А).
9.2 Влияние различных типов солнцезащитных устройств на параметры микроклимата помещений приведено в таблице 3.
Таблица 3
|
Тип СЗУ |
Ограничение теплопоступлений (летний режим) |
Теплопоступления (зимний режим) |
Зрительный комфорт |
|
Наружные |
+++ |
+ (стационарные) или ++ (убираемые) |
+ или ++ |
|
Межстекольные |
++ |
+ (стационарные) или ++ (убираемые) |
+ или ++ |
|
Внутренние |
- |
+ |
+ или ++ |
|
Солнцезащитные стекла |
++ |
+ |
+ |
|
Обозначения: "+++" - очень значительное влияние; "++" - значительное влияние; "+" - незначительно влияние; "-" - нет никакого влияния. | |||
9.3 Для выполнения требований раздела 8 следует предусматривать рациональное расположение СЗУ относительно светопрозрачных конструкций и применение солнцезащитного остекления:
- в первой зоне (суммарная годовая солнечная радиация на горизонтальную поверхность при действительной облачности до 900 кВт·ч/м2, приложение А) СЗУ следует располагать относительно светопрозрачной конструкции с внутренней стороны помещения для повышения визуального комфорта;
- во второй зоне (свыше 900 до 1000 кВт·ч/м2) следует применять межстекольные и внутренние СЗУ. На южных и юго-западных фасадах следует применять, как правило, наружные СЗУ;
- в третьей зоне (свыше 1000 до 1100 кВт·ч/м2) на южных, юго-западных и западных фасадах следует применять наружные СЗУ, на остальных фасадах можно применять межстекольные и внутренние СЗУ;
- в четвертой зоне (свыше 1100 до 1200 кВт·ч/м2) на юго-восточных, южных, юго-западных и западных фасадах следует применять наружные СЗУ, на остальных фасадах - межстекольные и внутренние СЗУ;
- в пятой зоне (свыше 1200 кВт ч/м2) при любой ориентации фасада следует применять наружные СЗУ.
9.4 В зависимости от ориентации светопрозрачной конструкции (рисунок 9) следует выбирать СЗУ следующих типов (по расположению затеняющих элементов):
- горизонтальные - наиболее эффективны при южной ориентации окон;
- вертикальные - целесообразно применять при ориентации окон на север, северо-восток и северо-запад;
- комбинированные - наиболее эффективны при юго-западной и юго-восточной ориентациях;
- СЗУ общего положения - целесообразны при юго-западной, западной и юго-восточной ориентациях;
- солнцезащитные кожухи универсальны - их можно применять при любой ориентации фасада.

Рисунок 9 - Рекомендации по применению СЗУ при различных ориентациях фасадов
Рекомендации по применению СЗУ приведены в приложении Д.
9.5 При проектировании СЗУ, состоящих из отсеков плоскостей или ламелей, предпочтение следует отдавать способу, основанному на применении солнечных карт, из-за его высокой информативности и универсальности. Краткая методика проектирования СЗУ с применением солнечных карт изложена в приложениях Ж и И.
9.6 Солнечная карта представляет собой графический инструмент для расчетов инсоляции и проектирования СЗУ. Она образуется за счет проецирования на горизонтальную плоскость видимой небесной полусферы. На ней отображены солнечные траектории, часовые линии и координатная сетка, состоящая из азимутальных линий и альмукантарат (методика расчета инсоляции приведена в ГОСТ Р 57795). Модель суточного конуса солнечных лучей позволяет строить солнечные карты для любых широт и дней года. Солнечные карты, построенные для географических широт 40° - 60° с.ш. приведены в приложении К.
9.7 Комплексные солнечные карты, на которых нанесены зоны желательной (в отопительный период) и нежелательной (в перегревный период) инсоляции в зависимости от климатических условий места строительства, применяются для разработки рекомендаций по проектированию СЗУ.
9.8 При использовании стационарной солнцезащиты необходимо учитывать коэффициент эффективности СЗУ, который находится в пределах от 0 до 1, показывает снижение в величине падающего солнечного излучения из-за затенения рабочей поверхности другими зданиями, элементами рельефа, деревьями, элементами здания.
9.9 Коэффициент эффективности СЗУ Fsh,0 определяется по формуле
, (6)
где Isol,ps,mean - средняя энергетическая освещенность солнечной радиацией, рассматриваемой поверхности с учетом имеющегося затенения, Вт/м2;
Isol,mean - средняя энергетическая освещенность солнечной радиацией рассматриваемой поверхности при отсутствии затенения;
Fsh - поправочный коэффициент затенения для внешних помех определяется по формуле
Fsh = FhorFovFfin, (7)
где Fhor - поправочный коэффициент затенения для горизонта (рисунок 10), определяется по формуле (8);
Fov - поправочный коэффициент затенения для свесов определяется по формуле (13);
Ffin - поправочный коэффициент затенения для ребер, определяется по формуле (14).
При расчете Fhor приняты следующие допущения:
- прямая и рассеянная радиация поступает от неба выше экранирующего здания;
- экранирующее здание отражает 50% падающей на него рассеянной радиации;
- отраженная от земной поверхности радиация полностью поступает на облучаемую поверхность.
В этом случае расчетная формула принимает вид:
, (8)
где S, D, R - энергетическая освещенность от прямой, рассеянной и отраженной от земли солнечной радиации облучаемой поверхности, Вт/м2;
DII - энергетическая освещенность фасада противоположного здания рассеянной радиацией, Вт/м2;
k - коэффициент светопропускания солнечной радиации СЗУ (таблица Г.1).
9.10 Влияние затенения от горизонта (например, от земли, деревьев или зданий) зависит от угла горизонта, широты, ориентации, местного климата и отопительного периода (рисунок 10).

Рисунок 10 - Угол горизонта α
9.11 Почасовой метод поправочного коэффициента затенения для горизонта Fhor определяют по формуле
если Sh < α, то
, иначе Fhor = 1, (9)
где Sh - высота стояния Солнца;
Sdir - прямое солнечное излучение, поступающее на фасад;
Itot - суммарное излучение, поступающее на фасад.
9.12 Затенение от свесов и ребер зависит от выступа, широты, ориентации и местного климата (рисунок 11). Затенение влияет на прямое и рассеянное излучение.

а - вертикальная секция; б - горизонтальная секция; α - угол свеса; β - угол ребра
Рисунок 11 - Свес и ребро
Для расчета угла свеса и угла ребра используется центральная точка светового проема.
9.13 Почасовой метод расчета поправочного коэффициента для свесов прямого излучения Fov,dir и для рассеянного излучения Fov,dif определяются по формуле
Foν,dir = max{0;1 – [0,5tg(α)/tg(90 – Sh)]}; (10)
Foν,dif = 1 – (α/90).
Коэффициент Fov определяется по формуле
Fov = (Fov,dirSdir + Fov,difD + 1 - Itot)/Itot, (11)
где D - это доля рассеянного излучения для заданной ориентации.
Методика расчета продолжительности инсоляции помещений с различными затеняющими элементами зданий и окружающей застройки приведена в приложении Л.
10.1 Энергетическую эффективность применения солнцезащитных устройств следует оценивать с учетом климатических условий места строительства в соответствии с СП 345.1325800, особенностей проектируемого здания и окружающей застройки в соответствии с СП 50.13330.
10.2 Энергетическая эффективность применения солнцезащитных устройств оценивается путем сравнения с базовым вариантом остекления проектируемого здания (без солнцезащитных устройств).
10.3 При сравнении расходов энергии на охлаждение здания в перегревный период года (период охлаждения зданий) следует учитывать период, в который рекомендуется исключать попадание прямой солнечной радиации в помещения (6.11), расходы энергии на системы вентиляции, кондиционирования и искусственного освещения для базового варианта здания и варианта с установленными солнцезащитными устройствами.
10.4 При оценке расхода энергии на отопление и охлаждение помещений в отопительный период и период охлаждения зданий следует учитывать возможность регулирования солнцезащитных устройств в зависимости от значения солнечной радиации, падающей на внешнюю поверхность остекления.
10.5 Теплопоступления Qs, Вт, от солнечной радиации рассчитываются по формуле
Qs = G·A·gобщ·m·S, (12)
где G - энергетическая освещенность конкретного фасада солнечной радиацией, Вт/м2;
A - площадь оконного проема (включая раму), м2;
m - отношение площади остекления к площади оконного проема;
gобщ - значение общего солнечного фактора, включая СЗУ, при наличии (определяется по формуле (5));
S - коэффициент затенения, учитывающий помехи в виде деревьев, других зданий, солнцезащитных устройств и т.д.
10.6 Значение солнечного фактора (коэффициент общего пропускания солнечной энергии) остекления gост определяют по ГОСТ EN 410 или по данным производителя. Для наиболее распространенных типов остекления при отсутствии данных производителя допускается принимать gост по таблице 4.
|
Тип остекления |
Солнечный фактор gост, отн. ед. |
Коэффициент светопропускания, τ1, отн. ед. |
|
Стекло листовое бесцветное 4М1 |
0,88 |
0,91 |
|
Стекло листовое бесцветное 6М1 |
0,86 |
0,90 |
|
Стекло с солнцезащитным твердым покрытием 6Ст (по ГОСТ 33017-2014) |
0,27 - 0,60 |
0,12 - 0,60 |
|
Однокамерные стеклопакеты | ||
|
4М1-16-4М1 |
0,79 |
0,82 |
|
4М1-16-И4 |
0,66 |
0,80 |
|
6См-16-И4 |
0,14 - 0,60 |
0,11 - 0,62 |
|
6СИ-16-4М1 |
0,18 - 0,60 |
0,18 - 0,80 |
|
6Ст-16-И4 |
0,42 - 0,43 |
0,58 - 0,62 |
|
6Ст-16-К6 |
0,41 - 0,42 |
0,56 - 0,58 |
|
Двухкамерные стеклопакеты | ||
|
4М1-16-4М1-16-4М1 |
0,72 |
0,76 |
|
4М1-16-4М1-16-И4 |
0,61 |
0,73 |
|
4И-16-4М1-16-И4 |
0,53 |
0,71 |
|
6См-16-4М1-16-И4 |
0,11 - 0,60 |
0,10 - 0,60 |
|
6СИ-16-4М1-16-4М1 |
0,14 - 0,60 |
0,17 - 0,70 |
|
6СИ-16-4М1-16-И4 |
0,14 - 0,60 |
0,16 - 0,70 |
|
6Ст-16-4М1-16-4М1 |
0,50 - 0,55 |
0,58 - 0,60 |
|
Примечания 1 Формулы стеклопакетов - в соответствии с ГОСТ 24866. 2 СИ - многофункциональное стекло (солнцезащитное и низкоэмиссионное), См - солнцезащитное стекло с мягким покрытием, Ст - солнцезащитное стекло с твердым покрытием, И - низкоэмиссионное стекло с мягким покрытием, К - низкоэмиссионное стекло с твердым покрытием. 3 Дискретные и интервальные значения коэффициента светопропускания соответствуют номенклатуре стеклопакетов и обусловлены различиями в светотехнических характеристиках. Расстояние между стеклами в стеклопакете не влияет на светопропускание и указано условно. | ||
10.7 Значение солнечного фактора солнцезащитных устройств в значительной степени зависит от местоположения СЗУ относительно остекления. В таблице 5 приведены значения gобщ для жалюзи с горизонтальными затеняющими элементами.
|
Местоположение СЗУ |
Солнечный фактор gобщ, отн. ед. |
|
Наружные жалюзи с горизонтальными затеняющими элементами (угол наклона 65°) |
0,09 |
|
Межстекольные жалюзи с горизонтальными затеняющими элементами (угол наклона 65°) |
0,23 |
|
Внутренние жалюзи с горизонтальными затеняющими элементами (угол наклона 65°) |
0,49 |
В таблице 6 приведены значения gСЗУ для жалюзи с различными углами наклона затеняющих элементов и коэффициентами отражения, в значительной мере влияющими на значения солнечного фактора.
|
Тип жалюзи |
Коэффициент отражения затеняющих элементов, отн. ед. |
Угол наклона ламелей |
Солнечный фактор gСЗУ, отн. ед. | |||
|
Высокий |
Низкий |
Высокий |
Низкий | |||
|
Горизонтальные |
0,9 |
0,1 |
0° |
0,55 |
0,58 | |
|
45° |
0,33 |
0,51 | ||||
|
90° |
0,12 |
0,46 | ||||
|
Вертикальные |
0,9 |
0,1 |
0° |
0,59 |
0,59 | |
|
45° |
0,38 |
0,52 | ||||
|
90° |
0,12 |
0,46 | ||||
Фактические значения солнечного фактора СЗУ предоставляются производителями солнцезащитных устройств.
10.8 При оценке теплопотерь из помещений в отопительный период в соответствии с ГОСТ Р 54863 следует учитывать возможное дополнительное повышение термического сопротивления светопрозрачных конструкций при применении наружных ставен и жалюзи.
10.9 При установке фотоэлектрических панелей на горизонтальные затеняющие элементы наружных СЗУ, расположенных на южных фасадах зданий, рекомендуется обеспечивать наклон этих затеняющих элементов под углом к горизонту, соответствующим широте местности.
10.10 При оценке энергетической эффективности СЗУ необходимо учитывать три части падающего потока солнечного излучения:
- прямое солнечное излучение;
- рассеянное излучение солнечной радиации, поглощенной атмосферой;
- отраженное излучение, которое соответствует отражению прямого и рассеянного излучения на Земле.
10.11 При расчете эффективности горизонтальных Fov и Ffin СЗУ считается, что:
- прямая и рассеянная радиация поступает от неба ниже свеса;
- от свеса отражается 50% радиации, отраженной от земной поверхности (при этом, считается, что земная поверхность освещается только половиной неба);
- отраженная от земной поверхности радиация полностью поступает на облучаемую поверхность.
В этом случае расчетные формулы имеют вид:
; (13)
, (14)
где S, D, R - энергетическая освещенность от прямой, рассеянной и отраженной от Земли солнечной радиации облучаемой поверхности, Вт/м2;
Q - энергетическая освещенность земной поверхности суммарной солнечной радиацией, Вт/м2;
r - альбедо земной поверхности (определяется с учетом наличия снежного покрова);
k - коэффициент светопропускания солнечной радиации СЗУ (таблица Г.1);
D┴ - энергетическая освещенность ребра рассеянной солнечной радиацией, Вт/м2;
R┴ - энергетическая освещенность ребра отраженной от земной поверхности радиацией, Вт/м2;
α - угол затенения козырьком;
β - угол затенения вертикальным ребром.
10.12 Для СЗУ общего положения можно применять упрощенную формулу для расчета их энергетической эффективности
, (15)
где значения S, D и R определяются исходя из ориентации фасада или по данным метеорологических наблюдений.
10.13 По количеству солнечных часов в году территория Российской Федерации разделяется на 3 зоны (рисунок 12):
- менее 1700 ч/год;
- от 1701 до 2000 ч/год;
- более 2001 ч/год.

Рисунок 12 - Количество солнечных часов в год на территории Российской Федерации
10.14 Количество суммарной солнечной радиации в Южном Федеральном округе показано на рисунках 13 и 14.

Рисунок 13 - Карта изолиний среднечасовой суммарной солнечной радиации для южного фасада в отопительный период, Вт/м2

Рисунок 14 - Карта изолиний количества суммарной солнечной радиации на вертикальную поверхность при действительных условиях облачности на южный фасад за год, МДж/м2
10.15 Порядок построения комплексных солнечных карт приведен в приложении М.
11.1 Расчеты проводят для июля на 12 часов дня, кроме оговоренных ниже случаев.
11.2 Выбирают типовое помещение здания:
- для жилых зданий и общежитий - комната с наибольшей площадью остекления, обращенная светопроемом на юг;
- для дошкольных образовательных организаций - игровая, обращенная большей площадью окон на юг или на запад (в этом случае расчет делается для 15 часов дня);
- для общеобразовательных организаций - один из кабинетов: математики, черчения, рисования, музыки, для изучения языков, обращенных светопроемом на юг;
- для образовательных (кроме общеобразовательных дошкольных образовательных организаций) и офисных зданий - помещение, наибольшее по площади остекления, обращенное светопроемом на юг или на запад (в этом случае расчет делается для 15 часов дня).
11.3 Определяют среднюю наружную температуру воздуха для июля на 12 ч (15 ч) дня tн12,15, °C, по [2, таблица 2.6].
11.4 Вычисляют тепловой поток прямой и рассеянной солнечной радиации, Вт/с, через световой проем без влияния остекления по формуле
qi = qос,i·aп, (11.1)
где qос,i - тепловой поток от солнечной радиации, поступающий на световой проем, определяемый по формуле (11.2), Вт/ч;
aп - показатель поглощения теплового потока солнечной радиации, определяемый по приложению П.
Тепловой поток от солнечной радиации, поступающий на световой проем, Вт/с, рассчитывают по формуле
qoc,i = 0,0003·(qпK1 + qрK2)K3τ2Aoc, (11.2)
где qп, qр - поверхностная плотность теплового потока, Вт/ч·м2, от прямой (qп) и рассеянной (qр) солнечной радиации определяется по приложению П;
K1, K2 - коэффициенты облученности прямой и рассеянной солнечной радиацией соответственно, определяются по приложению П;
K3 - коэффициенты теплопропускания солнцезащитных устройств (шторы, карнизы, жалюзи и другие изделия заводского изготовления), принимаемые по таблице 8 СП 50.13330.2012;
τ2 - коэффициенты, учитывающие затенение светового проема переплетами оконной конструкции, рассчитываемые по формуле (10.3) СП 345.1325800.2017;
Aос - площадь светового проема (остекления), м2.
11.5 Рассчитывают температурную добавку нагрева помещения от солнечной радиации по формуле
, (11.3)
где qi - определяется по формуле (11.1);
V - объем помещения, м3;
ρ - плотность воздуха, кг/м3;
C - теплоемкость воздуха, Дж/(кг·°C).
11.6 Рассчитывают максимально возможное значение общего коэффициента пропускания солнечной радиации остеклением по формуле
. (11.4)
11.7 Подбирают стеклопакет со значением общего коэффициента пропускания солнечной радиации, удовлетворяющим неравенству
g ≤ gmax/kрумб, (11.5)
где kрумб - коэффициент поправки на румб светопроема, для южной, восточной и западной ориентации определяется по таблице 7 в зависимости от типа остекления; для северной ориентации kрумб = 1.
|
Тип остекления (формула стеклопакета) |
Ориентация и географическая широта светопроема | |||||
|
Южнее 48° |
48° - 58° |
Севернее 58° | ||||
|
южная |
вост./зап. |
южная |
вост./зап. |
южная |
вост./зап. | |
|
4С-16-4М1 |
0,70 |
0,75 |
0,80 |
0,85 |
0,90 |
0,95 |
|
4С-16-4М1-16-4М1 |
0,68 |
0,73 |
0,78 |
0,82 |
0,87 |
0,92 |
|
6СИ-16-4М1 |
0,69 |
0,74 |
0,78 |
0,83 |
0,88 |
0,93 |
|
6СИ-16-4М1-16-4М1 |
0,67 |
0,71 |
0,76 |
0,81 |
0,86 |
0,90 |
|
4И-16-4М1 |
0,77 |
0,83 |
0,88 |
0,94 |
0,99 |
1,00 |
|
4И-16-4М1-16-4М1 |
0,75 |
0,81 |
0,86 |
0,92 |
0,97 |
1,00 |
11.8 Допускается отклонение g в бóльшую сторону не более чем на 0,1gmax.
Приложение А

Рисунок А.1 - Схематическая карта суммарной годовой солнечной радиации на горизонтальную поверхность в условиях действительной облачности, кВт·ч/м2

Рисунок А.2 - Схематическая карта среднемесячных температур июля
Приложение Б
В настоящем приложении приведены обобщенные характеристики солнцезащитных и многофункциональных современных стекол (таблица Б.1). Более подробные данные о характеристиках солнцезащитных и многофункциональных стекол можно получить у производителей стекла и стеклопакетов.
Таблица Б.1
|
Наименование стекол |
Солнечный фактор g, отн. ед. |
Коэффициент светопропускания, отн. ед. |
|
Солнцезащитные |
0,15 - 0,60 |
0,15 - 0,70 |
|
Многофункциональные |
0,20 - 0,60 |
0,20 - 0,75 |
Приложение В
|
Наименование |
Схема |
Описание |
|
1 Внешняя рулонная штора |
|
Опускается вертикально вниз в плоскости окна. Затеняющий элемент - полотнище (чаще всего - экран из стеклоткани, полиэстера или акрила, в ряде случаев металлизированный), с защитным коробом для сворачивания полотнища и боковыми направляющими шинами или тросами |
|
2 Внешние венецианские жалюзи |
|
Горизонтальные (металлические, стеклянные и др.) пластины крепятся снаружи окна. Могут быть подняты или опущены, а также установлены под нужным углом для регулирования естественного освещения в помещениях. Могут быть с защитным коробом и направляющими профилями вдоль окна |
|
3 Откидная маркиза |
|
Устройство, включающее кронштейн, который выдвигается вперед при опускании навеса. Крепится над окном. Оборудуется тканью и коробом для втягивания ткани |
|
4 Складывающаяся маркиза |
|
Устройство, предназначенное, в основном, для витрин и открытых веранд (навес). Оснащается двумя и более выдвижными кронштейнами, которые обеспечивают натяжение ткани (например, акриловой). Выдвигается на значительные расстояния (3 м и более). Для таких навесов предусматриваются закрытые короба для защиты ткани после ее втягивания |
|
5 Скользящая маркиза |
|
Устройство представляет собой комбинацию внешней вертикальной шторы и откидного навеса. В нижней части окна полотнище ткани отклоняется вперед. Подходит для высоких и узких окон |
|
6 Маркизы для зимнего сада |
|
Разработаны для снижения воздействия солнечной энергии на полностью застекленные зимние сады, обеспечивая внешнее покрытие наклонной крыши и, иногда, фронтальной части зимнего сада. Возможны различные формы и размеры, оснащаются акриловой тканью или стекловолокном |
|
7 Рольставни |
|
Устройство, представляющее собой ряд горизонтальных ламелей, выполненных из алюминия или пластика, скрепленных вместе на шарнирах и скользящих вверх и вниз. Предназначаются для окон и дверей. Помимо защиты от прямых солнечных лучей, в закрытом положении предназначены для защиты от незаконного проникновения через окна. Способствуют повышению сопротивления теплопередаче окон в отопительный период |
|
8 Световые полки |
|
Специальные козырьки, расположенные таким образом, чтобы защищать помещения от прямых солнечных лучей и одновременно обеспечивать дополнительное естественное освещение помещений за счет отражения от верхней поверхности световой полки |
|
9 Комбинированные устройства |
|
Горизонтальные козырьки, совмещенные с горизонтальными жалюзи. Позволяет значительно уменьшать вынос козырька |
|
10 Солнцезащитные кожухи |
|
Пространственные конструкции, устанавливаемые на фасадах здания. Исходя из задач, которые ставятся перед проектируемой солнцезащитой, определяется участок небосвода, от которого необходимо защитить световой проем |
|
Наименование |
Схема |
Описание |
|
1 Венецианские жалюзи |
|
Наиболее распространенные внутренние СЗУ, состоящие из ламелей (из алюминия, дерева или пластика). Ламели за счет вращения регулируются от открытого состояния до полностью закрытого. Ламели могут быть перфорированными для лучшего естественного освещения помещений |
|
2 Роликовая штора |
|
Опускается вертикально вниз в плоскости окна с его внутренней стороны. Могут применяться металлизированные ткани для лучшего отражения солнечной радиации |
|
3 Вертикальные жалюзи |
|
Система состоит из ряда вертикальных ламелей. Применяются, в основном, ткани, реже пластик или алюминий |
|
4 Гофрированные жалюзи |
|
Оснащены гофрированной тканью, которая опускается вниз вдоль плоскости окна. Удобны для нестандартных форм окон, могут применяться для трапециевидных или полукруглых форм окон |
Приложение Г
В настоящем приложении приведены характеристики некоторых солнцезащитных устройств (таблица Г.1). Более подробные данные можно получить у производителей СЗУ.
Таблица Г.1
|
Вид СЗУ |
Тип СЗУ |
Солнечный фактор gСЗУ, отн. ед. |
Коэффициент светопропускания, отн. ед. |
|
Наружные регулируемые (убираемые) |
Жалюзи с горизонтальными затеняющими элементами (угол наклона ламелей от 85° до 0° к горизонту) |
0,10 - 0,30 |
0,10 - 0,60 |
|
Внешняя рулонная штора |
0,15 |
0,10 | |
|
Рольставни |
0,10 |
0,02 | |
|
Межстекольные |
Жалюзи с горизонтальными затеняющими элементами с невентилируемым межстекольным пространством (угол наклона ламелей от 85° до 0° к горизонту) |
0,23 - 0,50 |
0,10 - 0,45 |
|
Внутренние |
Жалюзи с горизонтальными затеняющими элементами (угол наклона ламелей от 85° до 0° к горизонту) |
0,45 - 0,65 |
0,10 - 0,45 |
|
Солнцезащитное остекление |
Постоянно установлено в качестве наружного стекла |
0,15 - 0,60 |
0,15 - 0,75 |
|
Солнцезащитные пленки |
Наклеено на наружное стекло |
0,30 - 0,50 |
0,15 - 0,45 |
Приложение Д
Эффективность применения тех или иных солнцезащитных устройств зависит от их расположения, ориентации фасадов. В настоящем приложении даны некоторые рекомендации по применению различных СЗУ (таблица Д.1).
|
Тип СЗУ |
Вариант СЗУ |
Пассивное охлаждение |
Пассивное отопление |
Снижение теплопотерь зимой |
Тепловой комфорт |
Зрительный комфорт |
Связь с наружным простр-вом |
Рекомендуемая ориентация фасадов |
Устойчивость к ветровым нагрузкам |
Срок службы |
|
Наружные регулируемые (убираемые) |
Жалюзи с горизонтальными затеняющими элементами |
++ |
++ |
- |
++ |
+/- |
+/- |
В, Ю, З |
+ |
+ |
|
Внешняя рулонная штора |
++ |
++ |
+/- |
++ |
+ |
+ |
В, Ю, З |
+/- |
+ | |
|
Рольставни |
++ |
++ |
+ |
++ |
- |
+/- |
В, Ю, З |
++ |
+ | |
|
Маркизы |
+ |
++ |
- |
++ |
+ |
+ |
В, Ю, З |
+/- |
+ | |
|
Наружные регулируемые за счет поворота затеняющих элементов (не убираемые) |
Жалюзи с горизонтальными затеняющими элементами |
++ |
+ |
н/а |
++ |
+/- |
+ |
Ю |
++ |
++ |
|
Наружные нерегулируемые (не убираемые) |
Жалюзи с горизонтальными затеняющими элементами |
+ |
+/- |
н/а |
+ |
+/- |
+ |
Ю |
++ |
++ |
|
Жалюзи с вертикальными затеняющими элементами |
+ |
+/- |
н/а |
+/- |
+/- |
+ |
В, З, С |
++ |
++ | |
|
Межстекольные |
Жалюзи с горизонтальными затеняющими элементами с невентилируемым межстекольным пространством Жалюзи с горизонтальными затеняющими элементами с вентилируемым межстекольным пространством |
+ |
++ |
н/а |
+ |
+ |
+ |
В, Ю, З |
н/а |
++ |
|
++ |
++ |
н/а |
++ |
+ |
+ |
В, Ю, З |
н/а |
++ | ||
|
Металлизированные сворачивающиеся экраны |
+ |
++ |
+/- |
+ |
++ |
+ |
В, Ю, З |
н/а |
+ | |
|
Солнцезащитное остекление |
Постоянно установлено в качестве наружного стекла |
+ |
- |
н/а |
+ |
- |
++ |
В, Ю, З, С |
н/а |
++ |
|
Солнцезащитные пленки |
Наклеено на наружное стекло |
+ |
- |
н/а |
+ |
- |
++ |
В, Ю, З, С |
н/а |
+ |
|
Обозначение эффективности солнцезащитных устройств: "++" - очень высокая; "+" - высокая; "+/-" - средняя; "-" - низкая; "н/а" - неактуально | ||||||||||
Приложение Е
Е.1 Область применения
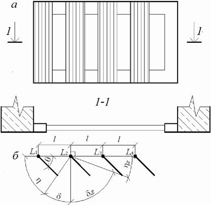
Для оптимального формообразования стационарных солнцезащитных устройств, представляющих пространственные структуры - солнцезащитные кожухи (цилиндры, конусы и другие криволинейные или гранные поверхности) целесообразно применять способ, основанный на применении суточного конуса солнечных лучей.
Е.2 Формообразование СЗУ с применением СКСЛ
Графоаналитический способ формообразования СЗУ основан на применении суточного конуса солнечных лучей (рисунок 1), который выполняется на компьютере в одной из известных графических программ.
Е.2.1 Часовая диаграмма изображена на дополнительной проекции (III) в направлении оси конуса. Для любого положения Солнца может быть найдена соответствующая образующая конуса, например li и определено время суток τ (рисунок Е.1).

H° - угловая высота солнца; П - горизонтальная плоскость; α - угол между образующей конуса и его осью; A°зах – азимут захода солнца; δ - широта местности; τ - часовой угол; li - образующая конуса
Рисунок Е.1 - Прямоугольные проекции суточного конуса солнечных лучей
Е.2.2 Для заданной географической широты δ и произвольных суток угол α между образующей конуса и его осью определяется по формуле
, (Е1)
где 66,55° - наклон оси вращения Земли к плоскости ее орбиты;
360° - угол, который за год описывает Земля, двигаясь вокруг Солнца;
365 - число дней в году;
N - число суток, которые отсчитываются от 22 июня до заданного дня года конца периода перегрева.
Минимальные значения угла α соответствуют дням солнечного противостояния 22 июня и 22 декабря и равны 66,5°. Угол α увеличивается к дням равноденствия 22 сентября и 21 марта. В дни равноденствия суточный конус солнечных лучей вырождается в плоскость. Это значит, что угол α равен 90°, а 2α - 180°, т.е. плоскость.
Угловая высота Солнца в полдень H° определяется по формуле (см. рисунок Е.1)
H° = 180° - δ - α. (Е.2)
Для широты местности 45° 22 июня (рисунок Е1) угловая высота Солнца равна
H°6 = 180° - 45° - 66,5° = 68,5°.
Правая нижняя пола СКСЛ соответствует 22 декабря (рисунок Е.1). Угловая высота Солнца определяется по формуле
H°12 = α – δ = 66,5° - 45° = 21,5°.
Для дней осеннего и весеннего равноденствий плоскость, в которую вырождается СКСЛ, совпадает с осью x2 и для 45° с.ш. угловая высота солнца H°3 = H°9 равна 45°.
По суточному конусу солнечных лучей могут быть определены азимуты восхода и захода Солнца. Значения этих углов приведены на рисунке 2.
Е.2.3 Размеры и контуры солнцезащитного устройства определяются для заданного периода затенения. Для этого определяется линия пересечения поверхности солнцезащитного устройства и суточного конуса солнечных лучей для граничных дней периода затенения по следующему алгоритму:
- вычерчивается светопроем на фасаде соответствующей ориентации;
- выбирается пространственная форма солнцезащитного устройства в зависимости от пластики фасада;
- определяется период перегрева здания для соответствующих климатических условий места строительства по 6.11. По формуле (Е.1) определяется угол α при вершине конуса;
- задается (вычерчивается) СКСЛ (рисунок Е.1) с половиной угла α при вершине конуса, рассчитанный по алгоритму Е.2.2;
- СКСЛ ориентируется так, чтобы его вершина совпадала с расчетной точкой (РТ) (рисунки Е.2, Е.3), а его ось принадлежала вертикальной плоскости, расположенной в направлении север - юг и была наклонена к плоскости горизонта под углом δ (широта местности). Определение расчетной точки показано на рисунке Ж.2;
- строится контур СЗУ (рисунки Е.2, Е.3) как линия пересечения поверхности солнцезащитного устройства и суточного конуса солнечных лучей.
Пример 1
Спроектировать СЗУ на южном фасаде в виде цилиндра с горизонтальной осью, параллельной фасаду здания. Место строительства г. Сыктывкар (61° с.ш.):
- вычерчивается светопроем на фасаде соответствующей ориентации. В настоящем примере фасад южный;
- в качестве поверхности СЗУ используется цилиндр, ось i которого горизонтальна и параллельна плоскости фасада (рисунок Е.2).
В случае, если место строительства г. Сыктывкар (в соответствии с 6.11 вторая зона - св. 900 до 1000 кВт ч/м2), период перегрева (период охлаждения зданий) - с 22 мая по 22 июля:
- число суток периода перегрева от 22 марта до 22 сентября; N22.09 = 32 дня;
- угол при вершине СКСЛ α определяется по формуле (Е.1):
α = 70°;
- ориентируется СКСЛ так, чтобы его вершина совпадала с расчетной точкой РТ, а его ось соответствовала вертикальной плоскости, расположенной в направлении север-юг и была наклонена к плоскости горизонта под углом δ;
- строится контур СЗУ (рисунок Е.2) как линия пересечения поверхности цилиндра и суточного конуса солнечных лучей.

1 - суточный конус солнечных лучей; 2 – солнцезащитное устройство; 3 - цилиндр; 4 - контур СЗУ; i - ось цилиндра
Рисунок Е.2 - Солнцезащитное устройство в виде части цилиндра с осью, параллельной плоскости фасада
Пример 2
Спроектировать СЗУ на южном фасаде в виде цилиндра с горизонтальной осью, перпендикулярной к фасаду здания. Место строительства г. Воронеж (51° с.ш.):
- вычерчивается светопроем на фасаде соответствующей ориентации. В настоящем примере фасад южный;
- в качестве поверхности СЗУ используется цилиндр, ось i которого горизонтальна и перпендикулярна к плоскости фасада и который легко может быть реализован в виде маркизы (рисунок Е.3).

1 - суточный конус солнечных лучей; 2 – солнцезащитное устройство; 3 - контур СЗУ; i - ось цилиндра
Рисунок Е.3 - Солнцезащитное устройство в виде части цилиндра с осью, перпендикулярной плоскости фасада
В настоящем примере в качестве места строительства определен г. Воронеж (по 6.11 третья зона - от 1001 до 1100 кВт ч/м2), период перегрева (период охлаждения зданий) - 22 апреля по 22 августа:
- число суток периода перегрева с 22 июня до 22 августа N22.08 = 62;
- угол при вершине СКСЛ α определяется по формуле (Е.1):
α = 79°;
- СКСЛ ориентируется так, чтобы его вершина совпадала с расчетной точкой, а его ось принадлежала вертикальной плоскости, расположенной в направлении север-юг и была наклонена к плоскости горизонта под углом δ;
- строится контур СЗУ (рисунок Е.3) как линия пересечения поверхности цилиндра и суточного конуса солнечных лучей.
Приложение Ж
Ж.1 Область применения
Ж.1.1 Солнечная карта представляет собой графический инструмент для проектирования солнцезащитных устройств и определения периода инсоляции.
Ж.2 На солнечной карте изображены:
- азимутальные линии 1 (рисунок Ж.1), с помощью которых определяют азимут Солнца;
- концентрические круги 2 - альмукантараты, с помощью которых определяют высоту Солнца;
- траектории движения Солнца по небосводу 3 - для 22 числа каждого месяца;
- дуги окружностей 4 - солнечные часовые линии.

а - построение теневой маски; б - солнечная карта
Рисунок Ж.1 - Построение теневой маски на солнечной карте
Примечание - Альмукантарата 0° совпадает с окружностью горизонта, а альмукантарата 90° вырождается в одну точку - точку зенита.
Ж.3 Расчетная точка
Расчетная точка (РТ) - точка, которая принимается в вертикальной срединной секущей плоскости, перпендикулярной к поверхности светопроема и лежащая на его нижнем внутреннем контуре.

σ - вертикальная срединная секущая плоскость, перпендикулярная к поверхности светопроема
Рисунок Ж.2 - Построение расчетной точки
Ж.4 Теневая маска
Теневая маска - графическое отображение на солнечной карте зоны экранирования небосвода определенным непрозрачным объектом. На рисунке Ж.1 - зона 12223242.
Ж.5 Построение теневой маски
Для светопроема на солнечной карте теневая маска определяется в следующей последовательности:
- строится проекция затеняющего объекта (СЗУ, рядом стоящее здание) на небосвод (центр проекции - расчетная точка);
- полученная проекция на небосвод проецируется из надира на горизонтальную плоскость, проходящую через РТ;
- 12223242 и есть проекция затеняющего объекта (СЗУ, рядом стоящее здание) на небосвод.
Ж.6 Алгоритм формообразования СЗУ в виде горизонтального козырька при заданной зоне перегрева
Чтобы определить форму СЗУ в виде горизонтального козырька необходимо:
- выбрать солнечную карту для заданной местности (например, 51° с.ш., что соответствует третьей зоне, Приложение А) и согласно 6.11 учесть период перегрева с 22 апреля по 22 августа (рисунок Ж.3);
- если ориентация фасада южная, то эффективным СЗУ согласно 9.4 (рисунку 8) может быть горизонтальный козырек;
- для 51° с.ш. согласно 6.12 теневая маска козырька должна закрывать зону перегрева (ЗП) на солнечной карте (рисунок Ж.3), соответствующей периоду с 22 апреля по 22 августа;
- по выбранной теневой маске на плане и разрезе светопроема строятся солнечные лучи из точек на границе козырька для выбранных азимутальных направлений - направление 1, направление 2 и т.д. (на рисунке Ж.3 - направление 1, направление 2 и т.д.);
- определяются угловые высоты для выбранных азимутальных направлений и строятся солнечные лучи на разрезе II-II, проходящие через РТ до пересечения с козырьком;
- на плане лучи с построенными на них точками козырька поворачиваются до соответствующего азимутального направления, например, направление 5. Полученные точки соединяются плавной кривой.
Это и есть горизонтальная проекция контура козырька.

а - солнечная карта для 52° с.ш.; б - план козырька; в - разрез козырька; Напр. - азимутальное направление
Рисунок Ж.3 - Формообразование козырька
На рисунке Ж.4 изображены различные СЗУ, состоящие из отсеков плоскостей и ламелей, а также их теневые маски.

а - горизонтальный козырек; б - криволинейный козырек; в - составной козырек; г - козырек с экраном на относе; д - вертикальные экраны перпендикулярные фасаду; е - комбинированное СЗУ; ж - вертикальные экраны, расположенные под углом к фасаду; и - регулируемые вертикальные экраны; к - комбинированное (сотовое) СЗУ с наклонными горизонтальными экранами; л - комбинированное (сотовое) СЗУ; м - регулируемые горизонтальные экраны; н - комбинированное (сотовое) СЗУ с наклонными вертикальными экранами
Рисунок Ж.4 - Солнцезащитные устройства, состоящие из отсеков плоскостей и ламелей и их теневые маски
Ж.7 Выбор СЗУ для светопроемов заданной ориентации
На солнечную карту с наложенной теневой маской фасада накладываются теневые угломеры (приложение И) так, чтобы плоскость фасада на угломере совпадала с плоскостью фасада на теневой маске.
Теневая маска СЗУ - часть небесной сферы между кривой выбранного угла раскрытия и плоскостью фасада. Выбирать следует тот угол инсоляции, теневая маска которого наиболее эффективно закрывает область нежелательной инсоляции (рисунки Ж.8, Ж.9, Ж.10, заштрихованные зоны перегрева ЗП3, ЗП2, ЗП1), максимально открывая при этом нейтральную часть небесной сферы (рисунок Ж.5)
Примечания
1 При прочих равных или сопоставимых показателях рекомендуется использовать горизонтальные, вертикальные или комбинированные СЗУ вследствие их большей технологичности по сравнению с СЗУ общего положения.
2 При невозможности обеспечить эффективную солнцезащиту с углом раскрытия δ ≥ 40° рекомендуется применять регулируемые СЗУ.

Рисунок Ж.5 - Пример применения вертикальных СЗУ для северо-северо-западного фасада
Для негоризонтальных СЗУ следует уточнить положение солнцезащитных ламелей, в частности угол между плоскостью остекления и ламелями Θ. Определяющие СЗУ углы задаются в натуральную величину на характерном сечении СЗУ - плоскости, перпендикулярной к направляющей ламелей (рисунок Ж.6).

а - фасад; б - разрез 1-1
Рисунок Ж.6 - Параметры проектируемого солнцезащитного устройства с вертикальными ламелями
Для этого на плоскости характерного сечения СЗУ, на прямой, параллельной плоскости остекления изображается ряд оснований ламелей (L1, L2...) с одинаковым интервалом. Угол Θ откладывается от плоскости остекления, угол δ откладывается от перпендикуляра к плоскости стекла.
Построенные углы Θ и δ позволяют определить угол инсоляции δZ.
Примечания
1 Если затеняющие ламели перпендикулярны к плоскости остекления (Θ = 90°), тогда δ = δZ.
2 Для минимизации расхода материала ламелей рекомендуется принимать Θ = δ.
Определив угол δZ, мы можем изобразить его теневую маску.
На рисунке Ж.7 изображены теневые угломеры для расчета горизонтальных, вертикальных и комбинированных СЗУ.

а - теневой угломер; б - теневая маска горизонтального СЗУ; в - теневая маска вертикального СЗУ; г - теневая маска комбинированного СЗУ
Рисунок Ж.7 - Теневые угломеры для расчета горизонтальных, вертикальных и комбинированных СЗУ

Рисунок Ж.8 - Солнечная карта с зоной перегрева в период между 22 мая и 22 июля (ЗП 3)

Рисунок Ж.9 - Солнечная карта с зоной перегрева в период между 22 апреля и 22 августа (ЗП 2)

Рисунок Ж.10 - Солнечная карта с зоной перегрева в период между 22 марта и 22 сентября (ЗП 1)
Приложение И

Рисунок И.1 - Теневой угломер для расчета горизонтальных и вертикальных солнцезащитных устройств

Рисунок И.2 - Теневой угломер для расчета СЗУ общего положения западной ориентации при угле наклона направляющей ламелей 30°

Рисунок И.3 - Теневой угломер для расчета СЗУ общего положения западной ориентации при угле наклона направляющей ламелей 60°

Рисунок И.4 - Теневой угломер для расчета СЗУ общего положения восточной ориентации при угле наклона направляющей ламелей 30°

Рисунок И.5 - Теневой угломер для расчета СЗУ общего положения восточной ориентации при угле наклона направляющей ламелей 60°
Приложение К
К.1 Порядок работы с солнечными картами определен в приложениях Ж и И.

Рисунок К.1 - Солнечная карта для 40° с.ш.

Рисунок К.2 - Солнечная карта для 42° с.ш.

Рисунок К.3 - Солнечная карта для 44° с.ш.

Рисунок К.4 - Солнечная карта для 46° с.ш.

Рисунок К.5 - Солнечная карта для 48° с.ш.

Рисунок К.6 - Солнечная карта для 50° с.ш.

Рисунок К.7 - Солнечная карта для 52° с.ш.

Рисунок К.8 - Солнечная карта для 54° с.ш.

Рисунок К.9 - Солнечная карта для 56° с.ш.

Рисунок К.10 - Солнечная карта для 58° с.ш.

Рисунок К.11 - Солнечная карта для 60° с.ш.
Приложение Л
Л.1 Методика позволяет определять величину расчетной продолжительности инсоляции помещений и территорий при оценке их инсоляции согласно ГОСТ Р 57795 и энергосбережения, в том числе - с помощью теневого угломера.
Л.2 Теневой угломер применяется для построения теневых масок от затеняющих элементов светопроема (верхней грани проема, балконных плит, плит лоджий, козырьков и т.п.), если эти элементы ограничены горизонтальными ребрами. Порядок построения теневой маски для светового проема, над которым расположена балконная плита, затеняющая окно в пределах горизонтального угла инсоляции в границах отрезков прямых AB и BC приведен на рисунке Л.1.

а - определение горизонтального угла инсоляции; б - определение вертикального угла инсоляции для ребра балконной плиты AB; в - построение теневой маски от части балконной плиты AB; г - построение теневой маски от части балконной плиты BC
Рисунок Л.1 - Пример построения теневой маски светопроема с помощью теневого угломера
Теневая маска от балконной плиты построена в следующей последовательности:
- определяется вертикальный угол инсоляции от грани AB - βAB = 58° (рисунок Л.1, б);
- теневой угломер накладывается на план так, чтобы полюс угломера совпал с расчетной точкой, а его основа была параллельна затеняющей грани AB (рисунок Л.1, в);
- с помощью теневого угломера строится кривая, которая соответствует углу βAB;
- отрезок этой кривой A'B' в пределах горизонтального угла затенения грани AB ограничивает тень от этой грани на теневой маске;
- теневой угломер поворачивается вокруг расчетной точки (РТ) так, чтобы он стал параллельным грани BC (рисунок Л.1, г);
- с помощью теневого угломера строится кривая, которая проходит через точку B';
- отрезок этой кривой B'C' в пределах горизонтального угла затенения грани BC ограничивает тень от этой грани на теневой маске;
- сумма теневых масок от граней AB и BC представляет собой теневую маску от балконной плиты.
Л.3 Для построения теневых масок от соседних зданий, имеющих форму прямоугольных параллелепипедов (или состоящих из них) можно применять теневой угломер. Теневой угломер представляет собой систему кривых - теневых масок от прямолинейных зданий бесконечной длины, которые имеют угловые высоты по отношению к РТ 0°, 5°, 10°, ..., 80°, 85°, 90°, и систему радиальных линий. Масштаб теневого угломера и солнечной карты должен быть одинаковым.
Для построения теневой маски от здания, достаточно определить вертикальный угол затенения от любой его стены, которая видна из РТ.
Л.4 Порядок построения теневой маски с помощью теневого угломера показан на рисунке Л.2.

а - определение горизонтального угла затенения соседним зданием и направлений для построения теневой маски застройки; б - определение вертикального угла затенения гранью 2 соседнего здания; в - построение теневой маски от грани 12; г - построение теневой маски от грани 23
Рисунок Л.2 - Пример построения теневой маски застройки с помощью теневого угломера
Затеняющее здание имеет в плане прямоугольную форму. Из РТ наблюдаются две грани этого здания - 12 и 23 (рисунок Л.2, а).
Теневая маска от здания строится в такой последовательности:
- определяется вертикальный угол затенения от грани 12 - γ12 = 72° (рисунок Л.2, б);
- теневой угломер накладывается на генеральный план так, чтобы полюс угломера совпал с расчетной точкой, а его основа была параллельна затеняющей грани 12 (рисунок Л.2, в);
- с помощью теневого угломера строится кривая, которая соответствует углу γ12;
- отрезок этой кривой 1'2' в пределах горизонтального угла затенения грани 12 ограничивает тень от этой грани на теневой маске;
- теневой угломер поворачивается вокруг РТ так, чтобы он стал параллельным грани 23 (рисунок Л.2, г);
- с помощью теневого угломера строится кривая, которая проходит через точку 2';
- отрезок этой кривой 2'3' в пределах горизонтального угла затенения грани 23 ограничивает тень от этой грани на теневой маске;
- сумма теневых масок от граней 12 и 23 представляет собой теневую маску от дома.
Л.5 Ограничение избыточной инсоляции в летний период и обеспечение максимально возможной инсоляции в холодный период способствует энергосбережению. Летние помещения в значительной степени влияют на инсоляционный режим помещений. Их проектирование целесообразно проводить с учетом требований энергосбережения в соответствии с СП 50.13330 и ГОСТ Р 57795.
Л.6 Проектировать летние помещения следует в соответствии с СП 54.13330. Помещения, рассчитанные по условиям обеспечения нормируемой длительности инсоляции квартир, целесообразно проектировать таким образом, чтобы они не препятствовали поступлению солнечных лучей в отапливаемый период и обеспечивали минимально необходимую инсоляцию в период перегрева.
Л.7 В таблице Л.1 показаны теневые маски окон для характерных азимутов в пределах от 180° до 360°. Для азимутов от 0° до 180° теневые маски симметричны построенным относительно оси север-юг для соответствующих ориентаций. Характерные азимуты соответствуют ориентациям окна, при которых помещение получает минимальную нормативную длительность инсоляции, - 2,5 ч хотя бы при одном из вариантов решения.
|
Окна без летних помещений |
Перед окном - лоджия |
Над окном - балконная плита | |
|
Азимут окна A = 180° |
|
|
|
|
Азимут окна A = 217° |
|
|
|
|
Азимут окна A = 225° |
|
|
|
|
Азимут окна A = 270° |
|
|
|
|
Азимут окна A = 302° |
|
|
|
Л.8 Анализ расчета инсоляции показывает, что продолжительность инсоляции в комнате без летних помещений удовлетворяет нормам при азимутах окна 58° ≤ A ≤ 302°.
Комната с лоджией имеет нормативную длительность инсоляции при азимутах окна 80° ≤ A ≤ 135° и 225° ≤ A ≤ 280°. Для таких ориентаций комнат наличие лоджии непосредственно перед окном не нарушает нормативных требований к инсоляционному режиму помещений. Наличие лоджий в комнатах, ориентированных на юго-запад, улучшает их микроклимат в сравнении с комнатами без летних помещений, поскольку значительно снижает длительность поступления солнечных лучей из зоны перегрева.
Приложение М
М.1 Общие положения
При проектировании СЗУ необходимо пользоваться комплексными солнечными картами с зонами желательной и нежелательной инсоляции. Зона нежелательной инсоляции - зона неба, где солнце находится, когда температура воздуха равна или превышает 21 °C; зона желательной инсоляции - солнце находится при температурах воздуха 8 °C и ниже.
Комплексные солнечные карты включают изоплеты этих температур воздуха (рисунок М.1).

Рисунок М.1 - Комплексная солнечная карта для 50° с.ш.
М.2 Способ моделирования комплексных солнечных карт
Для построения изоплет учитываются значения среднемесячных температур воздуха и средних суточных амплитуд их колебаний для каждого месяца характерного года (СП 131.13330).
Минимальное суточное значение температуры воздуха наступает примерно через 15 мин после восхода Солнца, а максимальное значение - в 15 ч.
Функция изменения температуры воздуха в течение суток имеет вид:
|
|
при 0 ≤ x |
(М.1) |
|
|
при Tmin ≤ x <15; | |
|
|
при 15 ≤ x <24, |
где A - среднесуточная амплитуда среднемесячной температуры воздуха, °C;
t - среднемесячная температура воздуха, °C;
Tmin - время наступления минимальной температуры воздуха в течение суток, которое принимается через 0,25 ч после восхода Солнца, ч;
x - текущее время, ч.
Используя эту формулу для 15-го числа каждого месяца, строится каркас поверхности температур, как функции от дня года и времени суток. Интерполяцией строится поверхность температур, на которой находятся изолинии температур 8 °C и 21 °C, которые переносятся на солнечную карту для соответствующей широты местности.
Значение Tmin определяется по соответствующей солнечной карте по формуле
Tmin = 0,2Tвсхi + 0,8Tвсхi+1 + 0,25, (М.2)
где Tвсхi - время восхода солнца по траектории рассчитываемого месяца, ч;
Tвсхi+1 - время восхода солнца по траектории для следующего после расчетного месяца, ч.
На рисунке М.2 приведен порядок построения комплексной солнечной карты для 50° с.ш.


а - поверхность температур; б - изоплеты температур; в - комплексная солнечная карта
Рисунок М.2 - Построение комплексной солнечной карты для 50° с.ш.
Приложение Н
Н.1 В таблице Н.1 приведено расчетное количество часов охлаждения помещений для ряда городов Южного и Северо-Кавказского Федеральных округов Российской Федерации.
|
Наименование города |
Количество часов охлаждения помещений по месяцам (май - октябрь), ч:мин |
Всего, ч | |||||
|
V |
VI |
VII |
VIII |
IX |
X | ||
|
Аскания-Нова |
155:08 |
346:30 |
451:03 |
420:03 |
175:12 |
- |
1 547:56 |
|
Астрахань |
258:51 |
452:30 |
587:58 |
500:08 |
191:36 |
- |
1 991:03 |
|
Волгоград |
160:48 |
390:30 |
516:09 |
457:15 |
120:08 |
- |
1 644:50 |
|
Воронеж |
75:00 |
256:00 |
347:12 |
297:05 |
15:05 |
- |
990:22 |
|
Геническ |
98:53 |
375:00 |
481:01 |
476:53 |
145:21 |
- |
1 577:08 |
|
Дебальцево |
50:29 |
268:00 |
377:41 |
341:31 |
39:36 |
- |
1 077:17 |
|
Донецк |
80:45 |
300:00 |
398:21 |
377:10 |
78:38 |
- |
1 234:54 |
|
Запорожье |
134:56 |
340:30 |
430:27 |
411:16 |
120:36 |
- |
1 437:45 |
|
Керчь |
63:03 |
334:00 |
506:51 |
500:39 |
166:50 |
- |
1 571:23 |
|
Кирилловка |
58:06 |
282:00 |
394:44 |
367:52 |
57:34 |
- |
1 160:16 |
|
Красная Поляна |
20:00 |
208:00 |
343:04 |
339:58 |
112:20 |
- |
1 023:22 |
|
Краснодар |
225:47 |
376:30 |
500:08 |
475:51 |
269:00 |
- |
1 847:16 |
|
Луганск |
139:12 |
334:00 |
418:30 |
383:22 |
97:36 |
- |
1 372:40 |
|
Майкоп |
145:00 |
330:00 |
450:01 |
439:10 |
214:12 |
- |
1 578:23 |
|
Мариуполь |
59:00 |
344:00 |
483:36 |
450:32 |
100:30 |
- |
1437:38 |
|
Махачкала |
76:29 |
404:30 |
668:03 |
648:25 |
252:12 |
- |
2 049:39 |
|
Пятигорск |
- |
158:30 |
285:43 |
275:23 |
45:28 |
- |
765:04 |
|
Ростов-на-Дону |
163:45 |
372:30 |
474:49 |
443:18 |
142:20 |
- |
1 596:42 |
|
Севастополь |
35:15 |
296:00 |
455:42 |
434:31 |
162:55 |
- |
1 384:23 |
|
Симферополь |
91:12 |
302:30 |
425:13 |
404:02 |
151:48 |
- |
1 374:45 |
|
Сочи |
47:29 |
317:30 |
520:48 |
545:05 |
302:00 |
17:35 |
1 750:27 |
|
Таганрог |
129:00 |
391:30 |
535:47 |
491:21 |
143:08 |
- |
1 690:46 |
|
Феодосия |
78:24 |
369:00 |
567:49 |
533:43 |
198:00 |
- |
1 746:56 |
|
Херсон |
143:12 |
348:30 |
453:07 |
430:23 |
160:36 |
- |
1 535:48 |
|
Элиста |
187:12 |
392:30 |
525:58 |
476:22 |
181:19 |
- |
1 763:21 |
|
Ялта |
38:33 |
339:30 |
575:34 |
581:46 |
230:32 |
- |
1 765:55 |
Н.2 В таблице Н.2 приведены даты начала и конца периода охлаждения и продолжительность данного периода для ряда городов Южного и Северо-Кавказского Федеральных округов Российской Федерации.
|
Наименование города |
Начало периода охлаждения (число, месяц) |
Конец периода охлаждения (число, месяц) |
Продолжительность периода охлаждения, сут |
|
Аскания-Нова |
06.05 |
24.09 |
142 |
|
Астрахань |
01.05 |
24.09 |
147 |
|
Волгоград |
08.05 |
17.09 |
133 |
|
Воронеж |
14.05 |
05.09 |
115 |
|
Геническ |
17.05 |
19.09 |
126 |
|
Дебальцево |
19.05 |
09.09 |
114 |
|
Донецк |
15.05 |
14.09 |
123 |
|
Запорожье |
09.05 |
18.09 |
133 |
|
Керчь |
19.05 |
22.09 |
127 |
|
Кирилловка |
18.05 |
11.09 |
117 |
|
Красная Поляна |
24.05 |
20.09 |
120 |
|
Краснодар |
01.05 |
30.09 |
153 |
|
Луганск |
08.05 |
16.09 |
132 |
|
Майкоп |
07.05 |
28.09 |
145 |
|
Мариуполь |
20.05 |
15.09 |
119 |
|
Махачкала |
19.05 |
26.09 |
131 |
|
Пятигорск |
01.06 |
11.09 |
103 |
|
Ростов-на-Дону |
07.05 |
20.09 |
137 |
|
Севастополь |
23.05 |
23.09 |
124 |
|
Симферополь |
14.05 |
22.09 |
132 |
|
Сочи |
21.05 |
05.10 |
138 |
|
Таганрог |
12.05 |
19.09 |
131 |
|
Феодосия |
18.05 |
24.09 |
130 |
|
Херсон |
08.05 |
22.09 |
138 |
|
Элиста |
05.05 |
23.09 |
142 |
|
Ялта |
23.05 |
26.09 |
127 |
Н.3 Значения градусо-суток периода охлаждения по рассматриваемым городам Южного и Северо-Кавказского Федеральных округов Российской Федерации приведены в таблице Н.3.
|
Наименование городов |
ГСПО, °C·сут |
|
Аскания-Нова |
807,98 |
|
Астрахань |
980,49 |
|
Волгоград |
710,22 |
|
Воронеж |
311,65 |
|
Геническ |
569,52 |
|
Дебальцево |
335,16 |
|
Донецк |
481,8 |
|
Запорожье |
615,79 |
|
Керчь |
527,05 |
|
Кирилловка |
366,21 |
|
Красная Поляна |
336 |
|
Краснодар |
937,89 |
|
Луганск |
609,8 |
|
Майкоп |
756,9 |
|
Мариуполь |
459,34 |
|
Махачкала |
610,46 |
|
Пятигорск |
279,4 |
|
Ростов-на-Дону |
728,84 |
|
Севастополь |
398,04 |
|
Симферополь |
579,48 |
|
Сочи |
475,30 |
|
Таганрог |
611,77 |
|
Феодосия |
575,9 |
|
Херсон |
707,94 |
|
Элиста |
917,32 |
|
Ялта |
513,08 |
Н.4 Изолинии градусо-суток периода охлаждения накладываются на карту южного региона России. Карта изолиний с территорией (рисунок Н.1) позволяет определять ГСПО для городских и сельских населенных мест, для которых отсутствуют необходимые значения в СП 131.13330.

Рисунок Н.1 - Карта изолиний градусо-суток периода охлаждения на территории Южного и Северо-Кавказского федеральных округов Российской Федерации
Приложение П
Поступления теплоты Q, Вт, в помещение от солнечной радиации через остекленные световые проемы и ограждающие конструкции зданий различного назначения для наиболее жаркого месяца года (июля) и заданного или каждого часа суток следует рассчитывать по формуле
, (П.1)
где Qi - тепловой поток через i-й световой проем, Вт;
Qi,к - тепловой поток через i-е ограждение, Вт, определяется по СП 50.13330;
a, b - число световых проемов и ограждающих конструкций соответственно.
Тепловой поток прямой и рассеянной солнечной радиации через i-й световой остекленный проем (далее - световой проем), Вт, следует определять по формуле
Qi = Qос,i·aп, (П.2)
где Qос,i - тепловой поток от солнечной радиации, поступающий на световой проем, определяемый по формуле (П.3), Вт;
aп - показатель поглощения теплового потока солнечной радиации.
Тепловой поток от солнечной радиации, поступающий на световой проем, рассчитывают по формуле
Qос,i = (qпK1 + qрK2)K3K4Aос, (П.3)
где qп, qр - поверхностная плотность теплового потока, Вт/м2, в июле в данный час суток, от прямой (qп) и рассеянной (qр) солнечной радиации соответственно, для вертикального и горизонтального остекления, принимаемая по таблице П.1, а для наклонного остекления, рассчитываемая по формулам (П.4) - (П.7);
K1 = Kп,г·Kп,в - коэффициенты облученности прямой солнечной радиацией для учета площади светового проема, незатененной горизонтальной Kп,г и вертикальной Kп,в плоскостями в строительном исполнении, определяемые по формулам (П.8) и (П.9) соответственно;
K2 = Kг·Kв - коэффициенты облученности для учета поступления рассеянной солнечной радиации через световые проемы, незатененные горизонтальной и вертикальной наружными солнцезащитными плоскостями в строительном исполнении;
K3 - коэффициенты теплопропускания солнцезащитных устройств (шторы, карнизы, жалюзи и другие изделия заводского изготовления), принимаемые по СП 50.13330.2012 (таблица 8);
K4 - коэффициент теплопропускания остеклением световых проемов, принимаемый по СП 345.1325800.2017 (таблица Б.1) как коэффициент g;
Aос - площадь светового проема (остекления), м2.
В ваттах на квадратный метр
|
Географическая широта, градусы |
Часы до полудня |
Ориентация вертикального светового проема * |
Горизонтальный световой проем * |
Часы после полудня | |||||||
|
С |
СВ |
В |
ЮВ |
Ю |
ЮЗ |
З |
СЗ | ||||
|
36 |
5 - 6 |
56 ---- 35 |
140 ---- 27 |
157 ---- 35 |
42 ---- 24 |
---- 17 |
---- 17 |
---- 17 |
---- 17 |
11 ---- 23 |
18 - 19 |
|
6 - 7 |
62 ---- 69 |
333 ---- 76 |
388 ---- 108 |
170 ---- 80 |
---- 51 |
---- 35 |
---- 38 |
46 |
22 ---- 57 |
17 - 18 | |
|
7 - 8 |
8 ---- 79 |
369 ---- 108 |
465 ---- 130 |
279 ---- 128 |
---- 79 |
---- 56 |
---- 53 |
---- 57 |
279 ---- 78 |
16 - 17 | |
|
8 - 9 |
---- 73 |
274 ---- 104 |
443 ---- 129 |
335 ---- 129 |
3 ---- 81 |
---- 60 |
---- 63 |
---- 60 |
465 ---- 93 |
15 - 16 | |
|
9 - 10 |
---- 69 |
149 ---- 34 |
356 ---- 108 |
321 ---- 98 |
52 ---- 83 |
---- 63 |
---- 64 |
---- 62 |
626 ---- 100 |
14 - 15 | |
|
10 - 11 |
---- 67 |
38 ---- 71 |
104 ---- 88 |
237 ---- 86 |
110 ---- 83 |
---- 71 |
---- 65 |
---- 65 |
715 ---- 105 |
13 - 14 | |
|
11 - 12 |
---- 67 |
---- 67 |
21 ---- 80 |
126 ---- 83 |
151 ---- 83 |
3 ---- 77 |
---- 72 |
---- 65 |
747 ---- 105 |
12 - 13 | |
|
38 |
5 - 6 |
64 ---- 37 |
155 ---- 37 |
186 ---- 41 |
46 ---- 30 |
---- 19 |
---- 19 |
---- 19 |
---- 20 |
16 ---- 27 |
18 - 19 |
|
6 - 7 |
57 ---- 70 |
342 ---- 86 |
399 ---- 110 |
177 ---- 83 |
---- 53 |
---- 39 |
---- 41 |
---- 46 |
68 ---- 60 |
17 - 18 | |
|
7 - 8 |
7 ---- 79 |
357 ---- 111 |
479 ---- 132 |
291 ---- 114 |
---- 75 |
---- 56 |
---- 54 |
---- 57 |
280 ---- 78 |
16 - 17 | |
|
8 - 9 |
---- 72 |
266 ---- 104 |
457 ---- 125 |
345 ---- 119 |
---- 77 |
---- |
---- 62 |
---- 60 |
448 ---- 90 |
15 - 16 | |
|
9 - 10 |
---- 67 |
133 ---- 57 |
360 ---- 104 |
332 ---- 97 |
---- 81 |
---- 63 |
---- 63 |
---- 62 |
592 ---- 97 |
14 - 15 | |
|
10 - 11 |
---- 65 |
22 ---- 71 |
148 ---- 85 |
256 ---- 86 |
---- 83 |
---- 69 |
---- 64 |
---- 65 |
683 ---- 103 |
13 - 14 | |
|
11 - 12 |
---- 64 |
---- 67 |
33 ---- 77 |
149 ---- 80 |
---- 83 |
---- 77 |
---- 69 |
---- 65 |
721 ---- 105 |
12 - 13 | |
|
40 |
5 - 6 |
21 ---- 38 |
170 ---- 46 |
214 ---- 46 |
50 ---- 35 |
---- 20 |
---- 20 |
---- 21 |
---- 22 |
19 ---- 31 |
18 - 19 |
|
6 - 7 |
51 ---- 71 |
350 ---- 96 |
410 ---- 112 |
183 ---- 86 |
---- 55 |
---- 42 |
---- 44 |
---- 46 |
114 ---- 62 |
17 - 18 | |
|
7 - 8 |
6 ---- 78 |
345 ---- 114 |
493 ---- 133 |
302 ---- 100 |
---- 71 |
---- 56 |
---- 55 |
---- 57 |
281 ---- 78 |
16 - 17 | |
|
8 - 9 |
---- 71 |
258 ---- 104 |
471 ---- 121 |
354 ---- 108 |
60 ---- 73 |
---- 60 |
---- 60 |
---- 60 |
431 ---- 87 |
15 - 16 | |
|
9 - 10 |
---- 64 |
116 ---- 80 |
363 ---- 99 |
342 ---- 95 |
150 ---- 79 |
---- 63 |
---- 62 |
---- 62 |
558 ---- 93 |
14 - 15 | |
|
10 - 11 |
---- 62 |
6 ---- 71 |
191 ---- 81 |
274 ---- 86 |
222 ---- 83 |
---- 67 |
---- 62 |
---- 65 |
651 ---- 100 |
13 - 14 | |
|
11 - 12 |
---- 60 |
---- 67 |
35 ---- 73 |
172 ---- 77 |
257 ---- 83 |
45 ---- 77 |
---- 65 |
---- 65 |
695 ---- 104 |
12 - 13 | |
|
42 |
5 - 6 |
78 ---- 40 |
196 ---- 50 |
253 ---- 52 |
61 ---- 38 |
---- 22 |
---- 21 |
---- 22 |
---- 23 |
25 ---- 34 |
18 - 19 |
|
6 - 7 |
47 ---- 71 |
360 ---- 97 |
431 ---- 112 |
196 ---- 86 |
---- 55 |
---- 43 |
---- 44 |
---- 45 |
120 ---- 62 |
17 - 18 | |
|
7 - 8 |
---- 78 |
351 ---- 112 |
497 ---- 132 |
318 ---- 105 |
---- 71 |
---- 56 |
---- 55 |
---- 56 |
282 ---- 77 |
16 - 17 | |
|
8 - 9 |
---- 71 |
257 ---- 103 |
481 ---- 121 |
376 ---- 108 |
---- 76 |
---- 60 |
---- 60 |
---- 60 |
456 ---- 85 |
15 - 16 | |
|
9 - 10 |
---- 64 |
100 ---- 80 |
367 ---- 100 |
365 ---- 98 |
---- 80 |
---- 63 |
---- 61 |
---- 62 |
551 ---- 93 |
14 - 15 | |
|
10 - 11 |
---- 61 |
---- 71 |
---- 81 |
---- 86 |
---- 84 |
---- 67 |
---- 61 |
---- 65 |
---- 99 |
13 - 14 | |
|
11 - 12 |
---- 60 |
---- 67 |
36 ---- 73 |
193 ---- 78 |
---- 84 |
---- 77 |
---- 65 |
---- 65 |
682 ---- 101 |
12 - 13 | |
|
44 |
5 - 6 |
84 ---- 42 |
222 ---- 53 |
292 ---- 58 |
72 ---- 40 |
---- 23 |
---- 22 |
---- 22 |
---- 23 |
---- 36 |
18 - 19 |
|
6 - 7 |
42 ---- 70 |
369 ---- 98 |
452 ---- 112 |
209 ---- 86 |
---- 55 |
---- 44 |
---- 44 |
---- 44 |
126 ---- 62 |
17 - 18 | |
|
7 - 8 |
---- 77 |
357 ---- 110 |
500 ---- 130 |
333 ---- 109 |
---- 71 |
---- 55 |
---- 55 |
---- 55 |
283 ---- 76 |
16 - 17 | |
|
8 - 9 |
---- 71 |
256 ---- 101 |
490 ---- 121 |
398 ---- 108 |
66 ---- 79 |
---- 60 |
---- 59 |
---- 60 |
481 ---- 83 |
15 - 16 | |
|
9 - 10 |
---- 64 |
84 ---- 80 |
371 ---- 100 |
387 ---- 101 |
162 ---- 81 |
---- 63 |
---- 60 |
---- 62 |
543 ---- 93 |
14 - 15 | |
|
10 - 11 |
---- 60 |
---- 71 |
---- 81 |
---- 86 |
---- 84 |
---- 67 |
---- 60 |
---- 64 |
---- 98 |
13 - 14 | |
|
11 - 12 |
---- 59 |
---- 67 |
37 ---- 72 |
214 ---- 79 |
288 ---- 85 |
73 ---- 77 |
---- 65 |
---- 65 |
668 ---- 98 |
12 - 13 | |
|
46 |
5 - 6 |
89 ---- 44 |
289 ---- 57 |
310 ---- 62 |
84 ---- 43 |
---- 25 |
---- 24 |
---- 23 |
---- 25 |
34 ---- 39 |
18 - 19 |
|
6 - 7 |
39 ---- 70 |
377 ---- 98 |
462 ---- 113 |
223 ---- 87 |
---- 55 |
---- 44 |
---- 44 |
---- 44 |
136 ---- 62 |
17 - 18 | |
|
7 - 8 |
---- 76 |
353 ---- 109 |
521 ---- 130 |
348 ---- 109 |
---- 72 |
---- 54 |
---- 54 |
---- 54 |
284 ---- 75 |
16 - 17 | |
|
8 - 9 |
---- 71 |
239 ---- 100 |
494 ---- 121 |
413 ---- 110 |
---- 80 |
---- 60 |
---- 59 |
---- 60 |
451 ---- 83 |
15 - 16 | |
|
9 - 10 |
---- 64 |
72 ---- 81 |
372 ---- 100 |
403 ---- 104 |
---- 84 |
---- 64 |
---- 59 |
---- 62 |
531 ---- 93 |
14 - 15 | |
|
10 - 11 |
---- 60 |
---- 71 |
---- 81 |
---- 90 |
---- 86 |
---- 69 |
---- 60 |
---- 64 |
---- 97 |
13 - 14 | |
|
11 - 12 |
---- 59 |
---- 67 |
37 ---- 72 |
233 ---- 82 |
---- 87 |
---- 78 |
---- 65 |
---- 65 |
656 ---- 98 |
12 - 13 | |
|
48 |
5 - 6 |
93 ---- 45 |
356 ---- 60 |
327 ---- 65 |
95 ---- 45 |
---- 27 |
---- 26 |
---- 24 |
---- 26 |
37 ---- 42 |
18 - 19 |
|
6 - 7 |
35 ---- 69 |
385 ---- 98 |
472 ---- 114 |
237 ---- 87 |
---- 55 |
---- 43 |
---- 44 |
---- 44 |
145 ---- 62 |
17 - 18 | |
|
7 - 8 |
---- 74 |
348 ---- 107 |
542 ---- 129 |
363 ---- 109 |
3 ---- 73 |
---- 53 |
---- 53 |
---- 53 |
285 ---- 73 |
16 - 17 | |
|
8 - 9 |
---- 70 |
222 ---- 99 |
497 ---- 121 |
427 ---- 112 |
80 ---- 81 |
---- 60 |
---- 58 |
---- 59 |
420 ---- 82 |
15 - 16 | |
|
9 - 10 |
---- 64 |
60 ---- 81 |
372 ---- 100 |
419 ---- 107 |
186 ---- 86 |
---- 65 |
---- 58 |
---- 62 |
519 ---- 93 |
14 - 15 | |
|
10 - 11 |
---- 60 |
---- 71 |
193 ---- 81 |
352 ---- 94 |
271 ---- 87 |
7 ---- 70 |
---- 60 |
---- 64 |
601 ---- 95 |
13 - 14 | |
|
11 - 12 |
---- 59 |
---- 67 |
37 ---- 72 |
251 ---- 84 |
317 ---- 88 |
106 ---- 78 |
---- 65 |
---- 65 |
643 ---- 98 |
12 - 13 | |
|
50 |
5 - 6 |
98 ---- 50 |
329 ---- 65 |
349 ---- 69 |
106 ---- 49 |
---- 29 |
---- 27 |
---- 26 |
---- 27 |
47 ---- 42 |
18 - 19 |
|
6 - 7 |
31 ---- 69 |
388 ---- 98 |
485 ---- 117 |
255 ---- 89 |
---- 57 |
---- 43 |
---- 44 |
---- 44 |
152 ---- 62 |
17 - 18 | |
|
7 - 8 |
---- 73 |
345 ---- 107 |
544 ---- 129 |
346 ---- 110 |
---- 75 |
---- 54 |
---- 53 |
---- 53 |
288 ---- 73 |
16 - 17 | |
|
8 - 9 |
---- 69 |
209 ---- 98 |
498 ---- 122 |
438 ---- 113 |
---- 83 |
---- 62 |
---- 58 |
---- 59 |
420 ---- 82 |
15 - 16 | |
|
9 - 10 |
---- 64 |
51 ---- 80 |
373 ---- 100 |
424 ---- 109 |
---- 87 |
---- 66 |
---- 59 |
---- 61 |
514 ---- 90 |
14 - 15 | |
|
10 - 11 |
---- 60 |
---- 70 |
193 ---- 83 |
343 ---- 95 |
---- 89 |
---- 71 |
---- 60 |
---- 63 |
593 ---- 94 |
13 - 14 | |
|
11 - 12 |
---- 59 |
---- 66 |
37 ---- 72 |
262 ---- 85 |
---- 90 |
---- 78 |
---- 65 |
---- 64 |
637 ---- 98 |
12 - 13 | |
|
52 |
5 - 6 |
102 ---- 55 |
301 ---- 69 |
371 ---- 73 |
116 ---- 52 |
---- 31 |
---- 28 |
---- 28 |
---- 28 |
57 ---- 42 |
18 - 19 |
|
6 - 7 |
26 ---- 69 |
391 ---- 98 |
497 ---- 119 |
272 ---- 91 |
---- 59 |
---- 43 |
---- 44 |
---- 44 |
158 ---- 62 |
17 - 18 | |
|
7 - 8 |
---- 71 |
342 ---- 106 |
545 ---- 129 |
328 ---- 110 |
11 ---- 76 |
---- 55 |
---- 53 |
---- 53 |
291 ---- 73 |
16 - 17 | |
|
8 - 9 |
---- 67 |
196 ---- 96 |
498 ---- 123 |
448 ---- 114 |
94 ---- 85 |
---- 63 |
---- 57 |
---- 58 |
419 ---- 82 |
15 - 16 | |
|
9 - 10 |
---- 63 |
42 ---- 79 |
374 ---- 100 |
429 ---- 110 |
206 ---- 87 |
---- 67 |
---- 59 |
---- 60 |
508 ---- 87 |
14 - 15 | |
|
10 - 11 |
---- 60 |
---- 69 |
193 ---- 84 |
333 ---- 96 |
299 ---- 90 |
14 ---- 72 |
---- 60 |
---- 62 |
585 ---- 93 |
13 - 14 | |
|
11 - 12 |
---- 59 |
---- 65 |
37 ---- 72 |
272 ---- 86 |
344 ---- 91 |
150 ---- 78 |
---- 65 |
---- 63 |
630 ---- 98 |
12 - 13 | |
|
54 |
5 - 6 |
103 ---- 56 |
323 ---- 72 |
402 ---- 74 |
128 ---- 55 |
---- 33 |
---- 28 |
---- 29 |
---- 14 |
29 ---- 21 |
18 - 19 |
|
6 - 7 |
22 ---- 68 |
396 ---- 96 |
510 ---- 117 |
280 ---- 91 |
---- 59 |
---- 43 |
---- 44 |
---- 22 |
79 ---- 31 |
17 - 18 | |
|
7 - 8 |
---- 68 |
341 ---- 102 |
546 ---- 126 |
376 ---- 108 |
---- 75 |
---- 54 |
---- 51 |
---- 27 |
146 ---- 37 |
16 - 17 | |
|
8 - 9 |
---- 65 |
185 ---- 92 |
501 ---- 119 |
464 ---- 111 |
---- 85 |
---- 64 |
---- 56 |
---- 29 |
210 ---- 41 |
15 - 16 | |
|
9 - 10 |
---- 61 |
34 ---- 75 |
376 ---- 96 |
454 ---- 106 |
---- 88 |
---- 67 |
---- 58 |
---- 30 |
254 ---- 44 |
14 - 15 | |
|
10 - 11 |
---- 59 |
---- 66 |
193 ---- 80 |
380 ---- 94 |
---- 91 |
---- 72 |
---- 59 |
---- 31 |
293 ---- 47 |
13 - 14 | |
|
11 - 12 |
---- 57 |
---- 62 |
37 ---- 70 |
301 ---- 83 |
---- 92 |
---- 77 |
---- 64 |
---- 32 |
315 ---- 49 |
12 - 13 | |
|
56 |
5 - 6 |
103 ---- 56 |
344 ---- 74 |
433 ---- 74 |
140 ---- 57 |
---- 35 |
---- 28 |
---- 30 |
---- 30 |
76 ---- 42 |
18 - 19 |
|
6 - 7 |
17 ---- 66 |
401 ---- 93 |
523 ---- 115 |
287 ---- 90 |
---- 58 |
---- 42 |
---- 43 |
---- 44 |
169 ---- 57 |
17 - 18 | |
|
7 - 8 |
---- 65 |
339 ---- 98 |
547 ---- 122 |
424 ---- 105 |
22 ---- 74 |
---- 53 |
---- 48 |
---- 53 |
287 ---- 71 |
16 - 17 | |
|
8 - 9 |
---- 62 |
174 ---- 87 |
504 ---- 114 |
479 ---- 108 |
128 ---- 85 |
---- 64 |
---- 55 |
---- 56 |
405 ---- 78 |
15 - 16 | |
|
9 - 10 |
---- 58 |
26 ---- 71 |
378 ---- 91 |
479 ---- 102 |
245 ---- 88 |
---- 67 |
---- 56 |
---- 57 |
493 ---- 87 |
14 - 15 | |
|
10 - 11 |
---- 57 |
---- 62 |
193 ---- 76 |
427 ---- 92 |
347 ---- 91 |
21 ---- 72 |
---- 58 |
---- 58 |
566 ---- 91 |
13 - 14 | |
|
11 - 12 |
---- 55 |
---- 59 |
37 ---- 67 |
330 ---- 79 |
398 ---- 92 |
176 ---- 76 |
---- 63 |
---- 53 |
606 ---- 93 |
12 - 13 | |
|
58 |
5 - 6 |
105 ---- 54 |
366 ---- 73 |
441 ---- 76 |
146 ---- 58 |
---- 35 |
---- 28 |
---- 30 |
---- 17 |
46 ---- 21 |
18 - 19 |
|
6 - 7 |
16 ---- 63 |
403 ---- 90 |
533 ---- 111 |
300 ---- 88 |
---- 56 |
---- 41 |
---- 42 |
---- 22 |
89 ---- 29 |
17 - 18 | |
|
7 - 8 |
---- 61 |
335 ---- 91 |
552 ---- 116 |
433 ---- 101 |
---- 42 |
---- 51 |
---- 47 |
---- 25 |
142 ---- 33 |
16 - 17 | |
|
8 - 9 |
---- 59 |
160 ---- 82 |
507 ---- 107 |
490 ---- 103 |
---- 83 |
---- 62 |
---- 53 |
---- 26 |
196 ---- 35 |
15 - 16 | |
|
9 - 10 |
---- 55 |
23 ---- 67 |
378 ---- 84 |
490 ---- 97 |
---- 87 |
---- 66 |
---- 54 |
---- 27 |
233 ---- 39 |
14 - 15 | |
|
10 - 11 |
---- 54 |
---- 59 |
193 ---- 71 |
440 ---- 88 |
---- 91 |
---- 71 |
---- 56 |
---- 27 |
267 ---- 40 |
13 - 14 | |
|
11 - 12 |
---- 53 |
---- 57 |
37 ---- 64 |
347 ---- 77 |
---- 92 |
---- 74 |
---- 60 |
---- 27 |
289 ---- 39 |
12 - 13 | |
|
60 |
5 - 6 |
107 ---- 51 |
387 ---- 71 |
448 ---- 78 |
152 ---- 58 |
---- 35 |
---- 28 |
---- 30 |
---- 33 |
92 ---- 42 |
18 - 19 |
|
6 - 7 |
15 ---- 59 |
404 ---- 86 |
542 ---- 107 |
313 ---- 85 |
---- 53 |
---- 40 |
---- 40 |
---- 43 |
178 ---- 57 |
17 - 18 | |
|
7 - 8 |
---- 57 |
331 ---- 83 |
556 ---- 110 |
441 ---- 96 |
37 ---- 10 |
---- 49 |
---- 45 |
---- 50 |
284 ---- 65 |
16 - 17 | |
|
8 - 9 |
---- 55 |
146 ---- 77 |
509 ---- 99 |
501 ---- 98 |
166 ---- 81 |
---- 60 |
---- 50 |
---- 52 |
391 ---- 70 |
15 - 16 | |
|
9 - 10 |
---- 51 |
19 ---- 62 |
378 ---- 77 |
501 ---- 92 |
287 ---- 86 |
---- 65 |
---- 51 |
---- 53 |
466 ---- 78 |
14 - 15 | |
|
10 - 11 |
---- 51 |
---- 55 |
193 ---- 65 |
452 ---- 84 |
380 ---- 91 |
70 ---- 69 |
---- 53 |
---- 53 |
534 ---- 80 |
13 - 14 | |
|
11 - 12 |
---- 50 |
---- 55 |
37 ---- 60 |
363 ---- 74 |
449 ---- 91 |
215 ---- 71 |
---- 56 |
---- 53 |
578 ---- 78 |
12 - 13 | |
|
62 |
5 - 6 |
108 ---- 52 |
408 ---- 73 |
460 ---- 82 |
180 ---- 60 |
---- 36 |
---- 28 |
---- 31 |
---- 34 |
99 ---- 42 |
18 - 19 |
|
6 - 7 |
14 ---- 57 |
406 ---- 85 |
550 ---- 106 |
338 ---- 85 |
---- 53 |
---- 39 |
---- 39 |
---- 44 |
183 ---- 57 |
17 - 18 | |
|
7 - 8 |
---- 55 |
324 ---- 83 |
566 ---- 108 |
432 ---- 96 |
---- 40 |
---- 48 |
---- 44 |
---- 49 |
286 ---- 64 |
16 - 17 | |
|
8 - 9 |
---- 53 |
140 ---- 75 |
514 ---- 97 |
522 ---- 97 |
---- 80 |
---- 59 |
---- 48 |
---- 51 |
389 ---- 66 |
15 - 16 | |
|
9 - 10 |
---- 50 |
16 ---- 60 |
379 ---- 76 |
523 ---- 92 |
---- 86 |
---- 65 |
---- 50 |
---- 52 |
455 ---- 75 |
14 - 15 | |
|
10 - 11 |
---- 50 |
---- 53 |
193 ---- 64 |
470 ---- 83 |
---- 91 |
---- 68 |
---- 51 |
---- 52 |
521 ---- 74 |
13 - 14 | |
|
11 - 12 |
---- 49 |
---- 53 |
37 ---- 59 |
379 ---- 74 |
---- 91 |
---- 71 |
---- 54 |
---- 52 |
561 ---- 72 |
12 - 13 | |
|
64 |
5 - 6 |
109 ---- 52 |
429 ---- 74 |
471 ---- 85 |
208 ---- 62 |
---- 36 |
---- 28 |
---- 31 |
---- 35 |
105 ---- 42 |
18 - 19 |
|
6 - 7 |
12 ---- 55 |
408 ---- 83 |
558 ---- 105 |
362 ---- 85 |
---- 52 |
---- 38 |
---- 37 |
---- 44 |
187 ---- 57 |
17 - 18 | |
|
7 - 8 |
---- 52 |
316 ---- 83 |
576 ---- 106 |
423 ---- 95 |
57 ---- 69 |
---- 46 |
---- 42 |
---- 48 |
287 ---- 62 |
16 - 17 | |
|
8 - 9 |
---- 51 |
133 ---- 73 |
519 ---- 95 |
543 ---- 95 |
194 ---- 79 |
---- 58 |
---- 46 |
---- 50 |
386 ---- 62 |
15 - 16 | |
|
9 - 10 |
---- 49 |
12 ---- 58 |
379 ---- 74 |
544 ---- 91 |
331 ---- 85 |
---- 64 |
---- 48 |
---- 50 |
443 ---- 72 |
14 - 15 | |
|
10 - 11 |
---- 48 |
---- 51 |
193 ---- 62 |
488 ---- 82 |
435 ---- 90 |
116 ---- 67 |
---- 49 |
---- 51 |
507 ---- 67 |
13 - 14 | |
|
11 - 12 |
---- 48 |
---- 51 |
37 ---- 57 |
395 ---- 74 |
495 ---- 90 |
256 ---- 70 |
---- 51 |
---- 51 |
544 ---- 65 |
12 - 13 | |
|
66 |
5 - 6 |
111 ---- 52 |
452 ---- 76 |
488 ---- 90 |
227 ---- 64 |
---- 37 |
---- 28 |
---- 31 |
---- 37 |
120 ---- 44 |
18 - 19 |
|
6 - 7 |
11 ---- 55 |
410 ---- 83 |
546 ---- 106 |
349 ---- 87 |
---- 54 |
---- 38 |
---- 37 |
---- 44 |
193 ---- 57 |
17 - 18 | |
|
7 - 8 |
---- 52 |
307 ---- 83 |
582 ---- 106 |
461 ---- 97 |
---- 69 |
---- 46 |
---- 42 |
---- 48 |
285 ---- 62 |
16 - 17 | |
|
8 - 9 |
---- 51 |
134 ---- 74 |
525 ---- 97 |
561 ---- 97 |
---- 91 |
---- 58 |
---- 46 |
---- 50 |
381 ---- 62 |
15 - 16 | |
|
9 - 10 |
---- 49 |
9 ---- 58 |
387 ---- 74 |
564 ---- 91 |
---- 85 |
---- 65 |
---- 48 |
---- 50 |
442 ---- 70 |
14 - 15 | |
|
10 - 11 |
---- 48 |
---- 51 |
193 ---- 62 |
510 ---- 84 |
---- 90 |
---- 66 |
---- 49 |
---- 51 |
495 ---- 67 |
13 - 14 | |
|
11 - 12 |
---- 48 |
---- 51 |
37 ---- 57 |
419 ---- 74 |
---- 90 |
---- 71 |
---- 51 |
---- 51 |
532 ---- 66 |
12 - 13 | |
|
68 |
5 - 6 |
113 ---- 52 |
475 ---- 78 |
504 ---- 95 |
245 ---- 66 |
---- 38 |
---- 28 |
---- 31 |
---- 38 |
134 ---- 46 |
18 - 19 |
|
6 - 7 |
9 ---- 55 |
412 ---- 83 |
534 ---- 106 |
336 ---- 88 |
7 ---- 55 |
---- 38 |
---- 37 |
---- 44 |
198 ---- 57 |
17 - 18 | |
|
7 - 8 |
---- 51 |
297 ---- 83 |
588 ---- 106 |
499 ---- 99 |
79 ---- 69 |
---- 46 |
---- 42 |
---- 48 |
283 ---- 62 |
16 - 17 | |
|
8 - 9 |
---- 51 |
135 ---- 74 |
531 ---- 98 |
578 ---- 99 |
231 ---- 102 |
---- 58 |
---- 46 |
---- 49 |
376 ---- 62 |
15 - 16 | |
|
9 - 10 |
---- 48 |
5 ---- 57 |
394 ---- 74 |
583 ---- 91 |
369 ---- 85 |
---- 65 |
---- 48 |
---- 49 |
440 ---- 67 |
14 - 15 | |
|
10 - 11 |
---- 48 |
---- 51 |
193 ---- 62 |
531 ---- 85 |
463 ---- 90 |
174 ---- 65 |
---- 49 |
---- 50 |
483 ---- 67 |
13 - 14 | |
|
11 - 12 |
---- 48 |
---- 51 |
37 ---- 57 |
442 ---- 74 |
523 ---- 90 |
302 ---- 71 |
---- 51 |
---- 51 |
520 ---- 67 |
12 - 13 | |
|
* В числителе - поверхностная полость теплового потока прямой солнечной радиации, в знаменателе - рассеянной. | |||||||||||
В формуле (П.3) поверхностная плотность тепловых потоков, Вт/м2, поступающих в помещение в данный час суток через наклонное остекление (рисунок П.1) от прямой и рассеянной солнечной радиации qп и qр соответственно, определяется по формулам:
- для остекления "а" (рисунок П.1, а) - при 0° ≤ As,ос ≤ 90° или 270° ≤ As,ос ≤ 360°:
qп = qп.г·cosα + qп.в·sinα; (П.4)
qр = qр.г·cosα + qр.в·sinα; (П.5)
- для остекления "б" (рисунок П.1, б) - при 90° ≤ As,ос ≤ 270°:
qп = q'п.г·cosα - q'п.в·sinα; (П.6)
qр = q'р.г·cosα - q'р.в·sinα, (П.7)
где qп,г, qп,в, qр,г, qр,в - поверхностная плотность тепловых потоков, Вт/м2, поступающих от прямой и рассеянной солнечной радиации соответственно, через горизонтальное и вертикальное остекление той же ориентации, что и наклонное остекление "а", принимается по таблице П.1;
q'п.в, q'р.в - поверхностная плотность тепловых потоков, Вт/м2, поступающих от прямой и рассеянной солнечной радиации через вертикальное остекление, ориентация которого соответствует остеклению "б" и противоположна ориентации наклонного остекления "а", принимается по таблице П.1;
α - угол наклона остекления к горизонтальной плоскости, градусы.
Примечание - Если при вычислении по формулам (П.4) и (П.6) величина qп окажется отрицательной, то следует считать qп = 0, т.к. в этом случае остекление находится в тени.

H - высота проема; B - ширина проема; Гп – горизонтальная солнцезащитная плоскость; Вп - вертикальная солнцезащитная плоскость; 1 - высота Солнца hs, градусы; 2 – плоскость светового проема; 3 - плоскость, перпендикулярная к световому проему; 4 - перпендикуляр к плоскости светового проема; 5 - проекция солнечного луча на плоскость 3; 6 - азимут Солнца As, градусы; 7 - солнечный азимут остекления светового проема As,ос, градусы; 8 - азимут светового проема Aос
Рисунок П.1 - Световой проем с солнцезащитными плоскостями
Коэффициенты Kп,г и Kп,в определяются по формулам:
; (П.8)
Kп,в = 1 - B-1(l2|tg(As,ос)| - s), (П.9)
где H, B - высота и ширина светового проема, м;
l1, l2 - ширина горизонтальных и вертикальных строительных солнцезащитных плоскостей, см. рисунок П.1, а; при отсутствии солнцезащитных плоскостей, но при расстоянии кромки стен от остекления 150 мм и более следует их учитывать как плоскость, затеняющую оконный проем;
hs - высота Солнца, градусы, между направлением солнечного луча и его проекцией на горизонтальную плоскость, принимаемая по таблице П.2, рисунку П.1, в;
As,ос - солнечный азимут остекления светового проема, градусы, определяемый по формуле (П.12);
r, s - расстояние, м, от солнцезащитных плоскостей до вертикального или горизонтального края светового проема соответственно (рисунок П.1, а и б).
Примечания
1 При отсутствии солнцезащитных устройств (СЗУ) в формулах (П.8) и (П.9) следует принимать r = s = 0.
2 Если при вычислениях по формулам (П.8) и (П.9): а) Kп,г <0 или Kп,в <0, то следует принять K1 = 0, т.е. световой проем полностью затенен; б) Kп,г> 1 или Kп,в> 1, то следует принять K1 = 1 или Kп,в = 1, так как тень от солнцезащитного устройства не доходит до светового проема.
В градусах
|
Истинное солнечное время |
Географическая широта, градусы | ||||||||||||||||||
|
30 |
40 |
44 |
48 |
52 |
56 |
60 |
64 |
68 | |||||||||||
|
hs |
As |
hs |
As |
hs |
As |
hs |
As |
hs |
As |
hs |
As |
hs |
As |
hs |
As |
hs |
As | ||
|
2 - 3 |
21 - 22 |
- |
- |
- |
- |
- |
- |
- |
- |
- |
- |
- |
- |
- |
- |
- |
- |
4 |
145 |
|
3 - 4 |
20 - 21 |
- |
- |
- |
- |
- |
- |
- |
- |
- |
- |
- |
- |
1 |
130 |
3 |
131 |
6 |
131 |
|
4 - 5 |
19 - 20 |
- |
- |
- |
- |
- |
- |
- |
- |
3 |
119 |
5 |
120 |
7 |
120 |
9 |
119 |
10 |
118 |
|
5 - 6 |
18 - 19 |
6 |
111 |
8 |
111 |
9 |
111 |
10 |
110 |
12 |
109 |
13 |
108 |
14 |
107 |
15 |
106 |
16 |
104 |
|
6 - 7 |
17 - 18 |
18 |
104 |
19 |
100 |
19 |
100 |
20 |
99 |
21 |
97 |
21 |
25 |
21 |
94 |
21 |
92 |
21 |
91 |
|
7 - 8 |
16 - 17 |
30 |
94 |
29 |
90 |
29 |
90 |
30 |
87 |
30 |
85 |
29 |
82 |
28 |
81 |
27 |
79 |
27 |
77 |
|
8 - 9 |
15 - 16 |
42 |
86 |
41 |
78 |
40 |
78 |
40 |
76 |
38 |
72 |
37 |
69 |
36 |
67 |
34 |
64 |
32 |
61 |
|
9 - 10 |
14 - 15 |
54 |
75 |
52 |
65 |
50 |
65 |
49 |
60 |
47 |
56 |
45 |
53 |
43 |
50 |
40 |
49 |
37 |
45 |
|
10 - 11 |
13 - 14 |
65 |
56 |
62 |
45 |
59 |
45 |
56 |
40 |
54 |
36 |
51 |
33 |
48 |
31 |
44 |
29 |
40 |
28 |
|
11 - 12 |
12 - 13 |
73 |
24 |
69 |
18 |
65 |
18 |
61 |
16 |
58 |
13 |
54 |
12 |
50 |
11 |
46 |
10 |
42 |
9 |
|
12 |
74 |
0 |
70 |
0 |
66 |
0 |
62 |
0 |
58 |
0 |
54 |
0 |
50 |
0 |
46 |
0 |
42 |
0 | |
Коэффициенты Kг, Kв принимаются по таблице П.3 в зависимости от солнцезащитных углов плоскостей l1 и l2 по рисунку П.1, а и б, определяемых по формулам:
, (П.10)
, (П.11)
где H, B, l1, l2, r, s - принимаются, как в формулах (П.4) - (П.7), по рисунку П.1, а - в.
|
Тип солнцезащитной конструкции |
Солнцезащитные углы β и γ, градусы (по рисунку П.1, а и б) | |||||
|
10 |
20 |
30 |
40 |
50 |
60 | |
|
Горизонтальная Кг |
0,84 |
0,70 |
0,58 |
0,47 |
0,36 |
0,27 |
|
Вертикальная Кв |
0,92 |
0,85 |
0,79 |
0,73 |
0,68 |
0,63 |
Солнечный азимут светового проема As,ос, градусы, определяется разностью углов азимута Солнца и азимута светового проема (рисунок П.1, в):
As,ос = |As - Aос|, (П.12)
As - азимут Солнца, градусы - угол между направлением на юг и горизонтальной проекцией солнечного луча;
Aос - азимут светового проема, градусы - угол между перпендикуляром к остеклению и направлением на юг.
Для восточной половины небосклона значения As, Aос отрицательные, а для западной половины положительные.
Азимуты световых проемов, ориентированные по основным сторонам света, имеют следующие значения: ЮВ - 45°, В - 90°, СВ - 135°, С - 180°, Ю - 0°, ЮЗ - 45°, 3 - 90°, СЗ - 135°.
Показатель aп поглощения ограждениями теплового потока прямой и рассеянной солнечной радиации, передаваемого воздуху помещения конвективными потоками, определяют по таблице П.4 в зависимости от отношения ∑Y/Δ, в котором ∑Y - показатель суммарного усвоения теплоты ограждениями помещения, Вт/°C:
∑Y = Y1A1 + Y2A2 +…+YnAn, (П.13)
Δ - показатель интенсивности конвективного теплообмена в помещении, м;
Δ = 2,55(А1 + А2 +…+Аn), (П.14)
Y1, Y2 ... Yn - коэффициенты теплоусвоения, Вт/(м2·°C), для стен, покрытий и пола, определяемые согласно СП 50.13330.2012 (пункт 6.6), причем в расчете учитывают только один-два активных внутренних слоя конструкции ограждения со стороны помещения;
A1, A2 ... An - внутренние поверхности ограждений помещения и поверхности оборудования, м2.
|
∑Y/Δ |
Часы суток | ||||||||||||||||||||||||
|
Z |
Z + 1 |
Z + 2 |
Z + 3 |
Z + 4 |
Z + 5 |
Z + 6 |
Z + 7 |
Z + 8 |
Z + 9 |
Z + 10 |
Z + 11 |
Z + 12 |
Z + 13 |
Z + 14 |
Z + 15 |
Z + 16 |
Z + 17 |
Z + 18 |
Z + 19 |
Z + 20 |
Z + 21 |
Z + 22 |
Z + 23 |
Z + 24 | |
|
Продолжительность солнечной радиации ∑Zч = 4 ч | |||||||||||||||||||||||||
|
0,5 |
0,01 |
0,33 |
0,61 |
0,58 |
0,25 |
0,12 |
0,08 |
0,06 |
0,05 |
0,04 |
0,04 |
0,04 |
0,03 |
0,03 |
0,03 |
0,03 |
0,02 |
0,02 |
0,02 |
0,02 |
0,02 |
0,02 |
0,02 |
0,01 |
0,01 |
|
1,5 |
0,04 |
0,16 |
0,33 |
0,38 |
0,26 |
0,16 |
0,12 |
0,10 |
0,09 |
0,08 |
0,07 |
0,07 |
0,07 |
0,06 |
0,06 |
0,06 |
0,05 |
0,05 |
0,05 |
0,05 |
0,05 |
0,04 |
0,04 |
0,04 |
0,04 |
|
2,5 |
0,05 |
0,12 |
0,24 |
0,29 |
0,23 |
0,15 |
0,13 |
0,11 |
0,10 |
0,09 |
0,09 |
0,05 |
0,05 |
0,05 |
0,07 |
0,07 |
0,07 |
0,07 |
0,06 |
0,06 |
0,06 |
0,06 |
0,06 |
0,06 |
0,05 |
|
3,5 |
0,06 |
0,10 |
0,20 |
0,24 |
0,21 |
0,14 |
0,12 |
0,11 |
0,10 |
0,10 |
0,09 |
0,09 |
0,09 |
0,09 |
0,05 |
0,08 |
0,08 |
0,08 |
0,07 |
0,07 |
0,07 |
0,07 |
0,06 |
0,06 |
0,06 |
|
4,5 |
0,07 |
0,10 |
0,17 |
0,21 |
0,19 |
0,14 |
0,12 |
0,11 |
0,11 |
0,10 |
0,10 |
0,10 |
0,09 |
0,09 |
0,09 |
0,09 |
0,08 |
0,08 |
0,08 |
0,08 |
0,08 |
0,07 |
0,07 |
0,07 |
0,07 |
|
5,5 |
0,07 |
0,09 |
0,15 |
0,19 |
0,18 |
0,13 |
0,12 |
0,11 |
0,11 |
0,10 |
0,10 |
0,10 |
0,10 |
0,09 |
0,09 |
0,09 |
0,08 |
0,08 |
0,08 |
0,08 |
0,08 |
0,08 |
0,07 |
0,07 |
0,07 |
|
Продолжительность солнечной радиации ∑Zч = 6 ч | |||||||||||||||||||||||||
|
0,5 |
0,02 |
0,24 |
0,50 |
0,66 |
0,68 |
0,52 |
0,25 |
0,13 |
0,10 |
0,08 |
0,07 |
0,06 |
0,05 |
0,05 |
0,05 |
0,04 |
0,04 |
0,04 |
0,08 |
0,03 |
0,03 |
0,03 |
0,02 |
0,02 |
0,02 |
|
1,5 |
0,06 |
0,15 |
0,29 |
0,40 |
0,45 |
0,41 |
0,25 |
0,19 |
0,16 |
0,14 |
0,12 |
0,11 |
0,11 |
0,10 |
0,09 |
0,09 |
0,09 |
0,03 |
0,08 |
0,07 |
0,07 |
0,07 |
0,07 |
0,06 |
0,06 |
|
2,5 |
0,08 |
0,13 |
0,22 |
0,31 |
0,35 |
0,34 |
0,26 |
0,20 |
0,17 |
0,15 |
0,14 |
0,13 |
0,13 |
0,12 |
0,12 |
0,11 |
0,11 |
0,10 |
0,10 |
0,10 |
0,09 |
0,09 |
0,09 |
0,09 |
0,08 |
|
3,5 |
0,09 |
0,12 |
0,19 |
0,26 |
0,30 |
0,28 |
0,25 |
0,19 |
0,17 |
0,16 |
0,15 |
0,14 |
0,14 |
0,13 |
0,13 |
0,12 |
0,12 |
0,11 |
0,11 |
0,11 |
0,10 |
0,10 |
0,10 |
0,10 |
0,09 |
|
4,5 |
0,10 |
0,12 |
0,18 |
0,23 |
0,27 |
0,27 |
0,23 |
0,19 |
0,17 |
0,16 |
0,15 |
0,15 |
0,14 |
0,14 |
0,13 |
0,13 |
0,13 |
0,12 |
0,12 |
0,12 |
0,11 |
0,11 |
0,11 |
0,11 |
0, 11 |
|
5,5 |
0,11 |
0,12 |
0,17 |
0,21 |
0,25 |
0,25 |
0,22 |
0,18 |
0,17 |
0,16 |
0,16 |
0,15 |
0,15 |
0,15 |
0,14 |
0,14 |
0,13 |
0,13 |
0,13 |
0,12 |
0,12 |
0,12 |
0,12 |
0,11 |
0,11 |
|
Продолжительность солнечной радиации ∑Zч = 8 ч | |||||||||||||||||||||||||
|
0,5 |
0,06 |
0,20 |
0,41 |
0,60 |
0,71 |
0,72 |
0,64 |
0,50 |
0,24 |
0,15 |
0,11 |
0,09 |
0,08 |
0,07 |
0,07 |
0,06 |
0,06 |
0,05 |
0,05 |
0,05 |
0,04 |
0,04 |
0,04 |
0,03 |
0,03 |
|
1,5 |
0,08 |
0,15 |
0,26 |
0,38 |
0,46 |
0,50 |
0,49 |
0,42 |
0,30 |
0,22 |
0,19 |
0,17 |
0,15 |
0,14 |
0,13 |
0,13 |
0,13 |
0,11 |
0,11 |
0,10 |
0,10 |
0,10 |
0,09 |
0,09 |
0,08 |
|
2,5 |
0,11 |
0,15 |
0,22 |
0,30 |
0,37 |
0,40 |
0,40 |
0,37 |
0,29 |
0,23 |
0,21 |
0,19 |
0,18 |
0,17 |
0,16 |
0,16 |
0,15 |
0,14 |
0,14 |
0,14 |
0,13 |
0,13 |
0,12 |
0,12 |
0,11 |
|
3,5 |
0,13 |
0,15 |
0,20 |
0,27 |
0,32 |
0,35 |
0,36 |
0,33 |
0,29 |
0,24 |
0,21 |
0,20 |
0,19 |
0,18 |
0,18 |
0,17 |
0,17 |
0,16 |
0,16 |
0,15 |
0,15 |
0,14 |
0,14 |
0,13 |
0,13 |
|
4,5 |
0,14 |
0,15 |
0,20 |
0,25 |
0,29 |
0,32 |
0,32 |
0,31 |
0,27 |
0,23 |
0,22 |
0,21 |
0,20 |
0,19 |
0,18 |
0,18 |
0,18 |
0,17 |
0,17 |
0,16 |
0,16 |
0,16 |
0,15 |
0,15 |
0,14 |
|
5,5 |
0,15 |
0,16 |
0,19 |
0,23 |
0,27 |
0,29 |
0,30 |
0,29 |
0,26 |
0,23 |
0,22 |
0,21 |
0,20 |
0,20 |
0,19 |
0,19 |
0,18 |
0,18 |
0,17 |
0,17 |
0,17 |
0,16 |
0,16 |
0,15 |
0,15 |
|
Продолжительность солнечной радиации ∑Zч = 10 ч | |||||||||||||||||||||||||
|
0,5 |
0,04 |
0,17 |
0,35 |
0,52 |
0,66 |
0,74 |
0,76 |
0,71 |
0,60 |
0,44 |
0,24 |
0,16 |
0,13 |
0,11 |
0,09 |
0,09 |
0,08 |
0,07 |
0,07 |
0,06 |
0,06 |
0,05 |
0,05 |
0,05 |
0,04 |
|
1,5 |
0,11 |
0,16 |
0,25 |
0,35 |
0,44 |
0,51 |
0,54 |
0,54 |
0,50 |
0,43 |
0,32 |
0,25 |
0,22 |
0,20 |
0,18 |
0,17 |
0,16 |
0,15 |
0,14 |
0,14 |
0,13 |
0,13 |
0,12 |
0,12 |
0,11 |
|
2,5 |
0,15 |
1,17 |
0,23 |
0,30 |
0,37 |
0,42 |
0,45 |
0,46 |
0,44 |
0,39 |
0,32 |
0,27 |
0,25 |
0,23 |
0,21 |
0,20 |
0,20 |
0,19 |
0,18 |
0,18 |
0,17 |
0,16 |
0,16 |
0,15 |
0,15 |
|
3,5 |
0,17 |
0,18 |
0,22 |
0,28 |
0,33 |
0,37 |
0,40 |
0,41 |
0,40 |
0,37 |
0,32 |
0,28 |
0,26 |
0,24 |
0,23 |
0,22 |
0,22 |
0,21 |
0,20 |
0,20 |
0,19 |
0,18 |
0,18 |
0,17 |
0,17 |
|
4,5 |
0,18 |
0,19 |
0,22 |
0,27 |
0,21 |
0,34 |
0,37 |
0,37 |
0,37 |
0,35 |
0,31 |
0,28 |
0,26 |
0,25 |
0,24 |
0,23 |
0,23 |
0,22 |
0,22 |
0,21 |
0,21 |
0,20 |
0,19 |
0,19 |
0,18 |
|
5,5 |
0,19 |
0,20 |
0,22 |
0,26 |
0,29 |
0,32 |
0,34 |
0,35 |
0,35 |
0,35 |
0,31 |
0,28 |
0,27 |
0,26 |
0,25 |
0,24 |
0,23 |
0,23 |
0,23 |
0,22 |
0,22 |
0,21 |
0,21 |
0,20 |
0,19 |
|
Продолжительность солнечной радиации ∑Zч = 12 ч | |||||||||||||||||||||||||
|
0,5 |
0,06 |
0,16 |
0,32 |
0,47 |
0,50 |
0,70 |
0,77 |
0,78 |
0,75 |
0,68 |
0,56 |
0,41 |
0,24 |
0,16 |
0,14 |
0,12 |
0,11 |
0,10 |
0,09 |
0,08 |
0,08 |
0,07 |
0,06 |
0,06 |
0,06 |
|
1,5 |
0,14 |
0,18 |
0,26 |
0,34 |
0,43 |
0,50 |
0,55 |
0,58 |
0,59 |
0,56 |
0,51 |
0,43 |
0,34 |
0,27 |
0,24 |
0,22 |
0,21 |
0,19 |
0,18 |
0,17 |
0,17 |
0,16 |
0,15 |
0,15 |
0,14 |
|
2,5 |
0,18 |
0,20 |
0,25 |
0,31 |
0,37 |
0,42 |
0,46 |
0,49 |
0,50 |
0,49 |
0,46 |
0,41 |
0,35 |
0,30 |
0,28 |
0,26 |
0,25 |
0,24 |
0,23 |
0,22 |
0,21 |
0,20 |
0,20 |
0,19 |
0,18 |
|
3,5 |
0,21 |
0,22 |
0,25 |
0,30 |
0,34 |
0,38 |
0,42 |
0,44 |
0,45 |
0,45 |
0,40 |
0,40 |
0,38 |
0,32 |
0,30 |
0,28 |
0,27 |
0,25 |
0,25 |
0,24 |
0,23 |
0,23 |
0,22 |
0,22 |
0,21 |
|
4,5 |
0,23 |
0,23 |
0,26 |
0,29 |
0,36 |
0,36 |
0,39 |
0,41 |
0,42 |
0,42 |
0,41 |
0,38 |
0,35 |
0,32 |
0,30 |
0,29 |
0,28 |
0,27 |
0,27 |
0,26 |
0,25 |
0,25 |
0,24 |
0,23 |
0,23 |
|
5,5 |
0,24 |
0,24 |
0,26 |
0,29 |
0,32 |
0,34 |
0,37 |
0,39 |
0,40 |
0,40 |
0,39 |
0,38 |
0,35 |
0,32 |
0,32 |
0,30 |
0,30 |
0,29 |
0,28 |
0,28 |
0,27 |
0,26 |
0,26 |
0,25 |
0,24 |
Для определения почасовых поступлений теплоты, расходуемой на нагревание приточного воздуха, по таблице П.1 находят время начала прямой радиации Zn и продолжительность прямой радиации через остекленные поверхности помещения ΔZn, а затем по таблице П.4, руководствуясь найденными значениями ΔZp, по строке, соответствующей отношению ∑Y/Δ, находят значения показателя aп для начала радиации Z и затем для всех часов суток Z + 1, Z + 2 и т.д.
Умножая значение максимального теплового потока солнечной радиации Qос,i, полученного по формуле (П.3), на полученный показатель aп, определяют почасовые поступления теплоты, Вт, в помещение, расходуемые на нагревание воздуха.
Библиография
[1] Федеральный закон от 22 июля 2008 N 123-ФЗ "Технический регламент о требованиях пожарной безопасности"
[2] Научно-прикладной справочник по климату СССР. Серия 3. Многолетние данные. Части 1 - 6. Вып. 1 - 34. - Санкт-Петербург: Гидрометеоиздат, 1989 - 1998


































