ГОСТ Р 71616-2024 МАШИНЫ ЗЕМЛЕРОЙНЫЕ. ПОЛИГОН ДЛЯ ИСПЫТАНИЯ ВЫСОКОАВТОМАТИЗИРОВАННЫХ ЗЕМЛЕРОЙНЫХ И ДОРОЖНО-СТРОИТЕЛЬНЫХ МАШИН. ТЕХНИЧЕСКИЕ ТРЕБОВАНИЯ
Утв. и введен в действие Приказом Федерального агентства по техническому регулированию и метрологии от 18 сентября 2024 г. N 1254-ст
Национальный стандарт РФ ГОСТ Р 71616-2024
"МАШИНЫ ЗЕМЛЕРОЙНЫЕ. ПОЛИГОН ДЛЯ ИСПЫТАНИЯ ВЫСОКОАВТОМАТИЗИРОВАННЫХ ЗЕМЛЕРОЙНЫХ И ДОРОЖНО-СТРОИТЕЛЬНЫХ МАШИН. ТЕХНИЧЕСКИЕ ТРЕБОВАНИЯ"
Earth moving machines. Testing ground for highly automated earth-moving and road-building machines. Technical requirements
ОКС 43.040.10
Дата введения - 1 января 2025 года
Введен впервые
Предисловие
1 РАЗРАБОТАН Обществом с ограниченной ответственностью "ДСТ-УРАЛ" (ООО "ДСТ-УРАЛ")
2 ВНЕСЕН Техническим комитетом по стандартизации ТК 267 "Строительно-дорожные машины и оборудование"
3 УТВЕРЖДЕН И ВВЕДЕН В ДЕЙСТВИЕ Приказом Федерального агентства по техническому регулированию и метрологии от 18 сентября 2024 г. N 1254-ст
4 ВВЕДЕН ВПЕРВЫЕ
Правила применения настоящего стандарта установлены в статье 26 Федерального закона от 29 июня 2015 г. N 162-ФЗ "О стандартизации в Российской Федерации". Информация об изменениях к настоящему стандарту публикуется в ежегодном (по состоянию на 1 января текущего года) информационном указателе "Национальные стандарты", а официальный текст изменений и поправок - в ежемесячном информационном указателе "Национальные стандарты". В случае пересмотра (замены) или отмены настоящего стандарта соответствующее уведомление будет опубликовано в ближайшем выпуске ежемесячного информационного указателя "Национальные стандарты". Соответствующая информация, уведомление и тексты размещаются также в информационной системе общего пользования - на официальном сайте Федерального агентства по техническому регулированию и метрологии в сети Интернет (www.rst.gov.ru)
Введение
Целью разработки настоящего документа является формирование требований к полигонам для испытаний на безопасность систем управления высокоавтоматизированных землеройных и дорожно-строительных машин, объектов и элементов инфраструктуры, а также следующих требований:
- к техническим требованиям к испытательному полигону;
- метрологическому обеспечению испытательных полигонов;
- аттестации испытательных полигонов;
- оформлению паспорта испытательного полигона.
Настоящий стандарт устанавливает требования к испытательным полигонам, соблюдение которых обеспечивает гарантии того, что нормирование проходит единообразно, компетентно и ответственно, обеспечивая безопасность тестирования высокоавтоматизированных землеройных и дорожно-строительных машин.
Настоящий стандарт содержит требования, относящиеся к отрасли дорожно-строительного машиностроения, с целью обеспечения безопасности высокоавтоматизированных землеройных и дорожно-строительных машин при их тестировании на соответствие нормативным показателям.
1 Область применения
Настоящий стандарт устанавливает технические требования к испытательным полигонам для проведения испытаний высокоавтоматизированных землеройных и дорожно-строительных машин.
Настоящий стандарт распространяется для испытательных организаций при создании, функционировании, а также при подготовке к аккредитации в качестве аккредитованного полигона для проведения испытаний высокоавтоматизированных землеройных и дорожно-строительных машин и для органов по аккредитации при проведении инспекционного контроля деятельности испытательных полигонов.
Данный стандарт не рассматривает использование полигона для тестирования соответствия высокоавтоматизированных землеройных и дорожно-строительных машин выполнению требований по обеспечению технологических процессов землеройных и дорожно-строительных работ, работоспособность систем телеметрии, а также работоспособность роботизированных органов.
2 Нормативные ссылки
В настоящем стандарте использованы нормативные ссылки на следующие стандарты:
ГОСТ 12.2.121 Система стандартов безопасности труда. Тракторы промышленные. Общие требования безопасности
ГОСТ ISO/IEC 17000-2012 Оценки соответствия. Словарь и общие принципы
ГОСТ ISO/IEC 17025 Общие требования к компетентности испытательных и калибровочных лабораторий
ГОСТ Р 8.568-2017 Государственная система обеспечения единства измерений. Аттестация испытательного оборудования. Основные положения
ГОСТ Р 8.820 Государственная система обеспечения единства измерений. Метрологическое обеспечение. Основные положения
ГОСТ Р 51672 Метрологическое обеспечение испытаний продукции для целей подтверждения соответствия. Основные положения
ГОСТ Р 58823 Автомобильные транспортные средства. Системы автоматизации управления движением. Классификация и определения
ГОСТ Р 70851 Тракторы и машины сельскохозяйственные. Полигон для испытания высокоавтоматизированных машинно-тракторных агрегатов. Технические требования
ГОСТ Р ИСО 20474-1 Машины землеройные. Безопасность. Часть 1. Общие требования
Примечание - При пользовании настоящим стандартом целесообразно проверить действие ссылочных стандартов в информационной системе общего пользования - на официальном сайте Федерального агентства по техническому регулированию и метрологии в сети Интернет или по ежегодному информационному указателю "Национальные стандарты", который опубликован по состоянию на 1 января текущего года, и по выпускам ежемесячного информационного указателя "Национальные стандарты" за текущий год. Если заменен ссылочный стандарт, на который дана недатированная ссылка, то рекомендуется использовать действующую версию этого стандарта с учетом всех внесенных в данную версию изменений. Если заменен ссылочный стандарт, на который дана датированная ссылка, то рекомендуется использовать версию этого стандарта с указанным выше годом утверждения (принятия). Если после утверждения настоящего стандарта в ссылочный стандарт, на который дана датированная ссылка, внесено изменение, затрагивающее положение, на которое дана ссылка, то это положение рекомендуется применять без учета данного изменения. Если ссылочный стандарт отменен без замены, то положение, в котором дана ссылка на него, рекомендуется применять в части, не затрагивающей эту ссылку.
3 Термины и определения
В настоящем стандарте применены следующие термины с соответствующими определениями:
|
3.1 испытательный полигон: Подготовленный участок земли с элементами инфраструктуры с использованием цифровых систем, оснащенный испытательным оборудованием и обеспечивающий проведение испытаний высокоавтоматизированных землеройной и дорожно-строительной машин, их аппаратно-программного комплексов или компонентов отдельных подсистем, а также элементов инфраструктуры в сфере строительно-дорожного комплекса в условиях, близких к условиям их штатной эксплуатации, установленных в рамках нормативной и технической документации. [Адаптировано из ГОСТ Р 70851-2023, пункт 3.1] |
3.2
|
временный испытательный полигон: Специально выбранные участки земли, обеспечивающие испытания высокоавтоматизированных землеройной и дорожно-строительной машин и элементов инфраструктуры в условиях, определенных нормативной и технической документацией, в том числе с использованием цифровых систем в сфере строительно-дорожного комплекса. [Адаптировано из ГОСТ Р 70851-2023, пункт 3.2] |
3.3 высокоавтоматизированные землеройная и дорожно-строительная машины; ВАЗДСМ: Землеройная и дорожно-строительная машины с оператором на борту или без него с возможностью высокоавтоматизированной работы, в том числе с установленным прицепным и навесным оборудованием, сконструированные специально для применения автоматической системы управления, которая активна в работе в пределах ограничений условий эксплуатации.
Примечание - Уровни автоматизации 1 - 5 - согласно ГОСТ Р 58823-2020. ВАЗДСМ, предназначенный для АСУ рассматриваемой ВАЗДСМ: высокоавтоматизированные самоходные землеройные и дорожно-строительные машины с оператором на борту или без него с возможностью высокоавтоматизированной работы, в том числе с установленным навесным оборудованием, сконструированный специально для применения автоматической системы управления, которая активна при выполнении заданий в пределах ограничений условий эксплуатации.
3.4
|
объект инфраструктуры (испытательного полигона): Составная часть подсистем инфраструктуры испытательного полигона или совокупность составных частей ее подсистем. [ГОСТ Р 70851-2023, пункт 3.4] |
3.5 инфраструктура испытательного полигона: Технологический комплекс, обеспечивающий проведение испытаний высокоавтоматизированных землеройной и дорожно-строительной машин и элементов инфраструктуры, в том числе с использованием цифровых систем в сфере строительно-дорожного комплекса.
3.6
|
испытательное оборудование: Предметы, объекты и элементы инфраструктуры, используемые для обеспечения нормированных параметров и пользовательских функций. [ГОСТ Р 70851-2023, пункт 3.5] |
3.7
|
аттестация испытательного оборудования: Определение нормированных точностных характеристик испытательного оборудования, их соответствия требованиям нормативно-технической документации и установление пригодности этого оборудования к эксплуатации. [ГОСТ 16504-81, статья 18] |
3.8
|
верификация объектов инфраструктуры на соответствие требованиям нормативной и технической документации: Проверка соответствия объектов и элементов инфраструктуры испытательного полигона требованиям, установленным в нормативной и технической документации. [ГОСТ Р 57076-2016, пункт 3.3] |
3.9
|
аттестация испытательного полигона: Определение соответствия нормированных характеристик испытательного полигона требованиям, установленным нормативной и технической документацией. [ГОСТ Р 57076-2016, пункт 3.1] |
3.10
|
метрологическое обеспечение испытаний: Установление и применение научных и организационных основ, технических средств, метрологических правил и норм, необходимых для получения достоверной измерительной информации о значениях показателей качества и безопасности продукции и услуг, а также о значениях характеристик воздействующих факторов и/или режимов функционирования объекта при испытаниях, других условий испытаний. [ГОСТ Р 51672-2000, пункт 3.1] |
3.11
|
оценка соответствия: Доказательство того, что заданные требования к продукции, процессу, системе, лицу или органу выполнены. [ГОСТ ISO/IEC 17000-2012, статья 2.1] |
3.12 тестирование: Проверка соответствия выполнения процессов действий рассматриваемых высокоавтоматизированных землеройной и дорожно-строительной машин при опытной эксплуатации между ожидаемым и реальным поведением в специально заданных условиях.
3.13 программа испытаний: Перечень планирующихся в ходе испытаний проверок выполнения действий рассматриваемых высокоавтоматизированных землеройной и дорожно-строительной машин, решаемых ими задач и оценок результатов со ссылками на определенные методики испытаний.
3.14 мониторинг: Набор функций, которые выполняются человеком или высокоавтоматизированными землеройной и дорожно-строительной машинами в режиме реального времени и включают наблюдение и обработку данных, используемых для управления транспортным средством или для обеспечения возможности управления им.
3.15
|
неисправность, отказ в работе (fault): Состояние машины, характеризующееся ее неспособностью выполнять заданную функцию. Исключение составляют остановка машины для профилактического технического обслуживания или других плановых действий подобного вида, а также из-за отсутствия внешних ресурсов (например, отключение энергоснабжения). Примечание 1 - Отказ в работе часто является результатом повреждения машины, но может произойти и без этого. Примечание 2 - Для машин и оборудования термин "fault" обычно применяется в соответствии с определениями IEV 191-05-01. Примечание 3 - На практике термины "повреждение" и "отказ в работе" часто употребляются как синонимы. [ГОСТ ISO 12100-2013, пункт 3.33] |
3.16
|
опорная поверхность: Поверхность, по которой в данный момент времени движется рассматриваемое транспортно-технологическое средство. [ГОСТ Р 58840-2020, пункт 3.25] |
3.17
|
сухая дорога: Дорога, на которой номинальный пиковый коэффициент торможения составляет 0,9. [ГОСТ Р 58839-2020, пункт 3.34] |
3.18 уровни автоматизации; УА: Функциональные возможности автоматизированной системы управления высокоавтоматизированной землеройной и дорожно-строительной машины.
Примечание - Выделяют пять уровней автоматизации: УА 1, УА 2, УА 3, УА 4, УА 5 (см. ГОСТ Р 58823 и [1]).
4 Сокращения
В настоящем стандарте применены следующие сокращения:
- АПК - аппаратно-программный комплекс;
- АСУ - автоматизированная система управления;
- ГСМ - горюче-смазочные материалы;
- ГНСС (GPS) - глобальные навигационные спутниковые системы;
- ДВС - двигатель внутреннего сгорания;
- ПДУ - пульт дистанционного управления.
5 Технические требования
5.1 Общие требования
5.1.1 ВАЗДСМ должны соответствовать требованиям безопасности согласно ГОСТ 12.2.121, ГОСТ Р ИСО 20474-1, [2].
5.1.2 Испытательный полигон состоит:
- из объектов и элементов инфраструктуры;
- испытательного оборудования.
5.1.3 Верификацию объектов инфраструктуры на соответствие требованиям нормативной и технической документации проводят согласно требованиям ГОСТ ISO/IEC 17025.
5.1.4 Для перемещения объектов испытаний по испытательному полигону, проведения испытаний должно быть предусмотрено наличие тяговых транспортных средств, соответствующих требованиям ГОСТ 12.2.121.
5.1.5 Для испытаний подсистем АСУ ВАЗДСМ должна быть предусмотрена универсальная мобильная платформа с модульной системой установки компонентов АПК.
5.1.6 Испытательный полигон должен обеспечивать проведение испытаний:
- экспериментальных образцов ВАЗДСМ, объектов и элементов инфраструктуры;
- выпускаемых образцов ВАЗДСМ, объектов и элементов инфраструктуры, в том числе с использованием цифровых систем в сфере дорожно-строительного комплекса инфраструктуры согласно [3], для дальнейшего допуска их в эксплуатацию, а также с целью обеспечения соответствия требованиям ГОСТ 12.2.121, ГОСТ Р ИСО 20474-1, [2].
5.1.7 Испытательный полигон должен обеспечивать проведение испытаний ВАЗДСМ, объектов и элементов инфраструктуры в соответствии с климатическими условиями их эксплуатации, установленными в нормативной и технической документации на данные объекты испытаний.
5.1.8 Участок инфраструктуры испытательного полигона, используемый для ходовых испытаний, должен подвергаться верификации на соответствие требованиям методик испытания согласно приложениям А и Б.
5.1.9 В зависимости от назначения и видов проводимых испытаний испытательные полигоны подразделяют:
- на постоянные специализированные полигоны, используемые в соответствии с требованиями согласно приложению А;
- временные полигоны, используемые для испытаний ВАЗДСМ на функциональную безопасность и с целью сбора статистической информации по определению показателей безотказности подсистем АСУ ВАЗДСМ согласно приложению Б.
Примечание - Прежде всего, временные полигоны целесообразно использовать для проведения неспецифических видов испытаний, которые экономически нецелесообразно проводить на постоянных полигонах.
5.1.10 Постоянный и временный испытательные полигоны должны предоставлять возможность тестирования параметров рассматриваемой ВАЗДСМ УА 3, УА 4, УА 5 по [1], а именно:
а) обеспечивать (полностью или частично) проведение следующих видов испытаний на безопасность:
1) выполнение прямолинейного движения,
2) выполнение движения по заданной траектории,
3) выполнение маневра "Разворот",
4) выполнение маневра "Совместная работа двух машин",
5) выполнение маневров при смешанном движении,
6) выполнение операций при команде "свой-чужой",
7) идентификация случайных препятствий и выполнение действий в соответствии с требованиями задания (препятствие для испытаний и требования к ним приведены в приложении В);
б) выполнение всех функциональных требований к ВАЗДСМ в различных условиях:
1) время суток: день, вечер, ночь,
2) температура воздуха: от плюс 40 °C до минус 40 °C (в зависимости от условий эксплуатации, описанных для выполнения требований в эксплуатационном задании),
3) ясная погода,
4) осадки: дождь, снег, туман,
5) ветер: средняя скорость ветра - до 8 м/с.
5.2 Устройства сигнализации, централизации и блокировки
5.2.1 Испытательные полигоны должны быть оборудованы системой управления и обеспечения безопасности движения ВАЗДСМ, включающей:
- устройство автоматической блокировки, дополненное устройствами автоматической визуальной и звуковой сигнализации и диспетчерского контроля движения ВАЗДСМ;
- оборудование для контроля технического состояния устройств подсистем безопасности ВАЗДСМ.
Для испытаний ВАЗДСМ УА 4, УА 5 по [1] необходимо предусмотреть диспетчерский пост удаленного управления на базе двухосного бытового буксируемого вагончика.
5.2.2 На испытательных площадках в зонах разворота должен быть придан уклон поверхности дороги вовнутрь на 4° - 5° (внешней обочине - 6° - 8°) для обеспечения устойчивого движения, например бульдозера, на скорости 4 - 5 км/ч или колесного погрузчика на скорости 25 - 30 км/ч. На прямолинейных участках уклон должен быть минимально достаточным для отвода воды и с поверхности дороги, оборудован дренажными системами ливневой канализации (не допускается образование луж). Покрытие поверхности полигона, включая разворотные круги, участки испытаний систем торможения, должно обеспечивать прочность, достаточную для движения колесной ВАЗДСМ с нагрузкой до 15 т на одно колесо для колесной ВАЗДСМ, для движения гусеничной ВАЗДСМ - удельное давление - до 3 кгс/см2 при развитии тяги до 25 т. По обе стороны радиальных участков разворотов (с расширениями) должна быть предусмотрена обочина шириной по 5 м из укатанного щебня. Возвышение поверхности полигона над окружающим грунтом (насыпь) - не более 0,3 м.
5.2.3 На площадке для тестирования торможения рассматриваемой ВАЗДСМ участки дороги должны быть ограждены отбойниками. Необходимо предусмотреть возможность демонтажа отбойников и стоек их крепления для имитации других сценариев испытаний.
5.2.4 Дорога для подъезда к полигону - шириной 7 м из укатанного щебня.
5.2.5 Прочность покрытия радиального трека для разворота должна быть достаточна для движения рассматриваемой ВАЗДСМ с динамической нагрузкой на колесо (гусеницу) до 25 т (при наезде на препятствие).
5.2.6 Площадка хранения сменных препятствий должна быть замощена укатанным щебнем или забетонирована. Размер площадки - 90 x 50 м.
5.2.7 Диспетчерский пост удаленного управления на базе двухосного бытового буксируемого вагончика, разделенного на тамбур с входом и рабочее помещение, включает:
- два рабочих места оператора (для управления двумя машинами);
- системы индикации режимов движения ВАЗДСМ (приемники телесигнала от видеокамер, смонтированных в кабинах и мониторы);
- системы управления по каналу удаленной связи всеми агрегатами трансмиссии и двигателя внутреннего сгорания, скоростью движения и аварийной остановкой;
- кабели для подключения к электросети 220 В и дизель-генератор для автономной работы диспетчерского поста удаленного управления при отключении электропитания;
- кулер для питьевой воды и бак технической воды объемом 20 - 50 л с автоподогревом для предотвращения замерзания и два рукомойника (для зимних условий внутренний в тамбуре, для летних - наружный);
- климатическую систему с печкой и кондиционером;
- гардероб в тамбуре для спецодежды и шкафчики эксплуатационной документации в помещении с рабочими местами;
- туалет, умывальник.
Закрепление оборудования в вагончике должно допускать перемещение по дороге из укатанного щебня со скоростями до 10 км/ч.
5.2.8 Автоматическая система дистанционного управления ВАЗДСМ на треках с препятствиями должна работать по сигналу со спутниковой системы навигации с коррекцией по данным комплекса подсистем обнаружения препятствий, измеряющих расстояние до внешнего и внутреннего отбойников.
5.2.9 Система автовождения (ВАЗДСМ УА 3, УА 4, УА 5 [1]) должна обеспечивать:
- передачу на пост управления и отображение оператору показателей работы ВАЗДСМ, отображаемых на установленной в кабине информационной панели;
- инициализацию системы автовождения;
- плавное трогание с места;
- изменение скорости движения ВАЗДСМ;
- автоматическую коррекцию траектории движения;
- плавную остановку ВАЗДСМ по команде оператора;
- автоматическую остановку ВАЗДСМ в случае недопустимого отклонения траектории движения;
- аварийное прекращение подачи топлива в двигатель автоматически (в случае отказа системы автовождения) или по команде оператора.
5.2.10 При испытаниях ВАЗДСМ УА 3, УА 4, УА 5 по [1] плавное трогание с места и управление скоростью движения обеспечивает оператор либо с поста управления, либо с ПДУ при помощи управляемых по каналу удаленной связи линейных электромеханизмов, монтируемых на органы управления ДВС и трансмиссией.
5.2.11 Автоматическая коррекция траектории движения должна осуществляться штатной системой управления двигателем внутреннего сгорания и трансмиссией по данным GPS/ГНСС (допускается установка базовой станции) с коррекцией по сигналу подсистем обнаружения препятствий, измеряющих расстояние до внутреннего и внешнего отбойников, установленных на треке.
5.2.12 В случае если показания подсистем обнаружения препятствий (расстояние от отбойников) вышло за предварительно заданные пределы или имеется расхождение в показаниях двух компонентов подсистем обнаружения препятствий (измеряющих расстояние до внутреннего и внешнего отбойников), система управления двигателем внутреннего сгорания, трансмиссией и тормозами должна автоматически выполнить остановку, подав соответствующий сигнал на исполнительные механизмы, смонтированные на органе управления скоростью движения.
5.2.13 Для обеспечения безопасности рассматриваемая ВАЗДСМ должна быть оснащена клапаном отсечки подачи топлива, срабатывающим по данным систем обнаружения препятствий (независимых от подсистем обнаружения препятствий системы управления), а также по сигналу оператора (переданному по каналу удаленной связи).
5.3 Требования к постоянным испытательным полигонам
5.3.1 Постоянный испытательный полигон предназначен для проведения испытаний на безопасность эксплуатации ВАЗДСМ в соответствии с УА 1, УА 2, УА 3, УА 4, УА 5 [1], подсистем и компонентов АПК ВАЗДСМ, объектов и элементов инфраструктуры при ходовых и стационарных испытаниях. Постоянный полигон состоит из нескольких площадок в соответствии со специализацией по разновидностям методик испытаний при разнообразии определения параметров безопасной работы ВАЗДСМ.
5.3.2 На постоянном полигоне должно быть предусмотрено освещение, достаточное для работы в ночное время. Для этого к полигону проводят линию электропередачи. Высота от земли до проводов должна обеспечивать безопасное движение машин высотой до 5,5 м. На мачтах освещения и между круговыми треками с препятствиями должны располагаться коммутационные ящики с розетками для подключения к электросети поста управления и инструмента.
5.3.3 На постоянном полигоне внутри и снаружи каждого радиального трека для разворота должны быть установлены отбойники высотой 0,5 - 1,5 м, защищающие от выкатывания ВАЗДСМ за пределы трека. Предусматривают возможность захода внутрь огороженной зоны. Поверхность между треком и отбойниками - укатанный щебень. Для обеспечения безопасности (в случае неисправности АПК или при поломках компонентов АСУ) с внешней стороны полигона, по внешнему периметру треков движения должны быть сделаны обваловки высотой 0,5 - 1 м и напротив участков разворотов - не менее 2,5 м.
5.3.4 Препятствия на радиальных треках и треках прямолинейного движения постоянного полигона должны быть демонтируемыми (для замены на препятствия для выполнения другой функции). Для этого в покрытие трека должны быть заложены сваренные с металлической обрешеткой закладные втулки с отверстиями диаметром 50 мм (на всю глубину твердого покрытия) для установки препятствий.
5.3.5 Инфраструктура испытательного полигона должна быть единым комплексом, предназначенным для проведения испытаний полностью или частично согласно 5.1.9.
5.3.6 Инфраструктура и характеристики испытательного полигона должны соответствовать требованиям, установленным в программе и методике испытаний ВАЗДСМ, в частности:
- засыпка рвов, воронок и других препятствий (малая воронка - до 3 м, большая воронка - до 8 м в диаметре);
- обваловка фортификационных сооружений высотой 2,5 м;
- подготовка и содержание временных дорог в кустарниках и мелколесье;
- устройство съезда (выезда) с крутых берегов рек и водоемов;
- погрузка грунта, сыпучих строительных материалов в транспортные средства;
- преодоление водных преград глубиной до 1 м вброд.
5.3.7 Капитальный ремонт дорог полигона проводить по мере необходимости.
5.4 Требования к временным испытательным полигонам для испытаний ВАЗДСМ на показатели безотказности, в том числе с прицепными агрегатами
5.4.1 В качестве временного испытательного полигона должен быть выбран эксплуатационный участок поверхности полигона с твердым сухим покрытием с условиями обеспечения проведения испытаний.
5.4.2 Временный испытательный полигон, используемый для проведения ходовых испытаний ВАЗДСМ, должен иметь прямые участки пути и повороты в соответствии со схемами движения, соответствующими требованиям программы испытаний (приложение Б).
5.4.3 Инфраструктура временного испытательного полигона должна быть предназначена для проведения испытаний ВАЗДСМ:
- повышенной массы;
- повышенных габаритов, в том числе в сочленении с агрегатами;
- с повышенными эксплуатационными нагрузками (230,5 кН на ось и более) по ГОСТ Р ИСО 20474-1.
Примечание - В качестве полигона для ходовых испытаний допускается использование площадок специализированного испытательного полигона с возможностью выделения для испытаний ВАЗДСМ "окон", достаточных для сбора статистической информации при проведении испытаний, и соответствующий требованиям методик для определения параметров безотказности элементов подсистем САУ ВАЗДСМ.
5.5 Требования к оборудованию испытательного полигона
5.5.1 Для перемещения объектов испытаний по испытательному полигону для торможения ВАЗДСМ с отказом АСУ при проведении испытаний должно быть предусмотрено наличие тягового транспортного средства - гусеничного трактора или колесного трактора 4 x 4 м тягового класса не ниже 8.
5.5.2 В тяговом транспортном средстве предусматривают наличие устройства для буксировки ВАЗДСМ, мобильного диспетчерского пункта, а также наличие бампера для проведения тестов на торможения ВАЗДСМ в зоне объезда препятствий.
Примечание - Спецификация препятствий описана в приложении В.
5.5.3 Требования к оборудованию испытательного полигона:
а) дороги от въездных ворот до площадки обслуживания техники с шириной дороги 6 м;
б) козловой кран грузоподъемностью 20 т;
в) грузовая площадка размерами 20 x 60 м;
г) железнодорожные пути для испытания ВАЗДСМ для железнодорожных строительных работ;
д) площадка для хранения прицепного и навесного оборудования с асфальтовым покрытием размерами 40 x 80 м;
е) площадка перед воротами ангара размерами 30 x 15 м;
ж) площадка перед воротами ангара размерами 20 x 15 м;
и) площадка между воротами ангара и дорогой размерами 6 x 3 м;
к) площадка для мойки техники с твердым покрытием и уклоном к участку с пониженным уровнем (размерами 15 x 15 м);
л) ангар для хранения техники, включающий:
1) ворота в ангар - 2 шт., размерами 4,0 x 4,5 м и 5 x 4,5 м;
2) две поперечные перегородки, делящие ангар на три части;
3) установленные розетки для подключения переносного инструмента (дрели, болгарки, пуско-зарядного устройства), а также измерительное оборудование мощностью до 3 кВт каждое.
Точек подключения восемь - в каждом углу трех отсеков ангара;
м) контейнер заправочной станции. Требуется оборудовать площадку в соответствии с требованиями к хранению ГСМ (ограждение, меры пожарной безопасности), а также укомплектовать оборудованием (мобильный насос ≈ 50 л/мин для перекачки топлива со счетчиком объема);
н) источник воды:
1) в бытовке накопительная цистерна для воды с автоподогревом (с защитой от замерзания), объем цистерны - не менее 1,5 м3,
2) разводка водопровода (от скважины к бытовке и от бытовки к площадке мойки) с заглубленной прокладкой труб для защиты от замерзания,
3) станция мойки (моечное оборудование высокого давления) с уклоном для слива, дренажная система ливневой канализации;
п) мастерская для колесной техники для осмотра и ремонта техники, в том числе монтаж/демонтаж колес.
Требования к составу мастерской:
а) пол, выдерживающий нагрузку на колесо до 15 т;
б) ворота шириной 5 м и высотой до 6,5 м (для прохода бульдозера с полусферическим отвалом объемом свыше 13 м3);
в) дверь в воротах для входа в мастерскую;
г) окна, расположенные на двух противоположных стенах;
д) кран-балка грузоподъемностью 3 т с высотой подъема крюка не менее 5 м;
е) система отвода выхлопных газов на одну машину (металлический гибкий рукав с вытяжным вентилятором);
ж) система электрического освещения;
и) шесть розеток для подключения инструмента (лампа-переноска, дрель, болгарка, пуско-зарядное устройство) мощностью до 3 кВт каждая, расположенных по углам, а также по одной в середине длинных сторон мастерской;
к) две розетки для подключения сварочного аппарата - в середине длинных сторон;
л) стеллажи;
м) сварочный аппарат на 250 А;
н) простейший сверлильный станок;
п) компрессор производительностью 50 л/мин с максимальным давлением 10 бар.
Электросеть мастерской должна быть трехфазной для питания кран-балки и сверлильного станка и однофазной для системы освещения и розеток. Подвод электроэнергии от трансформатора к мастерской должен выполняться на высоте, обеспечивающей безопасное движение машин высотой до 6 м.
В зоне пешей доступности испытательного полигона требуется оборудовать площадку для хранения техники, установить вагончик-бытовку (без колесного хода) или модульное здание, разделенное на тамбур с входной дверью и рабочее/бытовое помещение. В бытовке должны быть размещены:
- накопительная цистерна для технической воды с автоподогревом (для защиты от замерзания) и рукомойник с отводом воды наружу (в тамбуре);
- гардероб с шкафчиками на шесть человек;
- обеденные места на шесть человек;
- рабочее место инженера по испытаниям;
- туалет с умывальником.
5.5.4 Испытательное оборудование, предусмотренное в проекте, должно быть сертифицировано и иметь разрешение на применение в Российской Федерации.
5.6 Общие требования к метрологическому обеспечению испытаний
5.6.1 Метрологическое обеспечение испытаний, проводимых на испытательных полигонах, осуществляют в соответствии:
- с ГОСТ Р 8.820 - для обеспечения измерений при испытаниях всех видов;
- ГОСТ Р 51672 - при испытаниях продукции для целей подтверждения соответствия.
5.6.2 Целью метрологического обеспечения испытаний, проводимых на полигонах, является достижение требуемой достоверности, воспроизводимости и заданной точности испытаний ВАЗДСМ.
5.6.3 Метрологическое обеспечение испытаний, проводимых на полигоне, как правило, включает:
- метрологическую экспертизу программы испытаний и аттестацию методик испытаний;
- верификацию испытательных участков испытательного полигона и испытательного оборудования;
- оценку готовности испытательного полигона или специально выбранного участка в соответствии с определенной программой и методикой (методиками) испытаний, а также средств измерений, испытаний и контроля к проведению испытаний.
5.6.4 Разработку и проведение мероприятий по метрологическому обеспечению испытательных полигонов осуществляет испытательная организация или испытательный центр, ответственные за проведение полигонных испытаний ВАЗДСМ [4].
5.6.5 Все средства измерений, применяемые при испытаниях, должны быть проверены в соответствии с порядком проведения проверки средств измерений [5] и/или калиброваны в соответствии с правилами по метрологии [6].
5.7 Общие требования к аттестации испытательных полигонов
5.7.1 Аттестации подлежат постоянные испытательные полигоны. Временные полигоны аттестации не подлежат. Испытательный участок временного полигона должен пройти процедуру верификации на пригодность к проведению испытаний.
5.7.2 Аттестация постоянного испытательного полигона состоит из процедуры аттестации испытательного оборудования, находящегося на полигоне, и комплексной оценки объектов и элементов инфраструктуры и ее составных частей согласно пунктам A.1, A.4 ГОСТ ISO/IEC 17000-2012.
5.7.3 Комплексная оценка объектов и элементов инфраструктуры испытательного полигона должна предусматривать процедуру верификации объектов и элементов инфраструктуры и ее составных частей на соответствие требованиям нормативной и технической документации на них.
5.7.4 Аттестацию испытательного оборудования испытательного полигона проводят в соответствии с требованиями ГОСТ Р 8.568-2017 (разделы 6, 7, 8).
5.7.5 Участки специализированных постоянных испытательных полигонов для проведения соответствующих видов испытаний подлежат аттестации в соответствии с требованиями ГОСТ Р 8.568-2017 (разделы 5, 6).
5.7.6 При вводе в эксплуатацию испытательного полигона испытательное оборудование представляют на первичную аттестацию с технической документацией и техническими средствами, необходимыми для их функционирования в соответствии с ГОСТ Р 8.568-2017 (разделы 6, 7, 8).
5.7.7 Результаты первичной аттестации испытательного оборудования оформляют протоколом в соответствии с ГОСТ Р 8.568-2017 (приложение А). В протоколе первичной аттестации отражают периодичность аттестации. Этот же интервал фиксируют и в аттестате о первичной аттестации.
5.7.8 Периодическую аттестацию испытательного оборудования испытательных полигонов проводят с периодичностью, указанной в аттестате о первичной аттестации, и в объеме, установленном в методике аттестации.
5.7.9 При положительных результатах периодической аттестации оформляют протокол периодической аттестации по форме, приведенной в ГОСТ Р 8.568-2017 (приложение Б).
5.8 Требования к оформлению паспорта испытательного полигона
5.8.1 Паспорт постоянного стационарного испытательного полигона должен включать:
а) место расположения полигона с указанием плана и направления движения объектов;
б) среднегодовую климатическую карту;
в) сведения о собственнике испытательного полигона;
г) назначение испытательного полигона;
д) год постройки испытательного полигона либо период организации временного испытательного полигона;
е) общую площадь и длину пути испытательного полигона;
ж) характеристики объектов и элементов инфраструктуры:
1) генплан испытательного полигона;
2) описание испытательных площадок;
3) максимально допустимую скорость и массу объектов испытаний;
4) перечень видов испытаний;
5) другие сведения о полигоне, обеспечивающие его функционирование и безопасность проведения испытаний опытного подвижного состава, его комплектующих, объектов и элементов инфраструктуры.
5.8.2 Паспорт временного испытательного полигона оформляет владелец инфраструктуры с предоставлением его испытательному центру.
Приложение А
(обязательное)
Минимальные размеры испытательных площадок постоянного полигона и схемы движения при тестировании различных сценариев

P - зона парковки
Рисунок А.1 - Минимальные размеры зоны движения ВАЗДСМ по криволинейной траектории (перемещение грунта)

P - зона парковки
Рисунок А.2 - Минимальные размеры зоны группового движения (выемка грунта и расширение пространства выемки)

P - зона парковки
Рисунок А.3 - Минимальные размеры зоны управления в смешанном режиме (выемка грунта и расширение пространства выемки, перемещение грунта)
Приложение Б
(обязательное)
Технические характеристики временного полигона и схемы движения высокоавтоматизированной землеройной и дорожно-строительной машины при испытаниях на безотказность

Рисунок Б.1 - Минимальные размеры площадки временного полигона и схемы движения при тестировании различных сценариев имитации рабочего процесса бульдозирования
Приложение В
(обязательное)
Виды препятствий
В.1 Параметры видов препятствий 1 разработаны согласно [8].
--------------------------------
1 Использованы параметры метрических измерений согласно [7].
Препятствие для испытаний, предназначенное для имитации сидящего человека, должно соответствовать следующим требованиям и использоваться исключительно для достижения сходных (воспроизводимых) результатов (рисунок В.1):
- препятствие для испытаний должно быть наполнено песком или щебнем;
- препятствие должно быть выполнено из пластика (например, полиэтилен с матовой поверхностью);
- цвет должен быть графитовый серый с матовой поверхностью.

Рисунок В.1 - Испытательный объект, имитирующий сидящего человека
В.2 Препятствие, имитирующее габаритную неподвижную структуру

Рисунок В.2 - Испытательный объект, имитирующий крупногабаритную структуру (размеры 2500 x 2500 x 2500 мм)
Примечание - Испытательные объекты соответствуют ГОСТ Р 70851.
В.3 Для тестирования АСУ рассматриваемой ВАЗДСМ используются движущиеся и неподвижные объекты (таблица В.1), которые представляют контуры и макеты возможных объектов при движении и работе ВАЗДСМ.
Таблица В.1 - Движущиеся и неподвижные препятствия
|
Объекты |
Размеры (Д x Ш x В), м | |
|
Неподвижные (муляж) |
Человек сидящий |
0,4 x 0,4 x 0,8 |
|
Бульдозер |
4,3 x 2,9 x 3,2 | |
|
Навесное оборудование |
1,2 x 1,4 x 1 | |
|
Стационарный крупногабаритный объект |
2,5 x 2,5 x 2,5 | |
|
Высокая трава |
3 x 1 x 0,8 | |
|
Кустарник |
1 x 1 x 1 | |
|
Камень |
0,5 x 0,5 x 1 | |
|
Человек стоящий |
0,4 x 0,4 x 1,6 | |
|
Дорожный каток |
5,8 x 2,3 x 3 | |
|
Автомобиль |
4,5 x 1,8 x 1,5 | |
|
Опора ЛЭП |
9 x 9 x 6 | |
|
Низкая трава |
3 x 1 x 0,2 | |
|
Дерево |
0,2 x 0,2 x 2 | |
|
Животное |
2,5 x 0,8 x 1,2 | |
|
Движущиеся (контур) |
Человек |
2 x 0,4 |
|
Животное |
1,2 x 2,5 | |
|
Бульдозер |
4,3 x 2,9 x 3,2 | |
|
Транспортное средство |
2 x 2 | |
Приложение Г
(справочное)
Планировка мастерской

1 - умывальник; 2 - компрессор; 3 - шланг для отвода выхлопных газов; 4 - кран-балка; 5 - стеллажи; 6 - сверлильный станок; 7 - сварочный аппарат
Рисунок Г.1 - Планировка мастерской постоянного испытательного полигона
Приложение Д
(справочное)
Пример компоновки диспетчерского поста удаленного управления

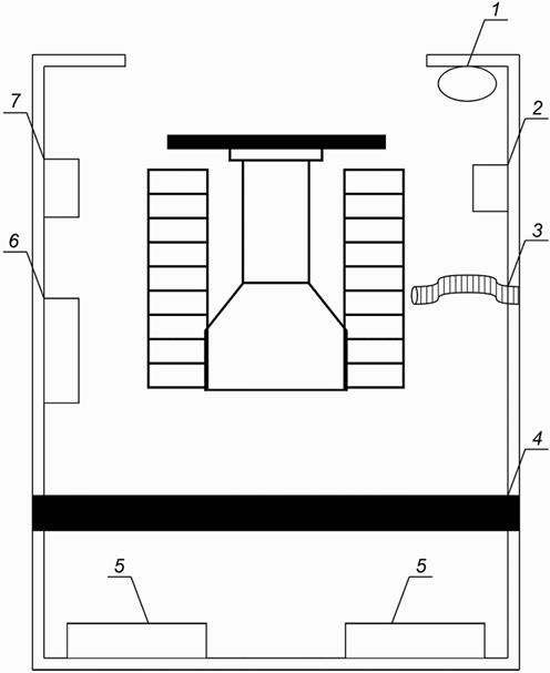
1 - рабочие места; 2 - площадка входа (выдвижная); 3 - умывальник; 4 - электрораспределительный шкаф; 5 - лестница (выдвижная); 6 - топливный бак и фильтры; 7 - буксирная сница; 8 - дизель-генератор; 9 - гардероб; 10 - кулер с питьевой водой; 11 - стеллаж для документации
Рисунок Д.1 - Компоновка диспетчерского поста удаленного управления
Библиография
|
[1] |
SAE J 3016-2018 |
Таксономия и определения терминов, относящихся к автоматизированным системам вождения автотранспортных средств на дорогах |
|
[2] |
Технический регламент Таможенного союза 010/2011 |
О безопасности машин и оборудования |
|
[3] |
Федеральный закон "О промышленной политике в Российской Федерации" от 31 декабря 2014 г. N 488-ФЗ (последняя редакция) | |
|
[4] |
Приказ Министерства экономического развития РФ от 30 мая 2014 г. N 326 "Об утверждении Критериев аккредитации, перечня документов, подтверждающих соответствие заявителя, аккредитованного лица критериям аккредитации, и перечня документов в области стандартизации, соблюдение требований которых заявителями, аккредитованными лицами обеспечивает их соответствие критериям аккредитации" | |
|
[5] |
ПР 50.2.016-94 |
Правила по метрологии. Государственная система обеспечения единства измерений. Требования к выполнению калибровочных работ |
|
[6] |
Приказ Министерства промышленности и торговли Российской Федерации от 2 июля 2015 г. N 1815 "Об утверждении Порядка проведения поверки средств измерений, требования к знаку поверки и содержанию свидетельства о поверке" (с изменениями на 28 декабря 2018 г.). | |
|
[7] |
ISO 19206-2-2018 |
Транспорт дорожный. Контрольные приборы для оценки функций активной безопасности муляжей транспортных средств, уязвимых участников дорожного движения и других объектов. Часть 2. Требования к манекенам пешеходов |
|
[8] |
Технический регламент Таможенного союза 018/2011 |
О безопасности колесных транспортных средств |


