Утв. и введен в действие Приказом Федерального агентства по техническому регулированию и метрологии от 16 октября 2024 г. N 1464-ст
Национальный стандарт РФ ГОСТ Р 71372-2024
"ИЗДЕЛИЯ АВИАЦИОННОЙ ТЕХНИКИ. ВЫХОД РЕЗЬБЫ. СБЕГИ, НЕДОРЕЗЫ, НЕДОКАТЫ, ПРОТОЧКИ И ФАСКИ"
Aircraft items. Screw thread runout. Washout threads, total thread runouts, undercuts, grooves and chamfers
ОКС 21.060.01
Дата введения - 1 ноября 2024 года
Введен впервые
Предисловие
1 РАЗРАБОТАН Федеральным государственным унитарным предприятием "Всероссийский научно-исследовательский институт "Центр" (ФГУП "ВНИИ "Центр")
2 ВНЕСЕН Техническим комитетом по стандартизации ТК 323 "Авиационная техника"
3 УТВЕРЖДЕН И ВВЕДЕН В ДЕЙСТВИЕ Приказом Федерального агентства по техническому регулированию и метрологии от 16 октября 2024 г. N 1464-ст
4 ВВЕДЕН ВПЕРВЫЕ
Правила применения настоящего стандарта установлены в статье 26 Федерального закона от 29 июня 2015 г. N 162-ФЗ "О стандартизации в Российской Федерации". Информация об изменениях к настоящему стандарту публикуется в ежегодном (по состоянию на 1 января текущего года) информационном указателе "Национальные стандарты", а официальный текст изменений и поправок - в ежемесячном информационном указателе "Национальные стандарты". В случае пересмотра (замены) или отмены настоящего стандарта соответствующее уведомление будет опубликовано в ближайшем выпуске ежемесячного информационного указателя "Национальные стандарты". Соответствующая информация, уведомление и тексты размещаются также в информационной системе общего пользования - на официальном сайте Федерального агентства по техническому регулированию и метрологии в сети Интернет (www.rst.gov.ru)
Введение
Стандарт разработан на основе отраслевого стандарта ОСТ 1 00010-81 "Выход резьбы. Сбеги, недорезы, недокаты, проточки и фаски".
1 Область применения
Настоящий стандарт распространяется на изделия авиационной техники с метрической резьбой (далее - резьба) и устанавливает размеры сбега, недоката, недореза в месте перехода резьбы в гладкую часть стержня, образуемого заборной частью инструмента, или при выходе инструмента; размеры недоката, недореза при выполнении резьбы в упор; размеры сбега и фасок на конце крепежных элементов, формы и размеры проточек для выхода резьбообразующего инструмента.
2 Нормативные ссылки
В настоящем стандарте использована нормативная ссылка на следующий стандарт:
ГОСТ Р 71373 Изделия авиационной техники. Предельные отклонения размеров, допуски формы и расположения поверхностей, не указанные на чертеже
Примечание - При пользовании настоящим стандартом целесообразно проверить действие ссылочных стандартов в информационной системе общего пользования - на официальном сайте национального органа Российской Федерации по стандартизации в сети Интернет или по ежегодно издаваемому информационному указателю "Национальные стандарты", который опубликован по состоянию на 1 января текущего года, и по выпускам ежемесячно издаваемого информационного указателя "Национальные стандарты" за текущий год. Если заменен ссылочный стандарт, на который дана недатированная ссылка, то рекомендуется использовать действующую версию этого стандарта с учетом всех внесенных в данную версию изменений. Если ссылочный стандарт отменен без замены, то положение, в котором дана ссылка на него, рекомендуется применять в части, не затрагивающей эту ссылку.
3 Основные положения
3.1 Наружная резьба (сбеги у гладкой части стержня крепежного элемента)
3.1.1 При выполнении резьбы накатыванием размеры сбегов у гладкой части стержня крепежных элементов для наружной резьбы должны соответствовать указанным на рисунках 1 и 2 и в таблице 1.

Рисунок 1

Рисунок 2
Таблица 1
В миллиметрах
|
Шаг резьбы P
|
Сбег X, не более
|
Недокат (недорез) X1, не более
|
Сбег на конце стержня X2, не более ≈ 2P
|
Фаска Z, не более
|
|
нормальный ≈ 2P
|
короткий ≈ 1,25P
|
уменьшенный ≈ 0,7P
|
нормальный ≈ 3P
|
короткий ≈ 2P
|
|
0,25
|
0,50
|
0,30
|
0,20
|
0,80
|
0,50
|
0,50
|
0,20
|
|
0,30
|
0,60
|
0,40
|
0,90
|
0,60
|
0,60
|
|
0,35
|
0,70
|
0,45
|
0,30
|
1,00
|
0,70
|
0,70
|
0,30
|
|
0,40
|
0,80
|
0,50
|
1,10
|
0,80
|
0,80
|
|
0,45
|
0,90
|
0,60
|
1,20
|
0,90
|
0,90
|
|
0,50
|
1,00
|
0,70
|
0,40
|
1,30
|
1,00
|
1,00
|
0,50
|
|
0,60
|
1,20
|
0,75
|
1,50
|
1,20
|
1,20
|
|
0,70
|
1,40
|
0,90
|
0,50
|
1,90
|
1,40
|
1,40
|
|
0,75
|
1,50
|
1,00
|
2,00
|
1,50
|
1,50
|
|
0,80
|
1,60
|
1,00
|
0,60
|
2,30
|
1,60
|
1,60
|
0,70
|
|
1,00
|
2,00
|
1,25
|
0,70
|
2,70
|
2,00
|
2,00
|
|
1,25
|
2,50
|
1,60
|
0,90
|
3,40
|
2,50
|
2,50
|
1,00
|
|
1,50
|
3,00
|
1,90
|
1,00
|
3,90
|
3,00
|
3,00
|
|
1,75
|
3,50
|
2,20
|
1,20
|
4,60
|
3,50
|
3,50
|
1,50
|
|
2,00
|
4,00
|
2,50
|
1,40
|
5,20
|
4,00
|
4,00
|
3.1.2 При выполнении резьбы нарезанием размеры сбегов у гладкой части стержня крепежных элементов для наружной резьбы - в соответствии с указанными на рисунке 3 и в таблице 1.

Рисунок 3
3.2 Наружная резьба в упор (недокаты и недорезы)
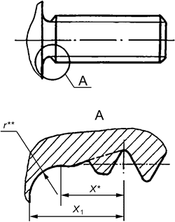
3.2.1 При выполнении наружной резьбы в упор накатыванием размеры недокатов и сбегов должны соответствовать указанным на рисунках 4 и 5 и в таблице 1.

Рисунок 4

Рисунок 5
--------------------------------
* Сбег резьбы не должен заходить на радиус r.
** Радиус r настоящим стандартом не регламентирован.
3.2.2 При выполнении наружной резьбы в упор нарезанием размеры недорезов и сбегов - в соответствии с указанными на рисунках 6 и 7 и в таблице 1.

Рисунок 6

Рисунок 7
--------------------------------
* Сбег резьбы не должен заходить на радиус r.
** Радиус r настоящим стандартом не регламентирован.
3.3 Наружная резьба (сбеги и фаски на конце крепежного элемента)
3.3.1 При выполнении резьбы накатыванием размеры сбегов на конце крепежных элементов для наружной резьбы должны соответствовать указанным на рисунках 8 и 9 и в таблице 1.

Рисунок 8

Рисунок 9
3.3.2 При выполнении резьбы нарезанием размеры фасок на конце крепежных элементов для наружной резьбы - в соответствии с указанными на рисунке 10 и в таблице 1.

Рисунок 10
3.4 Наружная резьба (проточки)
При выполнении наружной резьбы независимо от метода ее выполнения форма и размеры проточки должны соответствовать указанным на рисунке 11 и в таблице 2.
Примечание - Для обеспечения нормальной работы резьбового соединения длину резьбы целесообразно делать равной не менее шести шагов. В технически обоснованных случаях допускается длина резьбы, равная не менее трех шагов (при этом резьбу выполняют с уменьшенным сбегом и проточкой по типу 1).

Рисунок 11
Таблица 2
В миллиметрах
|
Шаг резьбы P
|
Проточка
|
|
Тип 1
|
Тип 2 *
|
|
f1
|
r
|
r1
|
df
|
f2
|
r2
|
r3
|
|
0,35
|
1,0
|
0,3
|
d - 0,5
|
-
|
-
|
-
|
|
0,40
|
d - 0,6
|
|
0,45
|
d - 0,7
|
|
0,50
|
d - 0,8
|
|
0,60
|
d - 0,9
|
|
0,70
|
1,6
|
0,5
|
d - 1,0
|
-
|
-
|
-
|
|
0,75
|
d - 1,2
|
|
0,80
|
|
1,00
|
2,0
|
d - 1,5
|
2,8
|
1,00
|
2,0
|
|
1,25
|
d - 1,8
|
3,3
|
1,15
|
2,5
|
|
1,50
|
3,0
|
1,0
|
0,5
|
d - 2,2
|
3,5
|
1,36
|
|
1,75
|
3,5
|
d - 2,5
|
3,8
|
1,50
|
3,0
|
|
2,00
|
4,0
|
d - 3,0
|
4,1
|
1,75
|
|
* Выполнять на деталях из материала с временным напряжением (механическим) σв ≥ 1373 МПа (140 кгс/мм2), титановых сплавов или из материала, имеющего повышенную чувствительность к концентрации напряжений.
|
3.5 Внутренняя резьба (сбеги, недорезы, проточки и фаски)
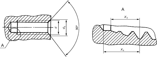
3.5.1 При выполнении резьбы нарезанием размеры сбегов, недорезов, проточек и фасок для внутренней резьбы - в соответствии с указанными на рисунках 12 и 13 и в таблицах 3 и 4.

Рисунок 12 - Сбеги, недорезы и фаски

Рисунок 13 - Проточки и фаски
Таблица 3
В миллиметрах
|
Шаг резьбы P
|
Сбег X3, не более
|
Недорез X4, не более
|
Фаска d5
|
|
нормальный
|
увеличенный *
|
нормальный
|
увеличенный *
|
минимальный
|
максимальный
|
|
0,25
|
1,0
|
-
|
1,5
|
-
|
d
|
d + 0,05
|
|
0,30
|
d + 0,07
|
|
0,35
|
d + 0,08
|
|
0,40
|
1,8
|
d + 0,10
|
|
0,45
|
d + 0,11
|
|
0,50
|
1,5
|
2,0
|
2,5
|
d + 0,15
|
|
0,60
|
1,20
|
1,8
|
2,2
|
2,8
|
d + 0,18
|
|
0,70
|
1,40
|
2,1
|
2,9
|
3,6
|
d + 0,20
|
|
0,75
|
1,50
|
2,3
|
3,0
|
3,8
|
d + 0,23
|
|
0,80
|
1,60
|
2,4
|
3,6
|
4,4
|
d + 0,25
|
|
1,00
|
2,00
|
3,0
|
4,0
|
5,0
|
d + 0,30
|
|
1,25
|
2,50
|
3,8
|
5,5
|
6,8
|
d + 0,40
|
|
1,50
|
3,00
|
4,5
|
6,0
|
7,5
|
d + 0,50
|
|
1,75
|
3,50
|
5,3
|
7,5
|
9,3
|
d + 0,60
|
|
2,00
|
4,00
|
6,0
|
8,0
|
10,0
|
d + 0,70
|
|
* Применять на деталях из жаропрочной и нержавеющей сталей, титановых сплавов и в случае применения резьбы с натягом.
|
Таблица 4
В миллиметрах
|
Шаг резьбы P
|
Проточка
|
|
Тип 1 *
|
Тип 2 **
|
|
f3
|
r4
|
r5
|
df1
|
d4
|
h
|
|
0,25
|
-
|
-
|
-
|
-
|
-
|
-
|
|
0,30
|
|
0,35
|
|
0,40
|
|
0,45
|
|
0,50
|
1,0
|
0,3
|
0,3
|
d + 0,2
|
d + 1
|
0,5
|
|
0,60
|
-
|
-
|
-
|
-
|
|
0,70
|
|
0,75
|
1,6
|
0,5
|
0,3
|
d + 0,2
|
|
0,80
|
-
|
-
|
-
|
-
|
|
1,00
|
2,0
|
0,5
|
0,5
|
d + 0,2
|
|
1,25
|
3,0
|
1,0
|
1,0
|
|
1,50
|
d + 0,3
|
|
1,75
|
4,0
|
|
2,00
|
5,0
|
d + 0,4
|
|
* Для резьб диаметром не менее 6 мм.
** Для резьб с натягом и на деталях из алюминиевых и магниевых сплавов.
|
3.5.2 При изготовлении внутренних резьб допускается применять фаски под углом 60° между образующей и осью конуса.
3.6 Технические требования
3.6.1 Размеры сбегов, проточек и фасок обеспечиваются инструментом.
3.6.2 Для деталей из материала с временным напряжением (механическим) σв ≥ 1373 МПа (140 кгс/мм2), титановых сплавов или из материала, имеющего повышенную чувствительность к концентрации напряжений, профиль впадины наружной резьбы на участке сбега должен быть закруглен радиусом не менее 0,05 мм с постепенным переходом в размер радиуса впадины полного профиля; радиус закругления профиля впадины резьбы на участке сбега обеспечивается инструментом.
При накатывании резьба не должна заходить на гладкую конусовидную часть между концом сбега и безрезьбовой частью стержня.
3.6.3 Неуказанные предельные отклонения размеров, допуски формы и расположения поверхностей - по ГОСТ Р 71373.
3.6.4 Допускается не указывать на изображении размеры элементов выхода резьбы, а делать запись в технических требованиях.
В случаях применения нормального сбега, нормального недоката (недореза) вид сбега или недоката (недореза) не указывают.
Примеры
1 Сбег и фаска резьбы - по ГОСТ Р 71372-2024.
2 Недокат и фаска резьбы - по ГОСТ Р 71372-2024.
3 Недорез и фаска резьбы - по ГОСТ Р 71372-2024.
4 Сбег, недокат и фаска резьбы - по ГОСТ Р 71372-2024.
5 Сбег, недорез и фаска резьбы - по ГОСТ Р 71372-2024.
В остальных случаях указывают вид сбега, недоката (недореза) и тип проточки.
Примеры
1 Сбег (указывается вид сбега) и фаска резьбы - по ГОСТ Р 71372-2024.
2 Недокат (указывается вид недоката) и фаска резьбы - по ГОСТ Р 71372-2024.
3 Недорез (указывается вид недореза) и фаска резьбы - по ГОСТ Р 71372-2024.
4 Проточка (указывается тип проточки), фаска и сбег резьбы - по ГОСТ Р 71372-2024.
5 Сбег (указывается вид сбега), недорез (указывается вид недореза) и фаска резьбы - по ГОСТ Р 71372-2024.
6 Сбег (указывается вид сбега), недокат (указывается вид недоката) и фаска резьбы - по ГОСТ Р 71372-2024.