Утв. и введен в действие Приказом Федерального агентства по техническому регулированию и метрологии от 1 октября 2024 г. N 1333-ст
Национальный стандарт РФ ГОСТ Р 71640-2024
"ИЗДЕЛИЯ ЭЛЕКТРОННОЙ ТЕХНИКИ. МЕТОДЫ ИСПЫТАНИЙ НА ОБНАРУЖЕНИЕ ПОСТОРОННИХ СВОБОДНО ПЕРЕМЕЩАЮЩИХСЯ ЧАСТИЦ"
Electronic equipment products. Test methods for the detection of foreign freely moving particles
ОКС 37.080
Дата введения - 1 марта 2025 года
Введен впервые
Предисловие
1 РАЗРАБОТАН Акционерным обществом "Российский научно-исследовательский институт "Электронстандарт" (АО "РНИИ "Электронстандарт")
2 ВНЕСЕН Техническим комитетом по стандартизации ТК 303 "Электронная компонентная база, материалы и оборудование"
3 УТВЕРЖДЕН И ВВЕДЕН В ДЕЙСТВИЕ Приказом Федерального агентства по техническому регулированию и метрологии от 1 октября 2024 г. N 1333-ст
4 ВВЕДЕН ВПЕРВЫЕ
Правила применения настоящего стандарта установлены в статье 26 Федерального закона от 29 июня 2015 г. N 162-ФЗ "О стандартизации в Российской Федерации". Информация об изменениях к настоящему стандарту публикуется в ежегодном (по состоянию на 1 января текущего года) информационном указателе "Национальные стандарты", а официальный текст изменений и поправок - в ежемесячном информационном указателе "Национальные стандарты". В случае пересмотра (замены) или отмены настоящего стандарта соответствующее уведомление будет опубликовано в ближайшем выпуске ежемесячного информационного указателя "Национальные стандарты". Соответствующая информация, уведомление и тексты размещаются также в информационной системе общего пользования - на официальном сайте Федерального агентства по техническому регулированию и метрологии в сети Интернет (www.rst.gov.ru)
1 Область применения
Настоящий стандарт распространяется на изделия электронной техники (далее - изделия), имеющие замкнутые полости, и устанавливает следующие методы испытаний на обнаружение посторонних свободно перемещающихся частиц (ПСПЧ):
- метод испытания на обнаружение ПСПЧ путем регистрации акустических волн;
- метод испытания на обнаружение ПСПЧ посредством контроля электрических параметров, временных и постоянных коротких замыканий (к.з.) и обрывов;
- метод визуального обнаружения ПСПЧ.
2 Нормативные ссылки
В настоящем стандарте использована нормативная ссылка на следующий стандарт:
ГОСТ 11326.15 Кабель радиочастотный марки РК 50-2-13. Технические условия
Примечание - При пользовании настоящим стандартом целесообразно проверить действие ссылочных стандартов в информационной системе общего пользования - на официальном сайте Федерального агентства по техническому регулированию и метрологии в сети Интернет или по ежегодному информационному указателю "Национальные стандарты", который опубликован по состоянию на 1 января текущего года, и по выпускам ежемесячного информационного указателя "Национальные стандарты" за текущий год. Если заменен ссылочный стандарт, на который дана недатированная ссылка, то рекомендуется использовать действующую версию этого стандарта с учетом всех внесенных в данную версию изменений. Если заменен ссылочный стандарт, на который дана датированная ссылка, то рекомендуется использовать версию этого стандарта с указанным выше годом утверждения (принятия). Если после утверждения настоящего стандарта в ссылочный стандарт, на который дана датированная ссылка, внесено изменение, затрагивающее положение, на которое дана ссылка, то это положение рекомендуется применять без учета данного изменения. Если ссылочный стандарт отменен без замены, то положение, в котором дана ссылка на него, рекомендуется применять в части, не затрагивающей эту ссылку.
3 Общие положения
3.1 Испытания на обнаружение ПСПЧ проводят с целью их обнаружения в изделиях.
3.2 Конкретный метод (или методы) испытания применяют в зависимости от типа изделия, его конструкции и указывают в технологической документации или в технических условиях на поставку изделий.
3.3 Критерии оценки годности изделий выбранным методом испытания указывают в нормативных документах (НД).
3.4 Испытания проводят в нормальных климатических условиях:
- температура воздуха - от 15 °C до 35 °C;
- относительная влажность воздуха - от 45% до 80%;
- атмосферное давление - от 86 до 106 кПа (от 645 до 795 мм рт. ст.).
При температуре выше 30 °C относительная влажность не должна быть более 70%.
3.5 Испытательные стенды, регистрирующие и измерительные приборы должны быть аттестованы в установленном порядке и проходить периодическую поверку.
4 Метод испытания на обнаружение посторонних свободно перемещающихся частиц регистрацией акустических волн
4.1 Принцип и условия испытания
4.1.1 Испытания проводят с целью обнаружения ПСПЧ во внутренних замкнутых полостях изделий независимо от материала ПСПЧ.
Метод применяют в тех случаях, когда к изделиям предъявляется требование полного отсутствия ПСПЧ.
4.1.2 Метод основан на индикации акустических волн, возникающих при соударении ПСПЧ с оболочкой или внутренними элементами конструкции изделия в условиях вибрационного воздействия.
4.1.3 Метод применим для тех изделий, в конструкциях которых отсутствуют детали, способные вызвать при вибрации изделия акустические волны.
4.2 Аппаратура
4.2.1 Для проведения испытания применяют следующее оборудование и аппаратуру:
- стенд вибрационный любого типа, обеспечивающий ускорение до 10 g в диапазоне частот от 50 до 2000 Гц;
- усилитель мощности любого типа, обеспечивающий возбуждение вибрационного стенда;
- генератор звуковой любого типа, обеспечивающий получение переменного сигнала в диапазоне частот от 50 до 200 Гц;
- микровольтметр селективный В6-9 или любой другой, заменяющий его по характеристикам;
- осциллограф типа С1-55 или любой другой, заменяющий его по характеристикам;
- преобразователь пьезоэлектрический.
4.2.2 В качестве пьезоэлектрического преобразователя используется поляризованный пьезокерамический элемент из ПТС-19 (цирконаттитанат свинца) в форме диска диаметром не более 10 мм, толщиной от 0,3 до 1,0 мм.
4.3 Подготовка к испытанию
4.3.1 Структурная схема обнаружения ПСПЧ методом регистрации акустических волн приведена на рисунке 1.

1 - вибрационный стенд; 2 - приспособление для испытаний; 3 - испытуемое изделие; 4 – пьезоэлектрический преобразователь; 5 - селективный микровольтметр; 6 - усилитель мощности; 7 - осциллограф; 8 - задающий генератор
Рисунок 1 - Структурная схема обнаружения ПСПЧ методом регистрации акустических волн
Рекомендуется для возбуждения вибрационного стенда применять понижающий регулируемый трансформатор, питаемый от однофазной сети переменного тока напряжением 220/380 В, частотой 50 Гц. В этом случае необходимость в использовании усилителя мощности и генератора отпадает.
4.3.2 Изделия закрепляют в специальном приспособлении, установленном на столе вибрационного стенда металлическими прижимными планками (скобами) и т.п.
Недопустимо применение неметаллических прокладок между изделием и элементом конструкции приспособления, на котором расположен измерительный преобразователь, препятствующих распространению акустических волн.
4.3.3 Пьезоэлектрический преобразователь закрепляют на планках (скобах), фиксирующих изделие на приспособлении, пайкой легкоплавким припоем по документации, утвержденной в установленном порядке. Температура плавления припоя не должна превышать 140 °C. Конструкция пьезоэлектрического преобразователя, приспособления и крепления изделия для регистрации акустических волн приведена в приложении А.
4.4 Проведение испытаний
4.4.1 Испытание проводят следующим образом: изделие подвергают воздействию вибрации в любом (одном) направлении по отношению к изделию на любой частоте из диапазона от 50 до 200 Гц с ускорением 19,62 - 49,10 мс-2 (2 - 5 g).
Рекомендуемая частота вибрации - 50 Гц. Конкретное направление воздействия вибрации устанавливают на стадии разработки изделий и освоения в производстве и указывают в НД.
Регистрацию наличия ПСПЧ проводят по звуковому сигналу селективного микровольтметра на любой частоте, отличной от частоты промышленных помех, и визуально по осциллографу.
Рекомендуемая частота, на которой регистрируют наличие ПСПЧ в изделии, - собственная частота пьезоэлектрического преобразователя.
При наличии в изделии ПСПЧ слышны характерные четко различимые потрескивания громкоговорящего устройства селективного микровольтметра, а на экране осциллографа появляются всплески напряжения.
Продолжительность испытания должна быть достаточной для регистрации наличия или отсутствия ПСПЧ в изделии, но не более 60 с.
4.4.2 Изделия считают годными, если в процессе испытания по звуковому сигналу селективного микровольтметра и визуально по осциллографу ПСПЧ не обнаружено.
5 Метод испытания на обнаружение посторонних свободно перемещающихся частиц контролем электрических параметров, коротких замыканий и обрывов
5.1 Испытание проводят с целью обнаружения ПСПЧ, приводящих к отклонению электрических параметров, к появлению к.з. и обрывам.
5.2 Метод основан на контроле отклонений электрических параметров изделий, выявлении временных или постоянных к.з., вызванных наличием ПСПЧ.
5.3 Обнаружение ПСПЧ совмещают с одним из следующих испытаний:
- на отсутствие к.з. и обрывов;
- на виброустойчивость;
- на обнаружение ПСПЧ при измерении электрических параметров.
5.4 При проведении испытаний применяют аппаратуру и оборудование в соответствии с НД на конкретные типы (группы) изделий в зависимости от применяемого способа обнаружения ПСПЧ.
5.5 В процессе испытаний в соответствии с НД проводят наблюдения за параметрами изделий, которые могут изменяться вследствие влияния ПСПЧ в процессе данного испытания.
5.6 Изделия считают годными, если в процессе испытания они удовлетворяют требованиям, установленным в НД для данного вида испытаний.
6 Метод визуального обнаружения посторонних свободно перемещающихся частиц
6.1 Испытание проводят с целью обнаружения ПСПЧ в тех изделиях, у которых просматривается внутренняя полость.
6.2 К персоналу, проводящему данное испытание, предъявляется следующее требование:
- острота зрения должна быть от 1,0 до 0,8 для обоих глаз при нормальном цветоощущении.
6.3 Освещенность рабочего места должна находиться в пределах 50 ÷ 100 лк.
6.4 Испытание проводят путем внешнего осмотра.
В процессе осмотра проводят сравнительную оценку испытуемых изделий с установленными образцами внешнего вида для конкретных типов изделий, если это предусмотрено в НД.
Допускается также проводить обнаружение ПСПЧ:
- при одновременном повороте и трехкратном постукивании пробковым молоточком (см. рисунок 2) в каждой из двух взаимно перпендикулярных плоскостей;
- при неоднократном переворачивании с одновременным легким постукиванием пальцами рук по внешней оболочке изделия;
- при простукивании пробковым молоточком с одновременной индикацией к.з.

а) Молоточек с шарообразным бойком

б) Молоточек с цилиндрическим бойком
Рисунок 2 - Варианты конструкции пробкового молоточка
6.5 Изделия считают годными, если они удовлетворяют требованиям, установленным в НД для данного вида испытаний.
Приложение А
(рекомендуемое)
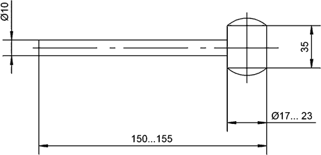
Конструкция пьезоэлектрического преобразователя, приспособления и крепления изделия для обнаружения ПСПЧ в кварцевых резонаторах
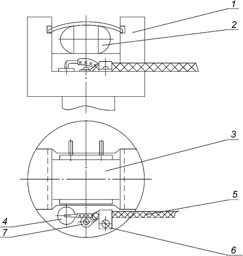
Конструкция приспособления для крепления изделий при испытаниях на обнаружение ПСПЧ приведена на рисунке А.1.
Для проведения испытаний приспособление 1 закрепляют на штоке вибростенда. На приспособлении имеются пазы, в которые вставляют пружинную планку 3, прижимающую изделие 2 к основанию приспособления. На приспособление крепят пайкой пьезокерамический элемент 4, изготовленный из ЦТС-19, коаксиальный вывод которого 5 закрепляют скобой 6. Экранная оплетка коаксиального вывода соединена пайкой с лепестком 7, который крепят к приспособлению винтами. В качестве коаксиального вывода применяют кабель РК50-2-13 по ГОСТ 11326.15.

Рисунок А.1 - Конструкция приспособления и крепления изделия
На рисунке А.2 приведена конструкция пьезоэлектрического преобразователя.

Рисунок А.2 - Конструкция пьезоэлектрического преобразователя
Сборку пьезоэлектрического преобразователя проводят в нижеприведенном порядке.
Поверхность приспособления 3, предназначенную для установки пьезоэлектрического преобразователя, и одну из посеребренных плоскостей (электродов) пьезоэлектрического элемента 4 зачищают и лудят припоем ПОС 61 с применением низкотемпературного канифольного флюса ФКС, после чего пьезокерамический элемент устанавливают луженой поверхностью на луженую поверхность приспособления и прижимают к ней с усилием примерно 1 Н. Место их соединения нагревают до температуры плавления припоя паяльником, жало которого прижимают на расстоянии от 3 до 5 мм от пьезокерамического элемента, или прогревом всего приспособления. Температура паяльника должна быть не более чем на 10 °C - 15 °C выше температуры плавления припоя. После этого коаксиальный кабель 2 закрепляют скобой 1 к приспособлению.
Центральную жилу кабеля припаивают ко второму электроду пьезокерамического элемента нижеприведенным образом.
Конец одножильного тонкого проводника свертывают в кольцо диаметром от 1 до 1,5 мм, образующее поверхность, необходимую для проведения качественной пайки, и облуживают припоем. На кольцо необходимо нанести маленькую каплю припоя, достаточную для припаивания. Перед пайкой зачищают место (1,5 мм2) на серебре кварцевым карандашом. Облуженный отвод смачивают флюсом и подводят к месту пайки. В месте пайки расплавляют припой на припаиваемой поверхности проводника, для чего жало паяльника прикасают к проводнику на расстоянии от 3 до 5 мм от места пайки. Нагрев проводника начинают на расстоянии 10 мм от керамики, медленно проводя паяльником по проводнику, прогревая весь проводник и поверхность керамики. Во избежание местных перегревов пайку следует проводить за 3 - 5 с. Для пайки применяют паяльник небольшой мощности и малой теплоемкости.
Для более полного предохранения электродов рекомендуется наносить на электрод вначале трафарет из вощеной бумаги с отверстиями для пайки диаметром 2 мм, а затем припаивают отвод. После пайки оставшийся флюс удаляют соответствующими растворителями.
Для укрепления подпаянных отводов рекомендуется применять заливку мест соединения отвода с электродом эпоксидной смолой.