ГОСТ Р 71606-2024 ОПТИКА И ФОТОНИКА. МАТЕРИАЛЫ ОПТИЧЕСКИЕ. МЕТОДЫ ОПРЕДЕЛЕНИЯ ОПТИЧЕСКОЙ ОДНОРОДНОСТИ
Утв. и введен в действие Приказом Федерального агентства по техническому регулированию и метрологии от 12 сентября 2024 г. N 1215-ст
Национальный стандарт РФ ГОСТ Р 71606-2024
"ОПТИКА И ФОТОНИКА. МАТЕРИАЛЫ ОПТИЧЕСКИЕ. МЕТОДЫ ОПРЕДЕЛЕНИЯ ОПТИЧЕСКОЙ ОДНОРОДНОСТИ"
Optics and photonics. Optical materials. Methods for determination of optical homogeneity
ОКС 17.180.01
Дата введения - 1 января 2025 года
Введен впервые
Предисловие
1 РАЗРАБОТАН Обществом с ограниченной ответственностью "Лазеры и оптические системы" (ООО "ЛОС")
2 ВНЕСЕН Техническим комитетом по стандартизации ТК 296 "Оптика и фотоника"
3 УТВЕРЖДЕН И ВВЕДЕН В ДЕЙСТВИЕ Приказом Федерального агентства по техническому регулированию и метрологии от 12 сентября 2024 г. N 1215-ст
4 ВВЕДЕН ВПЕРВЫЕ
Правила применения настоящего стандарта установлены в статье 26 Федерального закона от 29 июня 2015 г. N 162-ФЗ "О стандартизации в Российской Федерации". Информация об изменениях к настоящему стандарту публикуется в ежегодном (по состоянию на 1 января текущего года) информационном указателе "Национальные стандарты", а официальный текст изменений и поправок - в ежемесячном информационном указателе "Национальные стандарты". В случае пересмотра (замены) или отмены настоящего стандарта соответствующее уведомление будет опубликовано в ближайшем выпуске ежемесячного информационного указателя "Национальные стандарты". Соответствующая информация, уведомление и тексты размещаются также в информационной системе общего пользования - на официальном сайте Федерального агентства по техническому регулированию и метрологии в сети Интернет (www.rst.gov.ru)
1 Область применения
Настоящий стандарт распространяется на оптическое бесцветное стекло в заготовках и деталях и устанавливает методы определения оптической однородности.
Настоящий стандарт устанавливает два метода определения оптической однородности: на коллиматорной установке и интерферометрический.
2 Нормативные ссылки
В настоящем стандарте использованы нормативные ссылки на следующие стандарты:
ГОСТ 8.654 Государственная система обеспечения единства измерений. Фотометрия. Термины и определения
ГОСТ 2603 Реактивы. Ацетон. Технические условия
ГОСТ 7427 Геометрическая оптика. Термины, определения и буквенные обозначения
ГОСТ 9411 Стекло оптическое цветное. Технические условия
ГОСТ 11141 Детали оптические. Классы чистоты поверхностей. Методы контроля
ГОСТ 13659 Стекло оптическое бесцветное. Физико-химические характеристики. Основные параметры
ГОСТ 15114 Системы телескопические для оптических приборов. Визуальный метод определения предела разрешения
ГОСТ 15150 Машины, приборы и другие технические изделия. Исполнения для различных климатических районов. Категории, условия эксплуатации, хранения и транспортирования в части воздействия климатических факторов внешней среды
ГОСТ 17299 Спирт этиловый технический. Технические условия
ГОСТ 23136 Материалы оптические. Параметры
ГОСТ 28869 Материалы оптические. Методы измерений показателя преломления
ГОСТ 29298 Ткани хлопчатобумажные и смешанные бытовые. Общие технические условия
ГОСТ Р 8.743/ISO/TR 14999-1:2005 Государственная система обеспечения единства измерений. Оптика и фотоника. Интерференционные измерения оптических элементов и систем. Часть 1. Термины, определения и основные соотношения
ГОСТ Р 8.744/ISO/TR 14999-3:2005 Государственная система обеспечения единства измерений. Оптика и фотоника. Интерференционные измерения оптических элементов и систем. Часть 3. Калибровка и аттестация интерферометров, методика измерений оптических волновых фронтов
ГОСТ Р 8.745/ISO/TR 14999-2:2005 Государственная система обеспечения единства измерений. Оптика и фотоника. Интерференционные измерения оптических элементов и систем. Часть 2. Измерения и методика оценки результатов
ГОСТ Р 55878 Спирт этиловый технический гидролизный ректификованный. Технические условия
ГОСТ Р 58399 Контроль неразрушающий. Методы оптические. Общие требования
ГОСТ Р 70039 Оптика и фотоника. Характеристики оптических систем. Термины и определения
ГОСТ Р 70973 Оптика и фотоника. Оптика физическая. Термины, определения и буквенные обозначения основных величин
ГОСТ Р 71448 Оптика и фотоника. Шероховатость поверхности. Параметры и типы направлений неровностей поверхности
ГОСТ Р ИСО 15367-1 Лазеры и лазерные установки (системы). Методы измерений формы волнового фронта пучка лазерного излучения. Часть 1. Терминология и основные положения
ГОСТ Р ИСО 15367-2 Лазеры и лазерные установки (системы). Методы измерений формы волнового фронта пучка лазерного излучения. Часть 2. Датчики Шока-Гартмана
Примечание - При пользовании настоящим стандартом целесообразно проверить действие ссылочных стандартов в информационной системе общего пользования - на официальном сайте Федерального агентства по техническому регулированию и метрологии в сети Интернет или по ежегодному информационному указателю "Национальные стандарты", который опубликован по состоянию на 1 января текущего года, и по выпускам ежемесячного информационного указателя "Национальные стандарты" за текущий год. Если заменен ссылочный стандарт, на который дана недатированная ссылка, то рекомендуется использовать действующую версию этого стандарта с учетом всех внесенных в данную версию изменений. Если заменен ссылочный стандарт, на который дана датированная ссылка, то рекомендуется использовать версию этого стандарта с указанным выше годом утверждения (принятия). Если после утверждения настоящего стандарта в ссылочный стандарт, на который дана датированная ссылка, внесено изменение, затрагивающее положение, на которое дана ссылка, то это положение рекомендуется применять без учета данного изменения. Если ссылочный стандарт отменен без замены, то положение, в котором дана ссылка на него, рекомендуется применять в части, не затрагивающей эту ссылку.
3 Термины и определения
В настоящем стандарте применены термины по ГОСТ 8.654, ГОСТ Р 8.743, ГОСТ 7427, ГОСТ Р 70039, ГОСТ Р 70973, ГОСТ Р ИСО 15367-1, ГОСТ Р ИСО 15367-2, а также следующий термин с соответствующим определением:
3.1 искажение волнового фронта PV: Разность между максимальным и минимальным отклонением волнового фронта, наблюдаемая при однократном прохождении света через исследуемый образец.
Примечание - Наряду с термином "искажение волнового фронта" применяют параметр "отклонение волнового фронта" или "значение волнового фронта PV".
4 Общие положения
Метод определения оптической однородности на коллиматорной установке основан на определении предельных углов разрешения коллиматорной установки φ с введенным в параллельный пучок лучей образцом стекла и φ1 без образца стекла при длине волны λ = 0,55 мкм с помощью штриховых мир и вычисления отношения
. Категории оптической однородности по отношению предельных углов разрешения коллиматорной установки согласно ГОСТ 23136 приведены в таблице 1.
Таблица 1 - Категории оптической однородности по разности углов разрешения
|
Категория оптической однородности |
Отношение углов |
|
1 |
1,0 |
|
2 |
1,0 |
|
3 |
1,1 |
|
4 |
1,2 |
|
5 |
1,5 |
Примечание - Для образцов, соответствующих категории оптической однородности 1, дифракционное изображение точечной миры должно состоять из круглого пятна, окруженного концентричными кольцами, и не должно иметь разрывов, хвостов и заметного на глаз отклонения от круга.
При интерферометрическом методе оптическую однородность определяют по искажению волнового фронта. Интерферометрический метод основан на определении разности показателя преломления. В зависимости от разности показателей преломления согласно ГОСТ 23136 установлены категории оптической однородности, приведенные в таблице 2.
Таблица 2 - Категории оптической однородности по разности показателя преломления
|
Категории оптической однородности |
Разность показателей преломления в объеме заготовки |
|
I |
Не более 2·10-6 |
|
II |
Не более 5·10-6 |
|
III |
Не более 10·10-6 |
|
IV |
Не более 20·10-6 |
|
V |
Не более 50·10-6 |
Общие требования к методам оптического контроля - согласно ГОСТ Р 58399.
5 Требования к образцам
Измерение оптической однородности предпочтительно проводить на заготовках, имеющих форму пластин.
Определение оптической однородности стекла заготовок и деталей, имеющих форму линз и призм, следует проводить с помощью образцов для испытаний (далее - образцы).
Образцы должны быть изготовлены из стекла такой же марки, как и стекло заготовок (деталей), и отжигаться вместе с ними. Перед отжигом образцы должны быть закалены так, чтобы двулучепреломление было не менее указанного в таблице 3.
Примечания
1 Если проводят испытания готовых заготовок (деталей), то образец для испытания выбирают из общей партии случайным образом.
2 В технически обоснованных случаях проводят проверку однородности всех заготовок (деталей) в партии.
Таблица 3 - Двулучепреломление в образцах для испытания, поступающих на отжиг
|
Оптический коэффициент напряжения стекла образца для испытаний B x 1012, Па-1 |
Двулучепреломление, нм/см |
|
Не более 2,0 |
Не менее 35 |
|
От 2,0 до 2,8 |
Не менее 55 |
|
Более 2,8 |
Не менее 80 |
Значения оптического коэффициента напряжения оптического бесцветного стекла различных марок устанавливают согласно ГОСТ 13659.
Форма и размеры образцов для испытаний, используемых при изготовлении линз и призм, должны соответствовать указанным в таблице 4.
Таблица 4 - Характеристики образцов для испытаний
|
Форма заготовок (деталей) |
Характеристика образцов для испытаний | ||
|
Форма |
Толщина |
Световая апертура | |
|
Линза |
Круглая пластина |
Толщина заготовки (детали) |
Диаметр равен диаметру заготовки (детали) |
|
Призма |
Прямоугольная пластина |
Равна длине хода лучей в призме |
Каждая из сторон на 5% более соответствующих сторон световой апертуры призмы |
Диаметр или наибольшая сторона световой апертуры заготовок, деталей и образцов стекла не должна быть более 5 мм диаметра (или наибольшего размера) световой апертуры оптической детали.
При оценке образцов стекла больших размеров контроль оптической однородности проводят на нескольких участках образца (рекомендуемое пересечение участков - 30%). При этом диаметр каждого из участков не должен превышать диаметр световой апертуры оптической детали.
Примечание - Для образцов стекла больших размеров (диаметр или наибольшая сторона которых более 150 мм) установлена система оценки оптической однородности по трем параметрам согласно ГОСТ 23136.
Клиновидность образцов стекла при работе с лампой накаливания без фильтра не должна быть более 2', с источником монохроматического излучения - 1°.
Рабочие поверхности образцов стекла с показателем преломления не более 1,65 должны быть шлифованными или полированными, более 1,65 - полированными.
Шероховатость шлифованных поверхностей на соответствие категории оптической однородности 1 - Ra ≤ 0,63 мкм при базовой длине 8,0 мм, на соответствие категориям 2 - 5 - Ra ≤ 1,25 мкм при базовой длине 0,8 мм по ГОСТ Р 71448.
Шероховатость полированных поверхностей - Rz ≤ 0,05 мкм при базовой длине 0,8 мм по ГОСТ Р 71448.
Чистота полированных поверхностей - не хуже PV - по ГОСТ 11141.
Неплоскостность полированных рабочих поверхностей образцов, не более:
- для категории оптической однородности 1 - одна интерференционная полоса при допуске на местные ошибки не более 0,1 полосы;
- для категорий оптической однородности 2 - 5 - пять интерференционных полос при допуске на местные ошибки не более 0,5 полосы.
Образцы стекла со шлифованными поверхностями следует просматривать с накладными пластинами, смоченными иммерсионной жидкостью.
Чистота полированных неприкладываемых поверхностей - не хуже PV - по ГОСТ 11141.
6 Аппаратура и материалы
6.1 Для проведения измерений потребуется:
- иммерсионная жидкость;
- накладные пластины;
- растворитель для чистки оптики;
- салфетки из батиста и фланели по ГОСТ 29298.
Для измерения оптической однородности:
- на коллиматорной установке используют установку, представленную на рисунке 1, набор штриховых мир по ГОСТ 15114 и набор точечных диафрагм;
- интерферометрическим методом используют интерферометр с точностью определения до 0,1 интерференционной полосы.
6.2 Показатель преломления иммерсионной жидкости не должен отличаться от показателя преломления стекла n образца более чем на 2·10-3. Допускается использование иммерсионной жидкости с большей разницей показателей преломления, если результаты просмотра стекла будут соответствовать заданной категории оптической однородности или показатель преломления иммерсионной жидкости будет учтен при обработке результатов измерения. Требования к иммерсионным жидкостям - по ГОСТ 28869.
6.3 Накладные пластины должны быть изготовлены из оптического стекла, удовлетворяющего требованиям категории оптической однородности 1, двулучепреломлению и бессвильности по ГОСТ 23136.
Клиновидность накладных пластин - не более 1°.
Неплоскостность поверхностей накладных пластин:
- для прикладываемых к шлифованным поверхностям образца стекла - не более 10 интерференционных полос при допуске на местные ошибки не более одной полосы;
- для неприкладываемых - не более одной интерференционной полосы при допуске на местные ошибки не более 0,1 полосы.
6.4 В качестве растворителя для чистки оптики используют спирт этиловый ректификованный технический высший сорт по ГОСТ 17299, спирт этиловый технический марки А по ГОСТ Р 55878, ацетон технический марки А по ГОСТ 2603 или иной подходящий растворитель.
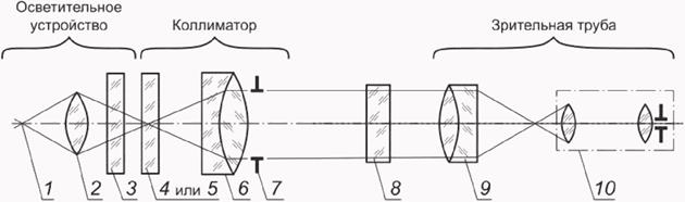
6.5 Схема установки для определения оптической однородности на коллиматорной установке представлена на рисунке 1.

1 - источник излучения; 2 - собирающая линза; 3 – сменный фильтр или матовое стекло; 4 - сменные штриховые миры; 5 - сменные точечные диафрагмы; 6 - объектив коллиматора; 7 - диафрагма коллиматора; 8 - образец; 9 – объектив зрительной трубы; 10 - микроскоп
Рисунок 1 - Оптическая схема коллиматорной установки
6.5.1 Используемый источник излучения должен иметь спектральный диапазон, включающий излучение в интервале длин волн от 0,53 до 0,56 мкм.
6.5.2 Фильтр применяют для выделения излучения с максимумом в интервале длин волн 0,53 - 0,56 мкм. В качестве фильтра используют пластину толщиной 2 мм из стекла марок: ЗСЗ, ЗС10, ЗС11 по ГОСТ 9411 или интерференционный фильтр с максимальным коэффициентом пропускания не менее 50% в интервале длин от 0,53 до 0,56 мкм.
6.5.3 Размеры штриховых мир набора и значения угловых расстояний между серединами соседних полос каждого элемента штриховых мир (далее - угловой размер элемента штриховой миры) применительно к фокусному расстоянию объектива коллиматора - по ГОСТ 15114. Штриховую миру устанавливают в фокальной плоскости объектива таким образом, чтобы она была равномерно освещена.
Примечание - Допускается использование штриховых мир другого контраста при контроле образцов стекла, к которым предъявляются повышенные требования по оптической однородности.
6.5.4 Точечные диафрагмы используют для оценки качества оптической системы коллиматорной установки и для контроля образцов стекла на соответствие категории оптической однородности 1. Точечные диафрагмы изготовлены из непрозрачного материала в форме пластин с отверстиями диаметром 0,007; 0,010; 0,020 и 0,100 мм.
6.5.5 К объективам коллиматора и зрительной трубы предъявляют следующие требования:
- фокусное расстояние - не менее 600 мм;
- относительное отверстие - не более 1:9.
6.5.6 Дифракционное изображение точки в фокальной плоскости объектива (позиция 9, рисунок 1) должно представлять собой центральное светлое пятно, вокруг которого идут чередующиеся темные и светлые кольца, форма которых не отклоняется от круга, а изображение не имеет разрывов и нерезкостей (размытостей).
6.5.7 В качестве окуляра зрительной трубы используют микроскоп с увеличением 100x.
6.5.8 Теоретический угол разрешения коллиматорной установки φ0 вычисляют по формуле
, (1)
где D - диаметр переменной диафрагмы коллиматора, равный диаметру световой апертуры образца, мм;
K - коэффициент, равный 120 угл. с·мм.
Предельный угол разрешения коллиматорной установки φ1 не должен отличаться от теоретического угла разрешения φ0 более чем на угловой размер одного элемента миры, если φ0 и φ1 выражены в угловых размерах элементов миры.
Предельный угол разрешения коллиматорной установки - это ее наименьший угол разрешения при выбранной диафрагме коллиматора.
Примечание - При определении категории оптической однородности образцов стекла вместо теоретического допускается пользоваться предельным углом разрешения коллиматорной установки.
Оптическую однородность образцов стекла, предназначенных для работы в условиях двухкратного прохождения света, определяют на коллиматорной установке с автоколлимационным окуляром или на автоколлимационной установке.
Накладные пластины, смоченные иммерсионной жидкостью и попарно приложенные друг к другу, не должны изменять наименьший угол разрешения коллиматорной установки и искажать дифракционное изображение точки.
6.6 Калибровка и аттестация интерферометров, описание схем, проведение интерферометрических измерений - в соответствии с ГОСТ Р 8.744 и ГОСТ Р 8.745.
7 Подготовка к измерению
Определение оптической однородности образцов стекла проводят при нормальных климатических условиях согласно ГОСТ 15150.
Перед проведением измерений образцы стекла выдерживают в том помещении, в котором проводят измерения, в течение времени, достаточного для принятия ими температуры окружающего воздуха по всему объему.
Накладные пластины и иммерсионные жидкости при использовании должны иметь температуру, одинаковую с образцами стекла.
Источник света и фильтр подбирают с учетом условий освещенности и клиновидности образца по признаку отсутствия хроматической аберрации в изображении штриховой миры.
Переменную диафрагму коллиматора подбирают в зависимости от световой апертуры образца стекла с учетом того, что световая апертура образца не должна превышать размер светового пятна на образце более чем на 5 мм.
Теоретический угол разрешения коллиматорной установки вычисляют по формуле (1).
Для просмотра образцов стекла на их соответствие категории оптической однородности 1 подбирают точечную диафрагму такого диаметра, чтобы в микроскопе была видна дифракционная картина изображения точки в виде круглого светлого пятна, окруженного концентрическими кольцами. Дифракционная картина не должна иметь отклонений от круга, разрывов или нерезкости (размытости) изображения.
Штриховую миру номера из набора подбирают для фокусного расстояния объектива коллиматора таким образом, чтобы значение теоретического угла соответствовало угловому размеру одного из средних номеров элементов миры.
При измерении однородности интерферометрическим методом в помещении поддерживают стабильную температуру с точностью 1 °C.
До начала измерения образцы протирают растворителями, применяемыми для чистки оптических деталей.
8 Проведение измерения
Однородность образцов большого размера измеряют на нескольких участках с пересечением проверяемых участков, ограниченных световым пятном на образце (рекомендуемое пересечение участков - 30%), и вычисляют как среднеарифметическое.
Примечание - Если в технической документации отсутствуют требования к количеству процедур измерения при определении однородности образцов, то измерение с каждым образцом проводят один раз.
8.1 Измерение оптической однородности на коллиматорной установке
8.1.1 На соответствие категориям оптической однородности 2 - 5
При просмотре образцов стекла на соответствие категориям 2 - 5:
- в ход лучей вводят штриховую миру;
- в фокальной плоскости объектива зрительной трубы совмещают изображение штриховой миры с центром поля зрения микроскопа;
- фокусируют микроскоп до резкого изображения миры.
Просматривая изображение миры, определяют предельно разрешаемый элемент i1, полосы всех направлений которого различаются одновременно по всей длине.
Затем согласно рисунку 1 устанавливают образец и определяют предельно разрешаемый элемент миры i коллиматорной установки, в параллельный пучок лучей которой введен образец стекла.
При просмотре образцов стекла на соответствие категориям оптической однородности 2 - 5 допускаются незначительные величины астигматизма, комы, нерезкости (размытости) в изображении миры, если они не мешают различать полосы всех направлений предельно разрешаемого элемента без перефокусировки микроскопа.
8.1.2 На соответствие категории оптической однородности 1
При просмотре образцов стекла на соответствие их категории оптической однородности 1 на место штриховой миры устанавливают точечную диафрагму, подобранную так, чтобы была четко видна дифракционная картина, т.е. она должна представлять собой центральное светлое пятно, вокруг которого идут чередующиеся темные и светлые кольца, форма которых не отклоняется от круга, а изображение не имеет разрывов или нерезкостей (размытостей).
Центр дифракционного изображения точечной диафрагмы в фокальной плоскости объектива зрительной трубы совмещают с центром поля зрения микроскопа. Микроскоп фокусируют до резкого изображения дифракционной картины точечной диафрагмы и просматривают дифракционное изображение точечной диафрагмы с образцом стекла без перефокусировки микроскопа.
Для образца стекла, соответствующего категории оптической однородности 1, дифракционное изображение точечной диафрагмы не должно иметь отклонений от круга, иметь разрывов или нерезкостей (размытостей) изображения.
8.2 Измерение оптической однородности интерференционным методом
Измерения искажения волнового фронта проводят по методике согласно ГОСТ Р ИСО 15367-1, ГОСТ Р ИСО 15367-2, ГОСТ Р 8.744 и ГОСТ Р 8.745.
Подготовку к измерению искажения волнового фронта проводят согласно инструкции по эксплуатации используемого интерферометра.
При измерении оптической однородности интерференционным методом по интерференционной картине определяют расстояние между интерференционными полосами и искажение волнового фронта во взаимно противоположных направлениях (см. рисунок 2).

a - расстояние между интерференционными полосами; b1, b2 - искажение волнового фронта во взаимно противоположных направлениях
Рисунок 2 - Интерференционная картина с искажением волнового фронта
Для получения достоверных результатов измерения первоначально проводят измерение искажения волнового фронта, вносимого совмещенными на иммерсионной жидкости накладными пластинами интерферометра, а затем искажения волнового фронта, вносимого образцом стекла, с совмещенными на иммерсионной жидкости накладными пластинами.
При изменении оптической однородности образцов стекла с полированной поверхностью с чистотой не хуже PV по ГОСТ 11141 накладные пластины интерферометра и иммерсионную жидкость не используют, что обосновано тем, что погрешность измерения искажения волнового фронта, вносимая поверхностями образца, намного меньше погрешности измерения самого интерферометра.
9 Обработка результатов
9.1 Обработка результатов измерения оптической однородности на коллиматорной установке
По номеру разрешаемого элемента i1, номеру миры и по значению фокусного расстояния объектива коллиматора по ГОСТ 15114 находят предельный угол разрешения φ1 коллиматорной установки.
По номеру разрешаемого элемента i, номеру миры n и по значению фокусного расстояния объектива коллиматора по ГОСТ 15114 находят предельный угол разрешения коллиматорной установки φ, в параллельный пучок которой введен образец стекла.
Вычисляют отношение
для исследуемого образца стекла, округляя полученные числа до двух значащих цифр.
По значению вычисленного отношения и качеству дифракционного изображения точечной диафрагмы или изображения штриховой миры согласно таблице 1 и ГОСТ 23136 определяют категорию оптической однородности исследуемого образца.
9.2 Обработка результатов измерения оптической однородности интерферометрическим методом
Интерпретацию интерференционной картины (см. рисунок 2) проводят путем анализа темных и светлых интерференционных полос.
Расчет искажения волнового фронта PV проводят в автоматическом режиме согласно руководству по эксплуатации используемого интерферометра или по формуле
, (2)
где f - параметр, учитывающий количество проходов излучения через образец (в случае одного прохода f = 1; при двух проходах f = 0,5).
Разницу показателя преломления Δn определяют через искажение волнового фронта PV по формуле
, (3)
где λ - длина волны используемого источника излучения;
a - оптическая длина пути излучения в образце, вычисляемая по формуле
a = n·l, (4)
где n - показатель преломления образца;
l - толщина образца.


