Утв. и введен в действие Приказом Федерального агентства по техническому регулированию и метрологии от 27 августа 2024 г. N 1121-ст
Национальный стандарт РФ ГОСТ Р 71568-2024
"КЛАДКА КАМЕННАЯ. МЕТОДЫ ИСПЫТАНИЯ АНКЕРНЫХ УЗЛОВ ГИБКИХ СВЯЗЕЙ, УСТАНОВЛЕННЫХ В РАСТВОРНЫЕ ШВЫ, НА ОСЕВОЕ СЖАТИЕ И РАСТЯЖЕНИЕ"
Masonry. Methods for testing anchor knots of flexible ties installed in mortar joints for axial compression and tension
ОКС 91.080.30
Дата введения - 1 октября 2024 года
Введен впервые
Предисловие
1 РАЗРАБОТАН Акционерным обществом "Научно-исследовательский центр "Строительство" (АО "НИЦ "Строительство"), Центральным научно-исследовательским институтом строительных конструкций им. В.А. Кучеренко (ЦНИИСК им. В.А. Кучеренко) совместно с Объединением юридических лиц "Союз производителей композитов"
2 ВНЕСЕН Техническим комитетом по стандартизации ТК 465 "Строительство"
3 УТВЕРЖДЕН И ВВЕДЕН В ДЕЙСТВИЕ Приказом Федерального агентства по техническому регулированию и метрологии от 27 августа 2024 г. N 1121-ст
4 ВВЕДЕН ВПЕРВЫЕ
Правила применения настоящего стандарта установлены в статье 26 Федерального закона от 29 июня 2015 г. N 162-ФЗ "О стандартизации в Российской Федерации". Информация об изменениях к настоящему стандарту публикуется в ежегодном (по состоянию на 1 января текущего года) информационном указателе "Национальные стандарты", а официальный текст изменений и поправок - в ежемесячном информационном указателе "Национальные стандарты". В случае пересмотра (замены) или отмены настоящего стандарта соответствующее уведомление будет опубликовано в ближайшем выпуске ежемесячного информационного указателя "Национальные стандарты". Соответствующая информация, уведомление и тексты размещаются также в информационной системе общего пользования - на официальном сайте Федерального агентства по техническому регулированию и метрологии в сети Интернет (www.rst.gov.ru)
1 Область применения
Настоящий стандарт распространяется на анкерные узлы (далее - узлы анкеровки) стальных и композитных полимерных гибких связей (далее - гибкие связи), установленные в горизонтальные растворные швы кладки (кирпичной, каменной, блочной) многослойных наружных стен зданий и устанавливает методы определения предельных значений осевых усилий при сжатии и растяжении узлов анкеровки гибких связей.
2 Нормативные ссылки
В настоящем стандарте использованы нормативные ссылки на следующие документы:
ГОСТ 166 (ИСО 3599-76) Штангенциркули. Технические условия
ГОСТ 427 Линейки измерительные металлические. Технические условия
ГОСТ 3749 Угольники поверочные 90°. Технические условия
ГОСТ 6613 Сетки проволочные тканые с квадратными ячейками. Технические условия
ГОСТ 28840 Машины для испытания материалов на растяжение, сжатие и изгиб. Общие технические требования
ГОСТ 32492-2015 Арматура композитная полимерная для армирования бетонных конструкций. Методы определения физико-механических характеристик
ГОСТ 33530 Инструмент монтажный для нормированной затяжки резьбовых соединений. Ключи моментные. Общие технические условия
ГОСТ Р 54923-2012 Композитные гибкие связи для многослойных ограждающих конструкций. Технические условия
ГОСТ Р 53228 Весы неавтоматического действия. Часть 1. Метрологические и технические требования. Испытания
СП 327.1325800.2017 Стены наружные с лицевым кирпичным слоем. Правила проектирования, эксплуатации и ремонта
Примечание - При пользовании настоящим стандартом целесообразно проверить действие ссылочных стандартов (сводов правил) в информационной системе общего пользования - на официальном сайте Федерального агентства по техническому регулированию и метрологии в сети Интернет или по ежегодному информационному указателю "Национальные стандарты", который опубликован по состоянию на 1 января текущего года, и по выпускам ежемесячного информационного указателя "Национальные стандарты" за текущий год. Если заменен ссылочный документ, на который дана недатированная ссылка, то рекомендуется использовать действующую версию этого документа с учетом всех внесенных в данную версию изменений. Если заменен ссылочный документ, на который дана датированная ссылка, то рекомендуется использовать версию этого документа с указанным выше годом утверждения (принятия). Если после утверждения настоящего стандарта в ссылочный документ, на который дана датированная ссылка, внесено изменение, затрагивающее положение, на которое дана ссылка, то это положение рекомендуется применять без учета данного изменения. Если ссылочный документ отменен без замены, то положение, в котором дана ссылка на него, рекомендуется применять в части, не затрагивающей эту ссылку. Сведения о действии сводов правил целесообразно проверить в Федеральном информационном фонде стандартов.
3 Термины и определения
В настоящем стандарте применены следующие термины с соответствующими определениями:
3.1 гибкая связь: Связь из коррозионно-стойкой стали или из полимерных композитов (композитная гибкая связь) между лицевым слоем из каменной кладки и внутренним слоем многослойных наружных стен, обеспечивающая их совместную работу из плоскости стены и их свободное перемещение относительно друг друга по вертикали и горизонтали в плоскости стены.
3.2 кладочное изделие: Кирпич, камень или блок, из которых ведется кладка.
3.3 узел анкеровки: Находящаяся в растворном шве часть гибкой связи с прилегающими в непосредственной близости к ней участками кладочных изделий и находящегося между ними раствора.
3.4 длина заделки: Длина гибкой связи, находящаяся в растворном шве между кладочными изделиями.
3.5 осевое растягивающее или сжимающее усилие: Усилие, приложенное к гибкой связи при испытании.
3.6 предельное перемещение гибкой связи в узле анкеровки: Перемещение гибкой связи относительно кладочного изделия, соответствующее максимально допустимому значению, устанавливаемому проектом, но не выше максимального значения, соответствующего резкому нарастанию пластических деформаций.
3.7 предельное осевое усилие: Максимальная нагрузка при испытании на осевое растяжение или сжатие до момента наступления предельного состояния.
4 Сущность метода
Образец для испытаний, состоящий из двух кладочных изделий (кирпичей, камней, блоков), соединенных кладочным раствором, и одной гибкой связи, размещенной в горизонтальном растворном шве между кладочными изделиями, помещают в испытательное приспособление.
Затем к гибкой связи прикладывают осевые растягивающее или сжимающее усилия и определяют их предельные значения. Одновременно определяют осевые перемещения гибкой связи относительно кладочного изделия (кирпича, камня, блока).
5 Оборудование
5.1 Испытательная машина по ГОСТ 28840, обеспечивающая возможность нагружения с заданной скоростью.
Испытательная машина должна иметь подвижную и неподвижную траверсу с установленными на них захватами для крепления образца, силоизмерительное устройство с относительной погрешностью измерения не более 0,5%.
5.2 Муфта испытательная по ГОСТ Р 54923-2012 (пункт Б.3.3) или по ГОСТ 32492-2015 (пункт 5.2.4).
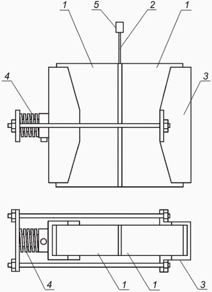
5.3 Приспособление испытательное, обеспечивающее предварительное обжатие перпендикулярно плоскости растворного шва образца в виде фрагмента кладки с установленной гибкой связью.
Общий вид рекомендуемого приспособления для испытаний приведен на рисунке 1.
5.4 Устройство измерения перемещения, производящее измерения с точностью до 0,01 мм.
5.5 Ключ динамометрический по ГОСТ 33530.
5.6. Линейка измерительная металлическая по ГОСТ 427.
5.7 Угольник поверочный по ГОСТ 3749.
5.8 Штангенциркуль по ГОСТ 166.
5.9 Весы лабораторные по ГОСТ Р 53228.
5.10 Щупы измерительные с точностью до 0,01 мм по нормативным документам производителя.
5.11 Сито с сеткой 1 мм по ГОСТ 6613.
5.12 Шкаф сушильный, обеспечивающий поддержание температуры (105 ± 5) °C с пределами допускаемой абсолютной погрешности ± 2 °C по нормативным документам производителя.

1 - кладочное изделие, 2 - гибкая связь, 3 – стальная обойма, 4 - пружина, 5 - испытательная муфта
Рисунок 1 - Приспособление для проведения испытаний
6 Образцы для испытаний
6.1 Образцы для испытаний изготавливают из двух образцов кладочных изделий и одного образца гибкой связи.
Количество образцов для испытаний должно быть не менее 10 шт.
6.2 Для кладочных изделий в протоколе испытаний указывают технические условия, по которым их изготавливают, материал, габариты, направление, форму и размер пустот, процент пустот. Для неавтоклавных бетонов указывают возраст и прочность бетона на момент проведения испытаний.
Все кладочные изделия для изготовления опытных образцов берутся из одной поставки.
6.3 Образцы кладочных изделий, отобранные во влажном состоянии, перед испытанием выдерживают не менее 3 сут в закрытом помещении при температуре (20 + 5) °C или подсушивают в течение 4 ч при температуре (105 ± 5) °C.
Образцы, содержащие гипс, сушат в течение 8 ч при температуре, не превышающей 50 °C.
6.4 Раствор для изготовления образцов принимается идентичным используемому в кладке стены или марки M100, если не указано иное. Марка и состав раствора указываются в протоколе испытаний.
6.5 Выборку гибких связей проводят методом случайного отбора от партии гибких связей, удовлетворяющих требованиям документов по стандартизации, по которым они изготавливаются. В протоколе испытаний указывают данный документ по стандартизации, марку и/или вид материала гибкой связи и данные производителя.
При отборе образцов необходимо избегать повреждений, деформаций, нагрева, воздействия факторов окружающей среды, а также других факторов, которые могут повлиять на исходные свойства образцов.
На одном конце композитных полимерных гибких связей закрепляют испытательную муфту по 5.2.
7 Подготовка к проведению испытаний
7.1 Изготовление образцов
Образцы изготавливают, соединяя два кладочных изделия (или их части - для камней и блоков) растворным швом и устанавливая в него гибкую связь на расчетную длину заделки.
При выпиливании образца из целого камня или блока соединение кладочных изделий производится по нетронутым при распиловке поверхностям.
7.2 Выдерживание образцов перед испытаниями
7.2.1 Подготовку к проведению испытаний образцов в воздушно-сухом состоянии осуществляют выдерживанием влажных испытуемых образцов в течение не менее 3 сут в помещении при температуре (20 ± 5) °C и относительной влажности воздуха от 60% до 80% до постоянной массы. Масса считается постоянной, если по результатам двух последовательных взвешиваний с интервалом не менее 24 ч потеря массы образца составляет не более 0,2%.
7.2.2 Подготовка к испытаниям образцов методом высушивания
7.2.2.1 Сухое состояние образцов достигается с помощью одного из следующих методов:
а) высушиванием в сушильном шкафу при температуре (105 ± 5) °C до постоянной массы.
Примечание - После просушивания и до испытаний образцы выдерживают при температуре окружающей среды в течение 15 - 20 мин;
б) высушиванием в сушильном шкафу при температуре (70 ± 5) °C до постоянной массы.
7.2.2.2 После высушивания и до испытаний образцы выдерживают при температуре (20 ± 2) °C до достижения температурного равновесия. После этого в течение 24 ч проводят испытания.
8 Проведение испытаний
8.1 Образец для испытаний устанавливают в испытательное приспособление по 5.3. Проводят предварительное обжатие образцов нагрузкой 0,1 ± 0,01 МПа (см. рисунок 1).
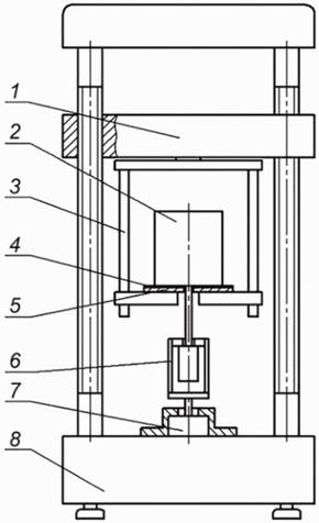
8.2 Испытательное приспособление помещают на подвижную траверсу испытательной машины. Конец образца, закрепленный в испытательной муфте (для композитных гибких связей) или в зажимном приспособлении (для стальных гибких связей), закрепляют на неподвижной траверсе испытательной машины (см. рисунок 2).
8.3 Включают испытательную машину и измерительный комплекс в режим испытания.
8.3.1 Нагружение сжимающим или растягивающим осевым усилием производят равномерно, с постоянной скоростью, не менее чем десятью этапами, равными 0,1 от ожидаемого значения предельного осевого усилия, вплоть до наступления предельного состояния - полного разрушения узла анкеровки без разрушения кладочных изделий на участке узла анкеровки или с их разрушением.
Причину наступления предельного состояния указывают в протоколе испытаний.
8.3.2 По окончании каждого этапа делают выдержку не менее 1 мин для снятия показаний с приборов, измеряющих нагрузку и соответствующее ей перемещение гибкой связи, по которым затем строят график зависимости перемещений от нагрузки.

1 - подвижная траверса испытательной машины; 2 - испытательное приспособление с установленным образцом для испытаний; 3 - захват; 4 - мягкая прокладка; 5 – опорная пластина; 6 - зажим испытательной муфты; 7 - датчик силы; 8 - станина испытательной машины
Рисунок 2 - Схема испытания на осевое растяжение
9 Обработка результатов
9.1 В качестве единичных результатов испытаний узла анкеровки принимают максимальное значение осевого усилия Nmax, при котором происходит полное разрушение узла или значение нагрузки, которое на графике зависимости перемещений от нагрузок характеризуется резким изменением динамики зависимости перемещений от нагрузки (переломом кривой) (см. рисунок 3).

Рисунок 3 - График зависимости перемещений гибкой связи в узле анкеровки от значения осевой нагрузки
9.2 Из общего ряда полученных при испытаниях единичных результатов исключают одно или оба крайних значения, если они явно выпадают из ряда, резко отличаясь по абсолютному значению и/или характеру разрушения.
9.3 На основе серии оставшихся единичных результатов испытаний рассчитывают среднее значение осевого усилия (нагрузки) Nmean, среднее квадратическое отклонение единичных значений осевого усилия (нагрузки) s и коэффициент вариации ν.
9.4 Среднее значение осевого усилия (нагрузки) Nmean, кН, вычисляют по формуле
, (1)
где Ni - единичное значение осевого усилия (нагрузки) в серии результатов испытаний, кН;
n - число испытываемых образцов.
9.5 Среднее квадратическое отклонение единичных значений осевого усилия (нагрузки) s, кН, вычисляют по формуле
. (2)
9.6 Коэффициент вариации ν, %, вычисляют по формуле
. (3)
9.7 Если исключенные из общего ряда значения Ni выходят за пределы, равные (N ± 3s) кН, их окончательно отбраковывают. Если исключенные Ni не выходят за указанные пределы, то значения Nmean, s и ν пересчитывают по результатам всей серии единичных испытаний.
9.8 Нормативное значение осевого усилия (нагрузки) Nnorm, кН, с точностью до 0,01 кН вычисляют по формулам:
Nnorm = antilog10(yc), (4)
yc = ymean - k·s, (5)
, (6)
yi = log10Ni, (7)
где k - функциональная зависимость n в соответствии с таблицей 1;
s - среднеквадратическое отклонение n логарифмических величин;
n - число испытываемых образцов.
Таблица 1 - Отношение n и k
|
n
|
6
|
7
|
8
|
9
|
10
|
|
k
|
2,18
|
2,08
|
2,01
|
1,96
|
1,92
|
9.9 Расчетное значение осевого усилия вычисляют по формуле
N = Nnorm/γm, (8)
где γm - коэффициент надежности по материалу, применяемый при расчете предельных состояний по СП 327.1325800.
10 Протокол испытаний
Протокол испытаний должен содержать:
- ссылку на настоящий стандарт;
- наименование испытательной лаборатории, фамилию, инициалы и подписи должностных лиц, проводивших испытания;
- количество опытных образцов;
- дату изготовления опытных образцов;
- условия хранения (например, срок, относительную влажность и температуру воздуха);
- дату проведения испытаний;
- описание опытных образцов, включая указание размеров, количество образцов, рисунок перевязки и расстояние между опорами;
- описание кладочных элементов (кирпича, камней, блоков) и раствора, преимущественно в форме прилагаемых протоколов испытания или выдержек из них;
- возраст блоков из неавтоклавного бетона на момент испытания образцов;
- условия содержания кладочных изделий (кирпича, камней, блоков) перед изготовлением образцов и влагосодержание по массе для силикатных и ячеистобетонных элементов;
- время от начала приложения нагрузки до достижения максимально возможного значения нагрузки (предельного осевого усилия);
- максимальное значение осевого усилия с точностью до 0,01 кН с указанием причины наступления предельного состояния;
- среднее значение осевого усилия (нагрузки) Nmean, кН с точностью до 0,01 кН и коэффициент вариации ν;
- перемещения гибкой связи с точностью до 0,01 мм;
- диаграммы деформирования и фотографии образцов;
- схемы трещин;
- примечания при необходимости.