Утв. и введен в действие Приказом Федерального агентства по техническому регулированию и метрологии от 12 сентября 2024 г. N 1222-ст
Национальный стандарт РФ ГОСТ Р ИСО 12619-14-2024
"ТРАНСПОРТ ДОРОЖНЫЙ. КОМПОНЕНТЫ ТОПЛИВНОЙ СИСТЕМЫ ДЛЯ ПОДАЧИ СЖАТОГО ГАЗООБРАЗНОГО ВОДОРОДА (CGH2) ИЛИ СМЕСИ ВОДОРОДА И ПРИРОДНОГО ГАЗА. Часть 14. ГИБКИЙ ТОПЛИВОПРОВОД"
Road vehicles. Components of the fuel system for supply of compressed gaseous hydrogen (CGH2) or hydrogen/natural gas mix. Part 14. Flexible fuel line
[ISO 12619-14:2017, Road vehicles - Compressed gaseous hydrogen (CGH2) and hydrogen/natural gas blends fuel system components - Part 14: Flexible fuel line, IDT]
ОКС 43.060.40
Дата введения - 1 мая 2025 года
Введен впервые
Предисловие
1 ПОДГОТОВЛЕН Федеральным государственным унитарным предприятием "Центральный ордена Трудового Красного Знамени научно-исследовательский автомобильный и автомоторный институт "НАМИ" (ФГУП "НАМИ") на основе собственного перевода на русский язык англоязычной версии стандарта, указанного в пункте 4
2 ВНЕСЕН Техническим комитетом по стандартизации ТК 056 "Дорожный транспорт"
3 УТВЕРЖДЕН И ВВЕДЕН В ДЕЙСТВИЕ Приказом Федерального агентства по техническому регулированию и метрологии от 12 сентября 2024 г. N 1222-ст
4 Настоящий стандарт идентичен международному стандарту ИСО 12619-14:2017 "Транспорт дорожный. Сжатый водород и компоненты топливной смеси водорода с природным газом. Часть 14. Гибкий топливопровод" [ISO 12619-14:2017 "Road vehicles - Compressed gaseous hydrogen (CGH2) and hydrogen/natural gas blends fuel system components - Part 14: Flexible fuel line", IDT].
Наименование настоящего стандарта изменено относительно наименования указанного международного стандарта для приведения в соответствие с ГОСТ Р 1.5-2012 (пункт 3.5).
При применении настоящего стандарта рекомендуется использовать вместо ссылочных международных стандартов соответствующие им межгосударственные стандарты, сведения о которых приведены в дополнительном приложении ДА
5 ВВЕДЕН ВПЕРВЫЕ
Правила применения настоящего стандарта установлены в статье 26 Федерального закона от 29 июня 2015 г. N 162-ФЗ "О стандартизации в Российской Федерации". Информация об изменениях к настоящему стандарту публикуется в ежегодном (по состоянию на 1 января текущего года) информационном указателе "Национальные стандарты", а официальный текст изменений и поправок - в ежемесячном информационном указателе "Национальные стандарты". В случае пересмотра (замены) или отмены настоящего стандарта соответствующее уведомление будет опубликовано в ближайшем выпуске ежемесячного информационного указателя "Национальные стандарты". Соответствующая информация, уведомление и тексты размещаются также в информационной системе общего пользования - на официальном сайте Федерального агентства по техническому регулированию и метрологии в сети Интернет (www.rst.gov.ru)
Введение
Серия национальных стандартов ГОСТ Р ИСО 12619 "Транспорт дорожный. Компоненты топливной системы для подачи сжатого газообразного водорода (CGH2) или смеси водорода и природного газа" состоит из следующих частей:
- часть 4. Обратный клапан;
- часть 5. Ручной клапан газового баллона;
- часть 6. Автоматический клапан;
- часть 7. Газовый инжектор;
- часть 8. Манометр;
- часть 9. Предохранительный клапан;
- часть 10. Предохранитель избыточного давления;
- часть 11. Перепускной клапан;
- часть 12. Газонепроницаемый кожух и вентиляционные шланги;
- часть 13. Жесткий топливопровод из нержавеющей стали;
- часть 14. Гибкий топливопровод;
- часть 15. Фильтр;
- часть 16. Фитинги.
1 Область применения
Настоящий стандарт устанавливает испытания и требования к гибкому топливопроводу, компонентам топливной системы для подачи сжатого газообразного водорода (CGH2) или смеси водорода и природного газа в качестве топлива для дорожных транспортных средств, типы которых определены в ИСО 3833.
Настоящий стандарт применяется к дорожным транспортным средствам, использующим в качестве топлива CGH2, в соответствии с требованиями ИСО 14687-1 1 или ИСО 14687-2 1, а также топливные смеси водорода и природного газа, соответствующие требованиям ИСО 15403-1 и ISO/TR 15403-2 2. Требования настоящего стандарта не распространяются на следующее оборудование:
--------------------------------
1 Заменен на ИСО 14687:2019.
2 Отменен.
a) компоненты топливной системы, использующие сжиженный водород (LH2);
b) топливные баллоны;
c) стационарные газовые двигатели;
d) элементы крепления топливных баллонов;
e) электронную систему управления подачей топлива;
f) приемные части заправочного соединения;
g) транспортные средства на топливных элементах.
Примечание 1 - Необходимо отметить, что возможна оценка иных компонентов топливной системы, которые не определены настоящим стандартом, а также возможна их проверка с использованием соответствующих функциональных испытаний.
Примечание 2 - Любое давление, указанное в настоящем стандарте, соответствует манометрическому давлению, если не указано иное.
2 Нормативные ссылки
В настоящем стандарте использованы нормативные ссылки на следующие стандарты [для датированных ссылок применяют только указанное издание ссылочного стандарта, для недатированных - последнее издание (включая все изменения)]:
ISO 12619-1, Road vehicles - Compressed gaseous hydrogen (CGH2) and hydrogen/natural gas blend fuel system components - Part 1: General requirements and definitions [Транспорт дорожный. Сжатый водород и компоненты топливной смеси водорода с природным газом. Часть 1. Общие требования и определения]
ISO 12619-2:2014, Road vehicles - Compressed gaseous hydrogen (CGH2) and hydrogen/natural gas blend fuel system components - Part 2: Performance and general test methods [Транспорт дорожный. Сжатый водород и компоненты топливной смеси водорода с природным газом. Часть 2. Рабочие характеристики и общие методы испытания]
3 Термины и определения
В настоящем стандарте применены термины по ИСО 12619-1.
ИСО и МЭК поддерживают терминологические базы данных для применения в сфере стандартизации по следующим адресам:
- платформа онлайн-просмотра ИСО, доступна по адресу: https://www.iso.org/obp;
- Электропедия МЭК, доступна по адресу: http://www.electropedia.org/.
4 Маркировка
Маркировка компонентов должна содержать следующее:
a) наименование производителя или поставщика, торговую марку или фирменный ярлык;
b) обозначение модели (артикул изделия);
c) температурный диапазон.
Рекомендуются также следующие дополнительные маркировочные обозначения:
- направление потока (при необходимости для правильной установки);
- тип топлива;
- электрические параметры (при необходимости);
- отметка органа сертификации (при необходимости);
- номер официального утверждения (при необходимости);
- серийный номер или код даты;
- ссылка на настоящий стандарт.
Примечание - Данную информацию необходимо указывать посредством маркировки одной части компонента, если он состоит из нескольких частей.
5 Конструкция и сборка
Гибкий топливопровод должен соответствовать требованиям ИСО 12619-1 и ИСО 12619-2, и требованиям раздела 6. Допуски - по ИСО 12619-2.
6 Методы испытаний
6.1 Применимость
В таблице 1 представлены рекомендуемые методы испытаний.
Таблица 1 - Рекомендуемые методы испытаний
|
Методы испытаний
|
Применимость
|
Методы испытаний по ИСО 12619-2
|
Требования, установленные в настоящем стандарте
|
|
Гидравлические испытания
|
X
|
X
|
X (см. 6.2)
|
|
Испытание на утечку
|
X
|
X
|
-
|
|
Сопротивление избыточному крутящему моменту
|
X a
|
X
|
-
|
|
Изгибающий момент
|
-
|
-
|
-
|
|
Испытания на долговечность
|
X
|
X
|
X (см. 6.3)
|
|
Коррозионная стойкость
|
X
|
X
|
-
|
|
Старение под воздействием кислорода
|
X
|
X
|
-
|
|
Старение под воздействием озона
|
X
|
X
|
-
|
|
Тепловое старение
|
X
|
X
|
-
|
|
Воздействие автомобильных жидкостей
|
X
|
X
|
-
|
|
Электрические перенапряжения
|
-
|
-
|
-
|
|
Неметаллическое синтетическое погружение
|
X
|
X
|
-
|
|
Вибростойкость
|
-
|
-
|
-
|
|
Совместимость бронзовых сплавов
|
X
|
X
|
-
|
|
Испытание на изгиб
|
X
|
-
|
X (см. 6.4)
|
|
Снятие
|
X
|
-
|
X (см. 6.5)
|
|
Электропроводимость
|
X
|
-
|
X (см. 6.6)
|
|
Проницаемость
|
X
|
-
|
X (см. 6.7)
|
|
a Применять к фитингам.
|
6.2 Гидравлические испытания
Гидравлические испытания гибкого топливопровода - в соответствии с ИСО 12619-2. Давление при испытании должно в четыре раза превышать рабочее давление.
Примечание - Более высокое давление при гидравлических испытаниях для гибкого топливопровода по сравнению с компонентами, указанными в других частях серии стандартов ИСО 12619, обусловлено необходимыми мерами по предотвращению возможных повреждений или износа при нормальной эксплуатации.
6.3 Испытания на долговечность
Испытание гибкого топливопровода высокого давления - в соответствии с процедурами для испытания на долговечность по ИСО 12619-2 для полных 20 000 циклов и гибкого топливопровода низкого давления для полных 100 000 циклов.
После циклического испытания проводят испытание на утечку по ИСО 12619-2, затем проводят гидравлическое испытание в соответствии с 6.2.
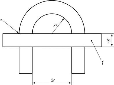
6.4 Испытание на изгиб
При испытании гибкого топливопровода используют гибкий топливопровод без концевых фитингов подходящей длины, в соответствии со следующими процедурами и критериями приемки:
a) аккуратно изогнуть гибкий топливопровод и установить его в крепление, как показано на рисунке 1;
b) после того, как гибкий топливопровод останется в таком положении в течение 5 мин, вставить в один конец гибкого топливопровода стальной шарик диаметром, равным половине номинального внутреннего диаметра гибкого топливопровода.
Деформация внутреннего сечения гибкого топливопровода не должна превышать величины, при которой невозможен свободный проход шарика от одного его конца к другому.

--------------------------------
a Размер отверстия, необходимый для соответствия наружному диаметру гибкого топливопровода.
b r в 10 раз больше номинального внутреннего диаметра гибкого топливопровода или указанного производителем минимального радиуса изгиба гибкого топливопровода, в зависимости от того, что меньше.
1 - опора
Рисунок 1 - Испытание на изгиб
6.5 Снятие
Испытание гибкого топливопровода - в соответствии со следующей процедурой и критерием приемки. Необходимо закрепить исследуемый образец в соответствующем испытательном приспособлении, затем необходимо статически приложить растягивающую нагрузку вдоль оси гибкого топливопровода с максимальной скоростью 250 Н/мин до тех пор, пока гибкий топливопровод не отделится от своего фитинга.
Усилие F, Н, необходимое для отделения топливопровода от его фитинга, должно быть равно или превышать усилие, рассчитанное по формуле (1):
F = (π·d2·P)/10, (1)
где d - внутренний диаметр, мм;
P - установленное рабочее давление, бар.
6.6 Электропроводимость
Испытание проводят при сброшенном давлении в гибком топливопроводе и при установленном рабочем давлении. Необходимо проверить сопротивление гибкого топливопровода, используя приложенный потенциал до 500 В постоянного тока, и измерить ток.
Электрическое сопротивление между соединениями на каждом конце гибкого топливопровода должно быть не более 1 МОМ/м для рассеивания статического электричества.
6.7 Проницаемость
Заполняют гибкий топливопровод подходящей длины водородом или смесью водород/природный газ до установленного или рабочего давления. Помещают его в закрытую герметичную камеру при температуре окружающей среды и следят за его проницаемостью в течение 14 дней.
Почасовая скорость утечки должна составлять менее 20 см3/м. Необходимо отсоединить гибкий топливопровод и осмотреть внутренние поверхности на наличие каких-либо признаков растрескивания или износа.
Приложение ДА
(справочное)
Сведения о соответствии ссылочных международных стандартов межгосударственным стандартам
Таблица ДА.1
|
Обозначение ссылочного международного стандарта
|
Степень соответствия
|
Обозначение и наименование соответствующего межгосударственного стандарта
|
|
ISO 12619-1
|
IDT
|
ГОСТ ISO 12619-1-2017 "Транспорт дорожный. Сжатый газообразный водород и компоненты топливной системы водорода/природного газа. Часть 1. Общие требования и определения"
|
|
ISO 12619-2:2014
|
IDT
|
ГОСТ ISO 12619-2-2017 "Транспорт дорожный. Сжатый водород и компоненты топливной системы водорода/природного газа. Часть 2. Рабочие характеристики и общие методы испытаний"
|
|
Примечание - В настоящей таблице использовано следующее условное обозначение степени соответствия стандартов:
- IDT - идентичные стандарты.
|
Библиография
|
[1]
|
ISO 3833, Road vehicles - Types - Terms and definitions
|
|
[2]
|
ISO 11114-2, Gas cylinders - Compatibility of cylinder and valve materials with gas contents - Part 2: Non-metallic materials
|
|
[3]
|
ISO 13686, Natural gas - Quality designation
|
|
[4]
|
ISO 14687-1, Hydrogen fuel - Product specification - Part 1: All applications except proton exchange membrane (PEM) fuel cell for road vehicles
|
|
[5]
|
ISO 14687-2, Hydrogen fuel - Product specification - Part 2: Proton exchange membrane (PEM) fuel cell applications for road vehicles
|
|
[6]
|
ISO 15403-1, Natural gas - Natural gas for use as a compressed fuel for vehicles - Part 1: Designation of the quality
|
|
[7]
|
ISO/TR 15403-2, Natural gas - Natural gas for use as a compressed fuel for vehicles - Part 2: Specification of the quality
|
|
[8]
|
ISO/TS 15869, Gaseous hydrogen and hydrogen blends - Land vehicle fuel tanks
|
|
[9]
|
ISO/TR 15916, Basic considerations for the safety of hydrogen systems
|
|
[10]
|
SAE J517, Hydraulic hose
|
|
[11]
|
JIS B 8362, Textile reinforced thermoplastic hose assemblies for hydraulic use
|