ГОСТ Р 71105.2-2024 КОНСТРУКЦИИ ДЛЯ УДАЛЕНИЯ ДЫМОВЫХ ГАЗОВ. СИСТЕМЫ ДЫМОХОДНЫЕ С ВНУТРЕННИМИ КЕРАМИЧЕСКИМИ ТРУБАМИ. Часть 2. ТРЕБОВАНИЯ И МЕТОДЫ ИСПЫТАНИЙ ДЛЯ ВЛАЖНОГО РЕЖИМА ЭКСПЛУАТАЦИИ
Утв. и введен в действие Приказом Федерального агентства по техническому регулированию и метрологии от 17 июня 2024 г. N 809-ст
Национальный стандарт РФ ГОСТ Р 71105.2-2024
"КОНСТРУКЦИИ ДЛЯ УДАЛЕНИЯ ДЫМОВЫХ ГАЗОВ. СИСТЕМЫ ДЫМОХОДНЫЕ С ВНУТРЕННИМИ КЕРАМИЧЕСКИМИ ТРУБАМИ. Часть 2. ТРЕБОВАНИЯ И МЕТОДЫ ИСПЫТАНИЙ ДЛЯ ВЛАЖНОГО РЕЖИМА ЭКСПЛУАТАЦИИ"
Chimneys. System chimneys with ceramic flue liners. Part 2. Requirements and test methods under wet conditions
ОКС 91.060.40
Дата введения - 1 июля 2024 года
Введен впервые
Предисловие
1 ПОДГОТОВЛЕН Федеральным государственным бюджетным учреждением "Российский институт стандартизации" (ФГБУ "Институт стандартизации") и Некоммерческим партнерством "Альянс. Печных дел мастера" (НП "Альянс. Печных дел мастера") на основе собственного перевода на русский язык немецкоязычной версии стандарта, указанного в пункте 4
2 ВНЕСЕН Техническим комитетом по стандартизации ТК 061 "Вентиляция и кондиционирование"
3 УТВЕРЖДЕН И ВВЕДЕН В ДЕЙСТВИЕ Приказом Федерального агентства по техническому регулированию и метрологии от 17 июня 2024 г. N 809-ст
4 Настоящий стандарт является модифицированным по отношению к стандарту ДИН ЕН 13063-2:2007 "Конструкции для удаления дымовых газов. Дымоходные системы с керамическими внутренними трубами. Часть 2. Требования и методы испытания для влажного режима эксплуатации" (DIN EN 13063-2:2007 "Abgasanlagen - System-Abgasanlagen mit Keramik-Innenrohren - Teil 2: Anforderungen und Prüfungen für feuchte Betriebsweise", MOD) с изменениями A1:2007 путем изменения отдельных фраз (слов, значений показателей, ссылок), которые выделены в тексте курсивом.
Внесение указанных технических отклонений направлено на учет особенностей национальной стандартизации.
Сведения о соответствии ссылочных национальных и межгосударственных стандартов международным и европейским стандартам, использованным в качестве ссылочных в примененном стандарте, приведены в дополнительном приложении ДА
5 ВВЕДЕН ВПЕРВЫЕ
Правила применения настоящего стандарта установлены в статье 26 Федерального закона от 29 июня 2015 г. N 162-ФЗ "О стандартизации в Российской Федерации". Информация об изменениях к настоящему стандарту публикуется в ежегодном (по состоянию на 1 января текущего года) информационном указателе "Национальные стандарты", а официальный текст изменений и поправок - в ежемесячном информационном указателе "Национальные стандарты". В случае пересмотра (замены) или отмены настоящего стандарта соответствующее уведомление будет опубликовано в ближайшем выпуске ежемесячного информационного указателя "Национальные стандарты". Соответствующая информация, уведомление и тексты размещаются также в информационной системе общего пользования - на официальном сайте Федерального агентства по техническому регулированию и метрологии в сети Интернет (www.rst.gov.ru)
Введение
Настоящий стандарт подготовлен в качестве гармонизированного с европейскими региональными нормами и устанавливает основные требования и методы испытаний дымоходных систем с внутренними керамическими трубами для влажного режима эксплуатации.
Серия стандартов ГОСТ Р 71105 "Конструкции для удаления дымовых газов. Системы дымоходные с керамическими внутренними трубами" состоит из:
- Часть 1. Требования и методы испытаний на устойчивость к возгоранию сажи.
- Часть 2. Требования и методы испытаний для влажного режима эксплуатации.
- Часть 3. Требования и методы испытаний дымоходных систем воздух-газ (LAS).
Испытание дымоходных систем на требования пожарной безопасности и огнестойкость проводят по ГОСТ Р 53321 и ГОСТ Р 53299.
1 Область применения
Настоящий стандарт устанавливает требования и методы испытаний многослойных дымоходных систем, применяемых для влажного режима эксплуатации (далее именуемые "Конструкции для удаления дымовых газов с влажным режимом эксплуатации"), с классами по давлению N 1, N 2 или P1 по ГОСТ Р 59412, классами по температуре не более T 600 по ГОСТ Р 71105.1. Продукты сгорания в таких системах отводятся наружу в атмосферу по керамическим внутренним трубам. Настоящий стандарт содержит указания по маркировке и осмотру.
Стандарт содержит требования к маркировке, инструкциям производителя, информации о продукте и процедуре подтверждения соответствия.
Настоящий стандарт не распространяются на отдельно стоящие или самонесущие дымоходные системы.
Дымоходная система состоит из следующих компонентов, соответствующих цели использования:
- керамические внутренние трубы;
- теплоизоляционный слой;
- внешние оболочки;
- кислотостойкая смесь для швов между внутренними трубами или эластомерные уплотнительные материалы;
- смесь для швов между внешними оболочками;
- оголовок;
- секция основания;
- конденсатосборник;
- конденсатоотводчик;
- облицовка;
- секция для осмотра и очистки;
- отверстия для осмотра и очистки;
- распорные элементы;
- крепление.
Дымоходная система для влажного режима эксплуатации собирается из подходящих друг к другу компонентов, которые произведены на одном производстве или одобрены им. При этом производитель несет ответственность за все изделие в виде дымоходной системы.
Примечание - Настоящий стандарт не распространяется на конструкции удаления дымовых газов, устойчивые к возгоранию сажи.
2 Нормативные ссылки
В настоящем стандарте использованы нормативные ссылки на следующие стандарты:
ГОСТ 32314-2012 (EN 13162:2008) Изделия из минеральной ваты теплоизоляционные промышленного производства, применяемые в строительстве
ГОСТ Р 53299 Воздуховоды. Методы испытаний на огнестойкость
ГОСТ Р 53321-2009 Аппараты теплогенерирующие, работающие на различных видах топлива. Требования пожарной безопасности. Методы испытаний
ГОСТ Р 57337-2016/EN 998-2:2010 Растворы строительные кладочные. Технические условия
ГОСТ Р 59412 Конструкции для удаления дымовых газов. Общие требования
ГОСТ Р 59978.1 Конструкции для удаления дымовых газов. Теплотехнический и аэродинамический расчет. Часть 1. Конструкции для удаления дымовых газов от одного источника тепла
ГОСТ Р 70874.1-2023 Конструкции для удаления дымовых газов. Внутренние трубы из керамики. Часть 1. Внутренние трубы для сухого режима эксплуатации. Требования и методы испытания
ГОСТ Р 70874.2-2023 Конструкции для удаления дымовых газов. Внутренние трубы из керамики. Часть 2. Внутренние трубы для влажного режима эксплуатации. Требования и методы испытания
ГОСТ Р 71105.1-2024 Конструкции для удаления дымовых газов. Дымоходные системы с внутренними трубами из керамики. Часть 1. Требования и методы испытания на устойчивость к возгоранию сажи
ГОСТ Р 71106-2024 Конструкции для удаления дымовых газов. Общие методы испытаний дымоходных систем
ГОСТ Р ИСО 2859-1 Статистические методы. Процедуры выборочного контроля по альтернативному признаку. Часть 1. Планы выборочного контроля последовательных партий на основе приемлемого уровня качества
ГОСТ Р ИСО 9001 Системы менеджмента качества. Требования
Примечание - При пользовании настоящим стандартом целесообразно проверить действие ссылочных стандартов в информационной системе общего пользования - на официальном сайте Федерального агентства по техническому регулированию и метрологии в сети Интернет или по ежегодному информационному указателю "Национальные стандарты", который опубликован по состоянию на 1 января текущего года, и по выпускам ежемесячного информационного указателя "Национальные стандарты" за текущий год. Если заменен ссылочный стандарт, на который дана недатированная ссылка, то рекомендуется использовать действующую версию этого стандарта с учетом всех внесенных в данную версию изменений. Если заменен ссылочный стандарт, на который дана датированная ссылка, то рекомендуется использовать версию этого стандарта с указанным выше годом утверждения (принятия). Если после утверждения настоящего стандарта в ссылочный стандарт, на который дана датированная ссылка, внесено изменение, затрагивающее положение, на которое дана ссылка, то это положение рекомендуется применять без учета данного изменения. Если ссылочный стандарт отменен без замены, то положение, в котором дана ссылка на него, рекомендуется применять в части, не затрагивающей эту ссылку.
3 Термины и определения
В настоящем стандарте применены термины по ГОСТ Р 59412, ГОСТ Р 71106, ГОСТ Р 71105.1, а также следующие термины с соответствующими определениями:
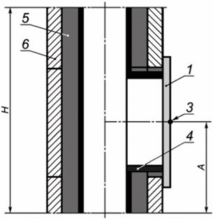
3.1 дымоходная система с влажным режимом эксплуатации (Systemabgasanlage mit feuchter Betriebsweise): Многослойная конструкция, которая в основном состоит из внешней оболочки, изоляционного слоя и внутренней керамической трубы, которая может использоваться для влажного режима эксплуатации (см. рисунок 1).

1 - внутренняя труба; 2 - изоляционный слой (изоляция или воздушный зазор); 3 - внешняя оболочка; 4 – воздушный зазор для внутреннего проветривания M1; 5 – отверстия для крепежных стержней; 6 - невентилируемый воздушный зазор
Рисунок 1 - Примеры конструктивных решений конструкций для удаления дымовых газов с влажным режимом эксплуатации
3.2 влажный режим эксплуатации (feuchte Betriebsweise): Эксплуатация конструкции для удаления дымовых газов при рабочих условиях, при которых температура внутренней поверхности внутренней трубы равна или ниже температуры точки росы водяного пара.
3.3 бак для сбора конденсата (Kondensatsammelbehälter): Емкость в основании внутренней трубы, предназначенная для сбора конденсата и имеющая отверстие для отвода конденсата.
3.4 отвод конденсата; конденсатоотводчик (Kondensatauslass): Слив, который позволяет сливать конденсат из бака для сбора конденсата.
3.5 материалы для заполнения швов между внутренними трубами (Fugenwerkstoffe für das Innenrohr)
3.5.1 готовые уплотнители из эластомеров (vorgefertigte Elastomerdichtungen): Готовый элемент из эластомерного материала, который обеспечивает газонепроницаемость шва.
3.5.2 уплотнительный материал из эластомеров, который наносится при строительстве (bauseits eingebrachter Elastomerdichtwerkstoff): Уплотнительный материал, который наносится при строительстве для обеспечения газонепроницаемости.
3.5.3 кислотостойкая смесь (säurebeständiger Mörtel): Соединительный материал, состоящий из кислотостойкой смеси.
4 Формы, размеры и допуски
4.1 Внутренние трубы
4.1.1 Общие данные
Внутренние трубы должны отвечать требованиям к размерам и допускам для размеров, установленным в ГОСТ Р 70874.1-2023 (подразделы 7.1, 7.2, 7.3, 7.4, 7.5, 7.6 и 7.7).
4.1.2 Внешний диаметр внутренней трубы
При испытании по A.2.6 недопустимо отклонение внешних размеров круглой внутренней трубы ни в одном месте более чем на ± 3% от заявленного производителем номинального значения внешнего диаметра.
4.2 Изоляция
Допуски размеров слоя изоляции должны соответствовать требованиям ГОСТ 32314-2012 [пункты 4.2.2 (длина и ширина) и 4.2.3 (класс толщины Т3)].
4.3 Элементы внешних оболочек
Формы и допуски размеров элементов внешних оболочек должны удовлетворять следующим требованиям:
- элементы внешних оболочек из бетона (см. [1], раздел 7);
- элементы внешних оболочек из керамики (см. [2], раздел 6);
- элементы внешних оболочек из нержавеющей стали (см. ГОСТ Р 71105.1-2024, приложение B).
4.4 Дверцы отверстий для осмотра и очистки
Размеры и допуски должны быть заданы производителем.
5 Требования к материалам
5.1 Общие требования к компонентам
5.1.1 Внутренние трубы
Внутренние трубы должны соответствовать требованиям ГОСТ Р 70874.1-2024 (подраздел 8.1, 9.1, 9.2, разделы 10, 11, 12 и 13). Если требование ГОСТ Р 70874.1-2024 (подраздел 13.1) не выполняется, то внутреннюю трубу можно использовать для влажного режима эксплуатации только в случае, если при проведении испытаний дымоходной системы для влажного режима эксплуатации по ГОСТ Р 71105.1-2024 (подраздел 5.6) на соответствие требованиям 5.3.2.1 был получен положительный результат.
5.1.2 Предельная нагрузка для элементов с отверстиями
Строительные компоненты при испытаниях по A.2.3 должны противостоять нагрузке F, превышающей заявленную производителем расчетную нагрузку H·G, не менее чем в пять раз.
, (1)
где F - предельная нагрузка, кН;
x - фактор безопасности, равный 5;
H - высота дымохода, м;
G - масса на метр, кг/м.
Примечание - Прочность на сжатие элементов с отверстиями является определяющей для максимальной высоты дымоходной системы.
5.1.3 Материалы для швов внутренних труб
5.1.3.1 Кислотостойкая смесь
5.1.3.1.1 Плотность
При испытании по A.2.2.2 плотность материалов для швов может отличаться не более чем на ± 10% от значения, заявленного производителем.
5.1.3.1.2 Предел прочности при сжатии
Испытание прочности на сжатие следует проводить по A.2.2.3 после фазы предварительной стабилизации с погружением образца в воду на 24 ч.
Прочность на сжатие должна быть не менее 10 Н/мм2.
5.1.3.1.3 Стойкость к проникновению влаги
Кислотостойкую смесь для швов строительных компонентов в дымоходных системах, заявленных для влажного режима эксплуатации, следует испытывать по A.2.2.4, при этом потеря массы образца для испытаний не должна превышать 3%.
5.1.3.1.4 Стойкость к кислотам
При испытаниях по A.2.2.5 потеря массы ни у одного образца для испытаний не должна превышать 2%.
5.1.3.2 Готовые уплотнители из эластомеров
Требования к уплотнителям из эластомеров приведены в [3].
5.1.4 Изоляция
5.1.4.1 Общие положения
Изоляция должна соответствовать спецификациям производителя, она должна быть готовой к использованию, иметь форму, устойчивую к долговременному воздействию нагрева, и сохранять эту форму после окончания нагрева (например, блоки или соединяемые элементы, изготовленные из рыхлого материала).
5.1.4.2 Стойкость в условиях эксплуатации
При испытании по A.2.1 и испытательной температуре, соответствующей классу температуры (см. таблицу 1), отклонение температуры внешней поверхности образца для испытаний после 4-го цикла нагрева не должно превышать 10% от максимальной температуры внешней поверхности образца в начале испытаний.
Таблица 1 - Испытательные температуры
|
Класс температур |
T 80 |
T 100 |
T 120 |
T 140 |
T 160 |
T 200 |
T 250 |
T 300 |
T 400 |
T 450 |
T 600 |
|
Испытательная температура, °C |
100 |
120 |
150 |
170 |
190 |
250 |
300 |
350 |
500 |
550 |
700 |
5.1.5 Элементы внешних оболочек
Требования к элементам внешних оболочек из бетона приведены в [1], внешних оболочек из керамики - в [2], внешних оболочек из нержавеющей стали - в ГОСТ Р 71105.1-2024 (приложение B).
5.1.6 Материалы для заполнения швов при соединении элементов внешних оболочек
Если производитель дымоходной системы вместе с дымоходной системой поставляет материалы для заполнения швов между элементами внешних оболочек из бетона (см. [1]) или элементами внешних оболочек из керамики (см. [2]), то должно быть обеспечено соответствие этих материалов спецификациям производителя материалов для швов. Соответствие должно быть, как минимум, классу M 2,5 в соответствии с ГОСТ Р 57337-2016, пункт 5.3.1, таблица 1.
5.1.7 Ветровая нагрузка
Свободно стоящая часть дымоходной системы над последним горизонтальным креплением должна воспринимать ветровую нагрузку в 1,5 кН/м2. Максимально допустимую высоту дымоходной системы, находящейся вне здания, следует рассчитывать по национальным нормам, при этом следует учитывать опрокидывающий момент внешней оболочки. Альтернативно можно принимать во внимание опрокидывающий момент конструкции в целом. Испытание для определения опрокидывающего момента приведено в A.2.4.
5.2 Безопасность эксплуатации
5.2.1 Сопротивление термическому воздействию
Конструкция для удаления дымовых газов для влажного режима эксплуатации должна быть подвергнута испытанию на термическое воздействие по ГОСТ Р 71106-2024 (подраздел 5.7) для требуемого по условиям ее эксплуатации класса температур в соответствии с таблицей 1.
5.2.2 Расстояние до горючих строительных материалов
5.2.2.1 Общие положения
Расстояние до горючих строительных материалов должно быть определено испытанием по ГОСТ Р 71106-2024 (подраздел 5.7) в соответствии с условиями эксплуатации, причем должно быть выбрано испытание с размещением образца для испытаний на угловом стенде. Расстояние от внешней оболочки конструкции для удаления дымовых газов до горючих строительных материалов должно быть указано как O(xx), где (xx) - минимальное расстояние в мм.
5.2.2.2 Условия эксплуатации
Испытание конструкции для удаления дымовых газов с влажным режимом эксплуатации проводят после испытания на термическую нагрузку по ГОСТ Р 71106-2024 (подраздел 5.7) для соответствующего класса температур, указанного в таблице 1. Примыкающие строительные материалы не должны нагреваться за счет теплового излучения от испытуемой конструкции для удаления дымовых газов выше 85 °C при температуре окружающего воздуха 20 °C.
Примечания
1 Это требование также считается выполненным, если расстояние от внешней оболочки конструкции для удаления дымовых газов до горючих строительных материалов составляет всего 50 мм, но помещение проветривается и при испытаниях в отдельно стоящей открытой испытательной кабине при температурах испытаний 500 °C (T400) или 700 °C (T600) было доказано, что температура внешней стенки при температуре окружающего воздуха 20 °C не превышала 100 °C.
2 Если конструкция для удаления дымовых газов, предназначенная для влажного режима эксплуатации, уже была испытана по ГОСТ Р 71105.1-2024 (пункт 5.2.1.1), допустимо принять эти результаты.
5.2.3 Перемещение внутренней трубы по отношению к внешней оболочке
После термического испытания на соответствие условиям эксплуатации по ГОСТ Р 71106-2024 (подраздел 5.7) и последующего охлаждения до температуры помещения допустимое отклонение положения самой верхней внутренней трубы может составлять ± 5 мм от исходного положения, которое проверяется по ГОСТ Р 71106-2024 (подраздел 5.3).
5.2.4 Термическое сопротивление
Значение термического сопротивления дымоходной системы, указанное производителем, должно быть проверено испытанием в соответствии с ГОСТ Р 71106-2024 (подраздел 5.4) как контрольное испытание или расчетом в соответствии с приложением B, причем для обоих случаев в основу следует взять температуру поверхности на внутренней стороне внутренней керамической трубы, равную 200 °C.
Термическое сопротивление указывается как Ryy, где yy - значение в квадратных метрах на Кельвин/ватт, умноженное на 100 и округленное до ближайшего верхнего или нижнего значения, например, R22 соответствует R = 0,22 м2·К/Вт.
Требования к пределам огнестойкости приведены в Федеральном законе [4], см. также ГОСТ Р 53299.
5.2.5 Огнестойкость при внешнем тепловом воздействии в процессе пожара
Классификацию строительных конструкций по огнестойкости в зависимости от их способности сопротивляться внешнему тепловому воздействию в процессе пожара и распространению его опасных факторов оценивают и указывают в соответствии с действующим Федеральным законом [5], статья 35.
Испытание на огнестойкость - по ГОСТ Р 53299.
Примеры обозначения пределов огнестойкости приведены в таблице 2.
Таблица 2 - Примеры обозначения пределов огнестойкости
|
Обозначение предела огнестойкости |
Продолжительность, мин |
|
EI 15 |
15 ≤ EI 15 <30 |
|
EI 30 |
30 ≤ EI 30 <60 |
|
EI 45 |
45 ≤ EI 45 <60 |
|
EI 60 |
60 ≤ EI 60 <90 |
|
EI 90 |
90 ≤ EI 90 <120 |
|
EI 120 |
120 ≤ EI 120 <150 |
|
EI 150 |
150 ≤ EI 150 <180 |
5.3 Гигиена, здоровье и охрана окружающей среды
5.3.1 Газонепроницаемость
При испытаниях в соответствии с ГОСТ Р 71106-2024 (подраздел 5.4) утечка не должна превышать норм приведенных значений в таблице 3 ни до термических испытаний, ни после них.
Таблица 3 - Нормы утечки
|
Класс давления |
Испытательное давление, Па |
Утечки/площадь поверхности внутренней керамической трубы, м3·с-1·м-2 |
|
N1 |
40 |
2·10-3 |
|
N2 |
20 |
3·10-3 |
|
P1 |
200 |
0,006·10-3 |
5.3.2 Устойчивость
5.3.2.1 Стойкость к воздействию конденсата
Конструкции для удаления дымовых газов с влажным режимом эксплуатации должны состоять либо из керамических внутренних труб, имеющих маркировку W согласно ГОСТ Р 70874.2-2023 (раздел 13), либо из керамических внутренних труб с маркировкой D по ГОСТ Р 70874.2. При испытании конструкции для удаления дымовых газов по ГОСТ Р 71106-2024 (подраздел 5.6) должно выполняться следующее условие: ни в одном месте конструкции не должно происходить конденсации водяного пара.
Требования к готовым уплотнениям из эластомеров и эластомерным уплотнительным материалам, наносимым по месту при строительстве, приведены в [3] (класс стойкости к воздействию конденсата W для конструкций удаления дымовых газов, предназначенных для влажного режима эксплуатации, и соответствующего класса температур).
5.3.2.2 Коррозионная стойкость внутренней трубы и компенсационных средств
Потеря массы керамической внутренней трубы после испытания по ГОСТ Р 70874.2-2023 (подраздел 16.9) не должна превышать 2%. Готовые уплотнители из эластомеров и эластомерные уплотнительные материалы, наносимые по месту при строительстве, должны соответствовать (см. [3]) для коррозионных классов 1 или 2, а также соответствующих классов температур конструкций удаления дымовых газов с влажным режимом эксплуатации.
5.3.3 Сопротивление потоку внутренней трубы и элементов для подключения
Производитель должен указать:
1) сопротивление потоку, определенное по ГОСТ Р 71106-2024 (подраздел 5.11); или
2) коэффициент местного сопротивления трубы ζ и средний коэффициент трения r, рассчитанный по ГОСТ Р 71106-2024 (подраздел 5.11); или
3) значение коэффициента шероховатости внутренней керамической трубы r = 0,0015 м; коэффициент местного сопротивления ζ для фасонных элементов определяют по ГОСТ Р 59978.1.
5.4 Отверстие для осмотра и чистки
Температура на внешней стороне дверцы отверстия для осмотра и чистки при проведении термического испытания в соответствии с ГОСТ Р 71106-2024 (подраздел 5.7) не должна превышать 140 °C.
Примечание - Дверцы отверстий для чистки должны быть удалены от горючих строительных материалов минимум на 400 мм.
Утечки всей дымоходной системы с дверцами для осмотра и очистки, измеренные по ГОСТ Р 71106-2024 (подраздел 5.4), не должны превышать значений, указанных в таблице 3.
Дверцы для осмотра и очистки не должны препятствовать возможному перемещению внутренних керамических труб относительно внешней оболочки. Снаружи дверцы для осмотра и очистки не должна появляться влага.
5.5 Циклы замораживания-оттаивания внешней облицовки и принадлежностей
Требования к стойкости внутренних керамических труб и/или внешней оболочки дымоходных систем к циклам замораживания-оттаивания в особых (определенных) климатических условиях и при наличии национальных предписаний приведены в [4]. Проверяемые изделия не должны иметь повреждений 7, 8, 9 и 10, указанных в таблице 1 (см. [4]).
6 Замена компонентов дымоходной системы
6.1 Общие положения
Если производитель намерен заменить какой-либо из компонентов системы, то это возможно выполнить для отдельных компонентов, как это описано ниже. Если для отдельного компонента изменяется процесс производства или материал, это должно рассматриваться как замена.
6.2 Замена внутренней трубы
При необходимости замены внутренней трубы должно быть проведено сравнение следующих параметров с исходными показателями внутренней трубы, при этом отклонение значений не должно быть больше указанных в таблице 4.
Таблица 4 - Требования при замене внутренней керамической трубы
|
Характеристики внутренней трубы |
Требования в сравнении с исходной внутренней трубой |
Проверка сравнения в соответствии с разделами ГОСТ Р 70874.1-2024 |
|
Допуски по размерам |
Такие же или меньше |
Раздел 7 |
|
Плотность |
Такая же или плотнее |
Раздел 11 |
|
Температура |
Такая же или выше |
Подраздел 16.8 |
|
Прочность на сжатие |
Равно или больше |
Подраздел 8.1 |
|
Стойкость к кислотам (потеря массы) |
Равно или меньше |
Раздел 10 |
|
Стойкость к конденсату |
Равно или больше |
Подраздел 13.1 |
6.3 Замена секций с отверстиями
Новые секции с отверстиями следует проверять по A.2.3. Минимальные нагрузки должны быть равны или выше исходных значений.
6.4 Замена изоляции
При замене изоляции следующие характеристики необходимо сравнивать с исходными показателями изоляции, отклонение не должно превышать значений, указанных в таблице 5.
Таблица 5 - Требования при замене изоляции
|
Характеристики внутренней трубы |
Требования в сравнении с исходной внутренней трубой |
Проверка при сравнении |
|
Теплопроводность |
Такая же или меньше |
ГОСТ 32314-2012, п. 4.2.1 |
|
Толщина слоя |
Такая же |
ГОСТ 32314-2012, п. 4.2.3 |
|
Устойчивость |
Как минимум такая же |
A.2.1 |
6.5 Замена средств для соединения (раствора или уплотнений) внутренней трубы
При замене раствора или уплотнений для внутренней трубы следующие показатели необходимо сравнивать с предыдущими показателями внутренней трубы. Отклонение значений не должно превышать величины, указанные в таблице 6.
Таблица 6 - Требования к замене кислотостойкого раствора или уплотнителя из эластомеров для керамической внутренней трубы
|
Характеристики внутренней трубы |
Требования в сравнении с исходной внутренней трубой |
Проверка при сравнении |
|
Прочность при сжатии |
Равно или больше |
A.2.2.3 |
|
Стойкость раствора против водопоглощения (потеря массы) |
Равно или меньше |
A.2.2.4 |
|
Стойкость к кислотам (потеря массы) |
Равно или меньше |
A.2.2.5 |
|
Готовые уплотнения из эластомеров |
Равно или больше |
(см. [3]) |
|
Уплотнительные материалы из эластомеров, наносимые по месту при строительстве |
Равно или больше |
(см. [3]) |
При необходимости замены кислотостойкого раствора или уплотнителя из эластомеров для внутренней трубы следует сравнить параметры с первоначальными параметрами кислотостойкого раствора или уплотнителя из эластомеров для внутренней трубы, отклонение значений не должно быть больше приведенных в таблице 6.
6.6 Замена внешней оболочки
Если меняется внешняя оболочка из бетона, то требования к ней см. в [1]. Внутренняя труба должна иметь маркировку W. В остальном действует системное испытание дымоходной системы согласно ГОСТ Р 71106-2024 (подраздел 5.6).
6.7 Замена элементов с отверстиями для осмотра и очистки
Если элемент с отверстием для осмотра и очистки проверяется независимо от первоначального типового испытания дымоходной системы (например, при замене этого компонента или при использовании в нескольких дымоходных системах), он должен быть испытан в соответствии с A.2.5.
Температура поверхности до и после термических испытаний не должна превышать 140 °C. Газопроницаемость до и после термических испытаний должна соответствовать значениям утечек по таблице 3. Элементы с отверстиями для осмотра и очистки не должны препятствовать возможности удлинения внутренней трубы. При проведении испытания на внешней поверхности элементов с отверстием для осмотра и очистки не должен появляться конденсат.
7 Условное обозначение
При условном обозначении дымоходных систем с керамическими внутренними трубами для влажного режима эксплуатации должна использоваться следующая маркировка:
- наименование;
- номер стандарта;
- класс температуры (см. таблицу 1);
- класс стойкости к воздействию конденсата (см. 5.3.2.1);
- класс коррозионной стойкости (см. 5.3.2.2);
- класс стойкости к возгоранию сажи с последующим указанием расстояния до горючих строительных материалов (см. 5.2.2);
- класс давления (см. 5.3.1).
Пример обозначения дымоходной системы
Дымоходная система
с внутренними
керамическими
трубами ГОСТ Р 71105.2-2024 T 400 N1 W 3 O50
────────┬──────── │ │ │ │ │ │
│ │ │ │ │ │ │
│ │ │ │ │ │ │
Наименование ─────┘ │ │ │ │ │ │
│ │ │ │ │ │
Номер стандарта ─────────────────────┘ │ │ │ │ │
│ │ │ │ │
Класс по температуре ──────────────────────────────┘ │ │ │ │
│ │ │ │
Класс по давлению ────────────────────────────────────────┘ │ │ │
│ │ │
Класс устойчивости к воздействию конденсата ───────────────────┘ │ │
│ │
Класс коррозионной стойкости ─────────────────────────────────────┘ │
│
Класс устойчивости к возгоранию сажи │
с указанием расстояния │
до горючих строительных материалов ─────────────────────────────────────┘
8 Техническая документация
Техническая документация на дымоходную систему должна содержать информацию по ГОСТ Р 53321-2009, пункт 5.2.
Кроме указанной информации техническая документация должна содержать информацию о продукции:
- идентификацию производителя;
- маркировку продукции с декларацией производителя;
- типовые монтажные чертежи системы;
- методы сборки компонентов;
- методы установки секций, соединительных элементов и принадлежностей;
- минимально допустимое расстояние до горючих строительных материалов;
- ограничение высоты и длину конструкции для удаления дымовых газов, расположенной над крышей;
- расположение отверстий для осмотра и очистки;
- огнестойкость при внешнем тепловом воздействии в процессе пожара;
- значения для расчета поперечного сечения по ГОСТ Р 59978.1;
- номинальную рабочую температуру конструкции для удаления дымовых газов;
- газопроницаемость конструкции для удаления дымовых газов;
- внутренние размеры внутренней трубы (диаметр или длина и ширина);
- внешние размеры конструкции для удаления дымовых газов (длина и ширина или диаметр);
- термическое сопротивление конструкции для удаления дымовых газов;
- коэффициент шероховатости внутренней трубы;
- коэффициенты местных сопротивлений вследствие поворотов потока в трубе дымовых газов.
9 Маркировка и этикетка
Производителю необходимо изготовить этикетку для конструкции для удаления дымовых газов из долговечного материала, на которой должна читаться следующая информация:
a) название или торговое наименование производителя, выгравированный или неудаляемый логотип;
b) номинальные размеры;
c) дата производства или номер партии;
d) первый установщик;
e) дата установки.
Примечание - Описание этикетки для маркировки с нанесением знака добровольной сертификации (см. ZA.2.2 приложения ZA).
10 Подтверждение соответствия
10.1 Общие положения
Соответствие дымоходных систем с влажным режимом эксплуатации требованиям настоящего стандарта и установленным параметрам (включая классы) должно быть подтверждено следующим образом:
- первичным типовым испытанием;
- заводским контролем качества продукции, выполняемым производителем, включая проверку и оценку изделий.
В целях испытаний конструкции для удаления дымовых газов с влажным режимом эксплуатации могут быть разделены на группы с одинаковыми свойствами при условии, что соответствующие свойства одинаковы для всех дымоходных систем с влажным режимом эксплуатации.
10.2 Компоненты
Дымоходные системы с влажным режимом эксплуатации должны быть собраны из компонентов, которые уже прошли проверку на соответствие стандартам на продукцию:
- керамические внутренние трубы по ГОСТ Р 70874.1;
- тепловая изоляция по ГОСТ 32314;
- элементы внешних оболочек из керамики (см. [2]);
- внешние оболочки из бетона (см. [1]);
- внешние оболочки из нержавеющей стали (см. ГОСТ Р 71105.1-2024, приложение B).
10.3 Первичные типовые испытания
Типовые испытания на требуемые характеристики, указанные в таблице 7, должны быть проведены при первичном типовом испытании вместе с заводской проверкой.
Последовательность испытаний по A.1 должна быть основана на выполнении испытаний для одного размера вкладыша для каждой геометрической конфигурации, например круглый, квадратный, прямоугольный. В случае круглых внутренних труб испытуемый размер должен иметь внутренний диаметр (200 ± 50) мм. При других геометрических формах внутренняя труба должна иметь соответствующее поперечное сечение.
Все остальные испытания по таблице 7, не входящие в программу испытаний по A.1, проводят отдельно.
10.4 Замена компонентов
Любой новый строительный компонент дымоходной системы должен соответствовать требованиям, изложенным в таблице 7.
Таблица 7 - Заводской контроль качества продукции и типовые испытания
|
Элемент системы |
Соответствующие разделы требований стандартов | |||
|
Заводские испытания 10.5 |
Первичные типовые испытания 10.3 |
Замена компонентов 10.4 | ||
|
Конструкция для удаления дымовых газов для влажного режима эксплуатации |
ветровая нагрузка |
- |
5.1.7 | |
|
термическое испытание |
5.2.1 | |||
|
термическое сопротивление |
5.2.4 | |||
|
газонепроницаемость |
5.3.1 | |||
|
значения местных сопротивлений для внутренних труб и фасонных элементов |
5.3.3 | |||
|
стойкость к замораживанию/оттаиванию |
5.5 |
5.5 | ||
|
Внутренние трубы |
4.1 |
5.1.1 |
6.2 | |
|
Изоляция |
4.2 |
5.1.4 |
6.4 | |
|
Элементы с отверстиями |
- |
5.1.2 |
6.3 | |
|
Соединительные средства (растворы) |
5.1.3.1.1 |
5.1.6 |
6.5 | |
|
Внешние оболочки: керамика |
- |
5.1.5 |
6.6 | |
|
Внешние оболочки: бетон |
5.1.5 |
6.6 | ||
|
Внешние оболочки: металл |
ГОСТ Р 71105.1-2024, B.2 |
ГОСТ Р 71105.1-2024, B.3 |
Невозможно | |
|
Отверстия для осмотра и очистки |
4.4 |
5.4 |
6.7 | |
10.5 Заводской контроль качества продукции (FPC)
Для того чтобы соответствовать требованиям настоящего стандарта, производитель должен наладить и поддерживать мощную и документированную систему управления качеством.
Производитель самостоятельно проводит заводской контроль производства. Качество продукции регистрируют, как указано в таблице 7.
Отбор проб и испытания по каждой партии продукции должны быть проведены в соответствии с ГОСТ Р ИСО 2859-1 при 10%-ном приемлемом уровне качества (AQL) и степени инспекции S2. Отдельные партии изделий должны быть подтверждены по стабильной процедуре осмотра, причем максимальный объем партии может составлять 1200 единиц (см. приложение C).
Партии, которые были отклонены заводским контролем качества продукции, могут быть испытаны повторно после удаления изделий с первоначально не выявленными визуальными дефектами. Строгой процедуре проверки во второй раз подвергаются только изделия с дефектами, которые вызвали первую отбраковку.
Примечание - Система FPC, которая в своих основных частях соответствует ГОСТ Р ИСО 9001 и отвечает требованиям, перечисленным выше, а также требованиям настоящего стандарта, считается подходящей.
Приложение A
(обязательное)
Испытания
A.1 Последовательность испытаний для конструкции для удаления дымовых газов с влажным режимом эксплуатации
Испытания для конструкций для удаления дымовых газов с влажным режимом эксплуатации следует проводить по ГОСТ Р 71106, в следующем порядке:
a) газопроницаемость;
b) термическое испытание в эксплуатационных условиях;
c) газопроницаемость;
d) относительное удлинение;
e) стойкость к воздействию конденсата;
f) стойкость к истиранию;
g) сопротивление потоку;
h) термическое сопротивление.
A.2 Дополнительные испытания
A.2.1 Испытание термической стойкости теплоизоляции (продолжительность)
Образец изоляции для испытаний укладывается в испытательную раму 0,4 x 0,4 м, чтобы во время испытаний он был неподвижен. Испытательная рама соответствующим образом устанавливается в отверстии нагревательной печи, которую можно разогреть, и крепится таким образом, чтобы температура на внутренней поверхности образца для испытаний могла повторить кривую, представленную на рисунке A.1.

X - время, мин; Y - температура, °C
Рисунок A.1 - Кривая нагрева
Датчики температуры следует установить в середине внутренней и внешней стороны образца для испытаний. Обе температуры необходимо измерить и зафиксировать.
При достижении требуемой максимальной температуры печь следует охладить в течение часа. Нагрев и охлаждение образца для испытаний следует повторить четыре раза.
A.2.2 Испытание кислотостойкой смеси
A.2.2.1 Подготовка образца для испытаний
Образцы для испытаний цилиндрической формы должны быть изготовлены и предварительно выдержаны при температуре окружающей среды и относительной влажности воздуха 65% в течение семи дней или по данным производителя. Они должны иметь диаметр не менее 26 мм, высота должна составлять 1 - 1,5 диаметра. Образцы должны иметь ровную поверхность верхней и нижней граней для обеспечения плотного прилегания к пластинам аппарата для испытаний.
A.2.2.2 Плотность
В соответствии с ГОСТ Р 70874.1-2024 (пункты 16.11.2, 16.11.3 и 16.11.4).
A.2.2.3 Испытание прочности на сжатие
Образцы для испытания после выдержки в течение семи дней или другого периода, заданного производителем, на 24 ч помещают в ванну с водой.
A.2.2.3.1 Аппаратура для испытаний
В соответствии с ГОСТ Р 70874.1-2024 (пункт 16.7.2), но без древесно-стружечных плит (ДСП).
A.2.2.3.2 Проведение испытания
В соответствии с ГОСТ Р 70874.1-2024 (пункт 16.7.3).
A.2.2.3.3 Нагрузка
Нагрузку необходимо увеличивать медленно и постепенно со скоростью нагружения 5,0 Н·м-2·мин-1 вплоть до разрушения, т.е. до момента, когда индикаторная стрелка аппарата, несмотря на приложение возрастающей нагрузки, движется в обратном направлении, или если образец для испытаний внезапно разрушается.
Записывают максимальную нагрузку, Н, которую выдержал образец для испытаний.
Максимальная нагрузка, которую образец выдержал в ходе испытаний, и площадь опоры образца дают предел прочности на сжатие в Н/мм2. Площадь опоры определяют как среднее значение обеих противоположных площадей опоры.
A.2.2.3.4 Расчет предела прочности при сжатии
Прочность на сжатие кислотостойкой смеси рассчитывается как среднее значение прочности на сжатие минимум трех образцов для испытаний.
A.2.2.4 Стойкость против проникновения воды
Образцы для испытания должны быть подготовлены, как указано в A.2.2.1.
Образцы для испытаний должны быть промыты водой, а затем высушены при температуре не ниже 110 °C при непрерывном взвешивании с интервалом в 24 ч до прекращения потери массы образца (до 0,01 г).
При нагрузке 200 г весы должны измерять вес с точностью до 0,01 г.
Образцы для испытаний при температуре окружающего воздуха должны быть помещены на (24 ± 0,5) ч в подходящую ванну с водой и покрыты слоем воды толщиной не менее 30 мм.
Образцы следует высушивать при температуре не менее 110 °C до тех пор, пока при непрерывном взвешивании с 24-часовыми интервалами не будет зафиксировано отсутствие потери массы. Потери растворимых веществ в образцах в процентах от сухой массы рассчитывают по формуле
, %, (A.1)
где M1 - масса образца для испытаний перед погружением, г;
M2 - масса образца для испытаний после погружения, г.
A.2.2.5 Испытание стойкости к воздействию кислот
Образцы для испытаний должны быть подготовлены в соответствии с A.2.2.1.
Образцы для испытаний должны быть промыты водой, а затем высушены при температуре не ниже 110 °C при непрерывном взвешивании с интервалом в 24 ч до прекращения потери массы образца (до 0,01 г).
При нагрузке 200 г весы должны измерять вес с точностью до 0,01 г.
Образцы для испытаний должны быть помещены в подходящий по размеру контейнер с кислотой и покрыты слоем кислоты не менее 30 мм. Образцы должны быть выдержаны в контейнере при температуре окружающего воздуха в течение (24 ± 0,5) ч.
Для испытаний используется раствор серной кислоты (H2SO4) с массовой долей, равной 70% (плотность при 20 °C = 1,610 кг/м3).
После извлечения образца для испытаний из раствора его промывают в кипящей дистиллированной воде до тех пор, пока вода не перестанет мутнеть при добавлении нескольких капель хлорида бария, или максимум через 50 ч (100 циклов).
Концентрация хлорида бария должна составлять 50 г на литр.
Образцы следует высушивать при температуре не менее 110 °C до тех пор, пока при непрерывном взвешивании с 24-часовыми интервалами не будет зафиксировано отсутствие потери массы. Потери растворимых веществ в образцах в процентах от сухой массы рассчитывают по формуле
, %, (A.2)
где M3 - масса образца для испытаний перед погружением, г;
M4 - масса образца для испытаний после погружения, г.
A.2.3 Предел прочности на сжатие элементов с отверстием
A.2.3.1 Образец для испытаний
Необходимо проверить не менее трех точек входа соединительных элементов для подключения потребителя (фасонных элемента) или трех внутренних труб с отверстиями для осмотра и очистки.
Образцы для испытаний круглого сечения должны иметь диаметр не менее (200 ± 50) мм. Внутренние трубы квадратного или прямоугольного сечения должны иметь такую же соответствующую площадь поперечного сечения.
A.2.3.2 Испытательное оборудование
В соответствии с ГОСТ Р 70874.1-2024 (пункт 16.7.2).
A.2.3.3 Проведение испытания
Необходимо гарантировать чистоту и отсутствие загрязнений на поверхностях контактных пластин испытательной аппаратуры и образца для испытаний.
Обе грани образца для испытаний вместе с контактными пластинами размещаются между пластинами, работающими на сжатие. Образец для испытаний устанавливают на испытательный аппарат таким образом, чтобы нагрузка была приложена точно по центру (оси симметрии) образца.
Нагрузку допускается прикладывать только медленно с максимальным продвижением 14 МН/м2 в минуту, пока не будет достигнута нагрузка, требуемая по 5.1.2.
A.2.4 Ветровая нагрузка
A.2.4.1 Общие положения
Это испытание служит для определения максимально возможной свободной высоты дымоходной системы вне здания. Этим испытанием определяется опрокидывающий момент верхней части дымоходной системы; максимально возможная высота дымоходной системы над крышей (свободно стоящая часть дымоходной системы вне здания) может быть рассчитана в соответствии с национальными правилами.
A.2.4.2 Подготовка образца для испытаний
Образец для испытаний - это элемент высотой не менее 1 м. Образец для испытаний состоит из элементов, указанных производителем (например, внутренняя труба, изоляция и внешняя оболочка). Элементы внешней оболочки и элементы внутренней трубы должны быть соединены растворами, указанными производителем.
Испытание проводят на трех образцах с различной геометрией (маленький, средний, крупный) в соответствии со спектром размеров дымоходной системы.
A.2.4.3 Проведение испытания
Сначала компоненты должны быть собраны на полу. Затем на верхнюю часть образца для испытаний устанавливают стальную раму, на нее - горизонтальный груз, причем вес груза необходимо увеличивать до тех пор, пока верхняя часть не опрокинется. Установленную при проведении испытания опрокидывающую нагрузку m, кН, следует зафиксировать (см. рис. A.2).

m - опрокидывающая нагрузка, кН
Рисунок A.2 - Испытание на ветровую нагрузку
A.2.5 Термическое испытание дверец отверстий для осмотра и очистки
A.2.5.1 Общие положения
Существуют два вида дверец отверстий для осмотра и очистки:
- дверца отверстия для осмотра и очистки в комбинации с фасонным элементом для подключения с внутренней дверцей;
- дверца отверстия для осмотра и очистки в комбинации с фасонным элементом для подключения без внутренней дверцы.
В любом случае следует испытать конструкцию целиком. Испытательная конструкция может быть несколько иной, но в принципе должна быть выполнена так, как указано на рисунках A.3 и A.4.

1 - дверца отверстия для осмотра и очистки; 2 – внутренняя дверца в области отверстия; 3 - место размещения датчика температуры при испытании; 4 - участок с отверстием; 5 - изоляция; 6 - внешняя оболочка; A – расстояние между точкой измерения на внешней поверхности дверцы и самой высокой точкой в соответствии с ГОСТ Р 70874.1; H - высота образца
Рисунок A.3 - Конструкция для испытаний дверец отверстий для осмотра и очистки

1 - дверца отверстия для осмотра и очистки; 3 - место размещения датчика температуры при испытании; 4 - участок с отверстием; 5 - изоляция; 6 – внешняя оболочка; A - расстояние между точкой измерения температуры на поверхности двери и самой высокой точкой в соответствии с ГОСТ Р 70874.1; H - высота образца для испытаний
Рисунок A.4 - Конструкция для испытаний участка с отверстием
При испытаниях дверец отверстий для осмотра и очистки конструкция испытательного стенда должна соответствовать ГОСТ Р 70874.1-2024 (пункт 16.8).
Испытательный образец высотой Н = (10+0,5) м устанавливают на испытательном стенде. Расстояние A между верхним концом и датчиком температуры на внешней стороне дверцы отверстия для осмотра и очистки составляет (0,5 ± 0,1) м.
Между участком с отверстием и выходом из испытательного стенда находится прямая внутренняя труба. Все соединения следует выполнить в соответствии с данными производителя. Образец для испытаний сушат в течение 24 ч при комнатной температуре (от 15 °C до 30 °C) или в соответствии с данными производителя.
Диаметр внутренней керамической трубы составляет (0,2 ± 0,05) м (квадратная или круглая).
A.2.5.2 Относительное смещение между отверстием для осмотра и очистки и внешней оболочкой
Образец для испытаний устанавливают на нижнюю пластину (нижняя пластина 1 - см. рисунок A.5), причем в центре пластины имеется отверстие с диаметром, большим, чем диаметр внутренней трубы образца для испытаний. Вторую пластину, которая входит в отверстие первой пластины, перемещают вверх, пока отверстие для осмотра и очистки не коснется внешней оболочки или другого компонента образца для испытаний. Длина пути D должна быть зафиксирована.

1 - пластина 1; 2 - пластина 2; D - длина пути
Рисунок A.5 - Стенд для испытания относительного смещения
A.2.5.3 Газопроницаемость и термическое испытание
A.2.5.3.1 Газопроницаемость перед термическим испытанием
Перед термическим испытанием следует измерить величину утечки образца для испытаний в соответствии с ГОСТ Р 70874.1-2024 (пункт 16.8.2).
A.2.5.3.2 Термические испытания
В соответствии с ГОСТ Р 70874.1-2024 (пункт 16.8.4), температура в точке отбора дымовых газов на испытательном стенде должна непрерывно повышаться от температуры помещения до испытательной температуры, указанной в таблице 1, с температурным градиентом 100 К/мин. Достигнутую температуру необходимо поддерживать в течение 30 мин. После этого выключить горелку и оставить конструкцию остывать до температуры помещения. Во время проведения испытания при помощи термопары измеряют и записывают температуру внешней поверхности в точке 3 на рисунке A.3.
A.2.5.3.3 Газопроницаемость после термического испытания
После термического испытания следует измерить величину утечки образца для испытаний в соответствии с ГОСТ Р 70874.1-2024 (пункт 16.8.5).
A.2.5.4 Стойкость к воздействию конденсата
Испытание стойкости к воздействию конденсата необходимо проводить по ГОСТ Р 71106-2024 (подраздел 5.5).
Образец для испытаний должен иметь размер Н = (10+0,5) м и соответствовать ГОСТ Р 71106-2024 (рис. 6).
A.2.6 Внешние размеры внутренней трубы
Внешние и внутренние размеры внутренней керамической трубы должны находиться в пределах допусков в соответствии с 4.1.2. Если проводят прямое измерение, следует измерять соответственно наибольший и наименьший указанный диаметр.
Испытание также можно проводить с использованием двух калибров с наименьшим и наибольшим набором наружных диаметров. Калибр большего размера должен иметь возможность свободно вращаться на 360° на концах внутренней трубы. Меньший калибр просто не должен входить во внутреннюю трубу при вращении на 360°.
Приложение B
(справочное)
Термическое сопротивление
Термическое сопротивление может быть определено по следующим формулам, если известны соответствующие данные материалов и толщина изоляционного слоя:
a) известно термическое сопротивление отдельных слоев трубы R, м2·К/Вт,
; (B.1)
b) известна теплопроводность отдельных слоев R, м2К/Вт,
, (B.2)
где R - термическое сопротивление одного слоя трубы, в пересчете на его внутреннюю поверхность, м2·К/Вт;
y - коэффициент формы, равный:
1,0 - для круглого или овального поперечного сечения;
1,10 - для квадратного или прямоугольного поперечного сечения вплоть до соотношения сторон 1:1,5;
Dh - внутренний гидравлический диаметр, м;
Dh,n - гидравлический диаметр внутренней стороны каждого слоя, м;
λn - сопротивление теплопроводности материала или слоя при рабочей температуре, Вт/(м·К).
Приложение C
(обязательное)
Отбор проб для приемлемого уровня качества AQL 10% и уровень надзора S-2
C.1 Определение приемлемости
Примечание - Могут быть отобраны единичные пробы или соответственно двойные пробы.
C.1.1 Единичные пробы
Если количество обнаруженных дефектов равно или меньше допустимого, партию можно считать приемлемой.
Если количество дефектов равно или больше допустимого, партию следует отклонить.
Если принята упрощенная процедура проверки и приемлемое количество было увеличено, но при этом количество отклоненных изделий не было достигнуто, партию следует принять и вновь установить обычный метод контроля. Если количество отклоненных изделий достигнуто или превышено, партию следует отклонить и повторить проверку по обычному методу контроля.
C.1.2 Двойной отбор проб
Количество образцов для проб должно соответствовать первому числу проб в плане. Если число дефектов в первой пробе равно или меньше первого приемлемого количества, партия должна быть принята. Если количество дефектов в первой пробе равно или превышает первое допустимое количество отклонений, партия должна быть отклонена. Если количество дефектов в первой пробе находится между количеством приемлемого качества в первой приемке и в первом отклонении, то должна быть проверена вторая проба по параметрам, указанным в плане.
Количество дефектов в первой и второй пробах необходимо суммировать. Если суммарное количество дефектов равно или меньше, чем второе приемлемое количество, партия должна быть принята. Если суммарное количество дефектов равно или больше, чем второе допустимое количество отклонений, то партия должна быть отклонена. Если этот случай происходит при упрощенной процедуре, то для следующей партии должна быть вновь выполнена процедура обычного контроля.
Если при упрощенной процедуре после второй пробы количество проб приемлемого качества было превышено, но количество отклонений не было достигнуто, партия должна быть принята, а для следующей партии должна быть вновь выполнена процедура обычного контроля.
C.2 Обычный контроль
Количество проб для каждой партии, а также показатели приемлемого качества и отклонений должны соответствовать таблице C.1. Пробы необходимо выбирать случайным образом. Компиляция отбора проб представлена на рис. C.1
Таблица C.1 - Обзор отбора образцов при обычном контроле
|
Размер партии |
Единичный отбор образцов |
Двойной отбор образцов | |||||||
|
Кол-во образцов |
Кол-во принятых образцов |
Кол-во отклонений |
Кол-во образцов первой пробы |
Кол-во принятых образцов |
Кол-во для отклонения |
Кол-во образцов второй пробы |
Кол-во принятых образцов |
Кол-во отклонений | |
|
От 5 до 1200 |
5 |
1 |
2 |
3 |
0 |
2 |
3 |
1 |
2 |
|
От 1201 до 20 000 |
8 |
2 |
3 |
5 |
0 |
3 |
5 |
3 |
4 |

Рисунок C.1 - Компиляция отбора проб (непрерывные партии)
C.3 Замена обычного контроля упрощенным контролем
Упрощенный контроль, как показано в таблице C.2, разрешается применять, если уже практикуется обычный контроль и выдержаны следующие условия:
a) при двух предыдущих партиях был использован обычный контроль;
b) общее число дефектных проб предыдущих 10 партий (или иное соответствующее число в соответствии с таблицей C.3) равно или меньше допустимого количества в соответствии с таблицей C.3.
Таблица C.2 - Обзор отбора образцов при упрощенном контроле
|
Размер партий |
Единичный отбор образцов |
Двойной отбор образцов | |||||||
|
Кол-во образцов |
Кол-во принятых образцов |
Кол-во для отклонения |
Кол-во образцов первой пробы |
Кол-во принятых образцов |
Кол-во для отклонения |
Кол-во образцов второй пробы |
Кол-во принятых образцов |
Кол-во для отклонения | |
|
От 2 до 1200 |
2 |
0 |
2 |
Не требуется | |||||
|
От 1201 до 20 000 |
3 |
1 |
3 |
2 |
0 |
3 |
2 |
0 |
4 |
Таблица C.3 - Допустимое количество дефектных образцов при замене с обычного контроля на упрощенный контроль
|
Количество образцов для испытаний последних 10 партий |
Допустимое количество дефектных образцов |
|
От 20 до 29 |
0 |
|
От 30 до 49 |
0 |
|
От 50 до 79 |
2 |
|
От 80 до 129 |
4 |
При двойном отборе образцов следует рассматривать все образцы, которые были проверены, а не только образцы из первой пробы.
C.4 Замена упрощенного контроля на обычный контроль
Упрощенный контроль должен быть заменен обычным контролем, если была отклонена одна партия или если партия принимается без применения критериев приемки или отклонения (см. C.1.1 и C.1.2).
C.5 Строгий контроль
Строгий контроль по таблице C.4 должен последовать либо при введении нового продукта, либо если две или более пяти следующих друг за другом партий были отклонены, либо незадолго до этого при контроле одной из партий она была отклонена и прежде необнаруженные дефектные образцы были уже отправлены.
Таблица C.4 - Обзор отбора образцов при строгом контроле
|
Размер партии |
Единичный отбор образцов |
Двойной отбор образцов | |||||||
|
Кол-во образцов |
Кол-во принятых образцов |
Кол-во для отклонения |
Кол-во образцов первой пробы |
Кол-во принятых образцов |
Кол-во для отклонения |
Кол-во образцов второй пробы |
Кол-во принятых образцов |
Кол-во для отклонения | |
|
От 8 до 20 000 |
8 |
1 |
2 |
5 |
0 |
2 |
5 |
1 |
2 |
C.6 Замена строгого контроля на обычный
Строгий контроль следует проводить до тех пор, пока не будут приняты пять следующих друг за другом партий, после чего опять вводят обычный контроль.
C.7 Приостановка строгого контроля
Если 10 следующих друг за другом партий находились под строгим контролем, тогда продолжение по плану отбора образцов должно быть приостановлено с тем, чтобы иметь возможность улучшить качество выпускаемой партии.
Приложение ZA
(справочное)
Рекомендации, касающиеся правил проведения добровольного подтверждения соответствия продукции в форме добровольной сертификации
ZA.1 Область применения
Настоящий раздел представляет рекомендации, касающиеся правил проведения добровольной сертификации продукции в системах добровольной сертификации, созданных в соответствии с Федеральным законом [6] и зарегистрированных Федеральным органом исполнительной власти по техническому регулированию.
Объект добровольной сертификации - дымоходные системы с керамическими внутренними трубами для влажного режима эксплуатации, подходящие для удаления дымовых газов, сконструированные и изготовленные в соответствии с требованиями настоящего стандарта.
Соответствие этим требованиям означает, что дымоходные системы с керамическими внутренними трубами для влажного режима эксплуатации, описанные в настоящем приложении, пригодны для предусмотренных целей использования как в составе многослойных дымоходных систем.
Оформление и регистрация добровольного сертификата соответствия аккредитованным органом могут предусматривать возможность применения знака соответствия с нанесением специального символа непосредственно на изделие, на упаковку проверенного товара или на сопроводительную документацию. Таким образом потребитель сможет отличить данную продукцию от аналогов конкурентов.
ПРЕДУПРЕЖДЕНИЕ - Для дымоходных систем с керамическими внутренними трубами для влажного режима эксплуатации, подпадающих под действие настоящего стандарта, могут применяться дополнительные требования и другие технические регламенты, которые не имеют отношения к их предполагаемому использованию.
Примечание - В дополнение к любому из разделов настоящего стандарта, касающихся опасных веществ, могут предъявляться другие требования к продуктам, подпадающим под сферу применения настоящего стандарта (например, своды правил, правовые и руководящие административные предписания). Для соответствия положениям сводов правил о строительной продукции эти требования также должны соблюдаться, если это применимо.
В настоящем приложении указаны условия для обозначения знаком соответствия требованиям системы добровольной сертификации дымоходных систем с керамическими внутренними трубами для влажного режима эксплуатации для удаления дымовых газов для целей, указанных в таблице ZA.1, а также условия для обозначения знаком соответствия согласно целям использования, указанным в таблице ZA.3, и приведены соответствующие разделы настоящего стандарта.
Таблица ZA.1 - Основополагающие разделы настоящего стандарта для дымоходных систем с керамическими внутренними трубами для влажного режима эксплуатации
|
Существенные характеристики |
Разделы с требованиями настоящего стандарта и (или) других стандартов |
Ступени и/или классы |
Примечания |
|
Огнестойкость с направлением действия снаружи наружу |
5.2.5 |
- |
Согласно декларации |
|
Термическое испытание |
5.2.1 |
- |
Критерий приемки по подтвержденному классу газопроницаемости после термического испытания |
|
Газопроницаемость/Утечки |
5.3.1 |
- |
Задается как класс давления по газопроницаемости на основании величины утечки, соответствующей классу дымоходной системы по 5.3.1 и по долговечности при предусмотренных условиях эксплуатации |
|
Сопротивление потоку |
5.3.3 |
- |
Для прямых внутренних труб задается как средняя шероховатость в метрах или как коэффициент местного сопротивления ξ для соединительных элементов подключения и поворотов |
|
Определение размеров/термическое сопротивление |
5.2.4 |
- |
Значение термического сопротивления указывается в соответствии с 5.2.4 |
|
Прочность: |
- | ||
|
Максимальная высота внутренней трубы |
5.1.2 |
Это требование содержит предельное значение | |
|
Прочность на сжатие смеси |
5.1.3.1.2 | ||
|
Максимальная высота внешней оболочки |
5.1.5 |
Максимальная высота дымоходной системы указывается производителем | |
|
Стойкость |
5.3.2.1 и 5.3.2.2 |
- |
Критерий выбора по 5.3.2 |
|
Стойкость к кислотам |
Дымоходные системы должны соответствовать ГОСТ Р 59412 (пункты 4.2.3, 4.2.4) | ||
|
Стойкость к замораживанию-оттаиванию |
5.5 |
- |
- |
Данное приложение имеет аналогичную область применения, что и раздел 1 настоящего стандарта, и приведено в таблице ZA.1.
Продукт - дымоходные системы с керамическими внутренними трубами для влажного режима эксплуатации в соответствии с областью применения по настоящему стандарту.
Цель использования - отвод дымовых газов.
Требование к определенным характеристикам не действует, если отсутствуют законодательные требования к данным свойствам продукта, предполагаемого к использованию. В этом случае производители, которые хотят реализовывать свою продукцию на рынке Российской Федерации, не обязаны подтверждать или указывать характеристики своих изделий в отношении таких свойств, и допускается использовать опцию "Характеристика не определена" (NPD) в информации для обозначения знаком соответствия. Однако опция NPD не может быть использована, если характеристика имеет предельные значения.
ZA.2 Процедура подтверждения соответствия дымоходных систем с керамическими внутренними трубами для влажного режима эксплуатации
ZA.2.1 Системы подтверждения соответствия
Система подтверждения соответствия дымоходных систем с внутренними керамическими трубами для влажного режима эксплуатации (см. таблицу ZA.1) приведена в таблице ZA.2 для предполагаемых целей использования и соответствующей классификации.
Таблица ZA.2 - Системы подтверждения соответствия
|
Продукт |
Цели применения |
Ступени или классы |
Схема подтверждения соответствия |
|
Дымоходные системы с внутренними керамическими трубами для влажного режима эксплуатации |
Дымоходные системы |
Все |
2 |
|
Схема 2: первый вариант включает сертификацию заводской системы управления качеством уполномоченным органом на основе первичной инспекции завода и заводского производства, а также текущий мониторинг, оценку и одобрение заводского производственного контроля. | |||
Если орган по сертификации выдал добровольный сертификат соответствия производителю или его уполномоченному представителю в Российской Федерации, то это дает право производителю наносить на свои изделия обозначение знака соответствия. Требования к содержанию сертификата соответствия изложены в действующих национальных стандартах на соответствующую продукцию. Сертификат соответствия должен быть на русском языке.
Подтверждение соответствия дымоходных систем с внутренними керамическими трубами для влажного режима эксплуатации согласно таблицам ZA.1 должно основываться на процедурах оценки соответствия по таблице ZA.3, которые являются результатом применения указанных там разделов стандарта.
Таблица ZA.3 - Распределение задач оценки соответствия дымоходных систем с внутренними керамическими трубами для влажного режима эксплуатации по схеме 2
|
Задачи |
Содержание задач |
Применимые разделы для оценки соответствия | ||
|
Задачи производителя |
Заводской производственный контроль |
Параметры, относящиеся ко всем существенным характеристикам в таблице ZA.1 |
10.5 | |
|
Первичное типовое испытание |
"применимые требования из таблицы ZA.1" |
10.2 10.3 10.4 | ||
|
Все применимые требования из таблицы ZA.1 |
10.3 | |||
|
Задачи органа сертификации |
Сертификация заводского производственного контроля на основании |
Первичный контроль производства |
Все соответствующие существенные характеристики из таблицы ZA.1 |
10.2 и 10.5 |
|
Текущий контроль, подтверждение и одобрение |
Параметры, относящиеся ко всем существенным характеристикам из таблицы ZA.1 |
10.2 и 10.5 | ||
ZA.2.2 Добровольный сертификат соответствия ГОСТ Р 71105.2 и декларация о соответствии
Подтверждение соответствия требуется для изделий по схеме добровольной сертификации 2.
Если условия настоящего приложения выполнены и нотифицированный орган выдал добровольный сертификат, то производитель или его уполномоченный представитель в Российской Федерации обязан хранить сертификат соответствия, который позволяет производителю наносить на свои изделия обозначение знака соответствия. Этот сертификат должен содержать следующие пункты:
- наименование и адрес производителя.
Примечание - Производитель может также быть ответственным за размещение продукта на рынке в пределах Российской Федерации, если он принимает на себя ответственность за обозначение знаком соответствия;
- описание продукта (торговое название, обозначение, использование и т.д.) и копию информации, сопровождающей обозначение знаком соответствия.
Примечание - Если информация, требуемая для подтверждения соответствия, включена в информацию, сопровождающую обозначение знаком соответствия, эту информацию не следует повторять;
- положения, которым изделие соответствует (например, настоящее приложение);
- особые условия, применимые к использованию изделия (например, положения по использованию при определенных условиях и т.д.);
- номер сопроводительного сертификата о заводском контроле производства;
- имя и функции лица, уполномоченного подписывать сертификат.
Сертификат соответствия должен сопровождаться сертификатом заводского производственного контроля, составленным нотифицированным органом, который в дополнение к вышеуказанной информации содержит:
- наименование и адрес органа по сертификации;
- условия и срок действия сертификата, если это применимо;
- имя и функции лица, уполномоченного подписывать сертификат.
Указанный выше сертификат должен быть на русском языке.
На рисунке ZA.1 приведен пример информации, которая должна быть указана на изделии, этикетке, упаковке и/или сопроводительных документах для системы с маркировкой D.

Рисунок ZA.1 - Пример маркировки знаком соответствия требованиям системы добровольной сертификации на изделии, этикетке, упаковке и/или сопроводительных документах для системы с маркировкой "D"
В дополнение к конкретной информации об опасных веществах, приведенной выше, продукт должен сопровождаться, при необходимости и в соответствующей форме, документами, устанавливающими все другие законы об опасных веществах, соблюдение которых требуется, и любой информацией, требуемой в результате их соблюдения.
Приложение ДА
(справочное)
Сведения о соответствии ссылочных национальных и межгосударственных стандартов международным и европейским стандартам, использованным в качестве ссылочных в примененном стандарте
Таблица ДА.1
|
Обозначение ссылочного национального, межгосударственного стандарта |
Степень соответствия |
Обозначение и наименование ссылочного международного, европейского стандарта |
|
ГОСТ 32314-2012 (EN 13162:2008) |
MOD |
EN 13162:2008 "Теплоизоляционные изделия для зданий. Изделия из минеральной ваты (MW) заводского изготовления. Технические условия" |
|
ГОСТ Р 57377-2012/ EN 998-2:2016 |
MOD |
EN 998-2:2010 "Растворы строительные для каменной кладки. Технические условия. Часть 2. Кладочный раствор" |
|
ГОСТ Р 59412-2022 |
MOD |
EN 1443:2019 "Конструкции для удаления дымовых газов. Общие требования" |
|
ГОСТ Р 59978.1-2022 |
MOD |
EN 13384-1:2015+A2:2019 "Конструкции для удаления дымовых газов. Теплотехнический и аэродинамический расчет. Часть 1. Конструкции для удаления дымовых газов от одного источника тепла" |
|
ГОСТ Р ИСО 2859-1-2007 |
IDT |
ISO 2859-1:1999 "Процедуры выборочного контроля по качественным признакам. Часть 1. Планы выборочного контроля с указанием приемлемого уровня качества (AQL) для последовательного контроля партий" |
|
ГОСТ Р 70874.1-2023 |
MOD |
EN 1457-1:2012 "Конструкции для удаления дымовых газов. Внутренние трубы из керамики. Часть 1. Внутренние трубы для сухого режима эксплуатации. Требования и методы испытания" |
|
ГОСТ Р 70874.2-2023 |
MOD |
EN 1457-1:2012 "Конструкции для удаления дымовых газов. Внутренние трубы из керамики. Часть 1. Внутренние трубы для сухого режима эксплуатации. Требования и методы испытания" |
|
ГОСТ Р 71105.1-2024 |
MOD |
EN 13063-1:2005 "Конструкции для удаления дымовых газов. Дымоходные системы с керамическими внутренними трубами. Часть 1. Требования и методы испытания устойчивости к возгоранию сажи" |
|
ГОСТ Р 71106-2024 |
MOD |
EN 13216-1:2004 "Дымоходы. Методы испытания системы дымоходов. Часть 1. Общие методы испытаний" |
|
Примечание - В настоящей таблице использованы следующие условные обозначения степени соответствия стандартов: - IDT - идентичный стандарт; - MOD - модифицированные стандарты. | ||
Библиография
|
[1] |
EH 12446:2003 |
Конструкции для удаления дымовых газов - Строительные компоненты - Внешние оболочки из бетона (Constructions for removing flue gases. Test requirements for freeze-thaw cycle resistance for constructions for removing flue gases) |
|
[2] |
EH 13069:2005 |
Конструкции для удаления дымовых газов - Керамические внешние оболочки для дымоходных систем - Требования и методы испытания (Constructions for removing flue gases - Test methods for system chimneys - General test methods) |
|
[3] |
EH 14241-1:2013 |
Конструкции для удаления дымовых газов. Требования к материалам эластичных уплотнителей и уплотнительных материалов и методы испытания. Часть 1. Уплотнения для использования во внутренних трубах (Chimneys - Elastomeric seals and elastomeric sealants - Material requirements and test methods - Part 1: Seals in flue liners) |
|
[4] |
EH 14297-2004 |
Конструкции для удаления дымовых газов. Метод испытания на устойчивость к замораживанию-оттаиванию (Chimneys. Freeze-thaw resistance test method for chimney products) |
|
[5] |
Федеральный закон от 22 июня 2008 г. N 123-ФЗ "Технический регламент о требованиях пожарной безопасности" | |
|
[6] |
Федеральный закон от 27 декабря 2002 г. N 184-ФЗ "0 техническом регулировании" | |


