ПНСТ 918-2024 СИСТЕМЫ НАВЕСНЫЕ ФАСАДНЫЕ В СЕЙСМИЧЕСКИХ РАЙОНАХ. МЕТОДЫ ИСПЫТАНИЙ
Утв. и введен в действие Приказом Федерального агентства по техническому регулированию и метрологии от 10 апреля 2024 г. N 20-пнст
Предварительный национальный стандарт РФ ПНСТ 918-2024
"СИСТЕМЫ НАВЕСНЫЕ ФАСАДНЫЕ В СЕЙСМИЧЕСКИХ РАЙОНАХ. МЕТОДЫ ИСПЫТАНИЙ"
Hinged facade systems in seismic areas. Test methods
ОКС 91.120.25
Срок действия - с 1 мая 2024 года
до 1 мая 2027 года
Предисловие
1 РАЗРАБОТАН Акционерным обществом "Научно-исследовательский центр "Строительство" (АО "НИЦ "Строительство") - Центром исследований сейсмостойкости сооружений (ЦИСС) Центрального научно-исследовательского института строительных конструкций им. В.А. Кучеренко (ЦНИИСК им. В.А. Кучеренко)
2 ВНЕСЕН Техническим комитетом по стандартизации ТК 465 "Строительство"
3 УТВЕРЖДЕН И ВВЕДЕН В ДЕЙСТВИЕ Приказом Федерального агентства по техническому регулированию и метрологии от 10 апреля 2024 г. N 20-пнст
Правила применения настоящего стандарта и проведения его мониторинга установлены в ГОСТ Р 1.16-2011 (разделы 5 и 6).
Федеральное агентство по техническому регулированию и метрологии собирает сведения о практическом применении настоящего стандарта. Данные сведения, а также замечания и предложения по содержанию стандарта можно направить не позднее чем за 4 мес до истечения срока его действия разработчику настоящего стандарта по адресу: 109428 Москва, 2-я Институтская ул., д. 6, и/или в Федеральное агентство по техническому регулированию и метрологии по адресу: 123112 Москва, Пресненская набережная, д. 10, стр. 2.
В случае отмены настоящего стандарта соответствующая информация будет опубликована в ежемесячном информационном указателе "Национальные стандарты" и также будет размещена на официальном сайте Федерального агентства по техническому регулированию и метрологии в сети Интернет (www.rst.gov.ru)
Введение
Настоящий предварительный стандарт разработан авторским коллективом Центра исследований сейсмостойкости сооружений (ЦИСС) Центрального научно-исследовательского института строительных конструкций им. В.А. Кучеренко (ЦНИИСК им. В.А. Кучеренко) (руководитель темы - зам. руководителя ЦИСС А.А. Бубис, заведующий сектором расчета сооружений ЛССИМС ЦИСС И.Р. Гизятуллин, заведующий ЛОУСК ЦИСС А.И. Доттуев, старший инженер ЛОУСК ЦИСС Д.Н. Вартанов).
1 Область применения
Настоящий стандарт распространяется на навесные вентилируемые фасадные системы (далее - НФС) и системы фасадные теплоизоляционные композиционные с наружными штукатурными слоями (далее - СФТК), предназначенные для применения на зданиях, возводимых в сейсмических районах, и устанавливает порядок и общие положения испытаний на стойкость к сейсмическим воздействиям.
2 Нормативные ссылки
В настоящем стандарте использованы нормативные ссылки на следующие документы:
ГОСТ 12.2.003 Система стандартов безопасности труда. Оборудование производственное. Общие требования безопасности
ГОСТ 12.2.062 Система стандартов безопасности труда. Оборудование производственное. Ограждения защитные
ГОСТ 12.3.002 Система стандартов безопасности труда. Процессы производственные. Общие требования безопасности
ГОСТ 12.4.026 Система стандартов безопасности труда. Цвета сигнальные, знаки безопасности и разметка сигнальная. Назначение и правила применения. Общие технические требования и характеристики. Методы испытаний
ГОСТ 166 (ИСО 3599-76) Штангенциркули. Технические условия
ГОСТ 427 Линейки измерительные металлические. Технические условия
ГОСТ 15150 Машины, приборы и другие технические изделия. Исполнения для различных климатических районов. Категории, условия эксплуатации, хранения и транспортирования в части воздействия климатических факторов внешней среды
ГОСТ 30296 Аппаратура общего назначения для определения основных параметров вибрационных процессов. Общие технические требования
ГОСТ 30546.1 Общие требования к машинам, приборам и другим техническим изделиям и методы расчета их сложных конструкций в части сейсмостойкости
ГОСТ 30546.2 Испытания на сейсмостойкость машин, приборов и других технических изделий. Общие положения и методы испытаний
ГОСТ 30630.0.0 Методы испытаний на стойкость к внешним воздействующим факторам машин, приборов и других технических изделий. Общие требования
ГОСТ Р 8.568 Государственная система обеспечения единства измерений. Аттестация испытательного оборудования. Основные положения
ГОСТ Р 58973 Оценка соответствия. Правила к оформлению протоколов испытаний
ГОСТ Р ИСО 5725-1 Точность (правильность и прецизионность) методов и результатов измерений. Часть 1. Основные положения и определения
СП 14.13330.2018 "СНиП II-7-81* Строительство в сейсмических районах"
Примечание - При пользовании настоящим стандартом целесообразно проверить действие ссылочных стандартов (сводов правил) в информационной системе общего пользования - на официальном сайте Федерального агентства по техническому регулированию и метрологии в сети Интернет или по ежегодному информационному указателю "Национальные стандарты", который опубликован по состоянию на 1 января текущего года, и по выпускам ежемесячного информационного указателя "Национальные стандарты" за текущий год. Если заменен ссылочный документ, на который дана недатированная ссылка, то рекомендуется использовать действующую версию этого документа с учетом всех внесенных в данную версию изменений. Если заменен ссылочный документ, на который дана датированная ссылка, то рекомендуется использовать версию этого документа с указанным выше годом утверждения (принятия). Если после утверждения настоящего стандарта в ссылочный документ, на который дана датированная ссылка, внесено изменение, затрагивающее положение, на которое дана ссылка, то это положение рекомендуется применять без учета данного изменения. Если ссылочный документ отменен без замены, то положение, в котором дана ссылка на него, рекомендуется применять в части, не затрагивающей эту ссылку. Сведения о действии сводов правил целесообразно проверить в Федеральном информационном фонде стандартов.
3 Термины, определения и сокращения
3.1 Термины и определения
В настоящем стандарте применены термины по ГОСТ 30546.1, СП 14.13330, а также следующие термины с соответствующими определениями:
3.1.1 акселерограмма: Запись процесса изменения во времени ускорения колебаний грунта (основания) для определенного направления.
3.1.2 вибромашина: Механизм, исполнительный орган которого осуществляет вращательное движение, приводящее к циклическому поступательному перемещению, необходимому для осуществления или интенсификации выполняемого процесса.
3.1.3 виброплатформа: Силовая площадка инерционного действия, позволяющая обеспечить динамическое воздействие на испытуемый фрагмент НФС путем возбуждения вибромашиной или силовым механизмом (установкой) колебательных знакопеременных поступательных или вращательных движений.
3.1.4 детали крепления: Элемент облицовочной конструкции (кляммеры, скобы, шины, аграфы, кайлы, икли и другие металлические детали), предназначенные для крепления облицовочных элементов к несущему каркасу фасадной системы.
3.1.5 испытательный стенд: Стальная или железобетонная жесткая конструкция (рама), имитирующая фрагмент здания (стену), предназначенная для крепления элементов НФС к ней в рабочем положении, согласно проекту или альбому технических решений НФС.
Примечание - Испытательный стенд допускается применять в жестком (для испытания на виброплатформе) или податливом (для испытаний с помощью вибромашины) исполнении.
3.1.6 кляммер: Деталь точечного крепления за край облицовки, устанавливаемая с торца (в пропил или паз) или по лицевой поверхности и обеспечивающая опирание и ограничение перемещения элемента облицовки из плоскости и в плоскости фасада.
3.1.7 конструкция крепления элементов облицовки: Конструкция, предназначенная для видимого или скрытого крепления облицовки и состоящая из одной или нескольких деталей крепления, крепежных изделий.
3.1.8 конструкция фасадная навесная вентилируемая [навесная фасадная система с воздушным зазором (прослойкой); НФС]: Конструктивная система, предназначенная для устройства фасадов зданий и сооружений, состоящая из несущей конструкции, облицовки и, при необходимости, теплоизоляции и имеющая воздушную полость (зазор) за облицовкой.
3.1.9 крепежные изделия: Изделия, используемые для крепления элементов НФС между собой, в виде винтов, самонарезающих винтов, заклепок, болтов, гвоздей.
3.1.10 несущая конструкция НФС: Конструкция, предназначенная для крепления облицовки и для передачи всех нагрузок от нее на несущие и ограждающие конструкции здания или сооружения, как правило, на стены/перекрытия.
3.1.11 облицовка: Защитно-декоративный экран, состоящий из отдельных элементов (изделий и/или конструкций) и предназначенный для создания архитектурного облика зданий/сооружений, а также для защиты внутреннего пространства НФС от воздействия внешней среды.
3.1.12 силовой механизм (установка): Испытательное оборудование, обеспечивающее динамическое нагружение объекта испытаний по заданным критериям нагрузки или перемещений.
3.2 Сокращения
В настоящем стандарте применены следующие сокращения:
АТР - альбом технических решений;
АЧХ - амплитудно-частотная характеристика;
АФЧХ - амплитудно-фазовая частотная характеристика;
ПМ - программа и методика испытаний;
ТУ - технические условия.
4 Общие положения
4.1 Испытаниям подвергают натурные фрагменты НФС, включающие в себя следующие элементы: несущую конструкцию НФС, облицовку, детали крепления и крепежные изделия, отражающие работу всей НФС в целом. Испытаниям подлежит набор фрагментов НФС, включающий линейные (рядовые), угловые и другие характерные участки исследуемой НФС.
4.2 Испытания проводят в целях подтверждения стойкости НФС к сейсмическим воздействиям, а также определения необходимых для проектирования в сейсмических районах НФС параметров, устанавливаемых СП 14.13330.2018 (пункт 6.20.9).
4.3 Требования стойкости НФС к сейсмическим воздействиям следует устанавливать в зависимости от интенсивности сейсмических воздействий по действующей макросейсмической шкале в районе размещения объекта капитального строительства, конструктивной системы здания, на котором применяется НФС, и уровня установки НФС над планировочной отметкой земли (далее - высотная отметка).
4.4 При подтверждении стойкости НФС к сейсмическим воздействиям проводят следующие испытания:
- определение АЧХ;
- испытания на прочность и деформативность при динамических воздействиях, моделирующих сейсмические.
4.5 Испытаниям подлежат полностью собранные образцы НФС, при наличии комплекта документов в следующем составе:
- проект образца НФС;
- АТР на НФС;
- ТУ на НФС (если НФС изготовляют по ТУ);
- ПМ на НФС.
4.6 Испытания проводят по ПМ, включающей в себя:
- сведения об образцах для испытаний и их комплектности;
- расчетную ситуацию, принятую в соответствии с СП 14.13330.2018 (пункт 6.20.4), для проектирования НФС;
- требования к установке НФС на виброплатформе и испытательном стенде;
- порядок проведения испытаний;
- состав испытаний и режимы динамического воздействия в зависимости от их направления;
- сведения о местах установки датчиков;
- критерии оценки результатов испытаний.
4.7 Испытания проводят в организациях, допущенных к осуществлению данной деятельности в порядке, установленном действующим законодательством.
4.8 По результатам испытаний организация, проводящая испытания, выдает заключение об обеспечении (необеспечении) прочности конструкции НФС и ее составных элементов, устанавливает расчетный уровень сейсмической опасности площадки строительства, соответствующий области допускаемого применения НФС, приводит предельные значения максимальных относительных смещений точек крепления несущих конструкций НФС, соответствующие заявленной расчетной ситуации, принятой в соответствии с СП 14.13330.2018 (пункт 6.20.4).
4.9 Результаты испытаний НФС могут быть распространены на конструктивно подобные системы. Под конструктивным подобием НФС понимают НФС, имеющую аналогичные испытанной конструктивные решения несущей конструкции и крепежных изделий НФС, а также незначительные отличия по массе (до 10%) элементов облицовки. Значения прочностных и деформационных характеристик материала элементов облицовки НФС должны быть не менее аналогичных значений характеристик материала элементов облицовки испытанной НФС. Допускается распространять результаты испытаний НФС с хрупкой облицовкой на НФС с пластичной облицовкой без ограничения по снижению ее массы при подтверждении несущей способности соединений элементов облицовки для рассматриваемых значений перекосов испытанной несущей конструкции НФС.
Распространение результатов испытаний НФС может быть выполнено при наличии заключения испытательной лаборатории, проводившей испытания.
5 Условия, обеспечение и проведение испытаний
5.1 Последовательность этапов проведения испытаний НФС на сейсмостойкость устанавливают в ПМ в соответствии с таблицей 1.
Таблица 1 - Последовательность этапов проведения испытаний НФС на сейсмостойкость
|
Наименование этапа |
Состав работ |
Режим испытаний |
Контроль результатов испытаний |
|
1 Подготовительные работы |
Монтаж НФС на испытательном стенде. Установка измерительных приборов |
- |
- |
|
2 Определение АЧХ |
Нагружение НФС динамическим и/или ударным воздействием. Контроль показаний измерительных приборов и определение собственной частоты колебаний образца |
По 7.2 |
По 6.6 |
|
3 Испытания на прочность и деформативность при динамическом воздействии, моделирующем сейсмическое |
Нагружение НФС динамическим воздействием, моделирующим сейсмические нагрузки, с учетом требований, установленных в ПМ. Нагружение НФС динамическим воздействием для определения максимально допустимого перекоса исследуемого фрагмента, с учетом требований, установленных в ПМ. Контроль показаний измерительных приборов и состояния НФС |
По 7.3 |
По 6.6 |
5.2 Определение АЧХ выполняют до проведения испытаний на прочность и деформативность при динамическом воздействии, моделирующем сейсмическое. По результатам определения АЧХ определяют резонансные частоты, уточняют методы нагружения и режимы испытаний НФС.
5.3 Испытания проводят на фрагментах НФС, смонтированных на испытательный стенд, в нормальных условиях по ГОСТ 30630.0.0 и ГОСТ 15150.
5.4 Места установки измерительных приборов назначают с учетом требований 7.4.
6 Контролируемые параметры, определяемые показатели и точность их измерений
6.1 Для регистрации контролируемых показателей (ускорений и перемещений) во время испытаний применяют однокомпонентные и/или трехкомпонентные акселерометры и датчики перемещений.
6.2 Регистрацию и измерение сигналов проводят с помощью измерительно-вычислительных комплексов, предназначенных для сбора, преобразования, регистрации, обработки, передачи и представления информации, поступающей с датчиков.
6.3 Точность методов контроля измерений устанавливают по ГОСТ Р ИСО 5725-1.
6.4 Все измерительно-регистрирующее оборудование должно проходить аттестацию, поверку и калибровку согласно ГОСТ Р 8.568.
6.5 Перечень контролируемых параметров, применяемые средства измерений и их рекомендуемые метрологические характеристики приведены в таблице 2.
Таблица 2 - Перечень параметров, контролируемых с помощью средств измерений, применяемые средства измерений и их рекомендуемые метрологические характеристики
|
Наименование контролируемого параметра |
Единица измерения |
Средство измерений |
Метрологическая характеристика, не ниже |
|
1 Величина ускорения |
м/с2 |
Акселерометр |
Класс точности 6 (0,5) по ГОСТ 30296 |
|
2 Величина перемещений |
мм |
Датчик перемещений |
Класс точности 6 (0,5) по ГОСТ 30296 |
|
3 Время испытания |
с |
Приборы общего технического или специализированного назначения |
Пределы допускаемой абсолютной погрешности по государственной поверочной схеме [1] |
|
4 Остаточные деформации и изменение формы сечений элементов системы НФС |
мм |
Линейка, рулетка, штангенциркуль |
Класс точности 2 по ГОСТ 166; ГОСТ 427 |
|
5 Раскрытия трещин |
мм |
Трещиномер, эталонные щупы |
Класс точности 2 по ТУ на щупы |
|
Примечания 1 Допускается применение иных средств измерений при условии обеспечения метрологических характеристик не ниже приведенных в настоящем стандарте. 2 Все виды разрушений и повреждений контролируют визуально и фиксируют в протоколе испытаний. | |||
6.6 Перечень определяемых при испытаниях показателей приведен в таблице 3.
Таблица 3 - Перечень определяемых при испытаниях показателей
|
Этап испытаний |
Наименование определяемого показателя |
Значение показателя |
|
1 Определение АЧХ |
Режимы нагружения при определении АЧХ |
По результатам испытаний |
|
Частота собственных колебаний, Гц |
По результатам испытаний | |
|
2 Испытание на прочность и деформативность при динамическом воздействии, моделирующем сейсмическое |
Режимы нагружения при испытании на прочность и деформативность при динамическом воздействии, моделирующем сейсмическое |
По ПМ с учетом требований 7.3 |
|
Перекосы НФС |
Максимальные относительные смещения соседних точек крепления несущих конструкций НФС к кронштейнам или зданию с учетом требований СП 14.13330.2018 (пункт 6.20.4) | |
|
Состояние НФС |
Разрушение и остаточные деформации элементов, нарушения целостности системы и эксплуатационной пригодности с учетом требований СП 14.13330.2018 (пункт 6.20.4) | |
|
Ускорения в точках измерения |
По результатам испытаний |
7 Методика испытаний, режимы нагружения и контроля измерений
7.1 Подготовка к проведению испытаний
7.1.1 Для проведения испытаний НФС проводят сборку фрагмента НФС на жесткий либо податливый стенд согласно проекту образца, разработанному для сейсмических испытаний НФС, АТР производителя НФС и выбранному методу испытаний. Частота собственных колебаний жесткого стенда для испытаний методом динамических воздействий должна быть более чем в 10 раз выше частоты собственных колебаний фрагмента НФС. Податливый стенд должен обеспечивать возможность относительных смещений соседних точек крепления несущих конструкций НФС к кронштейнам или зданию (междуэтажного перекоса) не менее 1/100 высоты этажа здания.
7.1.2 После сборки и монтажа НФС выполняют визуально-инструментальный контроль соответствия сборки несущей конструкции и облицовки НФС на соответствие проекту образца и АТР производителя НФС.
7.1.3 При отсутствии замечаний к сборке и монтажу НФС железобетонный или металлический стенд со смонтированным на нем фрагментом НФС устанавливают на испытательную установку (виброплатформу), после чего выполняют оснащение образца контрольно-измерительными приборами.
7.2 Определение собственных (резонансных) частот колебаний фрагмента НФС
7.2.1 Определение АЧХ фрагмента НФС при спектральном анализе собственных механических колебаний по испытаниям одним из методов "100" в соответствии с ГОСТ 30546.2.
7.2.2 Поиск резонансных частот при испытании методами 100-1 и 100-4 следует осуществлять путем плавного или дискретного изменения частоты воздействия соответственно при поддержании постоянной минимальной амплитуды ускорения с шагом по частоте 1 Гц. В области резонансных частот образца фрагмента НФС колебания виброплатформы следует задавать в более узком диапазоне частот. Частоту возбуждения следует увеличивать в пределах ± 2% резонансной частоты с шагом 0,1 Гц с прохождением прямого и обратного резонанса фрагмента НФС.
7.2.3 Ударное воздействие по методу 100-2 создают ударным молотком или ударным стендом через промежуточную упругую прокладку и/или насадку соответственно. В зависимости от конструкции НФС ударным молотком или ударным стендом прикладывают импульсное воздействие к несущей конструкции НФС в районе, близком к центру масс системы.
7.2.4 Перед проведением испытаний следует провести предварительный подбор и опробование средств возбуждения импульсных воздействий - ударного молотка (стенда), прокладки (насадки), а также силы воздействия и места сосредоточения ударов. Массу молотка, жесткость прокладки (насадки) и величину ударного воздействия подбирают экспериментально.
Сочетание места удара и составляющих удара [величины ударного воздействия, а также материала, толщины и жесткости прокладки (насадки)] должно обеспечивать уверенный и стабильный отклик фрагмента НФС и достоверную регистрацию виброударных сигналов необходимых амплитуды и длительности.
7.2.5 Ударное воздействие создают поочередно по трем взаимно перпендикулярным направлениям (осям) в системе координат, связанной с фрагментом НФС.
7.2.6 Для каждого направления динамического или ударного воздействия за собственную частоту колебаний фрагмента НФС принимают наименьшее значение частоты, при котором зафиксированы максимальное значение амплитуды ускорения и фазовый сдвиг в спектре АФЧХ спектра частот колебаний.
7.2.7 Результаты измерений приводят в графическом виде:
- график зависимости динамических или ударных воздействий (ускорений) от времени - акселерограмма воздействий;
- график зависимости амплитудных значений ускорений от частоты в точках установки измерительных приборов - спектр частот колебаний.
7.3 Методы испытаний фрагмента НФС на прочность и деформативность при динамических воздействиях, моделирующих сейсмическое
7.3.1 Динамические методы испытаний фрагмента НФС на прочность и деформативность при воздействиях, моделирующих сейсмическое, принимают в соответствии с ГОСТ 30546.2 (методы 102-1, 102-3, 102-5).
7.3.2 Фрагмент НФС следует испытывать при установке на виброплатформу, соответствующую требованиям раздела 8, последовательно в одном из устанавливаемых в ПМ положений (в случае однокомпонентной виброплатформы) или в одном положении (в случае многокомпонентной виброплатформы).
7.3.3 Если при нагружении фрагмента НФС в одном из направлений в других направлениях реализуются колебания с уровнями, равными или превышающими установленные в ПМ для этих направлений, испытания в этих направлениях допускается не проводить.
7.3.4 В качестве нормированных динамических воздействий землетрясений (спектров отклика по высоте конструктивной системы здания) допускается принимать требования ГОСТ 30546.1 или специально разработанные научно-обоснованные параметры воздействий с учетом СП 14.13330.2018 (пункт 5.6, примечание).
7.3.5 Испытания фрагмента НФС на сейсмостойкость проводят в диапазоне частот от 1 до 20 Гц. При этом нижняя граница может быть изменена с учетом результатов динамических расчетов здания и определения спектров откликов по высоте здания из условия, что она будет на 5 Гц ниже первой собственной частоты фрагмента НФС.
7.3.6 Задание динамических воздействий следует осуществлять путем дискретного изменения частоты воздействия при поддержании постоянной амплитуды ускорения с шагом по частоте 1 Гц. В области резонансных частот образца фрагмента НФС колебания виброплатформы следует задавать в более узком диапазоне частот. Частоту возбуждения следует увеличивать в пределах ± 2% резонансной частоты с шагом 0,1 Гц с прохождением прямого и обратного резонанса фрагмента НФС.
7.3.7 Режимы и длительность динамических воздействий при испытании на прочность и деформативность устанавливают в ПМ в соответствии с интенсивностью землетрясений по действующей макросейсмической шкале в районе размещения объекта капитального строительства, конструктивной системой здания, на котором применяется НФС, и высотной отметкой установки НФС с учетом требований приложения А. Общая длительность динамического воздействия на каждой рассматриваемой частоте должна быть в интервале (25 ± 5) с.
7.3.8 В процессе испытаний следует фиксировать состояние НФС.
По результатам каждого динамического испытания контролируют:
а) разрушения, механические повреждения и трещины, а также видимые деформации несущей конструкции НФС, облицовки, деталей крепления и крепежных изделий;
б) разрушение (выпадение) облицовок и заполнения НФС;
в) ослабления узлов соединений и креплений;
г) нарушения пригодности к эксплуатации системы.
7.3.9 Параметры испытательных режимов регистрируют по показаниям средств измерений, установленных в контрольной точке, в которой уровень воздействия соответствует нормируемому значению интенсивности сейсмического воздействия.
7.3.10 Контрольную точку располагают на виброплатформе рядом с одной из точек крепления испытательного стенда НФС к платформе.
7.3.11 Для НФС, соответствующих СП 14.13330.2018 (пункт 6.20.2), допускается проводить дополнительные испытания, не указанные в настоящем стандарте, по специально разработанным методикам.
7.3.12 Методы испытаний на стойкость к сейсмическим воздействиям, приведенные в настоящем разделе, допускается использовать для испытаний СФТК.
7.4 Контроль измерений
7.4.1 Места установки измерительных приборов назначают с учетом конструктивных особенностей испытуемой НФС и указывают в ПМ.
Окончательно места установки определяют после испытаний по определению собственных частот НФС.
7.4.2 По высоте фрагмента НФС устанавливают не менее трех уровней установки измерительных приборов (низ, середина и верх конструкции фрагмента НФС).
7.4.3 Места (точки) установки измерительных приборов на образце выбирают вблизи:
- центра масс несущей конструкции НФС;
- центра масс облицовочных конструкций;
- центра масс отдельных элементов, установленных для оценки в ПМ;
- основания и вылета кронштейна несущей конструкции НФС.
7.4.4 При проведении испытаний применяют средства измерений утвержденного типа, сведения о которых внесены в Федеральный информационный фонд по обеспечению единства измерений, поверенные в соответствии с порядком [2].
8 Оборудование для испытаний
8.1 Для проведения испытаний применяют установки, представляющие собой:
- виброплатформу с возбудителем колебаний в виде вибромашины или силового механизма, позволяющих обеспечить ускорение низа жесткого испытательного стенда на уровне, установленном настоящим стандартом и ПМ;
- вибромашину или силовой механизм, деформирующие податливый рамный каркас на уровне, установленном настоящим стандартом и ПМ;
- испытательный жесткий или податливый железобетонный или стальной стенд для крепления фрагментов НФС.
8.2 Моделирование динамических воздействий F(t) по 8.1 с необходимыми параметрами (частота, ускорение, амплитуда, уровень деформаций и др.) на испытуемую систему осуществляется путем возбуждения циклических знакопеременных механических колебаний в горизонтальной плоскости или в нескольких плоскостях (приложение Б).
8.3 Установка для испытаний должна обеспечивать возможность регулирования скорости нарастания нагрузки и иметь значения АЧХ динамических воздействий, предусмотренные 7.2 и 7.3, а также ПМ.
8.4 При проведении испытаний применяют испытательное оборудование, аттестованное в соответствии с ГОСТ Р 8.568.
8.5 Регистрирующее и измерительное оборудование для испытаний должно соответствовать требованиям таблицы 2.
9 Оформление результатов испытаний
9.1 Результаты испытаний оформляют протоколами испытаний с учетом требований, указанных в ГОСТ Р 58973. Рекомендуемая форма протокола испытаний приведена в приложении В.
9.2 В протоколах приводят:
- описание и тип НФС;
- перечень документов по стандартизации, регламентирующих требования к ее характеристикам;
- описание, схемы, отражающие первоначальное техническое состояние конструкций фрагментов НФС (наличие, положение дефектов, отклонений после монтажа НФС, фактические размеры элементов, соответствие конструкций и облицовки НФС проектному решению или АТР);
- фактические схемы проведения испытаний (конкретные места приложения нагрузок, места установки измерительного оборудования и т.п.);
- режимы испытаний (задаваемые нагрузки силового воздействия, частоты, время выдержки и т.п.);
- дату и условия проведения испытаний (температура, влажность воздуха и др.);
- получаемые в процессе испытаний значения перекоса, параметры динамических характеристик системы (спектры ускорений и т.п.);
- данные о повреждениях элементов фрагмента НФС по результатам испытаний (величины раскрытия трещин, образование деформаций и повреждений в элементах конструкции);
- фотографии, схемы и т.п., отражающие ход и результаты испытаний.
Протоколы должны быть подписаны всеми участниками испытаний и утверждены исполнителем.
10 Требования безопасности
10.1 При проведении испытаний НФС необходимо выполнять общие требования безопасности к производственным процессам и оборудованию в соответствии с ГОСТ 12.2.003, ГОСТ 12.3.002.
10.2 Испытания следует проводить по утвержденной ПМ, с учетом стандартов и ТУ на продукцию, по техническим описаниям и инструкциям по эксплуатации на конкретные средства испытаний и измерений.
10.3 Для уменьшения опасности, исходящей от оборудования, испытательного стенда, движущихся частей машин и механизмов, при необходимости следует использовать защитные ограждения и знаки по ГОСТ 12.2.062, ГОСТ 12.4.026.
Приложение А
(обязательное)
Параметры испытаний НФС и соответствующие критерии сейсмостойкости
Таблица А.1 - Параметры испытаний НФС с креплением по полю стен и соответствующие критерии сейсмостойкости
|
Тип стенда |
Ускорение в основании стенда, м/с2, не менее, соответствующее расчетной сейсмичности и высоте установки НФС над нулевой отметкой, м |
Критерии обеспечения расчетной ситуации по СП 14.13330.2018 (пункт 6.20.4) | |||||||||||
|
до 10 |
от 10 до 25 |
от 25 до 50 |
от 50 до 75 | ||||||||||
|
7 |
8 |
9 |
7 |
8 |
9 |
7 |
8 |
9 |
7 |
8 |
9 | ||
|
Жесткий |
1 |
2 |
4 |
1,7 |
3,4 |
6,8 |
2,4 |
4,8 |
9,6 |
3 |
6 |
12 |
а) После сейсмического воздействия обеспечена полная пригодность к нормальной эксплуатации. Повреждения элементов металлической подконструкции и облицовочного слоя НФС отсутствуют |
|
б) После сейсмического воздействия обеспечена частичная пригодность к эксплуатации, требуются частичная замена облицовочного слоя НФС и частичный ремонт несущей системы. Повреждение отдельных несущих элементов, не приводящее к выпадению облицовочного слоя НФС. Выполнено условие прочности для всех несущих элементов НФС | |||||||||||||
|
в) После сейсмического воздействия не регламентируется пригодность к эксплуатации, возможна полная замена НФС. Присутствуют значительные повреждения отдельных элементов, разрушение (выпадение) облицовочного слоя НФС массой не более 1 кг. Выполнено условие прочности для всех несущих элементов НФС | |||||||||||||
|
Примечание - При проектировании НФС по расчетной ситуации СП 14.13330.2018, пункт 6.20.4, перечисление в) исключение угрозы безопасности людей при повреждении и разрушении заполнений подтверждает заказчик с учетом принятых проектных решений, а также организационных мероприятий по предотвращению или снижению риска травматизма людей, находящихся в пределах здания и участка строительства во время или непосредственно после землетрясения. | |||||||||||||
Таблица А.2 - Параметры испытаний НФС с креплением к перекрытиям и соответствующие критерии сейсмостойкости
|
Тип стенда |
Перекос НФС при испытании δ |
Ускорение в основании стенда, м/с2, не менее, соответствующее расчетной сейсмичности и высоте установки НФС над нулевой отметкой, м |
Критерии обеспечения расчетной ситуации по СП 14.13330.2018 (пункт 6.20.4) | |||||||||||
|
до 10 |
от 10 до 25 |
от 25 до 50 |
от 50 до 75 | |||||||||||
|
7 |
8 |
9 |
7 |
8 |
9 |
7 |
8 |
9 |
7 |
8 |
9 | |||
|
Податливый |
Li/200, δ ≤ 15 мм |
0,25 |
0,5 |
1 |
0,2 |
0,4 |
0,8 |
0,15 |
0,3 |
0,6 |
0,1 |
0,2 |
0,4 |
а) После сейсмического воздействия обеспечена полная пригодность к нормальной эксплуатации. Повреждения элементов металлической подконструкции и облицовочного слоя НФС отсутствуют |
|
Li/200 - Li/100 |
б) После сейсмического воздействия обеспечена частичная пригодность к эксплуатации, требуются частичная замена облицовочного слоя НФС и частичный ремонт несущей системы. Повреждение отдельных несущих элементов, не приводящее к выпадению облицовочного слоя НФС. Выполнено условие прочности для всех несущих элементов НФС | |||||||||||||
|
> Li/100 |
в) После сейсмического воздействия не регламентируется пригодность к эксплуатации, возможна полная замена НФС. Присутствуют значительные повреждения отдельных элементов, разрушение (выпадение) облицовочного слоя НФС массой не более 1 кг. Выполнено условие прочности для всех несущих элементов НФС | |||||||||||||
|
Примечания 1 В настоящей таблице применены следующие условные обозначения: δ - разность смещений (перекос) соседних точек крепления металлической подконструкции к кронштейнам или зданию вдоль горизонтальной и вертикальной координатных осей; Li - проекция расстояния между соседними точками крепления на ортогональные смещения горизонтальной и вертикальной координатных осей. 2 При проектировании НФС по расчетной ситуации СП 14.13330.2018, пункт 6.20.4, перечисление в) исключение угрозы безопасности людей при повреждении и разрушении заполнений подтверждает заказчик с учетом принятых проектных решений, а также организационных мероприятий по предотвращению или снижению риска травматизма людей, находящихся в пределах здания и участка строительства во время или непосредственно после землетрясения. | ||||||||||||||
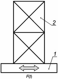
Приложение Б
(справочное)
Схемы испытаний НФС с применением жесткого и податливого стендов

1 - виброплатформа с возбудителем колебаний в виде вибромашины или силового механизма; 2 - жесткий стенд, моделирующий конструкции стен здания
Рисунок Б.1 - Схема испытаний НФС с применением жесткого стенда

1 - вибромашина или силовой механизм; 2 - податливый стенд, моделирующий конструкции каркаса здания
Рисунок Б.2 - Схема испытаний НФС с применением податливого стенда
Приложение В
(рекомендуемое)
Форма протокола испытаний
"УТВЕРЖДАЮ"
Руководитель испытательной
лаборатории (центра)
_____________________ Ф.И.О.
"___" ______________ 20__ г.
М.П.
ПРОТОКОЛ ИСПЫТАНИЙ
N ____ от ___.___.20__ г.
"Наименование образца испытаний"
1 Общие сведения
Основание для выполнения работ: ___________________________________________
___________________________________________________________________________
Заказчик: _________________________________________________________________
___________________________________________________________________________
Исполнитель: ______________________________________________________________
___________________________________________________________________________
Объект испытаний: _________________________________________________________
___________________________________________________________________________
Цель проведения испытаний: ________________________________________________
___________________________________________________________________________
Методика испытаний: _______________________________________________________
___________________________________________________________________________
Дата испытаний: ___________________________________________________________
___________________________________________________________________________
Место проведения испытаний: _______________________________________________
___________________________________________________________________________
Условия проведения испытаний: _____________________________________________
___________________________________________________________________________
2 Описание и тип НФС
2.1 Описание и проект, отражающие конструктивное решение испытуемого
образца НФС: ______________________________________________________________
___________________________________________________________________________
___________________________________________________________________________
2.2 Перечень документов по стандартизации, регламентирующих требования
к характеристикам НФС (при наличии): ______________________________________
___________________________________________________________________________
2.3 Описание и схемы (при необходимости), отражающие первоначальное
техническое состояние конструкций фрагментов НФС (наличие, положение
дефектов, отклонений после монтажа НФС, фактические размеры элементов,
соответствие конструкций и облицовки НФС проектному решению или
АТР): _____________________________________________________________________
___________________________________________________________________________
3 Схема проведения испытаний
3.1 Описание схемы проведения испытаний (схема моделирования
динамического воздействия, конкретные места приложения нагрузок, места
установки измерительного оборудования и т.п.): ____________________________
___________________________________________________________________________
3.2 Режимы испытаний (задаваемые нагрузки силового воздействия,
частоты, время выдержки и т.п.): __________________________________________
___________________________________________________________________________
___________________________________________________________________________
4 Испытательное и измерительно-регистрирующее оборудование
4.1 Наименование применяемого испытательного оборудования и сведения
о его аттестации: _________________________________________________________
___________________________________________________________________________
___________________________________________________________________________
4.2 Наименование применяемого измерительно-регистрирующего оборудования
и сведения о его калибровке/поверке: ______________________________________
___________________________________________________________________________
5 Результаты испытаний
5.1 Результаты определения собственных (резонансных) частот колебаний
образца НФС: ______________________________________________________________
___________________________________________________________________________
5.2 Результаты регистрации ускорений и перемещений стенда и образца НФС
при испытаниях на прочность и деформативность при динамических
воздействиях, моделирующих сейсмическое: __________________________________
___________________________________________________________________________
5.3 Параметры динамических характеристик испытанной НФС (спектры
ускорений и т.д.) при испытаниях на прочность и деформативность при
динамических воздействиях, моделирующих сейсмическое: _____________________
___________________________________________________________________________
5.4 Полученные в процессе испытаний предельные значения перекоса
образца НФС: ______________________________________________________________
___________________________________________________________________________
5.5 Техническое состояние несущей конструкции НФС (сведения об
обеспечении (необеспечении) прочности несущих конструкций и крепежных
изделий НФС):
- разрушение и повреждения элементов несущей конструкции НФС: _________
___________________________________________________________________________
- разрушение и повреждения крепежных изделий, в том числе их
количество: _______________________________________________________________
___________________________________________________________________________
- деформации и остаточные перемещения элементов несущей конструкции
НФС: ______________________________________________________________________
___________________________________________________________________________
5.6 Техническое состояние облицовки НФС (сведения об обеспечении
(необеспечении) прочности облицовки и конструкций крепления элементов
облицовки НФС):
- разрушение (выпадение) и повреждения облицовки НФС: _________________
___________________________________________________________________________
- разрушение и повреждения конструкций крепления элементов облицовки
НФС: ______________________________________________________________________
___________________________________________________________________________
- масса выпавших фрагментов облицовки: ________________________________
___________________________________________________________________________
- количество поврежденных облицовочных элементов в процентах от общего
исходного количества: _____________________________________________________
___________________________________________________________________________
- количество разрушенных облицовочных элементов в процентах от общего
исходного количества: _____________________________________________________
___________________________________________________________________________
5.7 Фотоматериалы, схемы и т.п., отражающие ход и результаты испытаний.
6 Выводы
Сведения об области допускаемого применения НФС с учетом: значений
интенсивности сейсмических воздействий, выраженных в целочисленных баллах
действующей макросейсмической шкалы, соответствующих уровню, при котором
обеспечиваются установленные нормами требования сейсмостойкости
и сейсмобезопасности НФС, в том числе предельных значений максимальных
относительных смещений точек крепления несущих конструкций НФС, высоты
установки НФС и расчетных ситуаций, установленных в соответствии
с СП 14.13330.2018 (пункт 6.20.4): ________________________________________
___________________________________________________________________________
___________________________________________________________________________
Дополнительная информация
Дополнительная информация на усмотрение испытательной лаборатории
(центра): _________________________________________________________________
___________________________________________________________________________
___________________________________________________________________________
Библиография
|
[1] |
Государственная поверочная схема для средств измерений времени и частоты (утверждена Приказом Федерального агентства по техническому регулированию и метрологии от 26 сентября 2022 г. N 2360) |
|
[2] |
Порядок проведения поверки средств измерений (приложение N 1 к приказу Министерства промышленности и торговли Российской Федерации от 31 июля 2020 г. N 2510) |


