электронный сборник нормативных документов по строительству
Обновления
18.04.2026 23:02
электронный сборник нормативных документов по строительству

ПНСТ 494-2020 ВНУТРЕННИЙ ВОДНЫЙ ТРАНСПОРТ. ОБЪЕКТЫ ИНФРАСТРУКТУРЫ. НАБЕРЕЖНЫЕ, ПОДПОРНЫЕ СТЕНЫ ПОЛУГРАВИТАЦИОННЫЕ И ГРАВИТАЦИОННЫЕ. ОСОБЕННОСТИ РАСЧЕТА И ПРОЕКТИРОВАНИЯ РАЗЛИЧНЫХ ГРАВИТАЦИОННЫХ КОНСТРУКЦИЙ

Утв. и введен в действие приказом Федерального агентства по техническому регулированию и метрологии от 30 октября 2020 г. N 110-пнст
Предварительный национальный стандарт ПНСТ 494-2020
"ВНУТРЕННИЙ ВОДНЫЙ ТРАНСПОРТ. ОБЪЕКТЫ ИНФРАСТРУКТУРЫ. НАБЕРЕЖНЫЕ, ПОДПОРНЫЕ СТЕНЫ ПОЛУГРАВИТАЦИОННЫЕ И ГРАВИТАЦИОННЫЕ. ОСОБЕННОСТИ РАСЧЕТА И ПРОЕКТИРОВАНИЯ РАЗЛИЧНЫХ ГРАВИТАЦИОННЫХ КОНСТРУКЦИЙ"

Inland water transport. Infrastructure objects. Embankments, semi-gravitational and gravitational retaining walls. Features of calculation and design of various gravitational designs

ОКС 47.060

Срок действия - с 1 января 2021 г.
до 1 января 2024 г.

Предисловие

1 Разработан Некоммерческим партнерством "Ассоциация профессиональных гидротехников "Гипроречтранс" (НП "Ассоциация "Гипроречтранс")

2 Внесен Техническим комитетом по стандартизации ТК 032 "Водный транспорт"

3 Утвержден и введен в действие Приказом Федерального агентства по техническому регулированию и метрологии от 30 октября 2020 г. N 110-пнст

Введение

Настоящий стандарт дополняет положения ГОСТ Р 58745.1.

Применение настоящего стандарта обеспечивает выполнение требований технического регламента [1].

1 Область применения

1.1 Настоящий стандарт устанавливает требования к расчетам и проектированию различных конструкций набережных и подпорных стен гравитационных объектов инфраструктуры внутреннего водного транспорта, выполненных из металла, железобетона, дерева и синтетических материалов.

1.2 Общие требования к конструкциям, расчетам, исходным данным для них и компьютерным программам изложены в соответствующих сводах правил. Детализацию отдельных положений указанных документов можно найти в [2], [3] и других пособиях.

1.3 Настоящий стандарт распространяется на следующие объекты:

- причальные и другие набережные;

- подпорные стены, в том числе стены камер шлюзов;

- берегоукрепительные сооружения.

Настоящий стандарт не распространяется: на причалы; подпорные стены и набережные гравитационные из габионов.

Настоящий стандарт не распространяется на объекты, возводимые в сейсмических районах.

1.4 Настоящий стандарт предназначен к применению на территории Российской Федерации юридическими лицами (индивидуальными предпринимателями) независимо от форм собственности и подчиненности.

2 Нормативные ссылки

В настоящем стандарте использованы нормативные ссылки на следующие документы:

ГОСТ 9463-2016 Лесоматериалы круглые хвойных пород. Технические условия

ГОСТ 27751 Надежность строительных конструкций и оснований. Основные положения

ГОСТ Р 58740 Внутренний водный транспорт. Объекты инфраструктуры. Расчеты общей устойчивости. Основные требования

ГОСТ Р 58745.1 Внутренний водный транспорт. Объекты инфраструктуры. Набережные, подпорные стены полугравитационные и гравитационные. Основные требования к расчету и проектированию

СП 22.13330.2016 "СНиП 2.02.01-83 Основания зданий и сооружений"

СП 23.13330.2018 "СНиП 2.02.02-85 Основания гидротехнических сооружений"

СП 38.13330.2012 "СНиП 2.06.04-82* Нагрузки и воздействия на гидротехнические сооружения (волновые, ледовые и от судов)"

СП 58.13330.2012 "СНиП 33-01-2003 Гидротехнические сооружения. Основные положения"

СП 64.13330.2011 "СНиП II-25-80 Деревянные конструкции"

СП 101.13330.2012 "СНиП 2.06.07-87 Подпорные стены, судоходные шлюзы, рыбопропускные и рыбозащитные сооружения"

Примечание - При пользовании настоящим стандартом целесообразно проверить действие ссылочных стандартов (сводов правил) в информационной системе общего пользования - на официальном сайте Федерального агентства по техническому регулированию и метрологии в сети Интернет или по ежегодному информационному указателю "Национальные стандарты", который опубликован по состоянию на 1 января текущего года, и по выпускам ежемесячного информационного указателя "Национальные стандарты" за текущий год. Если заменен ссылочный документ, на который дана недатированная ссылка, то рекомендуется использовать действующую версию этого документа с учетом всех внесенных в данную версию изменений. Если заменен ссылочный документ, на который дана датированная ссылка, то рекомендуется использовать версию этого документа с указанным выше годом утверждения (принятия). Если после утверждения настоящего стандарта в ссылочный документ, на который дана датируемая ссылка, внесено изменение, затрагивающее положения, на которые дана ссылка, то это положение рекомендуется применять без учета данного изменения. Если ссылочный документ отменен без замены, то положение, в котором дана ссылка на него, рекомендуется применять в части, не затрагивающей эту ссылку.

3 Термины

В настоящем стандарте применены термины по ГОСТ Р 58745.1.

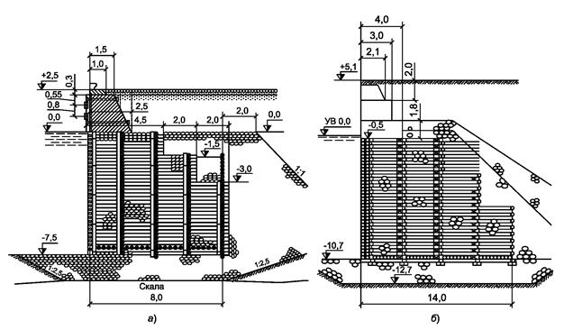
4 Конструкции массивные и из массивовой кладки

4.1 Настоящий раздел распространяется на проектирование конструкций массивных (бетонных, кирпичных и пр.), а также из массивовой кладки (обыкновенных и пустотелых бетонных, железобетонных и иных массивов, заполненных грунтом контейнеров, габионов) (см. рисунок 1).

Указанные конструкции могут служить основанием для конструкций других типов, в частности для тонкостенной уголковой конструкции (рисунок 1, д).

image001.jpg

а - массивные; б - г - из массивовой кладки; д - из массивовой кладки с уголковой надстройкой и разгрузочной плитой

Рисунок 1 - Конструкции массивные и из массивовой кладки

4.2 Форма массивов должна обеспечивать их плотное соединение в поперечном направлении. Желательно, чтобы в каждом курсе в поперечном направлении был один массив. В противном случае массивы укладывают с перевязкой швов.

4.3 Целесообразно укладывать массивы с небольшим уклоном (10° - 20°) в сторону засыпки.

4.4 В продольном направлении подошву набережных и подпорных стен следует располагать на площадке с продольным уклоном не более 0,02; при большем уклоне подошву следует устраивать ступенчатой.

4.5 Для повышения устойчивости допускается первый ряд массивов устраивать с выступом за лицевую плоскость сооружения.

Тыловой поверхности сооружения рекомендуется придавать ступенчатую форму. Ширину ступени не рекомендуется делать больше 0,6 от ее высоты.

4.6 В соответствии с ГОСТ 27751, СП 58.13330.2012 и ГОСТ Р 58744.1 расчеты должны проводиться по двум группам предельных состояний. Состав и последовательность расчетов, а также сочетания нагрузок и соответствующие расчетные условия зависит от конструкции и конкретных условий строительства. Специфическими для этих конструкций являются проверка устойчивости по ярусам, а также проверка на опрокидывание.

4.7 Основные сочетания нагрузок, включающие постоянные, временные длительные и одну из кратковременных нагрузок принимают по приложению Г СП 58.13330.2012, СП 101.13330.2012, СП 38.13330.2012, [2] и др.

4.8 При расчете устойчивости и деформаций причальных набережных основные сочетания нагрузок должны включать постоянные и временные длительные нагрузки:

- боковое давление грунта с учетом временных вертикальных и горизонтальных нагрузок на территории;

- фильтрационное давление воды;

- вертикальную нагрузку от собственного веса и грунта и временную нагрузку; а также одну из следующих кратковременных нагрузок:

- волновое давление при подходе ложбины волны (только для набережных при высоте волны больше 1 м);

- нагрузку от навала судна при подходе его к сооружению (только для набережных);

- нагрузки от воздействия льда (только для набережных);

- нагрузку от натяжения швартовых (только для причальных набережных при отсутствии анкеровки тумбовых массивов).

Временная нагрузка на территории должна располагаться непосредственно от линии кордона.

При отсутствии кратковременных нагрузок для набережных уровень воды в акватории принимается наинизшим, а при их наличии - на отметках, при которых возможно их действие.

Для подпорных стен другого назначения некоторые из перечисленных нагрузок могут отсутствовать.

4.9 При наличии особых нагрузок следует рассматривать особые сочетания, включающие кроме указанных в 4.8 одну из особых нагрузок (см. ГОСТ Р 58745.1).

4.10 Расчеты по деформациям проводят по СП 22.13330.2016, СП 23.13330.2018, при этом максимальное давление р max под подошвой сооружения не должно превышать 1,5R, где R - расчетное сопротивление грунта основания.

Для ускорения осадки целесообразно применять временную огрузку.

4.11 Расчет общей устойчивости выполняют по ГОСТ Р 58740, причем для сооружений 3 и 4 классов расчет допускается вести только методом ломаных поверхностей скольжения. Следует проверять также устойчивость по всем горизонтальным швам между ярусами массивов.

5 Конструкции уголкового профиля консольные, а также с внешней и внутренней анкеровкой

5.1 Настоящий раздел распространяется на проектирование конструкций высотой до 15 м с железобетонными фундаментными плитами и лицевыми элементами в виде тонких железобетонных плит или из стального шпунта, заанкеренных тягами за фундаментные плиты или анкерные устройства (рисунок 2).

Рекомендации настоящего раздела могут быть также использованы при проектировании надстроек стен из массивов-гигантов, из оболочек большого диаметра, из массивовой кладки и др.

5.2 Проектирование конструкций консольных выполняют в соответствии с [4] и рекомендациями настоящего раздела.

5.3 Лицевой элемент конструкции с анкеровкой рассчитывают на действие следующих усилий:

а) изгибающего момента M I в пролетной части, растягивающего лицевую грань, и продольной сжимающей силы N;

б) изгибающего момента на консоли, растягивающего тыловую грань (М к < 0);

в) изгибающего момента на консоли, растягивающего лицевую грань (М к > 0);

г) поперечных сил Q на уровне крепления анкерной тяги и нижней опорной реакции R b.

Примечание - Усилия в поперечных сечениях можно определить, используя существующее специализированное программное обеспечение, а также приближенно по [3], [4].

image002.jpg

а) - консольные; б) - с анкеровкой железобетонных лицевых элементов за фундаментную плиту; в) - с анкеровкой железобетонных лицевых элементов за анкерную опору

1 - вертикальный элемент; 2 - фундаментный элемент (плита); 3 - анкерная тяга; 4 - анкерная опора (плита); 5 - шапочная балка; 6 - каменная постель; 7 - дренаж (обратный фильтр)

Рисунок 2 - Конструкции уголковых набережных и подпорных стен

5.4 Фундаментную плиту конструкции с анкеровкой рассчитывают на действие следующих усилий:

а) изгибающего момента, растягивающего нижнюю грань (М > 0), и продольной растягивающей силы N;

б) изгибающего момента, растягивающего верхнюю грань (М < 0, М к) и растягивающей силы N;

в) поперечной силы Q в месте крепления анкерной тяги;

г) изгибающего момента М y и поперечной силы Q y в упорном зубе;

д) изгибающего момента в полках плит таврового или ребристого сечения M n.

5.5 Из статического расчета лицевого элемента определяют величину анкерного усилия R a.

Если предварительное натяжение тяг или зависание грунта на тягах увеличивают анкерное усилие R a сверх полученного из статического расчета на ΔRa, то необходимо так изменить расчетную схему, чтобы в результате получить статическое равновесие с заданной анкерной реакцией.

Примечание - Наиболее просто удовлетворить приближенно это требование, если ΔRa, приложить к шпунту в виде дополнительного давления с эпюрой, симметричной относительно уровня анкеровки. Однако практически достаточно увеличить изгибающий момент на уровне анкеровки М k на величину ΔMk = ΔRahk/6.

Рекомендации по проектированию анкерных устройств приведены в [2], [3] и др.

5.6 В соответствии с ГОСТ 27751, СП 58.13330.2012 и ГОСТ Р 58744.1 расчеты должны проводиться по двум группам предельных состояний. Состав и последовательность расчетов, как правило, соответствуют приведенным на рисунке 3.

5.7 Основные сочетания нагрузок, включающие постоянные, временные длительные и одну из кратковременных нагрузок принимают по приложению Г СП 58.13330.2012, СП 101.13330.2012, СП 38.13330.2012, [2] и др.

5.8 Применительно к расчету причальных набережных основные сочетания нагрузок, включающие постоянные, временные длительные и одну из кратковременных нагрузок, и соответствующие расчетные условия принимают: для лицевых элементов - по таблицам 1 и 2; для фундаментных плит - по таблицам 3 и 4. Для подпорных стен другого назначения некоторые из перечисленных нагрузок могут отсутствовать.

5.9 При наличии особых нагрузок следует рассматривать особые сочетания, включающие, кроме указанных в таблицах 1 и 3, одну из особых нагрузок (см. ГОСТ Р 58745.1).

5.10 Усилия в поперечных сечениях фундаментной плиты, а также реактивные давления р определяют как для балки, полностью или частично опирающейся на упругое основание.

5.11 Шапочную балку набережных рассчитывают на усилия от навала судов и ледовые воздействия в соответствии с СП 38.13330.2012 и [2].

5.12 Расчеты железобетонных элементов по образованию и раскрытию трещин следует вести на усилия, определенные из тех же расчетных условий и теми же методами, что и для расчета прочности, но при коэффициентах надежности равных 1.

Допускается проверять сечения на усилия, полученные для расчетов прочности и умноженные на корректирующий коэффициент γk = 0,85. Если при этом не обеспечивается требуемая трещиностойкость или величина раскрытия трещин, то следует выполнить уточненные расчеты по определению усилий.

5.13 Расчеты по деформациям производят по СП 22.13330.2016, СП 23.13330.2018, при этом максимальное давление р max под подошвой сооружения не должно превышать 1,5R, где R - расчетное сопротивление грунта основания.

Расчет по деформациям анкерных опор, в том числе анкерных плит, грунтовых анкеров и других проводят по первой группе предельных состояний при тех же значениях R a, что и в расчете их прочности.

image003.jpg

Рисунок 3 - Состав и последовательность расчетов уголковых подпорных стен и набережных с анкеровкой за фундаментную плиту


Таблица 1 - Нагрузки, входящие в основное сочетание при расчете лицевых элементов

Номер сочетания нагрузок

1

2

3

4

5

6

7

8

9

10

11

12

13

14

15

Цель расчета - определение

М I, R b, Q

M k < 0, R a, Q

M k < 0, Q

M k ≥ 0, Q

R a

1 Боковое давление грунта:

а) от собственного веса

+

+

+

+

+

+

+

+

+

+

+

+

+

+

+

б) от нагрузок на территории

+

+

+

+

+

+

+

+

+

+

+

-

-

-

-

2 Давление воды:

а) фильтрационное р Ф1

-

+

-

+/-

+/-

-

-

+

-

-

+/-

-

-

-

-

б) волновое при подходе ложбины волны р Ф2 1)

-

-

-

-

+

-

-

+

-

-

-

-

-

-

-

3 Давление льда:

а) при навале F s, F w

-

-

+ a)

-

-

-

-

-

+ a)

-

-

+ б)

-

-

-

б) при температурном расширении

-

-

-

-

-

-

-

-

-

+ a)

-

-

-

+ б)

-

в) при изгибе примерзшего льда 2)

-

-

-

-

-

+▲

-

-

-

-

-

-

-

-

+

4 Нагрузки от судов:

а) при навале F q

-

-

-

+ a)

-

-

-

-

-

-

-

-

+ б)

-

-

б) швартовная F s 3)

-

-

-

-

-

-

-

-

+

-

-

-

-

-

+/-

1) Учитывается при высоте волны более 1 м.

2), а) - на уровне анкерных тяг, б) - на уровне верха стены; ▲ - при повышении уровня воды.

3) При отсутствии анкеровки тумбовых массивов.


Таблица 2 - Условия расчетов для лицевых элементов

Номер сочетания нагрузок

1

2, 5

3, 4

6

7

8-10

11-13

14

1 Расстояние от начала эквивалентной нагрузки g до линии кордона

0,5h k

0

Нет нагрузки

2 Поправочные коэффициенты для определения активного давления грунта:

γc1(a)

См. примечание 2

1

См. примечание 2

γc2(a)

1

0,7

1

Уровень воды

min

med 2 min

max

med 1

min

med 2

max

min

Примечания

1 Уровни воды: min - минимальный; max - наивысший, при котором возможна кратковременная нагрузка; med 1 - соответствующий уровню приложения кратковременной нагрузки, med 2 - ниже уровня анкеровки на высоту волны и фильтрационного напора.

2 Поправочный коэффициент для определения давления грунта γc1(a), учитывающий деформацию шпунта и податливость анкеровки, принимается по рекомендациям [2], [3]. Принимая в указанных расчетных сочетаниях γc1(a) = 1, можно занизить M k примерно до 1,3 раза, a R a1 - до 1,6 раза.

Таблица 3 - Нагрузки, входящие в основное сочетание при расчете фундаментных плит

Номер сочетания нагрузок

1

2

3

4

Цель расчета - определение

М > 0, Q, N

М < 0, Q, N, M n

М y, Q y

M k, Q k

1 Нагрузка от собственного веса плиты и веса грунта над ней с учетом взвешивающего действия воды q г1

+

+

+

+

2 Временная нагрузка на поверхности грунта в пределах ширины плиты q 1

+

-

-

+

3 Пригрузка основания от веса грунта засыпки за плитой с учетом взвешивающего действия воды

+

+

-

-

4 Временная нагрузка на поверхности грунта за плитой q 2

-

+

-

-

5 Нижняя опорная реакция R b

+

+

+

-

6 Горизонтальная составляющая анкерного усилия R a

+

+

+

-

7 Силы трения по подошве плиты τ

+

+

-

-

8 Вес лицевого элемента и шапочной балки с учетом взвешивающего действия воды G b

+

+

-

-

Таблица 4 - Условия расчетов для фундаментных плит

Номер сочетания нагрузок

1

2

3

4

1 Корректирующий коэффициент γk при расчете прочности

а) на изгибающий момент при укладке плит под воду без уплотнения постели

0,8

1,25

1

1

б) на изгибающий момент при укладке плит насухо на уплотненную и спланированную постель

1,25

0,8

1

1

2 R a и R b определенные при сочетании нагрузок на лицевой элемент по таблице 1

7

15

1-6

-

Уровень воды

min

min

med

min

Примечание - med - уровень, при котором максимальна R b.

5.14 Расчет общей устойчивости для сооружений 3 и 4 классов допускается вести только методом ломаных поверхностей скольжения в соответствии с ГОСТ Р 58740.

6 Конструкции ряжевые

6.1 Настоящий раздел распространяется на проектирование конструкций из деревянных ряжей (рисунок 4).

Примечания

1 Предпочтение отдается древесине хвойных пород; древесину для ряжевых конструкций отбирают по ГОСТ 9463.

2 Ряжевые конструкции могут быть выполнены из железобетона, металла и других материалов.

3 Ряжевые конструкции могут служить основанием для надстроек (подпорных стен) разных типов (рисунок 4, б).

6.2 При строительстве набережных и подпорных стен применяют деревянные ряжи следующих типов:

а) сплошной рубки или русские;

б) сквозной рубки или американские;

в) смешанного типа;

г) наклонные.

Примечания

1 Отличительной особенностью ряжей сплошной рубки является то, что у них перевязка венцов осуществляется при помощи сложных и тщательно выполненных врубок.

Особенностью ряжей сквозной рубки является отсутствие у них угловых врубок, а часто и сжимов, вместо которых применяют простейшие металлические скрепления.

2 При выборе типа ряжа следует учитывать, что расход древесины на ряжи сквозной рубки примерно на 30-40 % меньше, чем на ряжи сплошной рубки, а изготовление и сборка их проще и легче поддается механизации. Но они требуют для изготовления лес большего диаметра и являются менее жесткой конструкцией, чем ряжи сплошной рубки.

image004.jpg

а) - деревянный ряж сплошной рубки; б) - деревянный ряж сквозной рубки с надстройкой из массивовой кладки

Рисунок 4 - Примеры ряжевых набережных

6.3 Как правило, первый ряд венцов укладывают на выравнивающую постель из камня или щебня.

При наличии в основании стены мелкозернистых песков под каменную постель укладывают слой щебня или гравия.

6.4 Ряжи сплошной рубки (рисунок 5) выполняются из бревен длиной от 6 до 8,5 м и диаметром не менее 20 см, круглых или отесанных на два канта. Длина бревен выбирается такой, чтобы бревно держалось не менее чем на трех врубках.

image005.jpg

а) - из круглых бревен; б) - из отесанных бревен; в) - последовательность забивки ершей; г) - стык бревен в прямой гребень; д), е) - примыкание в лапу поперечных стенок к фасадной; ж), з) - прямой угол фасадной стенки; и) - установка сжимов

Рисунок 5 - Детали конструкций ряжевых набережных сплошной рубки

6.5 В ряжах сплошной рубки:

- клети ряжей в зависимости от размеров ряжа и нагрузок делают квадратными или прямоугольными со сторонами от 1,5 до 4 м, но, как правило, не превышающими 2 м;

- венцы ряжей между собой соединяют ершами из круглого или квадратного железа сечением не менее 16 мм и длиной, в 2,5 раза превышающей высоту венца, прямым гребнем и в разбежку по высоте сооружения;

- в одной клети стыки бревен на одной вертикали должны располагаться не чаще чем через два венца;

- соединение поперечных стенок с лицевой и прямой угол лицевой стенки делают в "лапу";

- внутренние продольные стенки ряжей допускается рубить через одно бревно;

- поперечные стенки в высоких ряжах сплошной рубки крепятся шпонками длиной 1-1,5 м и толщиной от 0,1 м; шпонки ставят наклонно 1:10 по одной в каждой клетке с перехлестом на 1-2 венца.

6.6 Ряжи сквозной рубки (рисунок 6) выполняют из бруса сечением не менее чем 20 х 20 см или из отесанных на два канта бревен сечением не менее 20 см по высоте и не менее 16 см по ширине зоны опирания. Для выполнения поперечных и тыловых стен ряжа допускается применение круглых бревен.

image006.jpg

а) - для поперечных и тыловых продольных стенок; б) - фасадная часть с вкладышами; в) и г) - порядок забивки нагелей; д) - стыки брусьев впритык на подкладках; е) - крепление сжимов

Рисунок 6 - Детали конструкций ряжевых набережных сквозной рубки

6.7 В ряжах сквозной рубки:

- клети ряжей в зависимости от размеров ряжа и нагрузок делают квадратными или прямоугольными со сторонами от 2 до 3 м;

- длина бруса в ряже выбирается такой, чтобы брус опирался не менее чем на три поперечные стены (или врубки);

- венцы в ряже скрепляют нагелями из круглого или квадратного железа (что предпочтительнее) сечением не менее 19 мм и длиной, равной толщине трех скрепляемых брусьев;

- стыки брусьев в ряже делают впритык на подкладках и располагают в разбежку по высоте ряжа;

- в одной клети стыки должны располагаться на одной вертикали не чаще чем через два венца.

6.8 Поперечные стены ряжей рекомендуется выполнять из целых бревен (т.е. без стыков).

6.9 Длина ряжа определяется способом его изготовления, условиями транспортировки и эксплуатации. В частности, при рубке на месте, а также при боковом спуске его со стапеля или льда длина может достигать 80 м и более. В причальных набережных длина ряжа, как правило, принимается равной расстоянию между швартовными тумбами.

6.10 Ширину ряжа следует назначать не менее 1/3 его высоты и не менее 2 м. При большой ширине ряжа между его стенками устраивают продольные и поперечные перегородки. При большой высоте ряжи делают ступенчатыми (см. рисунок 4).

6.11 Высота ряжа назначается с запасом 5 % на осадку, которая обычно за счет осадки венцов деревянного ряжа составляет порядка 2 см на 1 м его высоты.

6.12 Лицевая стенка ряжа может быть обшита слоем брусьев или досок или защищена от истирания льдом и судами металлическими или железобетонными плитами.

6.13 Для обеспечения затопления ряжа в нем рубят днище (пол) из бревен диаметром 13-15 см или брусьев по подтесанному второму поперечному венцу с пришивкой его ершами. Ерши сечением 20 х 20 мм ставят также между венцами на расстоянии не более 2 м друг от друга.

6.14 Со стороны засыпки рекомендуется придавать ряжам ступенчатый профиль.

6.15 Заполнение ряжей выполняется полностью камнем или камнем заполняют только лицевые ячейки, а остальные - гравийно-песчаным грунтом.

6.16 Заполнение внутреннего пространства ряжей должно проводиться до или одновременно с заполнением пазухи сооружения. Перепад уровня грунта в смежных ячейках, как правило, не должен превышать 3 м.

6.17 Тумбовые массивы на причальных набережных рекомендуется устраивать в пределах надстройки.

6.18 В соответствии с ГОСТ 27751, СП 58.13330.2012 и ГОСТ Р 58744.1 расчеты должны проводиться по двум группам предельных состояний. Состав и последовательность расчетов, а также основные сочетания нагрузок и соответствующие расчетные условия зависят от конструкции и конкретных условий строительства. Расчеты выполняют с учетом положений СП 64.13330.2011. Специфическими для этих конструкций являются:

- проверка ряжа на опрокидывание,

- проверка ряжа на перекос;

- проверка на смятие в нижних венцах;

- расчет на изгиб венцов ряжа;

- расчет креплений ряжа.

6.19 При расчете прочности, устойчивости и деформаций ряжевых сооружений нагрузки и их сочетания, в том числе, боковое давление грунта внутри ячеек p ah cl, принимают в соответствии с 4.7-4.9.

6.20 Расчет ряжа на перекос ведется по горизонтальным сечениям, где ширина ряжа резко меняется, а также в месте сопряжения ряжа с надстройкой.

Расчет на перекос сводится к проверке ряжа на сдвиг по рассматриваемым сечениям. При этом силами сопротивления являются трение в заполнении ряжа и трение венца по венцу. Расчет рекомендуется выполнять с помощью той же программы, что расчет общей устойчивости.

6.21 Расчет на смятие в нижних венцах деревянных ряжей относится ко второй группе предельных состояний, так что нагрузки и параметры прочности грунтов вычисляют при коэффициентах надежности, равных единице. Должно соблюдаться условие:

- для ряжей сплошной рубки

∑g/A +∑g(0,5B – e)/I ≤ R,

(1)

- для ряжей сквозной рубки

Pt/(ω + 0,2Ω) ≤ R,

(2)

где ∑g - сумма вертикальных сил на участке сооружения, равном ширине клетки ряжа;

А - площадь передачи нагрузки

A = d(an + B – nd),

(3)

е - эксцентриситет равнодействующей вертикальной нагрузки относительно середины подошвы ряжа;

В - ширина ряжа по низу;

I - момент инерции площади передачи нагрузки

I = {[(n – 1)b + d]3 + n(a – d)(n2 – 1)b2},

(4)

d - диаметр бревна;

а и b - длина и ширина клетки ряжа (в осях стенок);

n - число продольных стенок ряжа;

P t - вертикальное давление на узлы ряжа

Pt = 1,2(Q – qA),

(5)

ω - площадь узла пересечения брусьев сквозного ряжа;

Ω - площадь брусьев клеток в пролетах, приходящихся на один узел пересечения брусьев;

Q - вес засыпки в клетке ряжа;

R - расчетное сопротивление древесины на смятие, определяемое по СП 64.13330.2011.

6.22 Днище ряжа и нижний узел крепления сжима следует проверять на усилия, возникающие при затоплении ряжа каменной наброской.

6.23 При стороне клетки ряжа более 2 м и засыпке песком следует проверять прочность нижних венцов на изгиб.

6.24 Расчеты по деформациям проводят по СП 22.13330.2016, СП 23.13330.2018, при этом максимальное давление р max под подошвой сооружения не должно превышать 1,5R, где R - расчетное сопротивления грунта основания.

6.25 Расчет общей устойчивости выполняют в соответствии с требованиями ГОСТ Р 58740, причем для сооружений 3 и 4 классов расчет допускается вести только методом ломаных поверхностей скольжения.

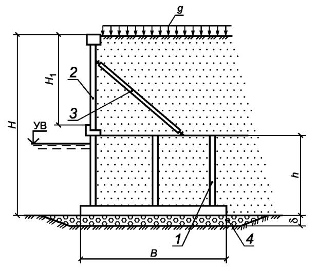
7 Конструкции с использованием массивов-гигантов

7.1 Настоящий раздел распространяется на проектирование набережных из плавучих пустотелых блоков с днищем - массивов-гигантов, в том числе с надстройкой (рисунок 7).

image007.jpg

1 - массив-гигант; 2 - лицевой элемент надстройки; 3 - анкерная тяга; 4 - каменная постель

Рисунок 7 - Набережная из массива-гиганта

Примечания

1 В качестве массива-гиганта могут быть использованы соответствующим образом переоборудованные металлические и железобетонные понтоны, баржи и другие речные суда.

2 Массивы-гиганты бывают двух типов.

Тип 1. Классический тяжелый массив-гигант, рассчитанный на транспортировку по воде с помощью буксира и последующее затопление - установку на постель на объекте таким образом, чтобы его борт был выше строительного уровня воды.

Тип 2. Относительно легкий массив-гигант в виде понтона, рассчитанный на транспортировку с помощью буксира и затопление - установку на постель с помощью плавкрана большой грузоподъемности или при помощи двух-четырех инвентарных понтонов. Использование массивов-гигантов типа 2 позволяет существенно упростить возведение и резко снизить материалоемкость набережной в сравнении с типом 1. Спуск их на воду также может быть осуществлен краном.

3 Массивы-гиганты могут служить основанием для надстроек (подпорных стен) разных типов. Обычно надстройка выполняется из монолитного или сборного бетона или железобетона в виде любой тонкостенной или гравитационной конструкции (уголковой, габионной, ряжевой и пр.).

7.2 Размеры массива-гиганта определяют расчетами устойчивости и прочности, особенностями технологии изготовления и спуска на воду, дальности буксировки, способа установки и пр.

Высота массива-гиганта h типа 1 должна превышать глубину воды в строительный период не менее, чем на 0,5 м. Для массива-гиганта типа 2 это ограничение на высоту отсутствует, обычная высота борта у них от 2,5 до 3,5 м. При этом следует учитывать, что высота надводного борта при транспортировке, как правило, должна быть не менее 1,0 м.

Ширина массива-гиганта по подошве В обычно составляет 0,7-0,9 от высоты набережной Н.

7.3 Длину массива-гиганта L назначают в пределах от 1,5 до 2 В, но иногда и значительно больше. При разнородных грунтах основания, когда возможны неравномерные осадки, длину массива-гиганта принимают минимальной.

Примечание - В пределах одного речного бассейна размеры массива-гиганта, прежде всего его ширина, принимаются унифицированными вне зависимости от высоты сооружения, грунтов основания и полезных нагрузок. Так для Волжского и Камского бассейнов могут быть приняты две ширины по основанию массива - 6 и 9 м. Устойчивость сооружения можно при этом регулировать заглублением массива в основание или его установкой на возвышающуюся над дном постель.

7.4 В массивах-гигантах типа 1 на уровне днища рекомендуется устраивать консольные выступы: у передней стены - не менее 20 см, у задней - до 0,2 В.

7.5 Массивы-гиганты типа 1 могут изготавливаться из плоских железобетонных элементов.

Примечание - Обычно толщина лицевых элементов принимается равной 20 см, элементов средней и задней стенок - 10 см, остальных элементов - 15 см.

7.6 Массивы-гиганты типа 2 могут изготавливаться из ребристых железобетонных днищевых и бортовых элементов, плоских перегородок и сборно-монолитной обвязочной рамы.

Примечание - В железобетонном судостроении для ребристых элементов принята толщина полок 6 см при высоте ребер 20 см. Плиты перегородок могут иметь толщину всего 5 см.

Обвязочная рама обычно состоит из сборных железобетонных поперечных балок шириной 0,4 и высотой 0,8 м, раскладываемых на верхние грани перегородок, объединяемых в единую раму монолитными железобетонными балками по периметру массива с тем же размером сечения.

7.7 Размеры отсеков массива-гиганта определяются конструктивными особенностями массива и надстройки.

Примечания

1 Ширина отсеков вдоль массива обычно составляет 1,5-4,5 м, в поперечном направлении для массивов типа 1 - до 4,5 м, а для массивов типа 2 - до 6 м.

2 При больших ледовых нагрузках в пределах высоты массива ширина отсека, примыкающего к лицевой стенке, может быть уменьшена до 1 м. Этот отсек после установки массива-гиганта заполняется бетоном.

7.8 Заполнение внутреннего пространства массивов-гигантов должно проводиться до или одновременно с заполнением пазухи сооружения.

Перепад уровня грунта в смежных отсеках, как правило, не должен превышать 3 м.

7.9 Массивы-гиганты на перегон оборудуют следующими устройствами: буксирным, якорным, сигнально-отличительным, насосным для откачивания воды из отсеков.

Для исключения рыскания массива и зарывания носовой его части в воду в кормовой части массива устанавливают неподвижный съемный стабилизатор хода, а в носовой - съемный водонепроницаемый фальшборт или носовой обтекатель. На время буксировки массивы-гиганты оборудуют в соответствии с [5].

В массиве-гиганте должны быть предусмотрены закладные детали для закрепления дополнительных понтонов, а для массивов типа 1 также для закрепления кнехтов и площадок с лебедками, необходимых для установки массивов-гигантов на место.

7.10 Массивы-гиганты типа 2 должны быть оборудованы крюками или петлями для подъема массива краном.

При этом следует учитывать, что усилие, воспринимаемое крюком или петлей, зависит не только от веса массива, но и от силы сцепления его подошвы с основанием. Определение этой силы проводится так же, как и для гравитационных якорей.

7.11 Состав и последовательность расчетов, как правило, соответствует приведенным на рисунке 8.

Примечание - Расчет надстройки аналогичен расчету подпорных стен подобной конструкции (уголковой консольной и анкерной, из массивовой кладки и пр.).

image008.jpg

Рисунок 8 - Состав и последовательность расчетов набережной из массивов-гигантов

7.12 Расчет массива-гиганта проводится на местную и общую прочность.

На местную прочность рассчитывают стенки, диафрагмы, консоли, днище, контрфорсы и узлы омоноличивания сборных элементов.

Расчеты рекомендуется вести с помощью современных специализированных программных продуктов, используемых в судостроении.

7.13 Расчет общей прочности массива-гиганта проводится исходя из двух возможных случаев опирания его по длине на постель: концами (рисунок 9, а) и средней частью (рисунок 9, б).

При этом длину опоры х допускается определять по графикам на рисунке 9 в зависимости от длины массива-гиганта L и параметра

Fупр = 3,14E0(Δ – Δp)/p,

(6)

где E 0 - модуль деформации грунта основания;

Δ - максимальный зазор между подошвой массива и поверхностью постели; допускается его принимать при тщательном ровнении постели, в расчете равным 10 см;

Δp - осадка постели за счет ее уплотнения под нагрузкой р; допускается принимать Δp = 0,065, где δ - толщина постели;

р = 5 кН/см.

image009.jpg

а) - для определения максимального положительного изгибающего момента; б) - то же для отрицательного изгибающего момента

Рисунок 9 - Возможные схемы опирания массива-гиганта на постель и графики для определения длины условных опор х

7.14 Расчеты по деформациям проводят по СП 22.13330.2016, СП 23.13330.2018, при этом максимальное давление р max под подошвой сооружения не должно превышать 1,5R, где R - расчетное сопротивления грунта основания.

7.15 Расчет общей устойчивости для сооружений выполняют в соответствии с ГОСТ Р 58740. Следует проверять также устойчивость надстройки.

7.16 Массив-гигант должен обладать необходимой плавучестью и остойчивостью при буксировке, а при буксировке на большие расстояния и непотопляемостью. Массивы-гиганты типа 1 должны обладать остойчивостью и при затоплении, и при установке на постель, причем на каждом этапе заполнения отсеков балластом.

Плавучесть, непотопляемость и остойчивость массивов-гигантов могут быть увеличены, а осадка и крен уменьшены с помощью дополнительных инвентарных понтонов.

7.17 Расчеты непотопляемости обычно проводят для ряда возможных схем затопления отсеков в зависимости от конструкции массива-гиганта.

7.18 Массивы-гиганты буксируются по одному или в связке.

Буксировка массива-гиганта с креном более 10° на большие расстояния не допускается. Оценку величины крена следует определять с учетом ветрового и волнового воздействия. Как правило, буксировка проводится при высоте волны в акватории менее 1 м.

Для устранения крена используется балластировка водой или песком, а также используют специальные понтоны.

7.19 Запас глубины под днищем массива-гиганта (с учетом крена) при его транспортировке должен быть не менее величин, указанных в таблице 5.

Таблица 5 - Минимальный запас глубины под днищем массива-гиганта, м

Расчетная осадка, м

При песчаных, глинистых и галечниковых грунтах

При скальных и крупнообломочных грунтах

на реках и каналах

на водохранилищах и озерах

на реках и каналах

на водохранилищах и озерах

До 1,5

0,10

0,15

0,15

0,30

От 1,5 до 3 включ.

0,15

0,20

0,20

0,40

Более 3

0,20

0,30

0,25

0,50

Библиография

[1]

Технический регламент от 12 августа 2010 г. N 623 "О безопасности объектов внутреннего водного транспорта"

[2]

Проектирование причальных набережных. Пособие к СН-РФ 54.1-85. Книги 1-7. - М.: "Гипроречтранс", 1991

[3]

Даревский В.Э., Романов A.M. Проектирование сооружений, обеспечивающих устойчивость грунтовых массивов (набережные, берегоукрепления, подпорные стены, защита от оползней и пр.)/ Гипроречтранс. - М.: ООО "Издательство Мастер", 2011. - 596 с.

[4]

Проектирование подпорных стен и стен подвалов. Справочное пособие к СНиП 2.09.03-85. - М.: Стройиздат, 1990

[5]

Требования к конструкции судов внутреннего водного транспорта и судовому оборудованию (утверждены распоряжением Минтранса России от 15 мая 2003 г. N НС-59-р)

Последние добавленные документы

Яндекс.Метрика