электронный сборник нормативных документов по строительству
Обновления
18.04.2026 23:02
электронный сборник нормативных документов по строительству

ПНСТ 493-2020 ВНУТРЕННИЙ ВОДНЫЙ ТРАНСПОРТ. ОБЪЕКТЫ ИНФРАСТРУКТУРЫ. НАБЕРЕЖНЫЕ, ПОДПОРНЫЕ СТЕНЫ ТОНКОСТЕННЫЕ (ШПУНТОВЫЕ). ОСОБЕННОСТИ РАСЧЕТА И ПРОЕКТИРОВАНИЯ РАЗЛИЧНЫХ КОНСТРУКЦИЙ

Утв. и введен в действие приказом Федерального агентства по техническому регулированию и метрологии от 30 октября 2020 г. N 109-пнст
Предварительный национальный стандарт ПНСТ 493-2020
"ВНУТРЕННИЙ ВОДНЫЙ ТРАНСПОРТ. ОБЪЕКТЫ ИНФРАСТРУКТУРЫ. НАБЕРЕЖНЫЕ, ПОДПОРНЫЕ СТЕНЫ ТОНКОСТЕННЫЕ (ШПУНТОВЫЕ). ОСОБЕННОСТИ РАСЧЕТА И ПРОЕКТИРОВАНИЯ РАЗЛИЧНЫХ КОНСТРУКЦИЙ"

Inland water transport. Infrastructure objects. Thin-walled embankments, retaining walls (sheet piling). Features of calculation and design of various designs

ОКС 47.060

Срок действия - с 1 января 2021 г.
до 1 января 2024 г.

Предисловие

1 Разработан Некоммерческим партнерством "Ассоциация профессиональных гидротехников "Гипроречтранс" (НП "Ассоциация "Гипроречтранс")

2 Внесен Техническим комитетом по стандартизации ТК 032 "Водный транспорт"

3 Утвержден и введен в действие Приказом Федерального агентства по техническому регулированию и метрологии от 30 октября 2020 г. N 109-пнст

Введение

Настоящий стандарт дополняет положения ГОСТ Р 58744.1.

Применение настоящего стандарта обеспечивает выполнение требований технического регламента [1].

1 Область применения

1.1 Настоящий стандарт устанавливает требования к расчетам и проектированию конструкций набережных и подпорных стен тонкостенных (шпунтовых) объектов инфраструктуры внутреннего водного транспорта, выполненных из металла, железобетона, дерева и синтетических материалов.

1.2 Общие требования к конструкциям, расчетам, исходным данным для них и компьютерным программам изложены в соответствующих сводах правил. Детализацию отдельных положений указанных документов можно найти в [2], [3] и других пособиях.

1.3 Настоящий стандарт распространяется на следующие объекты:

- причальные и другие набережные;

- подпорные стены, в том числе стены камер шлюзов;

- берегоукрепительные сооружения.

Настоящий стандарт не распространяется на:

- конструкции одноанкерные из пластикового шпунта;

- конструкции с анкеровкой парусного типа, использующие высокопрочный гибкий пластик;

- конструкции стен с грунтовым анкером и расширяющимся концевым якорем;

- конструкции тонкостенные с экраном из свайных рядов.

Настоящий стандарт не распространяется на объекты, возводимые в сейсмических районах.

1.4 Настоящий стандарт предназначен к применению на территории Российской Федерации юридическими лицами (индивидуальными предпринимателями) независимо от форм собственности и подчиненности.

2 Нормативные ссылки

В настоящем стандарте использованы нормативные ссылки на следующие документы:

ГОСТ 27751 Надежность строительных конструкций и оснований. Основные положения

ГОСТ Р 58740 Внутренний водный транспорт. Объекты инфраструктуры. Расчеты общей устойчивости. Основные требования

ГОСТ Р 58744.1 Внутренний водный транспорт. Объекты инфраструктуры. Набережные, подпорные стены тонкостенные (шпунтовые). Основные требования к расчету и проектированию

СП 24.13330.2011 "СНиП 2.02.03-85 Свайные фундаменты"

СП 38.13330.2012 "СНиП 2.06.04-82* Нагрузки и воздействия на гидротехнические сооружения (волновые, ледовые и от судов)"

СП 41.13330.2012 "СНиП 2.06.08-87 Бетонные и железобетонные конструкции гидротехнических сооружений"

СП 58.13330.2012 "СНиП 33-01-2003 Гидротехнические сооружения. Основные положения"

СП 101.13330.2012 "СНиП 2.06.07-87 Подпорные стены, судоходные шлюзы, рыбопропускные и рыбозащитные сооружения"

Примечание - При пользовании настоящим стандартом целесообразно проверить действие ссылочных стандартов (сводов правил) в информационной системе общего пользования - на официальном сайте Федерального агентства по техническому регулированию и метрологии в сети Интернет или по ежегодному информационному указателю "Национальные стандарты", который опубликован по состоянию на 1 января текущего года, и по выпускам ежемесячного информационного указателя "Национальные стандарты" за текущий год. Если заменен ссылочный документ, на который дана недатированная ссылка, то рекомендуется использовать действующую версию этого документа с учетом всех внесенных в данную версию изменений. Если заменен ссылочный документ, на который дана датированная ссылка, то рекомендуется использовать версию этого документа с указанным выше годом утверждения (принятия). Если после утверждения настоящего стандарта в ссылочный документ, на который дана датируемая ссылка, внесено изменение, затрагивающее положение, на которое дана ссылка, то это положение рекомендуется применять без учета данного изменения. Если ссылочный документ отменен без замены, то положение, в котором дана ссылка на него, рекомендуется применять в части, не затрагивающей эту ссылку.

3 Термины

В настоящем стандарте применены термины по ГОСТ Р 58744.1.

4 Безанкерные конструкции

4.1 Настоящий раздел распространяется на проектирование безанкерных шпунтовых конструкций, а также других конструкций с аналогичным принципом работы (например, из свай-оболочек с диаметром меньше 0,2 высоты сооружения).

4.2 В соответствии с ГОСТ 27751, СП 58.13330.2012 и ГОСТ Р 58744.1 расчеты должны проводиться по двум группам предельных состояний. При проектировании безанкерных шпунтовых конструкций состав и последовательность расчетов, как правило, соответствуют приведенным на рисунке 1.

4.3 Основные сочетания нагрузок, включающие постоянные, временные длительные и одну из кратковременных нагрузок, принимают по приложению Г СП 58.13330.2012, СП 101.13330.2012, СП 38.13330.2012, [2] и др.

4.4 Применительно к расчету причальных набережных основные сочетания нагрузок принимают по таблице 1. Для подпорных стен другого назначения некоторые из перечисленных нагрузок могут отсутствовать.

4.5 При наличии особых нагрузок следует рассматривать особые сочетания, включающие кроме указанных в таблице 1 одну из особых нагрузок (см. ГОСТ Р 58744.1).

image001.jpg

Рисунок 1 - Состав и рекомендуемая последовательность расчетов безанкерных шпунтовых набережных

4.6 Заглубление шпунта t должно быть не менее определенного при 1-4 сочетаниях нагрузок из таблицы 1, а также требуемого из расчета общей устойчивости сооружения.

Таблица 1 - Нагрузки, входящие в основное сочетание

Номер сочетания нагрузок

1

2

3

4

5

6

7

8

9

Цель расчета - определение

t, M < 0, Q

М < 0

М > 0

1 Боковое давление грунта:

а) от собственного веса

+

+

+

+

+

+

+

+

+

б) от нагрузок на территории

+

+

+

+

+

-

-

-

-

2 Давление воды:

а) фильтрационное р Ф1

-

+

+

+

+

-

-

-

-

б) волновое р Ф2 1)

-

-

+

-

-

-

-

-

-

3 Давление льда:

а) при навале F s, F w

-

-

-

-

-

-

+

-

-

б) при температурном расширении

-

-

-

-

-

-

-

+

-

в) при изгибе примерзшего льда 2)

-

-

-

-

+▼

-

-

-

+▲

4 Нагрузка от судов:

а) при навале F q

-

-

-

-

-

+

-

-

-

б) швартовная F s 3)

-

-

-

+

-

-

-

-

Уровень воды

min

med

min1

med

max

1) При высоте волны более 1 м.

2) ▼ - при понижении уровня воды; ▲ - при повышении уровня воды.

3) При отсутствии анкеровки тумбовых массивов.

Примечания

1 Таблица действует в части, не противоречащей приложению Г СП 58.13330.2012 "СНиП 33-01-2003 Гидротехнические сооружения. Основные положения".

2 М < 0 соответствует растяжению тыловой грани шпунта, М > 0 - лицевой.

- Уровни воды: min - минимальный, min 1 - минимальный судоходный: med - уровень определяется подбором от min и выше, max - наивысший, при котором возможна кратковременная нагрузка.

4.7 Усилия в поперечных сечениях шпунта повышенной жесткости (B≥0,04·H, где Н - свободная высота стены) и его заглубление следует определять с учетом вертикальных составляющих бокового давления грунта. Допускается вместо этого изгибающие моменты М и заглубление шпунта t, определенные в соответствии с 4.6, умножать на корректирующий коэффициент γк = 1 - В/Н, где В - приведенная высота сечения шпунта.

Для сечения с плоской лицевой гранью (плоский, тавровый и прочие шпунты) В = 2е, где е - расстояние от лицевой грани до оси, проходящей через центр тяжести сечения. Для круглого сечения (трубошпунт и т.п.) В ≈ 0,6 d, где d - диаметр сечения.

4.8 При расчете конструкций из шпунта, забитого по волнообразной линии, вертикальные составляющие бокового давления грунта учитывать не следует.

4.9 При расчете конструкций из шпунта, забитого по волнообразной линии, расчетный момент сопротивления стены на 1 м длины сооружения определяется относительно средней линии волны.

4.10 Шапочную балку набережных рассчитывают на усилия от навала судов и ледовые воздействия в соответствии с СП 38.13330.2012 и [2].

4.11 Горизонтальные составляющие активного p ah и пассивного p ph давления грунта определяют по СП 101.13330.2012 и [2], [3]. При этом для сочетаний 6-9 по таблице 1 p ah следует умножать на поправочный коэффициент для определения давления грунта γ2(a) = 0,7.

4.12 При определении давления грунта нужно учитывать влияние способов погружения шпунта, а также различие между засыпанными и отчерпанными стенами.

Примечание - Шпунтовые сваи могут погружаться в грунт следующими способами: забивкой, вибропогружением, задавливанием, подмывом или забивкой с подмывом; или вибропогружением с подмывом, погружением в предварительно пробуренные скважины;

а) при вибропогружении шпунта или если шпунт погружен с подмывом, от уровня дна, а затем пазуха засыпана несвязным грунтом, то активное давление грунта определяют с учетом трения грунта о стену φs ≈ (2/3)φ;

б) если шпунт забит на всю длину, а затем отчерпан с одной стороны, то трение по стене направлено в противоположную сторону и может даже оказаться φs = –φ, что приведет к существенно большей величине активного давления грунта, чем в случае а).

Примечания

1 Например, при φ = 30° коэффициент активного давления λah равен: 0.27 - при φs = (2/3)φ, 0,74 - при φs = –φ.

2 Кроме того, в допредельном состоянии надо учитывать, что если при забивке шпунта или труб происходит распирание грунта и на них с двух сторон будет действовать реактивное, а для плотных грунтов даже пассивное давление, то после отчерпания на них будет действовать часть этого давления с λrh > λah. Причем остается такое давление, которое соответствует условиям равновесия всех сил, действующих на шпунт. Однако при проектировании давление грунта в допредельном состоянии учитывать не следует.

При этом песчаный грунт, не обладающий большой плотностью, может уплотниться вблизи шпунта или труб с повышением коэффициента постели К.

3 Глинистые грунты, особенно так называемые "переуплотненные", и полускальные грунты могут вести себя иначе: при забивке шпунта или труб может быть частично или полностью сорвано сцепление в значительной зоне, и, как следствие, активное давление грунта будет выше ожидаемого, а пассивное ниже;

в) если шпунт забит и частично отчерпан и частично засыпан, то в этом случае все зависит от соотношения длин забитой, отчерпанной и засыпанной части. Но, как правило, условия приближаются к тем, что и в случае а).

Примечание - Это объясняется тем, что основное влияние на изгибающие моменты оказывает засыпанная часть, как наиболее удаленная от сечения, с максимальным изгибающим моментом, а сама засыпка своим весом создает условия для смещения грунта в забитой части вниз относительно шпунта с соответствующим изменением знака при φs с отрицательного на положительный.

4.13 Следует учитывать, что если шпунт прошел сквозь слой слабого грунта и защемился в подстилающем более плотном грунте, то из-за недостаточности деформаций шпунта в пределах слабого слоя в нем может не развиться расчетное пассивное давление, в то время как устойчивость стены будет обеспечена защемлением в более плотном грунте. Из-за этого в шпунте могут возникнуть большие изгибающие моменты, чем из обычного расчета, при котором принимается реализация пассивного давления в зоне отпора во всех слоях грунта.

Примечания

1 Учет различной податливости слоев грунта может дать увеличение изгибающего момента в шпунте до 1,5 раза.

2 Решение задачи при любом числе слоев грунта с разной податливостью может быть осуществлено с использованием существующего специализированного программного обеспечения или по [2, 3].

4.14 Если в пределах заглубления шпунта имеются грунты, несущая способность которых может изменяться во времени, например недоуплотненные глинистые грунты, мерзлые и оттаивающие грунты и другие, необходимо дополнительно выполнить расчеты с учетом возможного изменения прочностных характеристик грунта по соответствующим методикам или с привлечением в необходимых случаях специализированных организаций.

4.15 Расчет по деформациям следует проводить только для шпунта, используя существующее специализированное программное обеспечение, или по [2]. При основных сочетаниях нагрузок 1-4 из таблицы 1 (при коэффициентах надежности по нагрузке и грунту, равных единице) горизонтальные смещения верха шпунта U, как правило, не должны превышать Ulim = 0,02·H, если нет других ограничений (например, связанных с эксплуатацией подъемно-транспортного и иного оборудования).

4.16 Расчеты железобетонных элементов по образованию или раскрытию трещин следует проводить в соответствии с указаниями СП 41.13330.2012. Расчеты следует вести на усилия, определенные для тех же расчетных условий и теми же способами, что и для расчетов прочности, но нагрузки и характеристики грунтов вычислять при коэффициентах надежности по нагрузке и грунту, равных единице.

Допускается использовать усилия, полученные для расчетов прочности, умноженные на корректирующий коэффициент γк = 0,85. Если при этом не обеспечивается требуемая трещиностойкость и величина раскрытия трещин, то для рассматриваемой расчетной схемы следует выполнить уточненные расчеты по определению усилий.

4.17 Если при относительно большой высоте стены используется плоский стальной шпунт, забитый по волнообразной в плане линии, то рекомендуется принимать длину полуволны в пределах 6-8 м, а высоту волн - не более 2,5 м.

Погружение шпунта целесообразно проводить пакетами из предварительно сваренных замками двух-трех и более свай.

4.18 При H < 4 м и слабых грунтах основания рекомендуется погружать шпунт со строительным наклоном на засыпку 2° - 4°. При специальном обосновании допускается увеличение наклона, что должно учитываться в расчете.

5 Одноанкерные конструкции

5.1 Настоящий раздел распространяется на проектирование одноанкерных шпунтовых конструкций с анкеровкой тягами за анкерные опоры, в частности вертикальные плиты (рисунок 2), анкерные стены, кусты свай, старые сооружения и пр.

image002.jpg

1 - шпунт, 2 - анкерная опора (плита), 3 - анкерная тяга, 4 - шапочная балка

Рисунок 2 - Схема к определению расстояния до анкерной опоры

5.2 Шпунт рассчитывают на действие следующих усилий:

а) изгибающего момента М 1 в пролетной части шпунта, растягивающего лицевую грань, и продольной сжимающей силы (если анкерная тяга имеет наклон более 10°);

б) изгибающего момента на консоли, растягивающего тыловую грань шпунта (М k < 0);

в) изгибающего момента на консоли, растягивающего лицевую грань шпунта (М k > 0);

г) изгибающего момента М 3 в защемленной части шпунта, растягивающего тыловую грань шпунта;

д) поперечных сил Q на уровне крепления анкерной тяги и в защемленной части шпунта.

Примечания

1 Расчетная схема шпунта представляет собой балку неопределенной длины, имеющей заделку в грунте основания и шарнирную опору в месте крепления анкера. Усилия в поперечных сечениях шпунта и его заглубление t предварительно находят и окончательно уточняют, используя существующее специализированное программное обеспечение, или графоаналитическим методом упругой линии [2].

2 Расчеты одноанкерных конструкций относятся к приближенным методам вариационного исчисления. При имеющихся ограничениях на габариты сооружения, на прочность конструктивных материалов и деформации ставятся функции цели. Ими могут быть: минимизация стоимости сооружения, полное использование прочности и/или длины имеющегося в наличии шпунта и другие. Поэтому реальных решений может быть несколько. Так, например, увеличение заглубления шпунта может снизить расчетные усилия в нем и анкере, уменьшить расстояние до анкерной опоры; на заглубление шпунта и усилия в нем влияет положение анкерной опоры и пр. Это осложняет проектирование даже при использовании современной вычислительной техники и требует высокой квалификации инженера.

5.3 Из статического расчета шпунта определяется величина анкерного усилия R a.

Если предварительное натяжение тяг или зависание грунта на тягах увеличивают анкерное усилие R a сверх полученного из статического расчета на ΔRa, то необходимо так изменить расчетную схему, чтобы в результате получить статическое равновесие с заданной анкерной реакцией.

Примечание - Наиболее просто удовлетворить приближенно это требование, если ΔRa приложить к шпунту в виде дополнительного давления с эпюрой, симметричной относительно уровня анкеровки. Однако практически достаточно увеличить изгибающий момент на уровне анкеровки М k на величину ΔMk = ΔRahk/6.

Рекомендации по проектированию анкерных устройств приведены в [2], [3] и др.

5.4 Расстояние L a от шпунта до анкерной опоры (см. рисунок 2) зависит от заглубления шпунта t и анкерной опоры t 1.

Минимальное расстояние L a определяют из двух условий:

а) обеспечение общей устойчивости сооружения вместе с анкерной опорой, в частности анкерной плитой и пр.;

б) обеспечение устойчивости анкерной опоры, в частности анкерной плиты и прочего при определении усилий в шпунте и тягах, в том числе и тогда, когда по условию общей устойчивости анкеровка не требуется.

Чтобы принятая расчетная схема шпунта была обеспечена, необходимо для всех сечений по высоте стены соблюдение условия Е h1 ≥ E h2, где Е h1 - величина полного давления грунта и воды на стену выше рассматриваемого сечения, E h2 - то же, но при условии прохождения поверхности скольжения через низ анкерной плиты.

Примечания

1 Как правило, достаточно убедиться в указанном выше только для сечения с максимальным моментом в заделке М 3, а при М 3 = 0 - для низа шпунта. Для этого сечения указанное выше условие равнозначно условию обеспечения общей устойчивости стены по ломаным поверхностям скольжения при заглублении до указанного выше сечения.

2 Расчеты показали, что при хороших грунтах основания и песчаной засыпке приближение анкерной плиты до La = 1,5·H и даже несколько ближе не оказывает заметного влияния на работу шпунта. Более близкое расположение анкерной опоры приводит к тому, что анкерная реакция должна быть ограничена, поскольку приближение анкерной опоры может вызвать увеличение нагрузки на шпунт в средней и нижней части. Новая расчетная схема оказывается промежуточной между принятыми для одноанкерной и безанкерной шпунтовых стенах. Такая схема приводит к увеличению требуемого заглубления шпунта и изгибающего момента. Например, для Н = 12 м в песчаных грунтах при L a = 12 м вместо 18 м требуется увеличение заглубления шпунта с 6 до 9 м, изгибающего момента в пролете в 1,5 раза и в защемлении - в 2 раза.

5.5 В соответствии с ГОСТ 27751, СП 58.13330.2012 и ГОСТ Р 58744.1 расчеты должны проводиться по двум группам предельных состояний. Состав и последовательность расчетов, как правило, соответствуют приведенным на рисунке 3.

image003.jpg

Рисунок 3 - Состав и рекомендуемая последовательность расчетов одноанкерных шпунтовых набережных

5.6 Основные сочетания нагрузок, включающие постоянные, временные длительные и одну из кратковременных нагрузок, принимают по приложению Г СП 58.13330.2012, СП 101.13330.2012, СП 38.13330.2012, [2] и др.

5.7 Применительно к расчету причальных набережных принимаются по таблицам 2 и 3. Для подпорных стен другого назначения некоторые из перечисленных нагрузок могут отсутствовать.

5.8 При наличии особых нагрузок следует рассматривать особые сочетания, включающие кроме указанных в таблице 2 одну из особых нагрузок (см. ГОСТ Р 58744.1).

5.9 Заглубление шпунта t должно быть не меньше:

а) определенного по 5.4 при сочетаниях нагрузок 1-3 из таблицы 2;

б) для набережных, как правило, 2,5 м и 0,35 Н, где Н - высота стены от проектного дна (чтобы обеспечить надежность сооружения против случайных местных вымоин, перебора при землечерпании, гарантировать устойчивость грунта против суффозии и др.).

5.10 Расчеты устойчивости допускается вести только методом ломаных поверхностей скольжения в соответствии с ГОСТ Р 58740.

5.11 Горизонтальные составляющие активного p ah и пассивного p ph давления грунта определяют по СП 101.13330.2012 и [2], [3], с учетом 4.11-4.14 и поправочных коэффициентов из таблицы 3.

Таблица 2 - Нагрузки, входящие в основное сочетание


Номер сочетания нагрузок

1

2

3

4

5

6

7

8

9

10

11

12

13

14

15

Цель расчета - определение

t, М 1, М 3, Q

М 1, М 3, Q

М k < 0

Q, М 3, R a

M k < 0, М 3, Q

M k > 0, Q

R a, Q

1 Боковое давление грунта:

а) от собственного веса

+

+

+

+

+

+

+

+

+

+

+

+

+

+

+

б) от нагрузок на территории

+

+

+

+

+

+

+

+

+

+

+

-

-

-

+

2 Давление воды:

а) фильтрационное р Ф1

-

+

+

+

-

+

-

-

-

-

-

-

-

-

+

б) волновое, при подходе ложбины волны р Ф2 1)

-

-

+

-

-

-

-

-

-

-

-

-

-

-

-

3 Давление льда:

а) при навале F s, F w 2)

-

-

-

+

-

-

-

-

+ *

-

-

+ **

-

-

-

б) при температурном расширении 2)

-

-

-

-

-

-

-

-

-

+ *

-

-

+ **

-

-

в) при изгибе примерзшего льда 3)

-

-

-

-

+▲

-

-

-

-

-

-

-

-

-

-

4 Нагрузки от судов:

а) при навале F q 2)

-

-

-

-

-

+

-

-

-

-

+ *

-

-

+ **

-

б) швартовная F s 4)

-

-

-

-

-

-

+

+

-

-

-

-

-

-

-

1) Учитывается при высоте волны более 1 м.

2) * - на уровне верха анкерных тяг; ** - на уровне верха стены.

3) ▲ - при повышении уровня воды.

4) При отсутствии анкеровки тумбовых массивов.

Примечание - М < 0 соответствует растяжению тыловой грани шпунта, М > 0 - лицевой.


5.12 Шапочную балку набережных рассчитывают на усилия от навала судов и ледовые воздействия в соответствии с СП 38.13330.2012 и [2].

5.13 Расчет по деформациям шпунта, анкерных тяг, шапочных балок и распределительных поясов допускается не проводить.

Расчет по деформациям анкерных опор, в том числе вертикальных анкерных плит, грунтовых и других анкеров проводят по первой группе предельных состояний при тех же значениях R a, что и в расчете их прочности.

Таблица 3 - Условия расчетов

Номер сочетания нагрузок

1

2

3

4

6

5

7

8

9

10

11

12

13

14

15

1 Расстояние, м, от начала эквивалентной нагрузки g до линии кордона

0,5h k

0

Нет нагрузки

0

2 Поправочные коэффициенты для определения давления грунта:

активного γc1(a)

См. примечание 2

активного γc2(a)

1

0,7

1

пассивного γc2(p)

1

1,4

1

Уровень воды

min 1

med 1

min 1

max 2

min 1

min 1

med 2

med 3

max 1

max 2

med 1

min 1

Примечания

1 Уровни воды: min 1 - минимальный, min 2 - наинизший, при котором возможна кратковременная нагрузка; max 1 - максимальный, max 2 - наивысший, при котором возможна кратковременная нагрузка, med 1 - ниже уровня анкеровки на высоту волны и/или фильтрационного напора, med 2 - на уровне анкеровки, med 3 - соответствующий уровню приложения кратковременной нагрузки.

2 Поправочный коэффициент для определения давления грунта γc1(a), учитывающий деформацию шпунта и податливость анкеровки, принимается по рекомендациям [2, 3]. Принимая в указанных расчетных сочетаниях γc1(a) = 1, можно занизить M k примерно до 1,3 раза, a R a - до 1,6 раза.

5.14 Расчеты железобетонных элементов по образованию или раскрытию трещин следует вести на усилия, определенные из тех же расчетных условий и теми же способами, что и для расчета прочности, но нагрузки и характеристики грунтов вычисляют при коэффициентах надежности, равных единице.

Допускается использовать усилия, полученные для расчетов прочности, умноженные на корректирующий коэффициент γk = 0,7 - для М 1 и М 3 и γk = 0,85 - для других усилий. Если при этом не обеспечивается требуемая трещиностойкость и величина раскрытия трещин, то для рассматриваемой расчетной схемы следует выполнить уточненные расчеты по определению усилий.

5.15 Полки железобетонного шпунта таврового или ребристого профиля в местах примыкания их к ребру рассчитывают на действие положительных и отрицательных изгибающих моментов.

При этом полка шпунта таврового профиля рассматривается как консольная балка, а плита между ребрами ребристого шпунта - как балка, заделанная по концам. Допускается расчетную ширину балки по высоте шпунта принимать равной 10δ (δ - толщина полки или плиты), а в пределах ширины балки нагрузку осреднять.

Рассматривают два случая. Для первого наиболее опасные сечения и соответствующие им нагрузки выбирают на основании анализа суммарных эпюр давления грунта и воды для всех рассмотренных расчетных схем. Во втором изгибающие моменты, вызванные навалом судна при подходе к сооружению, определяют по указаниям [2].

5.16 Стальные шпунтовые сваи могут быть погружены через одну на разную глубину. При размере ступени около 1 м это не скажется на расчете стены. При большей величине ступени следует принимать расчетную глубину погружения шпунта близкой к средней.

6 Конструкции с надстройкой

6.1 Настоящий раздел распространяется на проектирование одноанкерных шпунтовых конструкций с надстройкой в виде тонких лицевых элементов, опирающихся на шапочную балку шпунта и заанкеренных тягами за вертикальные анкерные плиты (см. рисунок 4).

Набережные и подпорные стены с надстройками других типов проектируются по аналогии с рассматриваемой конструкцией.

6.2 Лицевой элемент надстройки рассчитывают на действие следующих усилий:

а) изгибающего момента М 1 в пролетной части, растягивающего лицевую грань;

б) изгибающего момента на консоли, растягивающего тыловую грань (M k < 0);

в) изгибающего момента на консоли, растягивающего лицевую грань (M k > 0);

г) поперечных сил Q на уровне крепления анкерной тяги и нижней опорной реакции надстройки.

image004.jpg

1 - шпунтовая стена; 2 - лицевой элемент надстройки; 3 - анкерная опора шпунтовой стены; 4 - анкерная опора надстройки; 5 - шапочная балка шпунтовой стены; 6 - шапочная балка надстройки; 7 и 8 - анкерные тяги

Рисунок 4 - Схема одноанкерной шпунтовой стены с заанкеренной надстройкой

6.3 Из статического расчета шпунта и элемента определяют величины анкерных усилий R a и R а1 (см. 5.3).

6.4 Расстояние L а1 от лицевого элемента до анкерной плиты надстройки должно быть не менее 1,3H 1 и не менее требуемого для обеспечения общей устойчивости надстройки с учетом силы сопротивления упора шапочной балки шпунта. Эта сила принимается равной нижней опорной реакции R B, определяемой при сочетании нагрузок 5 (см. таблицу 4), дающем максимальное значение анкерной реакции R а1 надстройки.

6.5 При расчете шпунта следует пользоваться указаниями раздела 5.

Учесть влияние силы R а1 со стороны анкерной опоры надстройки позволяет вариационный метод определения давления грунта, однако эпюру давления грунта p ah допускается определять без учета влияния этой силы.

Допускается выполнять расчеты шпунта, прикладывая к шапочной балке шпунта только величину нижней опорной реакции надстройки R B, полученную при сочетании нагрузок 5 (см. таблицу 4), а эквивалентную нагрузку g на территории располагать непосредственно от линии кордона. При этом при использовании рекомендаций раздела 5 за высоту стены следует принимать H s, т.е. без высоты надстройки.

6.6 Минимальное расстояние L a от шпунта до анкерной плиты шпунта определяется по рекомендациям раздела 5.

6.7 В соответствии с ГОСТ 27751, СП 58.13330.2012 и ГОСТ Р 58744.1 расчеты должны проводиться по двум группам предельных состояний. Состав и последовательность расчетов, как правило, соответствуют приведенным на рисунке 5.

6.8 Основные сочетания нагрузок, включающие постоянные, временные длительные и одну из кратковременных нагрузок, принимают по приложению Г СП 58.13330.2012, СП 101.13330.2012, СП 38.13330.2012, [2] и др.

6.9 Применительно к расчету причальных набережных принимают по таблицам 4 и 5. Для подпорных стен другого назначения некоторые из перечисленных нагрузок могут отсутствовать.

6.10 При наличии особых нагрузок следует рассматривать особые сочетания, включающие, кроме указанных в таблице 4, одну из особых нагрузок (см. ГОСТ Р 58744.1).

image005.jpg

Рисунок 5 - Состав и рекомендуемая последовательность расчетов одноанкерных шпунтовых набережных с надстройкой

Таблица 4 - Нагрузки, входящие в основное сочетание


Номер сочетания нагрузок

1

2

3

4

5

6

7

8

9

1

2

3

4

5

6

7

Цель расчета - определение

в элементе надстройки

в шпунте

M 1, R B, Q

M k < 0

R B, R a1, Q

M k < 0

Q

M k > 0

Q

t, M 1, M 3, M k < 0

R a1, Q

M 1, Q

M k > 0

M 1

Q

1 Боковое давление грунта:

а) от собственного веса

+

+

+

+

+

+

+

+

+

+

+

+

+

б) на территории

+

+

+

-

-

+

+

+

+

+

+

+

+

+

2 Давление воды:

а) фильтрационное р Ф1

-

-

-

-

-

-

-

-

-

-

+

+

+

+

+

+

б) волновое, при подходе ложбины волны р Ф2 1)

-

-

-

-

-

-

-

-

-

-

-

+

-

-

-

-

3 Давление льда:

а) при навале F B, F w 2)

-

+ а)

-

-

-

+ а)

-

+ б)

-

-

-

-

+ в)

-

-

-

б) при температурном расширении 2)

-

-

-

-

-

-

-

-

-

-

-

-

-

+ г)

-

-

в) при изгибе примерзшего льда

-

-

-

-

-

-

-

-

-

-

-

-

-

-

-

-

4 Нагрузки от судов:

а) при навале F q 2)

-

-

+ а)

-

-

-

+ а)

-

+ б)

-

-

-

-

-

+ г)

-

б) швартовная F s 3)

-

-

-

-

+

-

-

-

-

-

-

-

-

-

-

-

От надстройки R B

-

-

-

-

-

-

-

-

-

+

+

+

+

+

+

+

1) Учитывается при высоте волны более 1 м.

2) а - на уровне верха анкерных тяг и выше; б - на уровне верха; в - на уровне анкерных тяг; г - на уровне шапочной балки.

3) Учитывается при отсутствии анкеровки тумбовых массивов.

Таблица 5 - Условия расчетов

Номер сочетания нагрузок

Для элемента надстройки

Для шпунта

1

2

3

4

5

6

7

8

9

1

2

3

4-6

7

1 Расстояние от начала эквивалентной нагрузки g до линии кордона

0,5h k1

0

0

2 Поправочные коэффициенты для определения давления грунта:

γc1(a)

1

*)

1

*)

γc2(a)

1

1

0,7

1

γc2(p)

-

-

1

3 Уровень воды

min 1

max

med 1

min 1

min 1

med 2

max

min 1

med 1

min 1

med 2

min 2

Примечания

1 Уровни воды: min 1 - минимальный, min 2 - наинизший, при котором возможна кратковременная нагрузка; max - наивысший, при котором возможна кратковременная нагрузка, med 1 - ниже уровня анкеровки на высоту волны и фильтрационного напора, med 2 - соответствующий уровню приложения кратковременной нагрузки.

2 *) - поправочный коэффициент при определении давления грунта γc1(a), учитывающий деформацию шпунта и податливость анкеровки, принимается по рекомендациям [1], [2].

6.11 Заглубление шпунта t должно быть не меньше определенного по 5.9, 5.10.

6.12 Горизонтальные составляющие активного p ah и пассивного p ph давления грунта определяют по СП 101.13330.2012 и [2], [3], с учетом 4.10-4.12 и поправочных коэффициентов из таблицы 5.

6.13 Шапочную балку набережных рассчитывают на усилия от навала судов и ледовые воздействия в соответствии с СП 38.13330.2012 и [2].

Упорный зуб шапочной балки шпунта рассчитывают на действие максимальной опорной реакции надстройки R B и изгибающего момента Mu = RB·hu, где h u - высота упорного зуба, принимаемая равной 0,15-0,25 м.

6.14 Расчет по деформациям шпунта, анкерных тяг, шапочных балок и распределительных поясов, анкерных опор, в том числе вертикальных анкерных плит, грунтовых и других анкеров выполняют в соответствии с 5.13.

6.15 Расчеты железобетонных элементов по образованию или раскрытию трещин следует проводить по 5.12.

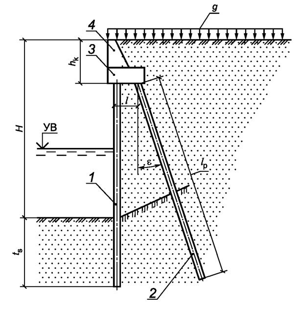
7 Конструкции, заанкеренные наклонными сваями

7.1 Настоящий раздел распространяется на проектирование конструкций из шпунта, заанкеренного наклонными сваями (рисунок 6).

Примечание - Обычно принимают:

- наклон свай к вертикали в диапазоне от 3:1 до 2,5:1 (ε = 18 ÷ 22°);

- ширину ригеля в пределах 1,2-1,6 м, высоту в пределах 1,0-1,4 м, расчетную длину l, равную расстоянию между осями шпунта и сваи на уровне низа ригеля.

image006.jpg

1 - шпунт; 2 - свая; 3 - ригель; 4 - стенка верхнего строения

Рисунок 6 - К расчету шпунтовой набережной, заанкеренной наклонными сваями

7.2 В соответствии с ГОСТ 27751, СП 58.13330.2012 и ГОСТ Р 58744.1 расчеты должны проводиться по двум группам предельных состояний. Состав и последовательность расчетов, как правило, соответствуют приведенным на рисунке 7.

image007.jpg

Рисунок 7 - Состав и последовательность расчетов

7.3 Основные сочетания нагрузок, включающие постоянные, временные длительные и одну из кратковременных нагрузок, принимают по приложению Г СП 58.13330.2012, СП 101.13330.2012, СП 38.13330.2012, [2] и др.

7.4 Применительно к шпунтовой набережной, заанкеренной наклонными сваями, для определения усилий в шпунте и сваях, а также их заглубления основные сочетания нагрузок должны включать следующие постоянные и временные длительные нагрузки:

- боковое давление грунта с учетом временных вертикальных и горизонтальных нагрузок на территории,

- фильтрационное давление воды, действующее на шпунт;

- вертикальную нагрузку от веса ригеля, грунта и временной нагрузки над ригелем; а также одну из следующих кратковременных нагрузок:

- волновое давление при подходе ложбины волны (только для набережных при высоте волны более 1 м);

- нагрузку от навала судна при подходе его к сооружению, только для набережных, если возможен навал в пределах ригеля (при возможности навала ниже ригеля следует устраивать пониженный козырек);

- нагрузку от воздействия льда в пределах ригеля (только для набережных);

- нагрузку от примерзшего ледяного покрова при изменении уровня воды;

- нагрузку от натяжения швартовых (только для причальных набережных) при отсутствии анкеровки тумбовых массивов.

Временная нагрузка на территории должна располагаться непосредственно от линии кордона.

При отсутствии кратковременных нагрузок для набережных уровень воды в акватории принимается наинизшим, а при их наличии - на отметках, при которых возможно их действие.

Для подпорных стен другого назначения некоторые из перечисленных нагрузок могут отсутствовать.

7.5 При наличии особых нагрузок следует рассматривать особые сочетания, включающие кроме указанных в 7.4 одну из особых нагрузок (см. ГОСТ Р 58744.1).

7.6 Заглубление шпунта t s и длина свай l р должны быть не менее определенных:

- из расчета рамной системы при расчетных условиях по 7.4;

- из расчета общей устойчивости сооружения;

- из расчета несущей способности основания шпунта и свай в соответствии с СП 24.13330.2011.

Для исключения потери местной устойчивости грунта и суффозии заглубление шпунта, как правило, не должно быть менее 1,5 м.

7.7 Стенку верхнего строения рассчитывают на те же усилия и при тех же расчетных условиях, что и консольную часть одноанкерных шпунтовых стен, но при определении активного давления грунта принимают поправочный коэффициент γc1(a) = 1.

7.8 Расчет общей устойчивости допускается вести только методом ломаных поверхностей скольжения с учетом сопротивления свай перерезыванию при пересечении их поверхностью скольжения в соответствии с ГОСТ Р 58740.

Библиография

[1]

Технический регламент от 12 августа 2010 г. N 623 "О безопасности объектов внутреннего водного транспорта"

[2]

Проектирование причальных набережных: Пособие к СН.РФ 54.1-85. - Книги 1-7 - М.: Гипроречтранс, 1991.

[3]

Даревский В.Э., Романов A.M. Проектирование сооружений, обеспечивающих устойчивость грунтовых массивов (набережные, берегоукрепления, подпорные стены, защита от оползней и пр.)/ Гипроречтранс - М.: ООО "Издательство Мастер", 2011. - 596 с.

Последние добавленные документы

Яндекс.Метрика