электронный сборник нормативных документов по строительству
Обновления
14.05.2026 22:30
электронный сборник нормативных документов по строительству

СанПиН 2.2.1/2.1.1.1076-01 (10.04.2017) ГИГИЕНИЧЕСКИЕ ТРЕБОВАНИЯ К ИНСОЛЯЦИИ И СОЛНЦЕЗАЩИТЕ ПОМЕЩЕНИЙ ЖИЛЫХ И ОБЩЕСТВЕННЫХ ЗДАНИЙ И ТЕРРИТОРИЙ

Утв. Главным государственным санитарным врачом РФ 19 октября 2001 г.
Постановление Главного государственного санитарного врача РФ от 25 октября 2001 г. N 29
"О введении в действие СанПиН 2.2.1/2.1.1.1076-01"

С изменениями:

(10 апреля 2017 г.)

На основании Федерального закона от 30 марта 1999 г. N 52-ФЗ "О санитарно-эпидемиологическом благополучии населения" и Положения о санитарно-эпидемиологическом нормировании, утвержденного постановлением Правительства Российской Федерации от 24 июля 2000 г. N 554*, постановляю:

Ввести в действие санитарные правила и нормы "Гигиенические требования к инсоляции и солнцезащите помещений жилых и общественных зданий и территорий. СанПиН 2.2.1/2.1.1.1076-01", утвержденные Главным государственным санитарным врачом Российской Федерации 19 октября 2001 г., с 1 февраля 2002 г.

Г.Г.Онищенко

Зарегистрировано в Минюсте РФ 12 ноября 2001 г.

Регистрационный N 3026

Санитарные правила и нормы СанПиН-2.2.1/2.1.1.1076-01
"ГИГИЕНИЧЕСКИЕ ТРЕБОВАНИЯ К ИНСОЛЯЦИИ И СОЛНЦЕЗАЩИТЕ ПОМЕЩЕНИЙ ЖИЛЫХ И ОБЩЕСТВЕННЫХ ЗДАНИЙ И ТЕРРИТОРИЙ"

Дата введения с 1 февраля 2002 г.

1. Область применения и общие положения

1.1. Санитарные правила и нормы "Гигиенические требования к инсоляции и солнцезащите помещений жилых и общественных зданий и территорий" (далее - санитарные правила) устанавливают гигиенические требования к инсоляции и солнцезащите жилых и общественных зданий и территорий жилой застройки.

1.2. Санитарные правила предназначены для организаций, занимающихся проектированием, строительством и реконструкцией жилых, общественных зданий и территорий жилой застройки городов, поселков и сельских населенных пунктов, а также учреждений государственной санитарно-эпидемиологической службы.

1.3. Гигиеническая оценка инсоляции и солнцезащиты жилых и общественных зданий и территорий жилой застройки проводится для установления соответствия настоящим санитарным правилам.

Расчеты инсоляции являются обязательным разделом в составе предпроектной и проектной документации.

1.4. Соблюдение санитарных правил является обязательным для граждан, индивидуальных предпринимателей и юридических лиц, занимающихся проектированием, строительством, реконструкцией и эксплуатацией объектов.

1.5. Контроль за выполнением нормативных правовых актов санитарного законодательства осуществляется органами и учреждениями государственной санитарно-эпидемиологической службы Российской Федерации.

2. Общие требования к инсоляции

2.1. Требования к облучению поверхностей и пространств прямыми солнечными лучами (инсоляции) предъявляются при размещении объектов, в проектах планировки и застройки микрорайонов и кварталов, проектов строительства и реконструкции отдельных зданий и сооружений и при осуществлении надзора за строящимися и действующими объектами.

2.2. Выполнение требований норм инсоляции достигается размещением и ориентацией зданий по сторонам горизонта, а также их объемно-планировочными решениями.

2.3. Инсоляция является важным фактором, оказывающим оздоравливающее влияние на среду обитания человека и должна быть использована в жилых, общественных зданиях и на территории жилой застройки.

Продолжительность инсоляции регламентируется в:

- жилых зданиях;

- детских дошкольных учреждениях;

- учебных учреждениях общеобразовательных, начального, среднего, дополнительного и профессионального образования, школах-интернатах, детских домах и др.;

- лечебно-профилактических, санаторно-оздоровительных и курортных учреждениях;

- учреждениях социального обеспечения (домах-интернатах для инвалидов и престарелых, хосписах и др.).

2.4. Нормативная продолжительность инсоляции устанавливается на определенные календарные периоды с учетом географической широты местности:

- северная зона (севернее 58° с.ш.) - с 22 апреля по 22 августа;

- центральная зона (58° с.ш.- 48° с.ш.) - с 22 апреля по 22 августа;

- южная зона (южнее 48° с.ш.) - с 22 февраля по 22 октября.

2.5. Нормируемая продолжительность непрерывной инсоляции для помещений жилых и общественных зданий устанавливается дифференцированно в зависимости от типа квартир, функционального назначения помещений, планировочных зон города, географической широты:

- для северной зоны (севернее 58° с.ш.) - не менее 2, 5 часов в день с 22 апреля по 22 августа;

- для центральной зоны (58° с.ш.-48° с.ш.) - не менее 2 часов в день с 22 апреля по 22 августа;

- для южной зоны (южнее 48° с.ш.) - не менее 1, 5 часов в день с 22 февраля по 22 октября.

3. Требования к инсоляции жилых зданий

3.1. Продолжительность инсоляции в жилых зданиях должна быть обеспечена не менее чем в одной комнате 1-3-комнатных квартир и не менее чем в двух комнатах 4-х и более комнатных квартир.

3.2. В зданиях общежитий должно инсолироваться не менее 60% жилых комнат.

3.3. Допускается прерывистость продолжительности инсоляции, при которой один из периодов должен быть не менее 1, 0 часа. При этом суммарная продолжительность нормируемой инсоляции должна увеличиваться на 0, 5 часа соответственно для каждой зоны.

3.4. Допускается снижение продолжительности инсоляции на 0, 5 часа для северной и центральной зон в двухкомнатных и трехкомнатных квартирах, где инсолируется не менее двух комнат, и в многокомнатных квартирах (четыре и более комнаты), где инсолируется не менее трех комнат, а также при реконструкции жилой застройки, расположенной в центральной, исторической зонах городов, определенных их генеральными планами развития.

4. Требования к инсоляции общественных зданий

4.1. Нормируемая продолжительность инсоляции устанавливается в основных функциональных помещениях общественных зданий, указанных в п. 2.3.

4.2. К основным функциональным помещениям * относятся:

- в зданиях ДДУ - групповые, игровые;

- в учебных зданиях - классы и учебные кабинеты;

- в ЛПУ - палаты (не менее 60% общей численности);

- в учреждениях социального обеспечения - палаты, изоляторы.

4.3. Инсоляция не требуется в следующих помещениях:

- патологоанатомических отделениях;

- операционных, реанимационных залах больниц, вивариев, ветлечебниц;

- химических лабораториях;

- выставочных залах музеев;

- книгохранилищах и архивах.

4.4. Допускается отсутствие инсоляции в учебных кабинетах информатики, физики, химии, рисования и черчения.

5. Требования к инсоляции территорий

5.1. На территориях детских игровых площадок, спортивных площадок жилых домов, групповых площадок дошкольных организаций, спортивной зоны, зоны отдыха общеобразовательных школ и школ-интернатов, зоны отдыха ЛПО стационарного типа совокупная продолжительность инсоляции должна составлять не менее 2, 5 часов, в том числе не менее 1 часа для одного из периодов в случае прерывистой инсоляции, на 50% площади участка независимо от географической широты.

6. Солнцезащита

6.1. Требования по ограничению избыточного теплового воздействия инсоляции распространяются на жилые комнаты отдельных квартир или комнаты коммунальных квартир, общежитий ДДУ, учебные помещения общеобразовательных школ, школ-интернатов, ПТУ и других средних специальных учебных заведений, ЛПУ, санаторно-оздоровительных и учреждений социального обеспечения, имеющих юго-западную и западную ориентации светопроемов.

6.2. На территории жилой застройки 3-го и 4-го климатических районов защита от перегрева должна быть предусмотрена не менее чем для половины игровых площадок, мест размещения игровых и спортивных снарядов и устройств, мест отдыха населения.

6.3. Ограничение избыточного теплового воздействия инсоляции помещений и территорий в жаркое время года должно обеспечиваться соответствующей планировкой и ориентацией зданий, благоустройством территорий, а при невозможности обеспечения солнцезащиты помещений ориентацией необходимо предусматривать конструктивные и технические средства солнцезащиты (кондиционирование, внутренние системы охлаждения, жалюзи и т.д.). Ограничение теплового воздействия инсоляции территорий должно обеспечиваться затенением от зданий, специальными затеняющими устройствами и рациональным озеленением.

6.4. Меры по ограничению избыточного теплового воздействия инсоляции не должны приводить к нарушению норм естественного освещения помещений.

7. Расчет продолжительности инсоляции

7.1. Расчет продолжительности инсоляции помещений и территорий выполняется по инсоляционным графикам с учетом географической широты территории, утвержденным в установленном порядке.

7.2. Инсоляционный график, разработанный для определенной географической широты, может применяться для расчета продолжительности инсоляции в пределах +-2, 5°.

7.3. Расчет продолжительности инсоляции помещений на весь период, установленный в п. 3.1, проводится на день начала периода (или день его окончания):

- для северной зоны (севернее 58° с.ш.) - 22 апреля или 22 августа;

- для центральной зоны (58° с.ш.-48° с.ш.) - 22 апреля или 22 августа;

- для южной зоны (южнее 48° с.ш.) - 22 февраля или 22 октября.

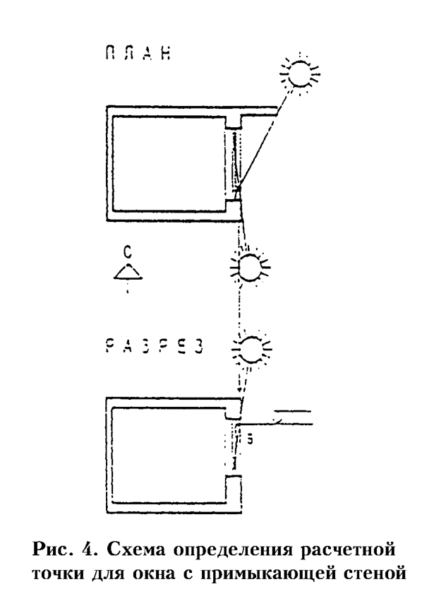
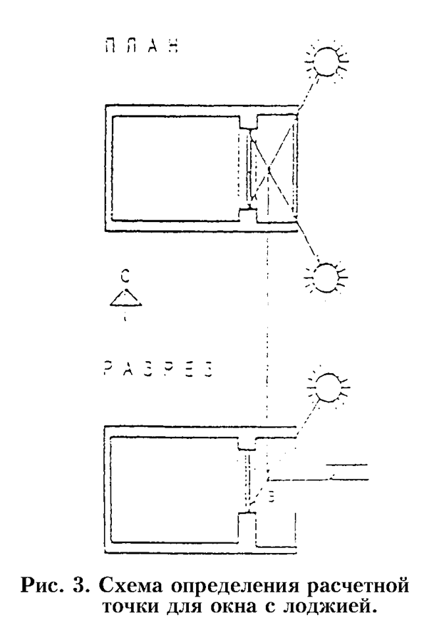
7.4. Расчет продолжительности инсоляции помещений выполняется в расчетной точке, которая определяется с учетом расположения и размеров затеняющих элементов здания (рис. 1-4).

7.5. При расчете продолжительности инсоляции участка территории принимается расчетная точка, которая расположена в центре инсолируемой половины участков территории.

7.6. В расчетах продолжительности инсоляции не учитывается первый час после восхода и последний час перед заходом солнца для районов южнее 58° с.ш. и 1, 5 часов для районов севернее 58° с.ш.

7.7. Допускаемая погрешность метода определения продолжительности инсоляции по инсоляционным графикам может составлять не более +-10 минут.

7.8. Определение продолжительности инсоляции проводится в следующей последовательности:

- на плане и вертикальном разрезе помещения определяют горизонтальные и вертикальные инсоляционные углы светопроема и расчетную точку "В" помещения в плане (рис. 5);

- на генплане участка застройки определяют положение расчетной точки помещения (рис. 1-4);

- центральную точку "О" инсоляционного графика совмещают с расчетной точкой "В" помещения;

- инсоляционный график ориентируют по сторонам горизонта;

- отмечают расчетную высоту противостоящего здания по условному масштабу высот зданий на инсоляционном графике;

- по инсоляционному графику определяют продолжительность инсоляции помещения в пределах горизонтальных и вертикальных инсоляционных углов светового проема. При этом продолжительность суммарной инсоляции равна сумме часов по графику в пределах углов ABF и EBD (рис. 5).

8. Термины и определения

Ось окна - прямая, проходящая через центр окна перпендикулярно его плоскости. Служит для определения ориентации окна по азимутальной шкале круга горизонта.

Расчетная высота противостоящего здания (Н, м) - отсчитывается от расчетной точки исследуемого помещения до карниза (парапета) или конька кровли противостоящего здания. При расчетах инсоляции и затенения территории Н отсчитывается от уровня земли до карниза затеняющего здания.

Расчетные помещения - жилые комнаты и помещения общественных зданий, в которых нормируется продолжительность инсоляции.

Инсоляционные углы светопроема - горизонтальные и вертикальные углы, в пределах которых на плоскости светопроема возможно поступление прямых солнечных лучей. При расчете инсоляционных углов глубина световых проемов принимается равной расстоянию от наружной плоскости стены до внутренней плоскости переплета.

Расчетная точка - точка на пересечении горизонтальных лучей солнца, определяющих начало и окончание инсоляции без учета окружающей застройки.

Главный государственный санитарный врач РФ -
Первый заместитель
Министра здравоохранения РФ

Онищенко Г.Г.

image001.gif
image002.gif
image003.gif
image004.gif
image005.gif

─────────────────────────────────────────────────────────────────────────

* Инсоляция помещений детских домов, домов ребенка, школ-интернатов, лесных школ, школ-санаториев и т.п. определяется набором помещений соответствующего функционального назначения.

Статус отменен с 01.03.2021 г.
Яндекс.Метрика