СП 545.1325800.2025 КОНСТРУКЦИИ БЕТОННЫЕ И ЖЕЛЕЗОБЕТОННЫЕ ТРАНСПОРТНЫХ СООРУЖЕНИЙ ТОННЕЛЕЙ И МЕТРОПОЛИТЕНОВ. ПРАВИЛА РЕМОНТА
Утв. и введен в действие Приказом Министерства строительства и жилищно-коммунального хозяйства РФ от 17 июля 2025 г. N 431/пр
Свод правил СП-545.1325800.2025
"КОНСТРУКЦИИ БЕТОННЫЕ И ЖЕЛЕЗОБЕТОННЫЕ ТРАНСПОРТНЫХ СООРУЖЕНИЙ ТОННЕЛЕЙ И МЕТРОПОЛИТЕНОВ. ПРАВИЛА РЕМОНТА"
Concrete and reinforced concrete structures of transport tunnels and subways. Rules of structural repair
Дата введения - 18 августа 2025 года
Предисловие
Сведения о своде правил
1 ИСПОЛНИТЕЛЬ - Общество с ограниченной ответственностью "Системные продукты для строительства" (ООО "СПС")
2 ВНЕСЕН Техническим комитетом по стандартизации ТК 465 "Строительство"
3 ПОДГОТОВЛЕН к утверждению Департаментом градостроительной деятельности и архитектуры Министерства строительства и жилищно-коммунального хозяйства Российской Федерации (Минстрой России)
4 УТВЕРЖДЕН приказом Министерства строительства и жилищно-коммунального хозяйства Российской Федерации от 17 июля 2025 г. N 431/пр и введен в действие с 18 августа 2025 г.
5 ЗАРЕГИСТРИРОВАН Федеральным агентством по техническому регулированию и метрологии (Росстандарт)
6 ВВЕДЕН ВПЕРВЫЕ
В случае пересмотра (замены) или отмены настоящего свода правил соответствующее уведомление будет опубликовано в установленном порядке. Соответствующая информация, уведомление и тексты размещаются также в информационной системе общего пользования - на официальном сайте разработчика (Минстрой России) в сети Интернет
Введение
Настоящий свод правил разработан в целях обеспечения соблюдения требований Федерального закона от 30 декабря 2009 г. N 384-ФЗ "Технический регламент о безопасности зданий и сооружений" [1] с учетом требований федеральных законов от 22 июля 2008 г. N 123-ФЗ "Технический регламент о требованиях пожарной безопасности" [2], от 23 ноября 2009 г. N 261-ФЗ "Об энергосбережении и о повышении энергетической эффективности и о внесении изменений в отдельные законодательные акты Российской Федерации" [3], а также для повышения уровня гармонизации нормативных требований с международными нормативными документами, приведения к единообразию правил проектирования и производства ремонтных работ, обеспечения взаимной согласованности действующих нормативных документов в сфере ремонта и эксплуатации транспортных тоннелей и метрополитенов.
Настоящий свод правил разработан в развитие положений СП 120.13330.2022 "СНиП 32-02-2003 Метрополитены", СП 122.13330.2023 "СНиП 32-04-97 Тоннели железнодорожные и автодорожные", СП 349.1325800.2017 "Конструкции бетонные и железобетонные. Правила ремонта и усиления", ГОСТ Р 57208-2016 "Тоннели и метрополитены. Правила обследования и устранения дефектов и повреждений при эксплуатации".
Свод правил разработан авторским коллективом: Общества с ограниченной ответственностью "Системные продукты для строительства" (д-р техн. наук А.А. Шилин, А.Б. Щукина, канд. техн. наук А.М. Кириленко, канд. техн. наук А.М. Викулин, канд. техн. наук Д.В. Картузов, канд. техн. наук А.Ю. Бауков) при участии Общероссийской общественной организации "Тоннельная Ассоциация России" (д-р техн. наук И.Я. Дорман), Акционерного общества "Научно-исследовательский центр "Строительство" (д-р техн. наук А.И. Звездов, канд. техн. наук Д.В. Кузеванов), Общества с ограниченной ответственностью "Научно-инженерный центр Тоннельной ассоциации" (д-р техн. наук В.Е. Меркин), Акционерного общества "Научно-исследовательский, проектно-изыскательский институт "Ленметрогипротранс" (канд. техн. наук М.О. Лебедев), Акционерного общества "Мосинжпроект" (д-р техн. наук Д.С. Конюхов), Государственного унитарного предприятия города Москвы "Московский ордена Ленина и Трудового Красного Знамени метрополитен имени В.И. Ленина" (Д.А. Дощатов), Дистанции инженерных сооружений - структурного подразделения Западно-Сибирской дирекции инфраструктуры - структурного подразделения Западно-Сибирской железной дороги - филиала ОАО "РЖД" (Д.В. Еськов).
1 Область применения
1.1 Настоящий свод правил распространяется на бетонные и железобетонные строительные конструкции железнодорожных тоннелей, относящихся к объектам инфраструктуры железнодорожного транспорта общего и необщего пользования с шириной колеи 1520 мм, автодорожных тоннелей на автомобильных дорогах общего пользования, в том числе городских транспортных тоннелей, подземных пешеходных переходов (тоннелей) под автомобильными и железными дорогами, метрополитенов, а также входящих в их состав станционных комплексов, тоннельных сооружений, вспомогательных зданий и сооружений, включая депо, и устанавливает требования к проведению ремонтных работ этих конструкций.
1.2 Настоящий свод правил применяется для объектов дорожной инфраструктуры, относящихся к автомобильным дорогам общего пользования, в части, не противоречащей требованиям [4].
2 Нормативные ссылки
В настоящем своде правил использованы нормативные ссылки на следующие документы:
ГОСТ 1581 Портландцементы тампонажные. Технические условия
ГОСТ 4919.1 Реактивы и особо чистые вещества. Методы приготовления растворов индикаторов
ГОСТ 5382 Цементы и материалы цементного производства. Методы химического анализа
ГОСТ 8269.0 Щебень и гравий из плотных горных пород и отходов промышленного производства для строительных работ. Методы физико-механических испытаний
ГОСТ 9070 Вискозиметры для определения условной вязкости лакокрасочных материалов. Технические условия
ГОСТ 10180 Бетоны. Методы определения прочности по контрольным образцам
ГОСТ 12730.0 Бетоны. Общие требования к методам определения плотности, влажности, водопоглощения, пористости и водонепроницаемости
ГОСТ 12730.1 Бетоны. Методы определения плотности
ГОСТ 12730.2 Бетоны. Метод определения влажности
ГОСТ 12730.5 Бетоны. Методы определения водонепроницаемости
ГОСТ 17623 Бетоны. Радиоизотопный метод определения средней плотности
ГОСТ 17624 Бетоны. Ультразвуковой метод определения прочности
ГОСТ 18105 Бетоны. Правила контроля и оценки прочности
ГОСТ 19853 Пресс-масленки. Технические условия
ГОСТ 21153.3 Породы горные. Методы определения предела прочности при одноосном растяжении
ГОСТ 21718 Материалы строительные. Диэлькометрический метод измерения влажности
ГОСТ 22690 Бетоны. Определение прочности механическими методами неразрушающего контроля
ГОСТ 22904 Конструкции железобетонные. Магнитный метод определения толщины защитного слоя бетона и расположения арматуры
ГОСТ 24452 Бетоны. Методы определения призменной прочности, модуля упругости и коэффициента Пуассона
ГОСТ 24544 Бетоны. Методы определения деформаций усадки и ползучести
ГОСТ 25271 (ИСО 2555-89) Пластмассы. Смолы жидкие, эмульсии или дисперсии. Определение кажущейся вязкости по Брукфильду
ГОСТ 25276 Полимеры. Метод определения вязкости ротационным вискозиметром при определенной скорости сдвига
ГОСТ 27751 Надежность строительных конструкций и оснований. Основные положения
ГОСТ 28570 Бетоны. Методы определения прочности по образцам, отобранным из конструкций
ГОСТ 30515 Цементы. Общие технические условия
ГОСТ 31383 Защита бетонных и железобетонных конструкций от коррозии. Методы испытаний
ГОСТ 31384 Защита бетонных и железобетонных конструкций от коррозии. Общие технические требования
ГОСТ 31937 Здания и сооружения. Правила обследования и мониторинга технического состояния
ГОСТ 31957 Вода. Методы определения щелочности и массовой концентрации карбонатов и гидрокарбонатов
ГОСТ 32016 Материалы и системы для защиты и ремонта бетонных конструкций. Общие требования
ГОСТ 32017 Материалы и системы для защиты и ремонта бетонных конструкций. Требования к системам защиты бетона при ремонте
ГОСТ 32836 Дороги автомобильные общего пользования. Изыскания автомобильных дорог. Общие требования
ГОСТ 32943 Материалы и системы для защиты и ремонта бетонных конструкций. Требования к клеевым соединениям элементов усиления конструкций
ГОСТ 33153 Дороги автомобильные общего пользования. Проектирование тоннелей. Общие требования
ГОСТ 33154 Дороги автомобильные общего пользования. Изыскания тоннелей. Общие требования
ГОСТ 33179 Дороги автомобильные общего пользования. Изыскания мостов и путепроводов. Общие требования
ГОСТ 33762 Материалы и системы для защиты и ремонта бетонных конструкций. Требования к инъекционно-уплотняющим составам и уплотнениям трещин, полостей и расщелин
ГОСТ 34669 Смеси сухие строительные гидроизоляционные проникающие на цементном вяжущем. Технические условия
ГОСТ ISO 4097 Каучук этилен-пропилен-диеновый (EPDM). Методы оценки
ГОСТ Р 27.102 Надежность в технике. Надежность объекта. Термины и определения
ГОСТ Р 42.4.03 Гражданская оборона. Защитные сооружения гражданской обороны. Классификация. Общие технические требования
ГОСТ Р 42.4.16 Гражданская оборона. Приспособление заглубленных помещений для укрытия населения. Общие требования
ГОСТ Р 53698 Контроль неразрушающий. Методы тепловые. Термины и определения
ГОСТ Р 54852 Здания и сооружения. Методы определения показателей теплозащитной оболочки на базе тепловизионного обследования и натурных измерений
ГОСТ Р 56521 Тоннели автомобильные. Требования безопасности
ГОСТ Р 56378 Материалы и системы для защиты и ремонта бетонных конструкций. Требования к ремонтным смесям и адгезионным соединениям контактной зоны при восстановлении конструкций
ГОСТ Р 56542 Контроль неразрушающий. Классификация видов и методов
ГОСТ Р 56587 Смеси бетонные. Методы определения сроков схватывания
ГОСТ Р 57208-2016 Тоннели и метрополитены. Правила обследования и устранения дефектов и повреждений при эксплуатации
ГОСТ Р 58861 Дороги автомобильные общего пользования. Капитальный ремонт и ремонт. Планирование межремонтных сроков
ГОСТ Р 58939 Система обеспечения точности геометрических параметров в строительстве. Правила выполнения измерений. Элементы заводского изготовления
ГОСТ Р 58941 Система обеспечения точности геометрических параметров в строительстве. Правила выполнения измерений. Общие положения
ГОСТ Р 59152 Материалы и системы для защиты и ремонта бетонных конструкций. Требования к системам защиты от коррозии стальной арматуры в бетоне
ГОСТ Р 59202 Дороги автомобильные общего пользования. Тоннели. Технические правила капитального ремонта, ремонта и содержания
ГОСТ Р 59203 Дороги автомобильные общего пользования. Тоннели. Требования к проектированию системы вентиляции
ГОСТ Р 59206 Дороги автомобильные общего пользования. Тоннели. Требования к пожарной безопасности
ГОСТ Р 59935 Составы ремонтные на цементной основе. Метод ускоренных испытаний коррозионной стойкости в жидких кислых агрессивных средах
ГОСТ Р 70308 Растворы инъекционные для закрепления грунтов на основе тонкодисперсного вяжущего. Технические условия
ГОСТ Р 70753 Бетоны. Метод микроскопического количественного анализа структуры
ГОСТ Р 71263 Растворы инъекционные на минеральной основе для строительства и ремонта. Метод оценки проникающей способности и фильтрационной стабильности
ГОСТ Р ИСО 6707-1 Здания и сооружения. Общие термины
СП 20.13330 "СНиП 2.01.07-85* Нагрузки и воздействия" (с изменениями N 1, N 2, N 3, N 4, N 5, N 6)
СП 22.13330 "СНиП 2.02.01-83* Основания зданий и сооружений" (с изменениями N 1, N 2, N 3, N 4, N 5)
СП 28.13330 "СНиП 2.03.11-85 Защита строительных конструкций от коррозии" (с изменениями N 1, N 2, N 3, N 4)
СП 31.13330 "СНиП 2.04.02-84* Водоснабжение. Наружные сети и сооружения" (с изменением N 1)
СП 47.13330 "СНиП 11-02-96 Инженерные изыскания для строительства. Основные положения" (с изменением N 1)
СП 48.13330 "СНиП 12-01-2004 Организация строительства" (с изменением N 1)
СП 79.13330 "СНиП 3.06.07-86 Мосты и трубы. Правила обследований и испытаний" (с изменениями N 1, N 2, N 3, N 4, N 5)
СП 88.13330 "СНиП II-11-77* Защитные сооружения гражданской обороны"
СП 93.13330 "СНиП 2.01.54-84 Защитные сооружения гражданской обороны в подземных горных выработках" (с изменением N 1)
СП 120.13330.2022 "СНиП 32-02-2003 Метрополитены" (с изменениями N 1, N 2)
СП 122.13330.2023 "СНиП 32-04-97 Тоннели железнодорожные и автодорожные" (с изменением N 1)
СП 131.13330 "СНиП 23-01-99* Строительная климатология" (с изменениями N 1, N 2)
СП 164.1325800 Усиление железобетонных конструкций композитными материалами. Правила проектирования (с изменением N 1)
СП 165.1325800 "СНиП 2.01.51-90 Инженерно-технические мероприятия по гражданской обороне" (с изменениями N 1, N 2, N 3)
СП 229.1325800 Железобетонные конструкции подземных сооружений и коммуникаций. Защита от коррозии (с изменениями N 1, N 2)
СП 233.1326000 Инфраструктура железнодорожного транспорта. Высокоточная координатная система
СП 248.1325800 Сооружения подземные. Правила проектирования
СП 250.1325800 Здания и сооружения. Защита от подземных вод (с изменением N 1)
СП 255.1325800.2016 Здания и сооружения. Правила эксплуатации. Основные положения (с изменениями N 1, N 2, N 3)
СП 263.1325800 Приспособление метрополитенов под защитные сооружения гражданской обороны. Общие правила проектирования (с изменением N 1)
СП 349.1325800.2017 Конструкции бетонные и железобетонные. Правила ремонта и усиления (с изменением N 1)
СП 361.1325800 Здания и сооружения. Защитные мероприятия в зоне влияния строительства подземных объектов
СП 474.1325800 Метрополитены. Правила обследования и мониторинга строительных конструкций подземных сооружений
Примечание - При пользовании настоящим сводом правил целесообразно проверить действие ссылочных документов в информационной системе общего пользования - на официальном сайте федерального органа исполнительной власти в сфере стандартизации в сети Интернет, на официальном сайте федерального органа исполнительной власти, разработавшего и утвердившего настоящий свод правил, или по ежегодному информационному указателю "Национальные стандарты", который опубликован по состоянию на 1 января текущего года, и по выпускам ежемесячного информационного указателя "Национальные стандарты" за текущий год. Если заменен ссылочный документ, на который дана недатированная ссылка, то рекомендуется использовать действующую версию этого документа с учетом всех внесенных в данную версию изменений. Если заменен ссылочный документ, на который дана датированная ссылка, то рекомендуется использовать версию этого документа с указанным выше годом утверждения (принятия). Если после утверждения настоящего свода правил в ссылочный документ, на который дана датированная ссылка, внесено изменение, затрагивающее положение, на которое дана ссылка, то это положение рекомендуется применять без учета данного изменения. Если ссылочный документ отменен без замены, то положение, в котором дана ссылка на него, рекомендуется применять в части, не затрагивающей эту ссылку. Сведения о действии сводов правил целесообразно проверить в Федеральном информационном фонде стандартов.
3 Термины, определения и сокращения
3.1 Термины и определения
В настоящем своде правил применены термины по [4], [5], СП 20.13330, СП 122.13330, СП 229.1325800, СП 349.1325800, ГОСТ 27751, ГОСТ 31937, ГОСТ 33153, ГОСТ 33154, ГОСТ Р 27.102, ГОСТ Р 59202, ГОСТ Р 59203, ГОСТ Р 59206, ГОСТ Р 56521, ГОСТ Р ИСО 6707-1, а также следующие термины с соответствующими определениями:
3.1.1 надзор и (или) эксплуатационный контроль: Комплекс наблюдений, проводимых в течение расчетного срока службы объекта в целях получения данных о его надежности и безопасности.
Примечание - Проводится в целях выявления и предупреждения отклонения от нормативного технического состояния, увеличения межремонтного срока и уменьшения затрат на возможный ремонт в будущем.
3.1.2 текущий ремонт: Комплекс мероприятий, осуществляемый в течение расчетного срока службы объекта и обеспечивающих его нормальную эксплуатацию.
Примечание - Текущий ремонт может рассматриваться как внеплановый, так и планово-предупредительный и включать работы по экстренному, систематическому и своевременному предохранению конструкций сооружения от преждевременного износа путем проведения профилактических мероприятий и устранения мелких повреждений.
3.1.3 уход: Комплекс регулярных мероприятий, осуществляемый в течение расчетного срока службы объекта в целях предупреждения возникновения повреждений и преждевременного износа.
3.1.4 межремонтный срок: Период эксплуатации объекта от момента ввода в эксплуатацию до первого капитального ремонта, а также промежуток времени между двумя последовательными ремонтами (текущим и капитальным).
Примечание - Возможны любые комбинации последовательности текущего и капитального ремонтов.
3.1.5 срок службы: Период времени от начала эксплуатации объекта или ее возобновления после капитального ремонта до достижения объектом предельного состояния.
3.1.6 функциональный (остаточный) срок службы: Период эксплуатации объекта от момента контроля его технического состояния до перехода в предельное состояние, при котором его дальнейшая эксплуатация либо восстановление его работоспособного состояния нерациональны.
3.1.7 конформативная технология: Технология выполнения ремонтных работ, легко адаптируемая к конкретным условиям и не требующая большого количества рабочих и сложной техники.
Примечание - Включает инъектирование швов и трещин, восстановление геометрии и несущей способности конструкций, очистку поверхностей, нанесение пропиток и защитных покрытий.
3.1.8 ремонтные работы (ремонт): Совокупность мероприятий, включая текущий, капитальный, аварийный ремонты и ремонт при новом строительстве, направленных на восстановление и (или) поддержание нормативных технических характеристик бетонных и железобетонных конструкций транспортных сооружений тоннелей и метрополитенов.
3.1.9 ремонт при новом строительстве: Комплекс ремонтных работ, выявленных в период строительства.
Примечание - Выполняется для доведения конструкций до нормативного технического состояния.
3.2 Сокращения
В настоящем своде правил применены следующие сокращения:
ГО - гражданская оборона;
КР - карта ремонта;
ПД - проектная документация;
ПДК - предельно допустимая концентрация;
ППР - проект производства работ;
РД - рабочая документация;
ТР - технологический регламент;
ТК - технологическая карта.
4 Общие положения
4.1 Требования настоящего свода правил учитывают при разработке ПД и РД (ТР, ТК, КР, ППР) и при проведении надзора и (или) эксплуатационного контроля, ухода, текущего ремонта, капитального ремонта, реконструкции, а также при выполнении ремонтных работ при новом строительстве.
4.2 Все виды решений, разрабатываемые и принимаемые в целях проведения ремонтных работ на всех этапах жизненного цикла транспортных тоннелей и метрополитенов, должны обеспечивать соблюдение требований [1] - [7] и учитывать необходимость обеспечения требований механической и пожарной безопасности, безопасности условий пребывания для здоровья человека, безопасности уровня воздействия на окружающую среду согласно [1].
4.3 При планировании капитального ремонта и установлении межремонтных сроков для объектов дорожной инфраструктуры, относящихся к автомобильным дорогам общего пользования, необходимо руководствоваться требованиями ГОСТ Р 58861.
4.4 Состав и виды работ, выполняемые при капитальном ремонте, ремонте и содержании автомобильных дорог, приведены в [7].
4.5 Ремонтные работы бетонных и железобетонных конструкций транспортных тоннелей и метрополитенов, за исключением объектов, относящихся к [4], [7], должны проводиться в соответствии с утвержденной стратегией эксплуатации конструкций в сооружениях, которая определяется СП 349.1325800.2017 (подраздел 4.1, пункт 4.2, подраздел 4.3), инструкциями по текущему содержанию, уходу, текущему и капитальному ремонтам, а также требованиями, приведенными в 4.5 - 4.11.
4.6 В зависимости от состояния конструкций необходимо выбрать одну из следующих стратегий их эксплуатации в сооружениях:
- отсутствие мер в период надзора и (или) эксплуатационного контроля;
- преждевременный ремонт.
Примечание - Вид ремонтных работ, выполняемый на участках, примыкающих к зонам капитального ремонта или нового строительства, а также на участках, выполненных из составов, отличных от соседних ремонтируемых конструкций (металлических, чугунных, бетонных, железобетонных);
- текущий ремонт и уход;
- текущий ремонт, выполняемый силами эксплуатирующей организации;
- капитальный ремонт, который может выполняться как силами эксплуатирующей организации, так и с привлечением подрядных (сторонних) организаций;
- капитальный ремонт, осуществляемый только силами подрядных (сторонних) организаций;
- запоздалый ремонт.
Примечание - Ремонтные работы, выполняемые с нарушением установленных сроков и вызванные несвоевременным выявлением дефектов или повреждений.
4.7 Если в ходе обследования будет установлено, что запоздалый ремонт не требуется, то необходимо разработать стратегию эксплуатации конструкций, которая будет направлена на мониторинг скорости разрушения строительных конструкций, оценку технического состояния, а также планирование ремонтных работ и их сроков.
4.8 Разрабатываемые и принимаемые решения должны быть обоснованы результатами обследований и (или) изысканий, выполненными в соответствии с СП 22.13330, СП 47.13330, СП 79.13330, СП 165.1325800, СП 233.1326000, СП 361.1325800, СП 474.1325800, ГОСТ 31937, ГОСТ Р 57208, а также требованиями, приведенными в [8].
4.9 При разработке, принятии решений и выполнении ремонтных работ необходимо учитывать:
- типы и характер воздействий на сооружения в соответствии с ГОСТ 31384, СП 28.13330, СП 122.13330, СП 164.1325800, СП 229.1325800, СП 250.1325800, а также развитие динамики состояния сооружения и выявленные тенденции и зависимости;
- изменение характера и интенсивности эксплуатационных нагрузок;
- существующие и планируемые изменения окружающей среды и (или) застройки и характер их возможного влияния на надежность строительного объекта, а также возможное изменение характеристик вмещающего массива;
- текущее техническое состояние зданий (сооружений), в том числе соответствие требованиям, предъявляемым к сооружениям ГО и (или) их частям (ГОСТ Р 42.4.03, ГОСТ Р 42.4.16, СП 88.13330, СП 93.13330, СП 263.1325800);
- требования по обеспечению нормативного технического состояния (СП 120.13330, СП 122.13330, СП 248.1325800);
- необходимость применения решений, технологий и составов, обеспечивающих максимально возможный срок службы сооружений вне зависимости от категории технического состояния, ввиду возможного продления срока эксплуатации сооружений до выведения их из эксплуатации.
4.10 Разрабатываемые и реализуемые решения по ремонтным работам должны учитывать особенности температурно-влажностного режима при проведении ремонтных работ с учетом реологических свойств составов и развития усталостных явлений в составах.
4.11 При разработке и принятии решений по ремонту и проведению ремонтных работ необходимо учитывать сложившиеся и переходные ситуации, а также вероятность возникновения и развития аварийной ситуации.
4.12 При принятии решений о проведении ремонтных работ необходимо сравнивать затраты на проведение ремонтных работ с возможными экономическими потерями, которые могут возникнуть при отказе от ремонтных работ и (или) запоздалом ремонте, включая ущерб жизни, здоровью людей, имуществу и окружающей среде.
4.13 При обнаружении негативных воздействий на сооружения или отдельные строительные конструкции со стороны грунтового массива необходимо разработать мероприятия по проведению ремонтных работ с учетом предварительного устранения этих воздействий и освидетельствованию результатов.
4.14 При разработке и реализации решений по ремонтным работам транспортных тоннелей и метрополитенов необходимо учитывать функциональные особенности объектов, а также обеспечивать этапность производства работ и осуществлять освидетельствование каждого этапа.
4.15 При разработке и принятии решений по ремонтным работам в условиях плотной городской застройки необходимо обеспечить безопасность зданий и сооружений окружающей застройки и инженерных коммуникаций от выполнения ремонтных работ транспортных тоннелей и метрополитенов.
Примечание - Условия плотной городской застройки: обстоятельства, при которых объекты строительства, ремонта или эксплуатации транспортных сооружений расположены в непосредственной близости к существующим зданиям, сооружениям и инженерным коммуникациям, что требует учета их состояния, безопасности, а также минимизации воздействия выполняемых работ на окружающую застройку.
4.16 Для зданий и сооружений окружающей застройки и инженерных коммуникаций, расположенных в зоне влияния ремонтных работ транспортных тоннелей и метрополитенов, следует обеспечить их механическую безопасность, а также вести геотехнический мониторинг в соответствии с требованиями СП 248.1325800, ГОСТ Р 57208, ГОСТ 32836, ГОСТ 33179.
4.17 Скрытые работы подлежат освидетельствованию перед их закрытием. Для фиксации результатов составляют акт освидетельствования скрытых работ в соответствии с требованиями СП 48.13330.
5 Общие правила ремонта основных несущих элементов и конструкций
5.1 При выполнении ремонтных работ бетонных и железобетонных конструкций транспортных тоннелей и метрополитенов, приведенных в приложении А, необходимо учитывать различные варианты конформативных технологий, их преимущества и недостатки на этапе проектирования.
5.2 Механизм принятия решений по комплектации конформативных технологий ремонтных работ отражает технологию их выполнения в виде технологических маршрутов, которые учитывают категорию технического состояния, необходимую элементную базу для ремонтных работ и категории технического состояния и прогноза, а также исчерпание конструкцией эксплуатационной надежности (приложение Б).
Примечание - Исчерпание конструкцией эксплуатационной надежности: утрата бетонной или железобетонной конструкцией транспортного сооружения способности безопасно и эффективно выполнять свои функции вследствие накопления дефектов, износа или воздействия эксплуатационных и внешних факторов, что приводит к несоответствию нормативным и проектным требованиям.
5.3 Эксплуатационная надежность конструкций линейных сооружений определяется категорией технического состояния в соответствии с ГОСТ 31937.
6 Методы ремонта трещин бетонных и железобетонных конструкций транспортных тоннелей и метрополитенов
6.1 Общие положения
6.1.1 Для заполнения трещин, стыков бетонирования, расщелин (по ГОСТ 33762), пустот и (или) зазоров швов (далее по тексту - трещин) в бетонных и железобетонных конструкциях транспортных тоннелей и метрополитенов следует применять инъекционные методы с использованием инъекционно-уплотняющих составов на минеральной и (или) полимерной основе.
6.1.2 При расположении ремонтируемой конструкции в постоянно обводненных условиях для инъектирования следует применять высокоэластичные и водостойкие составы, которые сохраняют свои свойства под давлением воды и при динамическом воздействии в случае их наличия.
Примечание - Для этих целей следует применять акрилатные и (или) полиуретановые составы, устойчивые к проникновению воды, сохраняющие адгезионные и прочностные характеристики в условиях изменяющейся влажности и температурных перепадов.
6.1.3 При расположении ремонтируемой конструкции в условиях, где она не подвергается постоянному воздействию воды, следует применять составы с высокой устойчивостью к механическим нагрузкам и износостойкостью.
Примечание - Для этих целей следует применять более жесткие составы и (или) составы с пониженной водостойкостью: двухкомпонентные эластичные полиуретановые составы.
6.1.4 При расположении ремонтируемой конструкции в среде, подверженной изменению влажности, следует применять составы, которые могут восстановить форму после воздействия воды и сохранить адгезию при циклическом изменении влажности.
Примечание - Для этих целей следует применять акрилатные и (или) полиуретановые составы.
6.1.5 При расположении ремонтируемых конструкций в условиях, где происходят высокие колебания температур, необходимо применять инъекционные составы, обеспечивающие стабильность и герметичность при температурных циклах замерзания и оттаивания.
Примечание - Для этих целей следует применять полиуретановые и (или) акрилатные составы.
6.1.6 В результате инъекции инъекционно-уплотняющих составов на минеральной и (или) полимерной основе в трещине должны образовываться уплотнения следующих видов:
- конструкционное уплотнение с адгезионно-силовым замыканием - группа АС по ГОСТ 33762.
Примечание - Например, статичная трещина, полностью заполненная метилметакрилатным или эпоксидным, или цементным составами. Уплотнение адгезионно связано с бетоном конструкции и способно воспринимать расчетную нагрузку и передавать напряжения;
- неконструкционное уплотнение с адгезионно-герметизирующим замыканием - группа АГ по ГОСТ 33762.
Примечание - Например, подвижная трещина, заполненная полиуретановым составом. Уплотнение имеет упруго-эластичную водонепроницаемую структуру, адгезионно связано с бетоном конструкции и способно воспринимать воздействия от перемещений при расчетной подвижке трещины и давления воды;
- неконструкционное уплотнение с компрессионно-герметизирующим замыканием - группа КГ по ГОСТ 33762.
Примечание - Например, мокрая трещина, заполненная акрилатным составом. Уплотнение компрессионно связано с бетоном конструкции за счет собственного набухания инъекционного состава при поглощении влаги и способно воспринимать воздействия от перемещений при подвижке трещины и давления воды.
6.1.7 Для создания уплотнений группы АС следует использовать инъекционные составы на эпоксидной или метилметакрилатной, или минеральной основах; для уплотнений групп АГ и КГ - составы на полиуретановой и акрилатной основах соответственно.
6.1.8 При определении влажностного состояния трещины по ГОСТ 33762 следует исходить из утверждения, что трещина не является сухой, пока не доказано обратное.
6.1.9 Раскрытие трещины в пределах от 0,010 до 0,015 мм вследствие воздействия транспортной нагрузки не влияет на адгезию составов на полимерной основе.
6.1.10 Уплотнения группы КГ следует применять для трещин, находящихся в следующих состояниях по ГОСТ 33762: влажном, мокром и с активной протечкой.
6.1.11 Уплотнения группы КГ не следует применять при раскрытии трещин в течение одних суток, за исключением случаев, когда уплотнение имеет излишек состава, выходящий за пределы внешней границы конструкции.
6.1.12 Уплотнения группы АС из составов на цементной основе следует применять при раскрытии трещин в течение одних суток, если имеется подтверждение, что их адгезионная связь с бетоном конструкции составляет более 2 МПа и не будет нарушена в течение 10 ч при наименьшей допустимой температуре использования, определенной производителем состава.
6.1.13 При инъекционных работах с использованием минеральных и (или) полимерных составов, имеющих длительное время схватывания, необходимо устройство защитного покрытия ("пластыря") на поверхности конструкции в зоне расположения инъектора.
6.1.14 "Пластырь" должен предотвращать утечку инъекционного состава до его полного отверждения, обеспечивая равномерное заполнение трещин составом и улучшение герметичности заполнения.
6.1.15 Материал для "пластыря" должен обладать адгезией к поверхности конструкции не менее 1,5 МПа и создавать надежный барьер.
Примечание - Полимерцементные составы применяются для создания "пластыря" на бетонных поверхностях, быстро схватываются и обеспечивают прочное сцепление. Быстротвердеющие цементные составы обеспечивают герметичность и устойчивость к воде. Полиуретановые пасты применяют для быстрого устройства "пластыря" при ремонте конструкций в подземных условиях.
6.1.16 "Пластырь" следует устанавливать перед началом инъекционных работ после установки инъектора.
6.1.17 "Пластырь" должен заходить на неповрежденные участки вокруг трещины на расстояние не менее 5 см от краев поврежденной области для предотвращения разрушения "пластыря" под давлением.
6.1.18 "Пластырь" должен перекрывать все трещины и повреждения, которые будут заполняться инъекционным составом.
6.1.19 Для инъекции под низким давлением (менее 1 МПа) толщина "пластыря" должна составлять от 5 до 10 мм для обеспечения герметичности.
6.1.20 Для инъекции под высоким давлением (более 1 МПа) или при наличии глубоких трещин толщина "пластыря" должна составлять от 15 до 20 мм для предотвращения разрушения "пластыря" в процессе нагнетания.
6.1.21 Для инъекций в ремонтируемые конструкции, подверженные динамическим воздействиям, толщина "пластыря" должна составлять от 25 до 30 мм.
6.1.22 Перед началом инъекции следует провести пробное нагнетание с малым объемом инъекционного состава для проверки герметичности и целостности "пластыря".
6.1.23 Инъекционные работы должны начинаться с минимально возможного давления нагнетания и не превышать максимального давления, определяемого типом обделки, в которую производится инъекция (ее толщиной, прочностными характеристиками), типом инъектируемого состава, величиной противодавления грунтовых вод.
Примечание - Окончательную величину максимального давления нагнетания корректируют каждый раз для конкретных условий проведения работ и согласовывают с проектной организацией.
6.1.24 При инъектировании сквозных трещин в заглубленных тоннельных сооружениях давление нагнетания должно быть выше гидростатического давления воды за конструкцией.
6.1.25 Перед началом работ следует проверить работу инъекционного оборудования: измерить минимальное и максимальное давление нагнетания (предел измерений манометров должен превышать максимальное рабочее давление нагнетания в 1,5 - 2 раза), скорость подачи состава, пропорцию смешивания компонентов (для двухкомпонентных насосов). Сохраняемость давления в подающем трубопроводе должна быть не менее 80% от рабочего в течение 2 - 3 мин при остановке подачи состава.
6.1.26 Инъекционные работы следует начинать с опытного участка: для этого выбирают одну трещину, которая должна быть не менее 3 м, либо несколько трещин, общая длина которых должна быть не менее 3 м.
6.1.26.1 Пригодность инъекционного состава для инъектирования в каждом конкретном случае следует определять по выбуренным после инъекции кернам по следующим критериям:
- глубина заполнения трещины инъекционным составом должна быть не менее 90% глубины трещины;
- в месте инъекции предел прочности керна на растяжение должен быть не менее 90% от предела прочности керна, взятого из области без трещины.
Примечание - Область без трещины выбирают на расстоянии от 300 до 400 мм от инъектируемой трещины.
6.1.27 Качество инъекционных работ следует подтверждать периодическим отбором кернов:
- количество отобранных кернов для визуальной оценки степени заполнения трещины должно быть не менее трех на каждые 25 - 30 м тоннеля;
- количество отобранных кернов для определения прочности при растяжении должно быть не менее двух на каждые 50 - 75 м тоннеля.
6.1.28 Инъекционно-уплотняющие составы на цементной и полимерной основах различаются для уплотнения адгезионно-силового замыкания трещин (группа АС):
F1 (для составов на цементной и полимерной основах), обеспечивают адгезию ≥ 3,0 МПа (2,5 МПа);
F2 (для составов на цементной и полимерной основах), обеспечивают адгезию ≥ 2,0 МПа (1,5 МПа);
F3 (для составов на цементной основе), адгезия обеспечивает заявленное значение производителя.
6.1.29 Для групп составов, обеспечивающих неконструкционное уплотнение с адгезионно-герметизирующим замыканием (растяжимые) (группа АГ):
D0 - обеспечивают водонепроницаемость при давлении 0,1 МПа;
D1 - обеспечивают водонепроницаемость при давлении 0,2 МПа;
D2 - обеспечивают водонепроницаемость при давлении 0,7 МПа.
6.1.30 Для групп составов, обеспечивающих неконструкционное уплотнение с компрессионно-герметизирующим замыканием (набухающие) (составы на полимерной основе) (группа КГ):
S1 - обеспечивают водонепроницаемость при давлении 0,2 МПа;
S2 - обеспечивают водонепроницаемость при давлении 0,7 МПа.
6.2 Метод заполнения трещин под действием гравитации в целях исключения проникания вредных реагентов и воды (метод 1 *)
--------------------------------
* Для целей настоящего свода правил методы пронумерованы.
6.2.1 Областью применения настоящего метода являются все типы трещин в бетонных и железобетонных конструкциях транспортных тоннелей и метрополитенов.
6.2.2 Настоящий метод следует использовать при раскрытии трещин до 0,3 мм.
6.2.3 Метод 1 дополняется методами 2, 3 и 4.
6.2.4 Для реализации метода необходимо использовать минеральные и (или) органические инъекционные составы как с наполнителем, так и без него, обеспечивающие герметичность и монолитность конструкции.
6.2.5 Заполнение трещин должно осуществляться с помощью инъекции под действием гравитации (силы тяжести) и капиллярного впитывания. Применение метода схематично приведено на рисунке 6.1.

1 - емкость для инъекционного состава, установленная на лесах; 2 - подающий шланг; 3 - инъектор
Примечание - Буквами "а - е" показана очередность инъекции при заполнении вертикальных и горизонтальных трещин.
Рисунок 6.1 - Схематичное изображение метода 1: инъектирование раствора для заполнения трещин и пустот в бетоне под действием гравитации (силы тяжести)
6.2.6 При производстве работ следует контролировать качество работ путем отбора кернов (согласно 6.1.27) или с помощью щупа в отверстиях, пробуренных вкрест простирания трещины, а также использовать другие методы, приведенные в приложении Г.
6.2.7 Номенклатуру, значения и методы определения показателей свойств составов и показателей эксплуатационных качеств, достигаемых при применении метода 1, принимают по ГОСТ 33762.
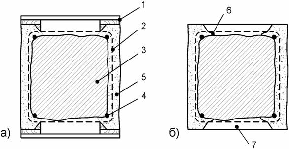
6.3 Метод уплотнения деформационных швов и сопряжений конструкций (метод 2)
6.3.1 Областью применения настоящего метода являются деформационные швы тоннельных сооружений, подпорных стен, конструкционные швы между тюбингами.
6.3.2 Метод 2 следует применять при минимально низких положительных температурах (3 ± 2) °C, когда имеет место наибольшее раскрытие шва в конструкции из-за перепада температур.
6.3.3 Метод 2 является альтернативой метода 1 и используется для исключения проникновения вредных реагентов и воды в сооружение через швы в конструкции. Применение метода 2 приведено на рисунке 6.2.

1 - деформационный шов; 2 - уплотнительный каучук этилен-пропилен-диеновый профиль; 3 – винтовой или игольчатый инъектор для подачи раствора; 4 – отверстие для подачи раствора; 5 - раствор для герметизации полости деформационного шва; 6 - бетон
Рисунок 6.2 - Схематичное изображение метода 2
6.3.4 Для реализации метода 2 предварительно уплотняют зазоры деформационных швов эластичными шнурами по ГОСТ ISO 4097 или другим упругим материалом с замкнутыми порами, обеспечивающим постоянное давление на контакте с бетонной поверхностью и способным воспринимать необходимое давление при последующем нагнетании инъекционных составов.
6.3.5 При расположении ремонтируемой конструкции в постоянно обводненных условиях для заполнения полости шва следует использовать высокоэластичные и водостойкие составы, которые сохраняют свои свойства под давлением воды и при динамическом воздействии.
Примечание - Для этих целей следует применять акрилатные и (или) полиуретановые составы, устойчивые к проникновению воды, сохраняющие адгезионные и прочностные характеристики в условиях изменяющейся влажности и температурных перепадов.
6.3.6 При расположении ремонтируемой конструкции в условиях, где она не подвергается постоянному воздействию воды, следует применять составы с высокой устойчивостью к механическим нагрузкам и износостойкостью.
Примечание - Для этих целей следует применять более жесткие составы или составы с пониженной водостойкостью: двухкомпонентные эластичные полиуретановые составы.
6.3.7 Уплотнительный профиль должен обеспечивать герметичность зазора шва при изменениях температур бетонных конструкций с учетом времени его установки и выполнения инъекционных работ.
Примечание - Для регионов с большим перепадом температур по СП 131.13330 следует проводить измерение и учет возможных колебаний ширины шва в разные сезоны и время суток.
6.3.8 Диаметр уплотнительного профиля должен быть не менее 1,3 и не более 1,5 ширины раскрытия дефекта шва.
6.3.9 При производстве работ по уплотнению шва следует учитывать величину зазора, расстояние между швами и размеры сопрягаемых конструкций.
6.3.10 В результате реализации метода 2 образуются уплотнения групп АГ или КГ по ГОСТ 33762.
6.3.11 При производстве работ необходимо контролировать давление подачи состава, поддерживая его стабильным в течение всего периода выполнения работ.
6.3.12 При производстве работ следует контролировать качество работ неразрушающими методами контроля.
6.3.13 Номенклатуру, значения и методы определения показателей свойств составов и показателей эксплуатационных качеств, достигаемых методом 2 систем, принимают по ГОСТ 33762.
6.4 Метод инъектирования в трещины, пустоты и полости под избыточным давлением в целях восстановления несущей способности конструкции (метод 3)
6.4.1 Областью применения метода 3 являются трещины и (или) пустоты в конструкциях, к которым предъявляются высокие требования по несущей способности, герметичности и долговечности. Применение метода 3 приведено на рисунке 6.3.

1-й этап - очистка устья трещины и установка накладных инъекторов; 2-й этап - нанесение "пластыря"; 3-й этап - нагнетание инъекционного состава под избыточным давлением; 4-й этап - удаление "пластыря" и инъекторов, очистка поверхности
Рисунок 6.3 - Последовательность работ при применении метода 3
6.4.2 Метод следует использовать при раскрытии трещин от 0,2 мм и более, а также для заполнения крупных пустот и полостей.
6.4.3 Составы на полимерной и (или) минеральной основах должны поступать в конструкцию самотеком или под заданным давлением с использованием приклеиваемых накладных инъекторов (см. рисунок 6.4) или забивных или разжимных инъекторов, устанавливаемых в пробуренные отверстия (рисунок 6.5).

1 - трубка для подачи раствора в инъектор; 2 – накладной инъектор; 3 - "пластырь"; 4 - трещина; 5 - бетон; 6 - движение раствора; 7 - утечки состава с противоположной стороны конструкции (если имеется возможность, то трещина с обратной стороны может быть расшита и загерметизирована)
Рисунок 6.4 - Подача составов в трещину через накладные инъекторы

1 - трещина; 2 - инъектор; 3 - бетон; 4 - движение инъекционного состава
Рисунок 6.5 - Инъекция составов в трещину через разжимные инъекторы прямой подачи
6.4.4 При применении метода 3 следует предусматривать: влажностное состояние трещины, ее раскрытие и подвижность, вязкость инъекционного состава, его давление нагнетания, а также время схватывания, адгезию между составом и основанием.
6.4.5 Расстояние между инъекторами следует назначать исходя из ширины раскрытия трещины, ее положения в пространстве, толщины конструкции, вязкости или проникающей способности инъекционного состава, а также расположения арматуры в бетоне (при установке инъекторов). Максимальное расстояние между инъекторами следует назначать от 100 до 150 см.
Примечание - Для создания перекрывающихся зон инъекции отверстия следует бурить под углом 45° и располагать их с обеих сторон от трещины в шахматном порядке.
6.4.6 Для реализации метода 3 необходимо максимально заполнить участки с дефектом путем инъектирования состава в целях обеспечения несущей способности конструкции до проектного уровня прочности бетона.
6.4.7 Инъектирование горизонтальных трещин следует начинать с места наибольшего раскрытия трещины.
6.4.8 Вертикальные трещины инъектируют снизу вверх.
6.4.9 Инъекцию следует проводить до момента вытекания состава из соседнего инъектора либо до отказа по давлению. Окончательную величину максимально допустимого давления нагнетания принимают согласно 6.1.23.
Примечание - Ввиду того, что в подземных конструкциях транспортных тоннелей и метрополитенов доступ к ремонтируемой поверхности часто возможен только с одной стороны, следует контролировать расход инъекционного состава и корректировать его вязкость для предотвращения утечки состава за конструкцию.
6.4.10 В зависимости от влажностного состояния трещины, ширины ее раскрытия, толщины конструкции и требуемого давления нагнетания инъекцию выполняют с помощью:
- ручного насоса;
- накладных инъекторов с резиновым баллончиком;
- пластиковых капсул, оснащенных пружиной, создающей рабочее давление;
- различных по конструкции картриджей и пистолетов-герметизаторов (пастообразные составы);
- механизированных насосов.
6.4.11 При производстве работ следует контролировать качество работ путем отбора цилиндрических образцов (кернов) из конструкции для проверки степени заполнения трещины или с помощью щупа в отверстиях, пробуренных вкрест простирания трещины, а также пользоваться другими методами, приведенными в приложении Г.
6.4.12 Номенклатуру, значения и методы определения показателей свойств составов и показателей эксплуатационных качеств, достигаемых при применении метода 3 систем, принимают по ГОСТ 33762.
6.5 Метод заполнения трещин, пустот или полостей без избыточного давления в целях восстановления несущей способности конструкции (метод 4)
6.5.1 Областью применения метода 4 являются бетонные и железобетонные конструкции транспортных тоннелей и метрополитенов не заполненными водой трещинами с раскрытием более 0,8 мм.
6.5.2 Метод 4 следует применять на горизонтальных участках конструкций, таких как плиты основания, платформы, перекрытия.
6.5.3 Настоящий метод не применяется для ремонта подвижных трещин.
6.5.4 Метод 4 не следует рассматривать как долгосрочное решение проблемы растрескивания, вызванной коррозией арматуры, сульфатным воздействием или взаимодействием цемента с щелочным заполнителем.
6.5.5 Метод 4 предусматривает усиление конструкций путем заполнения участка с дефектом без использования давления посредством заливки. Последовательность работ при реализации этого метода приведена на рисунке 6.6.

1-й этап - очистка устья трещины и создание ограниченной области на поверхности ремонтируемой конструкции для подачи раствора; 2-й этап - подача состава в трещину самотеком; 3-й этап - очистка ремонтируемой поверхности
Рисунок 6.6 - Последовательность работ при применении метода 4
6.5.6 Метод 4 реализуется при максимально возможном заполнении участков с дефектом путем заливки состава для восстановления несущей способности конструкции до проектного уровня прочности бетона.
6.5.7 При проектировании метода 4 необходимо пробное выполнение работ для проверки возможной степени заполнения.
6.5.8 При невозможности применения метода 4 применяют метод 3.
6.5.9 При производстве работ следует контролировать качество работ путем отбора кернов (согласно 6.1.27) или с помощью щупа в отверстиях, пробуренных вкрест простирания трещины, а также использовать другие методы, приведенные в приложении Г.
6.5.10 Номенклатуру, значения и методы определения показателей свойств составов и показателей эксплуатационных качеств, достигаемых методом 4 систем, следует принимать по ГОСТ 33762.
6.6 Особенности реализации методов заполнения трещин инъекционно-уплотняющими составами на минеральной основе
6.6.1 Инъекционно-уплотняющие составы на минеральной основе в затворенном состоянии являются нестабильными седиментирующими суспензиями (взвесью твердых частиц в жидкости), которые подвержены коагуляционным процессам.
6.6.2 Для приготовления инъекционно-уплотняющих составов на минеральной основе следует использовать общестроительные цементы (ГОСТ 30515), тампонажные цементы (ГОСТ 1581), тонкодисперсные и особо тонкодисперсные вяжущие (ГОСТ Р 70308).
Примечание - Допускается введение в состав инъекционно-уплотняющих составов на минеральной основе различных добавок для повышения адгезии, модифицирующих сроки схватывания, уменьшающих усадку, а также для придания других, предусмотренных проектом, свойств.
6.6.3 Проникающая способность инъекционно-уплотняющих составов на минеральной основе ограничена размером частиц минерального вяжущего, входящего в их состав (приложение Д).
6.6.4 Оценку проникающей способности инъекционно-уплотняющих составов на минеральной основе следует проводить по ГОСТ Р 71263.
6.6.5 Не допускается оценку проникающей способности инъекционно-уплотняющих составов проводить по величине удельной поверхности.
6.6.6 Применение инъекционно-уплотняющих составов на минеральной основе должно образовывать уплотнения группы АС, оценку качества которых проводят по ГОСТ 33762.
6.6.7 При создании уплотнений реализуются методы 3 и 4.
6.6.8 Инъекционно-уплотняющие составы на основе общестроительных цементов следует инъектировать в трещины с шириной раскрытия от 0,4 мм и более; составы на основе тонкодисперсных вяжущих - в трещины с шириной раскрытия от 0,3 мм и более; составы на основе особо тонкодисперсных вяжущих - в трещины с шириной раскрытия от 0,2 мм и более.
6.6.9 Температура бетона основания, инъекционного состава и окружающей среды при выполнении инъекционных работ должна быть не менее 5 °C, как в сухих, так и во влажных, а также в фильтрующих трещинах.
6.6.10 При выборе инъекционного состава необходимо руководствоваться значением измеренной эффективной проникающей способности по ГОСТ Р 71263 и применять данный раствор в трещинах с аналогичным или бóльшим раскрытием.
6.6.11 При использовании инъекционных составов для первичного и контрольного тампонажа закрепного пространства, а также укрепления контактной зоны между тоннельной обделкой и породным массивом следует также руководствоваться СП 120.13330.2022 (подпункт 5.6.3.1) для получения растворов с требуемыми свойствами.
6.7 Особенности реализации методов заполнения трещин инъекционно-уплотняющими составами на полимерной основе
6.7.1 Инъекционно-уплотняющие составы на полимерной основе являются эмульсиями (смесью различных жидкостей) и не должны содержать в своем составе твердых частиц (приложение Д).
Примечание - При заполнении трещин в конструкциях пастообразными составами на полимерной основе допускается введение в их состав минерального заполнителя.
6.7.2 Проникающая способность таких составов ограничена вязкостью раствора: чем ниже вязкость, тем выше проникающая способность состава.
Примечание - При выполнении работ при низких температурах (от +5 °C до +10 °C) следует использовать более низковязкие инъекционные составы для полного заполнения трещин; при выполнении работ при высоких температурах (+25 °C и более) - более высоковязкие инъекционные составы для исключения перерасхода раствора.
6.7.3 Определение динамической вязкости инъекционных составов по ГОСТ 25276 или ГОСТ 25271 должно производиться в обязательном порядке для получения точной информации о свойствах жидкости.
Примечание - При проектировании инъекционных работ допускается проникающую способность инъекционно-уплотняющих составов на полимерной основе оценивать по параметру условной вязкости, измеренной с помощью вискозиметра по ГОСТ 9070.
6.7.4 В зависимости от цели ремонтных работ, вида уплотнения, ширины раскрытия трещин и их влажностного состояния применяют полимерные инъекционные составы на следующих основах смол:
- метилметакрилатной;
- эпоксидной;
- полиуретановой;
- акриловой.
6.7.5 Для восстановления сплошности бетонов тоннельных конструкций и замыкания волосных трещин с шириной раскрытия менее 0,1 мм, а также трещин с шириной раскрытия от 0,2 до 0,3 мм следует применять низковязкие высокомолекулярные инъекционные составы на метилметакрилатной основе.
Примечание - Такие инъекционные составы за счет низкой вязкости, сопоставимой с вязкостью воды, и низкого поверхностного натяжения обладают способностью пропитывать и укреплять стенки трещины; требуют меньшего давления нагнетания по сравнению с более вязкими эпоксидными составами.
6.7.5.1 Допускается применение инъекционных составов на метилметакрилатной основе для инъектирования трещин с шириной раскрытия более 0,2 мм при повторном нагнетании состава через 10 - 20 мин (в зависимости от его жизнеспособности) после первичной инъекции.
Примечание - Ввиду низкой вязкости инъекционных составов на метилметакрилатной основе и открытой капиллярной структуре бетона вдоль кромок трещины возможно впитывание части нагнетаемого состава в тело бетона, что требует повторной инъекции для максимального заполнения трещины.
6.7.5.2 Вязкость инъекционных составов на метилметакрилатной основе должна быть не более 50 мПа·с.
6.7.5.3 Инъекционные составы на на метилметакрилатной основе должны обеспечивать адгезию к бетону не менее 2,5 - 3,0 МПа.
6.7.5.4 При применении инъекционных составов на метилметакрилатной основе должны реализовываться методы 1, 3 и 4 с образованием уплотнений группы АС по ГОСТ 33762.
6.7.5.5 Трещины, вызванные коррозией арматурной стали, не следует устранять с помощью инъекционных составов на метилметакрилатной основе.
6.7.5.6 Следует единовременно приготавливать не более 0,5 - 1 л инъекционного состава (если не указано иное в инструкции производителя состава) на основе метилметакрилата в зависимости от возможностей подающего оборудования, температурных условий в месте выполнения работ и размера ремонтируемых дефектов.
Примечание - Инъекционные составы на метилметакрилатной основе являются многокомпонентными системами, приготовление которых производится на строительной площадке непосредственно перед инъекцией. Жизнеспособность таких систем зависит от количества смешиваемого состава и его температуры: чем больше объем, тем меньше жизнеспособность состава; чем выше температура, тем меньше жизнеспособность состава.
6.7.5.7 Инъекционные составы на метилметакрилатной основе следует применять для инъекции сухих и влажных трещин по ГОСТ 33762 в зависимости от модификации состава.
6.7.5.8 При производстве работ с инъекционными составами на метилметакрилатной основе следует в обязательном порядке пользоваться средствами индивидуальной защиты, обеспечить принудительную активную вентиляцию рабочей зоны. Запрещается использовать источники открытого горения, курить, применять искрообразующие механизмы в процессе проведения работ и в течение не менее чем 60 мин после их окончания.
6.7.6 Для восстановления сплошности бетонов тоннельных конструкций и замыкания трещин с шириной раскрытия более 0,1 мм следует применять инъекционные составы на основе эпоксидных смол.
Примечание - Инъекционные составы на основе эпоксидных смол при соответствующей модификации являются практически безусадочными по сравнению с инъекционными составами на метилметакрилатной основе.
6.7.6.1 Инъекционные составы на основе эпоксидных смол должны обеспечивать адгезию к бетону не менее 2,5 - 3,0 МПа.
6.7.6.2 Вязкость инъекционных составов на эпоксидной основе должна быть не более 100 мПа·с.
Примечание - При соответствующем обосновании допускается применение эпоксидных составов с более высокой вязкостью.
6.7.6.3 Для обеспечения лучшего проникновения инъекционных составов на эпоксидной основе в условиях пониженных температур следует реализовывать следующие технологические мероприятия:
- подогрев компонентов эпоксидных смол перед инъекцией;
- подогрев основания в зоне инъекционных работ;
- создание локального обогрева в рабочей зоне.
Примечание - Применение этих мероприятий одновременно обеспечивает максимальный эффект при значительном снижении температуры, гарантируя стабильную вязкость и высокую текучесть эпоксидного состава. При менее низких температурах допускается применять только одно и (или) два мероприятия (например, только подогрев компонентов или только подогрев основания). Это позволяет снизить затраты при одновременном сохранении необходимых характеристик инъекционного состава.
6.7.6.4 При применении инъекционных составов на эпоксидной основе должны реализовываться методы 1, 3 и 4 с образованием уплотнений группы АС по ГОСТ 33762.
6.7.6.5 Инъекционные составы на основе эпоксидных смол следует применять для инъекции сухих и влажных трещин (ГОСТ 33762) в зависимости от модификации состава.
6.7.6.6 Трещины, вызванные коррозией арматурной стали, не следует устранять с помощью инъекции эпоксидной смолы, так как продолжающаяся коррозия арматуры приведет к появлению новых трещин.
6.7.6.7 Следует единовременно приготавливать не более 0,5 - 1 л инъекционного состава (если не указано иное в инструкции производителя состава) на основе эпоксидных смол в зависимости от возможностей подающего оборудования, температурных условий в месте выполнения работ и размера ремонтируемых дефектов.
Примечание - Жизнеспособность инъекционных составов на основе эпоксидных смол зависит от количества смешиваемого состава и его температуры: чем больше объем, тем меньше жизнеспособность состава; чем выше температура, тем меньше жизнеспособность состава.
6.7.6.8 При производстве работ с инъекционными составами на основе эпоксидных смол следует в обязательном порядке пользоваться средствами индивидуальной защиты, обеспечить активную вентиляцию рабочей зоны.
6.7.7 Для ремонта влажных трещин, а также трещин с постоянной фильтрацией воды необходимо применять одно- или двухкомпонентные полиуретановые составы, представляющие собой реактивные полимеры, используемые для жесткого или эластичного заполнения трещин.
6.7.7.1 Полиуретановые смолы обеспечивают адгезию к влажному или обводненному бетону не более 2 МПа.
6.7.7.2 Однокомпонентные полиуретановые составы, состоящие из полиуретановой смолы и катализатора, не следует инъектировать в сухие трещины.
6.7.7.3 Обязательным и необходимым условием применения однокомпонентных полиуретановых составов является наличие воды или влаги в трещине.
6.7.7.4 Область применения однокомпонентных полиуретановых составов - остановка активных водных протечек, заместительная инъекция влажных и мокрых трещин, заполнение больших пустот и полостей в конструкциях.
6.7.7.5 Инъекцию однокомпонентных полиуретановых составов следует производить однокомпонентным насосом.
6.7.7.6 Применение однокомпонентных полиуретановых составов эффективно в трещинах с шириной раскрытия от 0,3 до 0,5 мм.
6.7.7.7 Применение полиуретановых составов должно образовывать уплотнения группы АГ по ГОСТ 33762 с реализацией методов 1, 2 или 3.
6.7.7.8 Объем пены, образующийся при смешивании однокомпонентного полиуретанового состава при контакте с водой в лабораторных условиях при свободном расширении, должен превышать объем исходного раствора не менее чем в 15 - 20 раз в соответствии с приложением Е.
6.7.7.9 При использовании однокомпонентных полиуретановых составов для инъекции трещин транспортных тоннелей и метрополитенов в условиях наличия давления со стороны грунтовых вод и низких температур, близких к температуре плюс 5 °C, следует провести предварительные тестовые лабораторные и натурные испытания для определения объема образующейся пены в каждом конкретном случае в соответствии с приложением Е.
Примечание - При низких температурах, характерных для подземных вод (плюс (3 - 10) °C), давлении, создаваемом уровнем воды в трещинах, конечный объем полиуретановой пены может быть в значительной степени (до пяти раз и более) меньше, чем при свободном расширении в лабораторных условиях. Данный фактор следует учитывать при определении необходимого объема инъекционного раствора.
6.7.7.10 Для определения и корректировки количества инъекционного состава в условиях воздействия давления грунтовых вод и их низких температур следует вычислить коэффициент работы пены. Для этого используют отношение объема пены, образующейся из инъекционного состава при воздействии давления грунтовых вод на строительной площадке с учетом их температуры, к объему пены при свободном расширении (лабораторные условия). С учетом полученных данных корректируют количество состава для инъекции, необходимое для заполнения трещин и пустот в конструкции, в соответствии с приложением Ж.
Примечание - Коэффициент работы пены принимает значения от нуля до единицы. Значения коэффициента работы пены, близкие к нулю, указывают на то, что при данных значениях давления и температуры воды на строительной площадке расход инъекционного состава должен быть увеличен в десять раз и более от известного объема трещин (пустот). В таком случае для заполнения дефектов следует принять решение о замене инъекционного состава на более эффективный с точки зрения работы в заданных условиях. При планировании и выполнении инъекционных работ следует выбирать тот состав, который имеет бóльший коэффициент работы пены в конкретных условиях. Объем пустот следует принимать согласно данным обследования.
6.7.7.11 В трещины с шириной раскрытия от 0,3 до 0,4 мм следует инъектировать двухкомпонентные полиуретановые составы, состоящие из полиуретановой смолы и полиола.
Примечание - Процесс полимеризации двухкомпонентных полиуретановых составов начинается при смешивании компонентов, без добавления воды. В случае добавления воды она является вспенивающим агентом и ускорителем реакции. Инъекция возможна как однокомпонентным, так и двухкомпонентным насосами в зависимости от времени жизнеспособности инъекционного состава.
6.7.7.12 При инъекции в сухую трещину двухкомпонентных полиуретановых составов в процессе полимеризации должен образовываться упругий или жесткий пластик, позволяющий создавать уплотнения группы АГ по ГОСТ 33762 с реализацией методов 1, 2 или 3.
6.7.7.13 При инъектировании во влажную или мокрую трещину должно происходить вспенивание инъекционного состава с увеличением объема.
6.7.7.14 При использовании модифицированных двухкомпонентных полиуретановых составов с высокой пенообразующей способностью необходимо определить коэффициент работы пены в условиях возможного давления грунтовых вод с учетом их температуры, аналогично требованиям, предъявляемым к однокомпонентным полиуретановым составам в соответствии с приложением Е.
6.7.8 Для ремонта трещин бетонных и железобетонных конструкций тоннелей и метрополитенов, находящихся постоянно под воздействием воды при различной температуре и разном давлении, необходимо использовать инъекционные составы на основе акриловых смол, представляющие собой четырехкомпонентные композиции из акриловой смолы, добавки-катализатора, воды (или водной дисперсии полимеров) и добавки-инициатора.
Примечание - Проведенные исследования показали, что вязкость таких составов в зависимости от температуры изменяется незначительно и не оказывает влияния на технологию работ.
6.7.8.1 Перед инъекцией на строительной площадке компоненты должны быть смешаны между собой, чтобы получить двухкомпонентный состав, который в зависимости от модификации инъектируют одно- или двухкомпонентным насосом.
6.7.8.2 Вязкость инъекционных составов на основе акриловых смол должна оставаться практически неизменной (допускается увеличение на величину не более 5% от первоначально измеренной) от момента приготовления состава до момента полимеризации (рисунок 6.7).

Рисунок 6.7 - Пример изменения вязкости инъекционного состава на основе акриловых смол от момента приготовления до момента полимеризации
6.7.8.3 Инъектирование акрилатных составов возможно в тонкие трещины шириной раскрытия от 0,1 до 0,3 мм.
Примечание - Ввиду подверженности полимеризованного состава усадке вследствие высыхания (даже в "безусадочной" модификации), эффективное применение его возможно только при инъектировании в водонасыщенную среду, например, во влажные трещины или за обделку подземных и заглубленных тоннельных сооружений, испытывающих постоянное влияние подземных вод; для создания противофильтрационных завес за обделкой сооружений в дисперсных грунтах.
6.7.8.4 Уплотнения, создаваемые инъекционными составами на основе акриловых смол, относятся к группе КГ по ГОСТ 33762 с реализацией методов 1 и 2.
6.7.8.5 В процессе инъекции должен образовываться гель, который предотвращает проникновение воды в конструкцию.
Примечание - При постоянном воздействии воды допускается ограниченное набухание гелеобразного состава для обеспечения компрессионного связывания с материалом основания.
6.7.8.6 Адгезия полимеризованных акрилатных составов к водонасыщенному бетону должна быть не менее 0,2 МПа.
6.7.9 Для инъекции трещин со значительной шириной раскрытия (более 0,8 мм) следует применять эпоксидные инъекционные составы пастообразной консистенции, обладающие вязкостью более 1000 мПа·с.
Примечание - Высокая вязкость позволяет избежать перерасхода состава, когда доступ к конструкции возможен только с одной стороны, что характерно для крепей и обделок транспортных тоннелей и метрополитенов.
6.7.9.1 При инъекции пастообразных составов следует учитывать, что их распространение в трещиноватой конструкции происходит по радиусу от центра инъекции (рисунок 6.8).

1 - накладной инъектор; 2 - инъекционный шланг от насоса или пистолета-герметизатора; 3 - "пластырь"; 4 - инъекционный раствор с радиусом распространения R; 5 - излив инъекционного раствора из следующего по ходу движения инъектора
Рисунок 6.8 - Инъекция вязких составов в трещины
6.7.9.2 Каналы для инъектирования пастообразного состава следует размещать на расстоянии, равном толщине конструкции, но не более чем 60 см.
6.7.9.3 Нагнетание следует начинать в месте максимального раскрытия трещин.
6.7.9.4 В процессе инъекции следует корректировать вязкость пастообразного состава, подогревая его и основание (если возможно) при выполнении работ при низких (менее +10 °C) температурах.
Примечание - На практике часто используют последовательное нагнетание эпоксидных составов от низковязких к высоковязким в одни и те же дефекты либо заполнение трещин различной ширины раскрытия по отдельности в разных участках конструкции.
6.7.9.5 Для уплотнения деформационных швов с использованием эластичных шнуров или других упругих составов с замкнутыми порами, обеспечивающих постоянное давление на контакте с бетонной поверхностью и способных воспринимать необходимое давление при последующем нагнетании составов, необходимо использовать акрилатные составы во влажных условиях и двухкомпонентные эластичные полиуретановые составы в сухих условиях.
7 Методы восстановления формы и несущей способности бетонных и железобетонных конструкций транспортных тоннелей и метрополитенов
7.1 Общие положения
7.1.1 В рамках принципа восстановления формы бетона конструкции следует использовать подход, заключающийся согласно ГОСТ 32016 в восстановлении целостности исходного бетона элемента до изначальной структуры формы.
7.1.2 Для ремонта бетонных и железобетонных обделок тоннелей и метрополитенов применяют следующие методы и (или) их сочетания:
- метод добавления ремонтного состава за опалубку под избыточным давлением;
- метод добавления ремонтного состава в опалубку самотеком;
- метод раздельного бетонирования;
- метод нанесения ремонтного состава вручную;
- метод нанесения ремонтного состава "сухим" пневматическим способом под высоким давлением;
- метод нанесения ремонтного состава "мокрым" пневматическим способом под высоким давлением;
- метод нанесения ремонтного состава "мокрым" пневматическим способом с низким давлением;
- метод частичного удаления внутреннего, разрушенного слоя бетона и его замены на новый.
Примечание - Характерно для монолитно-прессованной обделки, сооруженной в неустойчивых грунтах;
- метод добавления покрытия;
- метод замены дефектной бетонной обделки на новую заходками;
- метод восстановления несущей способности бетонных и железобетонных конструкций транспортных тоннелей и метрополитенов металлом и композитными составами;
- метод ремонта обделки тоннелей из высокоточных блоков.
7.1.3 При необходимости восстановления конструкции с различными повреждениями требуется удалить поверхностный слой бетона и заменить его подходящим составом.
7.1.4 Все составы, используемые для ремонта, должны быть максимально совместимы с основанием по физико-механическим, химическим и электрохимическим свойствам.
7.1.5 Для ремонта бетона следует использовать следующие составы:
- торкретируемые цементные растворы или бетон;
- цементные растворы или бетон;
- полимермодифицированные цементные растворы или бетон;
- полимерные растворы.
7.1.6 Перед началом ремонтных работ следует определить причины разрушения бетона.
Примечание - К типичным причинам поражения бетона относятся: коррозия арматуры в результате воздействия хлоридов; разрушение в результате циклов замораживания-оттаивания; разрушение в результате химического воздействия и другие факторы, а также их сочетание.
7.1.7 При наличии фильтрации воды необходимо осуществить дренажные и гидроизоляционные работы, в том числе водоподавление с целью создания за конструкцией водонепроницаемого слоя путем нагнетания составов за обделку.
7.1.7.1 В случае, когда водоподавление на локальном участке выполнить невозможно, на время проведения ремонтных работ следует оборудовать систему водоотводящих скважин (каптажный водозабор), исходя из гидрогеологических условий и в соответствии с требованиями СП 31.13330.
7.1.7.2 Каптажные скважины, обеспечивающие снятие статического уровня воды на обделку тоннеля, допускается использовать во время эксплуатации сооружения при наличии соответствующего технического обслуживания.
7.1.7.3 При падении дебета воды из скважины и росте статического уровня воды за обделкой тоннеля следует промыть скважину водой под давлением от забоя к устью.
Примечание - Для обеспечения необходимого дебета скважины допускается использовать способ вакуумирования.
7.1.7.4 В случае если происходит закольцовывание фильтрующего элемента, следует осуществить промывку кислотосодержащими растворами.
7.1.7.5 Если дебет скважины после промывки не восстановился, а статический уровень воды за обделкой тоннеля продолжает расти, следует пробурить новые скважины с учетом существующих гидрогеологических условий.
7.1.8 Качество ремонтных работ определяют: надлежащая подготовка поверхности, технология нанесения состава, контроль его схватывания и твердения, а также свойства выбранного ремонтного состава.
7.1.9 Особое внимание в процессе ремонтных работ следует уделять надлежащей подготовке поверхности ремонтируемого участка.
7.1.9.1 До начала ремонтных работ следует обследовать конструкцию различными методами для установления границ ремонтируемого участка, представленными в приложении В (рисунок 7.1).

1 - арматурный каркас; 2 - разрушенный участок конструкции; 3 - молоток Шмидта
Рисунок 7.1 - Обследование конструкции для установления границ ремонтируемого участка
7.1.9.2 Планировка участка должна быть выполнена в простой квадратной или прямоугольной формах, без острых углов между граничными линиями, определяющими зону ремонтных работ (рисунок 7.2).

1 - арматурный каркас; 2 - разрушенный участок конструкции; 3 - разметка участка, подлежащего ремонту
Рисунок 7.2 - Разметка ремонтируемого участка
7.1.9.3 Оконтуривание ремонтируемого участка должно осуществляться по размеченным границам (рисунок 7.3). Глубина подрезки краев участка не должна превышать глубину заложения арматуры.

1 - арматурный каркас; 2 - разрушенный участок конструкции; 3 - оконтуривание участка, подлежащего ремонту
Рисунок 7.3 - Оконтуривание ремонтируемого участка
7.1.9.4 Край ремонтируемого участка следует подрезать на глубину от 15 до 20 мм.
Примечание - При реализации метода 13 - на глубину от 5 до 10 мм.
7.1.9.5 Оконтуривание должно выполняться под углом 90° к ремонтируемой поверхности.
Примечание - При нанесении составов на вертикальные и потолочные поверхности оконтуривание следует производить под суженным углом от 90° к 45° к прилегающей поверхности, что обеспечит дополнительно сцепление состава с поверхностью.
7.1.9.6 Удаление разрушенного бетона должно производиться с использованием отбойного молотка до достижения структурно прочного основания (рисунок 7.4).

1 - арматурный каркас; 2 - разрушенный участок конструкции; 3 - удаление разрушенного бетона
Рисунок 7.4 - Удаление разрушенного бетона
7.1.9.7 Бетон, находящийся за арматурным каркасом, должен быть удален на глубину не менее 20 мм или на 6 мм больше, чем самый крупный размер заполнителя ремонтного состава (в зависимости от того, что больше) (рисунок 7.5, размер a).

Рисунок 7.5 - Расстояния, которые необходимо соблюдать при удалении бетона
7.1.9.8 В случае коррозии арматурного каркаса бетон необходимо удалять до момента обнаружения неповрежденных арматурных стержней.
7.1.9.9 При обнаружении неповрежденных арматурных стержней их следует обнажить на расстояние не менее 50 мм от поврежденного участка (рисунок 7.5, размер b).
7.1.9.10 Арматура должна быть очищена от продуктов коррозии с использованием абразивной обработки.
7.1.9.11 При значительном уменьшении площади поперечного сечения арматуры необходимо произвести ее замену или усиление, наложив дополнительную арматуру внахлест на соседние стержни. При этом следует обеспечить условия, чтобы новое расположение арматурных стержней не способствовало образованию раковин при укладке ремонтного состава (см. 7.1.9.7).
Примечание - Применение ингибиторов коррозии для защиты арматуры допустимо, если это согласуется с условиями эксплуатации и техническими характеристиками используемых составов. Ингибиторы должны обеспечивать необходимый уровень защиты от коррозии, быть совместимыми с ремонтными составами и не снижать прочностные характеристики конструкции.
7.1.9.12 В случае эксплуатации конструкции в агрессивных средах арматурный каркас следует дополнительно защитить посредством нанесения специального защитного покрытия (грунтовки) на минеральной или полимерной основе, соответствующего требованиям ГОСТ Р 59152. Ремонтные составы на цементной основе должны соответствовать требованиям ГОСТ Р 59935.
7.1.9.13 После удаления разрушенного бетона и зачистки арматурного каркаса с ремонтируемой поверхности необходимо удалить остатки отслаивающихся частиц, пыли, мусора и других загрязнений, которые могут снизить адгезию.
Примечание - Для этого следует провести абразивную обработку (рисунок 7.6). В качестве альтернативы допускается продувка воздухом безмасляного компрессора или промывка водой под давлением.

1 - структурно прочное основание; 2 - арматурный каркас; 3 - абразивная обработка
Рисунок 7.6 - Очистка арматурной стали и бетона с помощью абразивной обработки
7.1.9.14 Конечная текстура бетонной поверхности должна быть шероховатой с амплитудой от 5 до 6 мм.
7.1.9.15 Перед нанесением ремонтного состава поверхность должна быть увлажнена (рисунок 7.7).

1 - существующий бетон; 2 - отремонтированный участок; 3 - нанесение защитного покрытия
Рисунок 7.7 - Очищение затвердевшего состава от пленкообразующего состава
7.1.9.16 Основание должно быть влажным, без видимых следов воды или блеска. Локальные скопления воды на поверхности ремонтируемого участка недопустимы.
7.1.9.17 При выполнении работ ручным способом (методы 8 и 13) ремонтный состав наносят в два этапа:
- на начальном этапе необходимо наносить готовый к применению ремонтный состав тонким слоем на подлежащее ремонту бетонное основание. Нанесение должно осуществляться с тщательным втиранием состава щеткой или кистью для заполнения пор и повышения адгезии в контактной зоне.
Примечание - Для повышения адгезии в контактной зоне допускается применение грунтовочных составов на минеральной и (или) полимерной основе;
- основной слой ремонтного состава наносят до высыхания связующего слоя. Состав необходимо вдавливать в основание, равномерно распределять по всему ремонтируемому участку и выравнивать.
Примечание - Если состав наносят в несколько слоев, поверхность предыдущего слоя должна быть обработана для создания шероховатости, что повысит адгезию. Нанесение последующего слоя допускается только после схватывания предыдущего.
7.1.9.18 При выполнении ремонтных работ методами 5 - 7 или 9 - 12 допускается не создавать на поверхности бетона связующий слой.
7.1.9.19 Уход за свежеуложенным ремонтным составом должен включать температурно-влажностное выдерживание и предотвращение испарения воды затворения из смеси.
7.1.9.20 В зависимости от условий эксплуатации, климатических особенностей и расположения участка, поверхность отремонтированного участка должна быть защищена от попадания солнечных лучей, сквозняков и других внешних воздействий одним из следующих способов:
- укрытие полиэтиленовой пленкой;
- использование влажной ветоши или опилок для равномерного поддержания влажности;
- нанесение пленкообразующих составов.
Примечание - При реализации методов 5 - 7 уход за отремонтированной поверхностью начинают после снятия опалубки.
7.1.9.21 Контроль качества выполненных работ осуществляют прямыми и непрямыми методами, включающими в себя испытания контрольных образцов ремонтного состава, определение адгезии ремонтного состава к бетонному основанию, ультразвуковое обследование и другие методы и их сочетания, представленные в приложении Г.
7.2 Метод добавления ремонтного состава в опалубку под избыточным давлением (метод 5)
7.2.1 Метод должен осуществляться путем нагнетания ремонтного состава в полость, которая ограничена опалубкой с одной стороны и ремонтируемым бетоном с другой стороны, с использованием насоса (рисунок 7.8).

1-й этап - установка опалубки и ее герметизация; 2-й этап - нагнетание ремонтного состава в опалубку с одной стороны; 3-й этап - выдерживание заполненной ремонтным материалом полости под избыточным давлением
Рисунок 7.8 - Последовательность работ при реализации метода 5
7.2.2 Ремонтные составы, применяемые для реализации данного метода, должны иметь соответствующую удобоукладываемость (подвижность или текучесть по ГОСТ Р 56378) для подачи насосом.
7.2.3 Крупность заполнителя применяемых составов следует выбирать в зависимости от характеристик насосного оборудования, особенностей конструкции, толщины заливки и коэффициента армирования конструкции.
7.2.4 Перед возведением опалубки необходимо предотвратить возможное скопление воздуха в отдельных местах путем предварительного выравнивания локальных участков и (или) установкой воздухоотводящих трубок.
7.2.5 Ремонтный состав нагнетают за опалубку снизу вверх; в протяженных конструкциях - от одного конца к другому.
7.2.6 При ремонте больших площадей следует разделять ремонтируемый участок на части, равновеликие по объему.
7.2.7 После заполнения полости с помощью насоса должно создаваться избыточное давление.
7.2.8 Метод 5 может применяться как альтернатива методам 6, 7 и 9 - 11. Метод 5 применяют для восстановления целостности конструкции и (или) защитного слоя бетона.
7.2.9 Область применения метода 5 - восстановление вертикальных поверхностей, таких как стены и колонны, а также части балок и плит перекрытий.
7.2.10 Контроль качества выполненных работ осуществляют после снятия опалубки визуальным осмотром и методами неразрушающего контроля.
7.2.11 Проведение испытаний контрольных образцов ремонтного состава, определение адгезии ремонтного состава к бетонному основанию, проведение ультразвукового обследования являются обязательными.
Примечание - Применяются и другие методы и их сочетания, приведенные в приложении Г.
7.3 Метод добавления ремонтного состава в опалубку самотеком (метод 6)
7.3.1 Метод реализуется путем заливки через лотки и (или) отверстия в плите ремонтного состава в полость, ограниченную опалубкой с одной стороны и ремонтируемым бетоном с другой (рисунок 7.9).

1 - лоток для подачи раствора; 2 - арматурный каркас; 3 - опалубка
Рисунок 7.9 - Пример реализации метода 6
7.3.2 Ремонтные составы и бетоны, применяемые для реализации данного метода, должны иметь соответствующую удобоукладываемость (подвижность или текучесть по ГОСТ Р 56378) для подачи самотеком.
7.3.3 Возможно применение составов с различной крупностью заполнителя в зависимости от особенностей конструкции, толщины заливки и коэффициента армирования конструкции.
7.3.4 Перед возведением опалубки необходимо предотвратить возможное скопление воздуха в отдельных местах путем предварительного выравнивания локальных участков и (или) установкой воздухоотводящих трубок.
7.3.5 В зависимости от консистенции ремонтного состава следует произвести уплотнение свежеуложенного ремонтного раствора с помощью вибрации, штыковки арматурой.
7.3.6 Самоуплотняющиеся смеси литой консистенции вибрировать не следует.
7.3.7 Область применения метода 6 - восстановление вертикальных поверхностей, таких как стены и колонны.
Примечание - При ремонте перекрытий ремонтный состав следует укладывать через отверстия, прорезанные в плите.
7.3.8 Метод 6 может применяться как альтернатива методам 5, 7 и 9 - 11. Метод 6 применяют для восстановления целостности конструкции и (или) защитного слоя бетона.
7.3.9 Для укладки ремонтного состава за вертикальную опалубку следует использовать опалубочные устройства, сконструированные таким образом, чтобы обеспечить возможность создания гидравлического напора над подготовленными верхними краями бетонной поверхности для обеспечения подачи ремонтного состава в верхние горизонтальные зоны.
7.3.10 Для больших вертикальных поверхностей высотой более 3 м следует предусмотреть ступенчатую укладку состава с целью уменьшения ее расслоения при свободном падении и чрезмерном давлении на опалубку.
7.3.11 При ремонте перекрытий заливку состава следует производить через отверстия в плите сверху (рисунок 7.10).

1-й этап - подготовка конструкции к заливке; 2-й этап - подача ремонтного состава через отверстия в плите; 3-й этап - использование погружного вибратора для уплотнения ремонтного состава в опалубке
Рисунок 7.10 - Последовательность работ при ремонте перекрытий методом 6
7.3.12 Контроль качества выполненных работ осуществляют после снятия опалубки визуальным осмотром и методами неразрушающего контроля.
7.3.13 Проведение испытаний контрольных образцов ремонтного состава, определение адгезии ремонтного состава к бетонному основанию, проведение ультразвукового обследования являются обязательными.
Примечание - Применяются и другие методы и их сочетания, приведенные в приложении Г.
7.4 Метод раздельного бетонирования (метод 7)
7.4.1 Метод является альтернативой методам 5 и 6 и реализуется путем предварительной укладки крупного заполнителя в опалубку с последующей заливкой цементно-песчаным или цементным раствором. Применение метода 7 приведено на рисунке 7.11.

1-й этап - установка опалубки с превенторами; 2-й этап - укладка заполнителя; 3-й этап - подача раствора снизу вверх
Рисунок 7.11 - Последовательность работ при применении метода 7
7.4.2 Область применения метода 7 - ремонт вертикальных и горизонтальных, включая сводовые части, участков транспортных тоннелей; выполнение работ в труднодоступных местах, где методы 5 и 6 трудно реализуемы.
7.4.3 Метод применяют при проведении ремонтных работ, когда толщина ремонтируемого слоя или глубина дефекта составляет не менее 50 мм.
7.4.4 Метод применяют для выполнения как конструкционного, так и неконструкционного ремонта.
7.4.5 В качестве заполнителя используют мытый гранитный щебень подходящего гранулометрического состава.
7.4.6 В опалубку следует укладывать влажный заполнитель для предотвращения загустевания раствора при закачке.
7.4.7 Раствор, нагнетаемый в опалубку, следует подбирать в соответствии с требованиями ГОСТ Р 56378.
7.4.8 Давление нагнетания раствора в опалубку должно быть не менее 0,7 МПа.
7.4.9 Контроль качества выполненных работ осуществляют после снятия опалубки визуальным осмотром и методами неразрушающего контроля.
7.4.10 Проведение испытаний контрольных образцов ремонтного состава, определение адгезии ремонтного состава к бетонному основанию, проведение ультразвукового обследования являются обязательными.
Примечание - Применяются и другие методы и их сочетания, приведенные в приложении Г.
7.5 Метод нанесения ремонтного состава вручную (метод 8)
7.5.1 Метод применяют также при локальном ремонте поврежденного или отколовшегося бетона, при ремонте в труднодоступных местах, для выравнивания вертикальных, потолочных и горизонтальных бетонных поверхностей.
7.5.2 Для ручного нанесения ремонтных составов необходимо использовать растворные смеси (составы) жесткой и (или) тиксотропной консистенций, соответствующие требованиям ГОСТ Р 56378.
Примечание - Консистенция раствора должна быть такой, чтобы он мог формоваться в шар, без выступания цементного молока. При уплотнении такой смеси (состава) становится возможным обеспечить плотный контакт с подстилающим бетонным слоем и добиться необходимой прочности сцепления.
7.5.3 Ремонт участков с малой площадью поверхности, но на большую глубину, следует проводить с использованием растворов жесткой консистенции, укладывая их с помощью трамбовки (рисунок 7.12). В остальных случаях следует применять растворы тиксотропной консистенции.

1 - утрамбованный слоями жесткий ремонтный раствор; 2 - деревянная трамбовка; 3 - направление формирования конструкции; 4 - арматурный каркас; 5 - существующий бетон
Рисунок 7.12 - Укладка жестких ремонтных составов вручную с помощью трамбовки
7.5.4 Толщину нанесения состава следует назначать от 3 до 70 мм на вертикальных поверхностях и от 3 до 30 мм на потолочных поверхностях в одном слое (рисунок 7.13).
Примечание - Если необходимая толщина нанесения превышает рекомендуемую, то раствор наносят в несколько слоев с перерывами во времени для схватывания предыдущего слоя. В каждом слое при этом следует укладывать армирующую сетку так, чтобы между ремонтируемой поверхностью и сеткой оставался зазор не менее 10 мм.

1 - кельма с ремонтным раствором; 2 - "старый" бетон; 3 - слои нанесения ремонтного раствора (до 30 мм за один раз)
Рисунок 7.13 - Нанесение ремонтного состава тиксотропной консистенции вручную с помощью мастерка и полутерки на потолочную поверхность
7.5.5 При ремонте потолочных поверхностей следует применять как обычные, так и облегченные ремонтные составы с плотностью около 1600 кг/м3, обеспечивающие адгезию к ремонтируемому основанию не менее 1,2 - 1,5 МПа.
7.5.6 Ремонтные смеси должны готовиться к применению непосредственно на рабочем месте строго в соответствии с инструкцией производителя.
7.5.7 Допустимо использовать только строительные миксеры и (или) механизированные растворомешалки принудительного действия.
7.5.8 Запрещается проводить перемешивание ремонтных составов вручную.
7.6 Метод нанесения ремонтного состава "сухим" пневматическим способом под высоким давлением (метод 9)
7.6.1 Метод должен осуществляться путем нанесения на предварительно подготовленное бетонное основание ремонтного состава, поставляемого в сухом виде (растворная или бетонная смесь), с использованием пневматического оборудования, работающего под высоким давлением. Применение метода 9 приведено на рисунке 7.14.
Примечание - Смешивание ремонтного состава с водой происходит на месте выполнения работ в смесительном устройстве (сопле).

1 - загрузочный бункер роторной установки; 2 - подача воды; 3 - подающий шланг; 4 - сопло; 5 - подача сжатого воздуха; 6 - "старый" бетон; 7 - арматурный каркас; 8 - "новый" раствор
Рисунок 7.14 - Схема нанесения ремонтного состава на поверхность железобетонной конструкции "сухим" способом
7.6.2 Метод 9 используют для восстановления целостности конструкции как альтернативу методам 5 - 7 в случаях, когда на конструкции сложно установить опалубку; для увеличения защитного слоя бетона как альтернативу методу 13 при значительных объемах работ.
7.6.3 Метод 9 следует применять в условиях открытых строительных площадок (для элементов конструкции на земной поверхности) при наличии активного проветривания рабочего места ввиду значительного пылеобразования при производстве работ.
Примечание - При проведении работ необходимо обеспечить работников средствами индивидуальной защиты органов зрения и дыхания.
7.6.4 Область применения метода 9 - ремонт вертикальных, наклонных и сводчатых поверхностей транспортных тоннелей.
7.6.5 Поверхность должна быть очищена от всех видов загрязнений - пыли, грязи, масел, рыхлых и отслаивающихся частиц и иметь шероховатость Rz от 1,5 до 2,0 мм.
Примечание - Механическая очистка улучшает сцепление за счет шероховатости.
7.6.6 Поверхность должна быть смочена водой методом распыления или губчатого нанесения за 1 - 2 ч до начала работ.
7.6.7 Влажность на глубине 1 - 3 мм от поверхности перед нанесением должна составлять от 5% до 10%. Проверка остаточной влажности осуществляется влагомером.
7.6.8 Смесь должна включать цемент (соответствующий марке проектного состава), песок (фракция 0 - 2 мм) и заполнитель (максимальная крупность заполнителя должна быть не более 10 мм), а также добавки по необходимости.
Примечание - При необходимости добавляют модификаторы - пластификаторы, ускорители твердения или добавки для уменьшения усадки, в зависимости от условий эксплуатации покрытия.
7.6.9 Оборудование должно быть настроено и проверено для оптимальной подачи смеси (состава) и воды.
7.6.10 Перед загрузкой смеси (состава) выполняют визуальную проверку ее однородности, при необходимости - просеивание.
7.6.11 Перед началом работ проводят тестовое нанесение на небольшой участок поверхности для наладки потока смеси (состава), угла подачи и давления до начала работ (приложение И).
7.6.12 Сопло должно располагаться под углом 90° к поверхности.
7.6.13 Расстояние до стены или потолка от сопла выбирают из условия наименьшей потери состава в виде отскока: от 0,6 до 1,2 м.
7.6.14 Давление подачи должно быть стабильным.
Примечание - Давление устанавливают в пределах 400 - 700 кПа в зависимости от типа смеси (состава), состава и условий нанесения.
7.6.15 Отскочивший материал не должен превышать 15% от массы наносимого состава.
Примечание - Каждые 10 мин оператор должен контролировать количество отскочившего состава визуально и (или) путем сбора состава и определения процента отскочившего состава путем отношения его массы к массе всей использованной смеси (состава).
7.6.16 Отскочивший состав не допускается к повторному использованию.
7.6.17 Максимальная толщина одного слоя не должна превышать 50 мм. Запрещается находиться под сводом, покрытым свежеуложенными слоями ремонтного состава.
Примечание - В заранее определенных местах поверхности устанавливают контрольные маяки (металлические стержни или пластины) на проектную толщину слоя. Маяки крепят к основанию, оставляя нужную высоту, равную проектной толщине слоя.
7.6.18 Каждый последующий слой наносится на затвердевший, но еще не полностью высохший предыдущий слой.
Примечание - Перед нанесением второго и последующих слоев обеспечивается равномерное, но очень легкое увлажнение предыдущего слоя для улучшения адгезии путем использования распылителя с мелкими каплями.
7.6.19 Готовое покрытие должно соответствовать проектным требованиям по прочности, плотности и водонепроницаемости.
Примечание - В производственных условиях степень готовности поверхности к восприятию последующего слоя допускается определять вдавливанием пальца - затвердевший материал не проминается пальцем. Данный способ также применяют при реализации методов 10 и 11.
7.6.20 Поверхность покрытия проверяют на ровность, отсутствие трещин, пустот и других дефектов. В случае обнаружения таких дефектов они должны быть устранены.
7.6.21 При выполнении работ методами 9 - 11 необходимо осуществлять контроль прочности наносимого покрытия на различных стадиях его твердения: ранней (0 - 3 ч), начальной (3 - 24 ч) и конечной (1 - 28 сут).
Примечание - На основании результатов раннего и начального контроля прочности допускается вносить изменения в состав смеси (состава), водоцементное отношение и параметры нанесения.
7.6.22 Раннюю прочность (по истечении трех часов нанесения ремонтного состава) определяют с помощью устройств пенетрирующего действия при циклической динамической нагрузке (типа динамического плотномера с внедряемым индентором) по ГОСТ Р 56587.
7.6.23 Контроль ранней прочности проводят через 30 мин после нанесения и затем каждые 30 мин до достижения устойчивого значения.
Примечание - Если условия работы нестабильны (высокая влажность, низкие температуры), следует увеличить частоту тестов на каждом участке вдвое.
7.6.24 Результаты фиксируют для определения момента начального схватывания. Показания ранней прочности должны быть не менее 0,5 МПа к концу трех часов.
7.6.25 Контроль начальной прочности проводят методом отрыва со скалыванием по ГОСТ 22690.
7.6.26 Начальная прочность должна составлять не менее 25% - 30% от проектной прочности покрытия.
7.6.27 Контроль конечной прочности проводят путем испытания образцов-кернов на 28-е сутки согласно приложению Г.
7.6.28 Минимально допустимая прочность на отрыв для покрытия через 28 сут должна составлять не менее 1,5 МПа, в зависимости от требований проекта.
7.6.29 Для непрерывного контроля прочности наносимого покрытия методами 9 - 11 также следует использовать приборы косвенного неразрушающего контроля.
7.6.30 Для поддержания влажности необходимо регулярное увлажнение поверхности каждые 3 - 4 ч в течение первых семи суток.
7.6.31 Для удаления пыли необходимо использовать систему вытяжной вентиляции и пылеудаления с производительностью не менее 500 м3/ч.
Примечание - Эта система должна быть установлена с обеих сторон рабочей зоны для эффективного удаления пыли.
7.7 Метод нанесения ремонтного состава "мокрым" пневматическим способом под высоким давлением (метод 10)
7.7.1 Метод реализуется путем нанесения на подготовленное бетонное основание предварительно затворенного ремонтного состава (растворная или бетонная смесь) пневматическим способом под высоким давлением. Применение метода 10 приведено на рисунке 7.15.

1 - установка для подачи приготовленного состава (бетононасос); 2 - подающий шланг; 3 - сопло; 4 – подача сжатого воздуха; 5 - "старый" бетон; 6 - арматурный каркас; 7 - "новый" раствор/бетон
Рисунок 7.15 - Схема нанесения ремонтного состава на поверхность железобетонной конструкции "мокрым" способом
7.7.2 Для реализации метода 10 при малых объемах ремонтных работ и нанесении тонкослойных покрытий следует применять раствороподающие машины, оснащенные шнековой подачей, и штукатурные станции. При значительных объемах работ используют установки, оборудованные емкостью с мешалкой, и бетононасосы различной производительности.
7.7.3 Область применения метода - ремонт вертикальных, наклонных и сводчатых поверхностей транспортных тоннелей.
7.7.4 Поверхность должна быть очищена от всех видов загрязнений - пыли, грязи, масел, рыхлых и отслаивающихся частиц и иметь шероховатость Rz от 1,5 до 2,0 мм.
Примечание - Механическая очистка улучшает сцепление за счет шероховатости.
7.7.5 Трещины, выбоины и другие повреждения должны быть заделаны ремонтными составами, соответствующими требованиям ПД и (или) РД.
7.7.6 Метод 10 следует применять в условиях закрытых строительных площадок или при невозможности активного проветривания рабочего места ввиду незначительного пылеобразования при производстве работ.
7.7.7 Метод 10 используют для восстановления целостности конструкции как альтернативу методам 5 - 7 в случаях, когда на конструкции сложно установить опалубку; для увеличения защитного слоя бетона как альтернативу методу 13 при значительных объемах работ.
7.7.8 Перед началом работ проводят тестовое нанесение на небольшой участок поверхности для наладки потока смеси (состава), угла подачи и давления до начала работ (см. приложение И).
7.7.9 Сопло должно располагаться под углом 90° к поверхности.
7.7.10 Поверхность должна быть смочена водой методом распыления или губчатого нанесения за 1 - 2 ч до начала работ.
7.7.11 Излишняя вода должна быть удалена.
7.7.12 Влажность на глубине 1 - 3 мм от поверхности перед нанесением должна составлять от 5% до 10%. Проверка остаточной влажности осуществляется влагомером.
7.7.13 Расстояние до стены или потолка от сопла выбирается из условия наименьшей потери состава в виде отскока от 0,3 до 0,6 м.
7.7.14 Давление воздуха на выходе из сопла должно быть отрегулировано для поддержания стабильного потока состава.
Примечание - Давление устанавливают в пределах 800 - 1000 кПа в зависимости от типа смеси (состава), состава и условий нанесения.
7.7.15 Отскок состава не должен превышать 15% от массы наносимого состава.
Примечание - Каждые 10 мин оператор должен контролировать количество отскочившего состава визуально и (или) путем сбора состава и определения процента отскочившего состава путем отношения его массы к массе всей использованной смеси (состава).
7.7.16 Отскочивший состав к повторному использованию не допускается.
7.7.17 Максимальная толщина одного слоя не должна превышать 30 мм. Запрещается находиться под сводом, покрытым свежеуложенными слоями ремонтного состава.
Примечание - При необходимости большей толщины слои наносят последовательно с промежуточным увлажнением.
7.7.18 Контроль прочности наносимого покрытия следует проводить согласно 7.6.20 - 7.6.29.
7.7.19 Для поддержания влажности необходимо регулярное увлажнение поверхности каждые 3 - 4 ч в течение семи суток.
7.8 Метод нанесения ремонтного состава "мокрым" пневматическим способом с низким давлением (метод 11)
7.8.1 Метод реализуется путем нанесения на подготовленное бетонное основание предварительно затворенного ремонтного состава пневматическим способом с низким давлением сжатого воздуха. Применение метода 11 показано на рисунке 7.16.

1-й этап - нанесение ремонтного состава "мокрым" способом с низким давлением; 2-й этап - завершение работ на выделенном участке; 3-й этап - обработка поверхности для придания эстетичного внешнего вида
Рисунок 7.16 - Последовательность работ при применении метода 11
7.8.2 Для реализации метода 11 следует применять раствороподающие машины, оснащенные шнековой подачей, и штукатурные станции.
7.8.3 Область применения метода - ремонт вертикальных, наклонных и сводчатых поверхностей транспортных тоннелей.
7.8.4 Метод 11 следует применять в условиях закрытых строительных площадок или при невозможности активного проветривания рабочего места ввиду незначительного пылеобразования при производстве работ, а также в качестве альтернативы методу 10 при выполнении ремонтных работ в труднодоступных местах ввиду компактности и маневренности оборудования.
7.8.5 Метод 11 используют для восстановления целостности конструкции как альтернативу методам 5 - 7 в случаях, когда на конструкции сложно установить опалубку; для увеличения защитного слоя бетона как альтернативу методу 13 при значительных объемах работ.
7.8.6 Максимальную крупность заполнителя в составе ремонтного состава следует принимать не более 5 мм при восстановлении целостности конструкции и не более 1,5 мм при восстановлении защитного слоя бетона.
7.8.7 Перед началом работ проводят тестовое нанесение на небольшой участок поверхности. Это позволяет настроить поток смеси (состава), угол подачи и давление до начала работ (см. приложение И).
7.8.8 Сопло должно располагаться под углом 90° к поверхности.
7.8.9 Поверхность должна быть очищена от всех видов загрязнений - пыли, грязи, масел, рыхлых и отслаивающихся частиц и иметь шероховатость Rz от 1,5 до 2,0 мм.
Примечание - Механическая очистка улучшает сцепление за счет шероховатости.
7.8.10 Трещины, выбоины и другие повреждения должны быть заделаны ремонтными составами, соответствующими требованиям ПД и (или) РД.
7.8.11 Поверхность должна быть смочена водой методом распыления или губчатого нанесения за 1 - 2 ч до начала работ.
7.8.12 Влажность на глубине 1 - 3 мм от поверхности перед нанесением должна составлять от 5% до 10%. Проверка остаточной влажности осуществляется влагомером.
7.8.13 Расстояние до стены или потолка от сопла выбирают из условия наименьшей потери состава в виде отскока от 0,6 до 1,0 м.
7.8.14 Давление воздуха на выходе из сопла должно быть отрегулировано для поддержания стабильного потока состава.
Примечание - Давление устанавливают в пределах 100 - 200 кПа в зависимости от типа смеси (состава) и условий нанесения.
7.8.15 Отскок состава не должен превышать 5% от массы наносимого состава.
Примечание - Каждые 10 мин оператор должен контролировать количество отскочившего состава визуально и (или) путем сбора состава и определения процента отскочившего состава путем отношения его массы к массе всей использованной смеси (состава).
7.8.16 Отскочивший состав не допускается к повторному использованию.
7.8.17 Толщина слоя за один проход составляет от 5 до 20 мм. Запрещается находиться под сводом, покрытым свежеуложенными слоями ремонтного состава.
Примечание - При необходимости большей толщины слои наносят последовательно с промежуточным увлажнением.
7.8.18 Контроль прочности наносимого покрытия следует проводить согласно 7.6.20 - 7.6.29.
7.8.19 Для поддержания влажности необходимо регулярное увлажнение поверхности каждые 3 - 4 ч в течение первых семи суток.
7.8.20 Для реализации метода 11 следует применять ремонтные растворные смеси тиксотропной консистенции, соответствующие требованиям ГОСТ Р 56378.
7.9 Метод ремонта монолитно-прессованной обделки (метод 12)
7.9.1 Комплекс работ по восстановлению эксплуатационных качеств монолитно-прессованной обделки должен включать:
- подготовку поверхности бетона;
- расшивку, заделку, инъектирование швов прессования;
- нанесение на поверхности обделки изоляционных покрытий на минеральной основе;
- удаление разрушенного слоя бетона как с поверхности обделки, так и в зонах швов прессования;
- восстановление формы тоннеля укладкой ремонтных составов вручную или торкрет-бетоном;
- инъектирование пористых зон бетона полимерными составами с низкой вязкостью в зонах постоянного воздействия и фильтрации воды через обделку;
- осуществление визуального и инструментального контроля качественных показателей составов и технологии производства работ.
7.9.2 Для восстановления несущей способности монолитно-прессованной обделки допускается использование арматурного каркаса из металлической и (или) композитной арматуры с последующим омоноличиванием бетоном, при условии соблюдения габаритов приближения строений.
Примечание - Монолитно-прессованные обделки, сооруженные в неустойчивых породах, характеризуются большим количеством холодных швов бетонирования (1 - 2 шва на 1 м тоннеля), непостоянством обделки по толщине, неплотным пористым бетоном, фильтрующим грунтовые воды.
7.9.3 При применении метода восстановления несущей способности обделок композитной арматурой необходимо предоставить расчетное обоснование в соответствии с действующими нормативными документами, включая проверку несущей способности сечений на действие изгибающего момента, продольной и поперечной силы.
7.9.4 При проектировании использования композитной арматуры следует учитывать, что ее жесткость ниже, чем у металлической арматуры.
7.9.5 Количество устанавливаемой композитной арматуры должно быть определено эквивалентно жесткости металлической арматуры.
7.9.6 Для ремонта обделок тоннелей с использованием арматурного каркаса на дефектных участках необходимо устанавливать рабочую и продольную арматуру по периметру обделки с их анкеровкой к телу бетона и последующим омоноличиванием слоем торкрет-бетона (рисунок 7.17).

1 - "старый" бетон; 2 - усадочные трещины; 3 – слой торкрет-бетона; 4 - толщина слоев торкрет-бетона от 2 до 7 см; 5 - продольная арматура из металлической или композитной арматуры; 6 - каркас из металлической или композитной арматуры; 7 - анкер из металлической или композитной арматуры
Рисунок 7.17 - Схема усиления монолитно-прессованной обделки тоннелей торкрет-бетоном с установкой арматурного каркаса из металлической или композитной арматуры
7.9.7 При разрушении бетона по внутреннему контуру тоннеля допускается удаление бетона заходками на глубину не более 7 - 8 см.
7.9.8 После удаления бетона необходимо восстановить конструкцию с применением дополнительного арматурного каркаса и ремонтного раствора.
7.10 Метод добавления покрытия (метод 13)
7.10.1 Метод применяется для восстановления поверхностного слоя бетона конструкции при глубине его повреждения не более 5 - 10 мм (рисунок 7.18).

Рисунок 7.18 - Выравнивание бетонной поверхности с целью профилактической защиты арматурного каркаса от коррозии
7.10.2 Метод применяется для защиты участков конструкции, предварительно отремонтированных методами 5 - 11.
Примечание - Нанесенное покрытие может иметь как декоративные свойства, так и выполнять функцию гидроизоляции.
7.10.3 Работы выполняют в профилактических целях для выравнивания поверхностного слоя бетона, заполнения трещин и неровностей, профилактической защиты арматурного каркаса от коррозии, для улучшения эстетического вида или подготовки поверхности к последующему нанесению защитного покрытия.
Примечание - В случае если в бетонном основании осталось значительное количество свободной гидроокиси кальция, возможно применение смеси проникающего действия, соответствующей ГОСТ 34669.
7.10.4 Реализация метода 13 позволяет устранить неподвижные волосные трещины, трещины от пластической усадки, а также воздушные поры и раковины на поверхности бетона.
7.10.5 Составы, применяемые для реализации метода 13, должны соответствовать требованиям ГОСТ 32017.
7.10.6 При ремонте локальных участков в профилактических целях работы следует выполнять силами эксплуатирующей организации во время технологических перерывов в работе сооружения.
7.10.7 Образуемые при реализации метода 13 покрытия должны иметь паропроницаемость, эквивалентную бетону основания.
7.10.8 Наносимое покрытие должно иметь гидроизоляционные свойства и перекрывать контактные трещины по контуру ремонта для исключения возможности коррозии арматурного каркаса.
7.10.9 После окончания ремонтных работ участок ремонта следует защищать пленкообразующими покрытиями, предотвращающими испарение воды из ремонтного состава.
Примечание - При использовании методов 5 - 7 пленкообразующее покрытие наносят после снятия опалубки.
7.11 Метод замены дефектной бетонной обделки
7.11.1 Замена дефектной обделки заходками применяется при необходимости частичной замены обделки по участкам, сохраняя при этом общую конструктивную целостность.
7.11.2 При ремонте обделок тоннелей с заменой бетона на полную глубину необходимо обеспечить требуемую жесткость стыка между "старым" и "новым" бетонами.
7.11.3 Для обеспечения требуемой жесткости стыка между "старым" и "новым" бетонами следует установить конструктивные элементы с формированием стыка заходок бетонирования в виде "выступ-паз" (рисунок 7.19).
Примечание - Допускается дополнительная установка арматурного каркаса.

Узел А: 1 - доски опалубки, толщиной 50 мм; 2 – опорная рама, двутавр N 20; 3 - распорный брус (8 x 12 см); 4 - двутавр N 12; 5 - прямоугольное резервное сопряжение (5 x 10 см); 6 - анкер, Ø20, клинощелевой; 7 - трапециевидное резервное сопряжение (30 x 20 x 10 см)
(цифрами показана очередность удаления и бетонирования обделки)
Рисунок 7.19 - Технология замены обделки тоннеля арочной формы заходками (номера заходок указаны цифрами) с формированием "выступ-паз" за счет резервных сопряжений
7.11.4 Метод замены обделки круглого очертания используется для ремонта тоннелей или конструкций круглого сечения, что требует равномерного распределения нагрузок и герметичности соединений.
7.11.5 Демонтаж поврежденных секций должен быть осуществлен с временной поддержкой несущих элементов.
7.11.6 Установка новых блоков круглого очертания должна быть выполнена с минимальным зазором и соединением типа "выступ-паз" для повышения устойчивости.
7.11.7 Стыки должны быть заполнены высокопрочными и (или) водонепроницаемыми цементирующими составами в соответствии с ГОСТ Р 56378.
7.11.8 Все стыки должны быть проверены на прочность, герметичность и водонепроницаемость методами неразрушающего контроля.
7.11.9 Замена обделки с использованием высокоточных блоков применяется в условиях, требующих строгих допусков и высокой точности соединений для обеспечения долговечности и герметичности.
7.11.10 Метод применяется для сложных инженерных конструкций, где необходимы минимальные зазоры и повышенная устойчивость стыков.
7.11.11 Блоки должны быть изготовлены в заводских условиях с высокой точностью, осуществляется контроль блоков на соответствие проектным допускам.
7.11.12 На участке установки блоки фиксируют с использованием оборудования для точного позиционирования, что позволяет достичь требуемой геометрии и прочности соединений.
7.11.13 Стыки герметизируют водонепроницаемыми составами с высокой адгезией в соответствии с требованиями ГОСТ Р 56378.
7.11.14 Каждый стык проверяют на герметичность и прочность. Результаты испытаний оформляются протоколами, и документация передается для итоговой приемки.
7.12 Метод восстановления несущей способности бетонных и железобетонных конструкций транспортных тоннелей и метрополитенов композитными составами
7.12.1 Работы по восстановлению несущей способности конструкций, находящихся на поверхности или сооруженных открытым способом и не испытывающих воздействия воды и ее паров, следует выполнять согласно СП 164.1325800.
7.12.2 При восстановлении несущей способности конструкций, испытывающих воздействие воды и влаги, перед нанесением композитных составов следует оценить возможные последствия их применения.
7.12.3 Работы по восстановлению несущей способности производят:
- с использованием составов заводского изготовления, монтируемых на месте работ;
- с помощью составов, отверждение которых происходит на месте работ.
7.12.4 К составам заводского изготовления относят углепластиковые полосы (ламинаты), приклеиваемые к элементу усиления без напряжения или монтируемые с помощью механического крепления анкерами при предварительном натяжении. Допускается для усиления применять стальные полосы (кроме нержавеющей стали).
7.12.5 Полосы из углепластика должны иметь толщину от 1 до 3 мм. Они монтируются на тиксотропный клей к прямолинейному, выровненному участку конструкции.
Примечание - Не следует применять полосы из углепластика на конструкциях криволинейной или сложной формы.
7.12.5.1 Допустимые значения наибольшей высоты профиля неровностей бетонной поверхности Rz при усилении ламинатами: с толщиной более 1 мм - 10 мм на базе 2,0 м и 4 мм на базе 0,3 м; с толщиной менее 1 мм - 6 мм на базе 2,0 м и 2 мм на базе 0,3 м.
7.12.5.2 Установку ламинатов следует производить в один или несколько слоев, укладывая на нанесенный слой тиксотропного клея и прикатывая резиновым валиком. Прочность сцепления с основанием (адгезия) должна быть не менее 2,5 МПа.
7.12.5.3 Качество склеивания следует определять на контрольном образце, приклеенном рядом с основным элементом.
7.12.5.4 Следует учитывать, что при миграции воды и влаги элементы усиления оказывают барражирующее действие (особенно для подземных конструкций) и способствуют накоплению воды и влаги на контакте с бетоном, а также возможной кристаллизации солей, что может привести к отслаиванию ламината от конструкции.
7.12.5.5 Температура упрочненных частей конструкции не должна превышать фактическую температуру стеклования клея.
7.12.5.6 Согласно ГОСТ 32943 температура стеклования клея должна быть более 40 °C.
7.12.5.7 При проектировании восстановления несущей способности композитными составами следует учитывать различные значения в коэффициенте линейного термического расширения, модулей Юнга и Пуассона.
Примечание - При резких изменениях условий эксплуатации различие в свойствах бетона и композитного состава может способствовать ускоренному разрушению системы.
7.12.5.8 Клей следует наносить слоем не более 5 мм на ленту из углепластика.
7.12.5.9 Конечная толщина слоя клея после прокатывания валиком должна быть не менее 1,5 - 2 мм.
7.12.5.10 Клей должен соответствовать требованиям ГОСТ 32943.
7.12.5.11 При необходимости сохранения габаритов (сечения) усиливаемой ламинатами или композитной арматурой конструкции следует установку элементов усиления осуществлять в прорезанные в бетоне канавки.
Примечание - При производстве работ следует учитывать наличие и расположение арматурного каркаса. Прорезанная канавка может быть сухой или влажной, но без наличия воды. Поверхность канавок должна быть прочной и чистой. Укладку тиксотропного клея в канавку осуществляют с помощью пистолета. Канавку заполняют клеем на 2/3 глубины. Элементы усиления вдавливаются в клей.
7.12.6 К составам для восстановления несущей способности конструкций, отверждение которых происходит на месте работ, относятся холсты, ткани, сетки.
7.12.6.1 "Сухое" нанесение предусматривает применение холстов и тканей плотностью до 500 г/м2.
7.12.6.2 Для монтажа холста или ткани используется тиксотропный двухкомпонентный клеевой состав эпоксидной смолы средней вязкости, который выполняет роль пропитки и адгезива.
7.12.6.3 Толщина холстов или тканей должна составлять от 0,1 до 2,0 мм.
Примечание - Допускается монтаж холстов для усиления конструкции в несколько слоев.
7.12.6.4 "Сухое" нанесение следует применять при наличии бетонных поверхностей криволинейного очертания и сложного профиля.
Примечание - Перед нанесением бетонные поверхности следует отремонтировать и выровнять.
7.12.6.5 При "мокром" способе нанесения холст или ткань пропитывают низковязкой эпоксидной смолой с помощью валика, а затем наносят на подготовленную поверхность.
Примечание - Высоковязкую эпоксидную смолу следует использовать перед нанесением первого или последующих слоев на откосы или вертикальные поверхности усиливаемых элементов. Допускается нанесение нескольких слоев.
7.12.6.6 Допустимые значения неровностей бетонной поверхности при усилении холстами либо тканями "сухого" и "мокрого" нанесения: 4 мм на базе 2,0 м и 2 мм на базе 0,3 м.
7.12.6.7 Для повышения огнестойкости конструкции композитные материалы следует укладывать в матрицу из полимерцементного раствора.
Примечание - Укладку допускается осуществлять "сухим" или "мокрым" методами.
7.12.6.8 При "сухом" методе укладки используют сетки из свободных нитей или готовые, обработанные эпоксидным составом на заводе.
Примечание - Допускается использование нескольких слоев сетки.
7.12.6.9 При "мокром" методе укладки в грунтовочный слой полимерцементного раствора утапливают сетку из углепластика, смоченную в эпоксидном клее.
Примечание - Допускается применение нескольких слоев сетки. При "мокром" методе нанесения сетки ее волокна сцепляются с полимерцементной матрицей и эпоксидным составом, что способствует отсутствию продергивания их при испытании образцов бетона на изгиб.
7.12.7 Перед проведением работ по усилению следует проверить прочность бетонного основания.
7.12.8 Минимальный предел прочности бетона на растяжение должен превышать 1,5 МПа (за исключением усиления дефектной прессбетонной обделки, где уложенная в канавки арматура создает арматурный каркас).
7.12.9 Поверхность бетонных конструкций перед восстановлением необходимо очистить.
7.12.10 Поверхность бетонных конструкций может быть влажной, но не мокрой. Содержание влаги в бетоне должно быть не более 4%.
7.12.11 Температура конструкции должна превышать точку росы на 3 °C.
7.12.12 При укладке холстов либо тканей вокруг острых краев, углов они должны быть закруглены под радиус, указанный в проекте.
7.12.13 Контроль качества работ производят как разрушающими, так и неразрушающими методами, приведенными в приложении Г.
7.13 Метод ремонта обделки тоннелей из высокоточных блоков
7.13.1 Высокоточные железобетонные блоки тоннельной обделки представляют собой элементы заводского изготовления с высоким коэффициентом армирования, выполненные из высокопрочного бетона. Уплотнительный контур, расположенный по периметру блока, обеспечивает водонепроницаемость обделки (рисунок 7.20).
Примечание - В современном тоннелестроении применяют блоки с одним уплотнительным контуром, расположенным со стороны грунтового массива. Однако в особых случаях, например, при сложных гидрогеологических условиях, наличии агрессивных грунтовых вод или повышенных требованиях к герметичности применяют блоки с двумя уплотнительными контурами - один располагают со стороны грунтового массива, а второй - с внутренней стороны тоннеля.

1 - железобетонные блоки; 2 - резиновые уплотнители; 3 - тампонажный раствор; 4 - возможный зазор в уплотнительном контуре, через который в тоннель может поступать вода
Рисунок 7.20 - Общий вид уплотнительного контура высокоточных блоков тоннельной обделки
7.13.2 Характерными дефектами блоков, возникающими в процессе проходки, при монтаже колец обделки или эксплуатации готового тоннеля и требующими ремонтных работ, являются:
- трещины, в том числе сквозные;
- сколы кромок отдельных блоков;
- нарушение защитного слоя;
- отслоения в стыковочных местах и болтовых гнездах.
7.13.3 Ремонт блоков тоннельной обделки в зависимости от вида дефектов следует выполнять следующими методами:
- ремонт трещин в блоках обделки следует выполнять с учетом требований методов 1, 3, 4 и влажностного состояния трещин;
- восстановление формы отдельных блоков следует выполнять в соответствии с требованиями метода 8 при локальном ремонте или механизированным способом с учетом требований методов 9 - 11 при большом объеме работ;
- восстановление защитного слоя следует осуществлять методами 8 - 11 и 13;
- ремонт в стыковочных местах и болтовых гнездах следует выполнять инъекционными методами 1, 3, 4, а также методом 8.
7.13.4 Ремонт одиночного уплотнительного контура для предотвращения поступления воды в тоннель следует производить с использованием винтовых или игольчатых инъекторов малого диаметра, монтируемых в зазор между блоками (рисунок 7.21).
Примечание - Зазор между блоками высокоточной обделки транспортных тоннелей и метрополитенов составляет 6 мм. Винтовые/игольчатые инъекторы следует выбирать таким образом, чтобы их внешний диаметр был не более 5 мм. В зависимости от предполагаемого давления нагнетания допускается применение инъекторов с различным исполнением быстросъемных соединений для подключения инъекционных шлангов, например по ГОСТ 19853 (пресс-масленки), которые используются при низком давлении нагнетания (до 1 МПа).

1 - инъекционное отверстие; 2 - винтовой инъектор; 3 - быстросъемное соединение для подключения инъекционного шланга
Рисунок 7.21 - Вид уплотнительного контура с установленным винтовым/игольчатым инъектором
7.13.4.1 Винтовые/игольчатые инъекторы следует устанавливать таким образом, чтобы инъекционное отверстие, расположенное на конце инъектора, находилось за уплотнительным элементом блоков обделки.
7.13.4.2 Шаг установки винтовых/игольчатых инъекторов по периметру кольца обделки следует назначать не менее 200 мм и не более 1000 мм.
7.13.4.3 Винтовые/игольчатые инъекторы устанавливают непосредственно на участке с водопроявлениями, а также за его пределами на расстоянии от 250 до 500 мм.
7.13.4.4 В случае, когда невозможно установить винтовой/игольчатый инъектор в межблочный стык, следует отступить от места установки от 100 до 200 мм и повторить операцию по установке.
7.13.4.5 Инъекцию следует производить снизу вверх по окружности тоннеля.
7.13.4.6 Инъекционные работы следует выполнять в два последовательных этапа:
- для остановки активного водопритока следует произвести инъекцию однокомпонентной низковязкой полиуретановой смолы, соответствующей требованиям 6.7.7.3;
- для заключительной герметизации следует произвести инъекцию двухкомпонентной низковязкой полиуретановой смолы, соответствующей модификации по эластичности.
7.13.5 Вязкость полиуретановых инъекционных составов должна быть не более 250 мПа·с.
7.13.6 В случае невозможности выполнения работ по 7.13.4 зазор между блоками для ликвидации водопроявлений заполняют инъекционным составом на полимерной основе с использованием накладных инъекторов (рисунок 7.22).
Примечание - Допускается использование винтовых или игольчатых, или разжимных, или забивных инъекторов.

1 - отверстия в межблочном зазоре для установки герметизирующих шпонок; 2 - возможные места установки инъекторов; 3 - зазор с водопроявлениями; 4 - блоки обделки
Примечание - Место установки инъекторов выбирают исходя из условий на месте выполнения работ.
Рисунок 7.22 - Схема установки инъекторов и герметизирующих шпонок
7.13.6.1 Полость для инъекции между блоками обделки должна быть создана или ограничена бурением отверстий по периметру участка с водопроявлениями с отступом от границ этого участка от 250 до 500 мм.
7.13.6.2 Диаметр отверстий должен быть не менее 1,5 ширины раскрытия герметизируемого межблочного шва.
7.13.6.3 Отверстия должны быть пробурены до уплотнительного контура.
7.13.6.4 В пробуренные отверстия должны быть установлены герметизирующие шпонки, выполненные из дерева. Диаметр шпонки должен быть равен диаметру пробуренного отверстия (рисунок 7.22).
Примечание - Допускается установка деревянных шпонок без предварительного бурения отверстий. В данном случае диаметр шпонки должен быть на 2 - 3 мм больше ширины межблочного шва.
7.13.6.5 Зазор между блоками со стороны тоннеля в месте инъекции должен быть расшит на глубину от 20 до 30 мм с последующей установкой инъекторов.
Примечание - Допускается применение винтовых или игольчатых, или накладных инъекторов.
7.13.6.6 Для чеканки расшитого зазора используют ремонтный материал на минеральной основе класса R3 или R4, соответствующий требованиям ГОСТ Р 56378.
Примечание - Допускается для чеканки межблочного шва использовать составы на полимерной основе.
7.13.6.7 В образованную полость (см. 7.13.6.1) производят инъекцию полиуретановых составов в последовательности, изложенной в 7.13.4.6.
7.13.6.8 После выполнения инъекционных работ должен быть произведен демонтаж инъекторов с заделкой инъекционных отверстий ремонтными смесями классов R3 или R4 согласно ГОСТ Р 56378.
7.13.7 Ликвидацию водопроявлений в блоках с двумя уплотнительными контурами производят согласно требованиям, приведенным в 7.13.4, размещая инъекционные инъекторы (игольчатые или винтовые) так, чтобы инъекционное отверстие находилось между уплотнительными контурами.
8 Требования к оборудованию и составам
8.1 Требования к оборудованию
8.1.1 Набор оборудования для выполнения работ следует подразделять: для использования в целях проведения профилактических работ и для выполнения капитального ремонта.
8.1.2 Для профилактических ремонтных работ силами эксплуатирующих организаций должны подбираться соответствующие конформативные технологии производства.
Примечание - Оборудование должно легко приспосабливаться к конкретным условиям проведения ремонтных работ.
8.1.3 Машины и оборудование должны соответствовать требованиям настоящего свода правил и требованиям безопасности согласно [6].
8.1.4 Машины и оборудование надлежит комплектовать в зависимости от конкретных условий производства, видов и объемов ремонтных работ.
8.1.5 Машины и оборудование должны обеспечивать автономное выполнение работ по всем видам ремонтных работ.
8.1.6 Инъекционное оборудование перед проведением работ должно быть испытано и освидетельствовано согласно [9, пункт 6.4.3].
8.2 Требования к составам
8.2.1 При разработке и принятии решений по ремонту и проведению ремонтных работ необходимо выбирать составы и технологии, которые максимально учитывают возможные негативные факторы и воздействия, а также обеспечивают наивысший уровень защиты.
8.2.2 Выбор составов осуществляют с учетом требований настоящего свода правил и характеристик состава строительной конструкции транспортных тоннелей и метрополитенов в соответствии с ГОСТ 32016, ГОСТ 32017, ГОСТ 32943, ГОСТ 33762, ГОСТ Р 56378.
8.2.3 При выборе инъекционного состава следует учитывать следующие параметры:
- минимальную ширину раскрытия трещины;
- влажностное состояние трещины;
- подвижность трещины;
- температурные условия на момент проведения работ;
- гидрогеологические условия во вмещающих грунтах.
8.2.4 Выбор состава должен быть технически и экономически обоснован исходя из предполагаемой технологии проведения работ и области применения состава.
9 Требования к обеспечению контроля качества
9.1 Организацию производственного контроля качества работ по ремонту необходимо осуществлять для недопущения приемки работ, выполненных с нарушением требований ПД, утвержденной в установленном порядке, и требований нормативных документов.
9.2 Качество выполненных работ необходимо оценивать при приемке скрытых работ, выполненных этапов работ в соответствии с действующими нормативными документами.
10 Обеспечение безопасности жизни и здоровья
10.1 Общие требования
10.1.1 Соблюдение требований охраны труда следует обеспечивать согласно СП 255.1325800.
10.1.2 Требования к работам, проводимым в тоннелях, приведены в ГОСТ Р 56521, [9].
10.1.3 При выполнении строительных, ремонтных и эксплуатационных работ работники должны быть ознакомлены с инструкцией по охране труда.
10.1.4 Составы, применяемые для ремонта, не должны выделять во внешнюю среду вредных химических веществ в количествах, превышающих ПДК, утвержденные Министерством здравоохранения Российской Федерации.
10.1.5 Не допускается сбрасывать составы, предназначенные для ремонтных работ, и их компоненты, а также отходы от промывки оборудования в водоемы и канализацию.
10.1.6 При выполнении ремонтных работ следует использовать спецодежду и средства индивидуальной защиты: резиновые перчатки, защитные очки, респираторы.
10.1.7 При работе с ремонтными составами на минеральной основе следует избегать излишнего пылеобразования.
10.2 Обеспечение пожарной безопасности
10.2.1 Для обеспечения соблюдения требований пожарной безопасности следует руководствоваться настоящим сводом правил, [2], СП 255.1325800.2016 (раздел 14).
10.2.2 При разработке ПД, РД, ТР, а также производстве работ необходимо обеспечить применение составов и оборудования, исключающих возможность возникновения пожара.
Приложение А
(справочное)
Обобщенная классификация основных бетонных и железобетонных несущих элементов и конструкций транспортных тоннелей и метрополитенов
Таблица А.1
|
Элемент конструкции транспортных тоннелей и метрополитенов |
|
I Тоннель |
|
1 Обделка |
|
1.1 Монолитная бетонная обделка |
|
1.2 Монолитная железобетонная обделка |
|
1.3 Набрызг-бетонная обделка |
|
1.4 Монолитно-прессованная обделка |
|
1.5 Сборная железобетонная обделка |
|
1.5.1 Из железобетонных тюбингов |
|
1.5.2 Из усиленных железобетонных тюбингов |
|
1.5.3 Из сплошных железобетонных тюбингов прямоугольного сечения |
|
1.5.4 Из сборных типовых элементов |
|
1.5.4.1 Стены |
|
1.5.4.2 Лоток |
|
1.5.4.3 Перекрытия |
|
1.6 Сборные опускные секции |
|
1.6.1 Из железобетона |
|
1.6.2 Из преднапряженного железобетона |
|
1.7 Сборная железобетонная цельносекционная |
|
2 Деформационные швы |
|
2.1 Температурно-осадочные |
|
2.1.1 Открытого типа |
|
2.1.2 Закрытого типа |
|
2.2 Антисейсмические |
|
3 Гидроизоляция |
|
3.1 Жесткая (торкрет) |
|
3.2 Гибкая оклеечная на битумной основе |
|
3.3 Сварная металлическая гидроизоляция |
|
3.4 Обмазочная гидроизоляция |
|
3.5 Мембранная гидроизоляция (мембрана из поливинилхлорида (пленка из поливинилхлорида)) |
|
3.6 Напыляемая гидроизоляция |
|
3.7 Из полимерных смол |
|
3.8 Герметизация болтовых отверстий |
|
3.8.1 В сборных железобетонных элементах |
|
II Специальные сооружения и элементы |
|
4 Камера |
|
4.1 Набрызг-бетонная обделка |
|
4.2 Монолитная бетонная обделка |
|
4.3 Монолитная железобетонная обделка |
|
5 Ниша |
|
5.1 Набрызг-бетонная обделка |
|
5.2 Монолитная бетонная обделка |
|
5.3 Монолитная железобетонная обделка |
|
6 Площадка аварийной остановки |
|
6.1 Набрызг-бетонная обделка |
|
6.2 Монолитная бетонная обделка |
|
6.3 Монолитная железобетонная обделка |
|
7 Соединительная выработка (сбойка, рассечка, ходок) |
|
7.1 Набрызг-бетонная обделка |
|
7.2 Сборная обделка |
|
7.2.1 Из железобетонных тюбингов |
|
7.3 Монолитная бетонная обделка |
|
7.4 Монолитная железобетонная обделка |
|
8 Сервисная транспортная штольня |
|
8.1 Набрызг-бетонная обделка |
|
8.2 Сборная обделка |
|
8.2.1 Из железобетонных тюбингов |
|
8.3 Монолитная бетонная обделка |
|
8.4 Монолитная железобетонная обделка |
|
9 Сервисная дренажная штольня |
|
9.1 Набрызг-бетонная обделка |
|
9.2 Сборная обделка |
|
9.2.1 Из железобетонных тюбингов |
|
9.3 Монолитная бетонная обделка |
|
9.4 Монолитная железобетонная обделка |
|
10 Сервисная вентиляционная штольня |
|
10.1 Набрызг-бетонная обделка |
|
10.2 Сборная обделка |
|
10.2.1 Из железобетонных тюбингов |
|
10.3 Монолитная бетонная обделка |
|
10.4 Монолитная железобетонная обделка |
|
11 Сервисная эвакуационная штольня |
|
11.1 Набрызг-бетонная обделка |
|
11.2 Сборная обделка |
|
11.2.1 Из железобетонных тюбингов |
|
11.3 Монолитная бетонная обделка |
|
11.4 Монолитная железобетонная обделка |
|
12 Железобетонное укрытие коробчатого сечения |
|
III Сопряжения |
|
13 Портал (оголовок) |
|
13.1 Монолитный бетон |
|
13.2 Железобетон |
|
13.2.1 Монолитный |
|
13.2.2 Сборный |
|
13.3 Бутобетон |
|
14 Рампа |
|
14.1 Монолитный бетон |
|
14.2 Железобетон |
|
14.2.1 Монолитный |
|
14.2.2 Сборный |
|
15 Подходы |
|
15.1 Покрытие проезжей части |
|
15.1.1 Асфальтобетонное |
|
15.1.2 Цементобетонное |
|
15.2 Лестничные сходы |
|
15.3 Водоотвод |
|
IV Проезжая часть |
|
16 Покрытие ездового полотна |
|
16.1 Асфальтобетонное покрытие |
|
16.2 Цементобетонное покрытие |
|
16.3 Защитный слой гидроизоляции |
|
16.3.1 Из цементобетона |
|
16.3.2 Из асфальтобетона |
|
16.4 Гидроизоляция |
|
16.4.1 Оклеечная |
|
16.4.2 Напыляемая |
|
16.4.3 Из гидрофобного бетона |
|
V Путь |
|
17 Жесткое основание пути |
|
17.1 Путевой бетонный слой верхнего строения пути |
|
VI Водоотвод |
|
18 Внутритоннельный водоотвод |
|
19 Поверхностный водоотвод |
|
VII Припортальные сооружения |
|
VIII Шахтный ствол |
|
20 Вертикальный |
|
20.1 Монолитная бетонная обделка |
|
20.2 Монолитная железобетонная обделка |
|
20.3 Сборная обделка |
|
20.3.1 Из железобетонных тюбингов |
|
20.3.2 Из железобетонных усиленных тюбингов |
|
21 Наклонный |
|
21.1 Монолитная бетонная обделка |
|
21.2 Монолитная железобетонная обделка |
|
21.3 Сборная обделка |
|
21.3.1 Из железобетонных тюбингов |
|
21.3.2 Из железобетонных усиленных тюбингов |
Приложение Б
(рекомендуемое)
Управление сроком службы транспортных тоннелей и метрополитенов, а также инфраструктурных объектов, выполненных из бетона и железобетона
Б.1 Необходимо осуществлять постоянный контроль технического состояния всех искусственных сооружений, включая тоннели, на протяжении всего срока их эксплуатации.
Б.2 Планы ремонтных работ транспортных тоннелей и метрополитенов необходимо разрабатывать с учетом восстановления ресурса конструкций, снижающегося в ходе эксплуатации.
Б.3 Срок службы до капитального ремонта для железобетонных конструкций составляет 50 лет.
Примечание - В условиях высокой влажности и агрессивных воздействий (например, контакт с морской водой, постоянные вибрационные нагрузки) срок службы может быть сокращен до 40 лет.
Б.4 Межремонтный срок для железобетонных конструкций тоннелей и метрополитенов составляет 25 лет.
Примечание - В условиях агрессивной среды (подземные воды с высокой минерализацией, химические вещества) срок может быть уменьшен до 20 лет.
Б.5 Планирование восстановления сооружения, включая усиление или замену элементов несущих конструкций, должно осуществляться при износе, приближающемся к 80% от функционального (остаточного) срока службы.
Примечание - При этом необходимо учитывать фактическое техническое состояние конструкций, чтобы предотвратить снижение прочностных характеристик и не допустить перехода сооружения в ненадлежащее (предотказное) состояние.
Б.6 Собственник сооружения обязан разрабатывать порядок определения технического состояния тоннеля и его остаточного срока службы, используя различные методы анализа изменения текущего состояния, и составления предиктивной модели.
Примечание - При этом, в зависимости от протяженности тоннелей, допускается оценка технического состояния и остаточного срока службы по каждому пикету отдельно, с учетом худшей оценки пикета в качестве оценки всего сооружения.
Б.7 Решение о дальнейшей эксплуатации объекта должно приниматься с учетом функционального (остаточного) срока службы.
Б.8 Для оценки функционального (остаточного) срока службы объекта возможно использовать математическое моделирование с применением детерминистических и стохастических моделей при соответствующем обосновании.
Б.9 В соответствии с ГОСТ 32016 и СП 349.1325800 любое решение по обеспечению долговечности конструкций (защите или восстановлению) должно приниматься в рамках стратегии управления эксплуатацией конструкций в сооружениях.
Б.10 Ремонт и усиление конструкций в рамках стратегии управления эксплуатацией должны обеспечивать частичное или полное восстановление эксплуатационных качеств конструкции с требуемым уровнем надежности.
Примечание - При отсутствии регулярного ухода потребность в реконструкции или завершении эксплуатации тоннеля может возникнуть до окончания его нормативного срока службы.
Б.11 Продление нормативного срока службы должно осуществляться после реконструкции объекта.
Б.12 При капитальном ремонте срок службы допускается продлевать в случае восстановления (замены) элементов несущей конструкции или участков сооружения.
Б.13 При достижении предотказного состояния работы по реконструкции тоннеля должны учитывать потери, связанные с длительным закрытием движения. При интенсивном движении должен оцениваться вариант завершения эксплуатации объекта при строительстве рядом нового тоннеля.
Б.14 Целесообразность включения инженерных сооружений в планы капитального ремонта или реконструкции обосновывается нормативным техническим состоянием.
Б.15 Собственник тоннеля устанавливает порядок содержания и ремонтных работ сооружения на весь срок его жизненного цикла исходя из основного критерия - обеспечения исправного нормативного (технического) состояния.
Б.16 Обследование прямоугольных конструкций (рисунок Б.1) пешеходных переходов метрополитена и иных тоннелей открытого способа строительства проводится с целью оценки общего состояния конструкций в соответствии с ГОСТ 31937, ГОСТ Р 57208. Правила обследования несущих строительных конструкций зданий и сооружений приведены в [8].

1 - плита перекрытия; 2 - стеновой блок; 3 - блок днища
Рисунок Б.1 - Обделка прямоугольного тоннеля
Б.17 Первоначально должно проводиться предварительное обследование (визуальное и инструментальное) для оценки типов и объемов видимых дефектов, определения их влияния на несущую способность и выявления необходимости противоаварийных мероприятий.
Б.18 Одновременно с предварительным обследованием (см. Б.17) должна составляться дефектная ведомость конструкций, где проводится первичная классификация участков по условиям эксплуатации и техническому состоянию.
Б.19 После проведения предварительного обследования, при выявлении критических дефектов, должны быть выполнены срочные противоаварийные мероприятия, обеспечивающие целостность и безопасность сооружения.
Б.20 Прогнозирование срока службы конструкций на основе математических моделей или сравнительного анализа результатов обследований типовых сооружений с различными сроками эксплуатации является необходимым условием для расчета эксплуатационных затрат, связанных с поддержанием сооружений на заданном уровне надежности.
Б.21 Решения об использовании защитных систем, выборе ремонтных составов, а также о сносе или восстановлении отдельных частей сооружения должны приниматься на основе прогнозной оценки срока службы.
Б.22 Модель должна разрабатываться на основе результатов инструментального обследования.
Б.23 Для выявления причин коррозии арматуры в конструкции должны проводиться натурные и лабораторные испытания.
Б.24 Комплекс исследований должен включать в себя определение агрессивности эксплуатационной среды сооружения в отношении бетона и железобетона, отбор проб бетона для определения водопоглощения, глубины карбонизации, наличия хлоридов.
Б.25 Полученные данные должны подвергаться статистической обработке, с определением соответствующего закона распределения случайной величины для каждого параметра.
Б.26 На основе исследования коррозионных процессов в бетоне и (или) железобетоне плит перекрытия должна быть разработана модель коррозии арматуры в бетоне и (или) железобетоне.
Б.27 На основе модели коррозии арматуры в бетоне и (или) железобетоне плит перекрытия должна быть разработана модель надежности тоннеля, определяющая отказ тоннеля как нарушение целостности конструкции вследствие отказа наиболее слабого элемента.
Б.28 В случае коррозионных повреждений безотказная работа тоннеля рассматривается как случайное событие, определяемое пересечением независимых случайных событий безотказной работы каждого поврежденного элемента.
Б.29 Безотказная работа тоннеля Рт (t) должна определяться по формуле
Рт(t) = [1 - Fпл(t)]N, (Б.1)
где Fпл(t) - вероятность отказа поврежденного элемента в течение времени t;
N - количество поврежденных элементов.
Б.30 Остаточный срок службы поврежденного элемента должен прогнозироваться на основе предельной несущей способности этого же элемента при изгибе.
Б.31 Отказом конструкции считается состояние, при котором в опасном сечении поврежденного элемента вследствие деструктивных процессов несущая способность конструкции снижается до недопустимого уровня.
Б.32 Срок службы при коррозии арматуры определяется как сумма инкубационного периода и периода повреждения
t = t0 + t1, (Б.2)
где t0 - время инкубационного периода коррозии арматуры в бетоне, с;
t1 - время периода повреждения, с.
Б.33 Значение прочности сечения плиты перекрытия Mu(t) должно быть функционально связано с площадью рабочей арматуры As(t) и определяться по следующей формуле
Mu(t) = Mu(As(t)), (Б.3)
где Mu(t) - момент сопротивления сечения в момент времени t, зависящий от площади рабочей арматуры;
As(t) - площадь рабочей арматуры в сечении плиты в момент времени t.
Б.34 Критерием отказа плиты перекрытия является равенство внешнего момента Mд и несущей способности сечения плиты Mu(t):
Mu(t) = Mд. (Б.4)
Б.35 Принципиальная схема формирования закона распределения времени работы до отказа поврежденного элемента приведена на рисунке Б.2.

fm(tv) - недостаток несущей способности, возникший к моменту времени tv
Рисунок Б.2 - Схема формирования закона распределения времени работы до отказа
Б.36 Критерий отказа должен быть преобразован в равносильный критерий, выраженный через площадь сечения рабочей арматуры, и определяться по формуле
As(t) = Asc, (Б.5)
где As(t) - площадь сечения рабочей арматуры в зависимости от времени;
Asc - площадь сечения рабочей арматуры, обеспечивающая прочность, равную действующему внешнему моменту Mд.
Б.37 При моделировании необходимо использовать данные, полученные при статистической обработке результатов натурных и лабораторных исследований.
Примечание - Для изучения вероятностного распределения сроков службы плит перекрытия должен использоваться метод Монте-Карло, позволяющий определить влияние стохастической изменчивости параметров процесса накопления коррозионных повреждений на срок службы. Блок-схема алгоритма имитационной модели надежности плит перекрытия должна быть представлена в соответствии с рисунком Б.3.

Рисунок Б.3 - Блок-схема алгоритма имитационной модели надежности плит перекрытия
Б.38 Моделирование остаточного срока службы конструкций для каждого участка тоннеля с учетом его технического состояния должно позволять оценивать объемы отказов во времени по критериям трещинообразования и потери несущей способности.
Примечание - Результаты моделирования должны включать распределение по времени для следующих параметров: полной карбонизации защитного слоя бетона, инкубационного периода для хлоридной коррозии арматуры, времени от начала эксплуатации до трещинообразования в защитном слое бетона, а также срока службы плит перекрытия по критерию потери прочности сечения (рисунок Б.4).

Рисунок Б.4 - Гистограмма срока службы плит перекрытия по критерию потери прочности сечения
Приложение В
(справочное)
Методы контроля технического состояния бетонных и железобетонных конструкций транспортных тоннелей и метрополитенов при проведении обследования для выбора методов и технологии ремонта
Таблица В.1
|
Метод контроля |
Краткое описание метода |
Особенности применения |
Нормативные документы |
|
Исследование трещин | |||
|
Визуальный осмотр |
Составление ведомостей с указанием ширины и глубины трещины, расположения и ориентации (продольная, поперечная, наклонная или радиальная), фотофиксация |
Выполняется на этапе визуального обследования. Позволяет установить необходимость выполнения инструментальных исследований |
ГОСТ Р 57208 ГОСТ 31937 |
|
Ультразвуковой |
Характер распространения продольных и поперечных упругих волн в исследуемой среде. Поверхностное прозвучивание, определение глубины распространения трещины, ее вида (поверхностная, односторонняя или сквозная) |
Контроль трещин раскрытием от 0,1 мм, глубиной до 0,75 м, односторонний доступ к конструкциям |
ГОСТ 17624 |
|
Механический |
Определение глубины и ширины трещины. Отбор керна |
Определение геометрических параметров трещин с точностью до 0,1 мм. Ширину раскрытия трещин в бетоне измеряют в местах максимального их раскрытия и на уровне арматуры растянутой зоны элемента |
ГОСТ Р 57208 ГОСТ Р 58941 ГОСТ Р 58939 |
|
Исследование полостей, расслоений | |||
|
Визуальный |
Визуальный контроль |
Выполняется на этапе визуального обследования. Позволяет установить необходимость выполнения инструментальных исследований |
ГОСТ Р 57208 ГОСТ 31937 |
|
Инструментальный |
Зондирование, контрольные вскрытия, бурение скважин с отбором кернов |
Выборочный контроль результатов визуального и неразрушающего обследований |
ГОСТ Р 57208 ГОСТ 31937 |
|
Эхо-импульсный акустический |
Изучение характера распространения продольных акустических волн (вызванных однократным ударным воздействием на поверхность), возникновения эффекта "толщинного резонанса" на границах раздела слоев и дефектов |
Глубины исследований от 0,05 до 1 м. Минимальный размер выявляемой полости - 0,1 м |
ГОСТ Р 57208 |
|
Виброакустический |
Основан на явлении возникновения резонансных изгибных колебаний объема между дефектом и свободной поверхностью, вызванных импульсным воздействием на конструкцию |
Глубины исследований от 0,05 м до 1 м. Минимальный размер выявляемого дефекта от 0,5 м. Возможность контроля высокоармированных конструкций, обделок со слоем металлоизоляции, односторонний доступ к конструкциям |
ГОСТ Р 56542 |
|
Георадиолокационный |
Основан на излучении сверхширокополосных (наносекундных) импульсов метрового и дециметрового диапазонов электромагнитных волн и приеме сигналов, отраженных от границ раздела слоев зондируемой среды, имеющих различные электрофизические свойства. Область применения - бетонные и железобетонные конструкции со слабым армированием без металлоизоляции. Измерение методом сплошного профилирования |
Глубины исследований от 0,1 до 3 м. Размеры выявляемых дефектов от 0,1 м. Высокая оперативность полевых измерений, односторонний доступ к конструкции, отсутствие требований к ровности поверхности |
ГОСТ 31937 |
|
Инфракрасная термография |
Выявление на исследуемой поверхности температурных аномалий, связанных с наличием полостей, расслоений, каверн и других дефектов |
Максимальная эффективность при выявлении пустот и расслоений, заполненных водой |
ГОСТ Р 53698 ГОСТ Р 54852 |
|
Определение коррозии стальной арматуры | |||
|
Метод полупотенциалов |
Измерение разности потенциалов (напряжение) между стальной арматурой и эталонным электродом с целью выявления процессов коррозии арматуры |
Позволяет локализовать зоны активной коррозии арматуры |
ГОСТ 31937 |
|
Метод измерения удельного сопротивления бетона |
Измерение электрического потенциала между двумя внутренними электродами вследствие наличия тока между двумя внешними электродами |
Может применяться как дополнительный к методу полупотенциалов |
ГОСТ 31937 |
|
Метод линейного поляризационного сопротивления |
Измерение значений тока и напряжения между арматурой и стандартным эталонным электродом с целью определения поляризационного сопротивления, зависящего от скорости коррозии |
Позволяет контролировать скорость развития коррозионных процессов в точках контроля |
ГОСТ 31937 |
|
Индикаторный метод. Исследование глубины карбонизации бетона |
Определение глубины карбонизации (зона со значением водородного показателя (pH) поровой жидкости в исследуемой конструкции менее 10) с помощью нанесения индикаторной жидкости на свежий скол бетона либо на пробы порошка бетона, отобранного из конструкции с различной глубины |
В качестве индикатора применяется спиртовой раствор фенолфталеина |
ГОСТ 31383 |
|
Магнитный метод определения толщины защитного слоя бетона и расположения арматуры |
Основан на взаимодействии магнитного или электромагнитного поля прибора со стальной арматурой железобетонной конструкции |
Толщину защитного слоя бетона и расположение арматуры в конструкции определяют на основе экспериментально установленной зависимости между показаниями прибора и указанными контролируемыми параметрами конструкции. Глубина обнаружения арматуры до 120 мм. Диаметр арматуры - от 4 до 32 мм |
ГОСТ 22904 |
Приложение Г
(справочное)
Натурные методы определения параметров бетона в конструкциях при обследовании для вычисления объемов и значимости повреждений, выбора метода ремонта и контроля качества работ
Таблица Г.1
|
Параметр |
Метод |
Примечание | |
|
Основной |
Вспомогательный | ||
|
Прочность на сжатие |
Керны для испытаний на сжатие (ГОСТ 10180, ГОСТ 18105, ГОСТ 28570) |
Испытание на отрыв со скалыванием, скалывание ребра конструкции (ГОСТ 22690) |
Прочность в натурных условиях (на объекте); сравнение прочности в разных местах (конструкции) |
|
Относительная прочность на сжатие |
Метод упругого отскока, пластической деформации, ударного импульса (ГОСТ 22690). Измерение скорости ультразвука с соответствующей калибровкой (ГОСТ 17624) |
Испытание на отрыв с соответствующей калибровкой (ГОСТ 22690) |
На величину отскока, пластической деформации, изменения импульса оказывают влияние приповерхностные свойства; при определении скорости ультразвука получается средний результат по толщине конструкции. Метод упругого отскока позволяет определять прочность бетона как на ранних стадиях твердения, когда бетон имеет прочность порядка 0,2 - 1,5 МПа, так и в проектном возрасте |
|
Прочность на растяжение |
Прочность на растяжение с раскалыванием керна (ГОСТ 21153.3) |
Испытание на отрыв (ГОСТ 22690) |
Оценка прочности бетона на растяжение |
|
Плотность |
Плотность (удельный вес) образцов (ГОСТ 12730.1) |
Радиоизотопный метод определения средней плотности (ГОСТ 17623) | |
|
Содержание влаги |
Диэлькометрический метод измерения влажности (ГОСТ 21718) |
Метод определения влажности при высушивании (ГОСТ 12730.0, ГОСТ 12730.2) | |
|
Статический модуль упругости |
Прочность на сжатие кернов (ГОСТ 24452) | ||
|
Усадка/расширение |
Изменение длины образцов, выбуренных или выпиленных из конструкции (ГОСТ 24544) |
Измерение изменений длины | |
|
Сопротивление (диффузия) проникновению хлоридов |
Метод определения диффузионной проницаемости хлоридов (ГОСТ 31383) |
Относительная восприимчивость бетона к проникновению ионов хлоридов | |
|
Воздухосодержание |
Метод микроскопического количественного анализа структуры образцов, отобранных из конструкции (ГОСТ Р 70753) | ||
|
Щелочно-кремнеземная реакция; свойства заполнителей (шелушение; воздействие замораживания/оттаивания) |
Порядок определения реакционной способности заполнителей |
Петрографическое исследование заполнителей (ГОСТ 8269.0) | |
|
Карбонизация, pH |
Фенолфталеин (качественная оценка, приготовление по ГОСТ 4919.1); щелочность бетона определяют по значению pH поровой жидкости отобранной пробы (ГОСТ 5382, ГОСТ 31957) |
Другие pH-индикаторы, например, лакмусовая бумага |
Оценка значения коррозионной защиты бетона по глубине и подверженность арматуры коррозии; глубина карбонизации |
|
Ущерб при пожаре |
Петрографическое исследование заполнителей (ГОСТ 8269.0); величина отскока (ГОСТ 22690) |
Скорость ультразвука (ГОСТ 17624) |
Величина отскока, скорость ультразвука позволяют установить границы поврежденной поверхности |
|
Разрушения от воздействия замораживания/оттаивания (в натурных условиях) |
Петрографическое исследование заполнителей (ГОСТ 8269.0) |
Скорость ультразвука (ГОСТ 17624); ударно-акустический метод | |
|
Содержание ионов хлоридов в отобранных пробах |
Метод фототурбидиметрического определения, обратного титрования по методу Фольгарда, потенциометрическое определение с хлорселективным электродом (ГОСТ 5382) |
Контроль поступления хлоридов к стальной арматуре до (начала) коррозии | |
|
Воздухопроницаемость, водонепроницаемость |
Определение водонепроницаемости бетона (ГОСТ 12730.5) |
- |
Измерение в натурных условиях воздухопроницаемости и водонепроницаемости бетона |
|
Электрическое сопротивление бетона |
Сопротивление переменному току с использованием четырехэлектродного пробника (ГОСТ 31384) |
Для оценки эффективности добавок | |
|
Прочность на изгиб |
ГОСТ 10180 |
Отбор и испытание выпиленных образцов |
Ограничения по размеру заполнителя и неоднородности |
Приложение Д
(справочное)
Выбор растворов для выполнения инъекционных работ при ремонте бетонных и железобетонных конструкций транспортных тоннелей и метрополитенов
Д.1 Существуют два типа растворов для проникающего инъектирования: на основе твердых частиц (обычно на основе цементов) и жидкие (химические, на различной основе).
Д.2 Жидкие растворы не должны содержать твердых частиц и их вязкость должна быть соизмерима с вязкостью воды (около 1 мПа·с при 20 °C).
Д.3 К жидким растворам относятся химические вещества и органические вяжущие, которые в основном являются ньютоновскими жидкостями, вязкость которых не зависит от действующего на них напряжения сдвига и градиента скорости деформации.
Д.4 Растворы на основе твердых частиц образуют суспензии (стабильные и нестабильные) - дисперсионные системы, состоящие из частиц твердого тела, распределенных в жидкой среде. К этим составам относятся структурированные дисперсные системы, для которых величина вязкости может изменяться в широких пределах в зависимости от действующего напряжения сдвига и градиента скоростей. Такими структурированными системами являются коагуляционные структуры, к которым относятся цементное тесто в первый период после затворения цемента водой или раствор цемента с водой с высоким водоцементным отношением. Эти системы чаще всего нестабильны, так как однородность поддерживается только в процессе перемешивания. После прекращения перемешивания они расслаиваются.
Д.5 У стабильных суспензий процесс седиментации происходит медленнее, что позволяет легче других выполнить инъекцию, использовать их при инъекционных работах при ремонте конструкций и заполнении контактной зоны между обделкой и породой.
Структурированные жидкости, в отличие от ньютоновских, имеют переменную вязкость в зависимости от скорости деформации.
С изменением напряжения сдвига и градиента скорости такие жидкости переходят в турбулентное состояние, при котором вязкость возрастает.
Стабильные (устойчивые) суспензии представляют собой коллоидные растворы с размером частиц от 0,0001 до 0,000001 м (от 0,1 мкм до 1 нм). Удельная поверхность таких частиц находится в пределах от 6·105 до 6·107 см2/г (от 600000 до 60000000 см2/г).
Д.6 Нестабильные суспензии должны иметь частицы размером крупнее 0,0001 м (0,1 мкм) и удельную поверхность менее 6·105 (600000 см2/г). Частицы размерами менее 1 мкм (0,001 мм) должны обладать свойствами коллоидных частиц. Твердые частицы в суспензии должны выпадать в осадок, а чем они меньше, тем дольше они должны находиться во взвешенном состоянии. В случае укрупнения частиц (коагуляции) должны образовываться агрегаты (флокулы), которые быстро выпадают в осадок, занимая значительный объем. Чем крупнее флокулы, тем плотнее должен быть осадок. Устойчивые суспензии должны образовывать плотный осадок незначительного объема, выпадая в осадок медленно.
Д.7 Одним из важных критериев, определяющих поведение дисперсных систем, является размер частиц дисперсной фазы (таблица Д.1).
Таблица Д.1 - Влияние размера частиц на седиментацию
|
Радиус частиц, м |
10-5 (10 мкм) |
10-6 (1 мкм) |
10-7 (0,1 мкм) |
10-8 (0,01 мкм) |
10-9 (0,001 мкм) |
|
Скорость седиментации, м/с |
3,2·10-4 |
3,2·10-6 |
3,2·10-8 |
3,2·10-10 |
3,2·10-12 |
|
Время, необходимое для оседания частиц на расстояние 10-2 м |
31 с |
51,7 мин |
86,2 ч |
356 дней |
100 лет |
Д.8 Нижним пределом коллоидной дисперсности является величина частиц с размером 10-6 м (1 мкм). Для величины 5·10-6 м частицы могут колебаться относительно фиксированной точки, а при больших размерах броуновское движение не обнаруживается.
Д.9 Из таблицы следует, что частицы с размером более 10-6 м создают седиментирующие, а размером менее 10-6 м - дисперсные системы. Это характерно для разбавленных суспензий, которыми являются растворы на основе цемента со значительным водоцементным отношением, т.е. даже цементные растворы, приготовленные на основе домолотых цементов или микроцементов с размером частиц более 1 мкм, при нагнетании их в трещины или пустоты породы, примыкающие к обделке тоннелей, смешиваются с водой и подвержены быстрой седиментации. Контролировать проникновение их в структуры возможно, в том числе, руководствуясь ГОСТ 33762, ГОСТ Р 71263.
Д.10 Для поддержания стабильного состояния нестабильных суспензий требуется обработка в турбулентном смесителе, особенно при нагнетании в трещиноватые скальные породы или массивные бетонные конструкции. Нагнетание в пористые обделки или дисперсные грунты без такой обработки может не дать положительного результата.
Д.11 В городах требуется контроль за содержанием загрязняющих веществ в грунтовых водах, так как высокое содержание солей, углеводородов и других активных веществ может привести к флокуляции и коагуляции коллоидных частиц растворов, что способствует седиментации и загрязнению водоемов.
Д.12 При ремонте трещиноватых строительных конструкций должны применяться жидкие растворы на основе синтетических смол, а также стабильные суспензии. Стабильные суспензии на основе микроцементов с низким водоцементным отношением и нестабильные составы на основе обычных цементов применяются для тампонажа закрепного пространства в тоннелях различного назначения, реже - для ремонта фундаментов и кладок. При изготовлении цементных растворов пропорции затворения цемента водой варьируются в широком диапазоне от 0,5:1 до 8 ... 10:1 (редко - более). При низком водоцементном отношении расслоение получается незначительным, а прочность - высокой, однако инъектировать такие растворы гораздо сложнее, чем растворы с высоким содержанием воды. Иногда используют химические добавки, способствующие усилению проникающего эффекта, предотвращению флокуляции цемента, а также обеспечивающие возможность контроля времени схватывания (от 30 с и до более длительного времени).
Д.13 Для ликвидации пустот за обделкой в составах со значительным количеством наполнителя требуется использовать различные наполнители, включая отходы различных производств, обладающие набухающими свойствами и не ухудшающие экологическую ситуацию.
Для трещиноватых бетонных конструкций степень инъектируемости NR зависит от ширины раскрытия трещин и крупности частиц раствора и определяется по формуле
, (Д.1)
где (D95)раствора - крупность частиц раствора, мм;
при NR> 5 - равномерное инъектирование возможно;
NR <2 - инъектирование невозможно;
2
Д.14 Оценка проникающей способности инъекционных растворов на минеральной основе должна проводиться по ГОСТ 33762 и ГОСТ Р 71263; оценка качества создаваемых уплотнений - по ГОСТ 33762.
Приложение Е
(обязательное)
Изменение коэффициента работы пены инъекционного полиуретанового состава при изменении температуры и давления
Е.1 Для определения коэффициента работы пены полиуретановых составов в зависимости от температуры и давления грунтовых вод следует использовать термобарокамеру (например, автоклав, соответствующий требованиям [10]).
Е.2 Коэффициент работы пены Крп при нормальных условиях (температура +20 °C и отсутствие давления грунтовых вод) принимается за единицу. При увеличении давления воды Крп изменяется следующим образом (рисунок Е.1):
- от 0,65 до 0,7 - при давлении воды, равном 0,1 МПа;
- от 0,36 до 0,4 - при давлении воды, равном 0,2 МПа;
- от 0,07 до 0,1 - при давлении воды, равном 0,3 МПа.

Рисунок Е.1 - График изменения коэффициента работы пены однокомпонентного полиуретанового инъекционного состава при заданной температуре в зависимости от давления воды
Е.3 Помимо давления грунтовых вод также следует установить влияние температуры воды на коэффициент работы пены (рисунок Е.2).
Примечание - Следует провести испытания при стандартных лабораторных условиях, когда температура составляет +20 °C, а также при пониженной температуре, характерной для подземных сооружений.

Рисунок Е.2 - График изменения коэффициента работы пены однокомпонентного полиуретанового инъекционного состава при заданном давлении воды в зависимости от температуры
Е.4 При понижении температуры воды с +20 °C до +5 °C коэффициент работы пены в условиях отсутствия давления воды снижается в среднем на ± 5%. При увеличении давления до 0,1, 0,2 и 0,3 МПа и снижении температуры Крп может уменьшаться на величину до 20%.
Е.5 При проектировании инженерных работ следует учитывать: примерные объемы дефектов в конструкциях и в зоне примыкания породного массива к ним, полученные в результате диагностики; температуру и давление грунтовых вод; необходимые объемы инъекционных составов, определенные с учетом условий производства работ.
Примечание - Учитывая скрытый характер инъекционных работ, следует выполнять их при необходимом контроле.
Приложение Ж
(обязательное)
Определение коэффициента работы пены инъекционного полиуретанового состава
Ж.1 Коэффициент работы пены Крп инъекционного полиуретанового состава характеризуется отношением объема продукта, полученного при определенной температуре и давлении, к данным лабораторных испытаний и вычисляется по формуле
, (Ж.1)
где Vфакт. - объем пены, получаемый из 0,001 м3 полиуретанового состава, при заданных давлении и температуре, м3;
Vлаб. - объем пены, получаемый из 0,001 м3 полиуретанового состава в лабораторных условиях, м3.
Ж.2 Процесс определения необходимого количества инъекционного раствора должен осуществляться в следующем порядке:
- определить объем пустот, который необходимо заполнить при подобранной вязкости раствора (Vп);
- определить объем пены, образующейся из 0,001 м3 инъекционного полиуретанового состава в лабораторных условиях при свободном расширении и температуре +20 °C (Vлаб.), а также при заданном (проектном) давлении грунтовых вод и их температуре (Vфакт.);
- вычислить коэффициент работы пены Крп при заданном (проектном) давлении по формуле (Ж.1);
- вычислить объем инъекционного раствора Vраствора, который необходим для заполнения пустот объемом Vп, по формуле
. (Ж.2)
Приложение И
(рекомендуемое)
Особенности ремонта строительных конструкций "сухим" и "мокрым" пневматическими способами под высоким давлением
И.1 При ремонте железобетонных конструкций тоннелей и метрополитенов методами 9 и 10 необходимо соблюдение технологии производства работ, чтобы избежать возникновения таких дефектов, как усадочные трещины, пустоты и пористые участки (рисунки И.1, И.2).
|
|
|
|
1 - "старый" бетон; 2 - зона неплотного раствора; 3 - арматурный стержень; 4 - ремонтный состав; 5 - усадочная трещина; 6 - дневная поверхность; 7 - направление нанесения смеси Рисунок И.1 - Дефекты, возникающие при нанесении составов "сухим" способом и наличии арматурного каркаса |
1 - "старый" бетон; 2 - зона неплотного раствора; 3 - арматурный стержень; 4 - новый раствор; 5 - дневная поверхность; 6 - направление нанесения смеси Рисунок И.2 - Дефекты, возникающие при нанесении составов "мокрым" способом и наличии арматурного каркаса |
И.2 Для получения покрытия высокого качества необходимо контролировать:
- наличие нужного угла встречи струи с поверхностью;
- равномерность кругового движения сопла;
- расстояние от сопла до поверхности нанесения.
Примечание - При изменении рекомендуемого расстояния в бóльшую сторону происходит снижение эффекта трамбования, приводящее к заметному уменьшению прочности покрытия и увеличению отскока. Уменьшение расстояния от сопла до бетонируемой поверхности приводит к нарушению структуры возведенного покрытия из-за разрушения состава;
- состав ремонтной состава и водоцементное отношение.
Примечание - При укладке первого слоя покрытия, с целью снижения отскока, материалу придают бóльшую пластичность, увеличивая водоцементное отношение сверх рекомендуемого значения. В дальнейшем водоцементное отношение уменьшают до нормального значения.
И.3 Следует соблюдать технологию, чтобы предотвратить образование полостей или разуплотненного состава за стержнями арматурного каркаса, а также трещин в защитном слое (рисунок И.3).

1 - разуплотненный бетон; 2 - усадочная трещина; 3 - направление нанесения состава
Рисунок И.3 - Правильное (а) и неправильное (б) формирование набрызг-бетонного слоя при ремонте железобетона
И.4 При нанесении ремонтного состава методами 9 и 10 на больших площадях и значительной толщиной важным является формирование "холодных" швов бетонирования. В этом случае следует использовать несколько технологических приемов (рисунок И.4).

1 - "косой" стык заходок бетонирования; 2 - закладной брус; 3 - подрезка набрызг-бетона мастерком сразу после нанесения; 4 - деревянный брус на всю толщину конструкции; 5 – зона набрызг-бетона, сформированная в результате отскока; 6 - зона набрызг-бетона, полученная в результате отскока Способы а, б, в рекомендуются к производству работ. Способ г - не рекомендуется
Рисунок И.4 - Формирование конструкционных швов при нанесении набрызг-бетона при ремонте или восстановлении несущей способности вертикальных конструкций
И.5 Для получения плотного слоя бетона и качественного сцепления в заходках необходимо применять "косое" сопряжение. Технологические швы должны быть загерметизированы одним из следующих способов: нанесение цементного теста, укладка набухающего герметика, использование линейного инъектора или инъекция цементных и полимерных составов через инъекторы.
И.6 Ремонт и (или) восстановление несущей способности колонн методами 9 и 10 следует осуществлять с формированием "косого" стыка в заходках (рисунок И.5). В данном случае следует применять цементно-песчаные смеси с крупностью заполнителя до 5 - 10 мм.

Стадия а: 1 - деревянная ограждающая рама; 2 - обвязочный каркас усиления; 3 - старая колонна; 4 - очищенная от коррозии вертикальная арматура; 5 - торкрет или набрызг-бетон Стадия б: 6 - торкрет или набрызг-бетон, сформировавшиеся в результате отскока от рамы, которые необходимо подровнять и зачистить перед нанесением состава в карманы; 7 - карманы нанесения торкрета или набрызг-бетона
Рисунок И.5 - Технология ремонта колонн с помощью нанесения торкрета или мелкощебеночного набрызг-бетона
Библиография
[1] Федеральный закон от 30 декабря 2009 г. N 384-ФЗ "Технический регламент о безопасности зданий и сооружений"
[2] Федеральный закон от 22 июля 2008 г. N 123-ФЗ "Технический регламент о требованиях пожарной безопасности"
[3] Федеральный закон от 23 ноября 2009 г. N 261-ФЗ "Об энергосбережении и о повышении энергетической эффективности, и о внесении изменений в отдельные законодательные акты Российской Федерации"
[4] ТР ТС 014/2011 Технический регламент Таможенного союза "Безопасность автомобильных дорог"
[5] Федеральный закон от 29 декабря 2004 г. N 190-ФЗ "Градостроительный кодекс Российской Федерации"
[6] ТР ТС 003/2011 Технический регламент Таможенного союза "О безопасности инфраструктуры железнодорожного транспорта"
[7] Приказ Министерства транспорта Российской Федерации от 16 ноября 2012 г. N 402 "Об утверждении Классификации работ по капитальному ремонту, ремонту и содержанию автомобильных дорог"
[8] СП 13-102-2003 Правила обследования несущих строительных конструкций зданий и сооружений
[9] ПБ 03-428-02 Правила безопасности при строительстве подземных сооружений
[10] ТР ТС 032/2013 Технический регламент Таможенного союза "О безопасности оборудования, работающего под избыточным давлением"




