ГОСТ Р МЭК 62864-1-2021 ТРАНСПОРТ ЖЕЛЕЗНОДОРОЖНЫЙ. СОСТАВ ПОДВИЖНОЙ. ЭНЕРГООБЕСПЕЧЕНИЕ БОРТОВЫМИ СИСТЕМАМИ НАКОПЛЕНИЯ ЭНЕРГИИ. Часть 1. ПОСЛЕДОВАТЕЛЬНЫЕ ГИБРИДНЫЕ СИСТЕМЫ
Утв. и введен в действие Приказом Федерального агентства по техническому регулированию и метрологии от 2 февраля 2021 г. N 32-ст
Railway applications. Rolling stock. Power supply with onboard energy storage system. Part 1. Series hybrid system
(IEC 62864-1:2016, IDT)
ОКС 29.220.99
45.060
Дата введения - 1 июня 2021 года
Введен впервые
Предисловие
1 ПОДГОТОВЛЕН Национальной ассоциацией производителей источников тока "РУСБАТ" (Ассоциация "РУСБАТ") на основе собственного перевода на русский язык англоязычной версии стандарта, указанного в пункте 4
2 ВНЕСЕН Техническим комитетом по стандартизации ТК 044 "Аккумуляторы и батареи"
3 УТВЕРЖДЕН И ВВЕДЕН В ДЕЙСТВИЕ Приказом Федерального агентства по техническому регулированию и метрологии от 2 февраля 2021 г. N 32-ст
4 Настоящий стандарт идентичен международному стандарту МЭК 62864-1:2016 "Транспорт железнодорожный. Состав подвижной. Энергообеспечение бортовыми системами накопления энергии. Часть 1. Последовательные гибридные системы" (IEC 62864-1:2016 "Railway applications - Rolling stock - Power supply with onboard energy storage system - Part 1: Series hybrid system", IDT).
При применении настоящего стандарта рекомендуется использовать вместо ссылочных международных стандартов соответствующие им межгосударственные стандарты, сведения о которых приведены в дополнительном приложении ДА.
Дополнительные сноски в тексте стандарта, выделенные курсивом, приведены для пояснения текста оригинала
5 ВВЕДЕН ВПЕРВЫЕ
Правила применения настоящего стандарта установлены в статье 26 Федерального закона от 29 июня 2015 г. N 162-ФЗ "О стандартизации в Российской Федерации". Информация об изменениях к настоящему стандарту публикуется в ежегодном (по состоянию на 1 января текущего года) информационном указателе "Национальные стандарты", а официальный текст изменений и поправок - в ежемесячном информационном указателе "Национальные стандарты". В случае пересмотра (замены) или отмены настоящего стандарта соответствующее уведомление будет опубликовано в ближайшем выпуске ежемесячного информационного указателя "Национальные стандарты". Соответствующая информация, уведомление и тексты размещаются также в информационной системе общего пользования - на официальном сайте Федерального агентства по техническому регулированию и метрологии в сети Интернет (www.gost.ru)
Введение
Существует растущая потребность в эффективном использовании энергии из-за необходимости сокращения источников энергии на основе ископаемого топлива, а также снижения выбросов [например CO2, NOx, твердых частиц (ТЧ) и т.д.] в атмосферу, которые способствуют глобальному изменению климата. Железнодорожная система перевозок, которая является высокоэффективной транспортной системой, также должна соответствовать этим требованиям. Помимо экономии энергии необходимо добиться снижения пиковой мощности, стабилизации напряжения, возможности прохождения без выбросов участков пути в природоохранных зонах, а также возможности безопасно достичь следующей станции в случае сбоя электропитания на борту или в энергосистеме питания. Для решения этих задач в составе железнодорожных транспортных средств применяют гибридные системы. Гибридные системы оснащены системой накопления энергии, которая позволяет эффективно использовать рекуперацию энергии. Применение гибридной системы необходимо для повышения энергоэффективности путем активного управления потоком мощности между двигателем или системой электропитания, вспомогательной системой электропитания, системой тяги и торможения, системой накопления энергии и т.д.
Цели применения гибридных систем:
- снижение энергопотребления;
- улучшение характеристик транспортного средства;
- обеспечение возможности работать с накопленной на борту энергией; а также
- улучшение экологических характеристик.
Целью настоящего стандарта является установление базовой конфигурации системы для последовательных гибридных систем (с электрическим подключением) и испытаний для проверки эффективности использования энергии, а также предоставление железнодорожным операторам и изготовителям руководящих принципов для изготовления гибридных систем и их оценки.
Иерархия стандартов, связанных с МЭК 62864-1, приведена на рисунке 1. Перечень стандартов, приведенных на рисунке 1, не является исчерпывающим.
┌──────────────────────────────────────┐
│ Обзор технической базы │
└──────────────────────────────────────┘
┌─────────────────────────────────────┐
Уровень 1: Интерфейс транспортного │ МЭК 61133 │
средства/гибридной системы │ Транспорт железнодорожный. │
│ Состав подвижной. Методы испытаний │
┌──────────────────────────────────┐ │ теплового/электрического подвижного │
│ МЭК 62864-1 │ │состава после завершения формирования│
│ Транспорт железнодорожный. │ │ и перед вводом в действие │
│ Состав подвижной. │ └─────────────────────────────────────┘
--┤ Энергообеспечение бортовыми ├-----------------------------------------
│ системами накопления энергии. │ ┌─────────────────────────────────────┐
│ Часть 1. │ │ МЭК 61377 │
│Последовательные гибридные системы│ │ Транспорт железнодорожный. │
└──────────────────────────────────┘ │ Состав подвижной. Комбинированный │
Уровень 2: Гибридная система │ метод испытания систем тяги │
и интерфейсы └─────────────────────────────────────┘
-------------------------------------------------------------------------------
Уровень 3: Компоненты
┌──────────────────────────────────┐ ┌─────────────────────────────────────┐
│ МЭК 61287-1 │ │ │
│ Транспорт железнодорожный. │ │ МЭК 60349 │
│Преобразователи полупроводниковые │ │ Транспорт железнодорожный. │
│ силовые для железнодорожного │ │ Вращающиеся электрические машины │
│ подвижного состава. │ │для рельсового и дорожного транспорта│
│ Часть 1. │ │ │
│Характеристики и методы испытаний │ │ │
└──────────────────────────────────┘ └─────────────────────────────────────┘
-------------------------------------------------------------------------------
Уровень 4: Субкомпоненты
┌──────────────────────────────────┐ ┌─────────────────────────────────────┐
│ │ │ МЭК 61881-3 │
│ МЭК 62928 │ │ Транспорт железнодорожный. Состав │
│ Транспорт железнодорожный. │ │ подвижной. Конденсаторы для силовой │
│ Состав подвижной. │ │ электроники. │
│Требования к тяговым литий-ионным │ │ Часть 3. │
│ бортовым батареям │ │ Электрические двойнослойные │
│ │ │ конденсаторы │
└──────────────────────────────────┘ └─────────────────────────────────────┘
Рисунок 1 - Иерархия стандартов, связанных с МЭК 62864-1
В настоящем стандарте гибридная система имеет следующие четыре уровня иерархии:
a) интерфейс транспортного средства/гибридной системы (уровень 1);
b) гибридные системы и интерфейсы (уровень 2);
c) компоненты (уровень 3); а также
d) субкомпоненты (уровень 4).
Подробное описание уровней приведено в 7.1.
Например, субкомпонент (уровень 4) - это аккумулятор, модуль и т.д. (для батареи субкомпонент определен в МЭК 62620).
Настоящий стандарт распространяется на последовательные гибридные системы (электрически подключенные) со встроенным накопителем энергии, применяемые для движения железнодорожных транспортных средств (ТС).
Гибридная система имеет в своем составе два (или более) источника питания, в том числе систему накопления энергии (СНЭ). Использование СНЭ в одной системе с преобразователем и тяговыми электродвигателями позволяет управлять потоками энергии и способствует:
- повышению эффективности использования энергии и топлива, улучшению характеристик ускорения, за счет использования СНЭ в дополнение к основному источнику питания (ОИП) в условиях, когда мощность и емкость источника питания, включая рекуперированную мощность, ограничены, а также обеспечивая увеличение пробега и автономность хода в случае отказа ОИП;
- снижению расхода топлива, сокращению выбросов (например, CO2, NOx, ТЧ и т.д.);
- снижению воздействия на окружающую среду (например, шум и т.д.).
Настоящий стандарт распространяется также на системы, которые имеют только встроенную СНЭ без других ОИП.
Настоящий стандарт определяет параметры и устанавливает основные требования к характеристикам и функциям, и методы испытаний для гибридных систем:
- управление потоком энергии между ОИП, СНЭ и преобразователями энергии;
- энергопотребление, энергоэффективность и рекуперация энергии;
- характеристики транспортного средства, достигнутые с помощью СНЭ;
- методы комбинированного испытания; а также
- методы испытаний ТС в сборе на основе заводских (стационарных) и полевых (эксплуатационных) испытаний.
Примечание - Под преобразователем в настоящем стандарте подразумевается комбинированное оборудование, состоящее из одного или нескольких преобразователей энергии (например, выпрямитель, инвертор, регулятор напряжения и т.д.).
Рассмотрены интерфейсы между следующими источниками питания:
- внешняя система электроснабжения;
- бортовые СНЭ (в том числе чисто бортовые накопители энергии);
- топливный элемент, дизель-генератор;
- другие источники энергии.
В отношении комбинации инверторов и тяговых электродвигателей настоящий стандарт применяется к асинхронным или синхронным тяговым электродвигателям, которые питаются от инверторов источника питания.
Системы источников питания и комбинации инверторов и двигателей не ограничиваются перечисленным выше и настоящий стандарт может применяться к будущим системам.
Настоящий стандарт не распространяется на системы, которые механически передают движущую силу нескольких источников движущей силы (параллельный гибрид).
В настоящем стандарте использованы нормативные ссылки на следующие международные стандарты. Для датированных ссылок применяют только указанное издание ссылочного стандарта, для недатированных - последнее издание (включая все изменения).
IEC 60050-811, International Electrotechnical Vocabulary (IEV) - Chapter 811: Electric traction [Международный электротехнический словарь (IEV) - Глава 811: Электрическая тяга]
IEC 60349-2, Electric traction - Rotating electrical machines for rail and road vehicles - Part 2: Electronic converter-fed alternating current motors (Электрическая тяга. Вращающиеся электрические машины для рельсовых и дорожных транспортных средств. Часть 2. Двигатели переменного тока с электронным преобразователем)
IEC 60349-4, Electric traction - Rotating electrical machines for rail and road vehicles - Part 4: Permanent magnet synchronous electrical machines connected to an electronic converter (Электрическая тяга. Вращающиеся электрические машины для рельсовых и дорожных транспортных средств. Часть 4. Синхронные электрические машины с постоянными магнитами, соединенные с электронным преобразователем)
IEC 60529, Degrees of protection provided by enclosures (IP Code) [Степени защиты, обеспечиваемые кожухами (Код IP)]
IEC 61133:2016, Railway applications - Rolling stock - Testing of rolling stock on completion of construction and before entry into service (Железнодорожный транспорт. Подвижной состав. Испытания подвижного состава после завершения изготовления и до ввода в эксплуатацию)
IEC 61287-1, Railway applications - Power converters installed on board rolling stock - Part 1: Characteristics and test methods (Железнодорожный транспорт. Силовые преобразователи, установленные на подвижном составе. Часть 1. Характеристики и методы испытаний)
IEC 61373, Railway applications - Rolling stock equipment - Shock and vibration tests (Железнодорожный транспорт. Оборудование подвижного состава. Испытания на удар и вибрацию)
IEC 61377:2016, Railway applications - Rolling stock - Combined test method for traction systems (Железнодорожный транспорт. Подвижной состав. Комбинированный метод испытаний для тяговых систем)
IEC 61881-3, Railway applications - Rolling stock equipment - Capacitors for power electronics - Part 3: Electric double-layer capacitors (Железнодорожный транспорт. Оборудование подвижного состава. Конденсаторы для силовой электроники. Часть 3. Электрические двойнослойные конденсаторы)
IEC 61991, Railway applications - Rolling stock - Protective provisions against electrical hazards (Железнодорожный транспорт. Подвижной состав. Средства защиты от поражения электрическим током)
IEC 62262, Degrees of protection provided by enclosures for electrical equipment against external mechanical impacts (IK code) [Степени защиты, обеспечиваемые кожухами для электрического оборудования от внешних механических воздействий (код IK)]
IEC 62498-1:2010, Railway applications - Environmental conditions for equipment - Part 1: Equipment on board rolling stock (Применение на железной дороге. Условия окружающей среды для оборудования. Часть 1. Оборудование на борту подвижного состава)
В настоящем стандарте применены термины по МЭК 60050-811, а также следующие термины с соответствующими определениями.
ИСО и МЭК ведут терминологические базы данных для использования в стандартизации по следующим адресам:
- Электропедия МЭК: доступна на http://www.electropedia.org/;
- платформа онлайн-просмотра ИСО: доступна на http://www.iso.org/obp.
3.1.1 гибрид (hybrid): Система, объединяющая два (или более) различных типов компонентов для определенной цели.
Примечание - В приложении к подвижному составу это может быть несколько источников движущей силы или несколько источников электрической энергии.
3.1.2 параллельный гибрид (parallel hybrid): Система, которая движется за счет передачи мощности к колесам от нескольких источников движущей силы.
Примечание - Движущая сила от двигателя и тягового электродвигателя передается на колеса механически через систему трансмиссии.
3.1.3 гибрид, последовательный гибрид (hybrid, series hybrid): Система, которая движется за счет передачи мощности к колесам от тягового электродвигателя, питаемого через преобразователь энергии, при совместном использовании электрической энергии от нескольких источников питания.
Примечание - Колеса приводятся в движение только от тягового электродвигателя.
3.1.4 гибридное транспортное средство (hybrid vehicle): Транспортное средство, приводимое в движение за счет энергии, накопленной в бортовой СНЭ и электрической энергии от генератора или контактных линий.
3.1.5 подсистема (последовательной гибридной системы) [subsystem (of a series hybrid system)]: Составляющая часть последовательной гибридной системы.
Пример - Основной источник питания, система накопления энергии, тяговый привод.
3.1.6 компонент (последовательной гибридной системы) [component (of a series hybrid system)]: Составляющая часть подсистемы в последовательной гибридной системе.
Пример - Преобразователь, тяговый электродвигатель, дизель-электрогенератор, БНЭ.
3.1.7 субкомпонент (последовательной гибридной системы) [subcomponent (of a series hybrid system)]: Составляющая часть компонента в последовательной гибридной системе.
Пример - Литий-ионный аккумулятор, электрический двойнослойный конденсатор.
3.1.8 потребление энергии (energy consumption): Общее потребление энергии транспортным средством для определенной работы (продолжительность, расстояние, скорость и т.д.).
3.1.9 удельное потребление энергии (specific energy consumption): Потребление энергии транспортным средством, отнесенное к определенному расстоянию и массе.
Примечания
1 Удельное потребление энергии - отношение потребления энергии к расстоянию и массе ТС или числу единиц ТС. Значение данной характеристики, как правило, выражают в кВт·ч/(т·км), кВт·ч/(транспортное средство·км), кВт·ч/(чел.·км) или кВт·ч/(место·км) и т.д.
2 Если бортовым источником питания является, например, дизель-генератор или топливный элемент, применяют следующие единицы измерения л/(т·км), л/(транспортное средство·км), л/(человек·км) или л/(место·км) и т.д. в зависимости от типа топлива.
3.1.10 источник питания (power source): Оборудование, которое подает питание на тяговый блок и/или ВИП и/или СНЭЭ через преобразователь.
Примечание - Преобразователи, такие как регулятор напряжения для топливного элемента (РНТЭ), для выработки электрической энергии и преобразователи, такие как регулятор напряжения СНЭ (РНСНЭ), для блоков/систем накопления энергии рассматриваются как источники энергии. При этом тяговые преобразователи и преобразователи для ВИП не рассматривают в качестве источников питания.
3.1.11 основной источник питания; ОИП (primary power source, PPS): Подсистема в последовательной гибридной системе, поставляющая электроэнергию другим подсистемам в последовательной гибридной системе, полученную за счет потребления топлива, находящегося на борту, или из внешних источников.
3.1.12 тяговый привод (traction equipment): Подсистема в последовательной гибридной системе, выводящая тяговое усилие для приведения в движение железнодорожного транспортного средства за счет потребляемой электрической энергии.
3.1.13 степень заряженности; СЗ (state of charge, SOC): Оставшаяся емкость, доступная для разряда в условиях, установленных в соответствующих стандартах, как правило, выражаемая в процентах от полной емкости.
Примечание - Данная характеристика применима к батареям. Практические определения СЗ зависят от электрохимических систем используемых батарей. См. приложение A.
3.1.14 степень энергосодержания; СЭ (state of energy, SOE): Оставшаяся энергия, доступная для разряда в условиях, установленных в соответствующих стандартах, как правило, выражаемая в процентах от полной энергоемкости.
Примечание - Данная характеристика применима к батареям. Практические определения СЭ зависят от электрохимических систем используемых батарей. См. приложение A.
3.1.15 конец срока службы; КСС (end of life, EOL): Точка во времени, в которой БНЭ уже не может обеспечить требуемую функциональность или выполнить рабочий профиль, как было согласовано первоначально между потребителем и изготовителем.
3.1.16 начало срока службы; НСС (beginning of life, BOL): Точка во времени, в которой нормированная емкость или энергия БНЭ полностью соответствует минимальным рабочим характеристикам, заявленным изготовителем <1>.
--------------------------------
<1> Как правило, для обеспечения необходимого срока службы изготовитель поставляет батареи, имеющие большую нормированную емкость или энергию, чем необходимо по требованиям потребителя. В этом случае при расчете параметров эффективности и в целях определения конца срока службы используют значение нормированных параметров, заявленных изготовителем.
3.1.17 Определение емкости
3.1.17.1 емкость (capacity): Электрический заряд, который может быть отдан из БНЭ.
Примечания
1 Для батареи электрический заряд, как правило, выражают в ампер-часах (А·ч).
2 Для конденсатора электрический заряд, как правило, выражают в кулонах (Кл).
3 Электрическая емкость, выражаемая в фарадах (Ф), представляет собой заряд C, деленный на напряжение U, и отличается от емкости батареи.
3.1.17.2 теоретическая емкость (theoretical capacity): Максимальная доступная емкость, без учета потерь.
3.1.17.3 нормированная емкость (rated capacity): Емкость, измеренная в соответствии с определенным режимом разряда, как указано в соответствующем стандарте и заявленная изготовителем.
Примечание - См. МЭК 62928.
3.1.17.4 доступная для использования емкость (usable capacity): Емкость, доступная для разряда в зависимости от применения.
3.1.18 Определение энергии
3.1.18.1 теоретическая энергоемкость (theoretical energy): Максимальная доступная энергия, накопленная в БНЭ, без учета потерь.
3.1.18.2 нормированная энергоемкость (rated energy): Доступная энергоемкость, измеренная в соответствии с определенным режимом разряда, как указано в соответствующем стандарте.
Примечание - Практические определения нормированной энергоемкости зависят от технологий накопителя энергии.
3.1.18.3 доступная для использования энергия (usable energy): Энергия, доступная для разряда в зависимости от применения.
3.1.19 рабочий профиль (operational pattern): Определение потребителем и/или изготовителем условий, характеризующих требуемую работу, включая сопутствующие операции, например, рабочий цикл, вспомогательные нагрузки, безопасные границы энергосодержания, ограниченный режим и т.д.
3.1.20 блок накопления энергии; БНЭ (energy storage unit, ESU): Оборудование, включающее различные технологии накопления энергии, такие как батареи, электрохимические (двойнослойные) конденсаторы, маховики <1> и т.д.
Примечание - См. соответствующие стандарты для компонентов.
--------------------------------
<1> В настоящем стандарте рассмотрены СНЭ, основанные на электрохимических накопителях электрической энергии [термин "системы накопления электрической энергии" (СНЭЭ), был введен стандартом МЭК 62933-1.2018]. Особенности применения СНЭ, основанных на других принципах, например маховичные, упомянутые в настоящей статье, не рассмотрены в настоящем стандарте, т.к. их применяют исключительно в конфигурациях параллельных гибридов, не входящих в область применения настоящего стандарта.
3.1.21 батарея (battery): БНЭ, применяемый в целях приведения в движение.
Примечание - Настоящий стандарт не распространяется на вспомогательные батареи. См. МЭК 62973.
3.1.22 система накопления энергии; СНЭ (energy storage system, ESS): Система, состоящая из одного или нескольких БНЭ и другого оборудования, необходимого для подключения к линии постоянного тока, такого как преобразователи, системы управления и контроля, электрические реакторы, защитные устройства, системы охлаждения и т.д.
|
ВИП |
- |
вспомогательный источник питания; |
|
ВО |
- |
вспомогательное оборудование; |
|
НСС |
- |
начало срока службы (начало жизни); |
|
ЭХК |
- |
электрохимический конденсатор (электрический двойнослойный конденсатор); |
|
КСС |
- |
конец срока службы (конец жизни); |
|
БНЭ |
- |
блок накопления энергии; |
|
СНЭ |
- |
система накопления энергии; |
|
ОИП |
- |
основной источник питания; |
|
СЗ |
- |
степень заряженности; |
|
СЭ |
- |
степень энергосодержания; |
|
ТП |
- |
тяговый привод; |
|
ТР |
- |
тормозной резистор; |
|
РН |
- |
регулятор напряжения; |
|
Г |
- |
генератор; |
|
М |
- |
тяговый электродвигатель (электромотор). |
4.1.1 Обзор
Последовательные гибридные системы изготавливают в различных конфигурациях, установленных в настоящем стандарте. В разделе 4 приведены возможные конфигурации и соответствующие примеры. Эти примеры, однако, не предназначены для наложения ограничений на конечную архитектуру системы.
4.1.2 Требования к конфигурации системы
В соответствии с разделом 1 последовательная гибридная система должна иметь два или более источников энергии, включая одну СНЭ, и тяговый привод (ТП), который является основным потребителем мощности. Система может иметь вторичный потребитель мощности, например, тормозной резистор (ТР) в случае, если источники питания либо полностью, либо частично не воспринимают мощность, регенерированную ТП во время рекуперативного торможения. Указанные подсистемы должны быть связаны электрически, чтобы обеспечить обмен энергией между ними. В дополнение к этим подсистемам главной цепи последовательная гибридная система может иметь один или несколько ВИП. Соединение между ВИП и другими подсистемами в последовательной гибридной системе может быть электрическим, неэлектрическим или отсутствовать, то есть ВИП не зависит от подсистем главной цепи. Если подключены вспомогательные нагрузки, их следует учитывать, т.к. они оказывают существенное влияние на потребление энергии.
На рисунке 2 приведен пример блок-схемы последовательной гибридной системы с пятью основными подсистемами - одним ОИП, одной СНЭ, одним ТП, одним ВИП и его нагрузками и одним ТР в качестве вторичного потребителя энергии. На рисунке 2 блок "Связь" передает энергию между этими основными подсистемами через себя.

ДД - дизельный двигатель; PОИП - мощность ОИП; PТП - мощность ТП; PСНЭ - мощность СНЭ; PТР - мощность ТР; PВО - мощность ВО
Рисунок 2 - Блок-схема последовательной гибридной системы
Как показано на рисунке 2, возможные конфигурации ОИП включают, но не ограничиваются, следующее:
- комбинация дизельного двигателя с генератором и преобразователем электрической энергии;
- топливные элементы и преобразователь электрической энергии;
- контактные линии постоянного тока; или
- контактные линии переменного тока и преобразователь электрической энергии.
Как показано на рисунке 2, технологии хранения, используемые в СНЭ, включают, но не ограничиваются, следующее:
- литий-ионные батареи;
- никель-металлгидридные батареи;
- электрохимический конденсатор (ЭХК) - электрический двойнослойный конденсатор; или
- маховики.
Как показано на рисунке 2, возможные конфигурации тягового привода включают, но не ограничиваются, следующее:
- четырехквадрантные преобразователи и тяговые электродвигатели постоянного тока;
- инверторы источника питания и асинхронные тяговые электродвигатели переменного тока; или
- инверторы источника питания и синхронные тяговые электродвигатели переменного тока с постоянными магнитами.
Примечание - Термин "потребитель мощности" в разделе 4 используется для обозначения подсистем на рисунке 2, которые получают мощность от блока "Связь". Эти подсистемы не всегда рассматриваются как потребители энергии в общем смысле этого термина; например, тяговый привод создает тяговое усилие, которое физически ускоряет рельсовое ТС, и поэтому оно иногда рассматривается как источник энергии этого транспортного средства.
4.1.3 Основные режимы работы последовательной гибридной системы
На рисунке 2 возможны потоки энергии между блоком "Связь" и пятью основными подсистемами, а именно:
a) ОИП и блоком связи, обозначенные на рисунке 2 как PОИП;
b) СНЭ и блоком связи, обозначенные на рисунке 2 как PСНЭ;
c) блоком связи и тяговым приводом, обозначенные на рисунке 2 как PТП;
d) блоком связи и тормозным резистором, обозначенные на рисунке 2 как PТР; а также
e) блоком связи и ВИП (вспомогательные), обозначенные на рисунке 2 как PВО.
Среди них:
- a), b) и c) являются двунаправленными, а их значения PОИП, PСНЭ и PТП могут быть как положительными, так и отрицательными;
- d) является однонаправленным, и его значение PТР не может быть отрицательным, при этом есть допускается нулевая мощность;
- e) также является однонаправленным, но в отличие от d) его значение PВО всегда положительное и ненулевое, когда система работает.
На рисунке 2 также показаны возможные знаки (+, 0 и -) этих переменных и соответствующие направления потоков мощности. Направления определены так, что поток энергии от подсистемы источника питания к блоку связи и поток энергии от блока связи к подсистеме источника питания положительны, например, когда гибридное транспортное средство ускоряется с питанием от ОИП или СНЭ.
Используя эти обозначения, основные режимы работы системы можно классифицировать по признакам этих переменных (таблица 1).
|
Режим |
PОИП |
PСНЭ |
PТП |
PВО |
PТР |
Описание |
Рисунок 4 |
Рисунок 5 |
Рисунок 6 |
Рисунок 7 |
|
I |
+ |
- |
+ |
+ |
0 |
Дополнительный заряд во время движения |
Y |
Y |
Y |
N |
|
II |
+ |
0 |
+ |
+ |
0 |
Только источник питания |
Y |
Y |
Y |
Y |
|
III |
+ |
+ |
+ |
+ |
0 |
Ускорение |
Y |
Y |
Y |
Y |
|
IV |
0 |
+ |
+ |
+ |
0 |
Отключение ОИП/отсутствие контактной сети |
Y |
Y |
Y |
N |
|
V |
- |
+ |
+ |
+ |
0 |
СНЭ для движения и в сеть |
R |
N |
Y |
N |
|
VI |
+ |
- |
0 |
+ |
0 |
Заряд СНЭ от источника питания |
Y |
Y |
Y |
N |
|
VII |
- |
+ |
0 |
+ |
0 |
Режим СНЭ в сеть |
R |
N |
Y |
N |
|
VIII |
- |
+ |
- |
+ |
0 |
СНЭ и рекуперативный сброс в сеть |
R |
N |
Y |
N |
|
IX |
- |
0 |
- |
+ |
0 |
Чисто рекуперативное торможение |
Y |
N |
Y |
Y |
|
X |
- |
- |
- |
+ |
0 |
Рекуперативное торможение со сбросом в СНЭ и источник питания |
Y |
N |
Y |
Y |
|
XI |
0 |
- |
- |
+ |
0 |
Рекуперативный сброс только в СНЭ |
Y |
Y |
Y |
N |
|
XII |
+ |
- |
- |
+ |
0 |
Дополнительный заряд при торможении |
Y |
Y |
Y |
N |
|
XIII |
+ |
0 |
0 |
+ |
0 |
Холостой ход |
Y |
Y |
Y |
Y |
|
XIV |
0 |
+ |
0 |
+ |
0 |
Выбег с нулевым выбросом |
Y |
Y |
Y |
N |
|
XV |
- |
- |
- |
+ |
+ |
Сброс на сопротивление, заряд СНЭ и возврат в источник питания |
Y |
N |
Y |
Y |
|
XVI |
- |
0 |
- |
+ |
+ |
Сброс на сопротивление и возврат в источник питания |
Y |
N |
Y |
Y |
|
XVII |
0 |
- |
- |
+ |
+ |
Сброс на сопротивление и заряд СНЭ |
Y |
Y |
Y |
N |
|
XVIII |
0 |
0 |
- |
+ |
+ |
Сброс чисто на сопротивление |
Y |
Y |
Y |
Y |
|
Y: режим применим для конфигурации. N: режим не применим для конфигурации. R: режим редко применяется для конфигурации. | ||||||||||
Среди режимов, установленных в таблице 1, режим II (режим чистого источника питания) - это режим, в котором ОИП подает всю мощность, требуемую ТП, и может использоваться во всех примерах конфигурации системы, показанных в этом разделе. Аналогично, режим XIII (режим холостого хода) - это режим, в котором ОИП подает всю мощность, требуемую вспомогательным оборудованием, когда мощность, требуемая ТП, равна нулю и может использоваться во всех примерах конфигураций системы, показанных в этом разделе. Кроме того, режим XIV (режим выбега с нулевым выбросом) - это режим, в котором СНЭ подает всю мощность, требуемую вспомогательным оборудованием, когда мощность, подаваемая ОИП, и мощность, требуемая ТП, равны нулю. Может существовать последовательная гибридная система со стратегией управления энергопотреблением, которая использует режимы X (рекуперативное торможение для режима СНЭ и источника питания), XI (рекуперативное торможение для режима только СНЭ) и XII (дополнительный заряд в режиме торможения) для заряда СНЭ и только режим XIV (режим выбега с нулевым выбросом) для ее разряда.
4.1.4 Типичная конфигурация последовательных гибридных систем
На рисунке 2 показана блок-схема конфигурации, наиболее часто встречающейся в последовательных гибридных системах. На рисунке приведены все пять основных подсистем, а именно ОИП, СНЭ, ТП, ВО и ТР, все подключенные к общей линии постоянного тока. Примеры конфигураций, приведенных в 4.2.1, 4.2.2 и 4.2.3, имеют такую же структуру, как показано на рисунке 3.

Рисунок 3 - Пример конфигурации последовательной гибридной системы, в которой все подсистемы главной цепи подключены к общей линии постоянного тока
Однако могут существовать другие конфигурации, которые не вписываются в структуру, показанную на рисунке 3. Пример такой конфигурации приведен в 4.2.4.
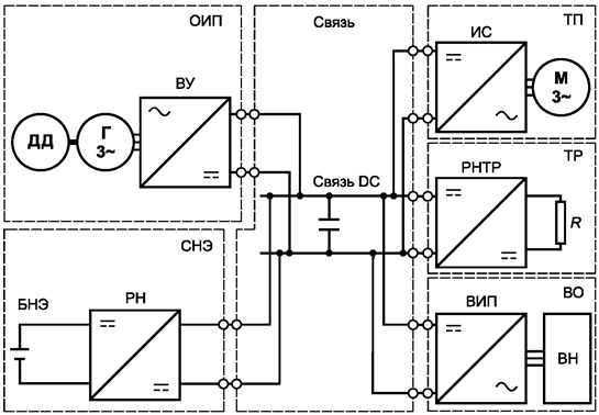
4.2.1 Дизель-электрические транспортные средства
На рисунке 4 показан пример конфигурации, в которой СНЭ интегрирована как часть системы привода дизель-электрического рельсового ТС.

ОИП - основной источник питания; СНЭ - система накопления энергии; ТП - тяговый привод; ТР - тормозной резистор; ВО - вспомогательное оборудование; ДД - дизельный двигатель; ВУ - выпрямительное устройство; БНЭ - блок накопления энергии; РН - регулятор напряжения; ИС - инвертор силовой; РНТР - регулятор напряжения тормозного резистора; R - резистор; ВИП - вспомогательный источник питания; ВН - вспомогательные нагрузки
Рисунок 4 - Последовательные гибридные системы в дизель-электрических ТС
СНЭ заряжается за счет энергии, образуемой во время рекуперативного торможения (режим XI в таблице 1) или если требуется при работе при неполной нагрузке или без нагрузки (режим I или VI в таблице 1). Запасенная энергия затем повторно используется во время следующей фазы ускорения гибридного транспортного средства (режим III или IV в таблице 1) или иным образом, определяемым концепцией управления энергией, реализованной для конкретного применения. Во время остановок двигатель может быть автоматически остановлен (остановка на холостом ходу), чтобы уменьшить расход топлива и уровень шума, используя энергию, запасенную в СНЭ, для подачи питания на вспомогательные нагрузки.
Если рекуперированная мощность превышает максимальную зарядную мощность СНЭ, то для рассеивания избыточной мощности можно использовать либо торможение двигателем или выхлопными газами <1> (режимы IX или X в таблице 1), либо тормозной резистор (режимы XV, XVI, XVII или XVIII в таблице 1).
--------------------------------
<1> Справочно-компрессионный (заслонка в выпускном коллекторе) или декомпрессионный (выпуск воздуха из цилиндра сразу после такта сжатия) тормоз.
В этой конфигурации использование режимов V, VII и VIII в таблице 1 может быть целесообразным в относительно редких рабочих ситуациях для различных приложений. В режимах V, во время подачи СНЭ энергии, необходимой для ТП и ВН, дизельный двигатель и генераторная установка также получает от нее энергию для рассеивания. В режиме VII, во время подачи СНЭ энергии, требуемой для вспомогательных нагрузок, дизельный двигатель и генераторная установка также получают от нее энергию для рассеивания. В режиме VIII, в то время как ТП регенерирует мощность, СНЭ одновременно отдает мощность, а дизельный двигатель и генераторная установка получают мощность как от СНЭ, так и от ТП, и рассеивают энергию.
4.2.2 Транспортные средства на топливных элементах
На рисунке 5 показан пример конфигурации, в которой СНЭ интегрирована как часть системы привода рельсового ТС на основе топливных элементов. Стратегия управления энергопотреблением аналогична стратегии дизель-электрических ТС в 4.2.1; однако ТЭ, как правило, не обладают способностью поглощать энергию, и поэтому режимы V, VII - X, XV и XVI в таблице 1 не применимы.

ОИП - основной источник питания; СНЭ - система накопления энергии; ТП - тяговый привод; ТР - тормозной резистор; ВО - вспомогательное оборудование; ТЭ - топливные элементы; РНТЭ - регулятор напряжения топливных элементов; БНЭ - блок накопления энергии; РН - регулятор напряжения; ИС - инвертор силовой; РНТР - регулятор напряжения тормозного резистора; ТР - тормозной резистор; ВИП - вспомогательный источник питания; ВН - вспомогательные нагрузки
Рисунок 5 - Последовательная гибридная система транспортного средства на топливных элементах
4.2.3 Транспортные средства с питанием от контактной линии постоянного тока: параллельное соединение СНЭ
На рисунке 6 показан пример конфигурации, в которой СНЭ подключают параллельно к контактной линии постоянного тока.

ОИП - основной источник питания; СНЭ - система накопления энергии; ТП - тяговый привод; ТР - тормозной резистор; ВО - вспомогательное оборудование; БНЭ - блок накопления энергии; РН - регулятор напряжения; РС – размыкатель контактной сети; ИФ - индуктивный фильтр; ИС – инвертор силовой; РНТР - регулятор напряжения тормозного резистора; R - резистор; ВИП - вспомогательный источник питания; ВН - вспомогательные нагрузки
Рисунок 6 - Последовательная гибридная система транспортных средств с питанием от контактной сети с параллельным подключением накопителя энергии
СНЭ может заряжаться как во время торможения (режимы X, XI или XII в таблице 1), так и в других режимах работы (ускорение, выбег и т.д.) по требованию (режим I или VI в таблице 1). Применяя режим X или XI, можно использовать рекуперативное торможение даже при системе подачи с недостаточной восприимчивостью мощности рекуперации. Вся мощность от ТП возвращается в цепь питания, если система подачи полностью воспринимает мощность рекуперации (режим IX в таблице 1). Если мощность, регенерируемая от ТП во время торможения, более, чем сумма максимальной зарядной мощности СНЭ и максимальной мощности рекуперации, для рассеивания избыточной мощности можно использовать ТР (режимы XV, XVI, XVII или XVIII в таблице 1).
Аналогичным образом, СНЭ может отдавать накопленную энергию как во время ускорения (режимы III, IV или V в таблице 1), так и во время других режимов работы (торможение, выбег и т.д.), по требованию (режим VII или VIII в таблице 1). Используя режим III или IV, мощность, подводимая от системы питания к поезду во время ускорения, может быть уменьшена без снижения мощности, потребляемой ТП, то есть без влияния на характеристики ускорения.
Выбор режимов работы должен основываться на хорошо продуманной стратегии, чтобы максимизировать общую эффективность системы или достичь желаемых рабочих характеристик, таких как стабилизация сетевого напряжения или автономная работа и т.д. Поток мощности внутри системы и СЭ СНЭ следует постоянно контролировать и регулировать.
Такая система может быть легко расширена до железнодорожных ТС с возможностью работы при нескольких напряжениях, включая ТС с питанием от переменного тока, путем добавления соответствующих преобразователей или трансформаторов в блок ОИП на рисунке 6. Кроме того, есть примеры, в которых в блоке ОИП ТС с питанием от контактной линии постоянного тока имеется регулятор напряжения, в этом случае в блоке СНЭ одновременно заменяют регуляторы напряжения на автоматические выключатели.
4.2.4 Транспортные средства с питанием от контактной линии постоянного тока:
последовательное соединение СНЭ
На рисунке 7 показан пример конфигурации, в которой СНЭ подключают последовательно с контактной линией.

ОИП - основной источник питания; СНЭ - система накопления энергии; ТП - тяговый привод; ТР - тормозной резистор; ВО - вспомогательное оборудование; БНЭ - блок накопления энергии; РН - регулятор напряжения; ИС - инвертор силовой; РНТР - регулятор напряжения тормозного резистора; ТР - тормозной резистор; ВИП - вспомогательный источник питания; ВН - вспомогательные нагрузки; РС – размыкатель контактной сети; ИФ - индуктивный фильтр; R - резистор; БП - байпасный переключатель СНЭ; UОИП - напряжение ОИП, то есть напряжение контактной сети; UСНЭ – выходное напряжение; UТП - входное напряжение тягового привода
Рисунок 7 - Последовательная гибридная система транспортного средства с питанием от контактной линии с последовательным подключением накопителя энергии
В отличие от примеров на рисунках 4 - 6, эта конфигурация не имеет общей линии постоянного тока, к которой подключены основные подсистемы, и поэтому не может рассматриваться как имеющая структуру, приведенную на рисунке 3, а имеет структуру, показанную на рисунке 2.
В этой конфигурации СНЭ последовательно соединена с контактной линией постоянного тока, поэтому напряжение на входе тягового инвертора UТП соответствует сумме напряжения СНЭ UСНЭ и напряжения UОИП линии. Эта конфигурация позволяет UТП быть выше, чем UОИП, что означает что ТП может получать более высокую мощность для данного тока без увеличения мощности, которая регенерируется из гибридного транспортного средства обратно в систему питания. Таким образом, диапазон рекуперативного торможения расширяется при более высоких скоростях транспортного средства за счет увеличения напряжения тягового электродвигателя во время торможения.
Предполагая, что UСНЭ неотрицательно, СНЭ может заряжаться только во время торможения (режимы X и XV в таблице 1), а энергия, накопленная в СНЭ, может отдаваться только во время ускорения (режим III в таблице 1). Режимы I, IV, V - VIII, XI, XII, XIV и XVII в таблице 1 для данной конфигурации не применимы.
4.3.1 Повышение эффективности
Последовательная гибридная система может быть более эффективна, чем негибридные системы благодаря использованию рекуперативного торможения.
Например, в дизель-электрической системе, конфигурация которой показана на рисунке 8, невозможно использовать рекуперативное торможение. При добавлении СНЭ в систему, как показано на рисунке 4, рекуперативное торможение становится возможным.

ОИП - основной источник питания; ТП - тяговый привод; ТР - тормозной резистор; ВО - вспомогательное оборудование; ДД - дизельный двигатель; ВУ - выпрямительное устройство; ИС - инвертор силовой; РНТР - регулятор напряжения тормозного резистора; R - резистор; ВИП – вспомогательный источник питания; ВН - вспомогательные нагрузки
Рисунок 8 - Дизель-электрическая силовая установка (без СНЭ)
Бортовая СНЭ также может повысить доступность рекуперативного торможения в ТС с питанием от контактной линии. В такой системе без бортовой СНЭ, конфигурация которой показана на рисунке 9, невозможно использовать рекуперативное торможение, когда питающая сеть не может принять мощность, образуемую в гибридном ТС. При добавлении СНЭ в систему, как показано на рисунке 6, в таких условиях появляется возможность использования рекуперативного торможения, позволяя бортовой СНЭ поглощать мощность, регенерируемую от ТП.

ОИП - основной источник питания; ТП - тяговый привод; ТР - тормозной резистор; ВО - вспомогательное оборудование; РС - размыкатель контактной сети; ИФ - индуктивный фильтр; РНТР - регулятор напряжения тормозного резистора; R - резистор; ВИП - вспомогательный источник питания; ВН - вспомогательные нагрузки
Рисунок 9 - Тяговая установка с питанием от контактной линии (без СНЭ)
В дополнение к рекуперативному торможению, последовательная гибридная система может быть более эффективной, чем негибридные системы, благодаря возможности использования ОИП в более эффективных условиях эксплуатации.
Например, дизельный двигатель и генераторная установка наиболее эффективны, когда они работают в определенной рабочей точке (частота вращения двигателя, мощность); однако в обычной дизель-электрической системе, конфигурация которой показана на рисунке 8, дизель-генераторная установка вынуждена выдавать мощность в некоторых неоптимальных рабочих точках. При добавлении СНЭ в систему, как показано на рисунке 4, можно управлять дизель-генератором, чтобы он оставался в наиболее эффективной рабочей точке.
Как описано выше, существуют различные конфигурации и режимы. Важно правильно оценить определения, связанные с энергией. Подробности приведены в приложении B.
4.3.2 Повышение тяговых рабочих характеристик
Когда мощность, доступная от ОИП, в последовательной гибридной системе ограничена, для дополнения мощности, подаваемой на ТП, может использоваться СНЭ, повышая таким образом тяговые характеристики ТС.
На рисунке 10 показано, как реализуется повышение мощности. На рисунке предполагается, что:
- PТР равна 0;
- PВО мала;
- PТП = PОИП + PСНЭ,
где PОИП, PСНЭ, PТП, PТР и PВО определены на рисунке 2.
|
|
|
|
a) Приоритет ОИП над СНЭ |
b) Пропорционально |
|
|
|
|
c) Приоритет СНЭ над ОИП |
d) Комбинированная стратегия управления мощностью |
PОИП - мощность ОИП; PСНЭ - мощность СНЭ; PТП - мощность ТП; TОИП - часть TТП предоставлена ОИП; TСНЭ - часть TТП предоставлена СНЭ; TТП - тяговое усилие, TСНЭ + TОИП = TТП
Примечания
1 В этих примерах предполагается, что поведение подачи питания от СНЭ является постоянным в пределах определенного диапазона скоростей, но может зависеть от технологий СНЭ.
2 Для этих примеров предполагается, что СЗ и/или СЭ СНЭ достаточны для подачи мощности, необходимой для рабочего профиля.
3 Предполагается, что поведение подачи питания от СНЭ является постоянным в диапазоне скоростей.
Рисунок 10 - Повышение тяговых характеристик движения с помощью бортовой СНЭ
В примере, показанном на рисунке 10 a), вся мощность, необходимая для ТП (тяговая мощность), подается от ОИП в диапазоне низких скоростей (режим II в таблице 1). Когда мощность превышает верхний предел ОИП в диапазоне более высоких скоростей, СНЭ увеличивает тяговую мощность и тем самым увеличивает тяговое усилие гибридного транспортного средства (режим III в таблице 1).
Следует отметить следующее:
- усиление доступно только тогда, когда в СНЭ имеется достаточно энергии. Следовательно, для того чтобы система была эффективной, необходима хорошая система управления энергией;
- для различных целей может быть разработано много разных стратегий контроля над повышением мощности. На рисунках 10 b) - d) приведены примеры возможных случаев, каждый из которых является результатом своей стратегии. В случае b) соотношение мощности от ОИП и мощности от СНЭ остается постоянным. Случай c) отличается от случая a), поскольку в случае c) имеет место приоритет СНЭ над ОИП и она обеспечивает всю мощность в диапазоне более низких скоростей, а в случае d) PТП зависит от PОИП и PСНЭ в отличие от других случаев, когда PТП является фиксированной. Выбор режимов в таблице 1 тоже разный.
Как описано выше, существуют различные конфигурации и режимы. Важно правильно оценить определения, связанные с энергией. Подробности приведены в приложении B.
Аналогичным образом можно повысить не только тяговые характеристики при ускорении, но и электрическую эффективность торможения.
4.3.3 Работа в ограниченном режиме
В последовательной гибридной системе ТС может быть спроектировано так, чтобы оно могло двигаться, даже когда ОИП не функционирует. В примере, показанном на рисунке 11, если ОИП отказал, СНЭ должна выдавать мощность, чтобы поддерживать способность гибридного транспортного средства двигаться (показано как PСНЭ и TСНЭ, соответственно). Однако, как правило, энергия и мощность, доступные от СНЭ, ограничены, и, следовательно, максимальная мощность и максимальная скорость также ограничены в таком режиме работы.

PОИП - мощность ОИП; PСНЭ - мощность СНЭ; TОИП – часть TТП предоставлена ОИП; TСНЭ - часть TТП предоставлена СНЭ
Рисунок 11 - Пример рабочих характеристик в ограниченном режиме при питании от бортовой СНЭ
Если потребитель не указал иные классы, следует применять классы условий эксплуатации, установленные в МЭК 62498-1:2010. Пользователь должен четко указать в своих технических требованиях класс для рассмотрения, в противном случае должен быть принят класс с суффиксом 1.
В случае применения других условий, если это необходимо, их следует выбирать из МЭК 60721-3-5.
Высота над уровнем моря, на которой оборудование должно работать с требуемыми характеристиками, должна соответствовать МЭК 62498-1:2010, если не оговорено иное.
Примечание - Высота имеет значение, в частности, для уровня давления воздуха и его влияния на системы охлаждения и изоляцию.
Класс температуры окружающей среды, при которой планируется работа ТС, гибридная система и ее компоненты, должен соответствовать МЭК 62498-1:2010, таблица 2, если не оговорено иное.
Для расчета срока службы потребитель должен предоставить гистограмму температуры для атмосферной среды, внешней по отношению к ТС. В противном случае следует применять эталонную температуру TR1 согласно таблице 3 МЭК 624981:2010.
Эталонной температурой считается постоянная температура, для которой воздействие на старение материала эквивалентно влиянию климатической температуры в течение срока службы.
Примечание - Тепловое старение является экспоненциальной функцией температуры (например, см. МЭК 60216-5 для изоляционных материалов), т.е. эталонная температура обычно выше средней температуры окружающей среды.
Для класса высоты AX (МЭК 62498-1:2010) зависимость между высотой и температурой должна предоставляться потребителем через гистограмму температуры для каждого соответствующего диапазона высоты (например, от 0 до 1000 м и от 1000 до 2000 м).
Если это необходимо, между потребителем и изготовителем должны быть согласованы требования к предварительному нагреву или охлаждению для компонентов гибридной системы.
6.1.1 Механические воздействия
6.1.1.1 Удар и вибрация
Гибридная система, если она удерживается в разработанных для нее креплениях (включая амортизирующие опоры, если они применяются), должна выдерживать вибрации и удары, установленные в МЭК 61373, если не оговорено иное.
6.1.1.2 Другие ускорения
Когда транспортное средство проходит по кривой или остановлено на кривой, допустимые составляющие чистого ускорения, действующие перпендикулярно к вертикальной оси транспортного средства, не должны превышать значений, установленных в МЭК 61373. Гибридная система, включая ее вспомогательное оборудование, должна продолжать работать, как указано в требованиях, при поперечных и продольных ускорениях, установленных в МЭК 61373. Эти требования должны быть согласованы между потребителем и изготовителем.
6.1.2 Защита от внешних механических воздействий
Категория защиты от проникновения должна быть определена в соответствии с МЭК 60529, чтобы соответствовать требованиям защиты от прямого контакта и условиям среды установки, если не оговорено иное.
Гибридная система должна иметь следующие минимальные функции по контролю:
- управление потоком мощности;
- контроль за потоком мощности и энергии; а также
- мониторинг состояния БНЭ.
6.3.1 Функция заряда и разряда с помощью внешнего источника
При необходимости гибридная система должна быть оснащена функцией заряда и разряда с помощью внешнего источника. Технические требования для функции внешнего заряда и разряда должны быть согласованы между потребителем и изготовителем.
6.3.2 Работа только с системой накопления энергии
Если требуется, когда питание от ОИП, то есть дизель-генератора, воздушной контактной линии или третьего рельса, отсутствует, ТС должно работать с тяговыми характеристиками и вспомогательными нагрузками, указанными потребителем.
Каждый БНЭ гибридной системы должен быть оснащен отключающими устройствами для обеспечения безопасного изолирования или отделения, например, в случае отказа или при проведении технического обслуживания.
Каждый отдельный источник питания гибридной системы должен быть оборудован отключающими устройствами для обеспечения безопасного отделения источника питания от других подсистем.
Концепция ограниченного режима должна быть определена и согласована между потребителем и изготовителем. В случае отказа части или всех отдельных источников питания (например, БНЭ/СНЭ, дизельного двигателя, топливного элемента, внешнего источника питания) оставшаяся часть должна соответствовать требованиям концепции ограниченного режима.
6.6.1 Защита от поражения электрическим током
Защита от поражения электрическим током должна рассматриваться для машиниста, обслуживающего персонала и пассажиров в соответствии с МЭК 61991, если не оговорено иное.
6.6.2 Огнестойкость и защита
Меры противопожарной защиты топлива, БНЭ и т.д. должны быть определены потребителем. В противном случае следует руководствоваться приложением C.
6.6.3 Защита от любых других воздействий
Защита от внешнего механического воздействия для БНЭ должна соответствовать МЭК 62262, если не оговорено иное.
Должны быть предприняты меры для защиты окружающей среды, машиниста, обслуживающего персонала и пассажиров от механических воздействий, которые могут быть вызваны БНЭ, например, взрыв, сброс и/или выброс газа и т.д.
6.6.4 Защита от короткого замыкания
СНЭ должна быть оснащена соответствующей защитой от короткого замыкания.
Пользователь должен определить в спецификации, являются ли части гибридной системы устойчивыми к короткому замыканию или нет.
Испытание должно быть выполнено по 8.9.
Для БНЭ следует установить срок службы. Могут быть использованы данные поставщиков компонентов. Для моделирования срока службы следует рассматривать профиль рабочего режима. Определение срока службы и моделирование БНЭ зависит от его использования и соглашения между субпоставщиком/поставщиком компонентов или поставщиком БНЭ и поставщиком системы и потребителем, если это необходимо.
Для определения конца срока службы (КСС) приведены следующие примеры:
a) с точки зрения основных компонентов, использованных для построения БНЭ, например, ЭХК: старение вызывает уменьшение емкости и увеличение внутреннего сопротивления. Изготовитель и потребитель могут согласовать, что "когда емкость снизится ниже определенного процента "X" от начальной емкости или внутреннее сопротивление в "Y" раз превысит начальное сопротивление, тогда считается, что достигнут КСС". Значения "X", "Y" или другие параметры должны быть согласованы между потребителем и изготовителем в соответствии с проектом;
b) с точки зрения рабочего профиля: системным интегратором или потребителем должны быть предоставлены рабочие профили. Поставщик БНЭ и/или системный интегратор должен оценить срок службы в соответствии с этими профилями.
Метод измерения установлен в МЭК 61133.
Конкретное требование к уровню шума определяется по соглашению между потребителем и изготовителем.
Испытания подразделяют на следующие три категории:
a) типовые;
b) дополнительные;
c) контрольные.
Контрольные испытания для конкретного оборудования, составляющего систему, проводят по соответствующим стандартам. Должен быть определен минимальный объем контрольных испытаний.
Группы объектов испытаний разбиты следующим образом:
a) интерфейс ТС/гибридная система (уровень 1): логический интерфейс (для вспомогательного оборудования, всего блока управления ТС, для интерфейса инфраструктуры и сигнализации и т.д.) работающих вместе устройств, аппаратные интерфейсы (кабели и т.д.);
Пример - Интерфейсы блока управления гибридной системой, вспомогательного и общего блоков управления ТС.
b) гибридная система и интерфейсы (уровень 2): физические и управляющие интерфейсы между ТС и тяговым (движительным) звеном;
Пример - Интерфейсы СНЭ/СНЭ, блока связи, ТП, ТР и ОИП с блоком управления гибридной системой (либо частью блока управления подсистемы, либо соответствующим блоком, который применяется).
c) компоненты (уровень 3): БНЭ, преобразователь, двигатели и т.д., как показано на рисунке 2;
d) субкомпоненты (уровень 4): литий-ионная батарея, ЭХК и т.д. в пределах БНЭ.
См. 7.5 и таблицу 2.
|
Вид испытания |
Место испытания |
Тип испытания |
Уровень |
Подраздел/пункт |
|
Комбинированное испытание на испытательном стенде | ||||
|
Функция контроля заряда/разряда СНЭ |
B |
T |
2 |
8.3.1 |
|
Испытание заряда от внешних устройств |
B |
O |
2 |
8.3.2 |
|
Испытание на отсоединение |
C или B |
T |
2, 3 |
8.3.3 |
|
Испытание работы в ограниченном режиме |
B |
O |
2 |
8.3.4 |
|
Проверка СЗ/СЭ |
B |
O |
2 |
8.3.5 |
|
Ускорение при испытании на полный крутящий момент |
B |
T |
2 |
8.4.1 |
|
Проверка выходного крутящего момента только с системой накопления энергии |
B |
T |
2 |
8.4.2 |
|
Последовательная проверка системы |
- |
- |
- |
8.5 |
|
a) запуск системы |
B |
T |
2 |
- |
|
b) движение, включая ограничение мощности в соответствии с условиями защиты |
B |
T |
2 |
- |
|
c) рекуперативный режим, включая ограничение мощности в соответствии с условиями защиты |
B |
T |
2 |
- |
|
d) отключение одного или нескольких СНЭ и/или БНЭ |
B |
T |
2 |
- |
|
e) переподключение одного или нескольких СНЭ и/или БНЭ |
B |
T |
2 |
- |
|
f) отключение одного или нескольких ОИП |
B |
T |
2 |
- |
|
d) переподключение одного или нескольких ОИП |
B |
T |
2 |
- |
|
h) выключение системы |
B |
T |
2 |
- |
|
i) резервирование, ограниченный режим работы |
B |
T |
2 |
- |
|
Измерение энергоэффективности и потребления |
B |
O |
2 |
8.6.2 |
|
Определение расхода топлива |
B |
O |
2 |
8.6.3.1 |
|
Определение уровня выбросов выхлопных газов |
B |
O |
2 |
8.6.3.2 |
|
Продолжительность работы транспортного средства на СНЭ |
B |
O |
1 |
8.7.2 |
|
Испытание при пониженной температуре |
B или C |
O |
2 или 3 |
8.8.2 |
|
Испытание при повышенной температуре |
B или C |
O |
2 или 3 |
8.8.3 |
|
Испытание защиты от короткого замыкания |
B или C |
O |
2 или 3 |
8.9 |
|
Испытание на долговечность БНЭ |
C |
O |
4 |
8.10 |
|
Уровень транспортного средства | ||||
|
Испытание на отключение СНЭ |
V |
R |
1 |
9.2 |
|
Последовательная проверка транспортного средства |
- |
- |
- |
9.3 |
|
a) запуск системы |
V |
R |
1 |
- |
|
b) движение |
V |
R |
1 |
- |
|
c) операция электрического торможения |
V |
R |
1 |
- |
|
d) отключение одного или нескольких СНЭ и/или БНЭ |
V |
R |
1 |
- |
|
e) переподключение одного или нескольких СНЭ и/или БНЭ |
V |
R |
1 |
- |
|
f) отключение одного или нескольких ОИП |
V |
R |
1 |
- |
|
g) переподключение одного или нескольких ОИП |
V |
R |
1 |
- |
|
h) выключение системы |
V |
R |
1 |
- |
|
i) резервирование, ограниченный режим работы |
V |
R |
1 |
- |
|
Измерение энергопотребления системы привода |
V |
O |
1 |
9.4 |
|
Определение расхода топлива |
V |
O |
1 |
9.5.1 |
|
Определение уровня выбросов выхлопных газов |
V |
O |
1 |
9.5.2 |
|
Измерение энергопотребления вспомогательной цепи |
V |
O |
1 |
9.6 |
|
Продолжительность работы транспортного средства от СНЭ |
V |
O |
1 |
9.7 |
|
Определение акустического шума |
V |
O |
1 |
9.8 |
|
Примечания 1 "Дополнительные" типовое испытания в таблице проводят по соглашению между потребителем и изготовителем. "Дополнительное" типовое испытание и дополнительное испытание относятся к различным категориям испытаний. 2 Обозначения места проведения испытания: C - испытание компонентов; B - испытание проводят на испытательном стенде во время комбинированного испытания; V - транспортное средство. 3 Обозначения типа испытаний: T - типовое испытание; O - дополнительное испытание; R - контрольное испытание. | ||||
|
Уровни см. 7.1. | ||||
Типовое испытание проводят для проверки паспортных данных, свойств и рабочих характеристик новой системы на гибридной системе/интерфейсе (уровень 2) и интерфейсе ТС/гибридной системы (уровень 1) для каждого нового проекта. Поставщики субкомпонента, компонента, системы и/или ТС несут ответственность за проведение типовых испытаний для их соответствующего уровня или объема поставки. Испытания компонентов и субкомпонентов (уровни 3 и 4) должны быть проведены заранее по соответствующим стандартам на компоненты.
Если конструкция или процесс изготовления оборудования, включенного в комбинированную систему, изменяется после проведения типового испытания системы, должно быть оценено влияние этого изменения на комбинированную систему. Решение о том, проводить ли типовое испытание или проводить только часть этого испытания, основывается на соглашении между потребителем и изготовителем. Если изготовитель ранее подготовил отчет о типовых испытаниях, который охватывает все виды испытаний для аналогичной системы, типовые испытания могут быть опущены по согласованию между потребителем и изготовителем.
По согласованию могут применяться результаты моделирования, основанные на надежном моделировании (успешно подтвержденные предыдущими измерениями).
Для получения дополнительной информации о гибридной системе допускается проводить дополнительные испытания. Дополнительные испытания не являются обязательными, их проводят по согласованию между потребителем и изготовителем. Если между потребителем и изготовителем не заключено конкретного соглашения, то результат этого испытания не должен рассматриваться как критерий соответствия для системы.
Контрольные испытания проводят для проверки правильности сборки системы или ТС, правильной и безопасной работы всех компонентов, системы и/или ТС. Контрольные испытания должны выполняться изготовителем на каждом изделии данного типа. Изготовитель и потребитель могут согласовать альтернативную процедуру испытаний. Это может позволить сократить объем контрольных испытаний всех компонентов, системы и/или ТС или может потребовать проведения полных контрольных испытаний части всех компонентов, системы и/или ТС, выбранных случайным образом из тех, которые были произведены в заказе.
Контрольные испытания, которые подлежат согласованию между изготовителем и потребителем, следует проводить только в том случае, если это указано в спецификации.
Категории испытаний приведены в таблице 2.
Места проведения испытаний подразделяют на испытания компонентов, комбинированные испытания и испытания ТС. Специальные требования от потребителя должны быть согласованы между потребителем и изготовителем.
Место проведения испытаний, указанное в таблице 2, может быть обсуждено и согласовано между изготовителем и потребителем.
Если иное не указано в разделах 8 и 9, критерии соответствия должны быть следующими:
- для функции должно быть проверено, что система работает должным образом, как установлено;
- для испытания определения рабочих характеристик или свойств должно быть подтверждено, что они соответствуют техническим условиям. Технические условия должны быть согласованы между потребителем и изготовителем.
Виды испытаний, отличные от указанных в разделе 8, см. в МЭК 61287-1, МЭК 60349-2, МЭК 60349-4 и МЭК 61377.
Условия испытаний - в соответствии с МЭК 61377.
8.3.1 Функция контроля заряда/разряда СНЭ
Заряд и разряд СНЭ при нормированной мощности выполняют в соответствии с требованиями, согласованными между потребителем и изготовителем. Для проверки надлежащего управления следует контролировать поток мощности, например от ОИП, СНЭ и преобразователей.
8.3.2 Испытание заряда от внешних устройств
Если предусмотрена функция заряда от внешних устройств, измеряют время, ток и напряжение в течение установленного режима заряда. Начальную температуру и условия охлаждения определяют на основе соглашения между потребителем и изготовителем. Нижний и верхний пределы режима заряда устанавливают в диапазоне, где возможен заряд постоянным током.
8.3.3 Испытание на отсоединение
В случае отказа любого источника питания должна быть возможность отсоединить вышедшее из строя устройство без повреждения или возникновения проблем безопасности. Ручное разъединение должно быть проверено, если оно установлено, например для технического обслуживания.
8.3.4 Испытание работы в ограниченном режиме
Если допускается ограниченный режим работы, ТС должно иметь возможность работать без каких-либо повреждений или проблем безопасности для любого компонента с частично или полностью отключенным источником питания, например БНЭ/СНЭ, дизельный двигатель, топливный элемент или внешний источник питания.
Конкретный рабочий диапазон в ограниченном режиме определяют по соглашению между потребителем и изготовителем.
8.3.5 Проверка СЗ/СЭ
СЗ или СЭ СНЭ должны быть согласованы между потребителем и изготовителем. Изменения в СЗ или СЭ следует непрерывно отслеживать в течение предполагаемого профиля рабочего режима путем измерения времени и энергии для выполнения расчета баланса заряда или энергии и возвращения рассчитанного СЗ или СЭ на тот же уровень в конце нормальной работы (например, зарядом от двигателя).
Если требуются повторяющиеся профили работы, то СЗ или СЭ в начале и в конце рабочего профиля должны быть сбалансированы посредством автономного заряда/разряда по окончании единичного рабочего профиля, например, с применением внешнего/внутреннего источника питания или воздушной контактной линии или третьего рельса.
Критерии соответствия для этого испытания должны быть согласованы между потребителем и изготовителем.
8.4.1 Ускорение при испытании на полный крутящий момент
Для последовательной гибридной системы характеристики крутящего момента должны быть проверены в соответствии с проектом. Должен быть измерен вклад каждого источника питания (ОИП или СНЭ).
Измерения выполняют в соответствии с МЭК 61377:2016, раздел 7.
Проверку выполняют путем постепенного увеличения и уменьшения скорости с помощью команды максимального крутящего момента во всем диапазоне скоростей при движении и электрическом торможении при "горячем" тяговом электродвигателе. Во время испытания не должно происходить аварийное прерывание работы системы. Ускорение должно соответствовать каждому применению и каждой системе.
При применении максимальной команды управления двигателем или тормозом последовательная гибридная система должна обеспечивать как можно большую суммарную мощность автоматически, в зависимости от состояния СНЭ.
Полные рабочие характеристики могут быть недоступны из-за ограничения мощности/энергии от СНЭ и/или ОИП.
Должны быть измерены усиленные или ограниченные характеристики при применении СНЭ.
8.4.2 Проверка выходного крутящего момента только с системой накопления энергии
Если требуется работа только с СНЭ, установленный выходной крутящий момент тягового привода должен достигаться за счет мощности от СНЭ с отключенным ОИП.
Цель последовательной проверки системы состоит в том, чтобы проверить комбинацию устройств, работающих как заложено в конструкции, в установленной последовательности операций без связи с рабочим профилем:
a) запуск системы
Включают управляемый источник питания и выполняют необходимые действия для запуска системы в работу;
b) движение, включая ограничение мощности в соответствии с условиями защиты
Подают команду на движение, тяговый контур настроен на движение и начинает движение. В указанном диапазоне скоростей должны быть испытаны несколько видов команд тягового усилия.
См. МЭК 61377:2016, раздел 7;
c) рекуперативный режим, включая ограничение мощности в соответствии с условиями защиты
Подают команду на торможение, тяговый контур настроен на торможение и начинает торможение. В указанном диапазоне скоростей должны быть испытаны несколько видов команд тормозного усилия.
См. МЭК 61377:2016, раздел 7;
d) отключение одного или нескольких СНЭ и/или БНЭ
Отключают один или несколько СНЭ и/или БНЭ. Данный этап последовательности следует выполнять в установленных условиях. Если его выполняют во время работы СНЭ/БНЭ или преобразователя, они должны быть безопасно остановлены перед отключением.
См. 8.3.3;
e) переподключение одного или нескольких СНЭ и/или БНЭ
СНЭ и/или БНЭ, отключенные в процедуре d), подключают повторно. Данный этап последовательности следует выполнять в установленных условиях. Подключенный СНЭ/БНЭ или преобразователь должен начать работу правильно и в соответствии с установленными требованиями;
f) отключение одного или нескольких ОИП
Отключают один или несколько ОИП. Данный этап последовательности следует выполнять в установленных условиях. Если его выполняют во время работы преобразователя, перед отключением преобразователь должен быть безопасно остановлен.
См. 8.3.3;
d) переподключение одного или нескольких ОИП
ОИП, отключенный в процедуре f), подключают повторно. Данный этап последовательности следует выполнять в установленных условиях. Подключенный ОИП должен начать работу правильно и в соответствии с установленными требованиями;
h) выключение системы
После работы систему отключают, используя последовательности команд для отключения цепи питания, цепи управления и т.д.;
i) резервирование, ограниченный режим работы
Испытание резервирования и ограниченного режима работы выполняют согласно 8.3.4.
Не должно наблюдаться ненормального поведения (например, перенапряжения, перегрузки по току, непреднамеренного отключения системы и т.д.).
8.6.1 Общие положения
Система должна работать в сочетании с эквивалентной нагрузкой, и измерения выполняют в соответствии с 8.3 МЭК 61377:2016.
Состояние нагрузки может отличаться от фактического из-за ограничений испытательного оборудования.
Испытания следует проводить в стабилизированных условиях, например тепловые условия для преобразователя, тягового электродвигателя, СНЭ и т.д.
По соглашению между потребителем и изготовителем вместо испытаний допускается применять результаты моделирования, основанные на надежном моделировании (успешно подтвержденные предыдущими измерениями).
Процедура измерения установлена в МЭК 61377. Критерии соответствия, указанные в МЭК 61377, исключают потребление энергии СНЭ. Критерии соответствия по параметру энергопотребления, включая СНЭ, должны быть согласованы между потребителем и изготовителем. Изготовитель несет ответственность за выбор необходимой точности измерительного оборудования для устройств, описанных в приложении B, например, ОИП (включая расход топлива), СНЭ.
Настоящий стандарт применяют для стендовых измерений и испытаний ТС в сборе в заводских и полевых испытаниях. Допускается использовать временное измерительное оборудование, которое отличается от бортовой системы измерения энергии в коммерческой эксплуатации.
Методы измерений для определения энергии, установленные в серии стандартов МЭК 62888, допускается применять для полевых испытаний на поездах, находящихся в коммерческой эксплуатации, в соответствии с соглашением между потребителем и изготовителем. Например, для расчета точности оборудования для измерения энергии допускается использовать среднеквадратическое значение; измеритель напряжения, измеритель тока и измеритель мощности по МЭК 62888-2.
8.6.2 Измерение энергоэффективности и потребления
8.6.2.1 Общие положения
Энергоэффективность и потребление должны быть измерены в установленной операции (продолжительность, расстояние, скорость и т.д.).
Чтобы определить энергетическую эффективность и потребление в каждой подсистеме на рисунке 2 измеряют одновременно напряжение и ток и интегрируют для указанной операции. При необходимости, по согласованию между потребителем и изготовителем, также могут быть измерены некоторые дополнительные параметры.
8.6.2.2 Подготовка
Перед началом установленной операции должен быть определен начальный уровень энергии в СНЭ.
8.6.2.3 Измерительное оборудование
Точность измерительного оборудования должна соответствовать 6.4 МЭК 61377:2016.
8.6.2.4 Места измерений
При выполнении измерений должны быть сведены к минимуму потери мощности в выводах и проводных соединениях. Места измерений указаны ниже.
a) ОИП
Измерение выполняют на выходном выводе источника питания. Для определения энергопотребления ОИП для источника постоянного или переменного тока допускается применять датчики тока и напряжения. Для контроля потребления дизельного или газового топлива, если требуется, следует использовать расходомеры.
b) СНЭ
Измерение выполняют на выходном выводе СНЭ.
c) ТП
Измерение выполняют на входных выводах.
d) ТР
Измерения выполняют на входных выводах тормозных резисторов.
e) ВО
Если основное питание для вспомогательных цепей подают от вспомогательного преобразователя, то измерение выполняют на входных выводах вспомогательного преобразователя.
f) Компоненты подсистемы
Если требуется, по соглашению между потребителем и изготовителем, чтобы определить эффективность конкретного компонента подсистемы, например выделенного преобразователя, трансформатора для контактной сети переменного тока питающего ОИП и т.д. выполняют измерение для данных компонентов.
8.6.2.5 Измерение
Установленную операцию для измерения энергии для движения и рекуперативного торможения повторяют установленное число раз.
После испытания измеряют запасенную в СНЭ энергию и вычисляют разницу с начальным уровнем.
СЗ/СЭ в начале и в конце каждого профиля рабочего режима (рабочего цикла) или в конце всех повторяющихся рабочих циклов должны быть сбалансированы последующей операцией. Последующая операция может быть выполнена посредством автономного заряда/разряда, например, с помощью внешнего/внутреннего источника питания или контактной линии.
Рабочий профиль и условия нагрузки для испытаний должны быть согласованы между потребителем и изготовителем.
8.6.2.6 Расчет энергопотребления системы для обеспечения рабочего профиля
Энергопотребление системы вычисляют путем вычитания разницы энергии, запасенной в СНЭ, из энергии, поставленной основным источником энергии. Энергопотребление системы включает ТП, ТР и ВО.
В случае дисбаланса в уровне заряда или энергии в СНЭ (ΔСЗ/ΔСЭ), разница в заряде или энергии может быть скорректирована с помощью потребления энергии.
8.6.2.7 Расчет удельного энергопотребления
Из величины энергопотребления, измеренной в 8.6.2.5, вычисляют удельное энергопотребление, отнесенное на расстоянии пробега и нагрузку, которые соответствуют рабочему профилю.
8.6.3 Определение расхода топлива и выбросов выхлопных газов (в случае двигателя внутреннего сгорания или топливных элементов)
8.6.3.1 Определение расхода топлива
Расход топлива для установленных режимов работы и условий нагрузки должен быть измерен или вычислен. Рабочие профили и условия нагрузки определяют на основе соглашения между потребителем и изготовителем.
Расход топлива определяют либо фактическим расходом топлива, измеренным в топливном баке, либо путем преобразования данных, полученных путем мониторинга состояния работы двигателя на основе полученных данных о расходе топлива от предварительно проведенных стационарных испытаний.
8.6.3.2 Определение уровня выбросов выхлопных газов
Следует определить состав и измерить или вычислить выбросы выхлопных газов.
В зависимости от соглашения между потребителем и изготовителем выбросы газа определяют либо по фактическим измерениям, либо путем преобразования данных, полученных путем мониторинга рабочего состояния двигателя, на основе данных о выбросах газа, полученных в ходе предварительно проведенных стационарных испытаний.
8.7.1 Общие положения
Испытание проводят для проверки рабочих характеристик СНЭ при подаче энергии для требуемой операции.
Вместо испытаний (например, из-за определенных ограничений испытуемых объектов), по соглашению между потребителем и изготовителем, допускается применять результаты моделирования, основанные на надежном моделировании (успешно подтвержденные предыдущими измерениями).
8.7.2 Измерение продолжительности работы на СНЭ
Испытание не проводят для систем, которые не могут работать с питанием только от СНЭ.
8.8.1 Общие положения
Система должна работать в заданном диапазоне температуры (пониженная и повышенная температура). Основное внимание в этом испытании уделяют БНЭ.
По согласованию между потребителем и изготовителем допускается использовать испытания на уровне компонентов или надежные результаты испытаний аналогичных существующих систем.
8.8.2 Испытание при пониженной температуре
Начинают работу при температуре нижнего предела температурного класса, установленного для БНЭ (например, температура окружающей среды минус 25 °C для T1; таблица 2 МЭК 624981:2010), и измеряют время, необходимое для достижения состояния БНЭ, в котором он может обеспечивать установленный режим работы. Для БНЭ следует рассмотреть возможность создания стабилизированных рабочих условий по отношению к температуре (нагрев, охлаждение и т.д.).
По согласованию между потребителем и изготовителем допускается испытание отдельных подсистем.
Если имеются ограничения из-за инфраструктуры испытания, метод испытания должен быть определен соглашением между потребителем и изготовителем.
8.8.3 Испытание при повышенной температуре
Работа БНЭ по выполнению рабочего профиля должна быть проверена при температуре верхнего предела (например, 50 °C в ящике с оборудованием для T1; таблица 2 МЭК 62498-1:2010). Для БНЭ следует рассмотреть возможность создания стабилизированных рабочих условий по отношению к температуре (нагрев, охлаждение и т.д.).
По согласованию между потребителем и изготовителем допускается испытание отдельных подсистем.
Если имеются ограничения из-за инфраструктуры испытания, метод испытания должен быть определен соглашением между потребителем и изготовителем.
Примечание - Если испытание при установленной максимальной температуре окружающей среды не проводят, для экстраполяции результатов до максимальной рабочей температуры, результаты измерения при температуре испытания корректируют линейно (между 10 °C и 40 °C) или с помощью имитационной тепловой модели (например, с учетом изменений внутреннего сопротивления).
Выводы СНЭ должны быть замкнуты накоротко надлежащими средствами, согласованными между изготовителем и потребителем.
Допускается проводить испытание, создавая состояние неисправности в выключенном состоянии перед запуском системы.
В случае короткого замыкания СНЭ должна реагировать в соответствии с определениями концепции защиты гибридной системы, согласованными между потребителем и изготовителем.
Если есть ограничения из-за возможности повреждения оборудования испытательного стенда, метод испытания должен быть определен соглашением между потребителем и изготовителем.
Испытания на долговечность проводят на уровне субкомпонента согласно соответствующим стандартам:
- для ЭХК испытание на долговечность при циклировании проводят в соответствии с МЭК 61881-3;
- для литий-ионной батареи испытание на долговечность при циклировании проводят в соответствии с МЭК 62928.
Вместо испытаний (например, специально для рабочего цикла операции определения доходности), по соглашению между потребителем и изготовителем, допускается применять результаты моделирования, основанные на надежном моделировании (успешно подтвержденные предыдущими измерениями).
Испытания, которые следует проводить на гибридных ТС в сборе, приведены ниже.
Если в настоящем стандарте не установлено иное, испытания ТС в сборе проводят по МЭК 61133.
Вместо испытаний (например, из-за определенных ограничений испытательных помещений), по соглашению между потребителем и изготовителем, допускается применять результаты моделирования, основанные на надежном моделировании (успешно подтвержденные предыдущими измерениями).
СНЭ должен быть немедленно и безопасно отключен автоматически или вручную в случае аварии или в случае сбоя. Ручное и/или автоматическое отключение должно быть проверено, если оно установлено, например, для технического обслуживания.
Примечание - Данное испытание проводят как часть последовательной проверки ТС.
Целью последовательной проверки ТС в сборе является проверка правильности работы ТС в установленной последовательности операций:
a) запуск системы
Включают управляемый источник питания и выполняют необходимые действия для запуска ТС в работу;
b) движение
Подают команду на движение, тяговый контур настроен на движение и начинает движение. В указанном диапазоне скоростей должны быть испытаны несколько видов команд тягового усилия, включая повышение мощности (см. рисунок 10) и/или ограничения мощности (см. рисунок 11), если таковые имеются.
См. МЭК 61133:2016, 9.2;
c) операция электрического торможения
Подают команду на торможение, тяговый контур настроен на торможение и начинает торможение. В указанном диапазоне скоростей должны быть испытаны несколько видов команд тормозного усилия, включая повышение мощности (см. рисунок 10) и/или ограничения мощности (см. рисунок 11), если таковые имеются.
См. МЭК 61133:2016, 9.2;
d) отключение одного или нескольких СНЭ и/или БНЭ
Отключают один или несколько СНЭ и/или БНЭ. Данный этап последовательности следует выполнять в установленных условиях. Если его выполняют во время работы СНЭ/БНЭ или преобразователя, они должны быть безопасно остановлены перед отключением.
См. 9.2;
e) переподключение одного или нескольких СНЭ и/или БНЭ
СНЭ и/или БНЭ, отключенные в процедуре d), подключают повторно. Данный этап последовательности следует выполнять в установленных условиях. Подключенный СНЭ/БНЭ или преобразователь должен начать работу правильно и в соответствии с установленными требованиями, если сбои устранены или неисправный(ая) компонент (система) безопасно отключен(а);
f) отключение одного или нескольких ОИП
Отключают один или несколько ОИП. Данный этап последовательности следует выполнять в установленных условиях. Если его выполняют во время работы преобразователя, перед отключением преобразователь должен быть безопасно остановлен;
g) переподключение одного или нескольких ОИП
ОИП, отключенный в процедуре f), подключают повторно. Данный этап последовательности следует выполнять в установленных условиях. Подключенный ОИП должен начать работу правильно и в соответствии с установленными требованиями, если неисправности устранены или неисправный компонент/система безопасно отключен;
h) выключение системы
После работы ТС выключают, используя последовательности команд для отключения цепи питания, цепи управления и т.д.;
i) резервирование, ограниченный режим работы
Испытание резервирования и ограниченного режима работы выполняют, как установлено.
При выполнении последовательности не должно наблюдаться аварийного поведения (например, перенапряжения, перегрузки по току, непреднамеренного отключения системы и т.д.).
Потребление энергии должно быть измерено для секций, рабочих профилей и условий нагрузки, установленных потребителем. Рабочие профили и условия нагрузки определяют на основе соглашения между потребителем и изготовителем.
Метод измерения - согласно 8.6.2.
Примечание - Для оценки результатов измерений учитывают высоты начальных и конечных положений ТС.
9.5.1 Определение расхода топлива
Определение расхода топлива, установленное в 8.6.3.1, применимо к уровню ТС.
9.5.2 Определение уровня выбросов выхлопных газов
Определение уровня выброса выхлопных газов, установленное в 8.6.3.2, применимо к уровню ТС.
Поскольку вспомогательное оборудование (например, кондиционер) в качестве основного потребителя энергии может оказывать существенное влияние на работу гибридной системы, следует измерить количество энергии, потребляемой вспомогательной цепью.
Если все питание для вспомогательных цепей обеспечивает ВИП, измерение производят на входном выводе ВИП.
Если есть цепи нагрузки, запитанные не от ВИП, потребление энергии измеряют в каждой из них.
Определение продолжительности работы от СНЭ, установленное в 8.7.2, применимо к уровню ТС.
Шум должен быть измерен при движении ТС и в стационарном состоянии. Определение уровня акустического шума проводят по 9.17 МЭК 61133:2016.
Учитывая прерывистую работу двигателя и радиатора, характерную для гибридной системы, шум следует определять в сочетании с пуском/остановкой ОИП, например, дизельный двигатель или радиатор при определенных условиях.
При необходимости по согласованию между потребителем и изготовителем измерение шума компонента или подсистемы при испытании компонента допускается проводить на стенде.
Приложение A
(справочное)
A.1 Содержание емкости и энергии
A.1.1 Общие положения
В настоящем стандарте емкость и энергию определяют в трех различных контекстах: теоретическом, нормированном и доступном для использования. Основная цель данного приложения состоит в том, чтобы детализировать и уточнить определения или связи, применяемые в БНЭ с батареями и/или конденсаторами в качестве принятых технологий накопления.
Например, рисунок A.1 показывает различие каждого определения, содержащего емкость и энергию для батареи и конденсатора.

Eт - теоретическая энергоемкость; Eн – нормированная энергоемкость; Eд.и - энергия, доступная для использования; Qmax - максимальный заряд; Qmin - минимальный заряд; QUmax - заряд при максимальном напряжении; QUmin – заряд при минимальном напряжении; Qд.и max - максимальный заряд, доступный для использования; Qд.и min - минимальный заряд, доступный для использования; U - напряжение; UНРЦ - напряжение разомкнутой цепи; Uн – нормированное напряжение; Umax - максимальное напряжение; Umin - минимальное напряжение; Uд.и – максимальное напряжение, доступное для использования; Uд.и min - минимальное напряжение, доступное для использования
Примечание - Для батарей: при очень малых токах доступная для использования энергия близка к нормированной энергии.
Рисунок A.1 - Разница в содержании емкости и энергии
A.1.2 Теоретическая энергоемкость
Теоретическая энергоемкость, Eт, определена в 3.1.18.1. Это количество энергии, отдаваемое при разряде током очень низкой величины (которое может быть отдано из устройства накопления энергии без потерь энергии, например, из-за джоулева или омического тепла), представляющее максимальное количество энергии, которое способна накопить БНЭ.
Для конденсатора теоретическая энергоемкость Eт основана на максимальном напряжении:
, (A.1)
где C - емкость;
Umax - максимальное напряжение.
Примечание - Для измерения емкости см. МЭК 61881-3.
Для конденсаторной технологии весь электрический заряд может быть удален или разряжен из пары электродов, и, следовательно, соответствующее теоретическое минимальное напряжение равно нулю, то есть Umin = 0.
A.1.3 Нормированная энергоемкость
Нормированная энергоемкость определена в 3.1.18.2. Это количество энергии, которое может быть отдано из БНЭ в условиях режима разряда.
Для батареи нормированная энергоемкость является интегралом от произведения постоянного тока в испытании на разряд и измеряемого напряжения (например, режим C5).
Например, литий-ионная батарея, см. результат в МЭК 62928 для нормированной энергоемкости и согласно МЭК 62620.
Для конденсатора нормированная энергоемкость Eн практически основана на нормированном напряжении:
, (A.2)
где C - емкость;
Uн - нормированное напряжение.
Примечание - Для ЭХК Eн не может быть полностью получена из-за потери на эквивалентном последовательном сопротивлении конденсатора (ЭПС).
A.1.4 Доступная для использования энергия
Энергия, доступная для использования, определена в 3.1.18.3. Это часть доступной энергии, которую можно использовать в пределах заранее определенного диапазона СЗ или пределов напряжения. Максимальный и минимальный пределы - это параметры, обычно устанавливаемые потребителем или изготовителем.
Например, могут быть определены такие параметры, как мощность, ток или максимальное и минимальное предельное напряжение для используемого оборудования.
Для батареи доступная для использования энергия - это энергия, которая может использоваться без ограничения рабочего цикла, первоначально согласованного между потребителем и изготовителем.
Для конденсатора доступная для использования энергия Eд.и фактически представляет собой разницу между значениями энергии при напряжении заряда и при минимальном доступном для использования напряжении:
, (A.3)
где C - емкость;
Uд.и - максимальное напряжение, доступное для использования;
Uд.и min - минимальное напряжение, доступное для использования.
Примечание - Для ЭХК Eд.и не может быть полностью получена из-за потери ЭПС.
A.2 Содержание СЗ и СЭ
A.2.1 Общие положения
Существует несколько определений емкости и энергии, также могут быть определены степень заряженности (СЗ) и степень энергосодержания (СЭ) как комбинация содержания емкости и энергии.
Потребителем, в зависимости от намеченных целей и применений, должно быть выбрано соответствующее определение.
СЗ представляет собой отношение количества емкости, находящейся в БНЭ, к максимальному количеству, доступному в соответствии с определением (то есть теоретическому, нормированному или доступному для использования). Значение СЗ обычно выражают в десятичных числах (от 0,0 до 1,0) или в процентах (%). Значение СЗ 1,0 или 100% относится к полностью заряженному состоянию, тогда как 0,0 или 0% относится к полностью разряженному состоянию. Аналогично СЭ является мерой относительной энергии, доступной в БНЭ, и также выражается в десятичных дробях или процентах.
A.2.2 Использование для теории
Для теоретической цели уместны следующие определения:
, (A.4)
, (A.5)
где Cт - теоретическая емкость, А·ч;
Cт.ост - оставшаяся <1> теоретическая емкость, А·ч;
Eт - теоретическая энергоемкость, Вт·ч;
Eт.ост - оставшаяся теоретическая энергоемкость, Вт·ч.
--------------------------------
<1> Понятие "оставшаяся" в контексте настоящего стандарта подразумевает значение величины емкости или энергии, доступное для отдачи от текущего состояния батареи при разряде в границах рабочей зоны, определяемых безопасностью.
A.2.3 Использование для общих вопросов
Для вопросов общего характера подходят следующие определения:
, (A.6)
, (A.7)
где Cн - нормированная емкость, А·ч;
Cн.ост - оставшаяся нормированная емкость, А·ч;
Eн - нормированная энергоемкость, Вт·ч;
Eн.ост - оставшаяся нормированная энергоемкость, Вт·ч.
A.2.4 Использование фактического значения для практических целей
Для практической цели, при оценке фактического состояния, подходят следующие определения фактической СЗф и СЭф:
, (A.8)
, (A.9)
где Cд.и - емкость, доступная для использования, А·ч;
Cд.и.ост - оставшаяся емкость, доступная для использования, А·ч;
Eд.и - энергия, доступная для использования, Вт·ч;
Eд.и.ост - оставшаяся энергия, доступная для использования, Вт·ч.
A.2.5 Коэффициент использования
Для цели коэффициента использования подходят следующие определения, применимые как к началу срока службы (НСС), так и к концу срока службы (КСС).
, (A.10)
, (A.11)
где Cн - нормированная емкость, А·ч;
Cд.и - емкость, доступная для использования, А·ч;
Eн - нормированная энергия, Вт·ч;
Eд.и - энергия, доступная для использования, Вт·ч.
Примечание - При необходимости могут использоваться другие комбинации, такие как отношения различного содержания емкости или энергии.
, (A.12)
, (A.13)
, (A.14)
. (A.15)
Приложение B
(справочное)
B.1 Общие положения
В данном приложении описаны термины, определения и методы, относящиеся к энергии.
Для одного и того же термина "эффективность рекуперации" широко используются разные определения. На рисунке 9 приведен пример архитектуры негибридной системы с питанием от контактной линии. Характеристики рекуперации этой системы оценивают, как правило, путем измерения мощности, передаваемой между ТС и сетью электропитания через токосъемники (например, пантографы или башмаки). Это как правило означает, что поток мощности является положительным, то есть от сети электропитания к ТС, когда ТП регенерирует мощность, которая менее мощности, подаваемой на ВН.
Следовательно, даже если потери в подсистеме ОИП на рисунке 9 игнорировать, подаваемая, рекуперированная и потребляемая энергия, коэффициент регенерации и многие другие показатели эффективности ТС могут значительно отличаться от тех, которые определены для ТП согласно этому определению.
Интерпретация энергетических индексов существенно различается для конкретных конфигураций. Например, в конфигурации, показанной на рисунке 6, рекуперированная энергия для ОИП в основном возвращается в сеть электропитания. В то же время, на рисунке 4 она поглощается при торможении двигателем или выхлопными газами, поэтому они должны рассматриваться по-разному.
В зависимости от конфигурации системы показатели эффективности использования энергии должны быть четко определены и обрабатываться соответствующим образом.
B.2 Термины и определения рекуперативных показателей
B.2.1 подсистема источника питания (power source subsystem): Любая составляющая последовательной гибридной системы, основной задачей которой является подача питания на другие части системы.
Примечание - СНЭ в разных контекстах может рассматриваться как источник питания и как приемник энергии.
B.2.2 подсистема энергопотребляющая (power sink subsystem): Любая составляющая последовательной гибридной системы, основной задачей которой является получение энергии от других частей системы и ее использование для достижения какой-либо конкретной цели.
Примечание - См. примечание к B.2.1.
B.2.3 поставляемая энергия (supplied energy)
(подсистема источника питания в последовательной гибридной системе) (power source subsystem in a series hybrid system): Количество энергии, передаваемой из подсистемы источника питания в другие части системы в течение установленного рабочего профиля;
(подсистема энергопотребления в последовательной гибридной системе) (power sink subsystem in a series hybrid system): Количество энергии, передаваемой из других частей системы в подсистему электропитания в течение установленного рабочего профиля;
(железнодорожное транспортное средство, использующее контактные линии) (railway vehicle using contact lines): Количество энергии, передаваемой из контактных линий в транспортное средство в течение установленного рабочего профиля.
B.2.4 рекуперированная энергия (regenerated energy)
(подсистема источника питания в последовательной гибридной системе) (power source subsystem in a series hybrid system): Количество энергии, передаваемой из других частей системы в подсистему источника питания в течение установленного рабочего профиля;
(подсистема энергопотребления в последовательной гибридной системе) (power sink subsystem in a series hybrid system): Количество энергии, передаваемой из подсистемы электропитания в другие части системы в течение установленного рабочего профиля;
(железнодорожное транспортное средство с использованием контактных линий) (railway vehicle using contact lines): Количество энергии, передаваемой транспортным средством на контактную линию в течение установленного рабочего профиля.
B.2.5 потребляемая энергия (consumed energy): Количество энергии, полученное вычитанием регенерированной энергии из подаваемой энергии.
B.2.6 эффективность рекуперации (regenerative efficiency): Отношение рекуперированной энергии к поставляемой энергии.
B.3 Энергетические показатели рабочих характеристик последовательных гибридных систем
B.3.1 Общие положения
При оценке энергоэффективности последовательных гибридных систем наиболее важным показателем рабочих характеристик является потребление энергии, как определено в 3.1.8.
В случае необходимости могут быть использованы и должны рассматриваться также другие показатели эффективности, такие как подаваемая, рекуперированная и/или потребляемая энергия каждой подсистемы в последовательной гибридной системе и/или всей гибридной системы, эффективность рекуперации тягового привода и/или всей последовательной гибридной системы и т.д.
Возможные цели индексов, определенных в настоящем приложении, включают (но не ограничиваются) установление вклада каждой из подсистем гибридной системы в энергосбережение.
B.3.2 Места измерения
При расчете индексов, описанных в настоящем приложении, необходимо измерять потоки мощности между блоком связи и подсистемами в гибридной системе. В примере конфигурации на рисунке B.1 эти потоки мощности показаны как PОИП, PСНЭ, PТП, PТР и PВО.
Примечание - Неизбежно, что в блоке связи на рисунке B.1 есть потери, однако эти потери, как правило, невелики и поэтому игнорируются в следующих частях настоящего приложения.

PОИП - мощность ОИП; PТП - мощность ТП; PСНЭ - мощность СНЭ; PТР - мощность ТР; PВО - мощность ВО
Рисунок B.1 - Пример блок-схемы последовательной гибридной системы
В дополнение к указанным потокам мощности, необходимо измерить следующее:
- для ТС, приводимого в действие от контактной линии: электрическую мощность, потребляемую ТС через токосъемники; а также
- для ТС, работающего от ОИП, потребляющего топливо или газ: расход топлива или газа расходомерами.
Как указано в 8.6.2.4, измерения следует проводить на выводах, связывающих каждую подсистему и блок связи, указанные на рисунке B.1.
B.3.3 Класс основного источника питания
Для удобства описания в настоящем приложении ОИП в гибридной системе можно классифицировать на следующие два класса:
- класс 0: ОИП, который либо:
не обладает способностью поглощать рекуперированную энергию; или
может поглощать и рассеивать рекуперированную энергию, но не имеет возможности повторно использовать возвращаемую энергию;
- класс 1: ОИП, который может поглощать рекуперированную энергию и эффективно ее использовать.
Из примеров, приведенных в разделе 4, дизель-электрические ОИП и ОИП на топливных элементах относятся к классу 0, а контактные линии в качестве ОИП относятся к классу 1.
B.3.4 Потребление энергии
B.3.4.1 Потребление энергии тяговым приводом
Подаваемая (Eп.ТП), рекуперированная (Eр.ТП) и потребляемая (используемая) (Eи.ТП) энергия ТП на рисунке B.1 может быть выражена следующими уравнениями:
, (B.1)
, (B.2)
Eи.ТП = Eп.ТП - Eр.ТП, (B.3)
где t - время, PТП(t) - значение PТП, как обозначено на рисунке B.1 в момент времени t, Tн и Tк являются временами начала и окончания рабочего профиля, заданного как условие оценки, и max(a, b) равно a, если a> b и b в противном случае. Аналогичные определения могут быть сделаны для подаваемой, регенерируемой и потребляемой энергии других подсистем в последовательной гибридной системе или в последовательной гибридной системе в целом (особенно в последовательных гибридных системах для ТС с питанием от контактной линии).
B.3.4.2 Потребление энергии на токосъемниках
Для железнодорожных ТС с питанием от контактной линии (включая ТС без гибридных систем) подводимая Eп.КС и возвращаемая (регенерируемая) Eр.КС энергия на токосъемниках (например, пантографы, если контактная линия является воздушной линией) может быть выражена следующими уравнениями:
, (B.4)
, (B.5)
Eи.КС = Eп.КС - Eр.КС, (B.6)
где t, Tн, Tк и max(a, b) такие же, как в B.3.4.1, Eи.КС - потребляемая энергия на токосъемнике, а PКС(t) - входная мощность на токосъемнике (когда PКС <0, мощность возвращается от транспортного средства в контактную линию) в момент времени t.
Знак (+, 0 или -) мощности, подаваемой на ТП PТП и знак PКС не всегда совпадают даже для негибридных ТС.
При проведении оценки потребления на токосъемниках, если есть бортовой СНЭ, его СЗ и/или СЭ должны быть равны в моменты времени Tн и Tк, как указано в 8.6.2.5.
B.3.4.3 Потребление электрической энергии гибридной системой
Подаваемая (Eп.ОИП) и возвращаемая (Eр.ОИП) электрическая энергия ОИП в гибридной системе может быть выражена следующими уравнениями:
, (B.7)
, (B.8)
Eи.ОИП = Eп.ОИП - Eр.ОИП, (B.9)
где t, Tн, Tк и max(a, b) такие же, как в B.3.4.1, Eи.ОИП - потребляемая энергия ОИП, а PОИП(t) - значение PОИП в момент времени t, как обозначено на рисунке B.1.
При проведении оценки потребления электрической энергии гибридной системой, если есть бортовой СНЭ, ее СЗ и/или СЭ должны быть равны в моменты времени Tн и Tк, как указано в 8.6.2.5.
Если ОИП в соответствии с определением, приведенным в B.3.3, относится к классу 1, то потребление электрической энергии гибридной системой равно Eи.ОИП, определенному в уравнении (B.9).
Если ОИП в соответствии с определением в B.3.3 относится к классу 0, то потребление электрической энергии гибридной системой равно Eп.ОИП, вычисленному по (B.7).
B.3.4.4 Потери в СНЭ
Рассматривая СНЭ как подсистему энергопитания, ее подаваемая (Eп.СНЭ), регенерируемая (Eр.СНЭ) и потребляемая (Eи.СНЭ) энергия может быть выражена следующими уравнениями:
, (B.10)
, (B.11)
Eи.СНЭ = Eп.СНЭ - Eр.СНЭ, (B.12)
где t, Tн, Tк и max(a, b) такие же, как в B.3.4.1, PСНЭ(t) - значение PСНЭ в момент времени t, как обозначено на рисунке B.1. Eи.СНЭ, вычисленное по (B.12), показывает потери в СНЭ во время установленного рабочего профиля.
При проведении оценки потерь в СНЭ, ее СЗ и/или СЭ должны быть равны в моменты времени Tн и Tк, как указано в 8.6.2.5.
B.3.5 Эффективность рекуперации
B.3.5.1 Общие положения
Надлежащее определение эффективности рекуперации гибридной системы в целом зависит от ее конфигурации.
Эффективность рекуперации может стать более 100% в зависимости от режима работы, например, когда транспортное средство спускается по склону.
B.3.5.2 Эффективность рекуперации тягового привода
Эффективность рекуперации ТП Kр.ТП, %, может быть выражена уравнением:
, (B.13)
где Eп.ТП и Eр.ТП такие, как определено в B.3.4.1.
B.3.5.3 Эффективность рекуперации транспортного средства с контактной линией
Эффективность рекуперации транспортного средства с контактной линией (включая негибридные транспортные средства) Kр.КС, %, можно выразить следующим уравнением:
, (B.14)
где Eп.КС и Eр.КС такие, как определено в B.3.4.4.
Следует отметить, что Kр.КС гибридного ТС (ТС с бортовой СНЭ) обычно ниже, чем у негибридного ТС (ТС без бортовой СНЭ), работающего по той же схеме.
Примечание - При оценке эффективности рекуперации ТС с КС, если на борту есть СНЭ, считается, что его СЗ и/или СЭ сбалансированы, как описано выше.
B.3.5.4 Эффективность рекуперации гибридной системы
Используя концепцию класса ОИП, определенную в B.3.3, общее определение эффективности рекуперации можно дать следующим образом.
Для гибридных систем, работающих на ОИП класса 1, эффективность рекуперации Kр.1, %, может быть вычислена следующим образом:
, (B.15)
где Eп.ТП и Eи.ТП такие, как определено в B.3.4.1, а Eп.ТР вычисляют по уравнению:
. (B.16)
Для гибридных систем, работающих на ОИП класса 0, эффективность рекуперации Kр.0, %, может быть вычислена следующим образом:
, (B.17)
где Eп.ТП и Eр.ТП такие, как определено в B.3.4.1, Eп.ТР определено в уравнении (B.16), а Eр.ОИП определено в B.3.4.3.
Примечание - При оценке эффективности рекуперации гибридной системы, если на борту ТС есть СНЭ, считается, что его СЗ и/или СЭ сбалансированы, как описано выше.
Приложение C
(справочное)
C.1 Общие положения
Законы и правила противопожарной защиты в некоторых странах перечислены ниже. Список приведен только для информации.
C.2 Китай
GB 6771-2000, Правила противопожарной защиты и мер для электровозов.
C.3 Европа
EN 45545, Железнодорожный транспорт. Противопожарная защита железнодорожных транспортных средств.
C.4 Япония
Указ Министра и утвержденная им спецификация Министерства земли, инфраструктуры, транспорта и туризма:
глава 8. Подвижной состав,
раздел 5. Противопожарные меры для подвижного состава, статья 83 - статья 85,
раздел 6. Подвижной состав для управления одним человеком, статья 86,
глава 10. Эксплуатация поездов,
раздел 2. Эксплуатация поезда, статья 108.
C.5 Россия
ВНПБ-03 Вагоны пассажирские. Требования пожарной безопасности <1>.
--------------------------------
<1> Отменен.
C.6 Соединенные Штаты Америки
NFPA 130, Стандарт для систем транзитных и пассажирских железнодорожных перевозок с фиксированной направляющей.
Приложение D
(справочное)
Перечень характеристик, установленных в настоящем стандарте, которые должны быть согласованы между изготовителем и потребителем, приведен в таблице D.1.
В настоящем стандарте указаны четыре уровня испытания. В зависимости от уровня, потребитель может быть покупателем.
|
Подразделы, пункты |
Наименование |
Описание |
|
3.1.15 |
Конец жизни |
Требуемая функциональность или рабочий профиль |
|
5.3 |
Температура |
Требования к предварительному нагреву или охлаждению |
|
6.1.1.2 |
Другие ускорения |
Требования при поперечном и продольном ускорениях |
|
6.3.1 |
Функция заряда и разряда с помощью внешнего источника |
Спецификации для функции внешнего заряда и разряда |
|
6.5 |
Ограниченный режим |
Концепция ограниченного режима |
|
6.7 |
Требования к сроку службы |
Определение срока службы и моделирование БНЭ. Параметры КСС для ЭХК |
|
6.8 |
Дополнительное требование к уровню шума гибридной системы |
Конкретное требование к уровню шума |
|
7.2 |
Типовое испытание |
Решение о том, проводить ли типовое испытание или проводить только часть этого испытания. Решение о непроведении типового испытания. Применение результатов моделирования |
|
7.3 |
Дополнительные испытания |
Необязательные испытания. Критерии соответствия для системы |
|
7.4 |
Контрольные испытания |
Стандартные испытания. Принятие альтернативной процедуры испытаний |
|
7.5 |
Категории испытаний |
Специальные требования. Место проведения испытаний. Проведение дополнительных типовых испытаний |
|
7.6 |
Критерии соответствия |
Характеристики |
|
8.3.1 |
Функция контроля заряда/разряда СНЭ |
Требования к заряду и разряду СНЭ |
|
8.3.2 |
Испытание заряда от внешних устройств |
Начальная температура и условия охлаждения |
|
8.3.4 |
Испытание работы в ограниченном режиме |
Рабочий диапазон в ограниченном режиме |
|
8.3.5 |
Проверка СЗ/СЭ |
Критерии соответствия |
|
8.6.1 |
Общие положения |
Применение результатов моделирования. Критерии соответствия по энергопотреблению, включая СНЭ. Использование серии МЭК 62888 для полевых испытаний |
|
8.6.2.1 |
Общие положения |
Измерения дополнительных параметров компонентов |
|
8.6.2.4 |
Места измерения |
Измерение для компонентов |
|
8.6.2.5 |
Измерение |
Рабочий профиль и условия нагрузки |
|
8.6.3.1 |
Определение расхода топлива |
Рабочие профили и условия нагрузки. Фактический расход топлива, измеренный в топливном баке, или путем преобразования данных, полученных в результате мониторинга |
|
8.6.3.2 |
Определение уровня выбросов выхлопных газов |
Применение результатов моделирования |
|
8.7.1 |
Общие положения |
Применение результатов моделирования |
|
8.8.1 |
Общие положения |
Использование испытаний на уровне компонентов или надежных результатов испытания существующей системы |
|
8.8.2 |
Испытание при пониженной температуре |
Испытание отдельных подсистем. Метод испытаний из-за ограничений инфраструктуры испытания |
|
8.8.3 |
Испытание при повышенной температуре |
Испытание отдельных подсистем. Метод испытаний из-за ограничений инфраструктуры испытания |
|
8.9 |
Испытание защиты от короткого замыкания |
Правильные средства короткого замыкания. Концепция защиты. Метод испытаний из-за возможности повреждения оборудования стенда |
|
8.10 |
Испытание на долговечность БНЭ |
Применение результатов моделирования |
|
9.1 |
Общие положения |
Применение результатов моделирования |
|
9.4 |
Измерение энергопотребления системы привода |
Рабочие профили и условия нагрузки |
|
9.8 |
Определение акустического шума |
Измерение шума компонента или подсистема при испытании компонентов или при стендовых испытаниях |
|
A.1.4 |
Доступная для использования энергия |
Рабочий цикл |
Приложение ДА
(справочное)
Таблица ДА.1
|
Обозначение ссылочного международного стандарта |
Степень соответствия |
Обозначение и наименование соответствующего межгосударственного стандарта |
|
IEC 60349-2 |
NEQ |
ГОСТ 2582-2013 (IEC 60349-1:2010, IEC 60349-2:2010) "Машины электрические вращающиеся тяговые. Общие технические условия" |
|
IEC 60349-4 |
- |
<*> |
|
IEC 60529 |
MOD |
ГОСТ 14254-2015 (IEC 60529:2013) "Степени защиты, обеспечиваемые оболочками (Код IP)" |
|
IEC 61133:2016 |
- |
<*> |
|
IEC 61287-1 |
MOD |
ГОСТ 33323-2015 (IEC 61287-1:2005) "Преобразователи полупроводниковые силовые для железнодорожного подвижного состава. Характеристики и методы испытаний" |
|
IEC 61373 |
MOD |
ГОСТ 33787-2019 (IEC 61373:2010) "Оборудование железнодорожного подвижного состава. Испытания на удар и вибрацию" |
|
IEC 61377:2016 |
- |
<*> |
|
IEC 61881-3 |
- |
<*> |
|
IEC 61991 |
MOD |
ГОСТ 33322-2015 (IEC 61991:2000) "Железнодорожный подвижной состав. Требования к защите от поражения электрическим током" |
|
IEC 62262 |
IDT |
ГОСТ IEC 62262-2015 "Электрооборудование. Степени защиты, обеспечиваемой оболочками от наружного механического удара (код IK)" |
|
IEC 62498-1:2010 |
- |
<*> |
|
<*> Соответствующий национальный, межгосударственный стандарт отсутствует. До его принятия рекомендуется использовать перевод на русский язык данного международного стандарта. Примечание - В настоящей таблице использованы следующие условные обозначения степени соответствия стандартов: - IDT - идентичные стандарты; - MOD - модифицированные стандарты; - NEQ - неэквивалентные стандарты. | ||
Библиография
|
IEC 60076-10 |
Power transformers - Part 10: Determination of sound levels (Силовые трансформаторы. Часть 10. Определение уровней шума) |
|
IEC 60077-1 |
Railway applications - Electric equipment for rolling stock - Part 1: General service conditions and general rules (Железнодорожный транспорт. Электрооборудование для подвижного состава. Часть 1. Общие условия эксплуатации и общие правила) |
|
IEC 60216-5 <1> |
Electrical insulating materials - Thermal endurance properties - Part 5: Determination of relative thermal endurance index (RTE) of an insulating material (Материалы электроизоляционные. Характеристики теплостойкости. Часть 5. Определение показателя относительной теплостойкости (RTE) изоляционного материала) |
--------------------------------
<1> Эта публикация отменена.
|
IEC 60254-1:2005 |
Lead-acid traction batteries - Part 1: General requirements and methods of test (Батареи аккумуляторные тяговые свинцовые. Часть 1. Общие требования и методы испытаний) |
|
IEC 60254-2:2008 |
Lead-acid traction batteries - Part 2: Dimensions of cells and terminals and marking of polarity on cells (Батареи аккумуляторные тяговые свинцовые. Часть 2. Размеры аккумуляторов и вывод и маркировка полярности на аккумуляторах) |
|
IEC 60310 |
Railway applications - Traction transformers and inductors on board rolling stock (Железнодорожный транспорт. Бортовые тяговые трансформаторы и индукторы на подвижном составе) |
|
IEC 60571 |
Railway applications - Electronic equipment used on rolling stock (Железнодорожный транспорт. Электронное оборудование, используемое на подвижном составе) |
|
IEC 60721-3-5 |
Classification of environmental conditions - Part 3: Classification of groups of environmental parameters and their severities - Section 5: Ground vehicle installations (Классификация внешних воздействующих факторов. Часть 3. Классификация групп параметров окружающей среды и их степеней жесткости. Раздел 5. Размещение на наземных транспортных средствах) |
|
IEC 60850 |
Railway applications - Supply voltages of traction systems (Железнодорожный транспорт. Напряжения электропитания систем тяги) |
|
IEC 62236-3-1 |
Railway applications - Electromagnetic compatibility - Part 3-1: Rolling stock - Train and complete vehicle (Совместимость электромагнитная систем и оборудования железнодорожного транспорта. Часть 3-1. Железнодорожный подвижной состав. Поезда и комплектные транспортные средства) |
|
IEC 62236-3-2 |
Railway applications - Electromagnetic compatibility - Part 3-2: Rolling stock - Apparatus (Совместимость электромагнитная систем и оборудования железнодорожного транспорта. Часть 3-2. Железнодорожный подвижной состав. Аппаратура) |
|
IEC 62278 |
Railway applications - Specification and demonstration of reliability, availability, maintainability and safety (RAMS) [Железные дороги. Технические условия и демонстрация надежности, эксплуатационной готовности, ремонтопригодности и безопасности (RAMS)] |
|
IEC 62497-1 |
Railway applications - Insulation coordination - Part 1: Basic requirements - Clearances and creepage distances for all electrical and electronic equipment (Железные дороги. Координация изоляции. Часть 1. Основные требования. Зазоры и длина пути тока утечки для всего электрического и электронного оборудования) |
|
IEC 62619 <2> |
Secondary cells and batteries containing alkaline or other non-acid electrolytes - Safety requirements for secondary lithium cells and batteries, for use in industrial applications (Аккумуляторы и аккумуляторные батареи, содержащие щелочной или другие некислотные электролиты. Требования безопасности для литий-ионных аккумуляторов и батарей для промышленных применений) |
--------------------------------
<2> В разработке (на момент ввода настоящего международного стандарта).
|
IEC 62620 |
Secondary cells and batteries containing alkaline or other non-acid electrolytes - Secondary lithium cells and batteries for use in industrial applications (Аккумуляторы и батареи с щелочными или другими некислотными электролитами. Литиевые аккумуляторы и батареи промышленного применения) |
|
IEC 62888 <1> (all parts) |
Railway applications - Energy measurement on board trains (Измерение расхода энергии в вагоне железнодорожных поездов) |
|
IEC 62888-2 <1> |
Railway applications - Energy measurement on board trains - Part 2: Energy measuring (Измерение расхода энергии в вагоне железнодорожных поездов. Часть 2. Измерение расхода энергии) |
--------------------------------
<1> В разработке (на момент ввода настоящего международного стандарта).
|
IEC 62928 |
Railway applications - Rolling stock equipment - Onboard lithium-ion traction batteries (Подвижной железнодорожный состав. Бортовые тяговые аккумуляторные литиево-ионные батареи) |
|
IEC 62973 |
Railway applications - Batteries for auxiliary power supply systems (Железнодорожный транспорт. Аккумуляторные батареи для систем вспомогательного электропитания) |
|
ISO 6469-3:2001 |
Electric road vehicles - Safety specifications - Part 3: Protection of persons against electric hazards (Транспорт дорожный электрический. Требования безопасности. Часть 3. Защита людей от поражения электротоком) |
|
ISO 12405-1:2011 |
Electrically propelled road vehicles - Test specification for lithium-ion traction battery packs and systems - Part 1: High-power applications (Транспорт дорожный на электрической тяге. Техническое описание испытаний тяговых литий-ионных батарей и систем. Часть 1. Высокомощные применения) |
|
ISO 23274:2007 |
Hybrid-electric road vehicles - Exhaust emissions and fuel consumption measurements - Non-externally chargeable vehicles (Транспорт дорожный гибридно-электрический. Измерения выхлопных газов и потребления топлива. Транспорт с внутренней системой зажигания) |
|
ISO 23828:2013 |
Fuel cell road vehicles - Energy consumption measurement - Vehicles fuelled with compressed hydrogen (Транспорт дорожный на топливных элементах. Измерение потребления энергии. Транспорт на сжатом водороде) |
|
EN 1986-2:2001 |
Electrically propelled road vehicles - Measurement of energy performances - Part 2: Thermal electric hybrid vehicles (Транспорт дорожный с электрическим двигателем. Измерение энергетических характеристик. Часть 2. Тепловые электрические гибридные транспортные средства) |
|
EN 45545 (all parts) |
Railway applications - Fire protection on railway vehicles (Железнодорожный транспорт. Противопожарная защита железнодорожных транспортных средств) |
|
EN 50547:2013 |
Railway applications - Batteries for auxiliary power supply systems (Железнодорожный транспорт. Аккумуляторы для систем вспомогательного электропитания) |
|
CLC/TS 50591:2013 |
Specification and verification of energy consumption for railway rolling stock (Спецификация и проверка энергопотребления железнодорожного подвижного состава) |






