ГОСТ Р МЭК 61191-4-2019 ПЕЧАТНЫЕ УЗЛЫ. Часть 4. МОНТАЖ КОНТАКТОВ. ТЕХНИЧЕСКИЕ ТРЕБОВАНИЯ
Printed board assemblies. Part 4. Installation of contacts. Technical requirements
ОКС 31.240
Дата введения - 1 июня 2020 г.
Введен впервые
Предисловие
1 Подготовлен Федеральным государственным унитарным предприятием "Российский научно-технический центр информации по стандартизации, метрологии и оценке соответствия" "СТАНДАРТИНФОРМ" (ФГУП "СТАНДАРТИНФОРМ") на основе собственного перевода на русский язык англоязычной версии стандарта, указанного в пункте 4
2 Внесен Техническим комитетом по стандартизации ТК 420 "Базовые несущие конструкции, печатные платы, сборка и монтаж электронных модулей"
3 Утвержден и введен в действие Приказом Федерального агентства по техническому регулированию и метрологии от 27 сентября 2019 г. N 799-ст
4 Настоящий стандарт идентичен международному стандарту МЭК 61191-4:2017 "Печатные узлы. Часть 4. Технические требования. Монтаж контактов" (IEC 61191-4:2017 "Printed board assemblies - Part 4: Sectional specification - Requirements for terminal soldered assemblies", IDT).
Наименование настоящего стандарта изменено для приведения в соответствие с ГОСТ Р 1.5-2012 (пункт 3.5).
При применении настоящего стандарта рекомендуется использовать вместо ссылочных международных стандартов соответствующие им национальные стандарты, сведения о которых приведены в дополнительном приложении ДА
5 Введен впервые
Настоящий стандарт устанавливает требования к монтажу с пайкой на контакты. Требования относятся к сборкам, которые полностью состоят из межсоединений с использованием контактов или проводов, или к частям сборок, которые включают в себя контакты или провода и другие связанные с ними технологии монтажа (т.е. поверхностный монтаж, монтаж в сквозные отверстия и сборку кристаллов).
В настоящем стандарте использованы нормативные ссылки на следующие стандарты. Для датированных ссылок применяют только указанное издание ссылочного стандарта. Для недатированных - последнее издание (включая все изменения к нему).
IEC 60194, Printed board design, manufacture and assembly - Terms and definitions (Платы печатные. Конструкция, изготовление и сборка. Термины и определения)
IEC 61191-1:2013, Printed board assemblies - Part 1: Generic specification - Requirements for soldered electrical and electronic assemblies using surface mount and related assembly technologies (Сборки печатных плат. Часть 1. Общие технические условия. Требования к паяным сборкам электрических и электронных компонентов с применением поверхностного монтажа и связанных с ним технологий сборки).
В настоящем стандарте применены термины по МЭК 60194.
Требования МЭК 61191-1 являются обязательной частью этой спецификации. Качество изготовления должно соответствовать требованиям IPC-A-610 в соответствии с требованиями классификации этого документа.
5.1 Общие положения
Требования распространяются на монтаж с использованием контактов в сборках всех типов.
5.2 Подготовка проводов и кабелей
5.2.1 Общие положения
С провода или выводов должно сниматься изоляционное покрытие достаточной длины для обеспечения заданных освобождений от изоляции. Химические зачищающие средства должны применяться только для одножильных проводов и должны нейтрализовываться или удаляться до проведения пайки. При снятии изоляции следует проявлять осторожность во избежание нанесения надрезов, сужений или иных повреждений провода или остающейся изоляции. Для сборок класса А или В число надрезанных или нарушенных (разорванных) жил в одном проводе не должно превышать пределов, заданных в таблице 1. Для проводов, используемых при напряжении 6 кВ и выше, или для сборок класса С не допускается применение поврежденных жил. Число поврежденных жил должно соответствовать значениям, указанным в таблице 1. Допускается обесцвечивание изоляции при использовании тепловой зачистки.
|
Количество нитей |
Максимально допустимое количество поврежденных, с зазубринами или сломанных нитей | ||
|
Уровень А и В |
Уровень С не луженый |
Уровень С предварительно луженый | |
|
1 (твердое вещество) |
Отсутствие повреждений превышает 10 % диаметра проводника | ||
|
От 2 до 6 включ. |
0 |
0 |
0 |
|
От 7 до 15 включ. |
1 |
0 |
1 |
|
От 16 до 25 включ. |
3 |
0 |
2 |
|
От 26 до 40 включ. |
4 |
3 |
3 |
|
От 41 до 60 включ. |
5 |
4 |
4 |
|
61 до 120 включ. |
6 |
5 |
5 |
|
121 или более |
6 % нитей |
5 % нитей |
5 % нитей |
5.2.2 Лужение контактов (проволоки)
Части многожильного провода, которые будут паяться, должны обслуживаться перед монтажом. Припой должен проникнуть до внутренних жил провода и смочить облуженную часть провода. Капиллярное затекание припоя под изоляцию должно быть сведено к минимуму.
5.3 Установка контактов
5.3.1 Общие положения
Подробные требования к установке и пайке контактов задаются в пунктах 5.3.2-5.3.8.
5.3.2 Закрепление контактов (механическое)
Контакты, не соединяемые с печатным монтажом или слоем заземления, должны иметь конфигурацию развальцованного фланца (см. рисунок 1). Допускается применять контактные площадки из фольги в качестве посадочной поверхности для развальцованного фланца при условии, что контактная площадка изолирована и не соединена с активным печатным монтажом или земляным слоем.

Рисунок 1 - Контакт с развальцованным фланцем
5.3.3 Разрывы хвостовика контакта
Хвостовик контакта не должен ни сверлиться, ни прорезаться, ни разрываться, в нем не должно быть разрывов таких размеров, которые могут захватывать и удерживать масла, флюс, чернила или другие вещества, используемые для обработки печатной платы. Периферические трещины или прорези в контакте неприемлемы вне зависимости от размеров. Кольцевая трещина в контакте означает разрез корпуса на части.
5.3.4 Разрывы фланца
Развальцованные фланцы не должны прорезаться, растрескиваться или иметь другие разрывы размером, способным захватывать и удерживать флюс, масла, чернила и другие жидкие вещества, используемые для обработки печатной платы. После вальцовки обжатый участок не должен иметь кольцевых разрывов или трещин, но может иметь не более трех радиальных прорезей или трещин при условии, что прорези или трещины разделены, по меньшей мере, на 90° друг от друга и не заходят в цилиндрическую часть контакта (см. рисунок 2).
|
|
|
|
а) Допустимо: радиальный разрез - (3 максимум) |
b) Недопустимо: разрез проходит в цилиндрическую часть |
Рисунок 2 - Разрывы развальцованного фланца, обжатого руликом
5.3.5 Монтаж контакта (электрический)
Развальцованные фланцы контактов должны устанавливаться в металлизированные сквозные отверстия, не предназначенные для межслойных соединений, при условии, что монтаж осуществляется в соединении с контактной площадкой или земляным слоем на развальцованной стороне контакта, как показано на рисунке 3 а). Они не должны развальцовываться на поверхности диэлектрика печатной платы. Применение контакта с воронкообразными заплечиками недопустимо (см. рисунок 3 b)). Контакты могут монтироваться в неметаллизированные сквозные отверстия с проводящим рисунком на верхней стороне (или первичной стороне) и обжатым фланцем на нижней стороне платы (см. рисунок 3 с)).

Рисунок 3 - Развальцованные фланцы контакта
5.3.6 Углы развальцовки
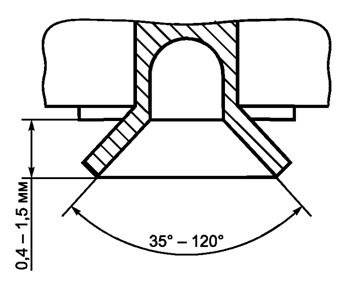
Развальцованные фланцы должны формоваться с углом 35° - 120° и должны выступать на расстояние 0,4-1,5 мм над поверхностью контактной площадки при условии, что обеспечиваются требования к минимальному электрическому зазору (см. рисунок 4) и диаметр развальцовки не превышает диаметра контактной площадки.

Рисунок 4 - Углы развальцовки фланца
5.3.7 Разрывы хвостовика
После установки хвостовик контакта должен удовлетворять требованиям 5.3.3.
5.3.8 Разрывы развальцованного фланца
Развальцованный фланец клеммы не должен быть перфорированным, расколотым, треснутым или иным образом прерывистым до такой степени, что флюс, масла, чернила или другие вещества, используемые для обработки печатной платы, смогут проникнуть. После развальцовки фланец должен соответствовать 5.3.4.
5.4 Монтаж на клеммы
5.4.1 Общие положения
Подробные требования к монтажу компонентов и проводов на контактах, установленных на печатные платы, платы с контактами или элементы шасси, изложены в 5.4.2-5.4.11.
5.4.2 Закрепление провода или вывода на контактах
Выводы и провода рекомендуется механически закреплять на контактах перед пайкой. Данным механическим креплениям предотвращают перемещение элементов соединения во время операции пайки. Выводы и провода должны оборачиваться вокруг контакта с использованием турельных или прямых элементов минимум на 180°. Допускается наложение выводов и проводов друг на друга при условии, что на турельных контактах есть достаточное пространство (см. рисунок 5).

Рисунок 5 - Закрепление проводов или выводов на контактах
Для последнего витка провода на прямом элементе контакта должно быть расстояние, по крайней мере, в один диаметр данного провода от вершины контакта, чтобы обеспечить образование галтели припоя, удовлетворяющей требования смачивания. Рекомендуется обеспечивать соответствующие ремонтопригодные петли (запас провода для перепайки), которые позволяют проводить полевое техобслуживание.
Для проводов диаметром менее 0,25 мм должны быть выполнены минимум один оборот и максимум три оборота. Исключения делаются в случае, когда используются маленькие детали для заделки проводов, где такое механическое закрепление практически нецелесообразно, например, для контактов соединителей цилиндрической формы с "дуплом", зажимных штырей с пазами и конструкций с использованием термоусадочных трубок. Провода и выводы должны контактировать по меньшей мере на периметр с дугой в 180° и не должны наматываться друг на друга.
5.4.3 Монтаж в разрезной контакт
Если механическое крепление выполнено в соответствии с требованиями 5.4.2, то допустим оборот не менее чем на 90° (см. рисунок 6). Концы провода и вывода могут выходить за основание контакта при условии, что обеспечивается минимальный электрический зазор. Провода должны размещаться в восходящем порядке с самым толстым проводом в нижней части контакта, за исключением провода силовой цепи, если это возможно.
Провод или вывод компонента должен заделываться в паз и оборачиваться вокруг одного из столбиков контакта (см. рисунок 6 а)), обеспечивая надежный контакт провода, по меньшей мере, с одним углом столбика (см. рисунок 6 d)). Провод или вывод должен быть в прочном контакте с основанием контакта или с ранее установленным проводом (см. рисунок 6 с)).

Рисунок 6 - Монтаж в разрезной контакт
Число закреплений должно ограничиваться тремя на столбик контакта и должно удерживаться в надлежащем состоянии так, чтобы:
a) не было перехлестов намоток друг на друга;
b) расстояние между проводами и расстояние между проводами и платой или панелью контактов, как минимум, согласовывалось с толщиной изоляции провода;
c) витки выполнялись с противоположно направленными поворотами (см. рисунок 6b)).
5.4.4 Верхний и нижний вводы провода в трубчатый контакт
Провод должен пронизывать полое основание контакта или монтироваться на торец контакта; для обеспечения гарантии прочного контакта провода при механическом закреплении в соответствии с требованиями пункта 5.4.2 - с изгибом минимум на 90° (см. рисунок 7). Проволочный вывод должен также соприкасаться с основанием контакта или с предварительно установленным проводом. Если монтируются более одного провода, то они должны вводиться одновременно, но накручиваться отдельно вокруг разных столбиков.

Рисунок 7 - Верхний и нижний вводы провода в трубчатый контакт
Провод должен входить прямо в контакт между столбиками, если конструкции вилкообразных контактов позволяют подсоединять провода к верхней части контакта. Расстояние между столбиками контакта должно быть заполнено двойными изгибами провода или дополнительным проводом, если это позволяет расстояние между зубцами (см. рисунки 7 с) и 7 d)).
5.4.5 Непрерывная прокладка шины
Если нужно соединять три и более контакта, то допускается прокладывать непрерывную одножильную шину широкого сечения от контакта к контакту (см. рисунок 8) при условии, что:
a) соединения с первым и последним контактом удовлетворяют требования 5.4.2;
b) провисающая часть провода перемычки изгибается так, чтобы обеспечить отсутствие напряжения при внешних нагрузках;
c) при использовании перфорированных контактов провод должен соприкасаться по меньшей мере с двумя сторонами перфораций контакта (см. рисунок 8 е)).

Рисунок 8 - Закрепление провода в последовательный ряд
5.4.6 Крепежные петли
Проволочные провода должны заделываться в контакт с небольшой петлей или плавным изгибом, как показано на рисунке 9. Петля должна быть достаточной, чтобы допускать ремонт в полевых условиях (запас провода для перепайки). После пайки провода должны удовлетворять требованиям 5.4.7 к изоляционному зазору.

Рисунок 9 - Ремонтопригодная петля провода
5.4.7 Освобождение от изоляции
Освобождение между концом изоляции провода и паяным соединением должно быть таким, как указано на рисунке 10:
a) минимальное освобождение: изоляция может соприкасаться с пайкой, но не должна покрываться припоем; контур проводов не должен быть закрыт изоляцией;
b) максимальное освобождение: должно быть меньше двух диаметров провода с учетом изоляции, но не менее 1,5 мм; свободный от изоляции провод не должен создавать короткое замыкание с проводником другой цепи.

Рисунок 10 - Измерение изоляционного зазора (с)
5.4.8 Ориентация намотки провода
Проволочные выводы допускается наматывать по часовой и против часовой стрелки (согласование направлений возможного напряжения), но необходимо продолжать изгиб заделки проволочных выводов, что не должно мешать наматыванию других проводов на контакт.
5.4.9 Амортизирующие профили выводов
Рекомендуется выводам компонента или проводам, соединенным с контактом, обеспечить амортизирующий профиль (см. рисунок 11). Компоненты не должны жестко натягиваться между незакрепленными между собой контактами.

Рисунок 11 - Примеры амортизирующих профилей выводов
5.4.10 Перфорированные или просверленные контакты
Для присоединения провода к одному контакту провод(а) должен/должны проходить через проушину и наматываться вокруг контакта (см. рисунок 12). Если применяются последовательные соединения, то провод должен прикрепляться к конечным контактам (первому и последнему) тем же способом, которым провода прикреплялись к одиночным контактам. Проволочная перемычка должна соприкасаться, по меньшей мере, с двумя краями каждого промежуточного контакта (см. рисунок 8 е)).

Рисунок 12 - Намотка провода на перфорированный контакт
Для конструкций, утвержденных потребителем, которые включают в себя провешивание/сцепление проводов. Провод(а), прикрепленные к перфорированным контактам, должны соприкасаться по меньшей мере с двумя (смежными или несмежными) поверхностями контакта. Намотка провода должна состоять минимум из 1/4 поворота и максимум из 3/4 поворота. Концы вывода или провода могут заходить за контакт максимум на один диаметр вывода (см. рисунки 12 d) и 12 е)).
5.4.11 Кулачковая и полая цилиндрическая клеммная пайка
5.4.11.1 Общие положения
Провода должны впаиваться в полые трубчатые контакты с хвостовыми дуплами способом, который обеспечивает полное заполнение дупла припоем и предотвращает сохранение в полости контакта остатков флюса.
5.4.11.2 Пайка проводов и выводов к трубчатым контактам
В один трубчатый контакт не должно устанавливаться более трех проводов. Не допускаются нарушение скрутки и сдвигание жилы. Провод или провода должны вводиться на полную глубину хвостового дупла контакта, а галтель припоя должна формироваться вдоль соприкасающихся поверхностей. Припой должен смачивать всю внутреннюю полость и должен заполнять по меньшей мере 75 % "горловины" полости. Припой должен быть видим в коллекторном отверстии и может слегка возвышаться над ним. Припой может переполнять полость. Выход припоя на обратной стороне полости должен быть незначительным.
6.1 Общие положения
Материалы, технологические процессы и процедуры, описанные и установленные в МЭК 61191-1, направлены на обеспечение качества паяных соединений выше по классу, чем минимальные требования к монтажу, установленные в данном разделе. Рекомендуется применять технологические процессы с компонентами управления, способные производить изделия, удовлетворяющие или превышающие требования критериев приемлемости изделий класса С.
6.2 Управляющие и корректирующие действия
6.2.1 Общие положения
Подробные требования к приемке, пределам корректирующих действий, определению пределов управления и общим критериям качества монтажа, описанным в МЭК 61191-1, являются обязательной частью данного стандарта. Кроме того, все сборки должны соответствовать всем последующим требованиям к поверхностному монтажу и приемке соединений.
6.3 Пайка контактов
6.3.1 Общие положения
Контактам, установленным в металлизированные сквозные отверстия, рекомендуется обеспечивать признаки хорошего смачивания, как на фланце контакта, так и на контактной площадке или области заземления. См. таблицу 2.
|
Критерий состояния |
Уровень | ||
|
А |
В |
С | |
|
А) Минимальный угол смачивания и галтели припоя со стороны подачи припоя, градус |
270 |
270 |
330 |
|
В) Минимальная степень покрытия площади контактной площадки смоченным припоем со стороны подачи припоя, % |
75 2) |
75 2) |
75 2) |
|
1) Смачивание припоем относится к припою, нанесенному в процессе пайки. 2) Допускается уменьшение уровня вертикального заполнения припоем на 25 %, включая как сторону подачи, так и сторону вытекания припоя. | |||
6.3.2 Крепление провода на контакте
Для плоских и цилиндрических контактов количество припоя должно регулироваться таким образом, чтобы контур провода или контакта был различим в припое по всему отверстию для пайки. Отверстие в монтажном столбиковом контакте не требуется заполнять припоем.
6.4 Маркировка детали и кодовые обозначения
Маркировки детали и позиционные обозначения должны быть разборчивыми, а компоненты рекомендуется устанавливать таким образом, чтобы была видна маркировка.
Ремонт дефектных паяных соединений должен проводиться после документального оформления зарегистрированного отклонения. Эти данные должны использоваться для указания возможных причин и для определения корректирующего действия, если оно требуется в соответствии с МЭК 61191-1. При выполнении доработки каждое доработанное или переоплавленное соединение должно проверяться по требованиям 6.3 (см. перечень дефектов в таблице 3).
|
N |
Дефекты |
|
1 |
Дефекты, указанные в таблице 2 МЭК 61191-1. |
|
2 |
Повреждение провода больше, чем допускается в таблице 1. |
|
3 |
Обуглившаяся изоляция проводки или компонентов. |
|
4 |
Амортизирующий профиль на выводах или проводах, не соответствующий требованиям. |
|
Примечание - Припой в изгибе амортизирующего профиля препятствует снятию напряжения. | |
Приложение ДА
(справочное)
Таблица ДА.1
|
Обозначение ссылочного международного стандарта |
Степень соответствия |
Обозначение и наименование соответствующего национального стандарта |
|
IEC 60194 |
- |
* |
|
IEC 61191-1 |
IDT |
ГОСТ Р МЭК 61191-1-2017 "Печатные узлы. Часть 1. Поверхностный монтаж и связанные с ним технологии. Общие технические требования" |
|
* Соответствующий национальный стандарт отсутствует. До его принятия рекомендуется использовать перевод на русский язык данного международного стандарта. Примечание - В настоящей таблице использовано следующее условное обозначение степени соответствия стандарта: - IDT - идентичный стандарт. | ||
Библиография
Ссылки на IEC и ISO
IEC 60068-2-20:2008, Environmental testing - Part 2-20: Tests - Test T: Test methods for solderability and resistance to soldering heat of devices with leads
IEC 60068-2-58:2015, Environmental testing - Part 2-58: Tests - Test Td: Test methods for solderability, resistance to dissolution of metallization and to soldering heat of surface mounting devices (SMD)
IEC 61188-5-1:2002, Printed boards and printed board assemblies - Design and use - Part 5-1: Attachment (land/joint) considerations - Generic requirements
IEC 61188-5-2:2003, Printed boards and printed board assemblies - Design and use - Part 5-2: Attachment (land/joint) considerations - Discrete components
IEC 61188-5-3:2007, Printed boards and printed board assemblies - Design and use - Part 5-3: Attachment (land/joint) considerations - Components with gull-wing leads on two sides
IEC 61188-5-4:2007, Printed boards and printed board assemblies - Design and use - Part 5-4: - Attachment (land/joint) considerations - Components with J leads on two sides
IEC 61188-5-5.2007, Printed boards and printed board assemblies - Design and use - Part 5-5: - Attachment (land/joint) considerations - Components with gull-wing leads on four sides
IEC 61188-5-6:2003, Printed boards and printed board assemblies - Design and use - Part 5-6: - Attachment (land/joint) considerations - Chip carriers with J leads on four sides
IEC 61188-7:2017, Printed boards and printed board assemblies - Design and use - Part 7: Electronic component zero orientation for CAD library construction
IEC 61189-2:2006, Test methods for electrical materials, printed boards and other interconnection structures and assemblies - Part 2: Test methods for materials for interconnection structures
IEC 61190-1-2:2014, Attachment materials for electronic assembly - Part 1-2: Requirements for soldering pastes for high-quality interconnects in electronics assembly
IEC 61193-1:2001, Quality assessment systems - Part 1: Registration and analysis of defects on printed board assemblies
IEC 61193-3, Quality assessment systems - Part 3: Selection and use of sampling plans for printed board and laminate end-product and in-process auditing
IEC 62326-1:2002, Printed boards - Part 1: Generic specification
IEC 62326-4:1996, Printed boards - Part 4: Rigid multilayer printed boards with interlayer connections - Sectional specification
IEC 62326-4-1:1996, Printed boards - Part 4: Rigid multilayer printed boards with interlayer connections - Sectional specification - Section 1: Capability detail specification - Performance levels А, В and С
ISO 9001:2015, Quality management systems - Requirements
Другие ссылки
IPC-TM-650, Test Methods Manual
2.3.25 Detection and measurement of ionizable surface contaminants by resistivity of solvent extract
2.3.25.1 Ionic Cleanliness Testing of Bare PWBs
2.3.27 Cleanliness test - residual rosin
2.3.38 Surface organic contamination detection test
2.4.22 Bow and twist (percentage)
2.6.3.3 Surface insulation resistance, fluxes
IPC-9191, General Requirements for Implementation of Statistical Process Control
IPC-OI-645, Standard for Visual Optical Inspection Aids
IPC-SM-817, General Requirements for Dielectric Surface Mounting Adhesives
IPC-A-610, Acceptability of Electronic Assemblies
J-STD-001, Requirements for Soldered Electrical and Electronic Assemblies
J-STD-002, Solderability Tests for Component Leads, Terminations, Lugs, Terminals and Wires
J-STD-003, Solderability Tests for Printed Boards
J-STD-004, Requirements for Soldering Fluxes
J-STD-005, General Requirements and Test Methods for Electronic Grade Solder Paste
J-STD-006, General Requirements and Test Methods for Solder Alloys and Fluxed and Non- Fluxed Solid Solders for Electronic Solder Applications
J-STD-020, Moisture/Reflow Sensitivity Classification for Nonhermetic Surface Mount Devices




