ГОСТ Р 58998-2020 ЛОПАТКИ АВИАЦИОННЫХ ОСЕВЫХ КОМПРЕССОРОВ И ТУРБИН. ТЕРМИНЫ И ОПРЕДЕЛЕНИЯ
Blades of aviation axial compressors and turbines. Terms and definitions
ОКС 03.100.01
Дата введения - 1 января 2021 г.
Введен впервые
Предисловие
1 Разработан Федеральным государственным унитарным предприятием "Центральный институт авиационного моторостроения имени П.И. Баранова" (ФГУП "ЦИАМ им. П.И. Баранова")
2 Внесен Техническим комитетом по стандартизации ТК 323 "Авиационная техника"
3 Утвержден и введен в действие Приказом Федерального агентства по техническому регулированию и метрологии от 28 августа 2020 г. 596-ст
4 Введен впервые
Введение
Установленные в настоящем стандарте термины расположены в систематизированном порядке, отражающем систему понятий данной области знания.
Для каждого понятия установлен один стандартизованный термин.
Термины расположены по тематическим подразделам.
Для отдельных стандартизованных терминов в настоящем стандарте приведены в качестве справочных краткие формы, которые разрешается применять в случаях, исключающих возможность их различного толкования.
Наличие квадратных скобок в терминологической статье означает, что в алфавитном указателе данные термины приведены отдельно с указанием номера статьи.
Приведенные определения можно при необходимости изменять, вводя в них производные признаки, раскрывая значения используемых в них терминов, указывая объекты, входящие в объем определяемого понятия. Изменения не должны нарушать объем и содержание понятий, определенных в настоящем стандарте.
В случаях, когда в термине содержатся все необходимые и достаточные признаки понятия, определение не приведено, и вместо него ставится прочерк.
Буквенным обозначениям терминов по углам и скоростям потока и геометрическим характеристикам пера лопатки, профиля пера и решетки профилей присваиваются следующие индексы:
- для компрессора:
1 - вход в решетку рабочего колеса,
2 - выход из решетки рабочего колеса,
3 - вход в решетку направляющего аппарата,
4 - выход из решетки направляющего аппарата;
- для турбины:
0 - вход в решетку соплового аппарата,
1 - выход из решетки соплового аппарата и вход в решетку рабочего колеса,
2 - выход из решетки рабочего колеса.
В приложении А приведены основные газодинамические характеристики потока, обтекающего решетку профилей.
В приложении Б приведены рисунки с чертежами и схемами для пояснения некоторых терминов.
Стандартизованные термины напечатаны полужирным шрифтом, их краткие формы - светлым.
Настоящий стандарт устанавливает применяемые в науке и технике термины, обозначения и определения основных понятий лопаток авиационных осевых компрессоров и турбин, профилей, решеток профилей.
Термины и обозначения, установленные настоящим стандартом, обязательны для применения в документации всех видов, учебниках, учебных пособиях, технической и справочной литературе.
Лопатка компрессора/турбины и ее элементы
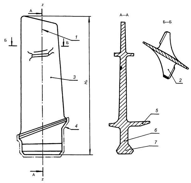
1 лопатка (компрессора/турбины): Деталь, сборочная единица, закрепленная в диске, корпусе, кольце компрессора/турбины и предназначенная для изменения параметров потока в проточной части компрессора/турбины (см. рисунки Б.1 и Б.2).
2 рабочая лопатка (компрессора/турбины): Лопатка рабочего колеса ступени компрессора/турбины (см. рисунок Б.1).
3 направляющая лопатка (компрессора): Лопатка направляющего аппарата ступени компрессора (см. рисунок Б.2).
4 входная направляющая лопатка (компрессора): Лопатка входного направляющего аппарата компрессора.
5 консольная направляющая лопатка компрессора; консольная лопатка: Направляющая лопатка, имеющая одну опору.
6 сопловая лопатка (турбины): Лопатка соплового аппарата турбины.
7 спрямляющая лопатка (компрессора/турбины): Лопатка спрямляющего аппарата компрессора/турбины.
8 поворотная лопатка (компрессора/турбины): Лопатка компрессора/турбины, спроектированная с учетом возможности изменения ее углового положения при изменении режима работы двигателя.
9 лопатка (компрессора) с поворотной хвостовой частью (пера): Лопатка, у которой часть пера, прилегающая к выходной кромке, спроектирована с учетом возможности изменения ее углового положения при изменении режима работы двигателя (см. рисунок Б.3).
10 полая лопатка (компрессора/турбины): Лопатка компрессора/турбины, имеющая конструктивно предусмотренную внутреннюю полость.
11 заполнитель полой лопатки компрессора/турбины; заполнитель лопатки: Конструктивный элемент, расположенный во внутренней полости лопатки для обеспечения прочности.
12 перфорированная лопатка (компрессора/турбины): -
13 охлаждаемая [обогреваемая] лопатка (турбины/компрессора): Лопатка, имеющая систему каналов, полостей для прохождения охлаждающего (обогревающего) воздуха (хладагента).
14 перо (лопатки компрессора/турбины): Профилированная часть лопатки, находящаяся в потоке воздуха (газа) проточной части компрессора/турбины (см. рисунки Б.1, Б.2 и Б.4).
15 торец пера (лопатки компрессора/турбины): Поверхность пера лопатки: для рабочей лопатки - обращенная к наружной поверхности проточной части компрессора/турбины (см. рисунок Б.4); для консольной направляющей (сопловой) лопатки - к внутренней поверхности проточной части компрессора/турбины.
Примечание - Рабочая лопатка турбины с бандажной полкой и направляющая (сопловая) лопатка компрессора/турбины с двумя опорами торца пера не имеют.
16 спинка пера (лопатки компрессора/турбины): Поверхность пера лопатки компрессора/турбины со стороны пониженного давления воздуха (газа) или выпуклая поверхность пера (см. рисунок Б.4).
17 корыто пера (лопатки компрессора/турбины): Поверхность пера лопатки компрессора/турбины со стороны повышенного давления воздуха (газа) или вогнутая (менее выпуклая, чем спинка) поверхность пера (см. рисунок Б.4).
18 входная [выходная] кромка пера (лопатки компрессора/турбины): Поверхность сопряжения спинки и корыта пера лопатки со стороны набегающего (сбегающего) потока.
19 хвостовик (лопатки компрессора/турбины): Часть лопатки компрессора/турбины, предназначенная для ее установки и крепления в проточной части компрессора/турбины (см. рисунки Б.1 и Б.2).
20 переходная часть лопатки (компрессора/турбины): Поверхность сопряжения пера и полки или пера и хвостовика лопатки (см. рисунок Б.4).
21 линия сопряжения переходной части лопатки (компрессора/турбины): Кривая, являющаяся границей двух сопрягаемых поверхностей (см. рисунок Б.4).
22 направляющая перегородка (лопатки компрессора/турбины): Перегородка в полости пера лопатки, предназначенная для изменения направления движения потока воздуха (газа).
23 дефлектор (охлаждаемой [обогреваемой] лопатки турбины/компрессора): Профилированный полый элемент, расположенный в полости пера в фиксированном положении по отношению к внутренней поверхности лопатки.
Примечание - Дефлектор осуществляет заданное по скорости и направлению движение потока охлаждающего (обогревающего) воздуха.
24 перфорированный дефлектор (охлаждаемой [обогреваемой] лопатки турбины/компрессора): -
25 лопатка (турбины) с конвективным охлаждением: Лопатка турбины, которая имеет внутренние каналы охлаждения (см. рисунок Б.5).
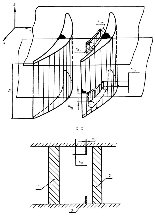
26 лопатка (турбины) с конвективно-пленочным охлаждением: Лопатка турбины, в полости пера которой имеется один или более рядов щелей или отверстий, через которые вытекает охлаждающий воздух, создающий защитную пелену на поверхностях лопатки (см. рисунок Б.6).
27 интенсификаторы теплоотдачи (в лопатках турбины): Устройства - штырьки, ребра, перемычки различной конфигурации - в каналах конвективного охлаждения лопатки для увеличения теплосъема охлаждающим воздухом (см. рисунки Б.5 и Б.6).
28 лопатка турбины с радиальным течением (охлаждающего) воздуха: Рабочая лопатка турбины, через внутренние каналы (полости) которой протекает охлаждающий воздух в радиальном направлении с выходом в торец пера (см. рисунок Б.5).
29 лопатка турбины с петлевым течением (охлаждающего) воздуха: Рабочая или сопловая лопатка турбины, в полости пера которой имеется радиальная перегородка, поворачивающая поток охлаждающего воздуха на 180° (см. рисунки Б.5 и Б.6).
30 лопатка (турбины) с полупетлевым течением (охлаждающего) воздуха: Лопатка турбины, в полости пера которой имеется одна или более перегородок, поворачивающих поток охлаждающего воздуха в выходную кромку пера (см. рисунок Б.7).
31 однополостная лопатка (турбины): Лопатка турбины, система охлаждения которой состоит из одной полости с выходом охлаждающего воздуха на поверхности пера, за исключением торца.
32 многополостная лопатка (турбины): Лопатка турбины, система охлаждения которой состоит из полостей, имеющих отдельные входы и выходы для охлаждающего воздуха на поверхности пера.
33 многоканальная лопатка (турбины): Лопатка турбины, система охлаждения которой состоит из радиальных каналов различной конфигурации, имеющих выход охлаждающего воздуха в торец пера или из конца одного канала в другой с петлевым течением охлаждающего воздуха.
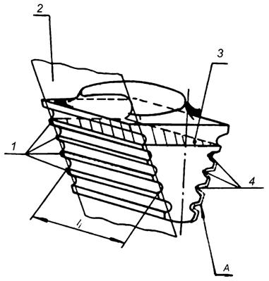
34 винтоканальная (матричная) лопатка (турбины): Лопатка турбины, внутренние каналы охлаждения которой образуются косоугольными матрицами с взаимно перекрещивающимися соприкасающимися ребрами (см. рисунок Б.8).
35 дефлекторная лопатка (турбины): Лопатка турбины, в полости пера которой установлен дефлектор (см. рисунки Б.9 и Б.10).
36 оболочковая лопатка (турбины): Охлаждаемая лопатка турбины, состоящая из несущего профилированного стержня и оболочки, прилегающей к нему, с зазорами, через которые протекает охлаждающий воздух.
37 составная лопатка (компрессора/турбины): Полая охлаждаемая (обогреваемая) лопатка компрессора/турбины, изготавливаемая из отдельных деталей, соединенных между собой.
38 лопаточный венец (ступени компрессора/турбины): Кольцевой ряд рабочих (направляющих, спрямляющих, сопловых) лопаток, установленных в диске, корпусе или кольце компрессора/турбины.
39 блок сопловых лопаток турбины; блок лопаток: Две и более лопатки соплового аппарата турбины, изготовленные зацело или неразъемно соединенные между собой (см. рисунок Б.11).
Основные сечения пера лопатки
40 цилиндрическое сечение пера лопатки (компрессора/турбины): Развертка на плоскость сечения пера цилиндрической поверхностью, ось которой совпадает с осью компрессора/турбины.
41 коническое сечение пера (лопатки компрессора/турбины): Развертка на плоскость сечения пера конической поверхностью, ось которой совпадает с осью компрессора/турбины.
42 плоское сечение пера (лопатки компрессора/турбины): Поперечное сечение пера лопатки плоскостью.
43 прямое плоское сечение пера (лопатки компрессора/турбины); прямое сечение пера: Поперечное сечение пера лопатки плоскостью, параллельной оси компрессора/турбины.
44 косое плоское сечение пера (лопатки компрессора/турбины); косое сечение пера: Поперечное сечение пера лопатки плоскостью, непараллельной оси компрессора/турбины.
45 периферийное сечение пера (лопатки компрессора/турбины): Первое от торца пера или от трактовой поверхности наружного корпуса компрессора/турбины расчетное прямое сечение пера (см. рисунок Б.12).
46 корневое сечение пера (лопатки компрессора/турбины): Последнее от торца пера или от трактовой поверхности наружного корпуса компрессора/турбины расчетное прямое сечение пера (см. рисунок Б.12).
47 среднее сечение пера (лопатки компрессора/турбины): Расчетное прямое сечение пера лопатки, расположенное между периферийным и корневым сечениями пера так, чтобы соблюдалось равенство кольцевых площадей, ограниченных одна - периферийным и средним сечениями, другая - средним и корневым сечениями пера (см. рисунок Б.12).
48 ось лопатки (компрессора/турбины) z - z: Для рабочих лопаток: прямая, направленная радиально от хвостовика лопатки к торцу пера и проходящая через центр тяжести корневого сечения (см. рисунки Б.1 и Б.12); для направляющих (спрямляющих, сопловых) лопаток: прямая, направленная радиально от хвостовика лопатки к оси статора (см. рисунок Б.2).
49 косой участок (пера лопатки компрессора/турбины): Часть пера между профилем корневого сечения и линией сопряжения переходной части лопатки с пером, расположенной под углом к оси лопатки (см. рисунок Б.12).
50 угол косого участка (пера лопатки компрессора/турбины): Угол между касательной к трактовой поверхности полки в точке ее пересечения с осью лопатки и прямой, параллельной оси компрессора/турбины (см. рисунок Б.12).
51 конструкторская база лопатки (компрессора/турбины): Поверхность либо теоретический элемент, от которых заданы размеры лопатки, необходимые для ее изготовления и контроля.
Примечание - Для изготовления и контроля лопатки могут одновременно использоваться несколько конструкторских баз.
52 базовая плоскость (лопатки компрессора/турбины): Плоскость, определяющая положение начала чертежной системы координат пера лопатки по высоте относительно оси компрессора/турбины.
53 технологическая база лопатки (компрессора/турбины): Поверхность лопатки или дополнительные поверхности ее заготовки, необходимые для изготовления или контроля лопатки.
Виды полок
54 антивибрационная полка (лопатки компрессора): Элемент лопатки, расположенный на пере, предназначенный для снижения динамических напряжений от вибраций (см. рисунок Б.1).
55 бандажная полка (лопатки компрессора/турбины): Элемент рабочей лопатки компрессора/турбины, расположенный на торце пера, предназначенный для снижения динамических напряжений от вибрации и уменьшения перетекания воздуха (газа) (см. рисунок Б.7).
56 контактная поверхность бандажной [антивибрационной] полки (лопатки компрессора/турбины); контактная поверхность полки: Поверхность соприкосновения бандажных [антивибрационных] полок двух соседних лопаток, установленных в лопаточном венце (см. рисунок Б.7).
57 торцевая поверхность бандажной полки (лопатки компрессора/турбины); торцевая поверхность полки: Поверхность бандажной полки со стороны входной и выходной кромок пера (см. рисунок Б.7).
58 входная [выходная] кромка антивибрационной полки (лопатки компрессора); входная [выходная] кромка полки: Поверхность антивибрационной полки со стороны входа [выхода] потока в лопаточный венец.
59 трактовая поверхность бандажной полки (лопатки компрессора/турбины); трактовая поверхность полки: Поверхность бандажной полки, образующая проточную часть.
60 угол контакта бандажной [антивибрационной] полки (лопатки компрессора/турбины) γп: Угол между осью двигателя и плоскостью, проходящей через контактную поверхность полки.
61 аэродинамический гребень (лопатки турбины): Элемент лопатки, расположенный на спинке пера или на трактовой поверхности полки и выступающий в межлопаточный канал (см. рисунки Б.13 и Б.14).
62 входная [выходная] кромка аэродинамического гребня (лопатки турбины); входная [выходная] кромка гребня: Поверхность аэродинамического гребня со стороны набегающего (сбегающего) потока.
63 высота аэродинамического гребня лопатки турбины на входе [выходе] hгр; высота гребня: Высота входной [выходной] кромки аэродинамического гребня (см. рисунки Б.13 и Б.14).
64 толщина аэродинамического гребня лопатки турбины Δгр; толщина гребня: См. рисунки Б.13 и Б.14.
65 ширина канала аэродинамического гребня лопатки турбины Нгр; ширина канала гребня: Расстояние от входной (выходной) кромки аэродинамического гребня, установленного на трактовой поверхности полки, до корыта профиля в данном сечении (см. рисунок Б.13).
66 высота расположения аэродинамического гребня на пере лопатки турбины; высота расположения гребня: Расстояние от трактовой поверхности полки до аэродинамического гребня, расположенного на спинке пера (см. рисунок Б.14).
67 гребень бандажной полки рабочей лопатки турбины; гребень полки: -
Примечание - См. рисунок Б.8.
Элементы соединения лопатки
68 элемент соединения (лопатки компрессора/турбины): Часть хвостовика лопатки, предназначенная непосредственно для крепления лопатки в диске, корпусе компрессора/турбины (см. рисунок Б.1).
69 елочный элемент соединения (лопатки компрессора/турбины): -
Примечание - См. рисунок Б.15.
70 элемент соединения лопатки компрессора ласточкин хвост; элемент соединения "ласточкин хвост": -
Примечание - См. рисунок Б.16.
71 элемент соединения лопатки компрессора цапфа; элемент соединения цапфа: -
Примечание - См. рисунок Б.17.
72 элемент соединения лопатки компрессора проушина; элемент соединения проушина: -
Примечание - См. рисунок Б.18.
73 вильчатый элемент соединения (лопатки компрессора): Элемент соединения, состоящий из двух или более проушин (см. рисунок Б.19).
74 криволинейный элемент соединения (лопатки компрессора): Элемент соединения с линейчатой образующей боковой поверхности хвостовика.
75 кольцевой элемент соединения (лопатки компрессора): Элемент соединения лопатки "ласточкин хвост" с плоскостью симметрии, перпендикулярной к оси компрессора (см. рисунок Б.20).
Примечание - Конструкция для набора лопаток в окружном направлении.
76 профильный элемент соединения (лопатки компрессора/турбины): Часть пера лопатки, закрепляемая в корпусе компрессора/турбины (см. рисунок Б.21).
77 односторонний елочный элемент соединения (лопаток компрессора/турбины): -
Примечание - См. рисунок Б.22.
78 элемент соединения полка (сопловой [направляющей] [спрямляющей] лопатки турбины/компрессора): Элемент лопатки, предназначенный для крепления сопловой [направляющей] [спрямляющей] лопатки в корпусе турбины/компрессора (см. рисунок Б.23).
79 полка хвостовика (лопатки компрессора/турбины): Часть хвостовика, на которой располагается перо и которая служит для образования проточной части компрессора/турбины в том случае, когда элемент соединения не примыкает к переходной части пера (см. рисунки Б.1 и Б.4).
80 ножка хвостовика (лопатки компрессора/турбины): Часть хвостовика, соединяющая полку хвостовика и элемент соединения (см. рисунок Б.1).
Составные части и геометрические характеристики элементов соединения лопатки
81 входной [выходной] торец (элемента соединения лопатки компрессора/турбины): Плоская поверхность элемента соединения со стороны входной [выходной] кромки пера (см. рисунок Б.24).
Примечание - За исключением кольцевого элемента соединения.
82 основание хвостовика (лопатки компрессора/турбины): Поверхность хвостовика, противоположная торцу пера лопатки (см. рисунок Б.24).
Примечание - Профильный элемент соединения основания хвостовика не имеет.
83 профиль элемента соединения (лопатки компрессора/турбины): Контур сечения элемента соединения плоскостью, перпендикулярной к боковой поверхности и основанию хвостовика (см. рисунок Б.25).
84 ось симметрии профиля элемента соединения (лопатки компрессора/турбины) о1 - о1: Геометрическое место точек, равноудаленных от противоположных сторон профиля элемента соединения (см. рисунок Б.25).
Примечание - Имеются элементы соединения без оси симметрии.
85 плоскость симметрии элемента соединения (лопатки компрессора/турбины): Плоскость, проходящая через оси симметрии профилей элемента соединения (см. рисунок Б.26).
Примечание - За исключением криволинейного элемента соединения.
86 рабочие поверхности элемента соединения (лопатки компрессора/турбины): Поверхности элемента соединения, контактирующие с соответствующими поверхностями сопрягающихся деталей.
87 трактовая поверхность хвостовика [элемента соединения] (лопатки компрессора/турбины): Поверхность полки хвостовика [элемента соединения], находящаяся в потоке воздуха (газа) и являющаяся элементом внутренней или наружной поверхности проточной части двигателя.
88 высота хвостовика (лопатки компрессора/турбины) Н: Расстояние от основания до трактовой поверхности хвостовика в радиальном направлении в контролируемых точках.
89 длина элемента соединения (лопатки компрессора/турбины) l: Расстояние между входным и выходным торцами элементов соединения, измеренное в направлении оси вращения ротора (см. рисунок Б.26).
90 угол установки элемента соединения (лопатки компрессора/турбины) θу: Угол между плоскостью вращения ротора и плоскостью симметрии элемента соединения (см. рисунок Б.26).
Геометрические характеристики елочного элемента соединения лопатки
91 гребенка (елочного элемента соединения лопатки компрессора/турбины): Зубчатая поверхность елочного элемента соединения (см. рисунок Б.27).
92 зуб гребенки (елочного элемента соединения лопатки компрессора/турбины): -
Примечание - См. рисунок Б.27.
93 впадина гребенки (елочного элемента соединения лопатки компрессора/турбины): -
Примечание - См. рисунок Б.27.
94 рабочая поверхность зуба гребенки (елочного элемента соединения лопатки компрессора/турбины): Поверхность зуба гребенки, находящаяся в контакте с зубом диска в рабочем положении (см. рисунок Б.28).
95 нерабочая поверхность зуба гребенки (елочного элемента соединения лопатки компрессора/турбины): Поверхность зуба гребенки, не имеющая контакта с зубом диска (см. рисунок Б.28).
96 профиль гребенки (елочного элемента соединения лопатки компрессора/турбины): Контур сечения елочного элемента соединения плоскостью, перпендикулярной к плоскости симметрии и к основанию элемента соединения (см. рисунок Б.29).
97 средняя линия профиля гребенки (елочного элемента соединения лопатки компрессора/турбины): Прямая, делящая рабочую поверхность зуба гребенки пополам и лежащая в плоскости профиля гребенки (см. рисунок Б.28).
98 базовая линия гребенки (елочного элемента соединения лопатки компрессора/турбины): Прямая, проходящая через точки пересечения средних линий профиля с рабочими поверхностями верхней пары зубьев (см. рисунок Б.28).
99 средняя плоскость гребенки (елочного элемента соединения лопатки компрессора/турбины): Плоскость, проходящая через средние линии профиля гребенки (см. рисунок Б.27).
100 базовая плоскость гребенки (елочного элемента соединения лопатки компрессора/турбины): Плоскость, проходящая через базовые линии гребенки (см. рисунок Б.27).
101 высота гребенки (елочного элемента соединения лопатки компрессора/турбины) hл: Расстояние от основания хвостовика до базовой плоскости гребенки (см. рисунок Б.28).
102 высота головки зуба гребенки (елочного элемента соединения лопатки компрессора/турбины) hп: Расстояние от средней плоскости до вершины зуба гребенки (см. рисунок Б.29, а).
103 длина зуба гребенки (елочного элемента соединения лопатки компрессора/турбины) li: Расстояние между входным и выходным торцами элемента соединения по линии пересечения рабочей поверхности зуба со средней плоскостью гребенки (см. рисунок Б.27).
104 шаг зубьев гребенки (елочного элемента соединения лопатки компрессора/турбины) S: Расстояние между рабочими поверхностями соседних зубьев в направлении средней линии гребенки (см. рисунок Б.29, а).
105 условный шаг зубьев гребенки (елочного элемента соединения лопатки компрессора/турбины) S1: Расстояние между рабочими поверхностями соседних зубьев гребенки в направлении оси симметрии профиля элемента соединения (см. рисунок Б.29, а).
106 угол клина гребенок (елочного элемента соединения лопатки компрессора/турбины) φ: Угол между средними поверхностями гребенок (см. рисунок Б.29, б).
107 угол расположения рабочей поверхности зуба гребенки (елочного элемента соединения лопатки компрессора/турбины) β: Угол между рабочей поверхностью зуба и средней плоскостью гребенки (см. рисунок Б.29, б).
108 угол давления зуба гребенки (елочного элемента соединения лопатки компрессора/турбины) β1: Угол между рабочей поверхностью зуба и базовой плоскостью гребенки (см. рисунок Б.29, б).
109 угол профиля зуба гребенки (елочного элемента соединения лопатки компрессора/турбины) γ: Угол между рабочей и нерабочей поверхностями зуба гребенки (см. рисунок Б.29, б).
110 размер гребенок елочного элемента соединения лопатки компрессора/турбины по средним линиям lл; размер гребенок по средним линиям: Расстояние между линиями пересечения средних плоскостей гребенок с рабочими поверхностями одноименных зубьев (см. рисунок Б.29, а).
111 размер гребенок елочного элемента соединения лопатки компрессора/турбины по роликам lлр; размер гребенок по роликам: Расстояние между наружными поверхностями роликов, вложенных в одноименные впадины (см. рисунок Б.29, а).
112 высота зуба гребенки (елочного элемента соединения лопатки компрессора/турбины) h3: Расстояние от вершины зуба до дна впадины, измеренное по перпендикуляру к средней плоскости гребенки (см. рисунок Б.29, а).
Геометрические параметры элемента соединения лопатки компрессора "ласточкин хвост"
113 угол клина элемента соединения лопатки компрессора "ласточкин хвост" α; угол клина элемента соединения "ласточкин хвост": Угол между рабочими поверхностями элемента соединения (см. рисунок Б.30).
114 угол при основании элемента соединения лопатки компрессора "ласточкин хвост" β; угол при основании элемента соединения "ласточкин хвост": Угол между рабочей поверхностью и основанием хвостовика лопатки (см. рисунок Б.30).
115 размер элемента соединения лопатки компрессора "ласточкин хвост" b; размер элемента соединения "ласточкин хвост": Расстояние между симметрично расположенными точками рабочих поверхностей элемента соединения на заданной высоте от основания хвостовика (см. рисунок Б.30).
116 размер элемента соединения лопатки компрессора "ласточкин хвост" по основанию В; размер элемента соединения "ласточкин хвост" по основанию: Расстояние между линиями пересечения рабочих поверхностей элемента соединения с основанием хвостовика (см. рисунок Б.30).
Профиль пера лопатки компрессора/турбины
117 профиль (пера лопатки компрессора/турбины): Контур поперечного сечения пера лопатки компрессора/турбины заданной плоскостью или поверхностью (см. рисунок Б.31).
118 исходный профиль (пера лопатки компрессора): Профиль, являющийся прототипом для образования конкретного профиля пера лопатки с выбранными геометрическими характеристиками.
119 теоретический профиль (пера лопатки компрессора/турбины): Профиль расчетного сечения пера лопатки.
120 плоский профиль (пера лопатки компрессора/турбины): Профиль прямого плоского сечения пера лопатки.
121 цилиндрический профиль (пера лопатки компрессора/турбины): Профиль цилиндрического сечения пера лопатки.
122 пространственный профиль (пера лопатки компрессора/турбины): Профиль сечения пера лопатки поверхностью, образованной линиями тока воздуха (газа).
Примечание - В общем случае пространственный профиль образован поверхностью, которая не может быть развернута на плоскость.
123 практический профиль (пера лопатки компрессора/турбины): Профиль пера изготовленной лопатки или ее заготовки в данном сечении, определенный измерением с допускаемой погрешностью.
124 наружный профиль (пера лопатки компрессора/турбины): Профиль по наружному контуру сечения пера полой лопатки.
125 внутренний профиль (пера лопатки компрессора/турбины): Профиль по внутреннему контуру сечения пера полой лопатки.
126 дозвуковой профиль (пера лопатки компрессора): Профиль пера лопатки, спроектированный для дозвуковой скорости обтекания его потоком.
127 сверхзвуковой профиль (пера лопатки компрессора): Профиль пера лопатки, спроектированный для околозвуковой или сверхзвуковой скорости набегающего потока.
128 спинка профиля (пера лопатки компрессора/турбины): Часть профиля пера лопатки со стороны пониженного давления (см. рисунок Б.31, а).
129 корыто профиля (пера лопатки компрессора/турбины): Часть профиля пера лопатки со стороны повышенного давления (см. рисунок Б.31, а).
130 входная выходная кромка профиля (пера лопатки компрессора/турбины): Линия сопряжения спинки и корыта профиля со стороны набегающего (сбегающего) потока (см. рисунок Б.31, а).
131 средняя линия профиля (пера лопатки компрессора/турбины): Линия, являющаяся геометрическим местом центров окружностей, вписанных в профиль пера, и продленная по касательным до пересечения с профилем на его кромках (см. рисунок Б.31, а).
132 лобовая точка профиля (пера лопатки компрессора/турбины): Точка пересечения входной кромки профиля со средней линией (см. рисунок Б.31, а).
133 точка схода профиля (пера лопатки компрессора/турбины): Точка пересечения выходной кромки профиля со средней линией (см. рисунок Б.31, а).
134 граничные точки профиля (пера лопатки компрессора/турбины): Точки сопряжения линий, образующих спинку или корыто профиля с входной или выходной кромкой (см. рисунок Б.31, а).
135 хорда (профиля пера лопатки компрессора/турбины) (для компрессора b, для турбины l); Проекция наружного профиля пера на общую касательную к входной и выходной кромкам (см. рисунок Б.31, в).
Примечание - Для двояковыпуклого или симметричного профиля хорда профиля определяется как отрезок прямой линии, соединяющей точки пересечения средней линии профиля пера с профилями входной и выходной кромок.
136 геометрическая хорда (профиля пера лопатки компрессора/турбины) bгеом: Отрезок прямой, соединяющий лобовую точку и точку схода профиля (см. рисунок Б.31, б).
137 симметричный профиль (пера лопатки компрессора): Профиль пера, симметричный относительно средней линии, которая является одновременно его геометрической хордой.
138 наружный [внутренний] периметр профиля (пера лопатки компрессора/турбины): Длина, измеренная по замкнутой линии наружного [внутреннего] профиля пера.
139 прогиб средней линии профиля (пера лопатки компрессора/турбины) f: Максимальное расстояние между хордой профиля и параллельной ей касательной к средней линии (см. рисунок Б.31, б).
140 прогиб спинки [корыта] профиля (пера лопатки компрессора/турбины) fсп (fкор): Максимальное расстояние между хордой профиля и параллельной ей касательной к спинке [корыту] профиля (см. рисунок Б.31, в).
141 толщина профиля (пера лопатки компрессора/турбины) с: Расстояние между точками касания вписанной в профиль окружности.
142 максимальная толщина профиля (пера лопатки компрессора/турбины) сmax: Расстояние между точками касания максимальной вписанной в профиль окружности (см. рисунок Б.31).
143 минимальный профиль (пера лопатки компрессора): Наружный профиль пера, толщина которого равномерно уменьшена со стороны спинки и корыта от теоретического профиля на значение предельного отклонения, заданного чертежом лопатки, а хорда со стороны выходной кромки уменьшена на удвоенное значение предельного отклонения (см. рисунок Б.32).
144 максимальный профиль (пера лопатки турбины): Наружный профиль пера, толщина которого со стороны спинки и корыта и хорда профиля со стороны входной кромки увеличены от теоретического профиля на значения предельных отклонений, заданных чертежом лопатки, а толщина выходной кромки профиля равна ее расчетному значению.
145 относительный прогиб средней линии профиля (пера лопатки компрессора/турбины) f̄: Отношение прогиба средней линии к хорде.
146 относительный прогиб спинки [корыта] профиля (пера лопатки компрессора/турбины) f̄сп (f̄кор): Отношение прогиба спинки [корыта] профиля к хорде.
147 относительная толщина профиля (пера лопатки компрессора/турбины) c̅: Отношение толщины профиля к хорде.
148 относительная максимальная толщина профиля (пера лопатки компрессора/турбины) c̅max: Отношение максимальной толщины профиля к хорде.
149 относительное положение прогиба средней линии (профиля пера лопатки компрессора/турбины) x̅f: Отношение расстояния от лобовой точки до местоположения прогиба средней линии к хорде.
150 относительное положение максимальной толщины профиля (пера лопатки компрессора/турбины) x̅c: Отношение расстояния от лобовой точки до центра максимальной вписанной в профиль окружности к хорде.
151 радиус входной [выходной] кромки профиля (пера лопатки компрессора/турбины): Радиус окружности, вписанной во входную [выходную] кромку профиля так, что она проходит через лобовую точку (точку схода), а центр ее находится на средней линии профиля.
152 центр входной [выходной] кромки профиля (пера лопатки компрессора/турбины): Центр окружности, вписанной во входную [выходную] кромку профиля.
153 толщина входной [выходной] кромки профиля (пера лопатки компрессора/турбины) L1 (L2): Минимальная измеряемая толщина кромок профиля (см. рисунок Б.32).
154 длина входной [выходной] кромки профиля (пера лопатки компрессора/турбины) L1 (L2): Расстояние от лобовой точки профиля до заданного чертежом места измерения толщины входной (выходной) кромки профиля (см. рисунок Б.32).
155 угол схождения (входной [выходной] кромки профиля пера лопатки компрессора/турбины) γ1,2: Угол между касательными к спинке и корыту профиля в граничных точках входного [выходного] участка профиля (см. рисунок Б.31, в).
Примечание - Для профиля с прямолинейными образующими - угол между прямолинейными образующими входного (выходного) участка профиля.
156 угол наклона (входной [выходной] кромки профиля пера лопатки компрессора/турбины); χ1,2: Угол между хордой профиля и биссектрисой угла схождения входной (выходной) кромки профиля (см. рисунок Б.31, б).
157 угол изгиба профиля (пера лопатки компрессора/турбины) ε: Меньший из двух смежных углов между биссектрисами углов схождения входной и выходной кромок профиля (см. рисунок Б.31, б).
Перо лопатки
158 дозвуковое перо (лопатки компрессора): Перо, образованное дозвуковыми профилями по всей высоте лопатки.
159 сверхзвуковое перо (лопатки компрессора): Перо, образованное сверхзвуковыми профилями по всей высоте лопатки.
160 трансзвуковое перо (лопатки компрессора): Перо, часть которого по высоте лопатки образована дозвуковыми, а часть - сверхзвуковыми профилями.
161 саблевидное перо (лопатки компрессора/турбины): Перо со смещенными в осевом направлении сечениями относительно корневого (см. рисунки Б.33 и Б.34).
162 бочкообразное перо (лопатки компрессора/турбины): Перо с максимальной хордой в среднем сечении (см. рисунок Б.34).
163 ось пера (лопатки компрессора/турбины): Линия, соединяющая центры вписанных в профили максимальных окружностей по высоте пера.
164 лобовая линия (пера лопатки компрессора/турбины): Линия, соединяющая лобовые точки профилей по высоте пера.
165 линия схода (пера лопатки компрессора/турбины): Линия, соединяющая точки схода профилей по высоте пера.
166 прогиб лобовой линии [линии схода] (пера лопатки компрессора/турбины): Максимальное отклонение лобовой линии [линии схода] в окружном и осевом направлениях от прямой, соединяющей лобовые точки (точки схода) профилей корневого и периферийного сечений.
167 линия центров входной [выходной] кромки (пера лопатки компрессора/турбины): Линия, соединяющая центры входных [выходных] кромок профилей по высоте пера.
168 радиус входной [выходной] кромки (пера лопатки компрессора/турбины): Радиусы окружностей, вписанных во входную [выходную] кромку пера.
Примечание - Радиус входной [выходной] кромки пера может быть переменным по высоте.
169 высота лопатки (компрессора/турбины) Нл: Наибольшее расстояние между основанием хвостовика и торцом пера (наружными поверхностями полок) (см. рисунки Б.1 и Б.2).
170 высота тракта (по входной [выходной] кромке пера лопатки компрессора/турбины) h: Расстояние между трактовыми поверхностями полок (см. рисунок Б.35).
171 высота пера (лопатки компрессора/турбины) hп: Наибольшее расстояние от торца пера до линии сопряжения переходной части лопатки с пером (см. рисунок Б.4).
Примечание - Для лопаток, не имеющих торца пера, - наибольшее расстояние между линиями сопряжения переходной части лопатки с пером.
172 удлинение пера (лопатки компрессора/турбины) h̅: Отношение высоты пера к хорде профиля, взятого на среднеплощадном диаметре проточной части компрессора/турбины.
Примечание - Среднеплощадным диаметром проточной части компрессора/турбины называют диаметр условного цилиндра, ось которого совпадает с осью компрессора/турбины, разделяющий сечение проточного тракта в плоскости, перпендикулярной оси компрессора/турбины, на два кольцевых сечения равной площади.
173 парусность пера (рабочей лопатки компрессора/турбины) b̅: Отношение хорды профиля периферийного сечения к хорде профиля корневого сечения лопатки компрессора/турбины.
Решетка профилей пера лопаток компрессора/турбины
174 решетка (профилей пера лопаток компрессора/турбины): Сечение лопаточного венца цилиндрической или конической поверхностью, ось которой совпадает с осью двигателя, с последующей разверткой этого сечения на плоскость (см. рисунки Б.36 и Б.37).
175 прямая решетка (профилей пера лопаток компрессора/турбины): Решетка профилей, образующаяся сечением лопаточного венца цилиндрической поверхностью, ось которой совпадает с осью двигателя, с последующей разверткой этого сечения на плоскость.
176 фронтальная линия (решетки профилей пера лопаток компрессора/турбины): Линия, лежащая в плоскости, перпендикулярной к оси двигателя, касательная к входным кромкам профилей решетки.
Примечание - Для прямой решетки профилей эта линия прямая (см. рисунок Б.36).
177 линия схода решетки (профилей пера лопаток компрессора/турбины): Линия, касательная к выходным кромкам профилей решетки и эквидистантная фронтальной линии решетки (см. рисунок Б.36).
178 ширина решетки (профилей пера лопаток компрессора/турбины) В: Расстояние между фронтальной линией и линией схода решетки (см. рисунок Б.36).
179 межлопаточный канал (решетки профилей пера лопаток компрессора/турбины): Канал между фронтальной линией и линией схода, образуемый спинкой и корытом двух соседних профилей (см. рисунок Б.36).
180 активный межлопаточный канал (решетки профилей пера лопаток компрессора/турбины); активный канал: Межлопаточный канал с постоянным размером поперечного сечения.
181 диффузорный [конфузорный] межлопаточный канал (решетки профилей пера лопаток компрессора/турбины); диффузорный [конфузорный] канал: Межлопаточный канал с увеличивающимися (уменьшающимися) к выходу размерами поперечных сечений.
182 диффузорно-конфузорный межлопаточный канал (решетки профилей пера лопаток компрессора/турбины); диффузорно-конфузорный канал: Межлопаточный канал с увеличивающимися от входа и уменьшающимися к выходу размерами поперечных сечений.
183 конфузорно-диффузорный межлопаточный канал (решетки профилей пера лопаток компрессора/турбины); конфузорно-диффузорный канал: Межлопаточный канал с уменьшающимися от входа и увеличивающимися к выходу размерами поперечных сечений.
184 ширина межлопаточного канала (решетки профилей пера лопаток компрессора/турбины); ширина канала: Диаметр окружности, вписанной в межлопаточный канал.
185 горло решетки (профилей пера лопаток компрессора/турбины) (для компрессора Аг, для турбины а2): Диаметр минимальной окружности, вписанной в межлопаточный канал решетки профилей (см. рисунки Б.36 и Б.37).
186 линия горла (решетки профилей пера лопаток компрессора/турбины): Прямая, соединяющая точки касания минимальной окружности, вписанной в межлопаточный канал решетки профилей, со спинкой и корытом двух соседних профилей.
187 диффузорность межлопаточного канала (решетки профилей пера лопаток компрессора/турбины); диффузорность канала: Отношение ширины диффузорного межлопаточного канала на входе к его ширине на выходе.
188 конфузорность межлопаточного канала (решетки профилей пера лопаток компрессора/турбины); конфузорность канала: Отношение ширины конфузорного межлопаточного канала на входе к его ширине на выходе.
189 относительная толщина выходной кромки (профиля пера лопатки турбины): Отношение толщины выходной кромки профиля к горлу решетки.
190 косой срез (решетки профилей пера лопаток турбины): Часть межлопаточного канала, расположенная между линией схода и линией горла решетки.
191 угол горла (решетки профилей пера лопаток компрессора) αг: Меньший из двух углов между нормалью к линии горла решетки и фронтальной линией решетки.
192 средняя линия межлопаточного канала (решетки профилей пера лопаток компрессора/ турбины); средняя линия канала: Геометрическое место центров окружностей, вписанных в межлопаточный канал (см. рисунок Б.36).
193 эквивалентный диффузор (решетки профилей пера лопаток компрессора): Плоский диффузор, средняя линия которого представляет собой прямую длиной, равной длине средней линии диффузорного межлопаточного канала, и шириной, равной ширине исходного межлопаточного канала в сходственных точках.
194 эквивалентный межлопаточный канал (решетки профилей пера лопаток турбины): Межлопаточный канал, средняя линия которого представляет собой прямую длиной, равной длине средней линии от входа до горла решетки, и шириной, равной ширине исходного межлопаточного канала в сходственных точках.
195 шаг решетки (профилей пера лопаток компрессора/турбины) t: Расстояние между двумя сходственными точками соседних профилей на входе в решетку или выходе из нее, эквидистантное фронтальной линии (см. рисунки Б.36 и Б.37).
196 относительный шаг решетки (профилей пера лопаток компрессора/турбины) (для компрессора
, для турбины
): Отношение шага решетки к хорде профиля.
197 густота решетки (профилей пера лопаток компрессора/турбины) (для компрессора
, для турбины
): Отношение хорды профиля к шагу решетки.
198 относительное горло решетки (профилей пера лопаток компрессора)
: Отношение горла решетки к ее шагу.
199 эффективный угол вывода потока (из решетки профилей пера лопаток турбины) β2эф: Угол, синус которого равен отношению горла решетки у выходной кромки к шагу решетки на выходе.
200 угол профиля на вводе (в решетку профилей пера лопаток компрессора/турбины) αк1, βк1: Угол между биссектрисой угла схождения входной кромки профиля и фронтальной линией решетки (см. рисунок Б.36).
201 угол профиля на выводе (из решетки профилей пера лопаток компрессора/турбины) αк2, βк2: Угол между биссектрисой угла схождения выходной кромки профиля и линией схода решетки (см. рисунок Б.36).
202 входной [выходной] участок профиля (пера лопатки компрессора): Участок профиля, длина которого необходима и достаточна для определения значения угла входа [выхода] профиля.
203 угол установки (профиля пера лопатки компрессора/турбины в решетке профилей) (для компрессора ϑ, для турбины γ): Угол между общей касательной к входной и выходной кромкам профиля и фронтальной линией решетки профилей (см. рисунки Б.36 и Б.37).
Примечание - В случае если невозможно построить касательную к входной и выходной кромкам (для двояковыпуклого или симметричного профиля), то вместо нее берется прямая, соединяющая точки пересечения средней линии профиля пера с профилями входной и выходной кромок.
204 закрутка пера (лопатки компрессора/турбины) (для компрессора δν, для турбины δγ): Разность углов установки профилей корневого и периферийного сечений пера лопатки компрессора/турбины.
205 угол установки спинки профиля (пера лопатки турбины) ε: Угол между прямолинейным участком спинки профиля, примыкающим к выходной кромке, и линией схода (см. рисунок Б.37).
206 угол отгиба (спинки профиля пера лопатки турбины) δсп: Угол между касательной к спинке профиля в граничной точке на выходе из решетки и нормалью к линии горла решетки (см. рисунок Б.37).
207 основная система координат (лопатки компрессора/турбины) auz: Правая прямоугольная система координат, в которой ось а направлена вдоль оси компрессора/турбины, ось u параллельна плоскости вращения ротора, а ось z расположена радиально (см. рисунки Б.38 и Б.39).
208 чертежная система координат (пера лопатки компрессора/турбины) xyz: Правая прямоугольная система координат, в которой заданы поверхности корыта и спинки пера в чертеже (см. рисунки Б.33 и Б.39).
Примечание - Задание поверхности пера может быть выполнено координатами дискретных точек или математической моделью.
209 угол чертежной системы координат (пера лопатки компрессора/турбины) ψ; угол системы: Угол между осью а основной и осью х чертежной систем координат (см. рисунок Б.38).
Примечание - Угол чертежной системы равен среднему арифметическому между углами установки профилей периферийного и корневого сечений пера.
210 центральная система координат (пера лопатки компрессора/турбины) х1y1z1: Чертежная система координат с началом в центре тяжести данного сечения пера (см. рисунок Б.38).
211 главная система координат профиля (пера лопатки компрессора/турбины) ξη: Система координат с началом в центре тяжести сечения, оси которой направлены так, что момент инерции сечения пера относительно оси ξ имеет минимальное значение, а относительно оси η - максимальное значение (см. рисунок Б.39).
212 окружная скорость (лопатки компрессора/турбины в данном сечении) u: Линейная скорость вращения рабочей лопатки на данном расстоянии от оси компрессора/турбины.
Автоматизированное проектирование лопатки
213 исходная модель лопатки компрессора/турбины (исходная модель лопатки): Совокупность линейных и угловых размеров, определяющих заданные чертежом точки внутренней и наружной поверхностей лопатки относительно конструкторской базы.
214 математическая модель лопатки (компрессора/турбины): Принятый метод определения линейных и угловых размеров, определяющих форму и расположение наружных и внутренних поверхностей лопатки и ее газодинамические, тепловые и прочностные характеристики.
215 математическая модель поверхностей лопатки (компрессора/турбины): Принятый метод вычисления произвольной точки поверхности пера, нормали к поверхности в этой точке и его информационное обеспечение.
216 каркас лопатки (компрессора/турбины): Совокупность кривых, образованных пересечением лопатки двумя семействами плоскостей, каждое из которых либо пучок плоскостей, либо семейство параллельных плоскостей.
217 унифицированная система координат (лопатки компрессора/турбины): Единая для всех сечений лопатки система координат, обеспечивающая требования технологии, автоматизированного изготовления и контроля лопатки.
|
база лопатки конструкторская |
51 |
|
база лопатки компрессора/турбины |
51 |
|
блок лопаток |
39 |
|
блок сопловых лопаток турбины |
39 |
|
венец лопаточный |
38 |
|
венец ступени компрессора/турбины |
38 |
|
впадина гребенки елочного элемента соединения лопатки компрессора/турбины |
93 |
|
высота аэродинамического гребня лопатки турбины на входе |
63 |
|
высота аэродинамического гребня лопатки турбины на выходе |
63 |
|
высота головки зуба гребенки и елочного элемента соединения лопатки компрессора/турбины |
102 |
|
высота зуба гребенки елочного элемента соединения лопатки компрессора/турбины |
112 |
|
высота лопатки компрессора/турбины |
169 |
|
высота пера |
171 |
|
высота пера лопатки компрессора/турбины |
171 |
|
высота расположения аэродинамического гребня на пере лопатки турбины |
66 |
|
высота тракта по входной кромке пера лопатки компрессора/турбины |
170 |
|
высота хвостика лопатки компрессора/турбины |
88 |
|
горло решетки профилей пера лопаток компрессора относительное |
198 |
|
горло решетки относительное |
198 |
|
гребенка |
91 |
|
гребенка елочного элемента соединения лопатки компрессора/турбины |
91 |
|
гребень аэродинамический |
61 |
|
гребень бандажной полки рабочей лопатки турбины |
67 |
|
гребень лопатки турбины аэродинамический |
61 |
|
гребень полки |
67 |
|
густота решетки |
197 |
|
густота решетки профилей пера лопаток компрессора/турбины |
197 |
|
дефлектор |
23 |
|
дефлектор обогреваемой лопатки турбины/компрессора |
23 |
|
дефлектор обогреваемой лопатки турбины/компрессора перфорированный |
24 |
|
дефлектор охлаждаемой лопатки турбины/компрессора |
23 |
|
дефлектор перфорированный |
24 |
|
диффузор решетки профилей пера лопаток компрессора эквивалентный |
193 |
|
диффузор эквивалентный |
193 |
|
диффузорность канала |
187 |
|
диффузорность межлопаточного канала решетки профилей пера лопатки компрессора/турбины |
187 |
|
длина входной кромки профиля |
154 |
|
длина входной кромки профиля пера лопатки компрессора/турбины |
154 |
|
длина выходной кромки профиля |
154 |
|
длина выходной кромки профиля пера лопатки компрессора/турбины |
154 |
|
длина зуба гребенки |
103 |
|
длина зуба гребенки елочного элемента соединения лопатки компрессора/турбины |
103 |
|
длина элемента соединения |
89 |
|
длина элемента соединения лопатки компрессора/турбины |
89 |
|
закрутка пера |
204 |
|
закрутка пера лопатки компрессора/турбины |
204 |
|
заполнитель лопатки |
11 |
|
заполнитель полой лопатки компрессора/турбины |
11 |
|
зуб гребенки |
92 |
|
зуб гребенки елочного элемента соединения лопатки компрессора/турбины |
92 |
|
интенсификаторы теплоотдачи |
27 |
|
интенсификаторы теплоотдачи в лопатках турбины |
27 |
|
канал активный |
180 |
|
канал диффузорно-конфузорный |
182 |
|
канал диффузорный |
181 |
|
канал конфузорно-диффузорный |
183 |
|
канал конфузорный |
181 |
|
канал межлопаточный |
179 |
|
канал межлопаточный эквивалентный |
194 |
|
канал решетки профилей пера лопаток компрессора/турбины межлопаточный активный |
180 |
|
канал решетки профилей пера лопаток компрессора/турбины межлопаточный конфузорно-диффузорный |
183 |
|
канал решетки профилей пера лопаток компрессора/турбины межлопаточный |
179 |
|
канал решетки профилей пера лопаток компрессора/турбины межлопаточный диффузорно-конфузорный |
182 |
|
канал решетки профилей пера лопаток компрессора/турбины межлопаточный диффузорный (конфузорный) |
181 |
|
канал решетки профилей пера лопаток компрессора/турбины межлопаточный конфузорный |
181 |
|
канал решетки профилей пера лопаток турбины межлопаточный эквивалентный |
194 |
|
каркас лопатки |
216 |
|
каркас лопатки компрессора/турбины |
216 |
|
конфузорность канала |
188 |
|
конфузорность межлопаточного канала решетки профилей пера лопаток компрессора/турбины |
188 |
|
корыто пера |
17 |
|
корыто пера лопатки компрессора/турбины |
17 |
|
корыто профиля |
129 |
|
корыто профиля пера лопатки компрессора/турбины |
129 |
|
кромка антивибрационной полки лопатки компрессора входная |
58 |
|
кромка антивибрационной полки лопатки компрессора выходная |
58 |
|
кромка аэродинамического гребня лопатки турбины входная |
62 |
|
кромка аэродинамического гребня лопатки турбины выходная |
62 |
|
кромка гребня входная |
62 |
|
кромка гребня выходная |
62 |
|
кромка пера входная |
18 |
|
кромка пера выходная |
18 |
|
кромка пера лопатки компрессора/турбины входная |
18 |
|
кромка пера лопатки компрессора/турбины выходная |
18 |
|
кромка полки входная |
58 |
|
кромка полки выходная |
58 |
|
кромка профиля входная |
130 |
|
кромка профиля выходная |
130 |
|
кромка профиля пера лопатки компрессора/турбины входная |
130 |
|
кромка профиля пера лопатки компрессора/турбины выходная |
130 |
|
линия горла |
186 |
|
линия горла решетки профилей пера лопаток компрессора/турбины |
186 |
|
линия гребенки базовая |
98 |
|
линия гребенки елочного элемента соединения лопатки компрессора/турбины базовая |
98 |
|
линия канала средняя |
192 |
|
линия лобовая |
164 |
|
линия межлопаточного канала решетки профилей пера лопаток компрессора/турбины средняя |
192 |
|
линия пера лопатки компрессора/турбины лобовая |
164 |
|
линия профиля гребенки елочного элемента соединения лопатки компрессора/турбины средняя |
97 |
|
линия профиля гребенки средняя |
97 |
|
линия профиля пера лопатки компрессора/турбины средняя |
131 |
|
линия профиля средняя |
131 |
|
линия решетки профилей пера лопаток компрессора/турбины фронтальная |
176 |
|
линия сопряжения переходной части лопатки |
21 |
|
линия сопряжения переходной части лопатки компрессора/турбины |
21 |
|
линия схода |
165 |
|
линия схода пера лопатки компрессора/турбины |
165 |
|
линия схода решетки |
177 |
|
линия схода решетки профилей пера лопаток компрессора/турбины |
177 |
|
линия фронтальная |
176 |
|
линия центров входной кромки |
167 |
|
линия центров входной кромки пера лопатки компрессора/турбины |
167 |
|
линия центров выходной кромки |
167 |
|
линия центров выходной кромки пера лопатки компрессора/турбины |
167 |
|
лопатка |
1 |
|
лопатка винтоканальная |
34 |
|
лопатка винтоканальная матричная |
34 |
|
лопатка дефлекторная |
35 |
|
лопатка компрессора/турбины |
1 |
|
лопатка компрессора/турбины перфорированная |
12 |
|
лопатка компрессора/турбины поворотная |
8 |
|
лопатка компрессора/турбины полая |
10 |
|
лопатка компрессора/турбины рабочая |
2 |
|
лопатка компрессора/турбины составная |
37 |
|
лопатка компрессора/турбины спрямляющая |
7 |
|
лопатка компрессора направляющая |
3 |
|
лопатка компрессора направляющая входная |
4 |
|
лопатка компрессора направляющая консольная |
5 |
|
лопатка компрессора с поворотной хвостовой частью пера |
9 |
|
лопатка консольная |
5 |
|
лопатка многоканальная |
33 |
|
лопатка многополостная |
32 |
|
лопатка направляющая |
3 |
|
лопатка направляющая входная |
4 |
|
лопатка обогреваемая |
13 |
|
лопатка оболочковая |
36 |
|
лопатка однополостная |
31 |
|
лопатка охлаждаемая |
13 |
|
лопатка перфорированная |
12 |
|
лопатка поворотная |
8 |
|
лопатка полая |
10 |
|
лопатка рабочая |
2 |
|
лопатка с конвективно-пленочным охлаждением |
26 |
|
лопатка с конвективным охлаждением |
25 |
|
лопатка с петлевым течением воздуха |
29 |
|
лопатка с поворотной хвостовой частью |
9 |
|
лопатка с полупетлевым течением воздуха |
30 |
|
лопатка с радиальным течением воздуха |
28 |
|
лопатка сопловая |
6 |
|
лопатка составная |
37 |
|
лопатка спрямляющая |
7 |
|
лопатка турбины винтоканальная |
34 |
|
лопатка турбины винтоканальная матричная |
34 |
|
лопатка турбины/компрессора обогреваемая |
13 |
|
лопатка турбины/компрессора охлаждаемая |
13 |
|
лопатка турбины дефлекторная |
35 |
|
лопатка турбины многоканальная |
33 |
|
лопатка турбины многополостная |
32 |
|
лопатка турбины оболочковая |
36 |
|
лопатка турбины однополостная |
31 |
|
лопатка турбины с конвективно-пленочным охлаждением |
26 |
|
лопатка турбины с конвективным охлаждением |
25 |
|
лопатка турбины с петлевым течением охлаждающего воздуха |
29 |
|
лопатка турбины с полупетлевым течением охлаждающего воздуха |
30 |
|
лопатка турбины с радиальным течением охлаждающего воздуха |
28 |
|
лопатка турбины сопловая |
6 |
|
модель лопатки исходная |
213 |
|
модель лопатки компрессора/турбины исходная |
213 |
|
модель лопатки компрессора/турбины математическая |
214 |
|
модель лопатки математическая |
214 |
|
модель поверхностей лопатки компрессора/турбины математическая |
215 |
|
модель поверхностей лопатки математическая |
215 |
|
ножка хвостовика |
80 |
|
ножка хвостовика лопатки компрессора/турбины |
80 |
|
основание хвостовика |
82 |
|
основание хвостовика лопатки компрессора/турбины |
82 |
|
ось лопатки |
48 |
|
ось лопатки компрессора/турбины |
48 |
|
ось пера |
163 |
|
ось пера лопатки компрессора/турбины |
163 |
|
ось симметрии профиля элемента соединения |
84 |
|
ось симметрии профиля элемента соединения лопатки компрессора/турбины |
84 |
|
парусность пера |
173 |
|
парусность пера рабочей лопатки компрессора/турбины |
173 |
|
перо лопатки компрессора сверхзвуковое |
159 |
|
перо лопатки компрессора трансзвуковое |
160 |
|
перегородка лопатки компрессора/турбины направляющая |
22 |
|
перегородка направляющая |
22 |
|
периметр профиля внутренний |
138 |
|
периметр профиля наружный |
138 |
|
периметр профиля пера лопатки компрессора/турбины внутренний |
138 |
|
периметр профиля пера лопатки компрессора/турбины наружный |
138 |
|
перо |
14 |
|
перо бочкообразное |
162 |
|
перо дозвуковое |
158 |
|
перо лопатки компрессора/турбины |
14 |
|
перо лопатки компрессора/турбины бочкообразное |
162 |
|
перо лопатки компрессора/турбины саблевидное |
161 |
|
перо лопатки компрессора дозвуковое |
158 |
|
перо саблевидное |
161 |
|
перо сверхзвуковое |
159 |
|
перо трансзвуковое |
160 |
|
плоскость базовая |
52 |
|
плоскость гребенки базовая |
100 |
|
плоскость гребенки елочного элемента соединения лопатки компрессора/турбины базовая |
100 |
|
плоскость гребенки елочного элемента соединения лопатки компрессора/турбины средняя |
99 |
|
плоскость гребенки средняя |
99 |
|
плоскость лопатки компрессора/турбины базовая |
52 |
|
плоскость симметрии элемента соединения |
85 |
|
плоскость симметрии элемента соединения лопатки компрессора/турбины |
85 |
|
поверхности элемента соединения лопатки компрессора/турбины рабочие |
86 |
|
поверхности элемента соединения рабочие |
86 |
|
поверхность антивибрационной полки лопатки компрессора/турбины контактная |
56 |
|
поверхность бандажной полки лопатки компрессора/турбины контактная |
56 |
|
поверхность бандажной полки лопатки компрессора/турбины торцевая |
57 |
|
поверхность бандажной полки лопатки компрессора/турбины трактовая |
59 |
|
поверхность зуба гребенки елочного элемента соединения лопатки компрессора/турбины нерабочая |
95 |
|
поверхность зуба гребенки елочного элемента соединения лопатки компрессора/турбины рабочая |
94 |
|
поверхность зуба гребенки нерабочая |
95 |
|
поверхность зуба гребенки рабочая |
94 |
|
поверхность полки контактная |
56 |
|
поверхность полки торцевая |
57 |
|
поверхность полки трактовая |
59 |
|
поверхность хвостовика лопатки компрессора/турбины трактовая |
87 |
|
поверхность хвостовика трактовая |
87 |
|
поверхность элемента соединения лопатки компрессора/турбины трактовая |
87 |
|
поверхность элемента соединения трактовая |
87 |
|
полка антивибрационная |
54 |
|
полка бандажная |
55 |
|
полка лопатки компрессора антивибрационная |
54 |
|
полка лопатки компрессора/турбины бандажная |
55 |
|
полка хвостовика лопатки компрессора/турбины |
79 |
|
положение максимальной толщины профиля относительное |
150 |
|
положение максимальной толщины профиля пера лопатки компрессора/турбины относительное |
150 |
|
положение прогиба средней линии относительное |
149 |
|
положение прогиба средней линии профиля пера лопатки компрессора/турбины относительное |
149 |
|
полка хвостовика |
79 |
|
прогиб корыта профиля |
140 |
|
прогиб корыта профиля относительный |
146 |
|
прогиб корыта профиля пера лопатки компрессора/турбины |
140 |
|
прогиб корыта профиля пера лопатки компрессора/турбины относительный |
146 |
|
прогиб линии схода |
166 |
|
прогиб линии схода пера лопатки компрессора/турбины |
166 |
|
прогиб лобовой линии |
166 |
|
прогиб лобовой линии пера лопатки компрессора/турбины |
166 |
|
прогиб спинки профиля |
140 |
|
прогиб спинки профиля относительный |
146 |
|
прогиб средней линии профиля |
139 |
|
прогиб средней линии профиля относительный |
145 |
|
прогиб средней линии профиля пера лопатки компрессора/турбины |
139 |
|
прогиб средней линии профиля пера лопатки компрессора/турбины относительный |
145 |
|
профиль |
117 |
|
профиль внутренний |
125 |
|
профиль гребенки |
96 |
|
профиль гребенки елочного элемента соединения лопатки компрессора/турбины |
96 |
|
профиль дозвуковой |
126 |
|
профиль исходный |
118 |
|
профиль максимальный |
144 |
|
профиль минимальный |
143 |
|
профиль наружный |
124 |
|
профиль пера лопатки компрессора/турбины |
117 |
|
профиль пера лопатки компрессора/турбины внутренний |
125 |
|
профиль пера лопатки компрессора/турбины наружный |
124 |
|
профиль пера лопатки компрессора/турбины плоский |
120 |
|
профиль пера лопатки компрессора/турбины пространственный |
122 |
|
профиль пера лопатки компрессора/турбины теоретический |
119 |
|
профиль пера лопатки компрессора/турбины фактический |
123 |
|
профиль пера лопатки компрессора/турбины цилиндрический |
121 |
|
профиль пера лопатки компрессора дозвуковой |
126 |
|
профиль пера лопатки компрессора исходный |
118 |
|
профиль пера лопатки компрессора минимальный |
143 |
|
профиль пера лопатки компрессора сверхзвуковой |
127 |
|
профиль пера лопатки компрессора симметричный |
137 |
|
профиль пера лопатки турбины максимальный |
144 |
|
профиль плоский |
120 |
|
профиль пространственный |
122 |
|
профиль сверхзвуковой |
127 |
|
профиль симметричный |
137 |
|
профиль теоретический |
119 |
|
профиль фактический |
123 |
|
профиль цилиндрический |
121 |
|
профиль элемента соединения |
83 |
|
профиль элемента соединения лопатки компрессора/турбины |
83 |
|
радиус входной кромки пера |
168 |
|
радиус входной кромки пера лопатки компрессора/турбины |
168 |
|
радиус входной кромки профиля |
151 |
|
радиус входной кромки профиля пера лопатки компрессора/турбины |
151 |
|
радиус выходной кромки пера |
168 |
|
радиус выходной кромки пера лопатки компрессора/турбины |
168 |
|
радиус выходной кромки профиля |
151 |
|
радиус выходной кромки профиля пера лопатки компрессора/турбины |
151 |
|
размер гребенок елочного элемента соединения лопатки компрессора/турбины по роликам |
111 |
|
размер гребенок елочного элемента соединения лопатки компрессора/турбины по средним линиям |
110 |
|
размер гребенок по роликам |
111 |
|
размер гребенок по средним линиям |
110 |
|
размер элемента соединения "ласточкин хвост" |
115 |
|
размер элемента соединения "ласточкин хвост" по основанию |
116 |
|
размер элемента соединения лопатки компрессора "ласточкин хвост" |
115 |
|
размер элемента соединения лопатки компрессора "ласточкин хвост" по основанию |
116 |
|
решетка |
174 |
|
решетка профилей пера лопаток компрессора/турбины |
174 |
|
решетка профилей пера лопаток компрессора/турбины прямая |
175 |
|
решетка прямая |
175 |
|
сечение пера коническое |
41 |
|
сечение пера корневое |
46 |
|
сечение пера лопатки компрессора/турбины коническое |
41 |
|
сечение пера лопатки компрессора/турбины корневое |
46 |
|
сечение пера лопатки компрессора/турбины периферийное |
45 |
|
сечение пера лопатки компрессора/турбины плоское |
42 |
|
сечение пера лопатки компрессора/турбины плоское косое |
44 |
|
сечение пера лопатки компрессора/турбины плоское прямое |
43 |
|
сечение пера лопатки компрессора/турбины среднее |
47 |
|
сечение пера лопатки компрессора/турбины цилиндрическое |
40 |
|
сечение пера периферийное |
45 |
|
сечение пера плоское |
42 |
|
сечение пера плоское косое |
44 |
|
сечение пера плоское прямое |
43 |
|
сечение пера среднее |
47 |
|
сечение пера цилиндрическое |
40 |
|
система координат лопатки компрессора/турбины основная |
207 |
|
система координат лопатки компрессора/турбины унифицированная |
217 |
|
система координат основная |
207 |
|
система координат пера лопатки компрессора/турбины центральная |
210 |
|
система координат пера лопатки компрессора/турбины чертежная |
208 |
|
система координат профиля главная |
211 |
|
система координат профиля пера лопатки компрессора/турбины главная |
211 |
|
система координат унифицированная |
217 |
|
система координат центральная |
210 |
|
система координат чертежная |
208 |
|
скорость лопатки компрессора/турбины в данном сечении окружная |
212 |
|
скорость окружная |
212 |
|
спинка пера |
16 |
|
спинка пера лопатки компрессора/турбины |
16 |
|
спинка профиля |
128 |
|
спинка профиля пера лопатки компрессора/турбины |
128 |
|
срез косой |
190 |
|
срез решетки профилей пера лопаток турбины косой |
190 |
|
толщина аэродинамического гребня лопатки турбины |
64 |
|
толщина входной кромки профиля |
153 |
|
толщина входной кромки профиля пера лопатки компрессора/турбины |
153 |
|
толщина выходной кромки относительная |
189 |
|
толщина выходной кромки профиля |
153 |
|
толщина выходной кромки профиля пера лопатки компрессора/турбины |
153 |
|
толщина выходной кромки профиля пера лопатки турбины относительная |
189 |
|
толщина гребня |
64 |
|
толщина профиля |
141 |
|
толщина профиля максимальная |
142 |
|
толщина профиля максимальная относительная |
148 |
|
толщина профиля относительная |
147 |
|
толщина профиля пера лопатки компрессора/турбины |
141 |
|
толщина профиля пера лопатки компрессора/турбины максимальная |
142 |
|
толщина профиля пера лопатки компрессора/турбины максимальная относительная |
148 |
|
толщина профиля пера лопатки компрессора/турбины относительная |
147 |
|
торец входной |
81 |
|
торец выходной |
81 |
|
торец пера |
15 |
|
торец пера лопатки компрессора/турбины |
15 |
|
торец элемента соединения лопатки компрессора/турбины входной |
81 |
|
торец элемента соединения лопатки компрессора/турбины выходной |
81 |
|
точка профиля лобовая |
132 |
|
точка профиля пера лопатки компрессора/турбины лобовая |
132 |
|
точка схода профиля |
133 |
|
точка схода профиля пера лопатки компрессора/турбины |
133 |
|
точки профиля граничные |
134 |
|
точки профиля пера лопатки компрессора/турбины граничные |
134 |
|
угол выхода потока из решетки профилей пера лопаток турбины эффективный |
199 |
|
угол выхода потока эффективный |
199 |
|
угол горла |
191 |
|
угол горла решетки профилей пера лопаток компрессора |
191 |
|
угол давления зуба гребенки |
108 |
|
угол давления зуба гребенки елочного элемента соединения лопатки компрессора/турбины |
108 |
|
угол изгиба профиля |
157 |
|
угол изгиба профиля пера лопатки компрессора/турбины |
157 |
|
угол клина гребенок |
106 |
|
угол клина гребенок елочного элемента соединения лопатки компрессора/турбины |
106 |
|
угол клина элемента соединения "ласточкин хвост" |
113 |
|
угол клина элемента соединения лопатки компрессора "ласточкин хвост" |
113 |
|
угол контакта |
60 |
|
угол контакта антивибрационной полки лопатки компрессора/турбины |
60 |
|
угол контакта бандажной полки лопатки компрессора/турбины |
60 |
|
угол косого участка |
50 |
|
угол косого участка пера лопатки компрессора/турбины |
50 |
|
угол наклона входной кромки профиля пера лопатки компрессора/турбины |
156 |
|
угол наклона выходной кромки профиля пера лопатки компрессора/турбины |
156 |
|
угол наклона кромки |
156 |
|
угол отгиба |
206 |
|
угол отгиба спинки профиля пера лопатки турбины |
206 |
|
угол при основании элемента соединения "ласточкин хвост" |
114 |
|
угол при основании элемента соединения лопатки компрессора "ласточкин хвост" |
114 |
|
угол профиля зуба гребенки |
109 |
|
угол профиля зуба гребенки елочного элемента соединения лопатки компрессора/турбины |
109 |
|
угол профиля на входе |
200 |
|
угол профиля на входе в решетку профилей пера лопаток компрессора/турбины |
200 |
|
угол профиля на выходе |
201 |
|
угол профиля на выходе из решетки профилей пера лопаток компрессора/турбины |
201 |
|
угол расположения рабочей поверхности зуба гребенки |
107 |
|
угол расположения рабочей поверхности зуба гребенки елочного элемента соединения лопатки компрессора/турбины |
107 |
|
угол системы |
209 |
|
угол схождения |
155 |
|
угол схождения входной кромки профиля пера лопатки компрессора/турбины |
155 |
|
угол схождения выходной кромки профиля пера лопатки компрессора/турбины |
155 |
|
угол установки |
203 |
|
угол установки профиля пера лопатки компрессора/турбины в решетке профилей |
203 |
|
угол установки спинки профиля |
205 |
|
угол установки спинки профиля пера лопатки турбины |
205 |
|
угол установки элемента соединения |
90 |
|
угол установки элемента соединения лопатки компрессора/турбины |
90 |
|
угол чертежной системы координат пера лопатки компрессора/турбины |
209 |
|
удлинение пера |
172 |
|
удлинение пера лопатки компрессора/турбины |
172 |
|
участок косой |
49 |
|
участок пера лопатки компрессора/турбины косой |
49 |
|
участок профиля входной |
202 |
|
участок профиля выходной |
202 |
|
участок профиля пера лопатки компрессора входной |
202 |
|
участок профиля пера лопатки компрессора выходной |
202 |
|
хвостовик |
19 |
|
хвостовик лопатки компрессора/турбины |
19 |
|
хорда |
135 |
|
хорда геометрическая |
136 |
|
хорда профиля пера лопатки компрессора/турбины |
135 |
|
хорда профиля пера лопатки компрессора/турбины геометрическая |
136 |
|
центр входной кромки профиля |
152 |
|
центр выходной кромки профиля |
152 |
|
центр входной кромки профиля пера лопатки компрессора/турбины |
152 |
|
центр выходной кромки профиля пера лопатки компрессора/турбины |
152 |
|
часть лопатки компрессора/турбины переходная |
20 |
|
часть лопатки переходная |
20 |
|
шаг зубьев гребенки |
104 |
|
шаг зубьев гребенки елочного элемента соединения лопатки компрессора/турбины |
104 |
|
шаг зубьев гребенки елочного элемента соединения лопатки компрессора/турбины условный |
105 |
|
шаг зубьев гребенки условный |
105 |
|
шаг решетки |
195 |
|
шаг решетки относительный |
196 |
|
шаг решетки профилей пера лопаток компрессора/турбины |
195 |
|
шаг решетки профилей пера лопаток компрессора/турбины относительный |
196 |
|
ширина канала |
184 |
|
ширина канала аэродинамического гребня лопатки турбины |
65 |
|
ширина канала гребня |
65 |
|
ширина межлопаточного канала решетки профилей пера лопаток компрессора/турбины |
184 |
|
ширина решетки |
178 |
|
ширина решетки профилей пера лопаток компрессора/турбины |
178 |
|
элемент соединения |
68 |
|
элемент соединения "ласточкин хвост" |
70 |
|
элемент соединения вильчатый |
73 |
|
элемент соединения елочный |
69 |
|
элемент соединения елочный односторонний |
77 |
|
элемент соединения кольцевой |
75 |
|
элемент соединения криволинейный |
74 |
|
элемент соединения лопатки компрессора "ласточкин хвост" |
70 |
|
элемент соединения лопатки компрессора/турбины |
68 |
|
элемент соединения лопатки компрессора/турбины елочный |
69 |
|
элемент соединения лопатки компрессора/турбины елочный односторонний |
77 |
|
элемент соединения лопатки компрессора/турбины профильный |
76 |
|
элемент соединения лопатки компрессора вильчатый |
73 |
|
элемент соединения лопатки компрессора кольцевой |
75 |
|
элемент соединения лопатки компрессора криволинейный |
74 |
|
элемент соединения лопатки компрессора проушина |
72 |
|
элемент соединения лопатки компрессора цапфа |
71 |
|
элемент соединения полка |
78 |
|
элемент соединения полка направляющей лопатки турбины/компрессора |
78 |
|
элемент соединения полка сопловой направляющей лопатки турбины/компрессора |
78 |
|
элемент соединения полка спрямляющей лопатки турбины/компрессора |
78 |
|
элемент соединения проушина |
72 |
|
элемент соединения профильный |
76 |
|
элемент соединения цапфа |
71 |
Приложение А
(справочное)
1 абсолютная скорость потока С: Скорость потока в неподвижной системе координат (см. рисунки Б.40 и Б.41).
2 относительная скорость потока W: Скорость потока во вращающейся системе координат (см. рисунки Б.40 и Б.41).
3 треугольник скоростей потока: Треугольник, составленный из векторов абсолютной и относительной скоростей потока и окружной скорости лопатки (см. рисунки Б.40 и Б.41).
4 осевая составляющая скорости потока Са: Проекция абсолютной скорости потока на направление оси компрессора (см. рисунки Б.40 и Б.41).
5 окружная составляющая скорости потока Сu: Проекция абсолютной скорости потока на направление окружной скорости (см. рисунки Б.40 и Б.41).
6 меридиональная составляющая скорости потока Сm: Проекция абсолютной скорости потока на меридиональную плоскость.
7 радиальная составляющая скорости потока Сr: Проекция абсолютной скорости потока на радиальное направление.
8 тангенциальная составляющая скорости потока Wu: Проекция относительной скорости потока на направление окружной скорости (см. рисунки Б.40 и Б.41).
9 коэффициент расхода C̅a: Отношение осевой составляющей скорости потока к окружной скорости вращения торца пера рабочей лопатки.
10 закрутка потока C̅u: Отношение окружной составляющей скорости потока к окружной скорости вращения торца пера рабочей лопатки.
11 угол потока в абсолютном движении на входе в решетку (выходе из решетки) α: Внутренний угол между направлениями абсолютной и окружной скоростей в треугольнике скоростей на входе в решетку (выходе из решетки) (см. рисунки Б.40 и Б.41).
12 угол потока в относительном движении на входе в решетку (выходе из решетки) β: Внутренний угол между направлениями относительной и окружной скоростей в треугольнике скоростей на входе в решетку (выходе из решетки) (см. рисунки Б.40 и Б.41).
13 угол поворота потока Δα, Δβ: Для компрессора: разность между углами потока на выходе из решетки и на входе в нее в относительном движении для рабочих лопаток и в абсолютном движении для направляющих лопаток; для турбины: дополнительный угол к сумме углов потока на выходе из решетки и на входе в нее.
14 угол атаки (профиля пера лопатки компрессора турбины) i: Разность между углом профиля на входе в решетку и углом потока в относительном движении для рабочего колеса и в абсолютном движении для направляющего (соплового) аппарата (см. рисунок Б.40).
15 угол атаки сверхзвукового профиля пера лопатки компрессора i0: Угол между касательной к спинке профиля в граничной точке и вектором относительной скорости на входе в решетку.
16 угол отставания потока (для компрессора δ, для турбины Δβг): Для компрессора: разность между углом профиля и углом потока на выходе из решетки в относительном движении для рабочей лопатки и в абсолютном движении для направляющей лопатки (см. рисунок Б.40); для турбины: разность между углом потока на выходе из решетки - в относительном движении для рабочей лопатки и в абсолютном движении для сопловой лопатки - и эффективным углом выхода потока из решетки.
17 конфузорность плоской прямой решетки профилей лопаток турбины; конфузорность решетки: Отношение синуса угла потока на входе в решетку к синусу эффективного угла выхода потока.
18 закрутка потока в решетке профилей лопаток турбины ϑ: Отклонение вектора абсолютной скорости потока на выходе из решетки профилей рабочих лопаток турбины от осевого направления.
19 ширина струи (на входе в решетку профилей лопаток компрессора) А1: Расстояние между прямыми, проведенными параллельно вектору относительной скорости потока для решеток профилей рабочих лопаток и вектору абсолютной скорости потока для решеток профилей направляющих лопаток через лобовые точки двух соседних профилей.
20 пропускная способность решетки (профилей лопаток компрессора)
: Отношение горла решетки к ширине струи на входе в решетку профилей.
Приложение Б
(справочное)

1 - ось лопатки; 2 - антивибрационная полка; 3 - перо; 4 - хвостовик; 5 - полка хвостовика; 6 - ножка хвостовика; 7 - элемент соединения лопатки
Рисунок Б.1 - Рабочая лопатка компрессора/турбины

1 - хвостовик; 2 - перо; 3 - ось лопатки
Рисунок Б.2 - Направляющая лопатка компрессора

Рисунок Б.3 - Схема лопатки компрессора с поворотной хвостовой частью пера

1 - торец пера; 2 - корыто пера; 3 - линия сопряжения переходной части лопатки с пером; 4 - линия сопряжения переходной части лопатки с полкой; 5 - полка хвостовика; 6 - переходная часть пера; 7 - спинка пера
Рисунок Б.4 - Перо лопатки с полкой хвостовика

1 - каналы с конвективным охлаждением и радиальным течением охлаждающего воздуха; 2 - каналы с конвективным охлаждением и петлевым течением охлаждающего воздуха; 3 - ребра (интенсификаторы теплоотдачи); G1, G2 - поток охлаждающего воздуха
Рисунок Б.5 - Лопатка турбины с конвективным охлаждением

1 - отверстие для выхода охлаждающего воздуха на поверхность пера лопатки и организации пленочного охлаждения; 2 - каналы с петлевым течением охлаждающего воздуха; 3 - ребра - интенсификаторы теплоотдачи; G1, G2 - поток охлаждающего воздуха
Рисунок Б.6 - Лопатка турбины с конвективно-пленочным охлаждением

1 - канал с конвективным охлаждением и радиальным течением охлаждающего воздуха; 2 - канал с конвективным охлаждением и полупетлевым течением охлаждающего воздуха; 3 - торцевые поверхности полки; 4 - контактные поверхности полки; 5 - бандажная полка; G1, G2 - поток охлаждающего воздуха
Рисунок Б.7 - Лопатка турбины с конвективным охлаждением

1 - бандажная полка; 2 - гребни бандажной полки
Рисунок Б.8 - Лопатка турбины с конвективным охлаждением (винтоканальная (матричная))

1 - дефлектор охлаждаемой рабочей лопатки; 2 - выход воздуха
Рисунок Б.9 - Дефлекторная рабочая лопатка

1 - дефлектор охлаждаемой сопловой лопатки турбины; 2 - полая сопловая лопатка турбины
Рисунок Б.10 - Дефлекторная сопловая лопатка турбины

1 - полка блока; 2 - лопатки блока
Рисунок Б.11 - Блок лопаток

1 - периферийное сечение; 2 - среднее сечение; 3 - корневое сечение; 4 - косой участок; 5 - касательная к трактовой поверхности полки в точке ее пересечения с осью лопатки
Рисунок Б.12 - Сечения пера лопатки

1, 2 - лопатки решетки; 3 - аэродинамический гребень
Рисунок Б.13 - Аэродинамический гребень, установленный на торцевой стенке межлопаточного канала решетки лопаток

1 - лопатка; 2 - аэродинамический гребень
Рисунок Б.14 - Аэродинамический гребень на спинке пера лопатки

Рисунок Б.15 - Елочный элемент соединения лопатки

Рисунок Б.16 - Элемент соединения лопатки "ласточкин хвост"

Рисунок Б.17 - Элемент соединения лопатки цапфа

Рисунок Б.18 - Элемент соединения лопатки проушина

Рисунок Б.19 - Вильчатый элемент соединения лопатки

1 - входная кромка пера; 2 - выходная кромка пера
Рисунок Б.20 - Кольцевой элемент соединения лопатки

Рисунок Б.21 - Профильный элемент соединения лопатки

Рисунок Б.22 - Односторонний елочный элемент соединения лопатки

Рисунок Б.23 - Элемент соединения полка сопловой (направляющей, спрямляющей) лопатки
турбины/компрессора

1 - плоскость симметрии; 2 - входной торец; 3 - основание хвостовика; 4 - выходной торец
Рисунок Б.24 - Составные части элементов соединения лопатки

1 - профиль элемента соединения; 2 - ось симметрии профиля элемента соединения о1 - о1
Рисунок Б.25 - Профили элементов соединения лопатки

1 - плоскость вращения ротора; 2 - ось вращения ротора; 3 - плоскость симметрии хвостовика
Рисунок Б.26 - Геометрические характеристики элемента соединения лопатки

1 - зуб гребенки; 2 - средняя плоскость гребенок; 3 - базовая плоскость; 4 - впадина гребенки; А - поверхность гребенки
Рисунок Б.27 - Елочный элемент соединения лопатки

1 - нерабочие поверхности зуба гребенки; 2 - средняя линия профиля гребенки; 3 - базовая линия гребенки; 4 - рабочие поверхности зуба гребенки
Рисунок Б.28 - Елочный элемент соединения лопатки в рабочем положении

Рисунок Б.29 - Геометрические характеристики елочного элемента соединения

Рисунок Б.30 - Геометрические параметры элемента соединения "ласточкин хвост"

1 - средняя линия; 2 - спинка профиля; 3 - корыто профиля; 4 - входная кромка; 5 - лобовая точка; 6 - выходная кромка; 7 - точка схода, А, B, С, D - граничные точки
Рисунок Б.31 - Профиль пера лопатки

Рисунок Б.32 - Рабочая лопатка компрессора (турбины)

Рисунок Б.33 - Саблевидное перо рабочей лопатки компрессора

1 - бочкообразное перо сопловой лопатки турбины; 2 - саблевидное перо сопловой лопатки турбины
Рисунок Б.34 - Бочкообразное перо и саблевидное перо сопловых лопаток турбины

Рисунок Б.35 - Высота тракта по входной (выходной) кромке пера рабочей лопатки турбины

1 - ось двигателя; 2 - фронтальная линия; 3 - средняя линия межлопаточного канала; 4 - межлопаточный канал; 5 - линия схода решетки
Рисунок Б.36 - Решетка профилей пера рабочих лопаток компрессора

Рисунок Б.37 - Решетка профилей пера рабочих лопаток турбины

Рисунок Б.38 - Основная, чертежная и центральная системы координат

Рисунок Б.39 - Основная, чертежная и главная системы координат

Рисунок Б.40 - Основные газодинамические параметры потока для решетки профилей рабочих лопаток компрессора и треугольник скоростей

Рисунок Б.41 - Основные газодинамические параметры потока для решетки профилей рабочих лопаток турбины и треугольник скоростей


