ГОСТ Р МЭК 62878-1-1-2019 ОСНОВАНИЕ СО ВСТРОЕННЫМИ КОМПОНЕНТАМИ. Часть 1-1. ОБЩИЕ ТРЕБОВАНИЯ. МЕТОДЫ ИСПЫТАНИЙ
Device embedded substrate. Part 1-1. Generic specification. Test methods
ОКС 31.180
IDT
31.190
Дата введения - 1 июня 2020 г.
Введен впервые
Предисловие
1 Подготовлен Негосударственным образовательным частным учреждением дополнительного профессионального образования "Новая инженерная школа" (НОЧУ "НИШ") на основе собственного перевода на русский язык англоязычной версии стандарта, указанного в пункте 4 который выполнен Российской комиссией экспертов МЭК/ТК 91.
2 Внесен Техническим комитетом по стандартизации ТК 420 "Базовые несущие конструкции, печатные платы, сборка и монтаж электронных модулей"
3 Утвержден и введен в действие Приказом Федерального агентства по техническому регулированию и метрологии от 27 сентября 2019 г. N 795-ст
4 Настоящий стандарт идентичен международному стандарту МЭК 62878-1-1-2015 "Основание со встроенными компонентами. Часть 1-1. Общие требования. Методы испытаний" (IEC 62878-1-1-2015 "Device embedded substrate - Part 1-1: Generic specification - Test methods", IDT).
Международный стандарт разработан Техническим комитетом МЭК ТК 91 "Технология поверхностного монтажа".
При применении настоящего стандарта рекомендуется использовать вместо ссылочных международных стандартов соответствующие им национальные стандарты, сведения о которых приведены в дополнительном приложении ДА
5 Введен впервые
В настоящем стандарте указаны методы испытаний пассивных и активных устройств, встроенных в подложки. Основные методы испытаний материалов и печатных плат указаны в МЭК 61189-3.
Настоящий стандарт применим к печатным платам со встроенными устройствами, изготовленными с использованием органического основного материала, который включает, например, активные или пассивные устройства, дискретные компоненты, сформированные в процессе изготовления электронной монтажной платы, и составленные из листового материала компонента.
Серия стандартов МЭК 62878 не применяется к уровню RDL или к электронным модулям, определенным как бизнес-модель М-типа в МЭК 62421.
В настоящем стандарте использованы нормативные ссылки на следующие стандарты. Для датированных ссылок применяют только указанное издание ссылочного стандарта. Для недатированных - последнее издание (включая все изменения).
IEC 60068-2-1, Environmental testing - Part 2-1: Tests - Test A: Cold (Экологические испытания. Часть 2-1. Испытания - Испытание А: Холод)
IEC 60068-2-2, Environmental testing - Part 2-2: Tests - Tests В: Dry heat (Испытания на воздействие внешних факторов. Часть 2-2. Испытания. Испытания В: сухое тепло)
IEC 60194, Printed board design, manufacture and assembly - Terms and definitions (Проектирование, производство и сборка печатных плат: термины и определения)
IEC 61189-3, Test methods for electrical materials, printed boards and other interconnection structures and assemblies - Part 3: Test methods for interconnection structures (printed boards) [Методы испытаний электрических материалов, печатных плат и других структур межсоединений и печатных узлов. Часть 3. Методы испытаний материалов для структур межсоединений (печатных плат)]
IEC TS 62878-2-4:2015, Device embedded substrate - Part 2-4 - Guidelines - Test element groups (TEG) [Подложка со встроенными компонентами. Часть 2-4. Руководство. Группы испытуемых компонентов (TEG)]
В настоящем стандарте применены термины по МЭК 60194.
AABUS - по согласованию между пользователем и поставщиком;
AOI - автоматический оптический контроль;
CAD - система автоматизированного проектирования;
САМ - система автоматизированного производства;
LSI - большая интегральная схема (более 100 элементов);
TEG - группы испытуемых элементов.
Данный подраздел приводится только для руководства. Испытание следует проводить при нормальных климатических условиях (или указывается, какова нормальная среда):
|
Температура |
Относительная влажность |
Атмосферное давление |
|
от 15 °С до 35 °С |
от 25 % до 75 % |
от 86 кПа до 106 кПа |
4.2.1 Общие понятия
Визуальный контроль и микрошлиф многослойных печатных плат определены в 4.2.2 и 4.2.3.
4.2.2 Визуальный контроль
Визуальный контроль заключается в проверке внешнего вида, качества поверхности и рисунка образцов невооруженным глазом или с использованием увеличительного стекла в соответствии с конкретными требованиями. Результат испытания должен быть согласован между заказчиком и поставщиком (далее AABUS).
4.2.3 Микрошлиф
Микрошлиф обеспечивает контроль состояния, внешнего вида и размеров в соответствии с конкретными требованиями к металлизированному сквозному отверстию, переходным отверстиям в наращиваемом слое, проводнику, межслойным расстояниям, расстоянию между проводниками и соединениями со встроенным компонентом. Образец монтируется в эпоксидной или полиэфирной смоле, подвергается поперечному разрезу и полируется для осмотра. Оценка результатов должна быть AABUS. Оборудование, материалы, образец и испытание определены в перечислениях а) - d).
a) Оборудование
Промышленный микроскоп, способный измерять толщину металлизации с точностью 0,001 мм.
b) Материал
Материалами, используемыми в этом испытании, являются смазка для форм, формовочная смола, полирующая ткань или бумага (N 180, N 400, N 1000 и т.д.) с возможностью использования полирующих материалов (оксид алюминия или оксид хрома).
c) Образец
Образец вырезают из продукта до подходящего размера, достаточного для наблюдения и закрепленного в формовочной смоле. Затем вырезанную поверхность полируют полировальной тканью или бумагой, начиная с грубой и кончая тонкой, применяя вращающуюся войлочную поверхность и вышеупомянутый полирующий материал. Полирующая поверхность должна находиться под углом от 85° до 95° к наблюдаемому слою. Диаметр металлизации сквозного отверстия и переходных отверстий в наращиваемом слое, наблюдаемый на микрошлифе, должен составлять не менее 90 % от ранее наблюдаемого диаметра отверстия. Следует протравить образец после полировки, если граница полировки должна быть уточнена.
d) Испытание
Испытание состоит в изучении элементов, указанных в конкретных требованиях, с помощью микроскопа с указанным увеличением. На рисунке 1 показаны компоненты сквозного отверстия для проверки поверхностей микрошлифа, а на рисунке 2 - структура наращивания и встроенные устройства. В таблице 1 приведены характеристики и компоненты наблюдения при испытании.

А - ширина проводника; В - зазор между проводниками; С - толщина изолирующего слоя; D - диаметр отверстия; Е - толщина металлизации стенок сквозного отверстия; F - толщина металлизации, покрывающей проводник; G - толщина медной фольги; Н - толщина проводника; I - граница металлизации; J - внутренняя цепь
Рисунок 1 - Измеряемые компоненты структуры с микрошлифом отверстия

А - расстояние между проводником и встроенным компонентом; В - слой встроенных компонентов
Рисунок 2 - Измеряемые компоненты микрошлифа многослойной платы со встроенными компонентами
|
N |
Элемент испытания |
Требования и визуальный контроль |
|
1 |
Ширина проводника (внутренний слой, наружный слой) |
Ширина верхнего проводника Нижняя ширина проводника Фактор травления |
|
2 |
Зазор между проводниками (внутренний слой, наружный слой) |
Минимальный зазор между проводниками |
|
3 |
Толщина слоя изоляции или зазор между проводниками |
Минимальный слой изоляции или зазор между проводниками Расслоение Мизлинг Трещины |
|
4 |
Диаметр отверстия и ширина контактной площадки |
Диаметр отверстия Ширина контактной площадки |
|
5 |
Толщина металлизации сквозного отверстия |
Толщина металлизации сквозного отверстия Толщина металлизации в переходном отверстии наращенного слоя (соответствующее переходное отверстие) Угловая трещина |
|
5 |
Толщина металлизации сквозного отверстия |
Трещины в стволе отверстия Трещины в фольге |
|
6 |
Толщина металлизации проводника |
Толщина металлизации проводника |
|
7 |
Толщина медной фольги |
Толщина медной фольги |
|
8 |
Толщина проводника |
Общая толщина проводника (медная фольга и толщина металлизации проводника) |
|
9 |
Расстояние между проводником и встроенным компонентом |
Расстояние между проводником и встроенным компонентом |
|
10 |
Толщина слоя встроенного компонента |
Толщина слоя встроенного компонента Расслоение Мизлинг Трещины |
4.2.4 Отсутствие или недостаток сечения проводника
Чтобы измерить недостаток сечения проводника или определить отсутствие проводника, используют оборудование и выполняют действия в соответствии с перечислениями а) и b).
a) Оборудование
Промышленный микроскоп с точностью не хуже 0,001 мм.
b) Измерение
Измерьте сечение проводника или определите его отсутствие в вертикальном и горизонтальном направлении на участке изоляции.
4.2.5 Размер контактной площадки и ее поясок (кольцевая контактная площадка)
4.2.5.1 Монтажные контактные площадки и контактные площадки со сквозными отверстиями
Для того чтобы измерить монтажную контактную площадку и контактные площадки со сквозными отверстиями, используют оборудование и выполняют действия в соответствии с перечислениями а) и b).
a) Оборудование
Промышленный микроскоп с точностью не хуже 0,001 мм.
b) Измерение
1) Измерьте размеры контактных площадок d1-d4, показанных на рисунке 3.
2) Измерьте внешние левые пояски w1-w4 поверхности, как показано на рисунке 3, используя микрошлиф между краем отверстия и краем контактной площадки с точностью не хуже 0,001 мм.

А - неметаллизированное отверстие; В - металлизированное отверстие; С - переходное отверстие в слое наращивания в соответствующей форме: d1-d4 - максимальный размер контактной площадки; w1-w4 - поясок контактной площадки во внешнем слое; w5, w6 - поясок контактной площадки во внутреннем слое
Рисунок 3 - Измерение размера контактной площадки
4.2.5.2 Переходное отверстие (включая внутреннее отверстие и отверстие в слое наращивания)
Для измерения сквозных переходных отверстий используют оборудование и выполняют действия в соответствии с перечислениями а) и b).
a) Оборудование
Промышленный микроскоп с точностью не хуже 0,001 мм.
b) Измерение
1) Измерьте размеры контактных площадок d1-d4, показанных на рисунке 4.
2) Нет необходимости измерять размеры поясков внешних контактных площадок w1-w4, показанных на рисунке 4, если есть проблема с электрическим соединением. Измерение может осуществляться по согласованию между заказчиком и поставщиком и посредством микрошлифа с точностью не хуже 0,001 мм для максимального размера.

А - изоляционный слой; d1-d4 - максимальный размер контактной площадки; w1-w4 - поясок контактной площадки во внешнем слое
Рисунок 4 - Измерение встроенной контактной площадки
4.2.5.3 Компланарность
4.2.5.3.1 Изгиб
Для измерения изгиба используют оборудование и выполняют действия в соответствии с перечислениями а) и b).
a) Оборудование
Должен использоваться датчик зазора или датчик высоты с точностью 0,1 мм или лучше.
b) Измерение
Поместите плату со встроенными компонентами на высокоточную пластину выступающей стороной вверх и затем измерьте максимальный зазор между основанием и образцом с точностью до 0,1 мм, чтобы определить изгиб.
4.2.5.3.2 Скручивание
Чтобы измерить скручивание, используют оборудование и выполняют действия в соответствии с перечислениями а) и b).
a) Оборудование
Должен использоваться датчик зазора или датчик высоты с точностью 0,1 мм или выше.
b) Измерение
Поместите плату со встроенными компонентами на высокоточную пластину выступающей стороной вверх тремя углами образца, прикоснувшихся к пластине, и измерьте расстояние между пластиной и приподнятым углом образца с точностью 0,1 мм.
4.2.5.3.3 Метод испытания
В таблице 2 приведен метод испытаний компланарности вокруг рисунка контактной площадки.
|
Элемент |
Критерий |
Метод испытания |
|
Влияние на встроенное устройство |
AABUS |
Использование TEG вместо одного встроенного компонента Рассматривается испытание для соединений выводов встроенных компонентов |
4.3.1 Сопротивление проводника
Чтобы проверить сопротивление проводников, используют оборудование, образец и выполняют действия в соответствии с перечислениями а) - d).
a) Оборудование
Метод падения напряжения (четырехвыводной метод) или эквивалент. Измерительный сигнал (напряжение или ток) должен быть постоянным или переменным.
b) Образец
Образец представляет собой определенную часть испытуемого образца или комплексный образец платы со встроенными устройствами, приведенной в МЭК/ТС 62878-2-4:2015, рисунки 1-27.
c) Предварительная подготовка
Предварительная подготовка должна быть 1) или 2), в зависимости от индивидуальных требований.
1) Выдержать образец в нормальных условиях в течение (24 ± 4) ч.
2) Выдержать образец в бане с температурой (85 ± 2) °С в течение 4 ч, а затем в нормальных условиях в течение (24 ± 4) ч.
d) Испытание
Измерение должно проводиться, как показано на рисунке 5, с точностью ± 5 %. Следите за тем, чтобы исключить влияние контакта и нагрева зонда на измерения тока. Образец включает в себя соединение между встроенным устройством и выводами, а также проводник, включающий сквозное отверстие и сквозное переходное отверстие в слое наращивания.
4.3.2 Сквозное отверстие и переходное отверстие на наращиваемый слой
Чтобы проверить сквозное отверстие и переходное отверстие на наращиваемый слой используют оборудование, образец и выполняют действия в соответствии с перечислениями а) - d):
a) Оборудование
Оборудование должно соответствовать 4.3.1, перечисление а).
b) Образец
Образец - это определенная часть испытуемого образца или комплексного испытуемого образца платы со встроенными устройствами, приведенной в МЭК/ТС 62878-2-4:2015, рисунки 1-27.
c) Предварительная подготовка
Предварительная подготовка должна соответствовать 4.3.1, с).
d) Испытание
Измерение должно проводиться, как показано на рисунке 5, с точностью ± 5 %. Следите за тем, чтобы исключить влияние контакта и нагрева зонда на измерения тока.
В таблице 3 приведен критерий и метод испытаний на сопротивление проводников.
|
Элемент |
Критерий |
Метод испытания |
|
Подключение к встроенному компоненту, или подключение к контактной площадке, или подключение к переходному отверстию |
AABUS |
Как указано в 4.3.2, металлизированное сквозное отверстие и переходное отверстие в слое наращивания. Используйте TEG для встроенного компонента |

А - вывод тока; В - вывод напряжения; С - TEG; D - фактически используемое соединение
Рисунок 5 - Измерение сопротивления проводника
4.3.3 Предельный ток подключения встроенного компонента
Чтобы измерить предельный ток подключения встроенного компонента, используют оборудование, образец и выполняют действия в соответствии с перечислениями а) - d).
a) Оборудование
Источник питания постоянного или переменного тока, способный давать испытательный ток, указанный в таблице 4, и амперметр. Оборудование должно быть источником постоянного или переменного тока, способным выдавать испытательный ток, указанный в 4.3.2, а), также необходим амперметр.
В таблице 4 показаны предельные критерии и методы испытаний.
b) Образец
Образец должен содержать выводы TEG и определенной части комплексного испытуемого образца (рисунки 1-28 в МЭК/ТС 62878-2-4:2015). Для TEG встроенного компонента рекомендуется использовать перемычку с нулевым сопротивлением.
c) Предварительная подготовка
Предварительная подготовка должна соответствовать 4.3.1, с).
d) Испытание
Проверьте отсутствие аномалий после подачи на выводы TEG и контактные площадки на плате определенного тока, учитывая их конкретные требования в течение 30 с. Испытательный ток для конкретного диаметра отверстия приведен в таблице 4.
|
Элемент |
Критерий |
Метод испытания | ||||
|
Проводник |
Предельный ток подключения должен быть AABUS. Связь между током и шириной проводника, толщиной проводника и повышением температуры показана на рисунке 6 |
Предельный ток для сквозного отверстия и через слои наращивания в соответствии с 4.3.2. В соответствии с 4.3.3 предельный ток проводника. Форма и размер образца должны быть AABUS | ||||
|
Сквозное отверстие и переходное отверстие в слое наращивания |
Предельный ток проводника в соответствии с 4.3.3. Форма и размер образца должны быть AABUS | |||||
|
Встроенный компонент - Соединение контактной площадки - Соединение переходного отверстия |
Предельный ток соединения встроенного компонента в соответствии с 4.3.3. Используйте TEG для встроенного компонента. Внутреннее сопротивление TEG должно быть менее 50 мОм. Испытательный ток не должен превышать номинальный ток, показанный ниже. Номинальный ток предназначен для постоянной нагрузки в течение 30 с. Максимальный ток перегрузки оценивается в течение 2 с | |||||
|
Тип |
Номинальный ток 70 °С, А |
Максимальный ток перегрузки, А | ||||
|
0402 |
- |
- | ||||
|
0603 |
0,5 |
1,0 | ||||
|
1005 |
1,0 |
2,0 | ||||
|
1608 |
1,0 |
2,0 | ||||

X - ток (A); Y - ширина проводника (мм)
Рисунок 6 - Соотношение между током и шириной проводника, увеличением толщины и температуры
4.3.4 Предельное напряжение на платах со встроенными компонентами
4.3.4.1 Общие положения
Предельное напряжение проводника, металлизированного сквозного отверстия и переходного отверстия в слоях наращивания, внутренних соединениях и подключениях к встроенному компоненту должны измеряться в соответствии с каждым конкретным требованием. Данное испытание следует проводить только тогда, когда требуется испытание предельного напряжения.
4.3.4.2 Предельные напряжения на внутренних слоях в платах со встроенными компонентами
Чтобы измерить предельное напряжение на внутреннем слое в платах со встроенными компонентами, используют оборудование, образец и выполняют действия в соответствии с перечислениями а) - d).
a) Оборудование
Оборудование должно соответствовать 4.3.2, а).
b) Образец
Образец должен быть изготовлен так, чтобы он соответствовал соединительному разъему TEG в монтажной плате со встроенными компонентами или контактным площадкам комплексного испытательного образца (см. рисунки 1-27 в МЭК/ТС 62878-2-4:2015). Образец с механическими повреждениями, следами горения, искровым разрядом или пробоем не должен использоваться при дальнейших испытаниях.
c) Предварительная подготовка
Предварительная подготовка должна соответствовать 4.3.1, с).
d) Испытание
Испытание должно быть аналогичным описанию 4.3.1, d).
4.3.4.3 Предельное напряжение подключенного встроенного компонента
Чтобы измерить предельное напряжение подключенного встроенного компонента, используют оборудование, образец и выполняют действия в соответствии с перечислениями а) - d).
a) Оборудование
Оборудование должно соответствовать 4.3.1, а).
b) Образец
Образец должен быть определенной частью TEG в плате со встроенными компонентами или комплексным испытуемым образцом (рисунки 1-27 в МЭК ТС 62878-2-4:2015). Для ТЕG рекомендуется использовать перемычку с нулевым сопротивлением. Образец с механическими повреждениями, следами горения, искровым разрядом или пробоем не должен использоваться при дальнейших испытаниях.
c) Предварительная подготовка
Предварительная подготовка должна быть такой, как описано в 4.3.1, с).
d) Испытание
Испытание должно быть аналогичным описанию 4.3.1, d).
В таблице 5 описаны методы испытаний для предельного напряжения.
|
Элемент |
Критерий |
Метод испытания | ||||
|
Внутренний слой |
Не должно быть нарушений, таких как механические повреждения, плохая отмывка или повреждение изоляции |
Как указано в 4.3.4.2, напряжение между внутренними слоями. Испытательное напряжение приведено ниже | ||||
|
Межслойное расстояние х, мм |
Испытательное напряжение V | |||||
|
0,02 ≤ х < 0,05 |
100 | |||||
|
0,05 ≤ х < 0,08 |
250 | |||||
|
0,08 ≤ х < 0,20 |
500 | |||||
|
0,20 ≤ х |
1000 | |||||
|
Подключение к встроенному компоненту |
Не должно быть нарушений, таких как механические повреждения, плохая отмывка или повреждение изоляции |
Как указано в 4.3.4.3, напряжение для встроенного компонента. Используйте TEG для встроенного компонента. Внутреннее сопротивление TEG должно быть менее 50 мОм. Испытание ниже напряжения изоляции TEG | ||||
|
Тип |
Напряжение изоляции (эффективное значение Vdc или Vac) | |||||
|
0402 |
- | |||||
|
0603 |
30 | |||||
|
1005 |
100 | |||||
|
1608 |
100 | |||||
4.3.5 Сопротивление изоляции
4.3.5.1 Общие положения
Сопротивление изоляции должно быть измерено между выводами проводника встроенного компонента в соответствии с конкретными требованиями.
4.3.5.2 Сопротивление изоляции внутреннего слоя
Для измерения сопротивления изоляции внутреннего слоя используют оборудование, образец и выполняют действия в соответствии с перечислениями а) - d).
a) Оборудование
Тестер сопротивления изоляции, способный измерять значения, превышающие 1010 Ом.
b) Образец
Образец - это определенная часть испытуемого образца или комплексного испытуемого образца платы со встроенными устройствами, приведенной в МЭК/ТС 62878-2-4:2015, рисунки 1-27, включая соединения со встроенным компонентом.
c) Предварительная подготовка
Предварительная подготовка должна соответствовать 4.3.4.2, с).
d) Испытание
Подключается напряжение постоянного тока (10 ± 1) В, (50 ± 5) В, (100 ± 10) В или (500 ± 50) В в зависимости от конкретного требования в течение 1 мин, а затем измеряется сопротивление изоляции при приложенном напряжении.
4.3.5.3 Сопротивление изоляции между внутренними слоями
Чтобы измерить сопротивление изоляции между внутренними слоями, используют оборудование, образец и выполняют действия в соответствии с перечислениями а) - d):
a) Оборудование
Оборудование должно соответствовать 4.3.1, а).
b) Образец
Образец - это определенная часть испытуемого образца или комплексного испытуемого образца платы со встроенными устройствами, приведенной в МЭК/ТС 62878-2-4:2015, рисунки 1-27, включая соединения со встроенным компонентом.
c) Предварительная подготовка
Предварительная подготовка должна соответствовать 4.3.1, с).
d) Испытание
Испытание должно проводиться в соответствии с 4.3.1, d).
4.3.5.4 Сопротивление изоляции между встроенными выводами
Для измерения сопротивления изоляции между встроенными выводами используют оборудование, образец и выполняют действия в соответствии с перечислениями а) - d):
a) Оборудование
Оборудование должно соответствовать 4.3.4.3 перечислению а).
b) Образец
Образец - это определенная часть испытуемого образца или комплексного испытуемого образца платы со встроенными устройствами, приведенной в IEC TS 62878-2-4:2015, рисунки 1-27, включая соединения со встроенным компонентом. Рекомендуется использовать перемычки с нулевым сопротивлением для TEG.
c) Предварительная подготовка
Предварительная подготовка должна соответствовать 4.3.1, с).
d) Испытание
Испытание должно проводиться в соответствии с 4.3.1, d).
В таблице 6 представлены результаты оценки сопротивления изоляции, приведены критерии и методы испытаний.
4.3.6 Проводимость и изоляция цепи
Данное испытание было разработано для проверки изоляции точек, не связанных электрическим соединением с проводящим рисунком, и не подключенных к плате со встроенными компонентами в соответствии с требованиями на плату (данные испытаний по CAD/САМ и отдельным требованиям) и электрического подключения к определенным соединительным позициям проводящего рисунка. Рекомендуется использовать это испытание для конкретной платы со встроенными компонентами.
|
Элемент |
Критерий |
Метод испытания | ||||||||
|
Внутренний слой |
Нормальное |
Сопротивление должно быть больше, чем: |
В соответствии с 4.3.5.3 сопротивление межслойной изоляции. Испытательное напряжение должно быть: | |||||||
|
Минимальная толщина слоя изоляции х, мм |
Сопротивление, Ом | |||||||||
|
Минимальная толщина слоя изоляции х, мм |
Испытательное напряжение V | |||||||||
|
0,02 ≤ х < 0,05 |
5 х 109 | |||||||||
|
0,05 ≤ х < 0,13 |
1 х 1010 |
0,02 ≤ х < 0,05 |
10 | |||||||
|
0,13 ≤ х |
5 х 1010 |
0,05 ≤ х < 0,08 |
50 | |||||||
|
0,08 ≤ х < 0,20 |
100 | |||||||||
|
0,20 ≤ х |
500 | |||||||||
|
Между выводами встроенных компонентов |
Нормальное |
Сопротивление должно быть больше, чем: |
Как указано в 4.3.5.4, сопротивление изоляции между выводами встроенного компонента. Используйте TEG для встроенного компонента. Внутреннее сопротивление TEG должно быть менее 50 мОм. При использовании резистора гарантированное сопротивление изоляции должно составлять 109 Ом | |||||||
|
Минимальное расстояние между выводами или контактными площадками изолятора х, мм |
Сопротивление, Ом | |||||||||
|
0,02 ≤ x < 0,05 |
5 х 108 | |||||||||
|
0,052 ≤ х < 0,13 |
1 х 109 | |||||||||
|
0,13 ≤ х |
5 х 109 | |||||||||
Данное испытание было разработано для проверки механической прочности платы для монтажа устройства по техническим требованиям платы (данные испытаний из CAD/САМ и отдельным требованиям) проводника, контактной площадки неметалллизированного отверстия, металлизированного сквозного отверстия, контактной площадки посадочного места, паяльной маски и маркировки, применяя определенную механическую нагрузку.
4.4.1 Прочность на разрыв проводника
a) Оборудование
Вытяжная испытательная машина, способная обеспечить скорость поперечной головки 50 мм/мин. Точность измерения в пределах эффективного диапазона измерений должна составлять ± 1 % от показания, а для диапазона тягового усилия от 15 % до 85 %. Используйте зажимное приспособление, которое может удерживать направление вытягивания под 90° к поверхности образца, если проводник отрывается от образца.
b) Образец
Образец должен представлять собой плату, имеющую соответствующую длину и проводник с постоянной шириной (рисунки 1-27 в МЭК/ТС 62878-2-4:2015). Использование образца с проводником, шириной менее 0,8 мм, должно быть AABUS.
c) Предварительная подготовка
Предварительная подготовка должна соответствовать 4.3.1 перечислению с).
d) Испытание
Испытание проводится в нормальных условиях. Образец с проводником, отделенным на расстоянии около 10 мм от основания, крепится к удерживающему приспособлению оборудования. Удерживайте конец вытянутого проводника и вытяните проводник более, чем на 25 мм со скоростью 50 мм/мин.
В таблице 7 показана сила растяжения проводника и метод испытания.
|
Элемент |
Критерии |
Метод испытания | |
|
Усилие растяжения проводника |
Усилие растяжения проводника должно быть AABUS, Н/м |
Метод испытания, форма и размер должны быть AABUS | |
|
Компонент |
МЭК 61249-2-7 (FR-4) Толщина медной фольги 18 мкм Ширина проводника 0,8 мм | ||
|
Требования (для справки) |
Обычный материал: не менее 0,98 Н/мм Без галогенов: не менее 80 Н/мм | ||
|
Примечание - Общий материал может содержать галоген (который должен быть указан как общий). | |||
4.4.2 Прочность сцепления неметаллизированного сквозного отверстия
a) Оборудование
Оборудование должно соответствовать 4.4.1 а).
b) Образец
Образец представляет собой плату, предварительно залуженную в течение Зев паяльной ванне для несвязанной круглой контактной площадки, показанной на рисунках 1-27 IEC/TS 62878-2-4:2015, а также размеры контактной площадки, отверстия и вывода, в соответствии с таблицей 8. Припой, который должен использоваться, должен быть AABUS. Использование размеров, отличных от указанных в таблице 8, также должно быть AABUS.
c) Предварительная подготовка
Предварительная подготовка должна соответствовать 4.3.1 с).
d) Испытание
Вставьте провод в отверстие образца. Не сгибайте конец провода, а слегка выдвиньте его на нижнюю поверхность и пропаяйте в течение 3-5 с, касаясь только провода, а не контактной площадки, используя паяльник с диаметром наконечника 5 мм ± 0,1 мм.
|
Контактная площадка (мм) |
2,0 |
4,0 |
|
Диаметр отверстия (мм) |
0,8 |
1,3 |
|
Диаметр вывода (мм) |
От 0,6 до 0,7 |
От 0,9 до 1,0 |
Температура наконечника паяльника составляет (270 ± 10) °С. Оставьте образец более 30 мин при комнатной температуре для охлаждения. Потяните провод вертикально с помощью тянущего испытательного аппарата со скоростью вытягивания 50 мм/мин и измерьте силу отрыва контактной площадки от платы. Повторите испытание, если сам провод оторвался или сломался.
Повторное испытание на пайку может быть выполнено с использованием образца, паяный провод которого удаляется с использованием паяльника, указанного в перечислении а), и где новая проволока припаивается к контактной площадке. Повторение процедуры перепайки проволоки с количеством раз, должно быть указано в отдельном требовании. Для каждой пайки охлаждайте образец более 30 мин при комнатной температуре.
Потяните провод вертикально, используя тянущую испытательную машину со скоростью вытягивания 50 мм/мин, и измерьте требуемую силу, чтобы оторвать контактную площадку от платы. Повторите испытание, если сам провод оторвался или сломался.
4.4.3 Прочность сцепления металлизированного сквозного отверстия
a) Оборудование
Оборудование должно соответствовать 4.4.1, а).
b) Образец
Образец представляет собой контактную площадку посадочного места, несвязанную с проводящим рисунком, без проволоки, припаянной к контактной площадке. Размер контактной площадки и провода должен быть AABUS.
Провод необходимо припаять к контактной площадке. Время пайки не более 3 с, используя оборудование, описанное в 4.4.2, а). Используемый припой должен быть AABUS.
c) Предварительная подготовка
Предварительная подготовка должна соответствовать 4.3.1, с).
d) Испытание
Испытание должно проводиться в соответствии с 4.4.2, d).
В таблице 9 показаны критерии и методы испытаний силы отрыва металлизированного сквозного отверстия.
|
Элемент |
Критерии |
Метод испытания | |
|
Усилие вытягивания металлизированного сквозного отверстия |
Усилие вытягивания металлизированного сквозного отверстия должно быть AABUS, Н/отверстие |
Метод испытания, форма и размер должны быть в соответствии с 4.4.3, d) | |
|
Элемент |
МЭК 61249-2-7 (FR-4) Толщина платы 1,6 мм Диаметр отверстия 1,0 мм | ||
|
Требования (для справки) |
Обычный материал: не менее 88,3 Н/мм | ||
4.4.4 Усилие отрыва контактной площадки посадочного места
a) Оборудование
Оборудование должно соответствовать 4.4.1, а).
b) Образец
Образец представляет собой контактную площадку посадочного места, не связанную с проводящим рисунком, без проволоки, припаянной к контактной площадке. Размер контактной площадки и провода должен быть AABUS. Провод необходимо припаять к контактной площадке. Время пайки не более 3 с оборудованием, описанным в 4.4.1, а). Используемый припой должен быть AABUS.
c) Предварительная подготовка
Предварительная подготовка должна соответствовать 4.3.1, с).
d) Испытание
Испытание должно проводиться в соответствии с 4.4.2, d).
Таблица 10 показывает требования и метод испытаний прочности сцепления контактной площадки посадочного места.
|
Элемент |
Критерии |
Метод испытания | |
|
Прочность сцепления контактной площадки посадочного места |
Прочность сцепления контактной площадки посадочного места должно быть AABUS, Н/отверстие |
Испытание должно проводиться в соответствии с 4.4.4, d) | |
|
Элемент |
Стеклоэпоксидная смола, медный ламинат Класс материала: МЭК 61249-2-7 (FR-4) Медная фольга (толщина проводника): 18 мкм Контактная площадка: 1,0 мм x 1,0 мм | ||
|
Требования (для справки) |
Обычный материал: не менее 39,2 Н/мм2 (Материал без галогенов: не менее 32,0 Н/мм2) | ||
4.4.5 Адгезия металлизированной фольги
а) Материал
Материал, используемый в данном испытании, должен быть прозрачной липкой лентой шириной 12 мм и силой адгезии более 1,8 Н/см.
b) Образец
Образец должен быть готовым продуктом или платой с комплексным проводящим рисунком, показанным на рисунках 1-27 IEC/TS 62878-2-4:2015.
c) Предварительная подготовка
Предварительная подготовка должна соответствовать 4.3.1, с).
d) Испытание
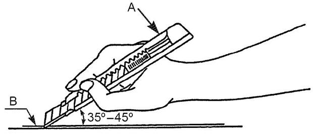
Очистите поверхность образца и прикрепите клейкую ленту более, чем на 50 мм на поверхности образца нажатием пальца или другим подходящим способом, чтобы не оставлять пузырь между лентой и образцом. Оставьте как есть около 10 с, а затем быстро оторвите его в течение 5 мин, как показано на рисунке 7 под углом около 60°.
Площадь для испытания должна быть больше 100 мм2. Невооруженным глазом или с помощью увеличительного стекла проверьте отслаивание или фрагмент, отсоединенный от покрытой пленки, прикрепленной к липкой ленте. Фрагмент с нависающей металлизацией не используется в качестве испытуемого образца.

А - направление отрыва; В - лента; С - металлизированная фольга; D - плата со встроенными компонентами
Рисунок 7 - Адгезия металлизированной фольги
4.4.6 Адгезия паяльной маски и маркировки
4.4.6.1 Адгезия краски (метод общей поверхности)
a) Материал
Материал, используемый в этом испытании, должен быть прозрачной липкой лентой шириной 12 мм и силой адгезии более 1,8 Н/см.
b) Образец
Образец должен представлять собой плату со встроенными компонентами, с паяльной маской и маркировкой.
c) Предварительная подготовка
Предварительная подготовка должна соответствовать 4.3.1, с).
d) Испытание
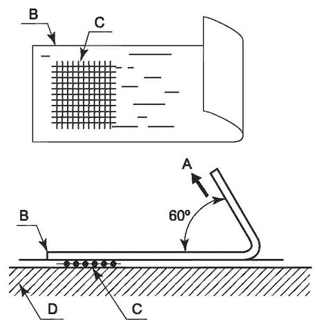
Очистите поверхность образца и приклейте клейкую ленту более чем на 50 мм на поверхность образца при помощи прессования пальцем или другим подходящим способом, чтобы не оставлять пузырь между лентой и образцом. Выдержите в течение примерно 10 с, а затем отделите приклеенную ленту в течение 5 мин под углом около 60, а затем оторвите ленту в течение от 0,5 с до 1,0 с. Невооруженным глазом или с увеличительным стеклом проверьте наличие куска паяльной маски или части маркировки, прикрепленного к липкой ленте.
4.4.6.2 Адгезия краски (метод поперечного надреза)
a) Материал, который будет использоваться при испытании
Материал, подлежащий использованию при испытании, должен соответствовать 4.4.6.1, а).
b) Оборудование и инструмент
Оборудование и инструмент, используемые в данном испытании, должны быть одно или оба из следующего набора:
1) один режущий инструмент с режущей кромкой от 20° до 30°, как показано на рисунке 8, или нож для резки, как показано на рисунке 9;
2) инструмент с несколькими режущими кромками с 6 или 11 режущими кромками с зазором 1 мм, как показано на рисунке 10.
Размеры в миллиметрах

А - требования к резаку; В - единичный резак
Рисунок 8 - Единичный инструмент
Размеры в миллиметрах

А - линия разрыва
Рисунок 9 - Нож для нарезки
Размеры в миллиметрах

А - размер острия (заточить острие при затуплении); В - острие; С - 5 мм или 10 мм; D - лезвия имеют одинаковый диаметр. Диаметр AABUS; Е - ручка
Рисунок 10 - Многодисковый резак
Для единичного режущего инструмента должен использоваться трафарет с равным расстоянием, показанный на рисунке 11.
Размеры в миллиметрах

А - направляющая единичного резака; В - ширина направляющей (одного лезвия); С - размер поперечного надреза (одинаковый); D - плита, например, нержавеющая сталь; Е - резиновый лист (для предотвращения проскальзывания); F - режущий инструмент; G - направляющая режущего инструмента
Рисунок 11 - Трафарет с прорезями на одинаковом расстоянии с направляющей
Электрический единичный резак также должен быть AABUS.
Примечание - Использование единичного резака и режущего ножа является простым и желательным для всех типов красок, используемых в испытании на адгезию.
Многократный режущий инструмент хорош для испытания толстой платы, но не подходит для тонкой платы и мягкой краски. Следует соблюдать осторожность при использовании единичного инструмента для надрезания паза, поскольку при испытании может возникать отклонение в положении и глубине нарезки. Рекомендуется использовать трафарет с направляющей, чтобы уменьшить отклонение в положении резки.
c) Образец
Образец должен соответствовать 4.4.6.1, b).
d) Предварительная подготовка
Предварительная подготовка должна соответствовать 4.3.1, с).
e) Испытание
Надрежьте поверхность образца со скоростью около 0,5 с для каждого надреза при разрезании с помощью единичного инструмента или режущего ножа под углом около 35-45°, проникающего в покрытие, как показано на рисунке 12.

А - единичный резак; В - покрытая поверхность
Рисунок 12 - Надрез с использованием единичного резака или режущего ножа
На рисунке 13 показано поперечное испытание. 11 или 6 параллельных надрезов выполнены в покрытии на расстоянии 1 мм друг от друга, чтобы сформировать 100 квадратов на площади 100 мм2 или 25 квадратов на площади 25 мм2.

А - направление отрыва ленты; В - лента; С - поверхность надрезанного покрытия; D - плата со встроенными компонентами
Рисунок 13 - Испытание поперечного надреза
Очистите поверхность мягкой щеткой, чтобы удалить режущую пыль, и положите клейкую ленту в центр поперечного разреза, как показано на рисунке 12. Проверьте адгезию 100 или 25 мм 1 мм х 1 мм с помощью метода испытания, описанного в 4.4.6.1, d).
4.4.7 Твердость покрытия (паяльная маска и маркировка)
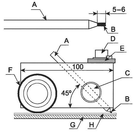
a) Материал
Инструментом, который будет использоваться в испытании, является карандаш, указанный в ИСО 9180. Типы карандашей: 9Н, 8Н, 7Н, 6Н, 5Н, 4Н, 3Н, 2Н, Н, F, В, 2В, 3В, 4В, 5В и 6В.
Карандаши должны быть изготовлены одним и тем же изготовителем. Деревянная часть одного конца карандаша должна быть разрезана, чтобы выставить примерно 5-6 мм графита. Конец грифеля должен быть заточен на полировальной бумаге N 400, указанной в ИСО 21948, так чтобы он был плоский и имел острый край.
Грифель необходимо затачивать каждый раз. Стандартом твердости здесь является степень царапин, когда поверхность царапается грифелем, выраженным твердостью Морса. Карандаш используется для царапин, поскольку его легко получить с надежной воспроизводимостью твердости.
b) Оборудование
Испытание проводится с использованием оборудования, показанного на рисунке 14.
Данное оборудование изготовлено из металла с двумя колесами на одном конце и держателем для удержания карандаша под углом 45° ± 1°.
Желательно установить уровень так, чтобы держать дно колес и пишущий грифель карандаша горизонтальным. Отрегулируйте вес так, чтобы нагрузка на конце карандашного грифеля составляла (750 ± 10) г. Колеса должны быть резиновые, чтобы избежать каких-либо дефектов на поверхности образца.

А - карандаш; В - грифель карандаша; С - держатель карандаша; D - уровень; Е - гиря (вес); F - колесо (резина); G - плата со встроенными компонентами; Н - паяльная маска
Рисунок 14 - Испытание на твердость паяльной маски
c) Образец
Образец представляет собой плату со встроенными компонентами с паяльной маской и маркировкой. Образец должен соответствовать 4.4.6.1, b).
d) Предварительная подготовка
Предварительная подготовка должна соответствовать 4.3.1, с). Предварительная подготовка образца для этого испытания после использования в другом испытании должна быть AABUS.
e) Испытание
Закрепите образец твердо в горизонтальном положении. Поместите карандаш самым твердым грифелем в держатель, как показано на рисунке 14, и переместите держатель по направлению, указанному в испытании. Нарисуйте линию на покрытой поверхности, чтобы поцарапать покрытие, затем смените карандаш на следующий жесткий, пока карандаш не перестанет царапать покрытие, чтобы определить самый мягкий грифель карандаша, позволяющий сделать разрез на покрытие.
4.5.1 Общие положения
Экологическое испытание плат со встроенными компонентами - это испытание для оценки срока службы продукта при выходе за пределы высоких или низких температур и влажности путем оценки нагрузки окружающей среды в условиях использования платы со встроенными компонентами. Методы испытаний могут быть выбраны из методов, указанных в таблице 11.
|
Элемент |
Характеристики |
Метод испытания | |
|
Подключение к встроенному компоненту |
Высокие и низкие температуры |
Скорость изменения сопротивления проводимости, включая металлизированное сквозное отверстие или соединение переходного отверстия, должна быть AABUS |
Как указано в МЭК 60068-2-2 для высоких температур и МЭК 60068-2-1 для низкой температуры для данного испытания. Используйте TEG для встроенного компонента. Внутреннее сопротивление TEG должно быть менее 50 мОм |
4.5.2 Тепловой удар паровой фазы
В таблице 12 показаны характеристики и методы испытаний парового теплового шока.
|
Элемент |
Характеристики |
Метод испытания |
|
Встроенный компонент |
Скорость изменения сопротивления проводимости, включая металлизированное сквозное отверстие или соединение переходного отверстия должна быть AABUS |
Как указано в МЭК 61189-3, 3N01 до 3N03 для испытания циклов низкой температуры. Используйте TEG для встроенного компонента. Внутреннее сопротивление TEG должно быть менее 50 мОм |
4.5.3 Испытания на погружение в условиях высокой температуры
Для проведения испытаний на погружение в условиях высокой температуры используют оборудование, образец и выполняют действия в соответствии с перечислениями а) - е):
a) Цель
Испытание на влажность при высокой температуре в паровой фазе представляет собой оценку срока службы продукта при перегрузке путем погружения образца в высокотемпературное масло с определенными условиями окружающей среды.
b) Оборудование
Оборудование должно удовлетворять следующим условиям:
1) контейнер, достаточно большой, чтобы содержать достаточный объем силиконового масла и способный обеспечивать температуру 260 °С;
2) контейнер, достаточно большой, чтобы содержать достаточный объем органического растворителя и способный поддерживать температуру (20 ± 15) °С.
c) Образец
Образец должен быть готовым продуктом или платой с комплексным проводящим рисунком, показанным на рисунках 1-28.
d) Испытание
Оценить характеристики образца для изделий, указанных в его конкретных требованиях, и выбрать температурное условие из таблицы 13 и изменить температурное состояние с шага 1 на шаг 4 за один цикл. Повторите изменение для указанных циклов в соответствии с конкретными требованиями. Число циклов равно 5, если не указано в конкретных требованиях. Затем измерьте его характеристики для указанных компонентов в нормальных условиях, указанных ниже.
|
Шаг |
Температура, °С |
Время, с |
Жидкость для погружения | |
|
1 цикл |
1 |
260 |
От 3 до 5 |
Силиконовое масло |
|
2 |
20 ± 15 |
Менее 15 |
Транспортировка | |
|
3 |
20 ± 15 |
20 |
Органический раствор | |
|
4 |
20 ± 15 |
Менее 15 |
Транспортировка | |
е) Условия измерения
Условия измерения, принятые в испытаниях, приведены в настоящем стандарте. Испытания проводятся, если не указано иное при нормальном атмосферном давлении от 86 кПа до 106 кПа и потоке воздуха менее 1 м/с. В тех случаях, когда трудно проверить образец в нормальных условиях, испытание может быть проведено в другом состоянии, если нет никаких сомнений в оценке результатов испытаний. Испытание должно проводиться с условиями, указанными в таблице 14, когда есть какой-либо вопрос о результатах испытаний или при особой просьбе.
|
Классификация |
Температура, °С |
Влажность, % |
Давление, кПа |
Примечания | ||
|
Нормальные условия |
Общие |
От 15 до 35 |
От 25 до 75 |
От 86 до 106 |
Нормальные условия, если не указано иное | |
|
23/50 |
Класс 1 |
23 ± 1 |
50 ± 5 |
От 86 до 106 | ||
|
Класс 2 |
23 ± 2 |
50 ± 10 | ||||
|
27/65 |
Класс 1 |
27 ± 1 |
65 ± 5 |
От 86 до 106 |
AABUS, например, в тропической зоне | |
|
Класс 2 |
27 ± 1 |
65 ± 5 | ||||
|
Оценка |
Общие |
20 ± 2 |
От 60 до 70 |
От 86 до 106 | ||
В таблице 15 приведены требования и методы испытаний для термического шока (испытания на погружение в условиях высокой температуры).
|
Элемент |
Характеристики |
Метод испытания |
|
Встроенный компонент |
Скорость изменения сопротивления проводимости, включая металлизированное сквозное отверстие или соединение переходного отверстия должна быть AABUS |
Как указано в МЭК 60068-2-2 циклическое испытание для высоких температур. Используйте TEG для встроенного компонента. Внутреннее сопротивление TEG должно быть менее 50 мОм |
4.5.4 Устойчивость к влажности
Чтобы проверить устойчивость к влажности, используют оборудование, образец и выполняют действия в соответствии с перечислениями а) - d).
a) Оборудование
Оборудование должно удовлетворять следующим условиям:
1) ванна должна поддерживать цикл температуры и влажности, показанный на рисунке 15;
2) удельное сопротивление воды должно быть больше 500 Ом; если необходимо, увлажнить ванну, непосредственно налив воду;
3) капли воды, конденсированные на крыше или стенке ванны, не должны падать на образец или вблизи него.
b) Образец
Образец должен быть заданной частью платы со встроенными компонентами, испытательным образцом или комплексной испытательной моделью (см. рисунки 1-27 IEC/TS 62878-2-4:2015), включая подключение к встроенному компоненту. Рекомендуется использовать резистор с нулевым сопротивлением в качестве перемычки для TEG.

а) Цикл влажности

──────────────────────────────
* Допустимые пределы в этот момент времени составляют ± 5 мин.
──────────────────────────────
b) Температурный цикл
Рисунок 15 - Циклы температуры и влажности
с) Предварительная подготовка
Предварительная подготовка должна быть выполнена в соответствии с 1) или 2) в зависимости от конкретных требований.
1) Выдержать образец в нормальных условиях в течение (24 ± 4) ч.
2) Выдержать образец в бане с температурой (85 ± 2) °С в течение 4 ч, а затем в нормальных условиях в течение (24 ± 4) ч.
d) Испытание
Образец должен быть измерен по его конкретным требованиям, а затем выдержан в ванне с температурой (40 ± 2) °С и относительной влажностью от 90 % до 95 %. Рекомендуется нагреть образец заранее, чтобы капли воды не появлялись на поверхности образца. Оставьте образец в ванне в течение определенного времени или 240 ч, если время не указано. Протрите поверхность образца, если на поверхности образца есть капли воды, а затем измерьте компоненты, указанные в его индивидуальной спецификации. Образец, поврежденный в данном испытании (например, механические повреждения, переувлажнение, искра или пробой), не должен использоваться в других испытаниях.
Применяйте напряжение постоянного тока (10 ± 1) В, (50 ± 5) В, (100 ± 10) В или (500 ± 50) В, в зависимости от конкретных требований в течение 1 мин, а затем измерьте сопротивление изоляции при приложении напряжения.
|
Элемент |
Характеристики |
Методы испытаний | ||||
|
Между выводами встроенных компонентов |
Сопротивление влажности (температура и влажностный цикл) |
Сопротивление должно быть больше следующих значений: |
См. 4.5.4 | |||
|
Минимальная толщина проводника или изоляционный зазор х, мм |
Сопротивление изоляции, Ом | |||||
|
0,02 ≤ х < 0,05 |
5·107 | |||||
|
0,05 ≤ х < 0,13 |
1·108 | |||||
|
0,13 ≤ х |
5·108 | |||||
4.6.1 Общие положения
Испытание на устойчивость к миграции позволяет измерить снижение сопротивления изоляции после приложения напряжения между проводящими слоями на плате при определенной температуре и влажности, чтобы вызвать перемещение ионов металлов в слой изоляции для уменьшения сопротивления изоляции. В таблице 17 показано сопротивление мигрирующим характеристикам и методам испытаний.
|
Компонент |
Характеристики |
Методы испытаний | |||
|
Встроенные компоненты и образцы |
Следующее значение должно быть достигнуто: |
См. 4.6.1.3 | |||
|
Компонент |
Требование | ||||
|
Антимиграция |
Не менее 1·108 | ||||
|
Измерение должно производиться после выдержки образца в течение 1 ч | |||||
Для проверки устойчивости к миграции рекомендуется следующее:
4.6.2 Оборудование
а) Структура испытательного оборудования:
- камера должна поддерживать скорость воздуха на выпускном отверстии для воздуха 2,5 м/с;
- необходимо обеспечить проверку температуры и влажности камеры с помощью детектора, установленного в чаше;
- отклонение температуры и влажности в эффективной зоне камеры должно составлять ± 2 °С и ± 3 % относительной влажности соответственно;
- материал камеры не должен влиять на образец и относительную влажность.
b) Условия для испытательного оборудования:
- должна быть предусмотрена возможность регулирования температуры и влажности в камере в заданном диапазоне;
- камера должна контролировать температуру и влажность;
- камера должна иметь систему дополнительной подачи увлажняющей воды непрерывно в камеру;
- конструкция камеры должна быть такой, чтобы вода не капала на образец;
- примеси или любые остатки предыдущих испытаний не должны оставаться в камере, чтобы повлиять на следующее испытание.
c) Производительность испытательного оборудования:
- камера должна иметь возможность периодически менять температуру от (25 ± 3) °С до указанной высокой температуры. Относительная влажность в камере должна проверяться с использованием испытательного оборудования, которое имеет определенную точность.
d) Оборудование для измерения сопротивления изоляции:
- прибор должен иметь возможность измерения сопротивления более 1010 Ом. Он должен иметь собственный источник питания и способность подавать желаемое испытательное напряжение или измерительное напряжение;
- измеритель сопротивления изоляции должен иметь возможность автоматически изменять свой диапазон. Сопротивление изоляции должно быть измерено после подачи в течение 1 мин измеряемого напряжения одного из указанных значений: (10 ± 1) В, (50 ± 5) В, (100 ± 10) В и (500 ± 50) В.
e) Тестер сопротивления изоляции:
- тестер сопротивления изоляции должен быть способен измерять сопротивление более 1010 Ом.
f) Электропитание:
- блок питания должен иметь соответствующую мощность и должен обеспечивать произвольное измерительное напряжение.
g) Материалы, зажимные приспособления, инструмент, предназначенный для измерения:
- электропроводные материалы и приспособления для крепления образцов должны быть чистыми и небольшими по теплопроводности и теплоемкости и термически изолированы друг от друга. Они должны выбираться из материалов, не влияющих на измерение, с учетом характеристик электрической изоляции, контактного сопротивления или загрязнения образца, например, путем образования окислительного газа. Кабели, используемые в испытательном оборудовании, должны быть долговечными для длительного использования в различных температурах, влажности или давлении.
4.6.3 Образец
Образец должен быть готовым продуктом или образцом с комплексной испытательной схемой, показанной на рисунках 1-27 IEC/TS 62878-2-4:2015. Плату образца следует переносить с помощью перчаток, чтобы не загрязнить. Число образцов должно быть либо следующим, либо по соглашению между заказчиком и поставщиком, которое имеет приоритет.
Число образцов на стадии их производства должно составлять n не менее 5 для продукта AABUS.
Число образцов на этапе серийного производства должно составлять n не менее 10 для продукта AABUS.
4.6.4 Условия испытания
Условия испытания должны быть следующими:
a) Нормальные условия
Измерение должно проводиться при температуре от 15 °С до 35 °С, относительной влажности от 25 % до 75 % и атмосферном давлении от 86 кПа до 106 кПа, если иное не указано в конкретных требованиях. Внешние условия измерения, приведенные в 4.6.4, b), должны использоваться, если имеются какие-либо вопросы о результате с использованием вышеуказанных нормальных условий или если имеются специальные требования. Можно измерять в условиях, отличных от нормальных, если реализация нормальных условий затруднительна или AABUS.
b) Оценочные условия
Оценочные условия должны проводиться при температуре (20 ± 2) °С, относительной влажности от 60 % до 70 % и атмосферном давлении от 86 кПа до 106 кПа.
c) Измерение вне ванны
Применимы условия, указанные в 4.6.4, а) и b).
Контроль поставки состоит из проверки качества всей продукции на основе этого стандарта. Рекомендуется испытать все продукты. Тем не менее отобранные образцы могут быть испытаны AABUS для выборочного обследования и подробностей испытаний. Испытываемые компоненты при поставке указаны ниже для плат со встроенными компонентами, как показано на рисунке 16.
Подробные данные приведены в таблице 18.

А - встроенный активный компонент; В - встроенный пассивный компонент; С - внутренний слой; D - внешний слой; Е - паяльная маска
Рисунок 16 - Плата со встроенными компонентами для контроля поставки
|
Класс |
Испытуемый элемент |
Диапазон испытаний | |||
|
Проводящий рисунок (цепь, связность, короткое замыкание) |
Проводящий рисунок, связанный с пассивным компонентом |
Проводящий рисунок, связанный с активным компонентом | |||
|
1 |
Электрическое испытание |
а) Выводы встроенных компонентов не подключены к цепи |
Как указано в 5.2.2 |
- |
- |
|
b) Выводы встроенных компонентов подключены к поверхностному проводящему рисунку |
- |
Как указано в 5.2.3.2, 5.2.3.3 и 5.2.3.4 |
Как указано в 5.2.4.2, 5.2.4.3 | ||
|
с) Встраиваемые выводы компонентов не соединены с контуром поверхности |
- |
Как указано в 5.2.6 | |||
|
2 |
Автоматический визуальный осмотр (AOI) |
Как указано в 5.4 | |||
|
3 |
Внутреннее наблюдение (рентгеновское испытание) |
Как указано в 5.3 | |||
|
4 |
Электрическое испытание |
NA |
Как указано в 5.2 |
NA | |
|
5 |
Функциональное испытание |
NA |
NA |
NA | |
Типичная конструкция печатной платы для электрического испытания приведена на рисунке 17. Методы испытаний делятся на три типа: а), b) и в), то есть проводимость, связность и короткое замыкание.
a) Испытание проводящего рисунка, не связанного со встроенным компонентом (рисунок 17, G).
b) Испытание соединения выводов компонентов, подключенных к проводящему рисунку (рисунок 17, Н, J).
c) Проверка соединения встроенного компонента, выводы которого не подключены к поверхностным проводникам (рисунок 17, K, L).

А - пассивный компонент; В - резистор; С - конденсатор; D - подключение к встроенному компоненту; Е - проводящий рисунок; F - контрольная точка для зонда; G - проводник, не подключенный к встроенному компоненту; Н - проводник, подключенный к пассивному компоненту; J - проводник, подключенный к активному компоненту; K, L - проводник и встроенный компонент, не припаянный к поверхности
Рисунок 17 - Типовая схема построения платы со встроенными компонентами
5.2.1 Общие положения
Испытания связности и короткого замыкания проводящего рисунка, не подключенного к встроенным компонентам, аналогичны общим электрическим испытаниям печатной платы. Электрические испытания для выводов встроенных пассивных компонентов и электрических испытаний проводящего рисунка проводятся по испытаниям наличия, связности и короткого замыкания цепи, включая выводы пассивных концевых компонентов. Испытания конструкции со встроенными активными компонентами должны выполняться после проверки схемы. Электрические испытания классифицируются следующим образом, как показано на рисунке 18:
- испытание проводимости, связности и короткого замыкания проводящего рисунка, который не подключен к встроенному компоненту;

А - подключение к встроенному компоненту; В - проводящий рисунок; С - контрольная точка зонда; D - резистор; Е - конденсатор; F - дроссель; G - интегральная схема, микросхема; Н - транзистор; J - диод
Рисунок 18 - Примеры уровней оценки электрического испытания
- испытание проводимости, связности и короткого замыкания проводящего рисунка, которое может быть выполнено из поверхностного слоя;
- испытание проводимости, связности и короткого замыкания проводящего рисунка, соединяющего выводы встроенных активных компонентов: ИС (интегральная схема), LSI (крупномасштабная интеграция), транзистор, диод.
5.2.2 Испытание проводящего рисунка, не подключенного к встроенному компоненту
Испытания проводящего рисунка, не подключенного к встроенному компоненту, как показано на рисунке 19, выполняются как электрические испытания для обычных электронных схем.

А - проводящий рисунок; В - контрольная точка зонда
Рисунок 19 - Конструкция схемы, не подключенной к встроенному компоненту
Чтобы выполнить проверку проводящего рисунка, не подключенного к встроенному компоненту, используют оборудование и выполняют действия в соответствии с перечислениями а) - с).
a) Оборудование
Оборудование, используемое в испытании, аналогично оборудованию, указанному ниже, и включает электрические соединительные приспособления для получения электрического соединения с определенной частью проводящего рисунка.
Оборудование должно быть способно проверить проводящий рисунок и сопротивление переходных отверстий методом падения напряжения. В случае если для измерения очень малого резистора требуется хорошая точность измерения, допускается использовать четырехполюсник AABUS.
Контрольный сигнал (напряжение или ток) должен быть сигналом постоянного тока или сигналом переменного тока менее 1 МГц.
Диапазон испытаний должен составлять от 1 мОм до 100 МОм. Значения должны быть AABUS.
Испытательное оборудование должно быть откалибровано перед испытаниями.
b) Предварительная подготовка
Рекомендуется промыть и почистить, а также удалить ржавчину и другие посторонние материалы в местах зон испытания проводящей цепи или рисунка, так как контактное сопротивление может привести к ошибочным измерениям.
c) Контроль и оценка
Полнота цепей схемы считается приемлемой, если измеренное сопротивление находится в пределах указанных значений, когда заданное напряжение и/или ток используют в определенной части проводящего рисунка. Отсутствие короткого замыкания подтверждается, если измеренное сопротивление между различными цепями превышает определенное минимальное сопротивление. Используемое напряжение, ток, время приложения сигнала, указанное сопротивление и минимально допустимое сопротивление должны быть AABUS.
5.2.3 Испытание на образце, имеющем пассивный компонент и проводящий рисунок
5.2.3.1 Общие положения
Испытания проводимости для встроенных пассивных компонентов меняются в зависимости от того, связаны ли соединения со встроенным компонентом, с рисунком поверхностного проводника или нет. Методы испытаний, определенные в данном стандарте для типовых случаев, которые приведены ниже. Проверка должна проводиться путем измерения сопротивления компонентов импеданса схемы с использованием сигнала постоянного тока или сигнала переменного тока частотой менее 1 МГц. Во время этой проверки не проводится никаких испытаний для встроенного компонента.
Испытание на наличие цепи включает доступные выводы встроенного пассивного компонента и подключенный проводящий рисунок на поверхности.
Испытание на наличие цепи включает доступные параллельные подключенные выводы встроенного пассивного компонента и подключенный проводящий рисунок на поверхности.
Испытание на наличие цепи включает набор выводов, которые невозможно испытать как встроенные пассивные компоненты и проводящий рисунок на поверхности.
5.2.3.2 Испытание цепи, имеющей как индивидуальный пассивный компонент (компоненты), так и проводящий рисунок
Данное испытание для подтверждения наличия цепи, связности и отсутствия короткого замыкания на плате со встроенным компонентом, как показано на рисунке 20, которая имеет соединения от встроенных компонентов (выводов) и отдельные или общие соединения с проводящим рисунком поверхности. Это испытание включает измерения сопротивления, индуктивности или емкости с использованием постоянного или переменного сигнала частотой менее 1 МГц. Эксплуатационные характеристики сопротивления, индуктивности или емкости встроенных компонентов не подтверждаются этим испытанием. Испытательный ток и напряжение находятся в пределах допустимых значений встроенных компонентов.

А - подключение к встроенному компоненту; В - проводящий рисунок; С - контрольная точка зонда; D - резистор; Е - дроссель; F - конденсатор
Примеры
1 Измерение между 1 и 2.
2 Измерение между 1 и 3.
3 Измерение между 2 и 3.
Рисунок 20 - Конструкция схемы, способная осуществлять независимую проверку
Для проведения испытания схемы, имеющей как отдельный пассивный компонент (компоненты), так и проводящий рисунок, используют оборудование и выполняют действия в соответствии с перечислениями а) - с).
a) Оборудование
Оборудование должно состоять из компонентов, эквивалентных описанным ниже, и содержать испытательные приспособления для получения электрических соединений с образцом.
Оборудование должно иметь возможность измерять сопротивление и полное сопротивление.
Сигнал испытания (напряжение или ток) должен быть постоянным или переменным сигналом с частотой менее 1 МГц.
Диапазон измерения сопротивления составляет от 1 мОм до 100 МОм. Однако значения, согласованные между заказчиком и поставщиком, имеют приоритет.
Испытательное оборудование должно быть откалибровано перед испытаниями.
b) Предварительная подготовка
Предварительная подготовка должна соответствовать 5.2.3.2, b).
c) Оценка и контроль
Полнота цепей схемы считается приемлемой, если измеренное сопротивление находится в пределах указанных значений, а согласованное напряжение и/или ток используют для указанной части проводящего рисунка. Отсутствие короткого замыкания подтверждается, если измеренное сопротивление между различными цепями превышает определенное минимальное сопротивление. Используемое напряжение, ток, время приложения сигнала, указанное сопротивление и минимально допустимое сопротивление должны быть AABUS.
5.2.3.3 Испытание схемы с пассивным компонентом (компонентами) и проводящим рисунком в параллельных соединениях
Схема, параллельные соединения встроенных пассивных компонентов с поверхностным рисунком, как показано на рисунке 21, не может проверить конкретный компонент и проводящий рисунок. Наличие цепей, их связность и отсутствие короткого замыкания цепи должны быть подтверждены путем измерения составного сопротивления или составного сопротивления схемы резисторов, катушек индуктивности и конденсаторов схемы путем применения постоянного или переменного сигнала с частотой менее 1 МГц. Приложенный сигнал для испытания должен быть в пределах номинального значения встроенных компонентов.

А - подключение к встроенному компоненту; В - проводящий рисунок; С - измерительный зонд; D - резистор; Е - дроссель; F - конденсатор
Пример - Измерения между 1 и 2.
Рисунок 21 - Конструкция схемы для параллельного соединения пассивных компонентов
Чтобы испытать схему, имеющую как параллельное соединение пассивных компонентов, так и проводящий рисунок, используют оборудование и выполняют действия в соответствии с перечислениями а) - с).
a) Оборудование
Оборудование должно состоять из компонента, эквивалентного описанным ниже, и включать испытательные приспособления для получения электрических соединений с образцом.
Оборудование должно иметь возможность измерять составное сопротивление и полное сопротивление.
Сигнал испытания (напряжение или ток) должен быть постоянным или переменным сигналом с частотой менее 1 МГц.
Диапазон измерения сопротивления составляет от 1 мОм до 100 МОм. Однако значения, согласованные между заказчиком и поставщиком, имеют приоритет.
Испытательное оборудование должно быть откалибровано перед испытаниями.
b) Предварительная подготовка
Предварительная подготовка должна соответствовать 5.2.2, b).
c) Контроль и оценка
Полнота цепей схемы считается приемлемой, если составной импеданс цепи, включая резистор (резисторы), индуктор (индукторы) и конденсатор (конденсаторы), находится в пределах указанных значений, когда согласованное напряжение и/или ток используют для указанной части проводящего рисунка. Отсутствие короткого замыкания подтверждается, если измеренное сопротивление между различными цепями превышает определенное минимальное сопротивление. Используемое напряжение, ток, время приложения сигнала, указанное сопротивление и минимально допустимое сопротивление должны быть AABUS.
5.2.3.4 Испытание цепи, имеющей как пассивный компонент (компоненты) с последовательным соединением, так и проводящий рисунок
В схеме, чьи выводные соединения встроенных пассивных компонентов последовательно соединены с поверхностным рисунком, как показано на рисунке 22, невозможно проверить отдельный компонент и проводящий рисунок. Соединения, связность и отсутствие короткого замыкания цепи должны быть подтверждены путем измерения составного импеданса или составного сопротивления комплексной схемы резисторов, дросселей и конденсаторов путем применения постоянного или переменного сигнала с частотой менее 1 МГц. Приложенный сигнал для испытания должен быть в пределах допустимого значения для встроенного компонента.

А - подключение к встроенному компоненту; В - проводящий рисунок; С - измерительный зонд; D - резистор; Е - дроссель; F - конденсатор
Пример - Измерения между 1 и 2.
Рисунок 22 - Конструкция схемы для последовательного соединения пассивных компонентов
5.2.4 Испытание цепи, содержащей как активный компонент (компоненты), так и проводящий рисунок
5.2.4.1 Общие положения
Сложно стандартизировать метод испытаний схемы, состоящей из различных типов активных компонентов и схемы, состоящей из различных типов пассивных компонентов и проводящего рисунка. Метод испытаний представлен в этом стандарте для встроенного диода в качестве руководства. Это испытание приведено в качестве примера, поскольку он может быть выполнен довольно просто в производстве для испытания наличия цепей, их связности или отсутствия короткого замыкания цепи, имеющей соединения с выводами встроенного активного компонента и проводящего рисунка, выходящего на поверхность платы.
5.2.4.2 Испытание цепи, содержащей как отдельные активные компоненты (компоненты), так и проводящий рисунок
Испытание конкретного встроенного активного устройства, такого как диод или транзистор, который имеет выводы, соединенные с поверхностным проводящим рисунком, как показано на рисунках 23 и 24. Испытание может быть выполнено для подтверждения наличия цепи, связности и отсутствия короткого замыкания встроенных компонентов и проводящего рисунка путем подачи постоянного тока.
Характеристики встроенного диода или транзистора не измеряются. Сигнал, применяемый для испытания, должен находиться в пределах допустимого значения встроенных компонентов.
|
А - подключение к встроенному компоненту; В - проводящий рисунок; С - измерительный зонд; G - диод Пример - Измерение между 2 и 1. Рисунок 23 - Конструкционная схема встроенного диода |
А - подключение к встроенному компоненту; В - проводящий рисунок; С - измерительный зонд; Н - транзистор Примеры 1 Измерение между 2 и 1. 2 Измерение между 2 и 3. Рисунок 24 - Конструкционная схема встроенного транзистора |
Для проведения проверки цепи, имеющей как отдельные активные компоненты (компоненты), так и проводящий рисунок, используют оборудование и выполняют действия в соответствии с перечислениями а) - с).
a) Оборудование
Оборудование должно состоять из компонента, аналогичного одному из описанных ниже, и включать в себя испытательные приспособления для получения электрических соединений с образцом.
Оборудование должно обеспечивать постоянный ток и измерять напряжение.
Сигнал испытания (напряжение или ток) должен быть постоянным и от 0 до 1 В.
Диапазон измерения сопротивления составляет от 0 до 1 В. Однако значения, согласованные между пользователем и держателем, имеют приоритет.
Испытательное оборудование должно быть откалибровано перед испытаниями.
b) Предварительная подготовка
Предварительная подготовка должна соответствовать 5.2.2, b).
c) Оценка и контроль
Полнота цепей схемы считается приемлемой, если измеренное напряжение находится в пределах указанных значений, когда указанное напряжение и/или ток подаются на определенную часть диода или транзистора и проводящий рисунок. Отсутствие короткого замыкания подтверждается, если измеренное сопротивление между различными цепями превышает определенное минимальное сопротивление. Используемое напряжение, ток, время приложения сигнала, указанное сопротивление и минимально допустимое сопротивление должны быть AABUS.
5.2.4.3 Испытание схемы с IС, LSI и проводящим рисунком
Испытание отдельного встроенного активного компонента, такого как IС или LSI, имеющего соединение выводов с рисунком поверхностного проводящего рисунка, как показано на рисунке 25, может быть выполнено для оценки полноты цепей, связности и отсутствия короткого замыкания встроенного компонента и проводящего рисунка, путем измерения напряжения на компоненте, подающего постоянный ток во встроенный диод. Характеристики встроенной IС или LSI не измеряются. Приложенный сигнал для испытания должен быть в пределах допустимого значения встроенных компонентов.
Для того чтобы выполнить контроль схемы со встроенной IС, LSI и проводящим рисунком, используют оборудование и выполняют действия в соответствии с перечислениями а) - с).
a) Оборудование
Оборудование должно соответствовать 5.2.4.2, а).
b) Предварительная подготовка
Предварительная подготовка должна соответствовать 5.2.2, b).
c) Оценка и контроль
Полнота цепей схемы, содержащей встроенные IС и LSI, считается приемлемой, если измеренное напряжение находится в пределах указанных значений, когда указанные напряжение и/или ток подаются на определенную часть схемы и проводящий рисунок Отсутствие короткого замыкания подтверждается, если измеренное сопротивление между различными цепями превышает определенное минимальное сопротивление. Используемое напряжение, ток, время приложения сигнала, указанное сопротивление и минимально допустимое сопротивление должны быть AABUS.

А - подключение к встроенному компоненту; В - проводящий рисунок; С - контрольная точка зонда; J - микросхема (IС), большая микросхема (LSI)
Примеры
1 Измерение между 1 и 4.
2 Измерение между 2 и 3.
3 Измерение между 3 и 4.
Рисунок 25 - Конструкционная схема проводящего рисунка со встроенными IС и LSI
5.2.5 Испытание цепи, имеющей соединения с отдельным пассивным компонентом (компонентами), активным компонентом и с проводящим рисунком
Испытание отдельного встроенного активного устройства, такого как выводные IС или LSI, имеющие соединения с рисунком поверхностного проводящего рисунка через пассивный компонент, как показано на рисунке 26, может быть выполнено для оценки полноты цепей, связности и отсутствия короткого замыкания встроенного компонента и проводящего рисунка путем измерения напряжения на компоненте при подаче постоянного тока или переменного тока частотой менее 1 МГц на встроенную IС или LSI. Характеристики встроенных IС или LSI не измеряются. Приложенный сигнал для испытания должен быть в пределах допустимого значения встроенных компонентов.

А - подключение к встроенному компоненту; В - проводящий рисунок; С - контрольная точка зонда; D - резистор; Е - дроссель; F - конденсатор; G - микросхема (IС), большая микросхема (LSI)
Примеры
Измерение между 1 и 2.
Измерение между 1 и 3.
Измерение между 2 и 3.
Рисунок 26 - Конструкционная схема, объединяющая пассивные и активный компонент
Для проверки схемы, имеющей соединения, как отдельного пассивного компонента (компонентов), так и проводящего рисунка, используют оборудование и выполняют действия в соответствии с перечислениями а) - с).
a) Оборудование
Оборудование должно соответствовать 5.2.4.2, а).
b) Предварительная обработка
Предварительная обработка должна соответствовать 5.2.2, b).
с) Оценка и контроль
Полнота цепей схемы, содержащей встроенные IС и LSI, считается приемлемой, если измеренное напряжение находится в пределах указанных значений, когда указанное напряжение и/или ток подаются на определенную часть схемы и проводящий рисунок. Отсутствие короткого замыкания подтверждается, если измеренное сопротивление между различными цепями превышает определенное минимальное сопротивление. Используемое напряжение, ток, время приложения сигнала, указанное сопротивление и минимально допустимое сопротивление должны быть AABUS.
5.2.6 Испытание схемы, содержащей встроенный компонент, который не может быть проверен с поверхности и проводящего рисунка
Гарантия качества встроенной структуры, которая не может быть проверена с поверхности, как показано на рисунке 27, должна быть AABUS.

А - подключение к встроенному компоненту; В - проводящий рисунок; D - резистор; Е - дроссель; F - конденсатор; G - IС, LSI
Рисунок 27 - Конструкционная схема встроенных компонентов, не имеющих соединительных выводов на поверхность
Плата со встроенными компонентами содержит встроенные компоненты внутри платы и не может наблюдаться снаружи. Состояние встроенного компонента можно проверить с помощью рентгеновского снимка, который позволяет посмотреть внутреннюю часть платы. Рентгеновское испытание требует значительной работы. Использование рентгеновского контроля должно быть AABUS. Рентгеновский контроль может быть использован как одно из испытаний на надежность продукта.
Для выполнения испытания на внутреннее просвечивание используют оборудование и выполняют действия в соответствии с перечислениями а) - с).
a) Оборудование
Оборудование должно быть рентгеновским контрольным оборудованием, которое может проверять внутренность образца с помощью рентгеновских лучей.
b) Предварительная подготовка
Предварительная подготовка должна соответствовать 5.2.2, b).
c) Оценка и контроль
Испытательное оборудование и метод испытаний должны быть AABUS. Оценка результата испытания должна соответствовать индивидуальным требованиям.
Внешний вид платы со встроенными компонентами выглядит точно так же, как и обычная электронная плата, поскольку встроенные компоненты встроены в плату и не могут наблюдаться снаружи. Визуальный осмотр платы со встроенными компонентами похож на визуальный осмотр обычной печатной платы. Метод визуальных испытаний должен быть AABUS. Описанный в данном документе метод является ориентиром и не должен использоваться в качестве стандарта.
Чтобы выполнить визуальное испытание, используют оборудование и выполняют действия в соответствии с перечислениями а) - с).
a) Оборудование
Оборудование рекомендуется в соответствии одному из следующих двух описаний:
- осмотр невооруженным глазом с помощью увеличительного стекла или микроскопа;
- AOI (автоматический оптический контроль).
b) Предварительная подготовка
Подготовка поверхности должна проводиться в соответствии с конкретными требованиями.
c) Оценка и контроль
Испытательное оборудование и метод испытаний должны быть AABUS. Оценка результата испытания должна соответствовать индивидуальным требованиям.
Приложение А
(справочное)
В таблице А.1 перечислены соответствующие стандарты методов испытаний.
|
Испытание |
Наименование испытания и оборудования |
МЭК |
ИСО |
|
Методы испытаний электрических материалов, печатных плат и других структур межсоединений и печатных узлов. Часть 2. Методы испытаний материалов для структур межсоединений |
МЭК 61189-2 | ||
|
Методы испытаний электрических материалов, печатных плат и других структур межсоединений и печатных узлов. Часть 3. Методы испытаний материалов для структур межсоединений (печатных плат) |
МЭК 61189-3 | ||
|
Окружающая среда |
Испытания на воздействие внешних факторов. Часть 1. Общие положения и руководство |
МЭК 60068-1 | |
|
Методы испытаний электрических материалов, печатных плат и других структур межсоединений и печатных узлов. Часть 1. Основные методы испытаний и методология |
МЭК 61189-1 | ||
|
Условия испытания и окружающая среда для пластмасс |
ИСО 291 | ||
|
Визуальный контроль и микрошлифы |
МЭК 61198-3 | ||
|
Размеры |
МЭК 61189-3 | ||
|
Венировский датчик |
ИСО 6906 | ||
|
ИСО 3599 | |||
|
Микрометр |
ИСО 3611 | ||
|
Высотомер |
- |
- | |
|
Прецизионная пластина |
ИСО 8512-1 | ||
|
ИСО 8512-2 | |||
|
Измеритель зазоров |
- |
- | |
|
Электрические испытания |
МЭК 61189-3 | ||
|
Сопротивление проводника |
МЭК 61189-3 |
3Е12 | |
|
Допустимая токовая нагрузка |
МЭК 61189-3 |
3Е15 | |
|
Электрическая прочность |
МЭК 61189-3 |
3Е09, 3Е10 | |
|
Сетевое напряжение |
МЭК 61189-3 |
3Е09, 3Е10 | |
|
Постоянное напряжение |
МЭК 61189-3 |
3Е09, 3Е10 | |
|
Сопротивление изоляции |
МЭК 61189-3 |
3Е03 по поверхности | |
|
3Е05 между слоями | |||
|
Короткое замыкание |
МЭК 61189-3 |
3Е01, изоляция | |
|
Целостность цепи |
МЭК 61189-3 |
3Е02 | |
|
Механические испытания |
МЭК 61189-3 | ||
|
Прочность на отрыв контактной площадки |
МЭК 61189-3 |
3М01 нормальная атмосфера | |
|
Прочность на отрыв контактной площадки без отверстия |
МЭК 61189-3 |
3М07 | |
|
Прочность на отрыв монтажной контактной площадки с металлизированным отверстием |
МЭК 61189-3 |
3М03 | |
|
Прочность на отрыв контактной площадки посадочного места без металлизации отверстия |
МЭК 61189-3 |
3М07 | |
|
Адгезия металлизации |
МЭК 61189-3 |
3М01 | |
|
Прочность на отслаивание |
МЭК 61189-3 |
3М01 |
- |
|
Клейкая лента и лист |
МЭК 61189-3 |
- |
ИСО 29862 |
|
ИСО 29863 | |||
|
ИСО 29864 | |||
|
Адгезия паяльной маски и маркировки |
МЭК 61189-3 |
3М01 | |
|
Испытание с поперечным разрезом |
МЭК 61189-3 |
МЭК 61189-3 |
ИСО 2409 |
|
Прочность на отслаивание Клейкая лента и лист |
МЭК 61189-3 |
- | |
|
- |
ИСО 29862 | ||
|
ИСО 29863 | |||
|
ИСО 29864 | |||
|
Нож для резки углеродистой стали |
ИСО 4957 | ||
|
Твердость покрытия (паяльная маска и маркировка) |
МЭК 61189-3 |
3М01 | |
|
Испытание краски общее (твердость царапания) |
ИСО 15184 | ||
|
Карандаш, использование цветного и графитного |
ИСО 9180 | ||
|
Шлифовальная бумага |
ИСО 3366 ИСО 21948 | ||
|
Экологические испытания |
МЭК 61189-3 | ||
|
Высокая температура |
Экологические испытания - МЭК 60068-2-2 Испытание В. Сухое тепло |
МЭК 60068-2-2 | |
|
Низкая температура |
МЭК 60068-2-1 Испытание А. Холод |
МЭК 60068-2-1 | |
|
Тепловой удар (высокая и низкая температура) |
МЭК 61189-3 |
От 3N01 до 3N05 | |
|
МЭК 60068-2-14 Испытание N. Изменение температуры |
МЭК 60068-2-14 | ||
|
МЭК 60068-2-30 Испытание Db. Влажное тепло циклично (цикл 12 час + 12 час) |
МЭК 60068-2-30 | ||
|
МЭК 60068-2-38 Испытание Z/AD. Совмещенное температурное/влажное циклическое испытание |
МЭК 60068-2-38 | ||
|
Устойчивость к влажности |
МЭК 61189-3 |
3N06 | |
|
МЭК 60068-2-78 Испытание Cab. Влажное тепло, устойчивое состояние |
МЭК 60068-2-78 | ||
|
Миграция |
МЭК/ТО 62866 |
3Е20 | |
|
МЭК 60068-2-66 Испытание Сх: влажное тепло, устойчивое состояние (ненасыщенный пар под давлением) |
МЭК 60068-2-66 | ||
|
Флюс для пайки |
ИСО 9455 | ||
|
Вибрация |
МЭК 60068-2-53 Испытания и рекомендации. Совмещенные климатические (температурные/влажностные) и динамические |
МЭК 60068-2-53 | |
|
МЭК 60068-2-6 Испытание Fc. Вибрация (синусоидальная) |
МЭК 60068-2-6 | ||
|
МЭК 60068-2-64 Испытание Fh. Вибрация, широкополосное случайное и руководство |
МЭК 60068-2-64 | ||
|
МЭК 60068-2-80: Испытание: вибрация - смешанный режим |
МЭК 60068-2-80 | ||
|
Испытание на ударную нагрузку |
Технология поверхностного монтажа - Методы испытаний на устойчивость и выносливость для поверхностного монтажа припоя МЭК 62137-1-3 Циклическое испытание на падение |
МЭК 62137-1-3 | |
|
Изгиб |
МЭК 62137-1-4 Испытание на циклический изгиб |
МЭК 62137-1-4 | |
|
Скручивание |
МЭК 60068-2-21 Испытание U. Прочность торцов и встроенных монтажных устройств |
МЭК 60068-2-21 | |
|
Химические испытания |
МЭК 61189-3 | ||
|
Воспламеняемость |
МЭК 61189-3 |
3С03 (подлежит пересмотру) | |
|
Сопротивление химическим веществам |
МЭК 61189-3 |
3С04 | |
|
Паяемость |
МЭК 60068-2-58 Испытание Td. Методы испытаний на паяемость, стойкость к растворению металлизации и теплу пайки поверхностно монтируемых устройств |
МЭК 60068-2-58 | |
|
Материалы для монтажа электронных узлов. Часть 1-1. Требования к паяльным флюсам для высококачественных соединений в электронных сборках |
ИСО 9453 | ||
|
ИСО 9454-1 | |||
|
ИСО 9445-1 | |||
|
МЭК 61190-1-2 Требования к паяльным пастам |
МЭК 61190-1-2 | ||
|
МЭК 61190-1-3 Требования к сплавам припоя электронной чистоты и припою с флюсом и без флюса |
МЭК 61190-1-3 | ||
|
МЭК 61189-11 Измерение температуры плавления и температурных диапазонов плавления припоя |
МЭК 61189-11 | ||
|
Канифоль |
- |
- | |
|
Пропанол |
ИСО 6353-3 | ||
|
Этиловый спирт |
ИСО 6353-2 | ||
|
Устойчивость к теплу пайки |
МЭК 60068-2-20 Испытание Т: Методы испытаний на паяемость и сопротивление теплу пайки устройствами с выводами |
МЭК 60068-2-20 | |
|
Устойчивость к теплу пайки |
МЭК 60068-2-58 Испытание Td: Методы испытаний на паяемость, стойкость к растворению металлизации и теплу пайки поверхностно монтируемых устройств (SMD) |
МЭК 60068-2-58 | |
|
МЭК 60068-2-20 Испытание Т: Методы испытаний на паяемость и сопротивление теплу пайки устройствами с выводами |
МЭК 60068-2-20 | ||
|
Тепловое сопротивление паяльной маски и маркировки |
МЭК 61189-3 |
МЭК 61189-3 | |
Приложение ДА
(справочное)
Таблица ДА.1
|
Обозначение ссылочного международного стандарта |
Степень соответствия |
Обозначение и наименование соответствующего национального стандарта |
|
IEC 60068-2-1 |
IDT |
ГОСТ Р МЭК 60068-2-1-2009 "Испытания на воздействие внешних факторов. Часть 2-1. Испытания. Испытание А: Холод" |
|
IEC 60068-2-2 |
IDT |
ГОСТ Р МЭК 60068-2-2-2009 "Испытания на воздействие внешних факторов. Часть 2-2. Испытания. Испытание В: Сухое тепло" |
|
IEC 60194 |
- |
* |
|
IEC 61189-3 |
IDT |
ГОСТ IEC 61189-3-2013 "Методы испытаний электрических материалов, печатных плат и других структур межсоединений и печатных узлов. Часть 3. Методы испытаний материалов для структур межсоединений" |
|
IEC TS 62878-2-4:2015 |
- |
* |
|
* Соответствующий национальный стандарт отсутствует. До его принятия рекомендуется использовать перевод на русский язык данного международного стандарта. Примечание - В настоящей таблице использовано следующее условное обозначение степени соответствия стандартов: - IDT - идентичные стандарты. | ||
Библиография
IEC 60068-1, Environmental testing - Part 1: General and guidance
IEC 60068-2-6, Environmental testing - Part 2-6: Tests - Test Fc: Vibration (sinusoidal)
IEC 60068-2-14, Environmental testing - Part 2-14: Test N: Change of temperature
IEC 60068-2-20, Environmental testing - Part 2-20: Tests - Test T: Test methods for solderability and resistance to soldering heat of devices with leads
IEC 60068-2-21, Environmental testing - Part 2-21: Tests - Test U: Robustness of terminations and integral mounting devices
IEC 60068-2-30, Environmental testing - Part 2-30: Tests - Test Db: Damp heat, cyclic (12 h + 12 h cycle)
IEC 60068-2-38, Environmental testing - Part 2-38: Tests - Test Z/AD: Composite temperature/humidity cyclic test
IEC 60068-2-53, Environmental testing - Part 2-53: Tests and guidance - Combined climatic (temperature/humidity) and dynamic (vibration/shock) tests
IEC 60068-2-58, Environmental testing - Part 2-58: Tests - Test Td: Test methods for solderability resistance to dissolution of metallization and to soldering heat of surface mounting devices (SMD)
IEC 60068-2-64, Environmental testing - Part 2-64: Tests - Test Fh: Vibration, broadband random and guidance
IEC 60068-2-66, Environmental testing - Part 2-66: Test methods - Test Cx: Damp heat, steady state (unsaturated pressurized vapour)
IEC 60068-2-78, Environmental testing - Part 2-78: Tests - Test Cab: Damp heat, steady state
IEC 60068-2-80, Environmental testing - Part 2-80: Tests - Test Fi: Vibration - Mixed mode
IEC 61189-1, Test methods for electrical materials, interconnection structures and assemblies - Part 1: General test methods and methodology
IEC 61189-2, Test methods for electrical materials, printed boards and other interconnection structures and assemblies - Part 2: Test methods for materials for interconnection structures
IEC 61189-11, Test methods for electrical materials, printed boards and other interconnection structures and assemblies - Part 11: Measurement of melting temperature or melting temperature ranges of solder alloys
IEC 61190-1-2, Attachment materials for electronic assembly - Part 1-2: Requirements for soldering pastes for high-quality interconnects in electronics assembly
IEC 61190-1-3, Attachment materials for electronic assembly - Part 1-3: Requirements for electronic grade solder alloys and fluxed and non-fluxed solid solders for electronic soldering applications
IEC 62137-1-2, Surface mounting technology - Environmental and endurance test methods for surface mount solder joint - Part 1-2: Shear strength test
IEC 62137-1-3, Surface mounting technology - Environmental and endurance test methods for surface mount solder joint - Part 1-3: Cyclic drop test
IEC 62421, Electronics assembly technology - Electronic modules
IEC TR 62866, Electrochemical migration in printed wiring boards and assemblies - Mechanisms and testing
IEC TS 62878-2-1, Device embedded substrate - Part 2-1: Guidelines - General description of technology
IEC TS 62878-2-3, Device embedded substrate - Part 2-3: Guidelines - Design guide
ISO 291, Plastics - Standard atmospheres for conditioning and testing
ISO 2409, Paints and varnishes - Cross-cut test
ISO 3366, Coated abrasives - Abrasive rolls
ISO 3599, Vernier callipers reading to 0,1 and 0,05 mm (withdrawn)
ISO 3611, Geometrical product specifications (GPS) - Dimensional measuring equipment: Micrometers for external measurements - Design and metrological characteristics
ISO 4957, Tool steels
ISO 6353-2, Reagents for chemical analysis - Part 2: Specifications - First series
ISO 6353-3, Reagents for chemical analysis - Part 3: Specifications - Second series
ISO 6906, Vernier callipers reading to 0,02 mm (withdrawn)
ISO 8512-1, Surface plates - Part 1: Cast iron
ISO 8512-2, Surface plates - Part 2: Granite
ISO 9180, Black leads for wood-cased pencils - Classification and diameters
ISO 9445-1, Continuously cold-rolled stainless steel - Tolerances on dimensions and form - Part 1: Narrow strip and cut lengths
ISO 9453, Soft solder alloys - Chemical compositions and forms
ISO 9454-1, Soft soldering fluxes - Classification and requirements - Part 1: Classification, labelling and packaging
ISO 9455 (all parts), Soft soldering fluxes - Test methods
ISO 15184, Paints and varnishes - Determination of film hardness by pencil test
ISO 21948, Coated abrasives - Plain sheets
ISO 29862, Self adhesive tapes - Determination of peel adhesion properties
ISO 29863, Self adhesive tapes - Measurement of static shear adhesion
ISO 29864, Self adhesive tapes - Measurement of breaking strength and elongation at break




