Приказ от 19.12.2014 г. № 581 МЕТОДИЧЕСКИЕ РЕКОМЕНДАЦИИ ПО ПОРЯДКУ ПРИМЕНЕНИЯ ПЛОМБ ПРИ НАДЗОРЕ ЗА УЧЕТОМ И КОНТРОЛЕМ ЯДЕРНЫХ МАТЕРИАЛОВ, РАДИОАКТИВНЫХ ВЕЩЕСТВ И РАДИОАКТИВНЫХ ОТХОДОВ
В целях реализации полномочий, установленных Положением о Федеральной службе по экологическому, технологическому и атомному надзору, утвержденным постановлением Правительства Российской Федерации от 30 июля 2004 г. N 401, приказываю:
1. Утвердить прилагаемые Методические рекомендации по порядку применения пломб при надзоре за учетом и контролем ядерных материалов, радиоактивных веществ и радиоактивных отходов.
2. Признать утратившим силу приказ Ростехнадзора от 4 июня 2014 г. N 239 "Об утверждении Методических рекомендаций по порядку применения пломб при надзоре за учетом и контролем ядерных материалов, радиоактивных веществ и радиоактивных отходов".
3. Контроль за исполнением настоящего приказа возложить на заместителя руководителя А.В. Ферапонтова.
|
Руководитель |
А.В. Алёшин |
1. Методические рекомендации по порядку применения пломб при надзоре за учетом и контролем ядерных материалов, радиоактивных веществ и радиоактивных отходов (далее - Методические рекомендации) разработаны в развитие Административного регламента по исполнению Федеральной службой по экологическому, технологическому и атомному надзору государственной функции по осуществлению контроля и надзора за физической защитой ядерных установок, радиационных источников, пунктов хранения, ядерных материалов и радиоактивных веществ, за системами единого государственного учета и контроля ядерных материалов, радиоактивных веществ, радиоактивных отходов, утвержденного приказом Ростехнадзора от 15 декабря 2011 г. N 703, и с учетом статьи 19.2 Кодекса Российской Федерации об административных правонарушениях.
2. Методические рекомендации содержат описание рекомендуемого порядка обращения с пломбами Федеральной службы по экологическому, технологическому и атомному надзору (далее - пломбы) при надзоре за учетом и контролем ядерных материалов, радиоактивных веществ и радиоактивных отходов (далее - ЯМ, РВ и РАО соответственно), а также рекомендуемые образцы, порядок ведения (заполнения) структурным подразделением центрального аппарата Ростехнадзора, в ведении которого находится организация надзора за учетом и контролем ядерных материалов, радиоактивных веществ и радиоактивных отходов (далее - отраслевое управление центрального аппарата) и межрегиональными территориальными управлениями по надзору за ядерной и радиационной безопасностью Ростехнадзора (далее - МТУ ЯРБ Ростехнадзора) учетных и отчетных документов (баз данных), связанных с получением, хранением, передачей, установкой, контролем состояния, снятием, заменой, утилизацией пломб, устанавливаемых на контейнеры и хранилища с ЯМ, РВ и РАО.
3. Методические рекомендации предназначены для обязательного применения должностными лицами Ростехнадзора, на которых возлагается организация применения и непосредственное использование пломб при надзоре за учетом и контролем ЯМ, РВ и РАО.
4. Используемые в Методических рекомендациях термины и их определения приведены в приложении N 1 к настоящим Методическим рекомендациям.
5. Пломбы могут устанавливаться должностными лицами Ростехнадзора для реализации следующих целей:
повышение результативности выявления аномалий в учете и контроле ЯМ, нарушений в учете и контроле РВ и РАО и предотвращение предпосылок к данным нарушениям и аномалиям;
достижение объективности при осуществлении надзора;
снижение трудозатрат, связанных с проведением инспекционных измерений, за счет снижения их количества в случае использования пломб.
6. При применении пломб в рамках надзора за учетом и контролем ЯМ, РВ и РАО следует руководствоваться принципом, устанавливающим, что создание необоснованных препятствий деятельности проверяемой организации является недопустимым.
7. При осуществлении надзора за учетом и контролем ЯМ, РВ и РАО пломбы применяются в ходе проведения проверок ЯМ, РВ и РАО для исключения возможности неконтролируемого и несанкционированного доступа к объектам пломбирования.
Объектами пломбирования являются:
контейнеры с ЯМ, РВ и РАО, подлежащими инспекционным проверкам или измерениям;
помещения и хранилища с ЯМ, РВ и РАО при проверке проведения физической инвентаризации ЯМ, инвентаризации РВ и РАО, проверке наличия ЯМ, РВ и РАО в местах их нахождения на время перерывов проводимых работ;
помещения, хранилища и/или контейнеры с ЯМ, РВ и РАО при обнаружении аномалий (нарушений) в учете и контроле в целях обеспечения дальнейшего надзора со стороны должностных лиц Ростехнадзора за проводимым расследованием должностными лицами организаций причин выявленных аномалий (нарушений);
помещения, хранилища, сейфы и/или контейнеры с ЯМ, РВ и РАО в случае приостановки или прекращения действия лицензий организации;
используемые в инспекционных целях приборы неразрушающего контроля, эталонные образцы, образцы проб ядерных материалов и средства наблюдения (в том числе с носителями видеоинформации).
8. При применении пломб при надзоре за учетом и контролем ЯМ, РВ и РАО следует учитывать, что в зависимости от конкретных целей и условий:
пломбы могут устанавливаться на объекты пломбирования как до, так и после инспекционных измерений ЯМ, РВ и РАО, проводимых должностными лицами Ростехнадзора;
пломбы могут устанавливаться должностными лицами Ростехнадзора на объектах пломбирования вне зависимости от применения пломб проверяемых организаций на выбранных объектах пломбирования.
9. Описание некоторых видов используемых пломб и технология их применения должностными лицами Ростехнадзора приведены в техническом руководстве по применению пломб при надзоре за учетом и контролем (далее - Техническое руководство) (приложение N 2 к настоящим Методическим рекомендациям). Используемые на объектах пломбирования пломбы должны соответствовать национальным стандартам.
10. Основные мероприятия, связанные с применением пломб в целях надзора за учетом и контролем ЯМ, РВ и РАО.
10.1. В структурных подразделениях МТУ ЯРБ Ростехнадзора осуществляется:
выбор типа (типов) пломб и согласование при необходимости с поднадзорной организацией по условиям их безопасного применения;
формирование заявки на поставку пломб и направление ее в МТУ ЯРБ Ростехнадзора (приложение N 3 к настоящим Методическим рекомендациям);
получение пломб из МТУ ЯРБ Ростехнадзора, постановка на учет, учет неиспользованных и использованных пломб, регистрация установки, контроля состояния и снятия пломб;
непосредственное применение пломб в надзорной деятельности (установка, эксплуатационный контроль и снятие);
списание с учета использованных пломб, подлежащих утилизации, и их утилизация (повреждение пломб, делающее дальнейшее их использование невозможным);
представление в установленные сроки в МТУ ЯРБ Ростехнадзора сведений о применении, наличии и движении пломб.
10.2. В МТУ ЯРБ Ростехнадзора осуществляется:
составление сводной заявки на основании заявок структурных подразделений;
закупка, получение пломб от производителя, их входной контроль и постановка на учет;
распределение пломб между структурными подразделениями;
утилизация пломб, непригодных к применению по результатам входного контроля или в результате повреждения в ходе проверки;
учет применения пломб структурными подразделениями;
представление в установленные сроки сведений о применении пломб в отраслевое управление центрального аппарата Ростехнадзора.
10.3. В отраслевом управлении центрального аппарата Ростехнадзора осуществляется:
анализ результатов применения пломб в МТУ ЯРБ Ростехнадзора;
методическое руководство применением пломб при надзоре за системами учета и контроля ЯМ, РВ и РАО.
11. Входной контроль пломб рекомендуется проводить с целью приемки и регистрации пломб, определения возможности их применения по назначению в соответствии с технической документацией. Эксплуатационный контроль пломб проводится с целью определения правильности их установки, исправности и целостности, возможности их дальнейшей эксплуатации на объекте пломбирования, обнаружения и фиксации видимых следов несанкционированных воздействий или повреждений. При проведении эксплуатационного контроля ответственные лица, получившие пломбы для установки в ходе проверки, обязаны убедиться в том, что количество, типы, идентификаторы и состояние пломб по окончании проверки соответствуют записям, сделанным в учетных документах в ходе проверки. Порядок проведения входного и эксплуатационного контроля пломб приведен в Техническом руководстве.
12. В случае несанкционированного удаления пломбы Ростехнадзора с объекта пломбирования, выявления фактов повреждения пломбы или несанкционированного доступа к содержимому объекта рекомендуется провести расследование с привлечением специалистов проверяемой организации, а при наличии организации, имеющей лицензию на право проведения экспертизы и аккредитацию в области пломбировочных устройств, рекомендуется провести экспертный контроль пломб. Данный вид контроля пломб может проводиться в целях установления их подлинности, выявления, описания и фиксации следов несанкционированных воздействий, определения фактов вскрытия и повторной установки пломб, подтверждения их характеристик, установленных технической документацией. Порядок проведения экспертного контроля определен национальным стандартом Российской Федерации ГОСТ Р 53418-2009 "Устройства пломбировочные. Порядок контроля состояния пломбировочных устройств в процессе эксплуатации", утвержденным приказом Федерального агентства по техническому регулированию и метрологии от 26 октября 2009 г. N 481-ст.
13. Порядок утилизации пломб установлен национальным стандартом Российской Федерации ГОСТ Р 52326-2005 "Устройства пломбировочные. Учет, контроль и утилизация", утвержденным приказом Федерального агентства по техническому регулированию и метрологии от 31 марта 2005 г. N 72-ст. Технология утилизации предусматривает приведение конструкции пломбы в состояние, исключающее ее повторное применение.
14. Для организации работы по применению пломб при надзоре за учетом и контролем ЯМ, РВ и РАО в каждом МТУ ЯРБ Ростехнадзора рекомендуется назначить приказом или распоряжением руководителя:
ответственного за организацию применения пломб и представление отчетных документов;
ответственного за получение, хранение, выдачу пломб и ведение учетных документов (далее - ответственный за хранение).
Для организации работы по применению пломб при надзоре за учетом и контролем ЯМ, РВ и РАО в каждом структурном подразделении МТУ ЯРБ Ростехнадзора рекомендуется назначить приказом или распоряжением руководителя:
ответственного за получение, хранение, выдачу пломб и ведение учетных и отчетных документов (далее - ответственный за хранение);
должностных лиц, имеющих право на установку, контроль состояния и снятие пломб.
Вышеперечисленных должностных лиц рекомендуется назначать после прохождения ими обучения применению пломб на соответствующих учебных курсах или курсах повышения квалификации.
15. Хранение пломб и учетной документации рекомендуется предусмотреть в сейфе (запираемом металлическом шкафу повышенной прочности) ответственного за хранение, а также предусмотреть при смене ответственных за хранение передачу пломб и учетной документации по акту о приеме-передаче пломб (приложение N 4 к настоящим Методическим рекомендациям). Акт утверждается руководителем МТУ ЯРБ Ростехнадзора (структурного подразделения МТУ ЯРБ Ростехнадзора). Также при смене ответственных за хранение рекомендуется провести сверку акта по итогам инвентаризации пломб с данными учетных документов с отметкой в акте приема-передачи пломб. Инвентаризацию пломб рекомендуется проводить один раз в год на основании распоряжения руководителя МТУ ЯРБ Ростехнадзора. Внеплановая инвентаризация пломб может проводиться при смене ответственных за хранение пломб. При проведении инвентаризации пломб проверяется их фактическое наличие, соответствие учетной документации, условия хранения и порядок обращения. Результаты проверки пломб отражаются в акте по итогам инвентаризации.
16. Рекомендуется предусмотреть процедуры, в соответствии с которыми при возникновении необходимости передачи пломб между структурными подразделениями МТУ ЯРБ Ростехнадзора основанием для постановки на учет (списания с учета) пломб является распоряжение руководителя МТУ ЯРБ Ростехнадзора о передаче пломб и акт о приеме-передаче пломб. Акт о приеме-передаче пломб, утверждаемый руководителем МТУ ЯРБ Ростехнадзора, рекомендуется составлять в двух экземплярах, при этом по одному экземпляру акта находится у отправителя и получателя пломб.
17. Образцы учетных и отчетных документов о наличии и движении пломб, рекомендуемых для ведения в МТУ ЯРБ Ростехнадзора и их структурных подразделениях, а также рекомендации по заполнению данных документов приведены в приложениях N 3-8 к настоящим Методическим рекомендациям. При необходимости в МТУ ЯРБ Ростехнадзора и их структурных подразделениях допускается ведение электронных баз данных о наличии и движении пломб.
18. Следует предусмотреть, чтобы пломбы, подлежащие документальному учету в журнале (приложение N 5 к настоящим Методическим рекомендациям), учитывались на всех этапах их применения, включая:
получение для установки;
установку на объекты пломбирования;
снятие с объектов пломбирования.
19. Учет использованных пломб после их снятия рекомендуется производить на основании актов снятия пломб с объектов пломбирования (приложение N 6 к настоящим Методическим рекомендациям). Утилизация и списание пломб фиксируется в учетной документации с оформлением соответствующих актов, подлежащих хранению.
20. Внесение сведений в учетную документацию и постановку на учет полученных пломб рекомендуется осуществлять на основании актов приема-передачи пломб.
21. Рекомендуется при планировании проведения проверок указывать в программе проведения проверки применение пломб, при этом данную программу рекомендуется использовать в качестве основания для выдачи пломб с целью установки на объекты пломбирования, а также снятия и возврата использованных пломб.
22. Факт установки пломб на объекты пломбирования и снятия пломб с указанных объектов рекомендуется фиксировать оформленным актом установки (снятия) пломб должностным лицом Ростехнадзора на контейнер (хранилище) (приложение N 6 к настоящим Методическим рекомендациям).
23. При утилизации пломб рекомендуется использовать в качестве основания для списания с учета использованных пломб акт утилизации использованных пломб комиссией структурного подразделения МТУ ЯРБ Ростехнадзора (приложение N 7 к настоящим Методическим рекомендациям).
24. В качестве отчетных документов рекомендуется использовать:
а) сведения о наличии и движении пломб в отделе инспекции (отделе надзора) (приложение N 8 к настоящим Методическим рекомендациям) - представляются структурными подразделениями (отделами инспекций) в МТУ ЯРБ Ростехнадзора. Отделы надзора МТУ ЯРБ Ростехнадзора представляют данные сведения при осуществлении ими непосредственного применения пломб при надзоре за учетом и контролем ЯМ, РВ и РАО;
б) сведения о наличии и движении пломб в МТУ ЯРБ Ростехнадзора (приложение N 8 к настоящим Методическим рекомендациям) - представляются МТУ ЯРБ Ростехнадзора в отраслевое управление центрального аппарата Ростехнадзора;
в) сведения о наличии и движении пломб в МТУ ЯРБ Ростехнадзора учитываются в отраслевом управлении центрального аппарата Ростехнадзора (приложение N 9 к настоящим Методическим рекомендациям).
25. Отчетные документы МТУ ЯРБ Ростехнадзора об использовании пломб представляются в отраслевое управление центрального аппарата Ростехнадзора одновременно с квартальными отчетами о надзоре за учетом и контролем ЯМ, РВ и РАО.
Приложение N 1
к Методическим рекомендациям по порядку применения
пломб при надзоре за учетом и контролем ядерных
материалов, радиоактивных веществ и радиоактивных отходов,
утв. приказом Федеральной службы по экологическому,
технологическому и атомному надзору
от 19 декабря 2014 г. N 581
Аномалия в учете и контроле ядерных материалов - расхождение значений фактически наличного количества ядерных материалов и данных учетных документов, выходящее за установленные пределы, недостача (излишек) учетной единицы с ядерными материалами.
Идентификационный признак - контролируемая совокупность параметров и характеристик пломбировочного устройства, присущая данному конкретному пломбировочному устройству, свидетельствующая о его подлинности и целостности, нарушаемая или изменяемая при попытке снятия (демонтажа) пломбировочного устройства с защищаемого объекта.
Инвентаризация пломб - проверка наличия, состояния и условий хранения пломб на определенную дату путем сверки фактических данных с учетными данными.
Нарушение в учете и контроле радиоактивных веществ и радиоактивных отходов - недостача или излишек, несанкционированное использование и/или незаконное перемещение РВ и РАО, ошибки в учетных или отчетных документах, повреждения средств контроля доступа к РВ и РАО, несоответствие атрибутивных признаков учетной единицы зарегистрированным данным, нарушения порядка использования и передачи РВ и РАО.
Система учета и контроля ядерных материалов - совокупность технических и организационных мер, обеспечивающих своевременное получение информации о местонахождении и использовании, о составе и массе ядерных материалов, а в случае их недостачи позволяющих своевременно установить потерю, хищение или несанкционированное использование ядерных материалов.
Учет пломб - составление, регистрация и ведение учетных документов по идентификационным признакам пломб с указанием изготовителя, поставщика, времени получения, применения, места нахождения в конкретный период времени и других данных.
Приложение N 2
к Методическим рекомендациям по порядку применения
пломб при надзоре за учетом и контролем ядерных
материалов, радиоактивных веществ и радиоактивных отходов,
утв. приказом Федеральной службы по экологическому,
технологическому и атомному надзору
от 19 декабря 2014 г. N 581
по применению пломб при надзоре за учетом и контролем
1. Техническое руководство по применению пломб при надзоре за учетом и контролем (далее - Техническое руководство) содержит описание некоторых основных типов пломб: типа чашка - "Е", силовых (типа "Кобра", "Мультилок"), индикаторных (типа ПК-91оп, ПК-91рх, Ротосил II), технологии их применения, организацию и порядок проведения контроля их состояния на всех этапах эксплуатации.
2. Техническое руководство предназначено для применения специалистами Федеральной службы по экологическому, технологическому и атомному надзору, осуществляющими надзор за учетом и контролем ядерных материалов, радиоактивных веществ и радиоактивных отходов с использованием пломб.
3. Техническое руководство является дополнением к руководящим и методическим документам Федеральной службы по экологическому, технологическому и атомному надзору, в которых изложены процедуры, которые должны соблюдаться при использовании пломб при надзоре за учетом и контролем.
4. Техническое руководство разработано на основе технической документации предприятия-изготовителя на данные виды пломб.
2.1. Описание пломб типа чашка - "Е" и технологии их применения.
2.1.1. Пломбы чашка - "Е" представляют собой медно-латунные пломбы типа с маркировкой Ростехнадзора, нанесенной латинскими и русскими буквами и индивидуальным номером, выбитым на наружных поверхностях корпуса и крышки пломбы. Корпус и крышка каждой пломбы помещены в отдельный полиэтиленовый пакет.
Схема конструкции пломбы приведена на рисунке 1.
Рис. 1
2.1.2. Технология установки пломбы на контейнер с завинчивающейся крышкой.
2.1.2.1. Получив пломбу, убедитесь, что корпус и крышка пломбы не имеют видимых дефектов (вмятин, трещин, следов коррозии, повреждений фиксаторов).
2.1.2.2. Подготовьте для работы:
инструмент (кусачки);
проволоку (диаметр 0,6...1,2 мм);
при необходимости средства безопасности (спецодежда, защитные очки, резиновые перчатки, респиратор типа "Лепесток").
2.1.2.3. Откусите кусачками отрезок проволоки необходимой длины.
2.1.2.4. Убедитесь, что:
крышка контейнера полностью завинчена;
отверстия в проушинах крышки и корпуса контейнера находятся как можно ближе друг к другу (см. рисунок 2).
Рис. 2
2.1.2.5. Пропустите один конец проволоки через отверстия проушин крышки и корпуса контейнера.
2.1.2.6. Извлеките корпус пломбы из полиэтиленового пакета и пропустите концы проволоки через отверстия в корпусе пломбы с внешней стороны.
2.1.2.7. Продвиньте корпус пломбы вплотную к корпусу контейнера.
2.1.2.8. Завяжите узел из проволоки, исключающий перемещение и снятие пломбы без разрыва проволоки или повреждения пломбы.
2.1.2.9. Откусите кусачками концы проволоки.
2.1.2.10. Подогните узел к донышку корпуса пломбы.
2.1.2.11. Извлеките крышку пломбы из полиэтиленового пакета, из которого был извлечен корпус пломбы, вставьте крышку пломбы в корпус и нажатием пальцев продвиньте крышку в корпус до щелчка фиксаторов.
2.1.2.12. Убедитесь, что крышка надежно зафиксирована в корпусе пломбы (извлечь ее без разрушения пломбы невозможно).
Внимание! Признаком правильной установки крышки в корпус пломбы является вращение крышки относительно корпуса при небольшом усилии и возможность считывания маркировки на крышке пломбы при повороте ее вокруг своей оси.
2.1.2.13. Документально зарегистрируйте факт установки пломбы.
2.2. Описание силовых пломб (типа "Кобра", "Мультилок") и технологии их применения.
2.2.1. Пломбы типа "Кобра", "Мультилок" по классификации, приведенной в межгосударственном стандарте ГОСТ 31282-2004 "Устройства пломбировочные. Классификация", являются силовыми тросовыми моноблочными устройствами одноразового использования, предназначенными для пломбирования дверей любых транспортных средств, помещений, кузовов, контейнеров, щитов управления и других объектов (в том числе опасных) наземного и морского базирования, эксплуатируемых на открытом воздухе и в условиях морского микроклимата, имеющих диаметр пломбировочных отверстий не менее 1,0 мм. Общее устройство данного вида пломб рассмотрим на примере пломбы типа "Кобра". Существует три модификации данной пломбы, отличающиеся диаметром, материалом гибкого тросика и габаритными размерами корпуса. Данная пломба состоит из пластмассового корпуса, в который неразъемно вмонтирован запирающий механизм и стальной многожильный крученый тросик определенной длины (рис. 3). При установке пломбы свободный конец тросика вставляется во входное отверстие корпуса, образуя петлю. Конструкция запирающего механизма не позволяет извлечь тросик в обратном направлении. По принципу действия запирающего механизма пломба типа "Мультилок" аналогична пломбе типа "Кобра". Различие между данными пломбами лишь в материале корпуса - у пломбы "Мультилок" он выполнен из металла. На боковой поверхности корпуса пломбы с помощью лазерной маркировки нанесен ее индивидуальный номер.
Рис. 3
2.2.2. Технология установки силовой тросовой пломбы на контейнер с завинчивающейся крышкой.
2.2.2.1. Получив пломбу, убедитесь, что пломба не имеет видимых дефектов и повреждений (вмятин, трещин, следов коррозии, расплетения или излома конца тросика).
2.2.2.2. Подготовьте, при необходимости, для работы средства безопасности (спецодежду, защитные очки, резиновые перчатки, респиратор типа "Лепесток"), инструмент (плоскогубцы, кусачки).
2.2.2.3. Убедитесь, что:
крышка контейнера полностью завинчена;
отверстия, имеющиеся в проушинах крышки и корпуса, находятся как можно ближе друг к другу (см. рисунок 4).
Рис. 4
2.2.2.4. Пропустите конец тросика пломбы через пломбировочные отверстия проушин крышки и корпуса контейнера.
2.2.2.5. Вставьте конец тросика во входное отверстие корпуса пломбы и затяните образовавшуюся петлю до упора (при необходимости используйте инструмент).
2.2.2.6. Потяните за корпус пломбы. При исправной пломбе тросик не должен выходить в обратном направлении из корпуса. Документально зарегистрируйте факт установки пломбы.
Внимание! После установки пломбы не допускается обрезать свободный конец тросика, выходящий из ее корпуса.
2.3. Описание индикаторных пломб (типа ПК-91оп, ПК-91тп) и технологии их применения.
2.3.1. Пломбы типа ПК-91 по классификации, приведенной в межгосударственном стандарте ГОСТ 31282-2004 "Устройства пломбировочные. Классификация", являются одноразовыми пластмассовыми индикаторными (контрольными) устройствами, предназначенными для пломбирования дверей автотранспортных средств, помещений, сейфов, шкафов, контейнеров, имеющих диаметр пломбировочных отверстий не менее 2,3 мм. Общее устройство данного вида пломб рассмотрим на примере пломбы типа ПК-91оп. Существует четыре модификации данной пломбы, отличающиеся диаметром и длиной рабочей части. Пломба имеет моноблочную конструкцию, состоящую из корпуса с неразъемно вмонтированной в него цангой, гибкого хвостовика определенной длины и ярлыка. Гибкий хвостовик совместно с цангой служат для создания неразъемной затягивающейся петли, охватывающей проушины запорного узла пломбируемого объекта. Ярлык предназначен для нанесения на нем информации при изготовлении пломбы. Материал корпуса пломбы - пластмасса, цанги - стальная лента.
Конструкция пломбы изображена на рис. 5.
Рис. 5
2.3.2. Технология установки индикаторной (контрольной) пломбы на контейнер с завинчивающейся крышкой.
2.3.2.1. Получив пломбу, убедитесь, что корпус, ярлык и гибкий хвостовик не имеют видимых дефектов и повреждений (вмятин, трещин).
2.3.2.2. Подготовьте для работы, при необходимости, средства безопасности (спецодежду, защитные очки, резиновые перчатки, респиратор типа "Лепесток").
2.3.2.3. Убедитесь, что:
крышка контейнера полностью завинчена, отверстие в проушинах крышки и корпуса находятся как можно ближе друг к другу (см. рисунок 6).
Рис. 6
2.3.2.4. Пропустите гибкий хвостовик через отверстия проушин крышки и корпуса контейнера.
2.3.2.5. Пропустите гибкий хвостовик через отверстие пломбы со стороны, противоположной маркировке на ярлыке, и затяните получившуюся петлю до минимального размера.
Внимание! При температуре окружающей среды ниже минус 10°C внутренний радиус изгиба гибкого хвостовика должен быть не менее 15 мм.
2.3.2.6. Документально зарегистрируйте факт установки пломбы.
2.4. Описание индикаторных пломб (типа ПК-91рх, Ротосил II) и технологии их применения.
2.4.1. Пломбы типа ПК-91рх, Ротосил II по классификации являются одноразовыми индикаторными (контрольными) устройствами роторного типа, предназначенными для пломбирования дверей автотранспортных средств, помещений, сейфов, шкафов, контейнеров, огнетушителей, имеющих диаметр пломбировочных отверстий не менее 0,4 мм. Общее устройство данного вида пломб рассмотрим на примере пломбы типа ПК-91рх. Пломба состоит из корпуса с фланцем, предназначенным для нанесения контрольной информации, и неразъемно вмонтированного в корпус стержня с ручкой. Корпус пломбы и стержень изготовлены из пластмассы. В корпусе и на стержне выполнены элементы храпового зацепления, допускающие вращение стержня только по часовой стрелке. Принадлежностью пломбы является также проволока, поставляемая отдельно и используемая для создания неразъемной петли. Диаметр применяемой проволоки от 0,4 до 1,0 мм. Для установки на объект пломбирования пломб Ротосил II применяется проволока диаметром 0,8...1,2 мм. Конструкция пломбы приведена на рис. 7.
Рис. 7
2.4.2. Технология установки индикаторной пломбы роторного типа на контейнер с завинчивающейся крышкой.
2.4.2.1. Получив пломбу, убедитесь, что:
корпус пломбы не имеет видимых дефектов (вмятин, трещин);
стержень пломбы можно повернуть только по часовой стрелке.
2.4.2.2. Подготовьте для работы:
инструмент (кусачки);
мягкую проволоку требуемого диаметра;
при необходимости, средства безопасности (спецодежду, защитные очки, резиновые перчатки, респиратор типа "Лепесток").
2.4.2.3. Откусите кусачками отрезок проволоки необходимой длины.
2.4.2.4. Убедитесь, что:
крышка контейнера полностью завинчена;
отверстия в проушинах крышки и корпуса контейнера находятся как можно ближе друг к другу (см. рисунок 8).
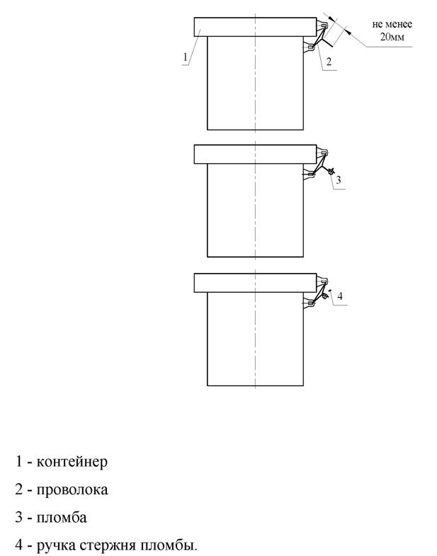
2.4.2.5. Пропустите проволоку через отверстия проушин крышки и корпуса контейнера и сделайте скрутку концов проволоки длиной не менее 20 мм.
2.4.2.6. Вставьте скрутку в совмещенные отверстия корпуса и стержня пломбы так, чтобы скрутка выступала не более 2 мм из корпуса и вращением ручки стержня не менее чем на 2 оборота по часовой стрелке затяните до упора петлю из проволоки.
2.4.2.7. Обломите ручку стержня пломбы.
2.4.2.8. Документально зарегистрируйте факт установки пломбы.
Рис. 8
Данные технологии установки данных типов пломб применимы и для других объектов пломбирования, определенных в настоящих Методических рекомендациях. Особенности использования конкретных видов пломб приводятся в технической документации, разрабатываемой предприятием-изготовителем.
3.1. Описание маркировки пломб типа чашка - "Е".
На крышке и корпусе пломбы нанесена маркировка, представляющая собой выполненные тиснением друг под другом аббревиатуру "GAN", пятизначный номер и аббревиатуру "ГАН".
3.2. Описание маркировки силовых пломб типа "Кобра", "Мультилок".
3.2.1. На видимой поверхности каждого типа пломб нанесена надпись "ФСЭТАН" и указан номер (семизначное число), начинающийся с цифры 7 (7N00001). Нумерация пломб каждого типа начинается с номера 7N00001.
3.2.2. На пломбах типа "Кобра" значение N в номере равно единице (1). Цвет корпуса темно-красный. На одной боковой поверхности нанесена надпись на белом поле "ФСЭТАН", на другой боковой поверхности нанесена надпись "Kobra" и на белом поле семизначный номер.
3.3. Описание маркировки индикаторных (контрольных) пломб типа ПК-91оп, ПК-91рх.
3.3.1. На пломбах типа ПК-91оп значение N в номере равно двум (2). Цвет корпуса ярко-красный. На ярлыке пломбы со стороны цанги нанесен белым цветом семизначный номер и надпись "ФСЭТАН".
3.3.2. На пломбах типа ПК-91рх значение N в номере равно трем (3). Цвет корпуса и фланца прозрачный, цвет стержня и ручки стержня ярко-красный. На фланце пломбы со стороны ручки стержня нанесен белым цветом семизначный номер и надпись "ФСЭТАН".
3.4. Описание исполнения маркировки силовых пломб типа "Кобра".
3.4.1. Информация наносится на боковые поверхности на корпусе:
зона маркировки и постоянная составляющая информации наносится методом тампонной печати;
порядковый номер наносится методом лазерной маркировки.
Образец типовой маркировки и шрифта представлен на фото 1.
Фото 1. Общий вид типовой маркировки пломбы "Кобра"
Следует обращать внимание на применение двух методов маркировки, что значительно усложняет процесс подделки нанесенной информации. С этой же целью на данной пломбе нанесено продольное рифление в месте маркировки порядкового номера пломбы.
3.4.2. При контроле маркировки пломбы "Кобра" необходимо проверить:
соответствие взаиморасположения отдельных элементов нанесенной информации с эталоном - образцом. С одной стороны корпуса пломбы размещено наименование пломбы и идентификационный номер. С другой стороны корпуса пломбы размещен логотип пользователя;
соответствие расположения всей нанесенной информации с эталоном-образцом;
соответствие идентификационного номера;
соответствие шрифта идентификационного номера на установленной пломбе со шрифтом пломбы эталона-образца (тип и размер шрифта);
имеется ли частичное отсутствие краски;
различие в цвете маркировки;
имеется ли сглаживание рельефной поверхности места маркировки, изменение геометрии штрихов и отдельных его элементов.
3.5. Описание исполнения маркировки индикаторных (контрольных) пломб типа ПК-91оп, ПК-91тп.
3.5.1. Маркировка наносится на корпусе пломбы с одной стороны. Идентификационный номер и логотип пользователя наносятся методом термопечати.
Образец типовой маркировки и шрифта представлен на фото 2.
Фото 2. Общий вид типовой маркировки пломбы ПК-91оп
3.5.2. При контроле маркировки пломбы ПК-91оп необходимо проверить:
соответствие взаиморасположения отдельных элементов нанесенной информации с эталоном-образцом;
соответствие расположения всей нанесенной информации с эталоном-образцом;
соответствие идентификационного номера;
шрифт идентификационного номера на установленной пломбе со шрифтом пломбы эталона-образца (тип и размер шрифта);
отсутствие сдвоенных элементов маркировки (цифр, букв);
имеется ли частичное отсутствие краски;
имеется ли изменение геометрии штрихов и отдельных элементов;
однородность цвета маркировки.
3.6. Описание исполнения маркировки индикаторных (контрольных) пломб типа ПК-91рх.
3.6.1. Маркировка наносится на ярлык:
идентификационный номер наносится методом термопечати, над номером выдавлена аббревиатура "ФСЭТАН";
при изготовлении корпуса литьем на ярлыке формируются рельефное название пломбы (РХ) и логотип фирмы изготовителя;
логотип пользователя наносится методом термопечати.
Образец типовой маркировки и шрифта представлен на фото 3.
Фото 3. Общий вид типовой маркировки пломбы ПК-91рх
3.6.2. При контроле маркировки пломбы ПК-91рх необходимо проверить:
соответствие взаиморасположения отдельных элементов нанесенной информации с эталоном-образцом;
соответствие расположения всей нанесенной информации с эталоном-образцом;
соответствие шрифта идентификационного номера на установленной пломбе шрифту пломбы эталона-образца (тип и размер шрифта);
соответствие идентификационного номера;
отсутствие сдвоенных элементов маркировки (цифр, букв);
имеется ли частичное отсутствие краски;
изменение геометрии штрихов и отдельных его элементов;
различие в цвете маркировки;
уточнение зоны нанесения знаков на ярлыке;
соответствие элементов постоянной информации на ярлыке, заложенной в литьевой форме (логотип товарного знака предприятия изготовителя и название пломбы) и дополнительной информации (логотипа пользователя).
4.1. Основные принципы проверки характеристик пломб:
достоверность полученных результатов;
минимальная трудоемкость и длительность (цикл) контроля;
документирование процедур и результатов контроля;
применение штатных средств измерений и контроля;
оперативное информирование должностных лиц Ростехнадзора, администрации поднадзорных организаций о качестве и состоянии пломб, установленных инспекторами Ростехнадзора;
представление изготовителю данных об отказах и недостатках пломб, выявленных в реальных условиях эксплуатации, для принятия мер по их устранению и совершенствованию.
4.2. Основные цели проверки характеристик пломб:
обеспечение надежности и безотказности пломб в период эксплуатации (поставка, транспортирование, хранение, применение по назначению);
обеспечение эксплуатационных характеристик пломб, установленных в согласованных с заказчиком нормативных (стандартах) и технических документах;
выявление несоответствий характеристик пломб нормативным требованиям перед началом применения на соответствующем этапе;
выявление факторов, влияющих на качество пломб, оценка степени их влияния для принятия предупреждающих мер по их нейтрализации;
исключение из обращения потенциально ненадежных пломб и пломб с отклонениями по качеству;
обеспечение и подтверждение гарантий на поставляемую потребителю продукцию.
4.3. Стадии жизненного цикла, на которых осуществляется технологический процесс проверки характеристик пломб:
приемочный контроль изготовителем готовых пломб;
входной контроль территориальными органами и их структурными подразделениями пломб, полученных от изготовителя;
входной контроль пломб, полученных инспекторами Ростехнадзора, при передаче между территориальными органами и их структурными подразделениями;
эксплуатационный контроль пломб при установке на пломбируемый объект, проведение контроля состояния в период нахождения и при снятии с объекта пломбирования;
4.4. Контроль состояния пломб типа чашка - "Е" заключается в проверке:
отсутствия видимых повреждений крышки и корпуса;
отсутствия видимых повреждений проволоки;
свободного вращения корпуса относительно крышки;
целостности проволоки при приложении попытки отрыва пломбы от места пломбирования с определенным усилием;
идентичности номера пломбы, нанесенного на крышке и корпусе пломбы;
соответствия номера пломбы документально зафиксированному при ее установке.
4.5. В процессе эксплуатации пломбы рекомендуется подвергать следующим видам контроля:
входному;
эксплуатационному;
экспертному (при возможности).
4.5.1. Входной контроль пломб включает в себя:
визуальный контроль целостности упаковки;
контроль соответствия информации, указанной на этикетках упаковки и в паспорте на поставленную партию пломб, данным, приведенным в накладной;
контроль количества пломб в упаковке;
визуальный контроль всех пломб в упаковке;
выборочный контроль пломб.
4.5.1.1. Контроль целостности упаковки с пломбами проводится органолептически: визуальным осмотром и вручную. При этом проверяется:
отсутствие существенных деформаций и разрывов упаковки;
отсутствие намокания поверхности;
наличие и целостность клеящей ленты, и ее скрепление с поверхностью упаковки;
наличие и разборчивость транспортной маркировки по ГОСТ 14192-96;
наличие и качество приклеивания этикеток на упаковке, разборчивость внесенной в них информации.
4.5.1.2. При проверке соответствия информации, указанной на этикетках упаковки и в паспорте на поставленную партию изделий данным, приведенным в товаросопроводительных документах, контролируется:
наименование изготовителя;
наименование (тип) пломбы;
дата изготовления;
количество изделий в упаковке;
диапазон идентификационных номеров пломб;
отметка о приемке ОТК изготовителя.
В паспортах на поставляемую партию пломб проверяется наличие раздела "Гарантийные обязательства", заверенного подписью представителя руководства и печатью предприятия-изготовителя.
4.5.1.3. Количество пломб в упаковке проверяется прямым счетом.
4.5.1.4. Сплошной визуальный контроль всех пломб в упаковке включает проверку:
отсутствия внешних видимых повреждений (трещин, сколов, деформаций, разломов);
частичного или полного отсутствия маркировки;
разборчивости маркировки.
4.5.1.5. Выборочный контроль пломб включает:
контроль габаритных размеров;
контроль работоспособности механизма фиксации;
контроль маркировки.
Для проведения выборочного контроля из каждой упаковки случайным образом отбирается 10 пломб по одной пломбе из каждого пакета.
Контроль габаритных размеров проводится на трех образцах. При этом проверяются габаритные размеры корпуса, диаметр и длина хвостовика. Измерения проводятся линейкой металлической L= 500 мм с ценой деления 1 мм и штангенциркулем L= 300 мм с точностью 0,05 мм.
Проверка пломб типа чашка - "Е" заключается в контроле идентичности номеров, нанесенных на корпус и крышку пломбы, и отсутствии на крышке и корпусе пломбы видимых повреждений (вмятин, трещин, следов коррозии). Также необходимо проверить целостность элементов фиксации внутри корпуса и крышки пломбы.
Работоспособность механизма фиксации индикаторных (контрольных) пломб (ПК-91оп, ПК-91тп) и силовых тросовых пломб ("Кобра", "Мультилок") проверяется контрольными калибрами, прилагаемыми ко всей поставляемой партии изделий. Калибр должен с небольшим усилием до 3 кгс проходить через входное отверстие пломбы и блокироваться механизмом фиксации при попытке обратного перемещения калибра. В качестве контрольных калибров могут применяться хвостовики одной из полученных пломб каждого типа.
Работоспособность механизма фиксации индикаторных (контрольных) пломб роторного типа (ПК-91рх, Ротосил II) проверяется вращением ротора пломбы по часовой стрелке. При этом ротор должен легко проворачиваться и блокироваться при попытке вращения в обратном направлении. Контроль работоспособности механизма фиксации проводится на всех образцах в выборке.
Контроль маркировки проводится на трех образцах. При этом проверяется:
состав маркировки (логотипы изготовителя и пользователя, идентификационный номер, последняя цифра года выпуска, условное обозначение типа пломбы, специальная информация, определенная заказчиком);
считываемость идентификационного номера;
неповторяемость идентификационных номеров пломб в выборке;
гарнитура и размещение маркировки.
Идентификационный номер должен уверенно считываться всеми контролерами с расстояния 0,5 м при естественной или искусственной освещенности 50 лк. При этом идентификационные номера контролируемых пломб не должны повторяться. Гарнитура шрифта, используемого для маркировки, и ее размещение на поверхности пломб проверяется визуальным сравнением с контрольным образцом. Размещение контрольного знака и размер шрифта измеряется штангенциркулем и сравнивается с образцом.
4.5.2. При проведении входного контроля пломб решающими браковочными признаками являются:
нарушение целостности корпуса и хвостовика пломбы, наличие трещин и разрывов;
неработоспособность механизма фиксации;
нечитаемость маркировки, повторяемость идентификационных номеров, ошибки в составе маркировки.
4.5.3. Проверку необходимо осуществлять с использованием технических средств, находящихся в пакете принадлежностей, для установки (снятия) и контроля пломб или с использованием отдельных принадлежностей, аналогичных находящимся (входящим в состав) пакета принадлежностей.
4.6. Эксплуатационный контроль состояния пломб при их установке, нахождении на пломбируемом объекте и перед снятием осуществляется визуально и с применением технических средств.
4.6.1. При осуществлении визуального контроля пломб рекомендуется проверить:
соответствие типа пломбы учетным документам;
соответствие контрольной идентификационной маркировки пломбы учетным документам;
правильность установки пломбы на объект пломбирования;
целостность пломбы;
наличие (отсутствие) признаков, свидетельствующих о несанкционированном вмешательстве или подделке пломбы;
баланс пломб по записям в учетных документах.
4.6.1.1. Соответствие типа пломбы учетным документам проверяется по имеющейся технической документации или по образцу-эталону. При этом необходимо обратить внимание на дизайн пломбы, цвет и фактуру покрытия, состав и размещение маркировки, габаритные размеры пломбы.
4.6.1.2. Контроль маркировки проводится считыванием идентификационных номеров, нанесенных на пломбу, и их сравнением с технической документацией.
4.6.1.3. Правильность установки пломбы на объект пломбирования проверяют визуально, сравнивая со схемой установки, определенной изготовителем в технической документации на пломбу.
4.6.1.4. Целостность пломбы проверяется:
визуально, контролируя наличие разрывов и трещин;
попыткой вручную сместить корпус пломбы в направлении, противоположном замыканию;
контролем наличия (отсутствия) зазоров (люфтов), предусмотренных конструкцией пломбы.
4.6.1.5. В процессе проверки решающими признаками, свидетельствующими о несанкционированном вмешательстве или подделке пломбы, являются:
наличие деформаций корпуса и нарушений покрытия, схожих со следами от зажимных устройств;
наличие следов посторонних веществ в местах соединения составных частей пломбы (тросика, втулок, заглушек и крышек в корпусе);
изменения цвета и фактуры покрытия;
изменение состояния деталей из пластика;
обрыв двух и более нитей тросика, расплетание прядей тросика;
отсутствие или нечеткое изображение отдельных элементов маркировки, нарушения в размещении маркировки, графические символы и конфигурация шрифта, отличающиеся от образца, двойные и неровные линии элементов маркировки.
4.7. Проверку пломб при периодическом контроле их нахождения на пломбируемом объекте осуществлять с использованием технических средств, находящихся в пакете принадлежностей, для установки (снятия) и контроля пломб или с использованием отдельных принадлежностей, аналогичных находящимся (входящим в состав) пакета принадлежностей.
5.1. Схемы установки пломб на металлические контейнеры, крышки которых крепятся болтами, изображены на рис. 9, 10:
Рис. 9
Рис. 10
5.2. Схема установки пломб на упаковках из деревянных и картонных материалов приведена на рис. 11.
Рис. 11
Приложение N 3
к Методическим рекомендациям по порядку применения
пломб при надзоре за учетом и контролем ядерных
материалов, радиоактивных веществ и радиоактивных отходов,
утв. приказом Федеральной службы по экологическому,
технологическому и атомному надзору
от 19 декабря 2014 г. N 581
Заявка N _____ от "__" __________ 20__ года
на поставку пломб в _______________________________________________
(МТУ ЯРБ или структурное подразделение МТУ ЯРБ)
|
N п/п |
Тип пломб |
Количество |
Примечание |
|
|
|
|
|
|
|
|
|
|
|
|
|
|
|
|
|
|
|
|
|
|
|
|
|
|
|
|
|
|
Руководитель ____________________________ ____________
(подпись, фамилия, инициалы) (дата)
Ответственный за хранение пломб ____________________________ ____________
(подпись, фамилия, инициалы) (дата)
Заявка на поставку пломб в структурное подразделение МТУ ЯРБ Ростехнадзора составляется и подписывается ответственным за хранение пломб и руководителем структурного подразделения МТУ ЯРБ Ростехнадзора, представляется в МТУ ЯРБ Ростехнадзора по подчиненности.
Приложение N 4
к Методическим рекомендациям по порядку применения
пломб при надзоре за учетом и контролем ядерных
материалов, радиоактивных веществ и радиоактивных отходов,
утв. приказом Федеральной службы по экологическому,
технологическому и атомному надзору
от 19 декабря 2014 г. N 581
УТВЕРЖДАЮ
_________________________________________
(Руководитель структурного подразделения)
___________ _____________________________
(подпись) (инициалы, фамилия)
"__" ____________ 20__ г.
АКТ
о приеме-передаче пломб
Акт составлен в том, что ___________________________________________
(должность, фамилия, инициалы)
передал, а _______________ ______________________________________________
(должность, фамилия, инициалы)
принял пломбы в количестве, как ниже указано:
|
N
|
Наименование |
Тип |
Количество |
Индивидуальные номера (с....по...) |
|
1 |
|
|
|
|
Замечания и недостатки:_____________________________________________
Передал __________________ _______________ _____________________
(должность) (подпись) (фамилия, инициалы)
Принял __________________ _______________ _____________________
(должность) (подпись) (фамилия, инициалы)
"__" _____________ 20__ г.
Акт о приеме-передаче пломб оформляется в двух экземплярах. Один экземпляр акта остается у передающего пломбы, второй экземпляр акта - у принимающего пломбы.
Приложение N 5
к Методическим рекомендациям по порядку применения
пломб при надзоре за учетом и контролем ядерных
материалов, радиоактивных веществ и радиоактивных отходов,
утв. приказом Федеральной службы по экологическому,
технологическому и атомному надзору
от 19 декабря 2014 г. N 581
учета движения неиспользованных (использованных) пломб
|
N п/п |
Дата получения пломб |
Тип и количество полученных пломб |
Номера полученных пломб (с...по...) |
Основание для получения пломб |
Ф.И.О. и подпись сдавшего |
Ф.И.О. и подпись получившего |
|
1 |
2 |
3 |
4 |
5 |
6 |
7 |
|
N п/п |
Дата выдачи пломб |
Тип и количество выданных пломб |
Номера выданных пломб (с...по...) |
Основание для выдачи пломб |
Ф.И.О. и подпись выдавшего |
Ф.И.О. и подпись получившего |
|
1 |
2 |
3 |
4 |
5 |
6 |
7 |
По данному документу отдельными разделами ведется учет неиспользованных и использованных пломб лицами, ответственными за хранение пломб в структурных подразделениях МТУ ЯРБ Ростехнадзора. Учет использованных пломб ведется в журнале отдельным разделом на основании актов снятия пломб с объектов пломбирования.
Приложение N 6
к Методическим рекомендациям по порядку применения
пломб при надзоре за учетом и контролем ядерных
материалов, радиоактивных веществ и радиоактивных отходов,
утв. приказом Федеральной службы по экологическому,
технологическому и атомному надзору
от 19 декабря 2014 г. N 581
Акт
установки (снятия) пломб должностным лицом Ростехнадзора
(ненужное зачеркнуть)
на ______________________ на ______________________________
(объект пломбирования) (название ядерной установки)
|
N п/п |
Здание |
Тип объекта пломбирования |
Идентификатор объекта пломбирования |
Проведение инспекционных измерений |
Тип пломбы |
Номер пломбы |
Дата установки (снятия) пломбы |
|
1 |
2 |
3 |
4 |
5 |
6 |
7 |
8 |
|
|
|
|
|
|
|
|
|
______________________________________ _________ ___________________
(должность представителя подразделения (подпись) (фамилия, инициалы)
Ростехнадзора)
______________________________________ _________ ___________________
(должность ответственного лица (подпись) (фамилия, инициалы)
инспектируемой организации)
Результаты проверки снятых пломб (заполняется при снятии пломб):
Загрязнение поверхности неснимаемое (фиксированное) отсутствует
________________________________________ _________ ___________________
(дозиметрист инспектируемой организации) (подпись) (фамилия, инициалы)
В графе 3 указывается тип объекта пломбирования (контейнер, сейф, хранилище). В графе 4 указывается идентификатор объекта пломбирования (номер контейнера, номер или обозначение хранилища). В случае, если объектом пломбирования является контейнер, в графе 5 ставится знак "+" если перед установкой пломб были проведены инспекционные измерения ЯМ, РВ, РАО в соответствующем контейнере. После установки пломб оформленный акт передается на хранение ответственному за хранение пломб в отделе инспекций (отделе надзора). После снятия пломб акт передается вместе со снятыми пломбами ответственному за хранение пломб в отделе инспекций (отделе надзора) и хранится до списания использованных пломб.
Приложение N 7
к Методическим рекомендациям по порядку применения
пломб при надзоре за учетом и контролем ядерных
материалов, радиоактивных веществ и радиоактивных отходов,
утв. приказом Федеральной службы по экологическому,
технологическому и атомному надзору
от 19 декабря 2014 г. N 581
УТВЕРЖДАЮ
______________________________________________
(Начальник структурного подразделения МТУ ЯРБ)
_____________ ________________________________
(подпись) (инициалы, фамилия)
"__" ____________ 20__ г.
Акт N ____
утилизации использованных пломб
Комиссия в составе: ________________________________________________
_________________________________________________________________________
(наименование должностей, Ф.И.О. председателя и членов комиссии)
проверила фактическое наличие и сверила с учетными документами снятые с объектов применения пломбы. В результате проверки установлено фактическое наличие использованных пломб.
|
N п/п |
Тип пломб |
Количество |
Индивидуальные номера (с....по...) |
|
1 |
|
|
|
Пломбы приведены в непригодное для дальнейшего использования
состояние путем __________________________________________, утилизированы
(указать способ)
_________________________________________________________________________
указать способ и/или место сбора утилизированных пломб)
Председатель комиссии: _______________ _________________
(подпись) (дата)
Члены комиссии: _______________ _________________
(подпись) (дата)
_______________ _________________
(подпись) (дата)
Акт утверждается начальником соответствующего структурного подразделения МТУ ЯРБ Ростехнадзора, назначившим комиссию.
Утвержденный акт является основанием для списания с учета утилизированных пломб и находится у ответственного за хранение пломб в структурном подразделении МТУ ЯРБ Ростехнадзора.
Приложение N 8
к Методическим рекомендациям по порядку применения
пломб при надзоре за учетом и контролем ядерных
материалов, радиоактивных веществ и радиоактивных отходов,
утв. приказом Федеральной службы по экологическому,
технологическому и атомному надзору
от 19 декабря 2014 г. N 581
о наличии и движении пломб
в _________________________________________________
(за период с "___" __________ 20__ года по "___" __________ 20__ года)
|
N п/п |
Выполняемые операции с пломбами |
Количество пломб по типам |
Индивидуальные номера (с...по...) пломб по типам |
Всего (кол-во) | ||||||
|
|
|
|
|
|
|
|
| |||
|
1 |
2 |
3 |
4 |
5 |
6 |
7 |
8 |
9 |
10 |
11 |
|
1 |
Получено пломб |
|
|
|
|
|
|
|
|
|
|
2 |
Забраковано пломб при входном (эксплуатационном) контроле |
|
|
|
|
|
|
|
|
|
|
3 |
Имеется неиспользованных пломб |
|
|
|
|
|
|
|
|
|
|
4 |
Установлено пломб на контейнеры и хранилища |
|
|
|
|
|
|
|
|
|
|
5 |
Имеется использованных пломб |
|
|
|
|
|
|
|
|
|
|
6 |
Утилизировано и списано пломб |
|
|
|
|
|
|
|
|
|
Сводка о наличии и движении пломб заполняется в отделе инспекций (отделе надзора) ответственным за хранение пломб на основании фактически выполненных работ, зафиксированных в актах установки (снятия) пломб должностным лицом Ростехнадзора (приложение N 6 к настоящим Методическим рекомендациям) или актах утилизации пломб (приложение N 7 к настоящим Методическим рекомендациям).
В позиции 4 указываются суммарные сведения об установленных пломбах на контейнерах и хранилищах во всех инспектируемых организациях.
В позиции 6 указываются сведения об утилизированных и списанных пломбах.
Сводки о наличии и движении пломб ежеквартально представляются в МТУ ЯРБ Ростехнадзора ответственному за организацию применения пломб.
МТУ ЯРБ Ростехнадзора предоставляют сводный отчет (составленный на основе отчетов отделов инспекций) в отраслевое управление центрального аппарата Ростехнадзора вместе с отчетом о результатах надзора за УК ЯМ, РВ и РАО.
Приложение N 9
к Методическим рекомендациям по порядку применения
пломб при надзоре за учетом и контролем ядерных
материалов, радиоактивных веществ и радиоактивных отходов,
утв. приказом Федеральной службы по экологическому,
технологическому и атомному надзору
от 19 декабря 2014 г. N 581
о наличии и движении пломб в межрегиональных территориальных управлениях по надзору за ядерной и радиационной безопасностью Ростехнадзора
(за период с "___" __________ 20__ года по "___" __________ 20__ года)
|
N п/п |
Выполняемые операции с пломбами |
ЦМТУ |
СЕМТУ |
ВМТУ |
ДМТУ |
УМТУ |
МТУ СДВ |
Всего (кол-во) | ||||||
|
кол-во |
инд. N (с... по...) |
кол-во |
инд. N (с... по...) |
кол-во |
инд. N (с... по...) |
кол-во |
инд. N (с... по...) |
кол-во |
инд. N (с... по...) |
кол-во |
инд. N (с... по...) | |||
|
1 |
2 |
3 |
4 |
5 |
6 |
7 |
8 |
9 |
10 |
11 |
12 |
13 |
14 |
15 |
|
1 |
Получено пломб | |||||||||||||
|
|
|
|
|
|
|
|
|
|
|
|
|
|
| |
|
2 |
Забраковано пломб при входном (эксплуатационном) контроле | |||||||||||||
|
|
|
|
|
|
|
|
|
|
|
|
|
|
| |
|
3 |
Имеется неиспользованных пломб | |||||||||||||
|
|
|
|
|
|
|
|
|
|
|
|
|
|
| |
|
4 |
Установлено пломб на контейнеры и хранилища | |||||||||||||
|
|
|
|
|
|
|
|
|
|
|
|
|
|
| |
|
5 |
Имеется использованных пломб | |||||||||||||
|
|
|
|
|
|
|
|
|
|
|
|
|
|
| |
|
6 |
Списано и утилизировано пломб | |||||||||||||
|
|
|
|
|
|
|
|
|
|
|
|
|
|
| |
Сводка о наличии и движении пломб ведется в отраслевом управлении центрального аппарата Ростехнадзора на основании представляемых сводок о наличии и движении пломб в МТУ ЯРБ Ростехнадзора (приложение N 8 к настоящим Методическим рекомендациям).


