ГОСТ Р 71112-2023 СИСТЕМЫ И СООРУЖЕНИЯ МЕЛИОРАТИВНЫЕ. ВОДОРАСПРЕДЕЛЕНИЕ И ВОДОУЧЕТ НА ОРОСИТЕЛЬНОЙ СЕТИ. ОБЩИЕ ТРЕБОВАНИЯ ПО ОСНАЩЕНИЮ
Утв. и введен в действие Приказом Федерального агентства по техническому регулированию и метрологии от 23 ноября 2023 г. N 1463-ст
Reclamation systems and structures. Water distribution and water accounting in the irrigation network. General equipment requirements
ОКС 65.060.35;
17.120.20
Дата введения - 1 июля 2024 года
Введен впервые
Предисловие
1 РАЗРАБОТАН Федеральным государственным бюджетным научным учреждением "Российский научно-исследовательский институт проблем мелиорации"
2 ВНЕСЕН Техническим комитетом по стандартизации ТК 151 "Мелиорация"
3 УТВЕРЖДЕН И ВВЕДЕН В ДЕЙСТВИЕ Приказом Федерального агентства по техническому регулированию и метрологии от 23 ноября 2023 г. N 1463-ст
4 ВВЕДЕН ВПЕРВЫЕ
Правила применения настоящего стандарта установлены в статье 26 Федерального закона от 29 июня 2015 г. N 162-ФЗ "О стандартизации в Российской Федерации". Информация об изменениях к настоящему стандарту публикуется в ежегодном (по состоянию на 1 января текущего года) информационном указателе "Национальные стандарты", а официальный текст изменений и поправок - в ежемесячном информационном указателе "Национальные стандарты". В случае пересмотра (замены) или отмены настоящего стандарта соответствующее уведомление будет опубликовано в ближайшем выпуске ежемесячного информационного указателя "Национальные стандарты". Соответствующая информация, уведомление и тексты размещаются также в информационной системе общего пользования - на официальном сайте Федерального агентства по техническому регулированию и метрологии в сети Интернет (www.rst.gov.ru)
Настоящий стандарт устанавливает общие требования по оснащению пунктов водоучета на мелиоративных системах, включающие требования к созданию и размещению пунктов водоучета, составу контролируемых параметров водного потока, а также требования к средствам измерений и эксплуатации пунктов водоучета.
В настоящем стандарте использованы нормативные ссылки на следующие документы:
ГОСТ 12.0.230 Система стандартов безопасности труда. Системы управления охраной труда. Общие требования
ГОСТ 17.1.2.03 Охрана природы. Гидросфера. Критерии и показатели качества воды для орошения
ГОСТ 25855 Уровень и расход поверхностных вод. Общие требования к измерению
ГОСТ Р 51657.2 Водоучет на гидромелиоративных и водохозяйственных системах. Методы измерения расхода и объема воды. Классификация
ГОСТ Р 51657.4 Водоучет на гидромелиоративных и водохозяйственных системах. Измерение расходов воды с использованием водосливов с треугольными порогами. Общие технические требования
ГОСТ Р 53195.1 Безопасность функциональная связанных с безопасностью зданий и сооружений систем. Часть 1. Основные положения
ГОСТ Р 59024-2020 Вода. Общие требования к отбору проб
СП 421.1325800 Мелиоративные системы и сооружения. Правила эксплуатации
Примечание - При пользовании настоящим стандартом целесообразно проверить действие ссылочных стандартов (сводов правил) в информационной системе общего пользования - на официальном сайте Федерального агентства по техническому регулированию и метрологии в сети Интернет или по ежегодному информационному указателю "Национальные стандарты", который опубликован по состоянию на 1 января текущего года, и по выпускам ежемесячного информационного указателя "Национальные стандарты" за текущий год. Если заменен ссылочный документ, на который дана недатированная ссылка, то рекомендуется использовать действующую версию этого документа с учетом всех внесенных в данную версию изменений. Если заменен ссылочный документ, на который дана датированная ссылка, то рекомендуется использовать версию этого документа с указанным выше годом утверждения (принятия). Если после утверждения настоящего стандарта в ссылочный документ, на который дана датированная ссылка, внесено изменение, затрагивающее положение, на которое дана ссылка, то это положение рекомендуется применять без учета данного изменения. Если ссылочный документ отменен без замены, то положение, в котором дана ссылка на него, рекомендуется применять в части, не затрагивающей эту ссылку. Сведения о действии сводов правил целесообразно проверить в Федеральном информационном фонде стандартов.
В настоящем стандарте применены следующие термины с соответствующими определениями:
3.1
|
гидрометрическое сооружение: Гидротехническое сооружение на гидромелиоративной сети, оборудованное средствами (устройствами) для измерений расходов или уровней воды. [ГОСТ Р 70523-2022, статья 2.3.130] |
3.2
|
гидрометрическое устройство: Самостоятельное или дополнительное к гидротехническому сооружению устройство, устанавливаемое в водоводе или на гидротехнических сооружениях для измерения объемного расхода воды. [ГОСТ Р 51657.1-2000, статья 26] |
3.3 градуированное гидротехническое сооружение: Гидротехническое сооружение, оборудованное средствами измерений параметров водного потока, величины открытия затвора и проградуированное в натурных условиях.
3.4 пункт водоучета на мелиоративной системе: Пункт на водотоке или канале, включающий гидрометрическое сооружение или гидрометрическое устройство.
Общие требования по оснащению пунктов водоучета на мелиоративных системах (далее - пункты водоучета) включают:
- требования к созданию и размещению пунктов водоучета;
- определение контролируемых параметров водного потока;
- требования к средствам измерений в составе пунктов водоучета;
- требования к эксплуатации пунктов водоучета.
4.1.1 Пункты водоучета предназначены для обеспечения своевременной и достоверной информации о расходах, объемах и распределении оросительных и дренажно-сбросных вод, проходящих через них.
4.1.2 Пункты водоучета организовывают в целях:
- учета водных запасов источника орошения (природного водного объекта);
- учета объема водозабора мелиоративной системой;
- определения водного баланса системы и отдельных ее звеньев;
- контроля расходов потребления и отведения воды водопользователями в установленных лимитах;
- ведение внутренней отчетности о распределении воды системой и ее отдельными звеньями.
4.1.3 Обязательными объектами, на которых организуются пункты водоучета, являются:
- головные водозаборные сооружения из водных объектов в оросительную систему;
- подкачивающие и перекачивающие насосные станции;
- узлы водораспределения магистральных и межхозяйственных каналов;
- водовыделы в хозяйства-потребители (хозяйственные водовыделы);
- сбросы сточных, в том числе дренажных вод из оросительной системы.
4.1.4 В целях управления водораспределением пункты водоучета используются на перегораживающих регулирующих сооружениях и на водовыпусках, в пунктах водозабора, на участках слияния водотоков, на коллекторно-дренажной и сбросной сети. Количество пунктов водоучета и места их размещения на открытой сети выбирают в зависимости от количества и состава водорегулирующих сооружений и от принятой схемы управления технологическими процессами водораспределения.
4.1.5 Количество пунктов водоучета и места их расположения на закрытой сети определяется ее конструктивными параметрами.
4.1.6 По функциональному назначению пункты водоучета подразделяют:
- на опорные, необходимые для определения основных параметров гидрологического режима водного объекта в месте изъятия воды в оросительную систему по СП 421.1325800;
- головные, используемые для учета объема водозабора из водного объекта в оросительную систему по СП 421.1325800;
- распределительные по СП 421.1325800, подразделяющиеся на сетевые, необходимые для учета объема подачи воды в головах ветвей магистрального канала и распределителей различных порядков на границах административных районов, субъектов Российской Федерации, и передаточные, расположенные на пунктах выдела воды потребителям;
- сбросные, используемые для учета неиспользованного остатка оросительной воды и объема коллекторно-дренажного стока по СП 421.1325800;
- контрольные, в которых осуществляется наблюдение за уровнями воды с целью контроля на участках каналов за допустимой высотой уровня в целях сохранения и устойчивости дамб, градуировки измерительных устройств и сооружений;
- специальные, предназначенные для выполнения научно-исследовательских, изыскательских и других работ.
4.1.7 Пункт водоучета должен быть оборудован гидрометрическим мостиком, средствами измерений уровня воды и постоянными высотными знаками (реперами, марками). Для создания пункта водоучета возможно использование градуированных гидротехнических сооружений с щитовыми или секторными затворами, работающими как в режиме свободного, так и затопленного истечения, а также автоматических регуляторов и гидравлических стабилизаторов расходов.
4.1.8 Для открытых каналов используются следующие способы измерения расходов и (или) объемов воды: закрепленными гидростворами с устойчивыми или облицованными участками русла водотока, гидрометрическими сооружениями и устройствами, градуированными гидротехническими сооружениями (ГТС).
4.1.9 При измерении воды на закрепленных гидростворами с устойчивыми или облицованными участками русла пункт водоучета должен состоять из участка канала с устойчивым или специально облицованным руслом, уровнемерного колодца, гидрометрической переправы и средств измерений (гидрометрической рейки, уровнемера, глубиномера и измерителей скорости водного потока).
4.1.10 Пункт водоучета с гидрометрическими сооружениями и устройствами должен состоять из участков канала верхнего и нижнего бьефа со средствами измерений и уровнемерными колодцами для их размещения.
4.1.11 При необходимости совмещения двух функций - регулирования водоподачи в процессе водораспределения и измерения проходящих расходов воды, организуют пункт водоучета с градуированными ГТС. Для градуировки и последующей эксплуатации ГТС в качестве гидрометрического для определения расходов и объемов воды необходимо использовать сооружения, имеющие не более одного водопропускного отверстия. На этих сооружениях устанавливают дополнительное оборудование и измерительные приборы (уровнемерные колодцы с датчиками уровня воды и датчики положения затворов водопропускных отверстий).
4.1.12 На пунктах водоучета, располагаемых на трубопроводах мелиоративных систем, расходы и (или) объемы воды, в зависимости от стационарного оборудования, определяют сужающими устройствами, измерительными сечениями и участками трубопроводов с преобразователями скорости течения, счетчиками объема, градуированным гидромеханическим оборудованием.
4.1.13 Для решения задач управления водопользованием и водораспределением в системе автоматизированного водоучета могут использоваться:
- гидротехнические сооружения, обладающие свойствами водомерности (автоматические регуляторы и стабилизаторы расхода воды);
- градуированные регулирующие сооружения на водозаборах и вододелителях;
- участки фиксированных русел с устойчивым гидравлическим режимом движения воды;
- гидрометрические сооружения и устройства, включающие водосливы, пороги, гидрометрические лотки, а также приставки и насадки.
4.1.14 Для создания гидрометрической сети оросительных систем рекомендуется использование типовых конструкций расходоизмерительных сооружений, оборудованных необходимыми средствами измерений параметров водного потока.
4.1.15 Для повышения точности и эффективности системы водоучета и водораспределения возможна модернизация пунктов водоучета за счет выпускаемых, наиболее новых, перспективных и экономически целесообразных средств измерений путем составления соответствующего технико-экономического обоснования и при необходимости соответствующей проектно-сметной документации.
4.1.16 Для головных, передаточных и сбросных пунктов водоучета могут использоваться гидрометрические сооружения и устройства, разработанные по утвержденным типовым проектам, международным стандартам и (или) имеющие государственную нормативно-техническую документацию для признания этих сооружений в качестве рабочих средств измерений расходов и объемов воды, проведения поверок утвержденными методами и средствами измерений.
4.1.17 Пункты водоучета могут находиться в государственной, муниципальной и частной собственности.
4.1.18 Пункты водоучета на оросительной сети, из которых вода выделяется потребителям на нужды орошения и обводнения, находятся в ведении потребителей [граждан (физических лиц) и юридических лиц, осуществляющих деятельность в области мелиорации земель].
4.1.19 Собственник пункта водоучета обязан обеспечить беспрепятственный доступ к нему другим участникам водопользования на основании договора или соглашения, оформленных в соответствии с законодательством Российской Федерации. На собственника пункта водоучета возлагается ответственность за сохранность имущества, пломб на средствах измерений и устройствах, входящих в состав пункта водоучета, а также за своевременное проведение поверочных работ и регламентных мероприятий, ведение учетной документации и метрологическое обеспечение.
4.1.20 Оснащение пунктов водоучета техническими устройствами эксплуатационной гидрометрии осуществляется силами и средствами организации, в ведении которой они находятся.
4.1.21 Обязанность ведения учета объема забора (изъятия) водных ресурсов из водных объектов и объема сброса сточных, в том числе дренажных, вод и ответственность за их качество возлагается на физических лиц (индивидуальных предпринимателей), юридических лиц, которым предоставлено право пользования водным объектом в целях забора (изъятия) водных ресурсов и (или) сброса сточных, в том числе дренажных, вод.
4.1.22 Определение качества воды для орошения проводят в соответствии с ГОСТ 17.1.2.03. Общие требования к отбору проб - согласно ГОСТ Р 59024.
4.1.23 Место отбора проб и периодичность отбора устанавливают в соответствии с программой исследования в зависимости от водного объекта или системы водоотведения в соответствии с 4.3 ГОСТ Р 59024-2020.
4.1.24 Определение качества сбросных, в том числе дренажных, вод проводят в соответствии с [1].
4.2.1 На пунктах водоучета контролируемыми параметрами водного потока являются:
- геометрические размеры сечений измерительных участков;
- уровень (горизонт) воды;
- скорость водного потока;
- расход воды;
- объем воды.
4.2.2 Контролируемыми параметрами при организации автоматизированного водоучета и водораспределения являются уровни воды в бьефах каналов, величины открытия затворов регулирующих сооружений и расход воды (таблица А.1, приложение А).
4.3.1 Учет объема забора (изъятия) водных ресурсов из водных объектов и объема сброса сточных, в том числе дренажных, вод должен проводиться средствами измерений утвержденного типа, прошедшими поверку. Выбор средств измерений расхода и объема воды определяется величиной измеряемых расходов воды (максимального и минимального), производительностью водозаборных и водосбросных сооружений, составом сточных, в том числе дренажных, вод.
4.3.2 Способы, методы и средства измерений для пунктов водоучета согласно ГОСТ Р 51657.2, определяются техническими характеристиками водотоков, максимальными расходами воды, режимами протекания воды в канале или напорном трубопроводе, через гидрометрическое или гидротехническое сооружение, требованиями эксплуатации.
4.3.3 В зависимости от методов измерений расходов и объемов воды (приложение Б) пункты водоучета оснащаются стационарным оборудованием. Тип средства измерений для оснащения пункта водоучета определяется проектом. При оснащении пунктов водоучета в зависимости от конструкции оросительной сети могут использоваться следующие средства измерений:
- для безнапорных трубопроводов, открытых каналов и лотков - расходомеры-счетчики ультразвуковые, расходомеры с интегратором акустические, расходомеры - счетчики турбинные, расходомеры-счетчики электромагнитные;
- для напорных трубопроводов - расходомеры-счетчики ультразвуковые, расходомеры-счетчики турбинные, расходомеры-счетчики вихревые, расходомеры переменного перепада давления, расходомеры-счетчики массового расхода и массы жидкости;
- для гидрометрических сооружений открытой сети, оснащенных уровнемерными колодцами, расходомеры-счетчики ультразвуковые, расходомеры с интегратором акустические;
- для гидрометрических устройств - расходомеры-перепадомеры струйные.
4.3.4 Согласно перечню контролируемых параметров и методов измерения расхода и объема воды по ГОСТ Р 51657.2, средства измерений, используемые в составе пунктов водоучета, должны отвечать требованиям [2]:
- сведения об утверждении типа средств измерений в Федеральном информационном фонде по обеспечению единства измерений или/и (если оформлялись) свидетельства/сертификаты об утверждении типа средств измерений;
- информацию о поверке в Федеральном информационном фонде по обеспечению единства измерений, (наличие знака поверки или свидетельства о поверке, или записи о проведенной поверке, заверенной подписью поверителя и знаком поверки с указанием даты поверки в паспорте или формуляре).
4.4.1 Требованиями к эксплуатации пунктов водоучета являются:
- ведение эксплуатационной документации о состоянии пунктов водоучета (приложение В) и техническим характеристикам средств измерений (приложение Г);
- проведение периодических поверок средств измерений, входящих в состав пунктов водоучета, по приказу [3];
- проведение градуировки и поверки регулирующих гидротехнических сооружений, используемых в качестве расходоизмерительных гидрометрических сооружений, а также сооружений типа "фиксированное русло" на основе методики [4];
- техническое обслуживание и ремонт средств измерений;
- мониторинг действующей нормативно-технической документации на средства и методы измерений (технические регламенты, национальные стандарты, методики выполнения измерений, испытаний, поверки средств измерений);
- контроль наличия и технического состояния средств измерений для проведения поверок пунктов водоучета (измерительный инструмент для производства линейно-угловых измерений, средства измерений гидравлических параметров, электроизмерительные и радиоизмерительные приборы);
- проверка сведений об утвержденном типе средств измерений (наличие свидетельств или сертификатов об утверждении типа) и их поверке (наличие знака поверки (свидетельства о поверке) или записи о проведенной поверке, заверенной подписью поверителя и знаком поверки с указанием даты поверки (в паспорте или формуляре) в Федеральном информационном фонде по обеспечению единства измерений согласно [3].
4.4.2 Все средства измерений должны быть поверены до начала поливного сезона. Период действия результатов поверки средств измерений должен быть более периода поливного сезона и не оканчиваться в поливном сезоне. Внеочередной поверке средства измерений подлежат после их ремонта.
4.4.3 Систематический (ежедневный) учет воды на пунктах водоучета с фиксированным руслом проводят по градуировочной зависимости (графику, таблице, уравнению):
- при механизированном учете - прямым измерением (отсчетом) по уровнемерной рейке и определением расхода воды по зависимости Q = f(h);
- при автоматизированном учете - измерительным прибором с контролем показаний по уровнемеру.
4.4.4 Контрольные измерения расхода воды проводят с использованием измерителей скорости водного потока основным (двухточечным) способом "площадь - скорость" для построения графика Q = f(h). Для этого надо сделать 8 - 10 измерений в диапазоне от Qmin до Qmax. Контрольные измерения проводят один-два раза в месяц с целью проверки графика Q = f(h). При отклонении контрольных расходов по графику более 5% в последний вводится поправка ±Δh.
4.4.5 Периодически (по необходимости) проводят контрольную нивелировку пункта водоучета с целью установления "нуля" гидрометрической рейки или автоматического уровнемерного устройства относительно дна водотока.
4.4.6 Визуальный осмотр, очистку русла водотока и необходимый ремонт пункта водоучета проводят по мере необходимости, но не реже одного раза в год.
4.4.7 Погрешность измерения уровня и скорости водного потока на пунктах водоучета определяется погрешностью соответствующих средств измерений и устройств при непосредственном измерении. Для минимизации погрешности прямых измерений уровня воды на пунктах водоучета необходима установка уровнемеров в специально предназначенных успокоительных колодцах. На рисунках Д.1 - Д.17 приложения Д приведены некоторые типы схем гидрометрических сооружений и устройств, на которых обозначены рекомендуемые места установки уровнемеров.
4.4.8 Допустимая относительная погрешность измерения уровня и расхода воды на пунктах водоучета должна соответствовать ГОСТ 25855, ГОСТ Р 51657.4, [4], [5].
4.4.9 Погрешность определения градуировочной характеристики следует определять в соответствии с [6].
4.4.10 На каждом пункте водоучета следует систематически проводить замеры расхода и объема оросительных и дренажно-сбросных вод. Все сведения о распределении оросительной воды на вододелительных узлах и точках выдела воды потребителям необходимо систематизировать за каждые сутки на соответствующих эксплуатационных участках, обслуживающих данные узлы. В целях проверки качества замеров на пунктах водоучета один раз в месяц проводят контрольные измерения, включающие определение геометрических размеров сечений измерительных участков. Периодичность контрольных измерений обусловлена условиями эксплуатации открытых водоводов, связанными с вероятностью зарастания и заиления русел.
4.4.11 Для анализа данных при управлении системой, обеспечения корректировки плана водопользования и регулирования водораспределения по системе сведения о расходах и объемах оросительной воды должны передаваться дежурному диспетчеру.
4.4.12 Гидрометрические работы должны осуществляться специальным штатом службы эксплуатационной гидрометрии, возглавляемым инженером-гидрометристом. Для обеспечения эффективности работы гидрометрической службы пункты водоучета должны быть оснащены гидрометрическими устройствами.
4.4.13 Эксплуатация пунктов водоучета, техническое обслуживание, ремонт, проведение градуировочных работ, снятие показаний с гидрометрических устройств следует осуществлять в соответствии с техническими требованиями, инструкциями по эксплуатации средств и устройств, требованиями обеспечения безопасности труда - по ГОСТ 12.0.230.
4.4.14 При использовании гидрометрических устройств с напряжением питания от 220 В и выше пункты водоучета должны быть оборудованы средствами пожаротушения, защищены от несанкционированного доступа и должны отвечать требованиям функциональной безопасности по ГОСТ Р 53195.1.
4.4.15 Не реже одного раза в год выполняют осмотр, ремонт, окраску и эстетическое оформление пункта водоучета.
5.1 Оснащение пунктов водоучета должно проводиться специалистами, усвоившими основные требования настоящего стандарта, инструкции по эксплуатации средств измерений и прошедшими инструктаж по технике безопасности.
5.2 При оснащении пунктов водоучета приборами, входящими в системы дистанционного либо автоматизированного управления и контроля и требующими наличия источников электроэнергии, вышеуказанные специалисты должны проходить специальный курс подготовки по эксплуатации и обслуживанию этих приборов.
5.3 Выполнение работ по оснащению пунктов водоучета должно осуществляться с учетом обеспечения безопасности труда по [7] и ГОСТ 12.0.230.
Приложение А
(рекомендуемое)
|
Элементы систем с пунктами водоучета |
Способ регулирования водораспределения | |||||
|
по верхнему бьефу (ВБ) |
по нижнему бьефу (НБ) |
смешанное |
постоянными перепадами |
перетекающими объемами |
отбором расходов | |
|
Источник орошения (водохранилище, река) |
Уровень воды | |||||
|
Головные водозаборные сооружения |
Уровень ВБ, открытие затвора, расход |
Уровень НБ, открытие затвора, расход |
Уровень НБ, уровень ВБ, открытие затвора, расход | |||
|
Головные насосные станции |
Расход, уровень ВБ |
Расход, уровень НБ |
Расход, уровень НБ, уровень ВБ | |||
|
Перегораживающие сооружения на сети |
Расход, уровень ВБ, уровень НБ | |||||
|
Перекачивающие насосные станции |
Расход, уровень ВБ, уровень НБ | |||||
|
Водовыделы в хозяйства-потребители: водозаборные сооружения |
Расход, уровень ВБ, уровень НБ | |||||
|
Водовыделы в хозяйства-потребители: насосные станции подкачки |
Расход, давление, уровень ВБ |
Расход, давление, уровень НБ |
Расход, давление, уровень ВБ, уровень НБ | |||
|
Водохранилища, бассейны-накопители |
Уровень воды | |||||
|
Сбросные сооружения |
Расход | |||||
Приложение Б
(рекомендуемое)

Рисунок Б.1 - Методы и средства измерений расходов и объемов воды
Приложение В
(рекомендуемое)
В.1 Общие сведения о состоянии пунктов водоучета приведены в таблице В.1
|
Порядковый номер ПВ на линейной схеме |
Назначение и расположение ПВ |
Год ввода в эксплуатацию |
Географические координаты |
Тип и конструктивные особенности ПВ |
Характеристика состояния метрологического обеспечения |
Характеристика энергоснабжения |
Характеристика средства автоматизации и связи |
Характеристика состояния ПВ, предложения по реконструкции, дооснащению, переносу, ликвидации, капитальному ремонту и др. |
|
Год проведения последней реконструкции | ||||||||
|
1 |
2 |
3 |
4 |
5 |
6 |
7 |
8 |
9 |
В.2 Указания по заполнению таблицы В.1 "Общие сведения о состоянии пунктов водоучета".
В.2.1 В графе 1 для каждого пункта водоучета указывают его условный порядковый номер, соответствующий обозначению на линейной схеме гидрометрической сети мелиоративной системы.
В.2.2 В графе 2 указывают расположение ПВ (например, "пикет 5+50 канала Р-1-2". В этой же графе указывается назначение ПВ, например, "контроль на водозаборе" или "контроль на сбросном сооружении", или "передаточный учет водоподачи в хозяйство", или "контроль и учет на границе эксплуатационного участка" и т.п.).
В.2.3 В графе 3 указывают срок ввода ПВ в эксплуатацию и год проведения последнего капитального ремонта или реконструкции ПВ (если такие производились).
В.2.4 В графе 4 указывают географические координаты ПВ в соответствии с его местоположением.
В.2.5 В графе 5 указывают тип и краткие конструктивные особенности ПВ (например, типа "фиксированное русло", "градуированное вертушкой" или "водослив с тонкой стенкой трапецеидального сечения", или "реечный без облицовки, градуированный вертушкой", или "ультразвуковой расходомер" и т.п.).
В.2.6 В графе 6 указывают состояние метрологического обеспечения ПВ (например, "прошел поверку в 2021 г." или "не прошел поверку в связи с необходимостью реконструкции", или "оборудован ультразвуковым расходомером-счетчиком" или "не прошел поверку в 2022 г. ввиду несоответствия нормативным требованиям").
В.2.7 В графе 7 указывают обеспеченность ПВ источниками электроэнергии (например, "подведена ЛЭП 220 В" или "отсутствует. Расстояние до электрифицированного ГТС 250 м", или "проектом автоматизации предусмотрен подвод ЛЭП 220 В", или "отсутствует. Подвод ЛЭП не предусматривается" и т.п.).
В.2.8 В графе 8 указывают обеспеченность ПВ средствами автоматизации и связи (например, "подключен к системе дистанционной передачи данных" или "отсутствует". Есть проект установки средств дистанционной передачи данных" или "линия связи дистанционного контроля от ПВ до водозабора сооружения" и т.п.).
В.2.9 В графе 9 приводят выводы о соответствии ПВ нормативным требованиям и условиям эксплуатации и указываются конкретные мероприятия по реконструкции и совершенствованию (например, "удовлетворительно. Требует текущего ремонта и дооснащения уровнемером и счетчиком стока" или "неудовлетворительно. Требует переноса на пикет 2+50 и строительства нового ПВ", или "неудовлетворительно. Требует облицовки, установки мостика, успокоительного колодца, уровнемера", или "неудовлетворительно. Ввиду сбойности течения и подпорно-переменного режима, требует строительства нового ПВ другого типа"). Ввиду того, что заполнение графы 9 связано с наибольшими трудностями, эксплуатационные организации могут привлекать для оказания технической помощи и консультаций отраслевые научно-исследовательские и проектные организации.
В.2.10 При оформлении таблиц допускается вводить условные обозначения и сокращения. Сведения, требующие дополнительного разъяснения, рекомендуется указывать в пояснительной записке. На каждой таблице должны быть проставлены фамилия и подпись ответственного исполнителя.
Приложение Г
(рекомендуемое)
Г.1 Общие сведения о средствах измерений приведены в таблице Г.1.
|
Порядковый номер ПВ на линейной схеме |
Диапазон расходов Qmax/Qmin, м3/с |
Диапазон уровней (перепадов уровней) воды Hmax/Hmin (ΔHmax/ΔHmin), м |
Габаритные размеры канала или сооружения на участках, прилегающих к ПВ |
Габаритные размеры конструктивных частей ПВ |
Диапазон скорости потока Vmax/Vmin, м/с |
Характеристика облицовки канала на участке расположения ПВ |
Характеристика оборудования ПВ |
Характеристика условий эксплуатации ПВ |
|
1 |
2 |
3 |
4 |
5 |
6 |
7 |
8 |
9 |
Г.2 Указания по заполнению таблицы Г.1 "Общие сведения о состоянии средств измерений".
Г.2.1 В графе 1 для каждого ПВ указывают его условный порядковый номер, соответствующий обозначению на линейной схеме.
Г.2.2 В графу 2 записывают значения максимального и минимального расходов воды по данным планов водопользования или результатам измерений за прошедшие годы.
Г.2.3 В графу 3 записывают значения максимального и минимального уровней воды на ПВ относительно условных отметок дна, по результатам измерений за прошедшие годы. В случае применения в составе ПВ сужающих устройств типа насадков, приставок и т.п., у которых величина расхода зависит от изменения перепадов уровней воды, в графу 3 дополнительно записываются в скобках значения максимального и минимального перепада уровней воды.
Г.2.4 В графу 4 заносят сведения о габаритных размерах прилегающих к ПВ участков каналов или сооружений, в том числе:
- ширина по дну (b);
- ширина по верху (B);
- строительная глубина (Hстр);
- заложение откосов (m) для каналов прямоугольного сечения m = 0;
- средний уклон дна (i).
Если канал выполнен из параболических лотков, следует указать марку лотка.
Г.2.5 В случае размещения ПВ на регулирующих проводящих, сопрягающих и других гидротехнических сооружениях, необходимо в графе 4 указать дополнительные сведения, в том числе расстояние от затворов в верхнем или нижнем бьефе, число затворов, величины максимального и минимального открытия затворов, общую длину сооружения.
Г.2.6 В случае размещения пункта водоучета на закрытом (напорном) водоводе, следует в графе 4 указывать диаметр водовода (d), общее число параллельных водоводов (n), общую длину водоводов (l), в том числе длину прямолинейного участка в зоне расположения створа измерения (l/d) (отношения длины прямолинейного участка к диаметру). В этом случае в графе 3 вместо значений уровня воды указывают значение давления внутри водовода (P).
Г.2.7 В графе 5 в случае, если конструктивные размеры ПВ, например, типа "фиксированное русло", соответствует размерам прилегающих участков каналов или сооружений, следует указать: "см. графу 4".
Г.2.8 Если в пункте водоучета установлены сужающие устройства (например, водосливы с тонкой стенкой, насадки САНИИРИ, диафрагмы, расходомерные лотки и т.п.), то в графе 5 следует указать габаритные размеры этих сужающих устройств, в том числе ширину и высоту водосливного выреза, высоту порога, диаметр насадка и т.п.
Г.2.9 Для средств измерений, установленных в пунктах водоучета на напорных водоводах, следует в графе 5 указать их диаметр условного прохода (dу) и общую длину.
Г.2.10 В графе 6 следует указать фактические значения скорости потока, соответствующие максимальному и минимальному расходам воды. Эти данные следует принимать по результатам измерений, а в пунктах водоучета, где скорость потока непосредственно не измеряется, например, перед водосливами с тонкой стенкой они определяются расчетами, в результате деления соответствующих значений расходов воды на площади сечения при известных габаритах и глубине каналов.
Г.2.11 В графе 7 указывают сведения о состоянии и характеристиках облицовки канала на участке расположения ПВ (например, "облицован железобетонными плитами" или "облицован монолитным бетоном, требует ремонта", или "облицован булыжным камнем, требует облицовки бетоном", или "без облицовки, русло устойчивое (размываемое, зарастающее)", или "параболический лоток ЛР-60" и т.п.).
Г.2.12 В графе 8 записывают сведения о составе и характеристиках комплектующего оборудования ПВ, в том числе:
- средств измерений уровня воды утвержденного типа (например, "датчик уровня ультразвуковой", "датчик уровня поплавковый" или "датчик уровня акустический" и т.п.);
- средств переправы (например, "металлический мостик длиной 8,5 м" или "подвесной деревянный мостик на тросах длиной 12,5 м", или "мостик отсутствует" и т.п.);
- успокоительных колодцев (например, "круглый железобетонный колодец (d = 1 м)" или "прямоугольный бетонный колодец (0,6 x 0,8 м)", или "выносной металлический колодец в русле (d = 0,35 м)" и т.п.);
- средств измерений расхода и объема утвержденного типа (например, "расходомер-счетчик жидкости ультразвуковой" или "расходомер-перепадомер струйный" и т.п.);
- топографических реперах (например, "есть репер" или "репера нет");
- прочих средств измерений с указанием их диапазонов измерения, цены деления, количества и т.п.
Г.2.13 При наличии неисправного прибора указать в скобках "(неисправен)".
Г.2.14 В графе 9 указывают сведения о характерных условиях эксплуатации ПВ, в том числе:
- условия зарастания ПВ и прилегающих участков каналов, например, "сильно зарастает" или "слабо зарастает, на показания ПВ не влияет", или "канал облицован" и т.п.;
- условия заиления ПВ (например, "сильное заиление перед водосливом" или "слабое заиление ПВ, не влияет на показания", или "заиления нет");
- условия подпора (например, "сильный подпор от перегораживающего сооружения на расстоянии 0,3 км" или "слабый подпор из-за заиления и зарастания нижнего бьефа", или "подпор отсутствует" и т.п.);
- условия сбойности течения (например, "сбой из-за криволинейного подводящего участка" или "волна (H = 0,2 м) из-за большой скорости потока" и т.п.);
- особые условия, влияющие на работу ПВ (например, "наличие плавающего мусора, бурного потока со скоростью, больше критической, невозможность контроля воды на напорных водоводах и скважинах из-за коротких прямолинейных участков труб" и т.п.).
Г.2.15 При оформлении таблиц допускается вводить условные обозначения и сокращения. Сведения, требующие дополнительного разъяснения, рекомендуется указывать в пояснительной записке. На каждой таблице должны быть проставлены фамилия и подпись ответственного исполнителя.
Приложение Д
(рекомендуемое)

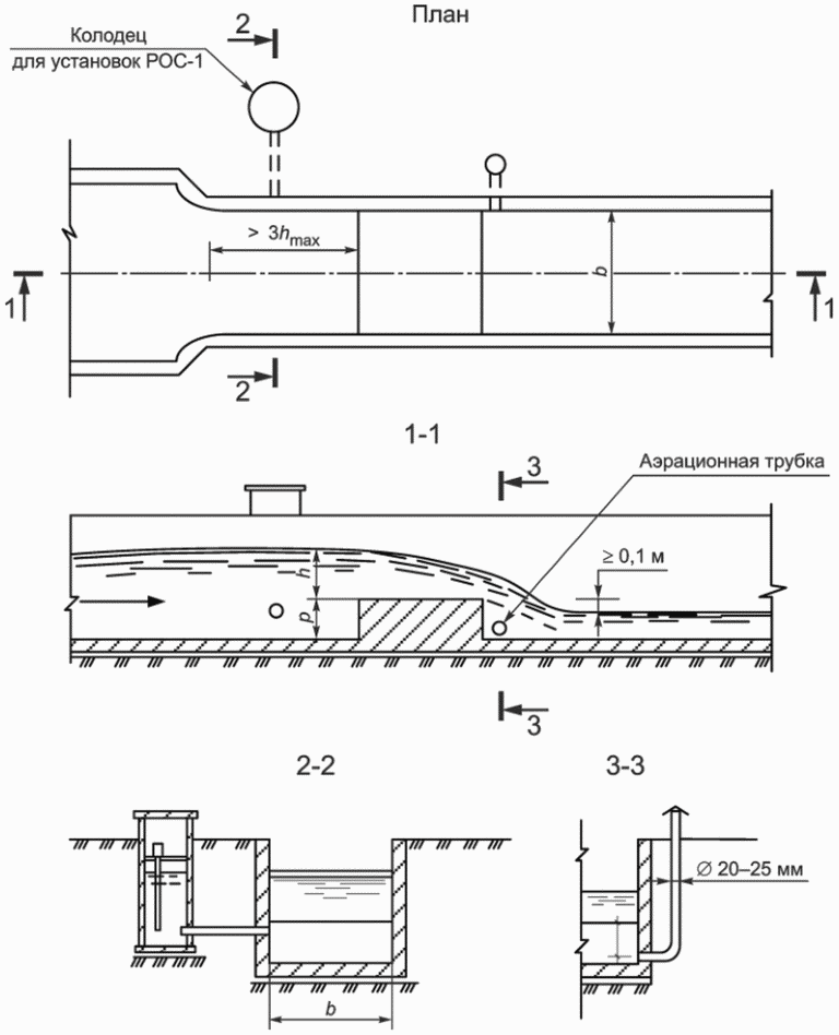
1, 6 - бетонированная часть русла; 2 – колодец с измерительным преобразователем; 3, 5 - контрольные рейки; 4 - порог; 7 - труба для опорожнения верхнего бьефа; 8 - окантовка уголком; 9 - вырезанная часть порога; УВ - уровень воды; bв - ширина выреза, м; bп – ширина порога, м; bк - ширина канала по дну, м; Pк – высота колодца, м; Pв - высота выреза, м; Pп - высота порога, м; mк - коэффициент заложения откосов канала; Hв – глубина выреза, м; hк - глубина воды в канале, м
Рисунок Д.1 - Схема водомерного порога САНИИРИ с вырезом

b - ширина водослива, м; h - глубина над порогом водослива, м; p - высота порога водослива, м; hmax - максимальная глубина воды в канале, м
Рисунок Д.2 - Водослив с широким порогом прямоугольного профиля с расходом до 10 м3/с

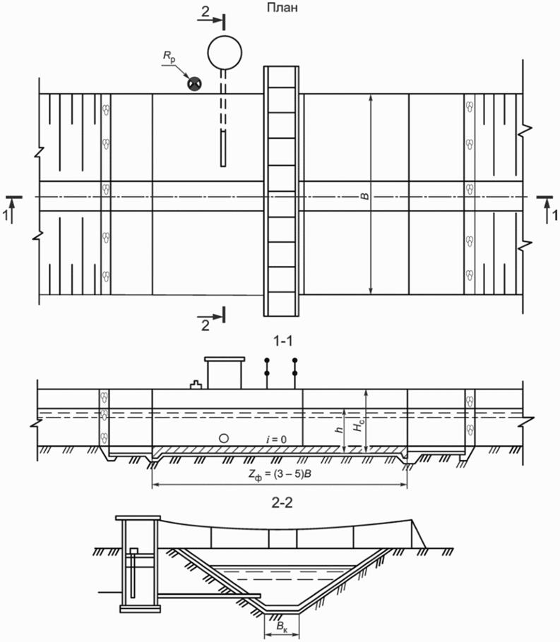
Bк - ширина канала по дну, м; B - ширина канала, м; h - глубина воды, м; i - уклон дна; Hс – строительная глубина сооружения, м; Zф - длина фиксированного русла, м; Rр - топографический репер
Рисунок Д.3 - Фиксированное русло с расходом до 25 м3/с

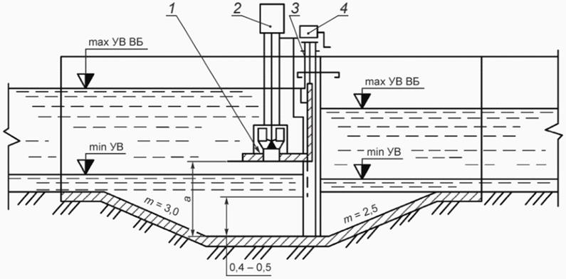
1 - горизонтальная полка; 2 - измерительный прибор; 3 - забральная стенка; 4 - подъемник; m – заложение откосов; min УВ - минимальный уровень воды, м; max УВ ВБ - максимальный уровень воды в верхнем бьефе, м; a - высота выходного сечения, м
Рисунок Д.4 - Водомерное устройство для открытых дрен и коллекторов

1, 7 - контрольные рейки; 2, 9 - колодцы; 3, 8 - измерительные преобразователи напора; 4 – сооружение с затвором; 5 - подъемный механизм затвора; 6 – измеритель высоты открытия затвора; 10, 13 - импульсные трубки; 11 - импульсное уплотнение; 12 - указатель высоты затвора; H - глубина воды в верхнем бьефе, м; hб - глубина воды в нижнем бьефе, м; a - высота выходного сечения, м; b - ширина канала по дну, м
Рисунок Д.5 - Схема градуированного сооружения

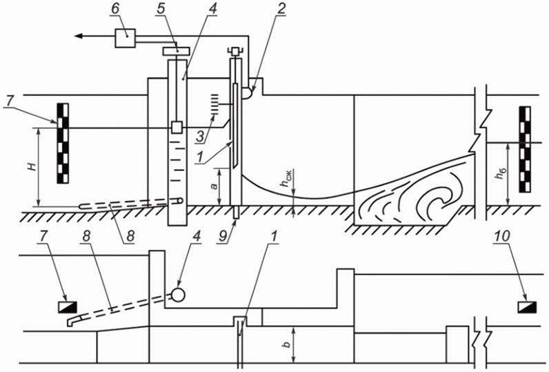
1 - затвор; 2 - измерительный преобразователь высоты открытия затвора; 3 - указатель положения затвора; 4 - колодец под измерительный преобразователь уровня; 5 - измерительный преобразователь напора; 6 – измерительный преобразователь расхода; 7, 10 - контрольные рейки; 8 - импульсная трубка; 9 - измерительный преобразователь уровня нижнего бьефа; H - глубина воды в верхнем бьефе, м; hб - глубина воды в нижнем бьефе, м; hсж - глубина воды в сжатом сечении, м; a - высота выходного сечения, м; b - ширина канала по дну, м
Рисунок Д.6 - Схема градуированного сооружения с плоским затвором

1 - труба; 2 - насадок; 3 - отверстие для сообщения трубы с колодцем под измерительный преобразователь; 4 - колодец; D - диаметр трубы, м; d - диаметр насадка, м; УВ - уровень воды в колодце, м; НБ - нижний бьеф, м
Рисунок Д.7 - Схема трубчатого расходомера-регулятора с насадком на входе

1 - труба; 2 - колодец под измерительный преобразователь; 3 - сегментная диафрагма; ВБ - верхний бьеф; НБ - нижний бьеф; D - диаметр трубы, м; H2 - глубина воды в верхнем бьефе, м
Рисунок Д.8 - Схема расходомера-водовыпуска с сегментной диафрагмой

1 - водомерная приставка; 2 - отверстие для отбора пьезометрического напора; 3 - затвор; 4 – колодец под измерительный преобразователь; УВ - уровень воды; H - глубина воды в верхнем бьефе, м; hсж - глубина в сжатом сечении, м
Рисунок Д.9 - Схема водомерной приставки полигонального очертания для лотковой сети

I - формы насадков: а - круглого сечения; б - квадратного; в - прямоугольного; II - схема установки насадка при понижении дна канала для обеспечения несвободного истечения: 1 - перегораживающая стенка; 2 - насадок; 3 - двухсекционный колодец под измерительный преобразователь; 4 - импульсные трубки для сообщения с верхним и нижним бьефом; 5 - контрольные рейки в верхнем и нижнем бьефах; A - высота насадка на входе, м; a – высота насадка на выходе, м; B - ширина насадка на входе, м; b - ширина насадка на выходе, м; Z - перепад воды, м; l - длина насадка, м; D - диаметр насадка на входе, м; d - диаметр насадка на выходе, м; max УВ – максимальный уровень воды, м; min УВ - минимальный уровень воды, м
Рисунок Д.10 - Водомерные сходящиеся насадки

1 - отверстие в перегораживающей стенке; 2 – импульсные трубки для сообщения двухсекционного колодца с верхним и нижним бьефами; 3 - двухсекционный колодец; 4 - измерительный преобразователь; 5 - контрольные рейки; z - перепад воды, м; h - глубина воды в верхнем бьефе, м; hб - глубина воды в нижнем бьефе, м
Рисунок Д.11 - Схема водомерного поста с диафрагмой

1 - труба; 2 - двухсекционный колодец; 3 – измерительный преобразователь; 4 - контрольные рейки; 5 – импульсные трубки; H - глубина воды в верхнем бьефе, м; d – диаметр трубы, м; l - длина трубы, м; Z - перепад воды, м
Рисунок Д.12 - Схема водомерного поста с трубчатым сооружением с напорным режимом истечения без регулирования отверстия истечения на входе или выходе

1 - труба; 2 - блок-гаситель; 3 - колодец под измерительный преобразователь; ВБ - верхний бьеф; НБ - нижний бьеф; H2 - глубина воды в верхнем бьефе, м; D - диаметр трубы, м
Рисунок Д.13 - Схема расходомера-водовыпуска для внутрихозяйственной сети

1 - труба; 2 - насадок; 3 - отверстие для сообщения трубы с колодцем под измерительный преобразователь; 4 - колодец; УВ - уровень воды; НБ - нижний бьеф; D - диаметр насадка на входе, м; d - диаметр насадка на выходе, м
Рисунок Д.14 - Схема трубчатого расходомера-регулятора с насадком на входе

R - радиус закругления входной части, м; B - ширина канала перед сооружением, м; b - ширина канала в створе сооружения, м; hmax - максимальная глубина воды, м; p - высота порога водослива, м; h - напор воды над порогом водослива, м
Рисунок Д.15 - Водослив с порогом треугольного профиля с расходом до 10 м3/с

b - ширина лотка по дну, м; B - ширина лотка, м; B1 - ширина канала после сооружения м; F - длина выступа, м; k - глубина, м; A - длина стенки входящей части лотка, м
Рисунок Д.16 - Лоток Паршала расходом до 1,5 м3/с

hп - высота прыжка, м; h - глубина воды, м; Bк - ширина лотка по дну, м; Bл - ширина лотка, м
Рисунок Д.17 - Расходомерный порог САНИИРИ с расходом до 1,5 м3/с
Библиография
|
[1] |
Приказ Минсельхоза России от 13 декабря 2016 г. N 552 "Об утверждении нормативов качества воды водных объектов рыбохозяйственного значения, в том числе нормативов предельно допустимых концентраций вредных веществ в водах водных объектов рыбохозяйственного значения" | |
|
[2] |
Федеральный закон от 26 июня 2008 г. N 102-ФЗ "Об обеспечении единства измерений" | |
|
[3] |
Приказ Минпромторга России от 31 июля 2020 г. N 2510 "Об утверждении порядка проведения поверки средств измерений, требований к знаку поверки и содержанию свидетельства о поверке" | |
|
[4] |
МИ 1759-87 |
ГСИ. Расход воды на реках и каналах. Методика выполнения измерений методом "скорость - площадь" |
|
[5] |
МИ 2406-97 |
ГСИ. Расход жидкости в открытых каналах систем водоснабжения и канализации. Методика выполнения измерений при помощи стандартных водосливов и лотков |
|
[6] |
МИ 2175-91 |
ГСИ. Градуировочные характеристики средств измерений. Методы построения. Оценивание погрешностей |
|
[7] |
Правила по технике безопасности при производстве наблюдений и работ по сети Госкомгидромета (утверждены Приказом Госкомгидромета СССР от 31 мая 1982 г.) | |


