ГОСТ Р 71111-2023 СИСТЕМЫ И СООРУЖЕНИЯ МЕЛИОРАТИВНЫЕ. НОРМЫ ОТВОДА ЗЕМЕЛЬ ДЛЯ ЛИНЕЙНЫХ СООРУЖЕНИЙ
Утв. и введен в действие Приказом Федерального агентства по техническому регулированию и метрологии от 23 ноября 2023 г. N 1462-ст
Reclamation systems and structures. Norms of land allotment for linear structures
ОКС 65.060.35
Дата введения - 1 июля 2024 года
Введен впервые
Предисловие
1 РАЗРАБОТАН Федеральным государственным бюджетным научным учреждением "Российский научно-исследовательский институт проблем мелиорации" (ФГБНУ "РосНИИПМ")
2 ВНЕСЕН Техническим комитетом по стандартизации ТК 151 "Мелиорация"
3 УТВЕРЖДЕН И ВВЕДЕН В ДЕЙСТВИЕ Приказом Федерального агентства по техническому регулированию и метрологии от 23 ноября 2023 г. N 1462-ст
4 ВВЕДЕН ВПЕРВЫЕ
Правила применения настоящего стандарта установлены в статье 26 Федерального закона от 29 июня 2015 г. N 162-ФЗ "О стандартизации в Российской Федерации". Информация об изменениях к настоящему стандарту публикуется в ежегодном (по состоянию на 1 января текущего года) информационном указателе "Национальные стандарты", а официальный текст изменений и поправок - в ежемесячном информационном указателе "Национальные стандарты". В случае пересмотра (замены) или отмены настоящего стандарта соответствующее уведомление будет опубликовано в ближайшем выпуске ежемесячного информационного указателя "Национальные стандарты". Соответствующая информация, уведомление и тексты размещаются также в информационной системе общего пользования - на официальном сайте Федерального агентства по техническому регулированию и метрологии в сети Интернет (www.rst.gov.ru)
1.1 Настоящий стандарт устанавливает нормы отвода земель для вновь строящихся мелиоративных гидротехнических линейных сооружений (МГЛС) на всех стадиях жизненного цикла.
1.2 Настоящий стандарт не распространяется на мелиоративные каналы расходом более 10 м3/с, трубопроводы стальные диаметром более 1420 мм, полимерные диаметром более 3000 мм, чугунные, железобетонные, хризотилцементные и керамические диаметром более 2500 мм, оградительные дамбы высотой насыпи более 3,5 м.
В настоящем стандарте использованы нормативные ссылки на следующие документы:
ГОСТ Р 70523-2022 Системы и сооружения мелиоративные. Термины и определения
СП 31.13330 "СНиП 2.04.02-84* Водоснабжение. Наружные сети и сооружения"
СП 100.13330 "СНиП 2.06.03-85 Мелиоративные системы и сооружения"
СП 407.1325800 Земляные работы. Правила производства способом гидромеханизации
Примечание - При пользовании настоящим стандартом целесообразно проверить действие ссылочных стандартов (сводов правил) в информационной системе общего пользования - на официальном сайте Федерального агентства по техническому регулированию и метрологии в сети Интернет или по ежегодному информационному указателю "Национальные стандарты", который опубликован по состоянию на 1 января текущего года, и по выпускам ежемесячного информационного указателя "Национальные стандарты" за текущий год. Если заменен ссылочный документ, на который дана недатированная ссылка, то рекомендуется использовать действующую версию этого документа с учетом всех внесенных в данную версию изменений. Если заменен ссылочный документ, на который дана датированная ссылка, то рекомендуется использовать версию этого документа с указанным выше годом утверждения (принятия). Если после утверждения настоящего стандарта в ссылочный документ, на который дана датированная ссылка, внесено изменение, затрагивающее положение, на которое дана ссылка, то это положение рекомендуется применять без учета данного изменения. Если ссылочный документ отменен без замены, то положение, в котором дана ссылка на него, рекомендуется применять в части, не затрагивающей эту ссылку.
В настоящем стандарте применены термины по [1], а также следующие термины с соответствующими определениями:
3.1
|
гидротехническое сооружение: Сооружение на мелиоративной системе, подвергающееся воздействию водной среды, предназначенное для использования и охраны водных ресурсов, предотвращения вредного воздействия вод. [ГОСТ Р 70523-2022, пункт 2.1.14] |
3.2 линейное сооружение: Сооружение, которое представляет собой объемную или плоскостную систему строительства, включая наземную, надземную или подземную части, длина которых несоизмеримо больше их ширины или диаметра.
3.3 мелиоративный канал в полувыемке: Канал, глубина выемки которого больше или равна половине строительной глубины.
3.4 мелиоративный канал в полунасыпи: Канал, высота насыпи которого больше половины строительной глубины.
3.5 полоса отвода: Линейно-протяженный земельный участок на трассе сооружения, отведенный для его размещения, строительства, реконструкции, капитального ремонта и эксплуатации.
3.6 предохранительная полоса: Линейно-протяженный земельный участок, расположенный с обеих сторон сооружения, предназначенный для защиты от механических воздействий.
3.7 производственная полоса: Часть полосы отвода, предназначенная для осуществления строительных и эксплуатационных работ.
4.1 Ширину полос отвода для МГЛС назначают в зависимости от их конструктивных особенностей и способов строительства, реконструкции, капитального ремонта (далее - строительные работы), эксплуатации.
4.2 При выборе конструкции водопроводящего сооружения для транспортирования воды, на стадии проектирования, приоритет рекомендуется оставлять за трубопроводами.
4.3 При проведении земляных работ методом гидромеханизации отвод земель для МГЛС выполняют на основании проектной документации с учетом требований СП 407.1325800.
4.4 Ширину полос отвода для МГЛС, разрабатываемых взрывным методом, а также проходящих в районах, подверженных оползням и селям, в населенных пунктах, на пересечениях с естественными и искусственными препятствиями (склонами, оврагами, водными объектами, лесами, газопроводами, нефтепроводами и др.) определяют проектной документацией.
4.5 Выбор, отвод и использование земель для МГЛС должны отвечать требованиям градостроительного, земельного, водного и лесного законодательства Российской Федерации.
4.6 В ширину полосы отвода для МГЛС включают земельные участки под размещение сооружений и их элементов, и предохранительные и производственные полосы.
4.7 Ширину предохранительных полос для МГЛС принимают равной одному метру по обе стороны сооружения.
5.1 Ширину полос отвода для мелиоративных каналов принимают в зависимости от их размеров и поперечного сечения:
- в: выемке (рисунок 1) - по таблице 1;
- полувыемке (рисунок 2) - по таблице 2;
- полунасыпи (рисунок 2) - по таблице 3;
- насыпи (рисунок 3) - по таблице 4.

m1 - заложение мокрого откоса; hстр – строительная глубина, м; в - ширина по дну, м; Пп – производственная полоса, м; A - ширина полосы отвода, м
Рисунок 1 - Поперечное сечение мелиоративного канала в выемке
|
Параметр канала |
Ширина полосы отвода A, м | ||
|
ширина по дну в, м |
заложение откосов m1 |
строительная глубина hстр, м | |
|
0,4 |
1,0 |
0,5 - 1,0 |
12,5 - 15,5 |
|
0,4 |
1,5 |
0,5 - 1,0 |
14,0 - 17,5 |
|
0,4 |
1,0 |
1,0 - 2,0 |
15,5 - 22,5 |
|
0,4 |
1,5 |
1,0 - 2,0 |
19,5 - 28,5 |
|
0,6 |
1,0 |
0,5 - 1,0 |
17,5 - 20,5 |
|
0,6 |
1,5 |
0,5 - 1,0 |
19,0 - 22,5 |
|
0,6 |
1,0 |
1,0 - 2,0 |
20,5 - 25,5 |
|
0,6 |
1,5 |
1,0 - 2,0 |
22,5 - 30,5 |
|
0,8 |
1,0 |
0,5 - 1,0 |
18,0 - 22,0 |
|
0,8 |
1,5 |
0,5 - 1,0 |
19,5 - 25,0 |
|
0,8 |
1,0 |
1,0 - 2,0 |
22,0 - 29,0 |
|
0,8 |
1,5 |
1,0 - 2,0 |
25,0 - 36,9 |
|
1,0 |
1,0 |
0,5 - 1,0 |
19,0 - 22,0 |
|
1,0 |
1,5 |
0,5 - 1,0 |
20,5 - 25,0 |
|
1,0 |
1,0 |
1,0 - 2,0 |
22,0 - 28,0 |
|
1,0 |
1,5 |
1,0 - 2,0 |
25,0 - 34,0 |
|
1,0 |
1,5 |
2,0 - 3,0 |
34,0 - 42,0 |
|
1,5 |
1,0 |
1,0 - 2,0 |
25,5 - 30,5 |
|
1,5 |
1,5 |
1,0 - 2,0 |
28,5 - 35,5 |
|
1,5 |
1,5 |
2,0 - 3,0 |
35,5 - 43,5 |
|
1,5 |
2,0 |
2,0 - 3,0 |
34,5 - 50,5 |
|
2,0 |
1,0 |
1,0 - 2,0 |
28,0 - 33,0 |
|
2,0 |
1,5 |
1,0 - 2,0 |
31,0 - 47,0 |
|
2,0 |
1,5 |
2,0 - 3,0 |
38,0 - 46,0 |
|
2,0 |
2,0 |
2,0 - 3,0 |
43,0 - 53,0 |
|
2,5 |
1,5 |
2,0 - 3,0 |
40,5 - 48,5 |
|
2,5 |
2,0 |
2,0 - 3,0 |
45,5 - 56,0 |
|
3,0 |
1,5 |
2,0 - 3,0 |
43,0 - 52,0 |
|
3,0 |
2,0 |
2,0 - 3,0 |
49,0 - 62,0 |

m1 - заложение мокрого откоса; m2 - заложение сухого откоса; hстр - строительная глубина, м; hн - высота насыпи, м; hв - глубина выемки, м; в - ширина по дну, м; а – ширина гребня дамбы, м; Пп - производственная полоса, м; A - ширина полосы отвода, м
Рисунок 2 - Поперечные сечения мелиоративных каналов в полунасыпи (при hн> hстр/2) и в полувыемке (при hв ≥ hстр/2)
|
Параметр канала |
Ширина полосы отвода A, м | |||||
|
ширина по дну в, м |
заложение откосов |
строительная глубина hстр, м |
глубина выемки hв, м |
ширина гребня дамбы а, м | ||
|
m1 |
m2 | |||||
|
0,4 |
1,0 |
1,5 |
0,5 |
0,3 |
3,0 |
21,0 |
|
0,4 |
1,0 |
1,5 |
1,0 |
0,5 - 0,9 |
3,0 |
28,5 - 23,5 |
|
0,4 |
1,5 |
1,5 |
0,5 |
0,3 |
3,0 |
23,5 |
|
0,4 |
1,5 |
1,5 |
1,0 |
0,5 - 0,9 |
3,0 |
33,5 - 28,5 |
|
0,6 |
1,0 |
1,5 |
0,5 |
0,3 |
3,0 |
22,0 |
|
0,6 |
1,0 |
1,5 |
1,0 |
0,5 - 0,9 |
3,0 |
32,0 - 24,5 |
|
0,6 |
1,5 |
1,5 |
0,5 |
0,3 |
3,0 |
24,5 |
|
0,6 |
1,5 |
1,5 |
1,0 |
0,5 - 0,9 |
3,0 |
36,0 - 28,5 |
|
0,8 |
1,0 |
1,5 |
0,5 |
0,3 |
3,0 |
34,5 |
|
0,8 |
1,0 |
1,5 |
1,0 |
0,5 - 0,9 |
3,0 |
38,0 - 36,0 |
|
0,8 |
1,0 |
1,5 |
2,0 |
1,0 - 1,9 |
3,0 |
47,5 - 41,0 |
|
0,8 |
1,5 |
1,5 |
0,5 |
0,3 |
3,0 |
36,0 |
|
0,8 |
1,5 |
1,5 |
1,0 |
0,5 - 0,9 |
3,0 |
41,0 - 38,0 |
|
0,8 |
1,5 |
1,5 |
2,0 |
1,0 - 1,9 |
3,0 |
53,5 - 48,0 |
|
1,0 |
1,0 |
1,5 |
0,5 |
0,3 |
3,0 |
36,5 |
|
1,0 |
1,0 |
1,5 |
1,0 |
0,5 - 0,9 |
3,0 |
40,0 - 37,0 |
|
1,0 |
1,0 |
1,5 |
2,0 |
1,0 - 1,9 |
3,0 |
48,5 - 42,0 |
|
1,0 |
1,5 |
1,5 |
0,5 |
0,3 |
3,0 |
38,0 |
|
1,0 |
1,5 |
1,5 |
1,0 |
0,5 - 0,9 |
3,0 |
42,0 - 40,0 |
|
1,0 |
1,5 |
1,5 |
2,0 |
1,0 - 1,9 |
3,0 |
52,0 - 47,0 |
|
1,5 |
1,0 |
1,5 |
1,0 |
0,5 - 0,9 |
3,0 |
44,5 - 42,5 |
|
1,5 |
1,0 |
1,5 |
2,0 |
1,0 - 1,9 |
3,0 |
52,0 - 46,5 |
|
1,5 |
1,5 |
1,5 |
1,0 |
0,5 - 0,9 |
3,0 |
46,5 - 44,5 |
|
1,5 |
1,5 |
1,5 |
2,0 |
1,0 - 1,9 |
3,0 |
56,0 - 50,5 |
|
1,5 |
1,5 |
1,5 |
3,0 |
1,5 - 2,9 |
4,0 |
65,5 - 59,5 |
|
2 |
1,0 |
1,5 |
1,0 |
0,5 - 0,9 |
4,0 |
51,0 - 49,0 |
|
2,0 |
1,0 |
1,5 |
2,0 |
1,0 - 1,9 |
4,0 |
60,0 - 54,0 |
|
2,0 |
1,5 |
1,5 |
1,0 |
0,5 - 0,9 |
4,0 |
55,0 - 51,0 |
|
2,0 |
1,5 |
1,5 |
2,0 |
1,0 - 1,9 |
4,0 |
63,5 - 58,0 |
|
2,0 |
1,5 |
1,5 |
3,0 |
1,5 - 2,9 |
4,0 |
72,0 - 64,0 |
|
2,0 |
2,0 |
2,0 |
2,0 |
1,0 - 1,9 |
4,0 |
70,0 - 62,0 |
|
2,0 |
2,0 |
2,0 |
3,0 |
1,5 - 2,9 |
4,0 |
81,0 - 70,0 |
|
2,5 |
1,5 |
1,5 |
2,0 |
1,0 - 1,9 |
4,0 |
65,0 - 60,0 |
|
2,5 |
1,5 |
1,5 |
3,0 |
1,5 - 2,9 |
4,0 |
79,0 - 66,5 |
|
2,5 |
2,0 |
2,0 |
2,0 |
1,0 - 1,9 |
4,0 |
75,5 - 64,5 |
|
2,5 |
2,0 |
2,0 |
3,0 |
1,0,5 - 2,9 |
4,0 |
91,5 - 75,5 |
|
3,0 |
1,5 |
1,5 |
2,0 |
1,0 - 1,9 |
4,0 |
71,5 - 65,0 |
|
3,0 |
1,5 |
1,5 |
3,0 |
1,5 - 2,9 |
4,0 |
84,0 - 71,0 |
|
3,0 |
2,0 |
2,0 |
2,0 |
1,0 - 1,9 |
4,0 |
81,0 - 69,0 |
|
3,0 |
2,0 |
2,0 |
3,0 |
1,5 - 2,9 |
4,0 |
97,0 - 81,0 |
|
Параметр канала |
Ширина полосы отвода A, м | |||||
|
ширина по дну в, м |
заложение откосов |
строительная глубина hстр, м |
высота насыпи hн, м |
ширина гребня дамбы а, м | ||
|
m1 |
m2 | |||||
|
0,4 |
1,0 |
1,5 |
0,5 |
0,3 |
3,0 |
31,0 |
|
0,4 |
1,0 |
1,5 |
1,0 |
0,5 - 0,9 |
3,0 |
34,5 - 38,0 |
|
0,4 |
1,5 |
1,5 |
0,5 |
0,3 |
3,0 |
32,5 |
|
0,4 |
1,5 |
1,5 |
1,0 |
0,5 - 0,9 |
3,0 |
36,5 - 40,0 |
|
0,6 |
1,0 |
1,5 |
0,5 |
0,3 |
3,0 |
31,0 |
|
0,6 |
1,0 |
1,5 |
1,0 |
0,5 - 0,9 |
3,0 |
36,0 - 38,0 |
|
0,6 |
1,5 |
1,5 |
0,5 |
0,3 |
3,0 |
32,5 |
|
0,6 |
1,5 |
1,5 |
1,0 |
0,5 - 0,9 |
3,0 |
38,0 - 40,0 |
|
0,8 |
1,0 |
1,5 |
0,5 |
0,3 |
3,0 |
32,5 |
|
0,8 |
1,0 |
1,5 |
1,0 |
0,5 - 0,9 |
3,0 |
36,0 - 38,0 |
|
0,8 |
1,0 |
1,5 |
2,0 |
1,0 - 1,9 |
3,0 |
43,5 - 49,0 |
|
0,8 |
1,5 |
1,5 |
0,5 |
0,3 |
3,0 |
33,0 |
|
0,8 |
1,5 |
1,5 |
1,0 |
0,5 - 0,9 |
3,0 |
38,0 - 40,0 |
|
0,8 |
1,5 |
1,5 |
2,0 |
1,0 - 1,9 |
3,0 |
48,5 - 54,0 |
|
1,0 |
1,0 |
1,5 |
0,5 |
0,3 |
3,0 |
33,5 |
|
1,0 |
1,0 |
1,5 |
1,0 |
0,5 - 0,9 |
3,0 |
39,0 - 44,5 |
|
1,0 |
1,0 |
1,5 |
2,0 |
1,0 - 1,9 |
3,0 |
51,5 - 62,5 |
|
1,0 |
1,5 |
1,5 |
0,5 |
0,3 |
3,0 |
35,0 |
|
1,0 |
1,5 |
1,5 |
1,0 |
0,5 - 0,9 |
3,0 |
43,0 - 48,5 |
|
1,0 |
1,5 |
1,5 |
2,0 |
1,0 - 1,9 |
3,0 |
58,5 - 69,5 |
|
1,5 |
1,0 |
1,5 |
1,0 |
0,5 - 0,9 |
3,0 |
38,5 - 42,0 |
|
1,5 |
1,0 |
1,5 |
2,0 |
1,0 - 1,9 |
3,0 |
46,0 - 52,0 |
|
1,5 |
1,5 |
1,5 |
1,0 |
0,5 - 0,9 |
3,0 |
40,5 - 44,0 |
|
1,5 |
1,5 |
1,5 |
2,0 |
1,0 - 1,9 |
3,0 |
50,0 - 56,0 |
|
1,5 |
1,5 |
1,5 |
3,0 |
1,5 - 2,9 |
3,0 |
59,5 - 69,0 |
|
1,5 |
2,0 |
2,0 |
2,0 |
1,0 - 1,9 |
4,0 |
61,5 - 69,0 |
|
1,5 |
2,0 |
2,0 |
3,0 |
1,5 - 2,9 |
4,0 |
74,5 - 86,0 |
|
2,0 |
1,0 |
1,5 |
1,0 |
0,5 - 0,9 |
4,0 |
56,0 - 59,5 |
|
2,0 |
1,0 |
1,5 |
2,0 |
1,0 - 1,9 |
4,0 |
63,5 - 69,5 |
|
2,0 |
1,5 |
3,0 |
1,0 |
0,5 - 0,9 |
4,0 |
63,5 - 67,5 |
|
2,0 |
1,5 |
3,0 |
2,0 |
1,0 - 1,9 |
4,0 |
76,5 - 84,5 |
|
2,0 |
1,5 |
3,0 |
3,0 |
1,5 - 2,9 |
4,0 |
89,5 - 106,5 |
|
2,0 |
2,0 |
3,0 |
2,0 |
1,0 - 1,9 |
4,0 |
80,5 - 91,5 |
|
2,0 |
2,0 |
3,0 |
3,0 |
1,5 - 2,9 |
4,0 |
85,5 - 112,5 |
|
2,5 |
1,5 |
3,0 |
2,0 |
1,0 - 1,9 |
4,0 |
71,0 - 85,0 |
|
2,5 |
1,5 |
3,0 |
3,0 |
1,5 - 2,9 |
4,0 |
84,0 - 110,0 |
|
2,5 |
2,0 |
3,0 |
2,0 |
1,0 - 1,9 |
4,0 |
77,0 - 90,0 |
|
2,5 |
2,0 |
3,0 |
3,0 |
1,5 - 2,9 |
4,0 |
96,0 - 118,0 |
|
3,0 |
1,5 |
1,5 |
2,0 |
1,0 - 1,9 |
4,0 |
68,5 - 78,5 |
|
3,0 |
1,5 |
1,5 |
3,0 |
1,5 - 2,9 |
4,0 |
83,0 - 97,5 |
|
3,0 |
2,0 |
2,0 |
2,0 |
1,0 - 1,9 |
4,0 |
80,0 - 93,5 |
|
3,0 |
2,0 |
2,0 |
3,0 |
1,5 - 2,9 |
4,0 |
100,0 - 117,5 |

m1 - заложение мокрого откоса; m2 - заложение сухого откоса; hстр - строительная глубина, м; hн - высота насыпи, м; в - ширина по дну, м; а - ширина гребня дамбы, м; Пп - производственная полоса, м; A - ширина полосы отвода, м
Рисунок 3 - Поперечное сечение мелиоративного канала в насыпи
|
Параметр канала |
Ширина полосы отвода A, м | |||||
|
ширина по дну в, м |
заложение откосов |
строительная глубина hстр, м |
высота насыпи hн, м |
ширина гребня дамбы а, м | ||
|
m1 |
m2 | |||||
|
0,4 |
1,0 |
1,5 |
0,5 - 1,0 |
0,6 - 1,1 |
3,0 |
58,5 - 63,0 |
|
0,4 |
1,5 |
1,5 |
0,5 - 1,0 |
0,6 - 1,1 |
3,0 |
60,0 - 65,0 |
|
0,6 |
1,0 |
1,5 |
0,5 - 1,0 |
0,6 - 1,1 |
3,0 |
59,0 - 63,5 |
|
0,6 |
1,5 |
1,5 |
0,5 - 1,0 |
0,6 - 1,1 |
3,0 |
60,5 - 65,5 |
|
0,8 |
1,0 |
1,5 |
0,5 - 1,0 |
0,6 - 1,1 |
3,0 |
60,5 - 65,0 |
|
0,8 |
1,0 |
1,5 |
1,0 - 2,0 |
1,1 - 2,1 |
3,0 |
65,0 - 74,0 |
|
0,8 |
1,5 |
1,5 |
0,5 - 1,0 |
0,6 - 1,1 |
3,0 |
61,0 - 67,0 |
|
0,8 |
1,5 |
1,5 |
1,0 - 2,0 |
1,1 - 2,0 |
3,0 |
67,0 - 78,0 |
|
1,0 |
1,0 |
1,5 |
0,5 - 1,0 |
0,6 - 1,1 |
3,0 |
60,5 - 66,0 |
|
1,0 |
1,0 |
1,5 |
1,0 - 2,0 |
1,1 - 2,1 |
3,0 |
66,0 - 76,0 |
|
1,0 |
1,5 |
1,5 |
0,5 - 1,0 |
0,6 - 1,1 |
3,0 |
62,0 - 68,0 |
|
1,0 |
1,5 |
2,0 |
1,0 - 2,0 |
1,1 - 2,1 |
3,0 |
70,5 - 84,5 |
|
1,5 |
1,0 |
1,5 |
1,0 - 2,0 |
1,1 - 2,1 |
3,0 |
65,5 - 74,5 |
|
1,5 |
1,5 |
2,0 |
1,0 - 2,0 |
1,1 - 2,1 |
3,0 |
70,0 - 83,0 |
|
1,5 |
1,5 |
3,0 |
2,0 - 3,0 |
2,1 - 3,1 |
4,0 |
94,5 - 110,5 |
|
1,5 |
2,0 |
3,0 |
2,0 - 3,0 |
2,1 - 3,1 |
4,0 |
97,5 - 115,5 |
|
2,0 |
1,0 |
1,5 |
1,0 - 2,0 |
1,1 - 2,1 |
4,0 |
72,0 - 82,0 |
|
2,0 |
1,5 |
2,0 |
1,0 - 2,0 |
1,1 - 2,1 |
4,0 |
77,5 - 91,5 |
|
2,0 |
1,5 |
2,0 |
2,0 - 3,0 |
2,1 - 3,1 |
4,0 |
91,5 - 105,5 |
|
2,0 |
2,0 |
3,0 |
2,0 - 3,0 |
2,1 - 3,1 |
4,0 |
104,0 - 125,0 |
|
2,5 |
1,5 |
2,0 |
2,0 - 3,0 |
2,1 - 3,1 |
4,0 |
98,0 - 114,0 |
|
2,5 |
2,0 |
3,0 |
2,0 - 3,0 |
2,1 - 3,1 |
4,0 |
111,5 - 129,5 |
|
3,0 |
1,5 |
2,0 |
2,0 - 3,0 |
2,1 - 3,1 |
4,0 |
103,5 - 120,5 |
|
3,0 |
2,0 |
3,0 |
2,0 - 3,0 |
2,1 - 3,1 |
4,0 |
119,0 - 145,0 |
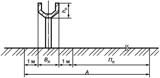
5.2 Ширину полос отвода для лотковой оросительной сети (рисунок 4) принимают при высоте лотка (параболического, полукруглого и эллиптического сечения) 0,4 м - 11 м, при высоте лотка от 0,6 до 0,8 м - 12 м и при высоте лотка от 1 до 1,4 м - 13 м.

hл - высота лотка, м; Вл - ширина лотка, м; Пп - производственная полоса, м; A - ширина полосы отвода, м
Рисунок 4 - Поперечное сечение лотка
5.3 Необходимо располагать лотковую сеть в границах ее полосы отвода с одной из сторон с учетом предохранительной полосы.
5.4 В ширину полос включают земельные участки, занимаемые отвалами и резервами, которые по окончании работ должны быть рекультивированы для использования в соответствии с целевым назначением.
5.5 Наибольшие (наименьшие) значения ширины полос отвода соответствуют для каналов, проходящих:
- в выемке (см. таблицу 1) - наибольшим (наименьшим) значениям строительных глубин (hстр);
- в насыпи (см. таблицу 4) - наибольшим (наименьшим) значениям строительных глубин (hстр) и высот насыпи (hн).
При промежуточных значениях hстр, hв, hн, отличающихся от значений, приведенных в таблицах 1 и 4, ширину полос отвода определяют по интерполяции.
5.6 Для мелиоративных каналов с расходом до 10 м3/с и строительной глубиной более 3 м или проходящих в неустойчивых грунтах, величину заложения откосов и ширину полос отвода определяют проектной документацией.
5.7 Вдоль каналов, при соответствующем обосновании, организовывают площадки под вторичные материальные ресурсы (в том числе, ил от зачистки оросительных каналов системы мелиорации земель), размеры и периодичность размещения которых устанавливают проектной документацией.
5.8 При необходимости размещения приканальных защитных лесных насаждений руководствуются требованиями СП 100.13330. Проект создания приканальных защитных лесных насаждений является частью проектной документации на строительство МГЛС.
Устройство приканальных защитных лесных насаждений должно обеспечивать создание свободного доступа к каналам для проведения строительных и эксплуатационных работ.
6.1.1 Ширину полос отвода на период строительных и эксплуатационных работ для подземных трубопроводов (рисунок 5) устанавливают по таблице 5.

а - укладка трубопровода в одну нитку; б – укладка трубопровода в две нитки; D - диаметр трубопровода, м; A - ширина полосы отвода, м; c – расстояние между наружными диаметрами труб, м
Рисунок 5 - Схема подземной укладки трубопровода
|
Диаметр трубопровода, мм |
Глубина заложения до низа трубы, м |
Ширина полосы отвода, м | |
|
для одного трубопровода |
для двух трубопроводов (в одной траншее) | ||
|
Стальные трубы | |||
|
1 До 426 включительно |
До 3,0 |
28,0 |
31,0 |
|
2 Более 426 до 720 включительно |
33,0 |
36,0 | |
|
3 Более 720 до 1020 включительно |
39,0 |
42,0 | |
|
4 Более 1020 до 1220 включительно |
42,0 |
45,0 | |
|
5 Более 1220 до 1420 включительно |
45,0 |
48,0 | |
|
Полимерные трубы | |||
|
6 До 400 включительно |
2,0 |
36,0 |
39,0 |
|
3,0 |
39,0 |
42,0 | |
|
4,0 |
47,0 |
50,0 | |
|
5,0 |
54,0 |
56,0 | |
|
6,0 |
60,0 |
63,0 | |
|
7,0 |
66,0 |
69,0 | |
|
7 Более 400 до 450 включительно |
2,0 |
36,0 |
39,0 |
|
3,0 |
39,0 |
42,0 | |
|
4,0 |
48,0 |
51,0 | |
|
5,0 |
53,0 |
56,0 | |
|
6,0 |
61,0 |
64,0 | |
|
7,0 |
67,0 |
70,0 | |
|
8 Более 450 до 500 включительно |
2,0 |
37,0 |
40,0 |
|
3,0 |
40,0 |
43,0 | |
|
4,0 |
48,0 |
51,0 | |
|
5,0 |
53,0 |
56,0 | |
|
6,0 |
61,0 |
64,0 | |
|
7,0 |
67,0 |
70,0 | |
|
9 Более 500 до 560 включительно |
2,0 |
37,0 |
40,0 |
|
3,0 |
40,0 |
43,0 | |
|
4,0 |
48,0 |
51,0 | |
|
5,0 |
53,0 |
56,0 | |
|
6,0 |
61,0 |
64,0 | |
|
7,0 |
67,0 |
70,0 | |
|
10 Более 560 до 630 включительно |
2,0 |
37,0 |
41,0 |
|
3,0 |
40,0 |
44,0 | |
|
4,0 |
48,0 |
52,0 | |
|
5,0 |
53,0 |
57,0 | |
|
6,0 |
61,0 |
65,0 | |
|
7,0 |
68,0 |
72,0 | |
|
11 Более 630 до 710 включительно |
2,0 |
37,0 |
41,0 |
|
3,0 |
41,0 |
45,0 | |
|
4,0 |
48,0 |
52,0 | |
|
5,0 |
54,0 |
58,0 | |
|
6,0 |
61,0 |
65,0 | |
|
7,0 |
68,0 |
72,0 | |
|
12 Более 710 до 800 включительно |
2,0 |
37,0 |
41,0 |
|
3,0 |
41,0 |
45,0 | |
|
4,0 |
49,0 |
53,0 | |
|
5,0 |
54,0 |
58,0 | |
|
6,0 |
62,0 |
66,0 | |
|
7,0 |
68,0 |
72,0 | |
|
13 Более 800 до 900 включительно |
2,0 |
38,0 |
42,0 |
|
3,0 |
42,0 |
46,0 | |
|
4,0 |
49,0 |
53,0 | |
|
5,0 |
54,0 |
58,0 | |
|
6,0 |
62,0 |
66,0 | |
|
7,0 |
69,0 |
73,0 | |
|
14 Более 900 до 1000 включительно |
2,0 |
38,0 |
42,0 |
|
3,0 |
42,0 |
46,0 | |
|
4,0 |
49,0 |
53,0 | |
|
5,0 |
54,0 |
58,0 | |
|
6,0 |
62,0 |
66,0 | |
|
7,0 |
69,0 |
73,0 | |
|
15 Более 1000 до 1200 включительно |
2,0 |
39,0 |
44,0 |
|
3,0 |
43,0 |
48,0 | |
|
4,0 |
50,0 |
55,0 | |
|
5,0 |
55,0 |
60,0 | |
|
6,0 |
63,0 |
68,0 | |
|
7,0 |
70,0 |
75,0 | |
|
16 Более 1200 до 1400 включительно |
3,0 |
44,0 |
49,0 |
|
4,0 |
50,0 |
55,0 | |
|
5,0 |
55,0 |
60,0 | |
|
6,0 |
64,0 |
69,0 | |
|
7,0 |
71,0 |
76,0 | |
|
17 Более 1400 до 1600 включительно |
3,0 |
45,0 |
50,0 |
|
4,0 |
51,0 |
56,0 | |
|
5,0 |
56,0 |
61,0 | |
|
6,0 |
64,0 |
69,0 | |
|
7,0 |
72,0 |
77,0 | |
|
18 Более 1600 до 1800 включительно |
3,0 |
46,0 |
52,0 |
|
4,0 |
52,0 |
58,0 | |
|
5,0 |
56,0 |
62,0 | |
|
6,0 |
65,0 |
71,0 | |
|
7,0 |
73,0 |
79,0 | |
|
19 Более 1800 до 2000 включительно |
3,0 |
47,0 |
53,0 |
|
4,0 |
52,0 |
58,0 | |
|
5,0 |
57,0 |
63,0 | |
|
6,0 |
66,0 |
72,0 | |
|
7,0 |
74,0 |
80,0 | |
|
20 Более 2000 до 2250 включительно |
3,0 |
48,0 |
55,0 |
|
4,0 |
53,0 |
60,0 | |
|
5,0 |
58,0 |
65,0 | |
|
6,0 |
67,0 |
74,0 | |
|
7,0 |
75,0 |
82,0 | |
|
21 Более 2250 до 2500 включительно |
3,0 |
49,0 |
56,0 |
|
4,0 |
54,0 |
61,0 | |
|
5,0 |
58,0 |
65,0 | |
|
6,0 |
68,0 |
75,0 | |
|
7,0 |
77,0 |
84,0 | |
|
22 Более 2500 до 2800 включительно |
4,0 |
55,0 |
63,0 |
|
5,0 |
59,0 |
67,0 | |
|
6,0 |
69,0 |
77,0 | |
|
7,0 |
78,0 |
86,0 | |
|
23 Более 2800 до 3000 включительно |
4,0 |
55,0 |
63,0 |
|
5,0 |
60,0 |
68,0 | |
|
6,0 |
69,0 |
77,0 | |
|
7,0 |
79,0 |
87,0 | |
|
Чугунные, железобетонные, хризотилцементные и керамические трубы | |||
|
24 До 600 включительно |
2,0 |
37,0 |
41,0 |
|
3,0 |
40,0 |
43,0 | |
|
4,0 |
47,0 |
50,0 | |
|
5,0 |
53,0 |
56,0 | |
|
6,0 |
61,0 |
64,0 | |
|
7,0 |
67,0 |
71,0 | |
|
25 Более 600 до 800 включительно |
2,0 |
37,0 |
41,0 |
|
3,0 |
41,0 |
45,0 | |
|
4,0 |
49,0 |
52,0 | |
|
5,0 |
54,0 |
58,0 | |
|
6,0 |
62,0 |
67,0 | |
|
7,0 |
68,0 |
73,0 | |
|
26 Более 800 до 1000 включительно |
2,0 |
37,0 |
41,0 |
|
3,0 |
41,0 |
45,0 | |
|
4,0 |
49,0 |
52,0 | |
|
5,0 |
54,0 |
58,0 | |
|
6,0 |
62,0 |
67,0 | |
|
7,0 |
70,0 |
74,0 | |
|
27 Более 1000 до 1200 включительно |
2,0 |
39,0 |
43,0 |
|
3,0 |
43,0 |
47,0 | |
|
4,0 |
50,0 |
54,0 | |
|
5,0 |
55,0 |
61,0 | |
|
6,0 |
62,0 |
67,0 | |
|
7,0 |
70,0 |
75,0 | |
|
28 Более 1200 до 1500 включительно |
3,0 |
44,0 |
49,0 |
|
4,0 |
51,0 |
56,0 | |
|
5,0 |
55,0 |
61,0 | |
|
6,0 |
64,0 |
69,0 | |
|
7,0 |
70,0 |
76,0 | |
|
29 Более 1500 до 2000 включительно |
3,0 |
46,0 |
51,0 |
|
4,0 |
52,0 |
58,0 | |
|
5,0 |
57,0 |
63,0 | |
|
6,0 |
66,0 |
71,0 | |
|
7,0 |
74,0 |
80,0 | |
|
30 Более 2000 до 2500 включительно |
3,0 |
49,0 |
55,0 |
|
4,0 |
53,0 |
60,0 | |
|
5,0 |
58,0 |
65,0 | |
|
6,0 |
67,0 |
72,0 | |
|
7,0 |
76,0 |
82,0 | |
6.1.2 В местах размещения колодцев и камер переключения подземных трубопроводов ширину полосы отвода принимают равной ширине полосы отвода для трубопровода.
6.1.3 Земельные участки, лежащие в границах полосы отвода подземного трубопровода, могут использоваться в сельхозпроизводстве с соблюдением требований законодательства и мер по обеспечению сохранности сооружения.
6.1.4 Ширину полосы отвода для трех и более трубопроводов, прокладываемых в одной траншее, для трубопроводов диаметрами более указанных в таблице 5 или строящихся на землях населенных пунктов, территории предприятий и в труднопроходимой местности (в болотах, пустынях, горных условиях и т.п.), а также размеры земельных участков для строительства переходов через естественные и искусственные препятствия определяют проектной документацией.
6.1.5 Расстояние между наружными диаметрами труб при подземной укладке трубопроводов в две нитки определяют согласно СП 31.13330.
6.2.1 Ширину производственной полосы для наземных трубопроводов принимают в зависимости от проектных параметров трубопроводов с учетом использования требуемой строительной техники, но не менее 7,5 м.

а - укладка трубопровода в одну нитку; б – укладка трубопровода в две нитки; D - наружный диаметр трубопровода, м; Пп - производственная полоса, м; c - расстояние между наружными диаметрами труб, м; A - ширина полосы отвода, м; вф - ширина опоры, м
Рисунок 6 - Схема наземной укладки трубопровода
6.2.2 Необходимо располагать наземные трубопроводы в границах их полос отвода с одной из сторон с учетом предохранительной полосы.
6.2.3 Расстояние между наружными диаметрами труб при наземной укладке трубопроводов в две нитки определяют согласно СП 31.13330.
7.1 Ширину полосы отвода под оградительные дамбы (рисунок 7) принимают по таблице 6.

m1 - заложение мокрого откоса; m2 - заложение сухого откоса; hн - высота насыпи, м; а - ширина гребня дамбы, м; Пп - производственная полоса, м; A - ширина полосы отвода, м
Рисунок 7 - Поперечное сечение оградительной дамбы
|
Параметры дамбы |
Ширина полосы отвода A, м | |||
|
высота насыпи hн, м |
заложение откосов |
ширина гребня дамбы а, м | ||
|
m1 |
m2 | |||
|
1,0 - 1,5 |
1,5 |
1,5 |
3,0 |
46,0 - 48,0 |
|
1,0 - 1,5 |
1,5 |
2,0 |
3,0 |
47,0 - 49,0 |
|
1,0 - 1,5 |
1,5 |
2,5 |
3,0 |
47,0 - 49,0 |
|
1,0 - 1,5 |
1,5 |
3,0 |
3,0 |
48,0 - 50,0 |
|
1,0 - 1,5 |
2,0 |
1,5 |
3,0 |
47,0 - 49,0 |
|
1,0 - 1,5 |
2,0 |
2,0 |
3,0 |
47,0 - 49,0 |
|
1,0 - 1,5 |
2,0 |
2,5 |
3,0 |
48,0 - 50,0 |
|
1,0 - 1,5 |
2,0 |
3,0 |
3,0 |
48,0 - 52,0 |
|
1,0 - 1,5 |
2,5 |
1,5 |
3,0 |
47,0 - 49,0 |
|
1,0 - 1,5 |
2,5 |
2,0 |
3,0 |
48,0 - 50,0 |
|
1,0 - 1,5 |
2,5 |
2,5 |
3,0 |
48,0 - 52,0 |
|
1,0 - 1,5 |
2,5 |
3,0 |
3,0 |
49,0 - 52,0 |
|
1,0 - 1,5 |
3,0 |
1,5 |
3,0 |
48,0 - 50,0 |
|
1,0 - 1,5 |
3,0 |
2,0 |
3,0 |
48,0 - 52,0 |
|
1,0 - 1,5 |
3,0 |
2,5 |
3,0 |
49,0 - 52,0 |
|
1,0 - 1,5 |
3,0 |
3,0 |
3,0 |
49,0 - 54,0 |
|
1,5 - 2,0 |
1,5 |
1,5 |
3,0 |
48,0 - 49,0 |
|
1,5 - 2,0 |
1,5 |
2,0 |
3,0 |
49,0 - 52,0 |
|
1,5 - 2,0 |
1,5 |
2,5 |
3,0 |
49,0 - 54,0 |
|
1,5 - 2,0 |
1,5 |
3,0 |
3,0 |
50,0 - 57,0 |
|
1,5 - 2,0 |
2,0 |
1,5 |
3,0 |
49,0 - 52,0 |
|
1,5 - 2,0 |
2,0 |
2,0 |
3,0 |
49,0 - 54,0 |
|
1,5 - 2,0 |
2,0 |
2,5 |
3,0 |
50,0 - 57,0 |
|
1,5 - 2,0 |
2,0 |
3,0 |
3,0 |
52,0 - 59,0 |
|
1,5 - 2,0 |
2,5 |
1,5 |
3,0 |
49,0 - 54,0 |
|
1,5 - 2,0 |
2,5 |
2,0 |
3,0 |
50,0 - 57,0 |
|
1,5 - 2,0 |
2,5 |
2,5 |
3,0 |
52,0 - 59,0 |
|
1,5 - 2,0 |
2,5 |
3,0 |
3,0 |
52,0 - 61,0 |
|
1,5 - 2,0 |
3,0 |
1,5 |
3,0 |
50,0 - 57,0 |
|
1,5 - 2,0 |
3,0 |
2,0 |
3,0 |
52,0 - 59,0 |
|
1,5 - 2,0 |
3,0 |
2,5 |
3,0 |
52,0 - 61,0 |
|
1,5 - 2,0 |
3,0 |
3,0 |
3,0 |
54,0 - 64,0 |
|
2,0 - 2,5 |
1,5 |
1,5 |
4,0 |
50,0 - 54,0 |
|
2,0 - 2,5 |
1,5 |
2,0 |
4,0 |
52,0 - 57,0 |
|
2,0 - 2,5 |
1,5 |
2,5 |
4,0 |
54,0 - 59,0 |
|
2,0 - 2,5 |
1,5 |
3,0 |
4,0 |
57,0 - 61,0 |
|
2,0 - 2,5 |
2,0 |
1,5 |
4,0 |
52,0 - 57,0 |
|
2,0 - 2,5 |
2,0 |
2,0 |
4,0 |
54,0 - 59,0 |
|
2,0 - 2,5 |
2,0 |
2,5 |
4,0 |
57,0 - 61,0 |
|
2,0 - 2,5 |
2,0 |
3,0 |
4,0 |
59,0 - 66,0 |
|
2,0 - 2,5 |
2,5 |
1,5 |
4,0 |
54,0 - 59,0 |
|
2,0 - 2,5 |
2,5 |
2,0 |
4,0 |
57,0 - 61,0 |
|
2,0 - 2,5 |
2,5 |
2,5 |
4,0 |
59,0 - 66,0 |
|
2,0 - 2,5 |
2,5 |
3,0 |
4,0 |
61,0 - 68,0 |
|
2,0 - 2,5 |
3,0 |
1,5 |
4,0 |
57,0 - 61,0 |
|
2,0 - 2,5 |
3,0 |
2,0 |
4,0 |
59,0 - 66,0 |
|
2,0 - 2,5 |
3,0 |
2,5 |
4,0 |
61,0 - 68,0 |
|
2,0 - 2,5 |
3,0 |
3,0 |
4,0 |
64,0 - 71,0 |
|
2,5 - 3,0 |
1,5 |
1,5 |
4,0 |
54,0 - 57,0 |
|
2,5 - 3,0 |
1,5 |
2,0 |
4,0 |
57,0 - 61,0 |
|
2,5 - 3,0 |
1,5 |
2,5 |
4,0 |
59,0 - 64,0 |
|
2,5 - 3,0 |
1,5 |
3,0 |
4,0 |
61,0 - 68,0 |
|
2,5 - 3,0 |
2,0 |
1,5 |
4,0 |
57,0 - 61,0 |
|
2,5 - 3,0 |
2,0 |
2,0 |
4,0 |
59,0 - 64,0 |
|
2,5 - 3,0 |
2,0 |
2,5 |
4,0 |
61,0 - 68,0 |
|
2,5 - 3,0 |
2,0 |
3,0 |
4,0 |
66,0 - 71,0 |
|
2,5 - 3,0 |
2,5 |
1,5 |
4,0 |
59,0 - 64,0 |
|
2,5 - 3,0 |
2,5 |
2,0 |
4,0 |
61,0 - 68,0 |
|
2,5 - 3,0 |
2,5 |
2,5 |
4,0 |
66,0 - 71,0 |
|
2,5 - 3,0 |
2,5 |
3,0 |
4,0 |
68,0 - 76,0 |
|
2,5 - 3,0 |
3,0 |
1,5 |
4,0 |
61,0 - 68,0 |
|
2,5 - 3,0 |
3,0 |
2,0 |
4,0 |
66,0 - 71,0 |
|
2,5 - 3,0 |
3,0 |
2,5 |
4,0 |
68,0 - 76,0 |
|
2,5 - 3,0 |
3,0 |
3,0 |
4,0 |
71,0 - 78,0 |
|
3,0 - 3,5 |
1,5 |
1,5 |
4,0 |
57,0 - 61,0 |
|
3,0 - 3,5 |
1,5 |
2,0 |
4,0 |
61,0 - 64,0 |
|
3,0 - 3,5 |
1,5 |
2,5 |
4,0 |
64,0 - 68,0 |
|
3,0 - 3,5 |
1,5 |
3,0 |
4,0 |
68,0 - 73,0 |
|
3,0 - 3,5 |
2,0 |
1,5 |
4,0 |
61,0 - 64,0 |
|
3,0 - 3,5 |
2,0 |
2,0 |
4,0 |
64,0 - 68,0 |
|
3,0 - 3,5 |
2,0 |
2,5 |
4,0 |
68,0 - 73,0 |
|
3,0 - 3,5 |
2,0 |
3,0 |
4,0 |
71,0 - 78,0 |
|
3,0 - 3,5 |
2,5 |
1,5 |
4,0 |
64,0 - 68,0 |
|
3,0 - 3,5 |
2,5 |
2,0 |
4,0 |
68,0 - 73,0 |
|
3,0 - 3,5 |
2,5 |
2,5 |
4,0 |
71,0 - 78,0 |
|
3,0 - 3,5 |
2,5 |
3,0 |
4,0 |
76,0 - 80,0 |
|
3,0 - 3,5 |
3,0 |
1,5 |
4,0 |
68,0 - 73,0 |
|
3,0 - 3,5 |
3,0 |
2,0 |
4,0 |
71,0 - 78,0 |
|
3,0 - 3,5 |
3,0 |
2,5 |
4,0 |
76,0 - 80,0 |
|
3,0 - 3,5 |
3,0 |
3,0 |
4,0 |
78,0 - 85,0 |
7.2 Наибольшие (наименьшие) значения ширины полос отвода соответствуют для оградительных дамб наибольшим (наименьшим) значениям высоты насыпи (hн). При промежуточных значениях hн, отличающихся от значений, приведенных в таблице 6, ширину полос отвода определяют по интерполяции.
8.1 Ширину полос отвода для акведуков, дюкеров и туннелей определяют проектной документацией.
8.2 При наземной и надземной укладке водопроводящих элементов акведуков и дюкеров в пределах полос отвода размещают предохранительные и производственную полосы (аналогично 4.5, 4.6 и рисунку 6).
8.3 Для туннелей при проведении строительных и эксплуатационных работ используют полосы отвода для каналов, примыкающие к порталам сооружения, размеры и местоположение которых устанавливают проектной документацией.
Библиография
|
[1] |
Федеральный закон от 10 января 1996 г. N 4-ФЗ "О мелиорации земель" |


