ГОСТ Р 71038-2023 ГРУНТЫ. МЕТОДЫ ЛАБОРАТОРНОГО ОПРЕДЕЛЕНИЯ ТЕПЛОФИЗИЧЕСКИХ ХАРАКТЕРИСТИК
Утв. и введен в действие Приказом Федерального агентства по техническому регулированию и метрологии от 27 октября 2023 г. N 1263-ст
Soils. Methods for laboratory determination of thermal characteristics
ОКС 93.020
Дата введения - 1 ноября 2023 года
Введен впервые
Предисловие
1 РАЗРАБОТАН Акционерным обществом "Научно-исследовательский центр "Строительство" (АО "НИЦ "Строительство") - Научно-исследовательским проектно-изыскательским и конструкторско-технологическим институтом оснований и подземных сооружений им. Н.М. Герсеванова (НИИОСП им. Н.М. Герсеванова) при участии ООО "Геоиннотех МГУ"
2 ВНЕСЕН Техническим комитетом по стандартизации ТК 465 "Строительство"
3 УТВЕРЖДЕН И ВВЕДЕН В ДЕЙСТВИЕ Приказом Федерального агентства по техническому регулированию и метрологии от 27 октября 2023 г. N 1263-ст
4 ВВЕДЕН ВПЕРВЫЕ
Правила применения настоящего стандарта установлены в статье 26 Федерального закона от 29 июня 2015 г. N 162-ФЗ "О стандартизации в Российской Федерации". Информация об изменениях к настоящему стандарту публикуется в ежегодном (по состоянию на 1 января текущего года) информационном указателе "Национальные стандарты", а официальный текст изменений и поправок - в ежемесячном информационном указателе "Национальные стандарты". В случае пересмотра (замены) или отмены настоящего стандарта соответствующее уведомление будет опубликовано в ближайшем выпуске ежемесячного информационного указателя "Национальные стандарты". Соответствующая информация, уведомление и тексты размещаются также в информационной системе общего пользования - на официальном сайте Федерального агентства по техническому регулированию и метрологии в сети Интернет (www.rst.gov.ru)
Настоящий стандарт устанавливает лабораторные методы определения теплофизических характеристик (коэффициента теплопроводности, удельной и объемной теплоемкостей, коэффициента температуропроводности) скальных и полускальных грунтов, а также дисперсных минеральных, органоминеральных и органических грунтов, в том числе засоленных в талом и мерзлом состояниях при их исследовании при строительстве. Ограничения каждого из методов приведены в соответствующем разделе.
В настоящем стандарте использованы нормативные ссылки на следующие стандарты:
ГОСТ 5180 Грунты. Методы лабораторного определения физических характеристик
ГОСТ 12071 Грунты. Отбор, упаковка, транспортирование и хранение образцов
ГОСТ 12536 Грунты. Методы лабораторного определения гранулометрического (зернового) и микроагрегатного состава
ГОСТ 23740 Грунты. Методы определения содержания органических веществ
ГОСТ 25100 Грунты. Классификация
ГОСТ 30416 Грунты. Лабораторные испытания. Общие положения
ГОСТ ISO/IEC 17025 Общие требования к компетентности испытательных и калибровочных лабораторий
ГОСТ Р 59537 Грунты. Метод лабораторного определения влажности за счет незамерзшей воды
ГОСТ Р 59540 Грунты. Методы лабораторного определения степени засоленности
Примечание - При пользовании настоящим стандартом целесообразно проверить действие ссылочных стандартов в информационной системе общего пользования - на официальном сайте Федерального агентства по техническому регулированию и метрологии в сети Интернет или по ежегодному информационному указателю "Национальные стандарты", который опубликован по состоянию на 1 января текущего года, и по выпускам ежемесячного информационного указателя "Национальные стандарты" за текущий год. Если заменен ссылочный стандарт, на который дана недатированная ссылка, то рекомендуется использовать действующую версию этого стандарта с учетом всех внесенных в данную версию изменений. Если заменен ссылочный стандарт, на который дана датированная ссылка, то рекомендуется использовать версию этого стандарта с указанным выше годом утверждения (принятия). Если после утверждения настоящего стандарта в ссылочный стандарт, на который дана датированная ссылка, внесено изменение, затрагивающее положение, на которое дана ссылка, то это положение рекомендуется применять без учета данного изменения. Если ссылочный стандарт отменен без замены, то положение, в котором дана ссылка на него, рекомендуется применять в части, не затрагивающей эту ссылку.
В настоящем стандарте применены термины по ГОСТ 25100, ГОСТ 30416, а также следующие термины с соответствующими определениями:
3.1 коэффициент теплопроводности (теплопроводность) λ: Количество тепла, протекающее в единицу времени через единицу площади изотермической поверхности на единицу длины нормали к этой поверхности при перепаде температуры в один градус, Вт/м·°C (Вт/м·К).
3.2 удельная теплоемкость Cm: Количество тепла, которое необходимо передать грунту, чтобы нагреть на один градус единицу его массы, Дж/кг·°C (Дж/кг·К).
3.3 объемная теплоемкость C: Количество тепла, которое необходимо передать грунту, чтобы нагреть на один градус единицу его объема, Дж/м3·°C (Дж/м3·°К).
3.4 коэффициент температуропроводности α: Коэффициент пропорциональности между коэффициентом теплопроводности и объемной теплоемкостью, характеризующий скорость выравнивания температурного поля грунта в неравновесных тепловых процессах, м2/с.
3.5 удельное термическое [тепловое] сопротивление R: Перепад температуры на гранях пластины, отнесенный к проникающему через нее стационарному тепловому потоку, м·°C/Вт (м·К/Вт).
4.1 Настоящий стандарт устанавливает требования к методам лабораторного определения теплофизических характеристик грунта:
- коэффициента теплопроводности λ грунта в талом λth и мерзлом λf состояниях;
- объемной или удельной теплоемкости C грунта в талом Cth и мерзлом Cf состояниях;
- коэффициента температуропроводности α грунта в талом αth и мерзлом αf состояниях;
- удельного термического (теплового) сопротивления грунта R в талом Rth и мерзлом Rf состояниях.
4.2 Общие требования к лабораторным испытаниям грунтов, оборудованию и приборам, лабораторным помещениям, способы изготовления образцов приведены в ГОСТ 30416.
4.3 Способы отбора монолитов грунта и подготовки образцов для испытаний должны обеспечить сохранение их структуры, влажности и плотности в соответствии с ГОСТ 12071 и ГОСТ 30416.
4.4 Для испытуемых грунтов определяют следующие физические характеристики: природную влажность, плотность, плотность частиц грунта, влажность на границе текучести и раскатывания по ГОСТ 5180, степень засоленности по ГОСТ Р 59540, относительное содержание органического вещества по ГОСТ 23740 (для органоминеральных грунтов), гранулометрический состав песчаных грунтов по ГОСТ 12536, а также рассчитывают: плотность скелета (сухого) грунта, коэффициент пористости, число пластичности и показатель текучести в соответствии с ГОСТ 25100. Для мерзлых грунтов дополнительно определяют: суммарную влажность, влажность грунта между ледяными включениями по ГОСТ 5180, влажность за счет незамерзшей воды по ГОСТ Р 59537; рассчитывают влажность за счет порового льда, суммарную льдистость и льдистость за счет видимых ледяных включений в соответствии с ГОСТ 25100.
4.5 Протокол испытания (составляют в соответствии с требованиями ГОСТ ISO/IEC 17025) включает:
- идентификацию образца (например, номер испытания, номер выработки, номер пробы, глубину отбора, номер инженерно-геологического элемента при наличии и т.п.);
- температуру испытания;
- массу и объем образца грунта;
- физические характеристики грунта;
- числовое значение полученных результатов.
В протоколе испытания, при необходимости, отмечают характерные особенности (текстуру, слоистость, наличие включений и т.п.) и другую информацию об образце или условиях испытания.
Рекомендуемая форма протокола испытаний приведена в приложении А.
4.6 Все операции по изготовлению, подготовке к испытанию образцов мерзлого грунта следует выполнять в помещениях с постоянной отрицательной температурой (морозильных камерах или подземных лабораториях, расположенных в толще многолетнемерзлых грунтов) ниже температуры испытания минимум на 1 °C - 2 °C. Оборудование для вырезки образцов грунта, отобранные монолиты или подготовленные блоки из монолитов мерзлого грунта следует выдерживать в помещении для подготовки образцов не менее 6 ч.
4.7 Операции по изготовлению, подготовке к испытанию образцов из грунтов природного сложения, отобранных в немерзлом или охлажденном состоянии, а также грунтов нарушенного сложения с заданными значениями влажности и плотности осуществляют при комнатной температуре воздуха.
5.1.1 Испытания грунта методом стационарного теплового режима проводят для определения коэффициента теплопроводности в талом λth и мерзлом λf состояниях. Физическая сущность метода - формирование теплового потока, проходящего через плоский образец при создании градиента температур на его торцах.
5.1.2 Коэффициент теплопроводности грунтов определяют на образцах ненарушенного сложения. Значения температуры устанавливают в программе испытаний.
При обосновании допускается определять коэффициент теплопроводности на искусственно приготовленных образцах с заданными значениями влажности и плотности, соответствующими природным.
5.1.3 Метод не распространяется на грунты с крупнообломочными включениями в количестве более 20% в талом и мерзлом состояниях. Максимальный размер крупнообломочных включений должен быть не более 1/4 высоты образца.
5.2.1 Для определения коэффициента теплопроводности используют установку стационарного теплового режима, которая позволяет создать одномерный тепловой поток через образец грунта. Принципиальная схема установки приведена в приложении Б.
5.2.2 Составные части установки:
- измеритель теплового потока (тепломер), обеспечивающий относительную погрешность измерения не более 1%;
- датчики температуры с погрешностью измерения не более ± 0,1 °C;
- устройства термостатирования на верхнем и нижнем торцах образца (например, жидкостный термостат, электрическая термостатированная плита и др.) с точностью поддержания температуры не более ± 0,05 °C;
- обоймы из нетеплопроводного материала (например, оргстекло, фторопласт, пенополистирол и др.). Образцы сыпучих и текучих грунтов следует приготавливать в обоймах с металлическим дном, исключающих их высыпание или утечку из них жидкости;
- охранные кольца активные или пассивные (опционально);
- теплоизоляционный кожух;
- морозильная камера с точностью поддержания температуры не более ± 1 °C (для проведения испытаний грунта в мерзлом состоянии).
5.3.1 Отбор и подготовку образцов осуществляют в соответствии с 4.3, 4.6, 4.7.
5.3.2 Из отобранных монолитов грунта вырезают цилиндрический образец. Высота образца составляет не менее 10 мм, диаметр более, чем в 5 раз больше высоты. Образец вырезают так, чтобы торцевые поверхности были плоскими и параллельными между собой. Затем образец помещают в обойму для испытаний.
5.3.3 Образец грунта помещают в установку так, чтобы обеспечить плотный и полный контакт нижнего и верхнего торцов образца с поверхностями термостатирующих устройств.
5.3.4 Перед началом испытаний образец следует выдержать при температуре, соответствующей температуре испытаний. Время выдержки принимают по таблице 1.
|
Состояние грунта |
Вид грунта | ||||
|
Пески |
Супеси |
Суглинки |
Глины |
Торф | |
|
Талое |
Не менее 2 ч при температуре выше температуры начала замерзания Tbf | ||||
|
Мерзлое |
Не менее 3 ч при температуре | ||||
|
От -20 °C до (Tbf - 0,5) °C |
От -20 °C до (Tbf - 1) °C |
От -20 °C до (Tbf - 2) °C |
От -20 °C до (Tbf - 3) °C |
От -20 °C до (Tbf - 5) °C | |
|
Не менее 8 ч при температуре | |||||
|
От (Tbf - 0,5) °C до Tbf |
От (Tbf - 1) °C до Tbf |
От (Tbf - 2) °C до Tbf |
От (Tbf - 3) °C до Tbf |
От (Tbf - 5) °C до Tbf | |
5.3.5 Собранную установку закрывают по бокам теплоизоляционным кожухом.
5.4.1 Устанавливают температуру термостатирующих устройств так, чтобы среднее значение температур верхнего и нижнего торцов соответствовало необходимой температуре испытания. Разницу между температурами верхнего и нижнего торцов образца при испытании грунта в мерзлом состоянии принимают не менее 0,8 °C и не более 1,5 °C. При испытании грунта в талом состоянии разницу температур принимают не менее 0,8 °C и не более 3 °C.
5.4.2 Включают устройства термостатирования на верхнем и нижнем торцах образца.
5.4.3 Включают запись показаний температур и теплового потока.
5.4.4 Фиксируют показания тепломеров и датчиков температуры через равные промежутки времени, не реже одного раза за 5 мин. Данные заносят в журнал, форма которого приведена в приложении А.
5.4.5 Испытание завершают при достижении стабилизации значений температуры на верхнем и нижнем торцах образца и достижении стабилизаций значений теплового потока. Критерий стабилизации температуры - ее изменение на каждом из торцов не более, чем на 0,1 °C за 15 мин. Критерий стабилизации теплового потока - изменение значений не более чем на 5% за 15 мин.
5.5.1 При применении установки с двумя тепломерами коэффициент теплопроводности грунта в талом λth или мерзлом λf состоянии, Вт/(м·°C), определяют по формуле
, (1)
где QN,i - значение теплового потока тепломера нижнего торца образца, Вт/м2;
QV,i - значение теплового потока тепломера верхнего торца образца, Вт/м2;
H - высота образца, м;
Tn,i - значение температуры нижнего торца образца, °C;
Tv,i - значение температуры верхнего торца образца, °C.
5.5.2 При применении установки с одним тепломером коэффициент теплопроводности грунта в талом λth или мерзлом λf состоянии, Вт/(м·°C), определяют по формуле
, (2)
где Qi - значение теплового потока тепломера, Вт/м2.
5.5.3 Вычисленное значение коэффициента теплопроводности округляют с точностью 0,01 Вт/(м·°C).
5.5.4 При применении установки с двумя тепломерами удельное термическое сопротивление грунта в талом Rth или мерзлом Rf состоянии, (м·°C)/Вт, определяют по формуле
. (3)
5.5.5 При применении установки с двумя тепломерами удельное термическое сопротивление грунта в талом Rth или мерзлом Rf состоянии, (м·°C)/Вт, определяют по формуле
. (4)
5.5.6 Вычисленное значение удельного термического сопротивления округляют с точностью до 0,01 (м·°C)/Вт.
6.1.1 Метод заключается в нагревании образца зондом постоянной мощности при постоянной температуре окружающей среды. В процессе нагрева измеряют температуру самого зонда. После окончания нагрева в процессе охлаждения образца проводят измерение температуры зонда. На основе измерений температуры зонда проводят расчет теплофизических характеристик.
Теоретическое обоснование метода - решение задачи о распространении тепла от бесконечно тонкого и длинного источника постоянной мощности, внедренного в однородную изотропную среду.
6.1.2 В испытаниях методом цилиндрического зонда определяют следующие теплофизические характеристики:
- коэффициент теплопроводности грунта в талом λth и мерзлом λf состояниях, Вт/(м·°C);
- объемную теплоемкость грунта в талом Cth и мерзлом Cf состояниях, Дж/(м3·°C);
- коэффициент температуропроводности грунта в талом αth и мерзлом αf состояниях, м2/с;
- удельное термическое (тепловое) сопротивление в талом Rth и мерзлом Rf состояниях, (м·°C)/Вт.
6.1.3 Метод не распространяется на средне- и сильнозасоленные грунты в мерзлом состоянии, а также на грунты с крупнообломочными включениями в количестве более 30% в талом и мерзлом состояниях.
6.1.4 Теплофизические характеристики определяют на образцах ненарушенного сложения. При обосновании проводят испытания на искусственно приготовленных образцах (с заданными значениями плотности и влажности, соответствующими природным).
6.1.5 Определение теплофизических характеристик грунтов в талом состоянии проводят при положительной температуре.
Определение теплофизических характеристик грунтов в мерзлом состоянии проводят при температуре ниже:
-1,5 °C для скальных и полускальных грунтов;
-5 °C для незасоленных песчаных грунтов;
-7 °C для незасоленных глинистых грунтов;
-15 °C для слабозасоленных песчаных и глинистых грунтов.
6.1.6 В процессе испытаний ведут журнал, форма которого приведена в приложении А.
6.2.1 Для испытаний используют установку, принципиальная схема которой приведена в приложении В. В установку входят:
- зонд с одним, двумя или несколькими щупами;
- датчик температуры внутри зонда с погрешностью измерений не более ± 0,1 °C;
- устройство регистрации температуры и управления испытанием, позволяющее создать нагрев постоянной мощности;
- морозильная камера или криотермостат для поддержания температуры образца в соответствии с 6.1.4 с точностью не более ± 1 °C;
- емкости для грунта нарушенного сложения из нетеплопроводного материала (например, пластик, оргстекло, капролон, фторопласт и пр.)
- термопаста.
6.2.2 Для пробоподготовки скальных, полускальных и мерзлых грунтов требуются сверла диаметром, равным диаметру щупа зонда или более на 0,1 - 0,3 мм.
6.2.3 При проведении испытаний с применением зонда с двумя щупами на образцах скального, полускального грунта, монолитах мерзлого грунта требуется устройство, обеспечивающее сверление параллельных отверстий в образце (шаблон с отверстиями, выполняющими роль направляющих), а также сверлильный станок. При применении зондов с одним щупом допускается сверление отверстий и другими приспособлениями (например, шуруповертом).
6.2.4 Диаметр зонда должен быть как минимум в пять раз больше максимальной фракции испытуемого грунта.
6.2.5 Диаметр и высоту образца выбирают, исходя из условия, что вокруг зонда должно быть не менее 30 мм грунта во всех направлениях.
6.3.1 Отбор и подготовку образцов осуществляют в соответствии с 4.3, 4.6, 4.7.
6.3.2 При проведении испытаний на образцах скального или полускального грунта, на монолитах мерзлого грунта, на монолитах немерзлого глинистого грунта твердой и полутвердой консистенции используют часть керна, обеспечивая параллельность верхнего и нижнего торцов образца. Зонд погружают в просверленные отверстия, предварительно смазав зонд термопастой для обеспечения плотного теплового контакта. Образование трещин при сверлении отверстий или внедрении зонда не допускается.
6.3.3 Образец грунта нарушенного сложения в талом состоянии с природными значениями влажности и плотности размещают в емкостях из нетеплопроводного материала. Не допускается использование емкостей из металла. В образец погружают зонд, обеспечивая плотный контакт датчика с грунтом. Воздушные зазоры не допускаются.
6.3.4 При работе с монолитами мерзлого грунта сначала проводят испытания в мерзлом состоянии, затем монолит оттаивают при комнатной температуре и проводят испытания в талом состоянии.
6.3.5 При проведении испытаний на монолитах грунта в талом состоянии допускается использовать ранее просверленные отверстия (для проведения испытаний грунтов в мерзлом состоянии) при условии обеспечения плотного теплового контакта либо внедрять зонд в оттаявший монолит. Новую точку для внедрения зонда выбирают так, чтобы обеспечивалось выполнение 6.4.1.
6.3.6 При возникновении трещин в монолите в талом состоянии в процессе внедрения зонда необходимо выбрать новую точку для испытаний. Если внедрение зонда невозможно без нарушения целостности монолита, то необходимо приготовить образец нарушенного сложения с природными значениями влажности и плотности в соответствии с 6.3.3. То же касается грунтов, которые приобретают при оттаивании текучую или текучепластичную консистенцию, т.е. теряют форму при оттаивании, или в которых происходит очевидное перераспределение влаги.
6.3.7 Перед проведением испытаний на монолитах мерзлого грунта в мерзлом состоянии образец с погруженным зондом выдерживают в морозильной камере при температуре испытания не менее 6 ч для формирования однородного температурного поля в образце.
6.3.8 Перед проведением испытаний на монолитах грунта в талом состоянии монолит оттаивают при комнатной температуре. Испытания начинают не ранее чем через 16 ч после перемещения образца из морозильной камеры в помещение с положительной температурой. При этом образцы следует размещать так, чтобы они не подвергались воздействию потоков воздуха, прямых солнечных лучей и других источников тепла.
6.3.9 Перед проведением испытаний на грунтах нарушенного сложения емкости с грунтом выдерживают при температуре испытания не менее 4 ч для формирования однородного температурного поля в образце.
6.4.1 Испытание проводят с трехкратной повторностью. Рекомендуется проводить испытания на одном монолите или одном искусственно приготовленном образце с использованием трех разных отверстий, расстояние между которыми должно составлять не менее 30 мм. При работе на грунтах нарушенного сложения допускается приготовление трех емкостей с грунтом, для каждой из которых проводят по одному испытанию.
6.4.2 Испытание начинают одновременным включением регистрации температуры и нагрева зонда.
6.4.3 Мощность зонда подбирают таким образом, чтобы за время испытания нагрев образца составил не более 1,5 °C для незасоленных грунтов в мерзлом состоянии, не более 1 °C - для слабозасоленных грунтов в мерзлом состоянии и не более 5 °C - для грунтов в талом состоянии. Если условие не соблюдается, то корректируют мощность или продолжительность нагрева и повторяют испытание. Повторение испытания возможно не ранее, чем через 30 мин.
6.4.4 Записывают показания датчика температуры при нагреве и последующем охлаждении образца в течение промежутка времени длительностью не более 12 мин. Показания температуры и мощности фиксируют не реже чем каждые 5 с.
6.4.5 После получения первого результата с соблюдением требований 6.4.3, зонд переставляют во второе заранее просверленное отверстие в испытуемом образце грунта. Второе испытание проводят не ранее, чем через 30 мин после перестановки зонда.
После получения второго результата с соблюдением 6.4.3, зонд переставляют в третье заранее просверленное отверстие в испытуемом образце грунта. Третье испытание проводят не ранее, чем через 30 мин после перестановки зонда.
6.5.1 Из испытаний с применением зонда с одним щупом коэффициент теплопроводности Вт/(м·°C) грунта в талом λth или мерзлом λf состоянии вычисляют по формуле
, (5)
где Qi - удельная мощность, Вт/м;
S - параметр, °C-1, численно равный тангенсу угла наклона прямого участка графика изменения температуры образца во времени, построенного на основе экспериментальных данных (определяют в соответствии с приложением Г), рассчитывают по формуле
. (6)
Параметр S определяют для этапов нагрева и охлаждения, затем вычисляют среднеарифметическое значение по ним, которое используют для расчета по формуле (5).
Вычисленное значение коэффициента теплопроводности округляют с точностью до 0,01 Вт/м·°C.
6.5.2 Из испытаний с применением зонда с двумя щупами при реализации мгновенного импульсного нагрева вычисляют коэффициент температуропроводности, м2/с, в талом αth или мерзлом αf состоянии по формуле
, (7)
где r - расстояние между нагревателем и датчиком температуры, м;
tm,i - промежуток времени от начала нагрева до момента времени, когда датчиком температуры зафиксирована максимальная температура в испытании, с.
Вычисленное значение коэффициента температуропроводности округляют с точностью до 0,001·10-6 м2/с.
Объемную теплоемкость C, Дж/(м3·°C), грунта в талом Cth или мерзлом Cf состоянии вычисляют по формуле
, (8)
где qi - количество тепла, подаваемое на нагреватель, Дж/м;
r - расстояние между нагревателем и датчиком температуры, м;
ΔTi - разница между максимальной и начальной температурой в испытании, °C.
Вычисленное значение объемной теплоемкости округляют с точностью до 0,01·106 Дж/(м3·°C).
6.5.3 Из испытаний с применением зонда с двумя щупами при реализации нагрева определенной длительности t0 вычисляют коэффициент температуропроводности α, м2/с, в талом αth или мерзлом αf состоянии по формуле
, (9)
где r - расстояние между нагревателем и датчиком температуры, м;
tm,i - промежуток времени от начала нагрева до того момента времени, когда датчиком температуры зафиксирована максимальная температура в испытании, с.
Значение коэффициента температуропроводности вычисляют с точностью 0,001·10-6 м2/с.
Объемную теплоемкость C, Дж/(м3·°C), грунта в талом Cth или мерзлом Cf состоянии вычисляют по формуле
, (10)
где Qi - удельная мощность нагревателя, Вт/м;
r - расстояние между нагревателем и датчиком температуры, м;
ΔTi - разница между максимальной и начальной температурой в испытании, °C;
u - функция изменения температуры во времени.
Вычисленное значение объемной теплоемкости округляют с точностью до 0,01·106 Дж/(м3·°C).
6.5.4 Коэффициент теплопроводности λ, Вт/(м·°C), грунта в талом λth или мерзлом λf состоянии при использовании зонда с двумя щупами вычисляют по формуле
λ(i) = α(i)·C(i). (11)
6.5.5 Удельное термическое сопротивление грунта R, (м·°C)/Вт, в талом Rth и мерзлом Rf состоянии рассчитывают по формуле
. (12)
Вычисленное значение удельного термического сопротивления округляют с точностью до 0,01 (м·°C)/Вт.
7.1.1 Метод реализует квазистационарный режим теплообмена, при котором в образец поступает контролируемое количество теплоты в единицу времени. Образец нагревают или охлаждают в среде с постоянной температурой. На основе изменения температуры во времени в разных точках теплоизмерительной ячейки рассчитывают теплофизические характеристики.
7.1.2 В методе определяют следующие характеристики:
- удельную теплоемкость грунта в талом Cm,th или мерзлом Cm,f состоянии, Дж/(кг·°C);
- объемную теплоемкость грунта в талом Cth или мерзлом Cf состоянии, Дж/(м3·°C);
- удельную теплоемкость скелета грунта Cρ, Дж/(кг·°C);
- коэффициент теплопроводности грунта в талом λth или мерзлом λf состоянии, Вт/(м·°C).
7.1.3 Метод не распространяется на крупнообломочные грунты, грунты с крупнообломочными включениями в количестве более 30% в талом и мерзлом состояниях. Максимальный размер крупнообломочных включений не должен превышать 1/4 диаметра образца. Метод не распространяется на средне- и сильнозасоленные грунты при определении коэффициента теплопроводности в мерзлом состоянии.
7.1.4 Испытания проводят на грунтах нарушенного сложения с природными значениями влажности и плотности. При наличии шлиров льда в образце допускается проводить испытания на образцах грунтов природного сложения. Допустимая суммарная толщина шлиров льда составляет не более 1/5 высоты образца.
7.1.5 В процессе испытаний ведут журнал, форма которого приведена в приложении А.
7.2.1 Для испытаний применяют установки, в состав которых входят:
- теплоизмерительная ячейка, суммарное термическое сопротивление которой не превышает 1 м·°C/Вт, состоит из внутреннего и внешнего металлических стаканов, между которыми располагают теплоизоляционный материал;
- металлическая емкость для грунта диаметром не менее 20 мм и высотой не менее 35 мм, со стенкой толщиной не менее 3 мм для размещения в ней датчика температуры;
- температурные датчики (не менее 3 шт.), размещаемые в образце и теплоизмерительной ячейке с погрешностью измерений не более ± 0,05 °C;
- массивный металлический блок для стабилизации температуры, диаметр которого более чем в два раза больше диаметра теплоизмерительной ячейки и высота больше высоты теплоизмерительной ячейки;
- устройство термостатирования (например, морозильная камера) с точностью поддержания температуры воздуха возле теплоизмерительной ячейки не более ± 0,5 °C;
- блок регистрации данных и управления испытанием.
7.2.2 Принципиальная схема установки приведена в приложении Д.
7.2.3 Датчики температуры и характеристики теплоизмерительной ячейки должны обеспечивать измерение разности температур датчиков в стенке емкости с грунтом и внутренним металлическим стаканом теплоизмерительной ячейки с относительной погрешностью не более 2%.
7.3.1 Отбор и подготовку образцов осуществляют в соответствии с 4.3, 4.6, 4.7.
7.3.2 Образец исследуемого грунта природного или нарушенного сложения помещают в металлическую емкость. Емкость наполняют грунтом на 2/3 его высоты. Грунт укладывают так, чтобы в образце отсутствовали воздушные полости. После приготовления образца контролируют его плотность.
7.3.3 Затем емкость закрывают крышкой, в которой закреплен температурный датчик. Датчик крепят так, чтобы при погружении он находился в центре образца.
Необходимо обеспечить плотный контакт датчика с грунтом. Воздушные зазоры не допускаются.
7.3.4 Емкость с грунтом помещают в теплоизмерительную ячейку установки, устанавливают датчики температуры.
7.3.5 Емкость в теплоизмерительной ячейке выдерживают при комнатной температуре не менее 4 ч для формирования однородного температурного поля. Ее размещают так, чтобы исключить влияние потоков воздуха, прямое попадание солнечных лучей и других источников тепла.
7.4.1 Датчики температуры подключают к блоку регистрации данных и управления испытанием, включают запись показаний, теплоизмерительную ячейку помещают в термостатированную среду. Температура среды должна быть ниже минус 10 °C. Запись показаний температуры осуществляют не реже чем один раз в минуту.
7.4.2 Скорость изменения средней по объему температуры образца должна быть такой, чтобы абсолютная мощность нагрева либо охлаждения (приращение тепла за единицу времени) образца не превышала 1 Вт.
7.4.3 Показания датчиков температуры и разности температур в стенке емкости с грунтом и внутреннего металлического стакана теплоизмерительной ячейки записывают в журнал, форма которого приведена в приложении А.
7.4.4 Испытание завершают, когда температура в центре образца отличается от температуры термостатированной среды не более, чем на 2 °C.
7.5.1 Вычисляют среднюю по объему температуру образца по формуле
, (13)
где Ty - температура во внутреннем металлическом стакане;
Tx - температура в центре образца.
7.5.2 Строят график изменения средней по объему температуры образца Tsr во времени t.
7.5.3 Из полученной функции температуры от времени вычисляют функцию производной средней по объему температуры образца от времени ε методом наименьших квадратов, проводя прямую наилучшего приближения к экспериментальным точкам средней по объему температуры образца и времени по формуле, °C/с
, (14)
где Tsr,i - значения средней по объему температуры, °C, определенные при различных значениях времени ti, с;
n - число взятых в расчет точек.
7.5.4 Приращение количества теплоты в единицу времени β, Вт, поступающего в образец, вычисляют по формуле
, (15)
где R - термическое сопротивление слоя изоляции, °C/Вт;
Ty - температура во внутреннем металлическом стакане, °C;
Tz - температура во внешнем металлическом стакане, °C.
7.5.5 В случае, если внутренний металлический стакан либо иные элементы внутри теплоизмерительной ячейки выполнены из массивных материалов с высокой собственной теплоемкостью, то величину приращения теплоты за единицу времени, поступающей в образец, корректируют и вычисляют по формуле
, (16)
где Ck - суммарная теплоемкость всех элементов внутри теплоизмерительной ячейки, Дж/°C;
γ - функция производной температуры Ty во внутреннем металлическом стакане, определенной при различных значениях времени ti, вычисляемой методом наименьших квадратов, °C/с
. (17)
7.5.6 Удельную теплоемкость грунта Cm, Дж/(кг·°C), в талом Cm,th или мерзлом Cm,f состоянии вычисляют по формуле
, (18)
где m - масса образца, кг.
Вычисленную удельную теплоемкость округляют с точностью до 10 Дж/(кг·°C).
7.5.7 Объемную теплоемкость грунта C, Дж/(м3·°C), в талом Cth или мерзлом Cf состоянии вычисляют по формуле
, (19)
где V - объем образца, м3.
Вычисленную объемную теплоемкость округляют с точностью до 0,01·106 Дж/(м3·°C).
7.5.8 Удельную теплоемкость скелета грунта Cρ, Дж/(кг·К), вычисляют по формуле
Cρ = Cm,th·(1 + Wtot) - Wtot·Cw, (20)
где Wtot - суммарная влажность грунта, дол. ед.;
Cw - удельная теплоемкость воды, Дж/(кг·°C).
7.5.9 Коэффициент теплопроводности грунта λ, Вт/(м·°C), в талом λth или мерзлом λf состоянии вычисляют по формуле
, (21)
где r - радиус образца, м.
Вычисление коэффициента теплопроводности грунта в талом состоянии λth проводят для диапазона температур выше 0 °C.
Вычисление коэффициента теплопроводности грунта в мерзлом состоянии λf проводят для температурного диапазона ниже минус 4 °C для песков, ниже минус 5 °C для супесей, ниже минус 6 °C для суглинков и ниже минус 7 °C для глин.
8.1.1 Метод регулярного режима 1-го рода заключается в нагревании или охлаждении образца грунта цилиндрической формы в среде с постоянной температурой. При однородном распределении температуры внутри образца в начальный момент времени, постоянной температуре внешней среды, теплоотводе с поверхности образца во время испытания наступает стадия, когда температура во всех точках образца изменяется линейно во времени, т.е. с одинаковой скоростью. Эту стадию называют стадией регулярного режима.
8.1.2 Методом регулярного режима 1-го рода определяют коэффициент температуропроводности грунта в талом αth или мерзлом αf состоянии, м2/с.
8.1.3 Метод не распространяется на средне- и сильнозасоленные грунты, грунты с крупнообломочными включениями в количестве более 20% в талом и мерзлом состояниях. Максимальный размер крупнообломочных включений не должен превышать 1/4 диаметра образца. Метод не применим к крупнообломочным грунтам.
8.1.4 Испытания проводят на грунтах нарушенного сложения с природными значениями влажности и плотности. При наличии прослоев льда в образце допускается проводить испытания на грунтах природного сложения. Допустимая толщина прослоев льда составляет не более 1/5 высоты образца.
8.1.5 В процессе испытаний ведут журнал, форма которого приведена в приложении А.
8.2.1 Для испытаний применяют установки, в состав которых входят:
- жидкостный термостат с точностью поддержания температуры не более ± 0,1 °C;
- дополнительное устройство для перемешивания жидкости в термостате в месте расположения образца;
- температурные датчики, один из которых помещают в образец, а второй - на поверхность образца для контроля температуры окружающей среды. Допускается замена двух датчиков одной термопарой, свободные концы которой располагают на поверхности металлической емкости с грунтом. Погрешность измерения датчиков температуры или термопары не более ± 0,1 °C;
- емкости для грунта из теплопроводного материала (например, металл) диаметром не менее 30 мм и высотой не менее 55 мм, высота образца должна быть в 1,8 - 2,2 раза больше диаметра;
- держатель для образца;
- морозильная камера с точностью поддержания температуры не более ± 0,5 °C;
- материал для обеспечения герметичности образца (например, пластилин, силиконовый герметик и др.).
8.2.2 Принципиальная схема установки приведена в приложении Е.
8.3.1 Отбор и подготовку образцов осуществляют в соответствии с 4.3, 4.6, 4.7.
8.3.2 Образец исследуемого грунта природного или нарушенного сложения с заданными значениями влажности и плотности помещают в емкость. Грунт укладывают так, чтобы в образце отсутствовали воздушные полости. После приготовления образца контролируют его плотность.
8.3.3 Затем емкость закрывают крышкой, в которой герметично закреплен температурный датчик. Датчик крепят так, чтобы при погружении он находился в центре образца. Необходимо обеспечить плотный контакт датчика с грунтом. Воздушные зазоры не допускаются.
8.3.4 Стык емкости с крышкой тщательно герметизируют материалом, обеспечивающим герметичность образца от попадания термостатирующей жидкости в образец. Датчик контроля температуры окружающей среды (при наличии) прикрепляют к емкости так, чтобы датчик не контактировал с поверхностью емкости с образцом. Контакт датчика с крепежными элементами не допускается.
8.3.5 Для определения коэффициента температуропроводности в талом состоянии образец выдерживают при комнатной температуре не менее 6 ч для формирования однородного температурного поля. Его размещают так, чтобы исключить влияние потоков воздуха, прямое попадание солнечных лучей и других источников тепла.
Для определения коэффициента температуропроводности в мерзлом состоянии образец помещают в морозильную камеру и выдерживают не менее 12 ч для формирования однородного температурного поля. Температуру в морозильной камере устанавливают минус (20 ± 1) °C, для грунтов с примесью органического вещества, разной степени заторфованности и торфов минус (25 ± 1) °C.
8.4.1 Испытание по определению коэффициента температуропроводности грунта в мерзлом состоянии проводят путем нагрева образца от температуры, заданной в морозильной камере до температуры, установленной в термостате. Для незасоленных и слабозасоленных грунтов испытания проводят в температурном диапазоне от минус (20 ± 1) °C до минус 8 °C, для грунтов с примесью органического вещества, разной степени заторфованности и торфов - от минус 25 °C до минус 8 °C. В указанных диапазонах температур разница температур между начальной температурой образца и температурой среды должна быть не менее 10 °C.
8.4.2 Испытание по определению коэффициента температуропроводности грунта в талом состоянии проводят путем охлаждения образца от комнатной температуры до температуры, установленной в термостате. Для всех типов грунтов вне зависимости от степени засоленности и содержания органического вещества испытания проводят в температурном диапазоне от комнатной температуры до 0 °C. Рекомендуемое значение для установок в термостате (1 ± 1) °C.
8.4.3 Включают перемешивание жидкости в термостате и считывающее устройство для датчиков температуры.
8.4.4 После достижения заданной температуры в термостате образец с установившимся однородным температурным полем помещают в термостат. При проведении испытаний на мерзлом образце перенос образца из морозильной камеры в термостат следует осуществлять не дольше 5 с. Температурный датчик образца подключают к измерительному устройству.
8.4.5 Образец должен полностью находиться в жидкости. Высота жидкости над верхней крышкой образца должна составлять не менее 20 и не более 40 мм.
8.4.6 Ведут автоматическую запись показаний датчиков температуры.
8.4.7 Испытание завершают, когда разница температуры среды испытания и температуры в образце становится менее 1 °C.
8.4.8 За температуру испытания принимают среднее значение между температурой, при которой проводилась выдержка образца для формирования однородного температурного поля и температурой, установленной в термостате.
8.5.1 На основе данных об изменении температуры образца во времени строят график ln(T - T0) = f(t), где T0 - температура, установленная в термостате. Пример обработки приведен в приложении Ж.
8.5.2 На графике выделяют прямолинейный участок, соответствующий стадии регулярного режима 1-го рода. Для этого участка вычисляют темп нагрева mf или охлаждения mth, с-1, который соответствует тангенсу угла наклона прямолинейного участка по формуле
, (22)
где t1,i и t2,i - два момента времени в стадии регулярного режима, с;
T0 - температура, установленная в термостате, либо температура среды, измеренная по контрольному датчику на поверхности образца, °C;
T1,i и T2,i - температуры, соответствующие моментам времени t1 и t2, °C.
8.5.3 Вычисляют коэффициент формы K, 1/м2, по формуле
, (23)
где r - радиус образца, м;
h - высота образца, м.
8.5.4 Коэффициент температуропроводности грунта α, м2/с, в талом αth или мерзлом αf состоянии вычисляют по формуле
α(i) = K·m(i). (24)
Вычисленное значение коэффициента температуропроводности округляют с точностью до 0,001·10-6 м2/с.
Приложение А
(рекомендуемое)
|
Дата испытания |
Лабораторный номер образца |
Номер выработки; глубина отбора образца, м |
Влажность образца, % |
Плотность образца, г/см3 |
Высота образца, мм |
Номер испытания |
Температура верхнего торца, °C |
Температура нижнего торца, °C |
Теплопоток, Вт/м |
Коэффициент теплопроводности, Вт/(м·°C) |
|
Лабораторный номер образца |
Номер скважины |
Глубина отбора, м |
Влажность, % |
Плотность, г/см3 |
Степень засоленности, % |
Содержание органического вещества, % |
Дата испытания |
Норме испытания |
Тип зонда |
Номер зонда |
Мощность нагрева, Вт |
Время нагрева, мин |
Температура испытания, °C |
Величина нагрева, °C |
Коэффициент теплопроводности, Вт/(м·°C) |
Объемная теплоемкость, Дж/(м3·°C) |
Коэффициент температуропроводности, м2/с |
Термическое сопротивление, (м·°C)/Вт |
Исполнитель |
|
Дата испытания |
Лабораторный номер образца |
Номер выработки |
Глубина отбора, м |
Номер испытания |
Номер стакана |
Масса стакана, г |
Масса стакана с грунтом, г |
Масса грунта, г |
Плотность грунта, г/см3 |
Влажность грунта, % |
Начальная температура образца °C |
Температура среды, °C |
Коэффициент теплопроводности талого грунта, Вт/(м·°C) |
Коэффициент теплопроводности мерзлого грунта, Вт/(м·°C) |
Удельная теплоемкость талого грунта, Дж/(кг·°C) |
Удельная теплоемкость мерзлого грунта, Дж/(кг·°C) |
|
Дата испытания |
Лабораторный номер образца |
Номер скважины |
Глубина отбора, м |
Номер испытания |
Номер стакана |
Масса стакана, г |
Масса стакана с грунтом, г |
Плотность грунта, г/см3 |
Влажность, % |
Степень засоленности, % |
Содержание органического вещества, % |
Начальная температура образца, °C |
Температура в термостате, °C |
Коэффициент температуропроводности, м2/с |
Приложение Б
(рекомендуемое)

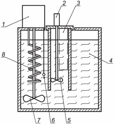
1 - теплоизоляционный кожух; 2, 13 - охранные кольца пассивные или активные; 3, 12 – устройства термостатирования; 4, 11 - датчики температуры, расположенные в пластинах из металла или иного материала с коэффициентом теплопроводности более 5 Вт/м·К; 5, 6 - тепломер верхний; 7 - образец мерзлого или талого грунта; 8, 14 - обойма из нетеплопроводного материала; 9, 10 - тепломер нижний
Рисунок Б.1
Приложение В
(рекомендуемое)

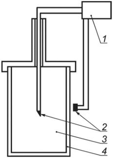
1 - образец грунта; 2 - емкость из нетеплопроводного материала (для дисперсных грунтов нарушенного сложения); 3 - морозильная камера или криотермостат (для испытаний грунтов в мерзлом состоянии); 4 - зонд с одним, двумя или несколькими щупами; 5 - устройство регистрации температуры и управления испытанием
Рисунок В.1 - Общая схема установки
Приложение Г
(рекомендуемое)
Г.1 По экспериментальным данным строят график изменения температуры T во времени t в координатах T(lnt) для этапа нагрева и для этапа охлаждения (рисунок Г.1).

а) - этап нагрева; б) - этап охлаждения
Рисунок Г.1 - Характерные экспериментальные зависимости температуры от времени
Г.2 На графике определяют область данных для расчета. В расчет принимают только линейную часть.
Г.3 Данные, включенные в анализ, должны быть равномерно распределены по логарифмической шкале времени (оси X). На рисунке Г.1 показан набор данных, который корректно выбран для обеспечения равномерного распределения данных по логарифмической оси времени.
Приложение Д
(рекомендуемое)

1 - массивный металлический блок для стабилизации температуры; 2 - внешний металлический стакан; 3 - внутренний металлический стакан; 4, 5, 6 – температурные датчики; 7 - блок регистрации данных и управления испытанием; 8 - устройство термостатирования; 9 - металлическая емкость; 10 - теплоизоляционный материал; 11 - образец грунта
Рисунок Д.1 - Общая схема установки
Приложение Е
(рекомендуемое)

1 - блок управления термостатом; 2 - мотор дополнительной мешалки; 3 - держатель для образца; 4 – термостатирующая жидкость; 5 - дополнительная мешалка; 6 - датчик температуры термостата; 7 - мешалка термостата; 8 - охладитель
Рисунок Е.1 - Общая схема установки

1 - блок регистрации данных; 2 - датчики температуры; 3 - образец грунта; 4 - металлическая емкость
Рисунок Е.2 - Емкость с образцом грунта для исследований
Приложение Ж
(рекомендуемое)

t1 - начало прямолинейного участка; t2 - окончание прямолинейного участка; α - угол наклона прямолинейного участка
Рисунок Ж.1 - Изменение температуры образца во времени


