ГОСТ Р 71031-2023 СПЕЦИАЛИЗИРОВАННЫЕ ЖИДКИЕ КОМПОЗИЦИИ ДЛЯ ПОЛУЧЕНИЯ ТВЕРДЕЮЩИХ И БЫСТРОТВЕРДЕЮЩИХ ОГНЕТУШАЩИХ ПЕН. ОБЩИЕ ТЕХНИЧЕСКИЕ ТРЕБОВАНИЯ. МЕТОДЫ ИСПЫТАНИЙ
Утв. и введен в действие Приказом Федерального агентства по техническому регулированию и метрологии от 25 октября 2023 г. N 1229-ст
Specialized liquid compositions for generation of the hardening and fast-hardening fire-extinguishing foams. General technical requirements. Test methods
ОКС 13.220.20
Дата введения - 1 декабря 2023 года
Введен впервые
Предисловие
1 РАЗРАБОТАН Обществом с ограниченной ответственностью НПО "Современные Пожарные Технологии" (ООО "НПО "СОПОТ")
2 ВНЕСЕН Техническим комитетом по стандартизации ТК 274 "Пожарная безопасность"
3 УТВЕРЖДЕН И ВВЕДЕН В ДЕЙСТВИЕ Приказом Федерального агентства по техническому регулированию и метрологии от 25 октября 2023 г. N 1229-ст
4 ВВЕДЕН ВПЕРВЫЕ
Правила применения настоящего стандарта установлены в статье 26 Федерального закона от 29 июня 2015 г. N 162-ФЗ "О стандартизации в Российской Федерации". Информация об изменениях к настоящему стандарту публикуется в ежегодном (по состоянию на 1 января текущего года) информационном указателе "Национальные стандарты", а официальный текст изменений и поправок - в ежемесячном информационном указателе "Национальные стандарты". В случае пересмотра (замены) или отмены настоящего стандарта соответствующее уведомление будет опубликовано в ближайшем выпуске ежемесячного информационного указателя "Национальные стандарты". Соответствующая информация, уведомление и тексты размещаются также в информационной системе общего пользования - на официальном сайте Федерального агентства по техническому регулированию и метрологии в сети Интернет (www.rst.gov.ru)
Настоящий стандарт распространяется на жидкие составы (компоненты) для получения твердеющих и быстротвердеющих пен, а также на твердеющие и быстротвердеющие пены на их основе, полученные с помощью специальной аппаратуры, используемые для локализации очагов возгорания и тушения пожаров класса A.
Настоящий стандарт устанавливает основные показатели, общие технические требования и методы испытаний жидких составов для получения твердеющих и быстротвердеющих пен, а также непосредственно твердеющих и быстротвердеющих огнетушащих пен на их основе.
Настоящий стандарт распространяется на все виды испытаний жидких составов для получения твердеющих и быстротвердеющих пен, а также твердеющих и быстротвердеющих пен на их основе.
Настоящий стандарт не распространяется на испытания жидких составов для получения вспененного гидрогеля кремниевой кислоты.
В настоящем стандарте использованы нормативные ссылки на следующие стандарты:
ГОСТ 12.1.044 (ИСО 4589-84) Система стандартов безопасности труда. Пожаровзрывоопасность веществ и материалов. Номенклатура показателей и методы их определения
ГОСТ 12.4.011 Система стандартов безопасности труда. Средства защиты работающих. Общие требования и классификация
ГОСТ 12.4.021 Система стандартов безопасности труда. Системы вентиляционные. Общие требования
ГОСТ 427 Линейки измерительные металлические. Технические условия
ГОСТ 1510 Нефть и нефтепродукты. Маркировка, упаковка, транспортирование и хранение
ГОСТ 1770 Посуда мерная лабораторная стеклянная. Цилиндры, мензурки, колбы, пробирки. Общие технические условия
ГОСТ 1929 Нефтепродукты. Методы определения динамической вязкости на ротационном вискозиметре
ГОСТ 2715 Сетки металлические проволочные. Типы, основные параметры и размеры
ГОСТ 9218 Автомобильные транспортные средства для перевозки пищевых жидкостей. Технические требования и методы испытаний
ГОСТ 10007 Фторопласт-4. Технические условия
ГОСТ 11652 Винты самонарезающие с потайной головкой и заостренным концом для металла и пластмассы. Конструкция и размеры
ГОСТ 18995.1 Продукты химические жидкие. Методы определения плотности
ГОСТ 18995.5 Продукты химические органические. Методы определения температуры кристаллизации
ГОСТ 19903 Прокат листовой горячекатаный. Сортамент
ГОСТ 22567.5 Средства моющие синтетические и вещества поверхностно-активные. Методы определения концентрации водородных ионов
ГОСТ 25336 Посуда и оборудование лабораторные стеклянные. Типы, основные параметры и размеры
ГОСТ 32509 Вещества поверхностно-активные. Метод определения биоразлагаемости в водной среде
ГОСТ Р 50588-2012 Пенообразователи для тушения пожаров. Общие технические требования и методы испытаний
ГОСТ Р 50962 Посуда и изделия хозяйственного назначения из пластмасс. Общие технические условия
ГОСТ Р 51057 Техника пожарная. Огнетушители переносные. Общие технические требования. Методы испытаний
ГОСТ Р 51659 Вагоны-цистерны магистральных железных дорог колеи 1520 мм. Общие технические условия
Примечание - При пользовании настоящим стандартом целесообразно проверить действие ссылочных стандартов в информационной системе общего пользования - на официальном сайте Федерального агентства по техническому регулированию и метрологии в сети Интернет или по ежегодному информационному указателю "Национальные стандарты", который опубликован по состоянию на 1 января текущего года, и по выпускам ежемесячного информационного указателя "Национальные стандарты" за текущий год. Если заменен ссылочный стандарт, на который дана недатированная ссылка, то рекомендуется использовать версию этого стандарта с учетом всех внесенных в данную версию изменений. Если заменен ссылочный стандарт, на который дана датированная ссылка, то рекомендуется использовать версию этого стандарта с указанным выше годом утверждения (принятия). Если после утверждения настоящего стандарта в ссылочный стандарт, на который дана датированная ссылка, внесено изменение, затрагивающее положение, на которое дана ссылка, то это положение рекомендуется применять без учета данного изменения. Если ссылочный стандарт отменен без замены, то положение, в котором дана ссылка на него, рекомендуется применять в части, не затрагивающей эту ссылку.
В настоящем стандарте применены следующие термины с соответствующими определениями:
3.1 биоразлагаемость: Способность молекул подвергаться деструкции (биоассимилироваться) под воздействием микрофлоры, присутствующей в активном иле биологических очистных сооружений, в водоемах и почве.
3.2 быстротвердеющая пена: Дисперсная система, состоящая из ячеек - пузырьков воздуха, разделенных пленками жидкости, и получаемая из жидких компонентов, смесь которых в течение короткого периода (не более 30 с) необратимо переходит в гель.
3.3 водородный показатель pH: Мера активности ионов водорода в растворе, количественно выражающая его кислотность.
3.4 время твердения смеси: Время, исчисляемое с момента контакта компонентов твердеющих и быстротвердеющих пен друг с другом, за которое динамическая вязкость их смеси достигает значения 100 Па·с.
3.5 вспенивание: Увеличение объема жидкого материала с образованием ячеистой структуры за счет введения или выделения газа или пара в объеме этого материала.
3.6 гель: Структурированная система, имеющая трехмерный полимерный каркас и обладающая свойствами твердых тел, такими как: отсутствие текучести, способность сохранять форму, прочность, способность к деформации.
3.7 динамическая вязкость: Отношение применяемого напряжения сдвига к скорости сдвига жидкости.
3.8 заряд огнетушителя: Количество огнетушащего вещества, находящегося в корпусе огнетушителя, выраженное в единицах массы, или раствора для образования огнетушащего вещества, выраженное в единицах объема.
3.9 класс биоразлагаемости: Классификационный показатель биоразлагаемости вещества, определяемый продолжительностью его индукционного периода по методике, установленной нормативными документами.
3.10 кратность пены: Величина, равная отношению объема пены к объему жидкого раствора, из которого она получена.
3.11 ранг модельного очага пожара: Буквенно-числовое обозначение конфигурации и размера модельного очага пожара, установленное нормативными документами.
3.12 модельный очаг пожара: Очаг пожара, предназначенный для испытаний пожарной техники и огнетушащих веществ, форма и размеры которого установлены нормативными документами.
3.13 огнетушащее вещество: Вещество, обладающее физико-химическими свойствами, позволяющими создать условия для прекращения горения.
3.14 основной компонент твердеющих и быстротвердеющих пен: Водный раствор пенообразователя с добавками, обеспечивающими его полимеризацию при контакте с отверждающим компонентом.
3.15 отверждающий компонент твердеющих и быстротвердеющих пен: Водный раствор активатора полимеризации.
3.16 пена: Дисперсная система, состоящая из ячеек - пузырьков воздуха (газа), разделенных пленками жидкости, содержащей пенообразователь.
3.17 переносной огнетушитель: Огнетушитель с полной массой не более 20 кг, конструктивное исполнение которого обеспечивает возможность его переноски и применения одним человеком.
3.18 поверхностная плотность теплового потока: Лучистый тепловой поток, воздействующий на единицу площади поверхности образца.
3.19 полимеризация: Процесс получения высокомолекулярного вещества (полимера), при котором его молекула образуется в результате последовательного присоединения молекул одного или нескольких молекулярных веществ (мономеров).
3.20 плотность: Физическая величина, определяемая как отношение массы тела к занимаемому этим телом объему.
3.21 показатель смачивающей способности: Способность раствора смачивать твердые материалы.
3.22 твердеющая пена: Дисперсная система, состоящая из ячеек - пузырьков воздуха, разделенных пленками жидкости, получаемая из жидких компонентов, смесь которых в течение периода от 31 до 600 с необратимо переходит в гель.
3.23 температура застывания: Температура, при которой начинается фазовый переход вещества из жидкого агрегатного состояния в твердое.
3.24 термостабильность огнетушащей пены: Способность огнетушащей пены не разрушаться в результате непрерывного воздействия высокотемпературного источника.
4.1 Жидкие составы (компоненты) для получения твердеющих и быстротвердеющих огнетушащих пен должны соответствовать требованиям настоящего стандарта и значениям, приведенным в таблицах 1 - 3.
4.2 Один из жидких компонентов является основным, другой - отверждающим.
4.3 Твердеющие и быстротвердеющие пены генерируются благодаря вспениванию смеси основного и отверждающего компонентов в условиях протекающей одновременно с этим полимеризации, обусловленной контактом основного и отверждающего компонентов друг с другом.
4.4 Основной компонент твердеющих и быстротвердеющих огнетушащих пен по своим физико-химическим показателям должен соответствовать требованиям и нормам, указанным в таблице 1.
|
Наименование показателя |
Значение показателя |
Метод испытаний |
|
1 Внешний вид при температуре 20 °C |
Светло-прозрачная жидкость без осадка и расслоения |
По 6.1 |
|
2 Плотность при температуре 20 °C, кг/м3 |
1000 - 1200 |
По ГОСТ 18995.1 |
|
3 Динамическая вязкость при температуре 20 °C, мПа·с |
6 - 12 |
По ГОСТ 1929 |
|
4 Водородный показатель pH |
10 - 13 |
По ГОСТ 22567.5 |
|
5 Температура застывания, °C, не выше |
0 |
По ГОСТ 18995.5 |
|
6 Показатель смачивающей способности при температуре 20 °C, с, не более |
45 |
По ГОСТ Р 50588-2012 (5.9) |
|
7 Поверхностное натяжение при температуре 20 °C, мН/м, не более |
33 |
По ГОСТ Р 50588 |
4.5 Отверждающий компонент твердеющих и быстротвердеющих огнетушащих пен по своим физико-химическим показателям должен соответствовать требованиям и нормам, указанным в таблице 2.
|
Наименование показателя |
Значение показателя |
Метод испытаний |
|
1 Внешний вид при температуре 20 °C |
Прозрачная жидкость без осадка и расслоения |
По 6.1 |
|
2 Плотность при температуре 20 °C, кг/м3 |
1000 - 1100 |
По ГОСТ 18995.1 |
|
3 Динамическая вязкость при температуре 20 °C, мПа·с |
5 - 10 |
По ГОСТ 1929 |
|
4 Водородный показатель pH |
0,8 - 1,8 |
По ГОСТ 22567.5 |
|
5 Температура застывания, °C, не выше |
минус 20 |
По ГОСТ 18995.5 |
4.6 Смеси компонентов твердеющих и быстротвердеющих огнетушащих пен по времени твердения должны соответствовать требованиям, указанным в таблице 3.
|
Наименование показателя |
Значение показателя |
Метод испытаний |
|
Время твердения смеси: |
По 6.2 | |
|
- быстротвердеющие пены, с, не более |
30 | |
|
- твердеющие пены, с |
31 - 600 |
4.7 Твердеющие и быстротвердеющие огнетушащие пены должны соответствовать требованиям, указанным в таблице 4.
|
Наименование показателя |
Значение показателя |
Метод испытаний |
|
1 Кратность пены, не выше |
20 |
По 6.4 |
|
2 Термостабильность пены, мин, не менее |
60 |
По 6.5 |
|
3 Ранг потушенного модельного очага пожара, не ниже |
1A |
По ГОСТ Р 51057 |
4.7.1 Для проведения испытаний по тушению модельного очага пожара компоненты твердеющих или быстротвердеющих огнетушащих пен должны быть использованы в качестве заряда (огнетушащего вещества) воздушно-пенного переносного огнетушителя в количестве не более 6 л.
5.1 Основной и отверждающий компоненты твердеющих и быстротвердеющих пен должны быть пожаро- и взрывобезопасными. Методы определения номенклатуры показателей пожаро- и взрывобезопасности - по ГОСТ 12.1.044.
5.2 Основной и отверждающий компоненты твердеющих и быстротвердеющих пен не должны оказывать канцерогенного и мутагенного воздействий на организм человека.
5.3 Производственные помещения должны быть оборудованы приточно-вытяжной вентиляцией в соответствии с ГОСТ 12.4.021. Необходимо ежемесячно проводить влажную уборку помещения.
5.4 В процессе производства и использования основного и отверждающего компонентов твердеющих и быстротвердеющих пен не должно возникать вторичных опасных соединений.
5.5 При работе с основным и отверждающим компонентами твердеющих и быстротвердеющих пен необходимо применять средства индивидуальной защиты по ГОСТ 12.4.011, чтобы исключить возможность их попадания на кожные покровы, слизистую оболочку глаз и в желудочно-кишечный тракт.
5.6 Лицам, работающим с основным и отверждающим компонентами твердеющих и быстротвердеющих пен, необходимо соблюдать меры личной гигиены перед приемом пищи, курением и после окончания работ.
5.7 Условия труда работающих при изготовлении основного и отверждающего компонентов твердеющих и быстротвердеющих пен должны соответствовать действующим санитарным правилам и нормам.
5.8 В процессе эксплуатации и хранения необходимо принимать меры, исключающие пролив основного и отверждающего компонентов твердеющих и быстротвердеющих пен.
5.9 Основной компонент твердеющих и быстротвердеющих пен должен иметь класс биоразлагаемости не выше 2 по ГОСТ 32509.
5.10 Запрещается сброс производственных сточных вод, содержащих отверждающий компонент твердеющих и быстротвердеющих пен, в систему канализации населенных пунктов.
6.1 Определение внешнего вида компонентов твердеющих и быстротвердеющих огнетушащих пен
Внешний вид компонентов твердеющих и быстротвердеющих огнетушащих пен определяют визуально в цилиндрах по ГОСТ 1770 из бесцветного стекла вместимостью 250 см3 в проходящем рассеянном свете при температуре (20 ± 2) °C.
В два одинаковых цилиндра наливают по 200 см3 каждого компонента и выдерживают их в течение (12 ± 2) ч при температуре (3 ± 2) °C, а затем при температуре (60 ± 2) °C в течение (12 ± 2) ч. При этом не должны наблюдаться расслоения и выпадения осадка, видимые невооруженным глазом.
6.2 Определение времени твердения смеси компонентов твердеющих и быстротвердеющих огнетушащих пен
6.2.1 Оборудование
Вискозиметр ротационный Брукфильда с пределом допускаемой относительной погрешности измерений не выше ± 1%.
Мешалка магнитная со скоростью вращения от 0 до 6000 об/мин.
Секундомер механический с пределом погрешности при измерении интервала 60 мин при температуре (20 ± 5) °C не более ± 2 с.
Дозатор с диапазоном забираемого объема жидкости от 2 до 10 см3 с шагом изменения 0,1 см3.
Стакан лабораторный вместимостью 100 см3 произвольного типа по ГОСТ 25336.
6.2.2 Условия проведения испытания
Температура воздуха: от 15 °C до 25 °C.
Относительная влажность воздуха: от 40% до 80%.
Атмосферное давление: от 84,0 до 106,7 кПа.
6.2.3 Проведение испытания
В стакан вместимостью 100 см3 заливают 80 см3 основного компонента, после чего стакан с основным компонентом ставят на магнитную мешалку. Устанавливают в настройках режима работы вискозиметра скорость вращения шпинделя 6 об/мин. Включают магнитную мешалку со скоростью вращения жидкости 3000 об/мин.
В стакан с основным компонентом опускают шпиндель вискозиметра.
С помощью дозатора в стакан с основным компонентом заливают от 2 до 10 см3 отверждающего компонента. Немедленно после этого выключают магнитную мешалку, включают вискозиметр и секундомер.
Измерение проводят до момента достижения смесью компонентов значения динамической вязкости 100 Па·с. Данное время принимают за время твердения смеси компонентов твердеющих и быстротвердеющих пен.
Время и значения динамической вязкости фиксируют на панели управления вискозиметром.
6.2.4 За полученный результат принимают среднеарифметическое значение по результатам трех параллельных испытаний.
6.2.5 Измерения проводят при различном содержании отверждающего компонента в смеси.
6.2.6 Допустимое расхождение между результатами наиболее отличающихся значений должно составлять не более 10% среднего значения.
6.3 Получение твердеющих и быстротвердеющих пен
6.3.1 Для получения твердеющих и быстротвердеющих пен необходимо обеспечить одновременную подачу основного и отверждающего компонентов и их смешение в специальном стволе с одновременной эжекцией воздуха в смесь компонентов.
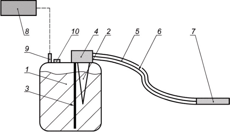
6.3.2 Принципиальная схема получения твердеющих и быстротвердеющих пен представлена на рисунке 1.

1 - емкость для основного компонента; 2 – емкость для отверждающего компонента; 3 - сифонная трубка; 4 - запорно-пусковое устройство; 5 - шланг подачи основного компонента; 6 - шланг подачи отверждающего компонента; 7 - ствол; 8 - источник избыточного давления; 9 - ниппель; 10 - манометр
Рисунок 1 - Принципиальная схема получения твердеющих и быстротвердеющих пен
Емкость для основного компонента 1 представляет собой металлический резервуар вместимостью от 5 до 100 дм3. Емкость для отверждающего компонента 2 расположена и закреплена внутри емкости для основного компонента и представляет собой эластичный пакет из поливинилхлорида (ПВХ). Соотношение вместимостей этих емкостей должно составлять 10:1. На емкости 1 установлено запорно-пусковое устройство 4, соединенное с сифонной трубкой 3 и емкостью 2.
С помощью внешнего источника избыточного давления 8, например, компрессора, в емкости 1 создают избыточное давление (1 ± 0,1) МПа, которое также воздействует на емкость 2. При открытии запорно-пускового устройства 4 основной компонент вытесняется из емкости 1 по сифонной трубке и попадает в шланг подачи основного компонента 5. Одновременно с этим отверждающий компонент вытесняется из емкости 2, которая сжимается под воздействием избыточного давления, и попадает в шланг подачи отверждающего компонента 6, расположенный внутри шланга 5. Оба компонента одновременно попадают в ствол 7, где происходит их смешение друг с другом при одновременной эжекции в их смесь воздуха. В результате смесь компонентов одновременно полимеризуется, вспенивается и подается в виде сплошной пенной струи.
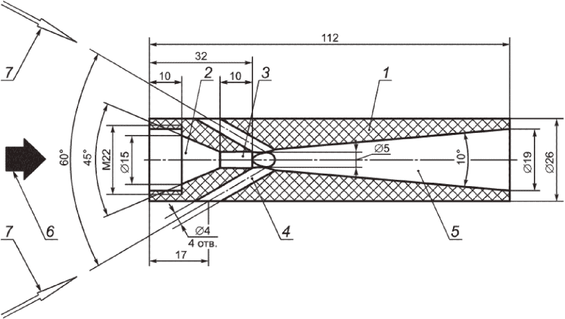
6.3.3 Ствол для получения твердеющих и быстротвердеющих пен должен быть выполнен из фторопласта по ГОСТ 10007. Параметры ствола представлены на рисунке 2.

1 - корпус ствола; 2 - конфузор ствола; 3 - камера смешения основного и отверждающего компонентов друг с другом; 4 - отверстия для эжекции воздуха; 5 - диффузор ствола; 6 - поток основного компонента; 7 - потоки отверждающего компонента
Рисунок 2 - Чертеж ствола для получения твердеющих и быстротвердеющих пен
Основной и отверждающий компоненты попадают в конфузор ствола 2, затем в камеру смешения 3, после чего проходят мимо отверстий для эжекции воздуха 4. Полученная вспенивающаяся смесь компонентов попадает в диффузор ствола 5 и выходит наружу в виде сплошной пенной струи. Производительность ствола должна составлять (0,2 ± 0,02) дм3/с.
6.4 Определение кратности твердеющих и быстротвердеющих огнетушащих пен
6.4.1 Оборудование
Секундомер механический с пределом погрешности при измерении интервала 60 мин при температуре (20 ± 5) °C не более ± 2 с.
Стакан лабораторный вместимостью 1000 см3 произвольного типа по ГОСТ 25336.
6.4.2 Условия проведения испытания
Температура воздуха: от 15 °C до 25 °C.
Относительная влажность воздуха: от 40% до 80%.
Атмосферное давление: от 84,0 до 106,7 кПа.
6.4.3 Проведение испытания
Стакан вместимостью 1000 см3 типа Н-2-1000 ТХС по ГОСТ 25336 заполняют с помощью оборудования для получения твердеющих и быстротвердеющих пен, после чего с верхней поверхности срезают излишки пены. При этом должно быть равномерное заполнение всего объема стакана без образования пустот. С помощью механического секундомера, зная производительность ствола, вычисляют объем израсходованных жидких компонентов Vж.к, дм3, по формуле
Vж.к = Q·τ, (1)
где Q - производительность ствола, дм3/с;
τ - время подачи твердеющей или быстротвердеющей пены, с.
После этого, зная объем полученной пены, соответствующий вместимости стакана, вычисляют кратность пены Kп, дм3, по формуле
, (2)
где Vп - объем полученной пены, дм3;
Vж - объем израсходованных жидких компонентов, дм3.
6.4.4 За полученный результат принимают среднеарифметическое значение по результатам трех параллельных испытаний.
6.4.5 Допустимое расхождение между результатами наиболее отличающихся значений должно составлять не более 10% среднего значения.
6.5 Определение термостабильности твердеющих и быстротвердеющих огнетушащих пен
6.5.1 Оборудование
Емкость цилиндрическая металлическая диаметром (100 ± 5) мм, высотой (50 ± 2) мм с толщиной стенки (3 ± 0,1) мм, с отверстием по центру в днище для термопары.
Щит деревянный размерами (200 ± 10) x (200 ± 10) x 40 мм с отверстием для термопары по центру.
Фрагмент сетки круглый из нержавеющей проволочной стали по ГОСТ 2715 диаметром (100 ± 5) мм, толщиной проволоки 0,3 мм и размером ячейки 1 x 1 мм.
Лист стальной по ГОСТ 19903 размерами (200 ± 10) x (200 ± 10) x 3 мм с отверстием для термопары по центру.
Полотно асбестовое толщиной (7 ± 1) мм.
Горелка газовая инфракрасного излучения типа "Феникс 3600".
Баллон газовый с пропаном.
Термометр электронный с пределом допускаемой относительной погрешности не выше ± 0,5%, термопара хромель-алюмелевая с диапазоном измерения температуры от 0 °C до 1100 °C.
Измеритель поверхностной плотности теплового потока с пределом допускаемой относительной погрешности не выше ± 7%.
Секундомер механический с пределом погрешности при измерении интервала 60 мин при температуре (20 ± 5) °C не более ± 2 с.
Линейка измерительная металлическая по ГОСТ 427.
Указанное выше оборудование в комплекте должно составлять испытательный стенд, представленный в виде схемы на рисунке 3.

1 - твердеющая или быстротвердеющая пена; 2 – емкость для пены; 3 - деревянный щит; 4 - металлическая сетка; 5 - асбестовое полотно; 6 - газовая горелка инфракрасного излучения; 7 - баллон с пропаном; 8 - электронный термометр; 9 - хромель-алюмелевая термопара; 10 – измеритель поверхностной плотности теплового потока; 11 - стальная платформа-перемычка; 12 - стальной лист
Рисунок 3 - Схема испытательного стенда для определения термостабильности твердеющих и быстротвердеющих огнетушащих пен
6.5.2 Условия проведения испытания
Температура воздуха: от 15 °C до 25 °C.
Относительная влажность воздуха: от 40% до 80%.
Атмосферное давление: от 84,0 до 106,7 кПа.
6.5.3 Подготовка к проведению испытания
Стальной лист 12 крепят к деревянному щиту 3 с помощью винтов самонарезающих по ГОСТ 11652. Емкость для пены 2 приваривают к стальному листу.
Испытательный стенд размещают горизонтально на ровной поверхности деревянным щитом вниз. Затем с помощью оборудования для получения твердеющих и быстротвердеющих пен заполняют емкость для пены. При этом должно быть равномерное заполнение всего объема емкости без образования пустот. Излишки твердеющей или быстротвердеющей пены убирают с деревянного щита и срезают с края заполненной емкости. Через (5 ± 0,5) мин после заполнения емкости стенд ставят в вертикальное положение, и открытую поверхность пены накрывают металлической сеткой 4. На термопаре 9 с помощью линейки отмеряют (63 ± 1) мм от контактного элемента и делают отсечку маркером или карандашом. С задней стороны стенда устанавливают термопару в толщу пены так, чтобы задняя поверхность деревянного щита совпала с отсечкой на термопаре. Таким образом, расстояние от металлической сетки до термопары составит (30 ± 1) мм.
С целью исключения нагрева поверхности стального листа и деревянного щита испытательный стенд накрывают куском асбестового полотна 5 с вырезанным в середине отверстием для пены, который крепят к стенду с помощью стальной платформы-перемычки 11.
Луч измерителя поверхностной плотности теплового потока 10 направляют на поверхность пены, накрытой металлической сеткой.
6.5.4 Проведение испытания
Включают электронный термометр 8. Включают измеритель поверхностной плотности теплового потока.
Открывают газовый баллон с пропаном 7 и зажигают газовую горелку инфракрасного излучения 6. После выхода газовой горелки на стабильный режим работы ее устанавливают на расстоянии (50 ± 2) мм от края емкости для пены, отмеренного линейкой, и включают секундомер.
Значение поверхностной плотности теплового потока в ходе испытаний должно составлять (2 ± 0,2) кВт/м2. В случае отклонения от указанного значения более чем на 5% необходимо скорректировать расстояние между емкостью для пены и газовой горелкой инфракрасного излучения.
При разрушении пены термопара оголяется и происходит резкий скачок температуры. Время с момента начала испытания до момента данного скачка является термостабильностью твердеющей или быстротвердеющей огнетушащей пены.
6.5.5 За полученный результат принимают среднеарифметическое значение по результатам трех параллельных испытаний.
6.5.6 Допустимое расхождение между результатами наиболее отличающихся значений должно составлять не более 10% среднего значения.
7.1 Основной и отверждающий компоненты твердеющих и быстротвердеющих пен должны быть упакованы в полиэтиленовые или полимерные канистры, бочки, емкости по ГОСТ Р 50962.
7.2 Маркировку основного и отверждающего компонентов твердеющих и быстротвердеющих пен следует производить в соответствии с ГОСТ 1510.
7.3 Транспортирование основного и отверждающего компонентов твердеющих и быстротвердеющих пен должно быть осуществлено в полиэтиленовых или полимерных канистрах, бочках, емкостях, соответствующих ГОСТ Р 50962, в автоцистернах согласно ГОСТ 9218, в железнодорожных цистернах по ГОСТ Р 51659.
7.4 Хранение основного и отверждающего компонентов твердеющих и быстротвердеющих пен следует осуществлять в полиэтиленовых или полимерных канистрах, бочках, емкостях, соответствующих ГОСТ Р 50962, в отапливаемых помещениях при температуре от 0 °C до 40 °C.


