Утв. и введен в действие Приказом Федерального агентства по техническому регулированию и метрологии от 31 мая 2023 г. N 361-ст
Национальный стандарт РФ ГОСТ Р 70762-2023
"ВНЕШНЕЕ АРМИРОВАНИЕ КОМПОЗИТНЫМИ МАТЕРИАЛАМИ. МЕТОДЫ УСКОРЕННЫХ ИСПЫТАНИЙ НА ПОЛЗУЧЕСТЬ КЛЕЕВЫХ СОЕДИНЕНИЙ ЭЛЕМЕНТОВ УСИЛЕНИЯ КОНСТРУКЦИЙ"
External reinforcement with composite materials. Methods of accelerated creep testing of adhesive joints of structural reinforcement elements
ОКС 91.220
Дата введения - 1 июля 2023 года
Введен впервые
Предисловие
1 РАЗРАБОТАН ФГБОУ ВО "Казанский государственный архитектурно-строительный университет" (КГАСУ) при участии Акционерного общества "Препрег - современные композиционные материалы" UMATEX (АО "Препрег - СКМ")
2 ВНЕСЕН Техническим комитетом по стандартизации ТК 465 "Строительство"
3 УТВЕРЖДЕН И ВВЕДЕН В ДЕЙСТВИЕ Приказом Федерального агентства по техническому регулированию и метрологии от 31 мая 2023 г. N 361-ст
4 ВВЕДЕН ВПЕРВЫЕ
Правила применения настоящего стандарта установлены в статье 26 Федерального закона от 29 июня 2015 г. N 162-ФЗ "О стандартизации в Российской Федерации". Информация об изменениях к настоящему стандарту публикуется в ежегодном (по состоянию на 1 января текущего года) информационном указателе "Национальные стандарты", а официальный текст изменений и поправок - в ежемесячном информационном указателе "Национальные стандарты". В случае пересмотра (замены) или отмены настоящего стандарта соответствующее уведомление будет опубликовано в ближайшем выпуске ежемесячного информационного указателя "Национальные стандарты". Соответствующая информация, уведомление и тексты размещаются также в информационной системе общего пользования - на официальном сайте Федерального агентства по техническому регулированию и метрологии в сети Интернет (www.rst.gov.ru)
1 Область применения
Настоящий стандарт распространяется на системы внешнего армирования композитными материалами из термореактивных адгезивов, армированных углеродными или стеклянными волокнами, и устанавливает методы ускоренных испытаний на ползучесть клеевых соединений элементов усиления конструкций.
Результаты испытаний используют для сравнительной оценки различных адгезивов по условиям их сопротивления деформированию в заданных температурных условиях.
2 Нормативные ссылки
В настоящем стандарте использованы нормативные ссылки на следующие документы:
ГОСТ 9.715 Единая система защиты от коррозии и старения. Материалы полимерные. Методы испытания на стойкость к воздействию температуры
ГОСТ 577 Индикаторы часового типа с ценой деления 0,01 мм. Технические условия
ГОСТ 2405 Манометры, вакуумметры, мановакуумметры, напоромеры, тягомеры и тягонапоромеры. Общие технические условия
ГОСТ 8829-2018 Изделия строительные железобетонные и бетонные заводского изготовления. Методы испытаний нагружением. Правила оценки прочности, жесткости и трещиностойкости
ГОСТ 13837 Динамометры общего назначения. Технические условия
ГОСТ 18105-2018 Бетоны. Правила контроля и оценки прочности
ГОСТ 32794 Композиты полимерные. Термины и определения
ГОСТ 32943-2011 Материалы и системы для защиты и ремонта бетонных конструкций. Требования к клеевым соединениям элементов усиления конструкций
ГОСТ Р 8.585 Государственная система обеспечения единства измерений. Термопары. Номинальные статические характеристики преобразования
СП 164.1325800.2014 Усиление железобетонных конструкций композитными материалами. Правила проектирования
Примечание - При пользовании настоящим стандартом целесообразно проверить действие ссылочных стандартов (сводов правил) в информационной системе общего пользования - на официальном сайте Федерального агентства по техническому регулированию и метрологии в сети Интернет или по ежегодному информационному указателю "Национальные стандарты", который опубликован по состоянию на 1 января текущего года, и по выпускам ежемесячного информационного указателя "Национальные стандарты" за текущий год. Если заменен ссылочный документ, на который дана недатированная ссылка, то рекомендуется использовать действующую версию этого документа с учетом всех внесенных в данную версию изменений. Если заменен ссылочный документ, на который дана датированная ссылка, то рекомендуется использовать версию этого документа с указанным выше годом утверждения (принятия). Если после утверждения настоящего стандарта в ссылочный документ, на который дана датированная ссылка, внесено изменение, затрагивающее положение, на которое дана ссылка, то это положение рекомендуется применять без учета данного изменения. Если ссылочный документ отменен без замены, то положение, в котором дана ссылка на него, рекомендуется применять в части, не затрагивающей эту ссылку. Сведения о действии сводов правил целесообразно проверить в Федеральном информационном фонде стандартов.
3 Термины и определения
В настоящем стандарте применены термины по ГОСТ 32794, а также следующие термины с соответствующими определениями:
3.1 ползучесть: Увеличение с течением времени деформации под действием постоянной нагрузки или механического напряжения.
3.2 кратковременная ползучесть: Ползучесть материала, определенная в лабораторных условиях в интервале времени не менее 3 - 5 ч.
3.3 длительная ползучесть: Ползучесть материала, определенная в лабораторных условиях в интервале времени не менее 5000 - 8000 ч.
3.4 вязкоупругая податливость: Отношение вязкоупругих деформаций к постоянной величине нагрузки (или напряжения).
3.5 модуль ползучести: Отношение постоянной ползучести к вязкоупругой деформации.
3.6 базовая нагрузка: Нагрузка, для которой необходимо выполнить прогноз долговечности.
3.7 базовая температура: Температура, для которой необходимо выполнить прогноз долговечности.
3.8 статическая нагрузка: Постоянная нагрузка, действующая на образец при испытании на ползучесть.
3.9 предельная нагрузка: Нагрузка, при которой происходит разрушение образца при заданной температуре.
3.10 термореактивный адгезив: Клеящий состав из термореактивной смолы для наклейки ламинатов или пропитки и наклейки изделий из непрерывного углеродного или стеклянного волокна (холсты, сетки и другие тканые материалы) на основание железобетонной конструкции.
Примечание - Под термореактивным адгезивом в настоящем стандарте понимают адгезив на основе эпоксидных смол.
4 Сущность методов
Сущность методов заключается в проведении серии изотермических испытаний при различных уровнях температуры и соответствующей постоянной нагрузке с измерением деформаций (прогиба) образцов в режиме кратковременной ползучести и построении обобщенных прогностических кривых длительной ползучести.
При экспериментальном определении кривых кратковременной ползучести и построении обобщенных прогностических кривых длительной ползучести могут использоваться два метода:
- 1 - метод температурно-временного сдвига изотермических кривых ползучести серии образцов, полученных в режиме кратковременной ползучести, в интервале базового периода испытаний вдоль логарифмической временной шкалы;
- 2 - Метод температурно-временного сдвига кривых ползучести одного образца, полученных по принципу ступенчатых изотерм, в интервале базового периода испытаний вдоль логарифмической временной шкалы.
5 Подготовка образцов
5.1 Количество образцов для каждой серии испытаний принимают равным трем.
5.2 Для испытаний используют железобетонные балки (далее - образцы), на которые наносят полимерный композит в соответствии с требованиями нормативных документов или технической документации на систему внешнего армирования.
Размеры образцов, армирование балок и схема установки полимерного композита приведены в приложении А.
5.3 Состав бетонной смеси для изготовления образцов должен соответствовать ГОСТ 32943-2014 (приложение Г) с показателями эксплуатационных свойств по таблице Г.1, бетон типа БМ (0,40).
5.4 Способ и режим твердения образцов бетона до проектного возраста следует принимать по ГОСТ 18105.
5.5 Абразивную обработку склеиваемой поверхности образца для установки полимерного композита проводят в соответствии с ГОСТ 32943-2014 (приложение Е).
5.6 Установка полимерного композита на поверхность образца осуществляется по алгоритму, приведенному в СП 164.1325800.2014 (приложение Б).
5.7 Условия изготовления образцов должны соответствовать условиям установки испытуемой системы внешнего армирования и должны быть приведены в нормативных документах или технической документации на изделие.
5.8 Количество слоев, ориентация и содержание армирующего наполнителя, полимерного композита должны соответствовать требованиям к испытуемой системе внешнего армирования и должны быть приведены в нормативных документах или технической документации на изделие.
5.9 Отверждают полимерный композит в соответствии с нормативными документами или технической документацией на изделие.
6 Испытательная установка
6.1 Испытательная установка должна содержать систему нагружения и поддержания заданного температурно-влажностного режима. Рекомендуемая схема испытательной установки приведена в приложении Б.
6.2 Система нагружения должна обеспечивать возможность опирания образца и приложения к нему нагрузки по заданной схеме и выполнения нагружения с погрешностью не более 2% от значения контрольной нагрузки для проверки прочности на изгиб.
Опоры должны отвечать требованиям пункта 8.2.4 ГОСТ 8829-2018.
Примечание - По согласованию с заказчиком допускается иная форма образца и/или схема нагружения при условии обеспечения касательных напряжений между полимерным композитом и поверхностью бетонного образца.
6.3 Для нагружения образца рекомендуются гидравлические домкраты с насосными станциями или электромеханические приводы с системами обеспечения постоянства заданной нагрузки.
6.4 Для измерения усилий следует применять манометры по ГОСТ 2405 или динамометры по ГОСТ 13837 с автоматической регистрацией нагрузки.
6.5 Для измерения деформаций (прогибов) следует применять измерительные устройства с погрешностью не более 1% предельного значения измеряемой величины.
Рекомендуется применять механические или цифровые прогибомеры, цифровые индикаторы часового типа по ГОСТ 577, датчики линейных перемещений с автоматической записью.
6.6 Испытательная камера должна обеспечивать постоянный температурно-влажностный режим с допустимой погрешностью температуры ± 1 °C в диапазоне температур от минус 55 °C до плюс 85 °C. Во всем диапазоне температур испытания относительная влажность в испытательной камере должна поддерживаться на уровне 50% с допустимой погрешностью ± 3%.
6.7 Испытательная камера должна быть укомплектована системой инфракрасных излучателей и обеспечивать равномерный разогрев по толщине полимерного композита в течение не более 10 мин с момента включения излучателей.
6.8 Для регулирования и поддержания постоянной температуры по толщине полимерного композита рекомендуется применять систему термопар по ГОСТ Р 8.585, установленных в толщу композита.
6.9 Объем камеры должен быть достаточным для размещения системы нагружения образца и обеспечения свободного доступа к нагружающим и измерительным устройствам.
6.10 Камера должна быть с окном, выполненным из прозрачного термостойкого материала, для визуального наблюдения за образцом и измерительными устройствами.
7 Проведение испытаний
7.1 Предварительные испытания
7.1.1 Определяют предельную нагрузку
образца на изгиб по схеме, приведенной в приложении Б, при тех уровнях температур, которые выбраны для испытания на кратковременную ползучесть. Уровни температур предварительных испытаний (не менее 6) назначают разбивкой на равные отрезки интервала Tmin - Tmax. Количество уровней температур и их интервал должны быть достаточными для обеспечения заданного коэффициента перекрытия kп (см. В.4).
7.1.2 Максимальная температура испытаний Tmax должна быть на 10 °C ниже температуры, при которой в полимерном композите начинаются физические или химические процессы, не имеющие места при температуре эксплуатации. Максимальную температуру испытаний Tmax определяют по ГОСТ 9.715.
7.1.3 Величину статической нагрузки Pi (статической нагрузки для температуры Ti), соответствующую уровню базовой нагрузки, по отношению к предельной нагрузке при базовой температуре для каждого уровня температур определяют по формуле
, (1)
где P0 - базовая статическая нагрузка для температуры T0, принимаемая равной 20 кН;
- предельная нагрузка для температуры Ti;
- отношение базовой нагрузки к предельной при температуре T0.
7.2 Основные испытания
7.2.1 Метод 1
7.2.1.1 Определяют кратковременную ползучесть образца при назначенных уровнях температур Ti в соответствии с 7.1.1 и соответствующих им значениях статических нагрузок Pi.
7.2.1.2 Образец устанавливают в испытательный стенд, включают заданный температурный режим и проводят термостатирование в заданных условиях до полного выравнивания температуры по толщине полимерного композита в течение не более 10 мин.
7.2.1.3 Выполняют кратковременное трехкратное нагружение и разгружение образца (тренировка для снятия люфтов) при нагрузках до 5% от кратковременного предела прочности, определенного по ГОСТ 8829.
7.2.1.4 Датчик прогиба f устанавливают в нулевое положение и выполняют нагружение образца до заданной величины статической нагрузки Pi.
7.2.1.5 Приложение нагрузки к образцу осуществляют плавно, без толчков. Скорость нагружения, определяемая в момент приложения полной нагрузки к образцу, для всей серии испытаний должна быть одинаковой. Время приложения полной нагрузки к образцу должно быть не более 5 с. Момент полной нагрузки испытуемого образца принимается за начало отсчета ползучести (t = 0).
7.2.1.6 Продолжительность испытаний по определению кратковременной ползучести для всех опытов принимается одинаковой и не менее 3 - 5 ч.
7.2.1.7 Значения прогибов f для каждого температурного режима Ti (с соответствующим им значением статических нагрузок Pi) и значения времени (представляют в виде графиков (рисунок В.1).
7.2.1.8 Строят график для определения коэффициента перекрытия kп кривых вязкоупругой податливости в координатах Iп - ln t (рисунок В.2).
7.2.1.9 Строят график для определения коэффициента температурно-временного сдвига в координатах Iп - ln taT (рисунок В.3).
7.2.1.10 Строят обобщенную прогностическую кривую длительной ползучести (рисунок В.4).
7.2.2 Метод 2 (альтернативный метод - метод ступенчатых изотерм)
7.2.2.1 Образец устанавливают в испытательный стенд и проводят кратковременное нагружение в соответствии с 7.2.1.3.
7.2.2.2 Устанавливают датчик прогиба в соответствии с 7.2.1.4.
7.2.2.3 Образец нагружают до базовой статической нагрузки P0.
7.2.2.4 Образец выдерживают при базовой температуре T0 в течение 30 мин.
7.2.2.5 Ступенчато повышают температуру и выдерживают при температурах Ti в течение 30 мин.
7.2.2.6 Температурные ступени составляют в количестве не менее шести.
7.2.2.7 Строят график ползучести образца для различных ступеней температур Ti в координатах: прогиб f, мм, и время, с (рисунок Г.1).
7.2.2.8 Все ступени ползучести перестраиваются в координатах модуля ползучести E, кН/м, времени ln t, с (рисунок Г.2), со сдвигом на соответствующее время от начала измерений для каждой ступени t' (n - 1), где n - номер ступени температуры Ti.
Модуль ползучести определяют по формуле
E(t) = P0/f(t), (2)
где P0 - базовая статическая нагрузка;
f(t) - прогиб при определенном времени.
7.2.2.9 Кривые модуля ползучести для разных ступеней температур строят на одном графике в полулогарифмической системе координат (рисунок Г.3).
7.2.2.10 Обобщенную кривую модуля ползучести перестраивают в прогностическую обобщенную кривую ползучести (рисунок Г.4).
8 Обработка результатов
Обработку результатов испытаний проводят по методу построения обобщенной кривой в соответствии с приложением В. Построение обобщенной кривой для метода ступенчатых изотерм приведено в приложении Г.
Приложение А
(рекомендуемое)
Схема образца для проведения испытания на ползучесть

1 - железобетонная балка; 2 - полимерный композит; 3 - удерживающие опоры; 4 - нагружающие опоры
Рисунок А.1 - Схема образца железобетонной балки с полимерным композитом и расположением опор

Рисунок А.2 - Схема армирования железобетонной балки
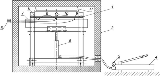
Приложение Б
(рекомендуемое)
Схема установки для определения ползучести

1 - силовая рама; 2 - климатическая камера; 3 - манометр; 4 - гидравлический насос; 5 - гидравлический домкрат; 6 - блок индикаторов термопар; 7 - испытуемый образец; 8 - полимерный композит; 9 - точки вставки термопар; 10 - индикатор часового типа; 11 - инфракрасный излучатель
Рисунок Б.1 - Схема установки для определения ползучести
Приложение В
(обязательное)
Построение обобщенной кривой для метода 1
В.1 Рассчитывают вязкоупругие податливости для каждого температурного режима испытаний Ti по формуле
. (В.1)
В.2 Полученные результаты изображают графически в полулогарифмических координатах Iп - ln t (рисунок В.2).

Рисунок В.1 - Кривые ползучести для каждого температурного режима Ti (с соответствующими им значениями статических нагрузок Pi) и времени t

Рисунок В.2 - Графическое изображение экспериментальных данных в координатах Iп - ln t и схема определения коэффициента перекрытия - kп кривых вязкоупругой податливости
В.3 На графике обозначают базисный период времени tmin - tmax экспериментального определения кратковременной ползучести.
Примечание - Минимальное время базисного периода может быть установлено из соотношения t0 + 60 с, где t0 - момент окончания нагружения образцов. tmax - момент окончания эксперимента.
В.4 Определяют коэффициент перекрытия - kп кривых вязкоупругой податливости по формуле
, (В.2)
где Imax(Ti) и Imax(Ti+1) - значения податливости, зафиксированные при максимальном времени отсчета tmax для двух последующих температурных режимов испытаний Ti и Ti+1 соответственно;
Imin(Ti) и Imin(Ti+1) - значения податливости, зафиксированные в начальное время базисного периода tmin при тех же значениях температур соответственно (рисунок В.2).
Если kп <0,25, проводят дополнительные опыты при температуре, промежуточной между Ti и Ti+1.
В.5 Начиная с базовой кривой вязкоупругой податливости, определенной при T0, последовательно измеряют расстояние между каждой парой соседних кривых в нескольких точках (не менее пяти) и усредненные экспериментальные значения
записывают в таблицу (см. таблицу В.1). Схема определения коэффициента температурного сдвига
приведена на рисунке В.3.
Таблица В.1 - Схема определения коэффициента температурно-временного сдвига
|
T
|
T - T0
|
i
|

|
ln aTi
|
|
T0
|
0
|
1
|
Δ1lnaT
|
0
|
|
T1
|
T1 - T0
|
2
|
Δ2lnaT
|

|
|
T2
|
T2 - T0
|
...
|
...
|

|
|
...
|
...
|
...
|
...
|
...
|
|
Tn
|
TnT0
|
n - 1
|
ΔjlnaT
|

|

Рисунок В.3 - Схема определения коэффициента температурно-временного сдвига и построения обобщенной кривой ползучести
В.6 Усредненные экспериментальные значения
последовательно суммируют начиная с нулевого значения при (T = T0). Знак суммируемых величин определяется знаком разности (T - T0), схема определения коэффициента температурно-временного сдвига ln aT приведена в таблице В.1.
В.7 Для построения обобщенной кривой экспериментально определенные при разных T кривые зависимости Iп от ln t, расположенные во временном интервале базисного периода, сдвигают вдоль временной шкалы на соответствующее значение ln aT (рисунок В.3), т.е. для каждой температуры в логарифмических координатах строится новый график, для которого соблюдается условие:
f(t) = f([ln t + ln aTi], Iп(t)).
Новое время для этих кривых будет равно:
ln taT = ln t + ln aT.
В.8 Обобщенную кривую вязкоупругой податливости перестраивают в прогностическую обобщенную кривую ползучести (рисунок В.4).

Рисунок В.4 - Прогностическая кривая ползучести
Приложение Г
(рекомендуемое)
Построение обобщенной кривой для метода 2 (метода ступенчатых изотерм)

Рисунок Г.1 - Кривые ступенчатой ползучести

Рисунок Г.2 - Податливость в полулогарифмической системе координат

Рисунок Г.3 - Смещенные кривые податливости

Рисунок Г.4 - Прогностическая кривая ползучести