Утв. и введен в действие Приказом Федерального агентства по техническому регулированию и метрологии от 18 мая 2023 г. N 332-ст
Национальный стандарт РФ ГОСТ Р 70748-2023
"КОНСТРУКЦИИ ДЕРЕВЯННЫЕ. МЕТОД ОПРЕДЕЛЕНИЯ ВОДОПРОНИЦАЕМОСТИ ЗАЩИТНЫХ ПОКРЫТИЙ В НАТУРНЫХ УСЛОВИЯХ"
Wooden structures. Method for determination of water permeability of protective coatings in full-scale conditions
ОКС 91.080.20
Дата введения - 1 июня 2023 года
Введен впервые
Предисловие
1 РАЗРАБОТАН Акционерным обществом "Научно-исследовательский центр "Строительство" (АО "НИЦ "Строительство") - Центральный научно-исследовательский институт строительных конструкций имени В.А. Кучеренко (ЦНИИСК им. В.А. Кучеренко)
2 ВНЕСЕН Техническим комитетом по стандартизации ТК 465 "Строительство"
3 УТВЕРЖДЕН И ВВЕДЕН В ДЕЙСТВИЕ Приказом Федерального агентства по техническому регулированию и метрологии от 18 мая 2023 г. N 332-ст
4 ВВЕДЕН ВПЕРВЫЕ
Правила применения настоящего стандарта установлены в статье 26 Федерального закона от 29 июня 2015 г. N 162-ФЗ "О стандартизации в Российской Федерации". Информация об изменениях к настоящему стандарту публикуется в ежегодном (по состоянию на 1 января текущего года) информационном указателе "Национальные стандарты", а официальный текст изменений и поправок - в ежемесячном информационном указателе "Национальные стандарты". В случае пересмотра (замены) или отмены настоящего стандарта соответствующее уведомление будет опубликовано в ближайшем выпуске ежемесячного информационного указателя "Национальные стандарты". Соответствующая информация, уведомление и тексты размещаются также в информационной системе общего пользования - на официальном сайте Федерального агентства по техническому регулированию и метрологии в сети Интернет (www.rst.gov.ru)
1 Область применения
Настоящий стандарт распространяется на деревянные конструкции и устанавливает метод определения водопроницаемости защитных покрытий конструкции в процессе эксплуатации.
2 Нормативные ссылки
В настоящем стандарте использованы нормативные ссылки на следующие стандарты:
ГОСТ 7338 Пластины резиновые и резинотканевые. Технические условия
ГОСТ 7995 Краны соединительные стеклянные. Технические условия
ГОСТ 10667 Стекло органическое листовое. Технические условия
ГОСТ 29227 (ИСО 835-1-81) Посуда лабораторная стеклянная. Пипетки градуированные. Часть 1. Общие требования
ГОСТ Р 58144 Вода дистиллированная. Технические условия
Примечание - При пользовании настоящим стандартом целесообразно проверить действие ссылочных стандартов в информационной системе общего пользования - на официальном сайте Федерального агентства по техническому регулированию и метрологии в сети Интернет или по ежегодному информационному указателю "Национальные стандарты", который опубликован по состоянию на 1 января текущего года, и по выпускам ежемесячного информационного указателя "Национальные стандарты" за текущий год. Если ссылочный стандарт заменен (изменен), то при пользовании настоящим стандартом следует руководствоваться заменяющим (измененным) стандартом. Если ссылочный стандарт отменен без замены, то положение, в котором дана ссылка на него, применяется в части, не затрагивающей эту ссылку.
3 Термины и определения
В настоящем стандарте применены следующие термины с соответствующими определениями:
3.1
|
защитное покрытие: Лакокрасочное покрытие, предназначенное для защиты окрашиваемой поверхности от воздействия факторов внешней среды (ГОСТ 9.072-2017, статья 82).
|
3.2 водопроницаемость: Способность защитного покрытия пропускать воду при определенном давлении.
4 Общие положения
4.1 Сущность метода заключается в определении количества воды, прошедшего через единицу площади испытуемого защитного покрытия за одни сутки при атмосферном давлении.
4.2 Оценка водопроницаемости защитного покрытия может проводиться на вертикальной, горизонтальной и наклонной поверхностях конструкции.
4.3 Испытания должны проводиться при температуре воздуха (20 ± 4) °C. Температуру воды, которой заполняют камеру, доводят до (20 ± 4) °C.
4.4 Перед испытанием поверхность конструкции с защитным покрытием должна быть очищена от загрязнений, промыта водой и высушена. Защитное покрытие не должно иметь видимых повреждений.
5 Средства испытаний
5.1 Прибор для оценки водопроницаемости защитного покрытия на испытуемой поверхности конструкции (рисунок 1) включает:
- полую камеру цилиндрической формы из коррозионно-стойкого металла 1, у которой одна сторона закрыта прозрачным техническим органическим стеклом 2 (ГОСТ 10667) толщиной 4 - 6 мм, а другая открыта и снабжена бортиком 3 и выпусками 4 с отверстиями для саморезов, фиксирующих положение камеры на конструкции;
- мерную стеклянную градуированную трубку (пипетку типа 1) 5 вместимостью 5 мл (ГОСТ 29227);
- металлический Т-образный штуцер 6 диаметром 8 мм для крепления трубки 5;
- металлический штуцер 7 диаметром 8 мм для подачи и слива воды;
- уплотняющее кольцо 8 толщиной 6 - 7 мм из мягкой резины (ГОСТ 7338), приклеенное к бортику 3;
- силиконовую трубку 9 с внутренним диаметром 8 мм и толщиной стенки 2 - 2,5 мм для крепления мерной трубки 5 к штуцеру 6;
- силиконовую трубку 10 с внутренним диаметром 8 мм для подачи и слива воды;
- кран соединительный стеклянный 11 (ГОСТ 7995), устанавливаемый на трубке 10.

1 - камера металлическая; 2 - оргстекло; 3 - бортик; 4 - выпуски для крепления камеры к конструкции; 5 – мерная трубка; 6 - Т-образный штуцер для крепления мерной трубки; 7 - штуцер для подачи и слива воды; 8 – уплотняющее резиновое кольцо; 9 и 10 - силиконовые трубки; 11 - кран; 12 - конструкция; 13 - пробка; 14 - машинное масло; 15 - саморез
Рисунок 1 - Установка прибора на вертикальной поверхности конструкции
5.2 При диаметре рабочего отверстия камеры 8 см площадь его принимается 50 см2. Вместимость мерной трубки 5 мл с ценой деления шкалы 0,05 мл.
6 Методика проведения испытаний
6.1 Испытание на вертикальной и горизонтальной поверхностях конструкции
6.1.1 Камера 1 закрепляется на поверхности конструкции 12 с помощью саморезов 15. При установке камеры на вертикальной или горизонтальной поверхности отверстие одного из отводов штуцера 6 должно быть закрыто пробкой 13 (рисунки 1 и 2).

Рисунок 2 - Установка прибора на горизонтальной поверхности конструкции
6.1.2 Мерная трубка 5 фиксируется в вертикальном положении путем соединения со штуцером 6 силиконовой трубкой 9.
6.1.3 После закрепления камеры на конструкции проводится заполнение ее дистиллированной водой по ГОСТ Р 58144, которая вводится в камеру 1 с помощью шприца объемом 150 - 200 мл через трубку 10 при открытом кране 11.
После заполнения водой камеры и мерной трубки до определенной отметки кран 11 закрывают и в мерную трубку 5 вводят 2 - 3 капли машинного масла 14 для исключения испарения воды в процессе испытаний.
6.1.4 Количество воды, прошедшее через покрытие в древесину, определяют по перемещению мениска в градуированной трубке на границе вода-масло. По мере проникновения воды через покрытие уровень воды в трубке снижается. Для того, чтобы результаты последующих измерений были сопоставимы с начальными, уровень воды в трубке поддерживают постоянным, добавляя ее по мере необходимости. По скорости убыли воды в трубке принимают решение о водопроницаемости испытуемого покрытия.
6.1.5 В зависимости от степени водопроницаемости покрытия отсчеты по мерной трубке выполняют один раз в сутки или реже. Измерения прекращают, когда скорость расхода воды станет постоянной.
6.1.6 После окончания испытаний воду из камеры сливают, открыв кран 11 на трубке 10.
6.1.7 По данным измерений строят график зависимости изменения количества воды, прошедшей через защитное покрытие, от времени. Для определения водопроницаемости применяют данные измерений после установления постоянной скорости расхода воды.
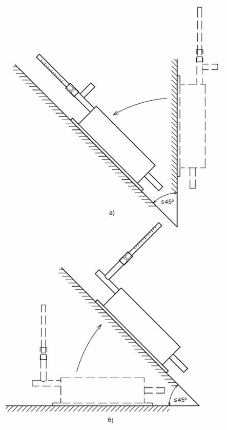
6.2 Испытание на наклонной поверхности конструкции
6.2.1 Испытание водопроницаемости защитного покрытия на поверхности с углом наклона от вертикали 45° и менее проводится по схеме, представленной на рисунке 3, а).
6.2.2 Испытание водопроницаемости защитного покрытия на поверхности с углом наклона от горизонтали 45° и менее проводится по схеме, представленной на рисунке 3, б).
6.2.3 Операции по установке камеры и подготовке ее к испытаниям выполняются по 6.1.

а) при угле наклона от вертикали не более 45°; б) при угле наклона от горизонтали не более 45°
Рисунок 3 - Схема установки мерной трубки в зависимости от угла наклона поверхности конструкции
7 Обработка результатов испытаний
7.1 Водопроницаемость защитного покрытия оценивают по скорости проникновения через него влаги периодическим фиксированием показаний с мерной трубки.
7.2 Расчет водопроницаемости выполняют с точностью до второй значащей цифры. Определяют среднеарифметическое значение водопроницаемости.
Значения, отличающиеся от среднеарифметического более чем на 5%, исключают. За водопроницаемость принимают среднеарифметическое значение W результатов не менее четырех определений одной серии испытаний, расхождения между которыми не превышают 5%.
7.3 Количественную оценку водопроницаемости покрытия, г/см2·с, проводят по средним показателям испытаний, рассчитанным по формуле
W = Δm/(A·Δt),
где W - водопроницаемость покрытия;
A - площадь поверхности, см2, с защитным покрытием, контактирующей с водой;
Δm = m2 – m1 - изменение массы воды, прошедшей через покрытие за интервал времени от t1 до t2, г;
Δt = t2 – t1 - интервал времени между двумя отсчетами по мерной трубке, с.
7.4 На основании проведенных испытаний оформляется протокол испытаний в соответствии с приложением А.
Приложение А
(рекомендуемое)
Содержание протокола испытаний
Результаты испытаний оформляются протоколом, в который включаются следующие данные:
- обозначение настоящего стандарта;
- порода древесины, на которую нанесено защитное покрытие;
- марка защитного состава;
- толщина защитного покрытия, мкм;
- описание прибора, используемого для испытаний;
- температура и относительная влажность воздуха в зоне размещения прибора на конструкции в период проведения испытаний;
- периодичность измерений и длительность испытаний;
- заключение по результатам испытаний водопроницаемости защитного покрытия;
- дата и место проведения испытаний.