ГОСТ Р 70653-2023 ПОДШИПНИКИ КАЧЕНИЯ ПРИБОРНЫЕ. ЖЕСТКОСТЬ ОСЕВАЯ. МЕТОДЫ КОНТРОЛЯ ОТНОСИТЕЛЬНОГО ОСЕВОГО СМЕЩЕНИЯ ДЕТАЛЕЙ ПОДШИПНИКОВ И ПОДШИПНИКОВЫХ ОПОР
Утв. и введен в действие Приказом Федерального агентства по техническому регулированию и метрологии от 13 марта 2023 г. N 99-ст
Instrument rolling bearings. Axial rigidity. Method for controlling the relative axial displacement of bearing parts and bearing support parts
ОКС 21.100.20
Дата введения - 1 мая 2023 года
Введен впервые
Предисловие
1 РАЗРАБОТАН Техническим комитетом по стандартизации ТК 218 "Приборные подшипники качения", Открытым акционерным обществом "ОК-Лоза" (ОАО "ОК-Лоза")
2 ВНЕСЕН Техническим комитетом по стандартизации ТК 218 "Приборные подшипники качения"
3 УТВЕРЖДЕН И ВВЕДЕН В ДЕЙСТВИЕ Приказом Федерального агентства по техническому регулированию и метрологии от 13 марта 2023 г. N 99-ст
4 ВВЕДЕН ВПЕРВЫЕ
Правила применения настоящего стандарта установлены в статье 26 Федерального закона от 29 июня 2015 г. N 162-ФЗ "О стандартизации в Российской Федерации". Информация об изменениях к настоящему стандарту публикуется в ежегодном (по состоянию на 1 января текущего года) информационном указателе "Национальные стандарты", а официальный текст изменений и поправок - в ежемесячном информационном указателе "Национальные стандарты". В случае пересмотра (замены) или отмены настоящего стандарта соответствующее уведомление будет опубликовано в ближайшем выпуске ежемесячного информационного указателя "Национальные стандарты". Соответствующая информация, уведомление и тексты размещаются также в информационной системе общего пользования - на официальном сайте Федерального агентства по техническому регулированию и метрологии в сети Интернет (www.rst.gov.ru)
Настоящий стандарт устанавливает метод измерения и соответствующие схемы измерения осевого смещения колец приборных шариковых радиально-упорных подшипников качения, колец и валиков шарикоподшипниковых опор под действием осевых нагрузок.
Нагрузки, действующие на подшипники, вызывают появление упругих деформаций на контактирующих поверхностях между телами качения и дорожками качения. Жесткость подшипника является его важной эксплуатационной характеристикой и определяет, при каких максимальных нагрузках подшипник будет испытывать упругую деформацию без остаточных изменений формы и размеров деталей. Осевая жесткость подшипника характеризует его способность упруго деформироваться под воздействием осевых нагрузок. Упругая деформация подшипника в осевом направлении приводит к относительному осевому смещению деталей подшипника под воздействием определенной нагрузки.
Настоящий стандарт распространяется на приборные шариковые подшипники качения и шарикоподшипниковые опоры (далее - подшипники) и применяется при их изготовлении, контроле, подтверждении соответствия требованиям нормативных документов или технической документации.
В настоящем стандарте использованы нормативные ссылки на следующие стандарты:
ГОСТ 8.050 Государственная система обеспечения единства измерений. Нормальные условия выполнения линейных и угловых измерений
ГОСТ 12.1.030 Система стандартов безопасности труда. Электробезопасность. Защитное заземление, зануление
ГОСТ 520 Подшипники качения. Общие технические условия
ГОСТ 1805 Масло приборное МВП. Технические условия
ГОСТ 10121 Масло трансформаторное селективной очистки. Технические условия
ГОСТ 24955 Подшипники качения. Термины и определения
ГОСТ 25256 Подшипники качения. Допуски. Термины и определения
ГОСТ 28798 Головки измерительные пружинные. Общие технические условия
ГОСТ Р ИСО 14644-1 Чистые помещения и связанные с ними контролируемые среды. Часть 1. Классификация чистоты воздуха по концентрации частиц
Примечание - При пользовании настоящим стандартом целесообразно проверить действие ссылочных стандартов в информационной системе общего пользования - на официальном сайте Федерального агентства по техническому регулированию и метрологии в сети Интернет или по ежегодному информационному указателю "Национальные стандарты", который опубликован по состоянию на 1 января текущего года, и по выпускам ежемесячного информационного указателя "Национальные стандарты" за текущий год. Если заменен ссылочный стандарт, на который дана недатированная ссылка, то рекомендуется использовать действующую версию этого стандарта с учетом всех внесенных в данную версию изменений. Если заменен ссылочный стандарт, на который дана датированная ссылка, то рекомендуется использовать версию этого стандарта с указанным выше годом утверждения (принятия). Если после утверждения настоящего стандарта в ссылочный стандарт, на который дана датированная ссылка, внесено изменение, затрагивающее положение, на которое дана ссылка, то это положение рекомендуется применять без учета данного изменения. Если ссылочный стандарт отменен без замены, то положение, в котором дана ссылка на него, рекомендуется применять в части, не затрагивающей эту ссылку.
В настоящем стандарте применены термины по ГОСТ 520, ГОСТ 24955, ГОСТ 25256, а также следующие термины с соответствующими определениями:
3.1 относительное осевое смещение деталей подшипника: Смещение внутреннего кольца подшипника относительно наружного (или валика подшипника относительно наружного кольца) в результате упругой деформации поверхностей дорожек качения и шариков, возникающей под действием осевых нагрузок.
3.2 осевая жесткость подшипника: Отношение осевой нагрузки, действующей на подшипник, к величине относительного осевого смещения деталей подшипника.
3.3 упругая деформация подшипника: Деформация контактирующих поверхностей дорожек качения колец (валиков) и шариков подшипника, не вызывающая напряжений в материале деталей выше предела пропорциональности.
3.4 осевая нагрузка: Нагрузка, действующая на подшипник в осевом направлении.
Примечание - Для целей измерения осевого смещения деталей подшипника устанавливают начальную и конечную осевые нагрузки. Значения начальной и конечной осевых нагрузок определяют нормативными документами или технической документацией на подшипник.
3.5 начальная осевая нагрузка: Минимальная осевая нагрузка в пределах заданного диапазона, обеспечивающая полный контакт каждого из шариков с дорожками качения колец и валиков без деформации, когда осевой зазор в подшипнике становится равным нулю.
3.6 конечная осевая нагрузка: Максимальная осевая нагрузка в пределах заданного диапазона, устанавливаемая исходя из условий нагружения подшипника при эксплуатации, при которой деформация поверхностей дорожек качения колец (валиков) и шариков носит характер упругой, не переходя в пластическую деформацию.
Примечание - Диапазон осевых нагрузок при контроле относительного осевого смещения колец (валиков) подшипников устанавливают на этапе отработки требований к новым типам подшипников и указывают в технической документации.
Погрешность метода измерения относительного осевого смещения деталей подшипников определяют:
- погрешностью схемы измерения [отклонение от перпендикулярности рабочего торца столика измерительной установки (торца, контактирующего с контролируемым подшипником) к оси ее штока];
- погрешностью, связанной с установкой начальной и конечной осевых нагрузок;
- погрешностью, связанной с деформацией узла измерительной установки, предназначенного для непосредственной установки контролируемого подшипника;
- погрешностью отсчетного устройства;
- погрешностью механического устройства (приспособления), предназначенного для установки подшипников для измерений, подачи на подшипники осевых нагрузок и закрепления используемых средств измерений [далее - механического устройства (приспособления) для установки подшипников для измерений].
При выполнении требований к геометрическим параметрам и жесткости измерительной установки, установленных настоящим стандартом, погрешностями схемы измерения, деформации узла и установкой осевых нагрузок можно пренебречь и считать их равными нулю. В таком случае погрешность метода определяют погрешностью отсчетного устройства и погрешностью механического устройства (приспособления) для установки подшипников для измерений. Погрешности отсчетного устройства и механического устройства (приспособления) для установки подшипников для измерений определяют их паспортными данными, и суммарно они не должны быть более 30% значений допуска на измеряемую величину.
5.1 При выполнении измерений применяют следующие средства измерения (далее - СИ) и вспомогательные устройства:
- головки измерительные пружинные по ГОСТ 28798 или контактные датчики линейных перемещений с отсчетным устройством (шкалой аналогового типа, цифровым дисплеем или компьютером с соответствующим программным обеспечением);
- приспособления (устройства) механические, предназначенные для установки подшипников для измерений;
- средства вспомогательные для установки и крепления подшипников на механических приспособлениях (устройствах) измерительных установок (измерительные столики, контактные части штоков, средства крепления различной конфигурации др.);
- шайба контрольная для проверки допустимой деформации узла механического приспособления (устройства) измерительной установки, предназначенного для непосредственной установки контролируемого подшипника.
Примечания
1 Совокупность СИ (отсчетного устройства) и механического приспособления (устройства), предназначенного для установки подшипников для измерений, подачи на подшипники осевых нагрузок и закрепления используемых СИ (отсчетных устройств), является измерительной установкой для контроля осевого смещения.
2 Вспомогательные средства для установки и крепления подшипников и контрольные шайбы проектируют предприятия - изготовители подшипников с соблюдением требований настоящего стандарта.
3 Применимость конкретных вспомогательных средств для крепления подшипников на измерительных установках, а также контрольных шайб должна быть установлена технологической документацией предприятия-изготовителя на операции контроля относительного осевого смещения.
5.2 Выбор СИ (отсчетного устройства) по диапазону измерения и погрешности определяют исходя из установленных требований к относительному осевому смещению подшипников (допуску).
5.3 Конструкцию измерительных установок, используемых для измерения относительного осевого смещения деталей подшипников, определяет предприятие - изготовитель подшипников при условии соблюдения схем измерения, приведенных в настоящем стандарте.
5.4 Измерительные столики, предназначенные для установки контролируемого подшипника на измерительную установку, должны соответствовать следующему требованию:
- отклонение от перпендикулярности рабочего торца столика (торца, контактирующего с контролируемым подшипником) к оси штока измерительной установки, через который происходит передача измерительной нагрузки, должно быть не более 0,002 мм на участке столика, где будет располагаться контролируемый подшипник.
5.5 Штоки измерительных установок, через которые происходит передача измерительной нагрузки на подшипники и контроль осевого смещения, должны соответствовать следующему требованию:
- отклонение от перпендикулярности их рабочих торцов (торцов, контактирующих с контролируемым подшипником) к оси штоков должно быть не более 0,002 мм по всей ширине торцов.
5.6 Контрольная шайба для проверки деформации узла измерительной установки, предназначенного для непосредственной установки контролируемого подшипника, должна быть изготовлена с соблюдением следующих требований:
- габариты и конфигурация шайбы должны соответствовать габаритам и конфигурации контролируемого подшипника;
- материал шайбы по механическим свойствам должен быть аналогичен материалу контролируемого подшипника;
- отклонение от параллельности рабочих торцов должно быть не более 0,001 мм.
5.7 Деформация узла измерительной установки, предназначенного для непосредственной установки контролируемого подшипника, определяемая как разность отсчетов при приложении к контрольной шайбе начальной и конечной нагрузок (соответствующих нагрузкам, установленным документацией для измерения осевого смещения контролируемого подшипника) должна быть не более 0,0003 мм.
5.8 Используемые СИ должны быть исправны и поверены в установленном порядке. Использование неповеренных СИ не допускается.
5.9 Выбор СИ и настройку измерительной установки следует осуществлять с учетом требований к максимальному измерительному усилию - не более 1,5 Н.
5.10 Используемые измерительные установки должны быть проверены на работоспособность, настроенность и сходимость результатов многократных измерений (не менее 10) предприятием - изготовителем подшипников.
5.11 Программное обеспечение используемых СИ должно быть защищено от несанкционированных настройки и вмешательства, которые могут привести к искажению результатов измерений и их обработки (при наличии).
5.12 Допускается применение аналогичных СИ, обеспечивающих заданную точность измерения относительного осевого смещения.
6.1 Измерение относительного осевого смещения деталей подшипников основано на относительном смещении колец и валиков при последовательном воздействии на одну из деталей подшипника (кольцо или валик) начальной и конечной нагрузок в осевом направлении. При этом смена нагрузок осуществляется в ручном или автоматическом режиме для определенных угловых положений одного из колец или валика подшипника, а передача значения величины осевого смещения на отсчетное устройство происходит за счет контакта смещаемой детали подшипника с подвижным элементом измерительной установки, расположенным на одной оси с нагрузками.
6.2 Разность результатов измерений, полученных при начальной и конечной осевых нагрузках, является величиной относительного осевого смещения деталей подшипника.
7.1 Перед началом работы следует проверить исправность измерительных установок на отсутствие повреждений корпуса, комплектующих частей, надежность их крепления между собой, устойчивость расположения на рабочем столе, отсутствие повреждений электрической проводки и исправность оснастки и приспособлений (измерительных столиков, средств креплений).
7.2 Применяемые измерительные установки должны быть надежно заземлены (занулены) в соответствии с ГОСТ 12.1.030.
7.3 Конструкция измерительных установок, оснастки и приспособлений должна обеспечивать возможность удобного и безопасного выполнения работ.
7.4 СИ и измерительные установки следует использовать в соответствии с руководствами (инструкциями) по эксплуатации и/или паспортами.
К выполнению измерений и обработке их результатов допускается персонал, прошедший обучение и соблюдающий требования эксплуатационной документации на СИ, измерительные установки и вспомогательные устройства и настоящего стандарта.
9.1 При выполнении измерений соблюдают следующие условия:
- температура и относительная влажность, вибрация опорных поверхностей рабочих столов, пола в помещении, где установлены СИ и измерительные установки - в соответствии с ГОСТ 8.050 для нормальных условий выполнения линейных и угловых измерений;
- общая освещенность в помещении - 200 - 400 лк, освещенность на рабочих местах - 750 лк;
- класс чистоты помещений - не ниже 7 ИСО по ГОСТ Р ИСО 14644-1.
9.2 Подшипники, подлежащие измерению, должны быть выдержаны в помещении с вышеуказанными условиями не менее 2 ч до начала измерений.
9.3 Подшипники перед измерением должны быть чистыми, сухими и размагниченными. Промывка и размагничивание - в соответствии с технической документацией на подшипники.
10.1 При подготовке к выполнению измерений необходимо провести следующие работы:
- проверить исправность СИ и измерительной установки;
- проверить работоспособность программного обеспечения (при наличии);
- подобрать вспомогательные устройства, необходимые для установки подшипников на измерительные установки, проверить их исправность;
- установить СИ, вспомогательные устройства (приспособления, оснастку) в измерительные установки;
- установить начальную и конечную осевые нагрузки;
- подготовить подшипники.
10.2 Перед выполнением измерений необходимо убедиться в том, что СИ, измерительные установки и их отдельные части (корпус, дисплей и т.д.) не имеют видимых механических повреждений, следов пыли, загрязнений, коррозии, масла и т.п., а также проверить устойчивость положения измерительных установок на поверхности рабочего стола. При необходимости следует устранить все выявленные замечания.
10.3 При использовании в работе программного обеспечения для измерений следует убедиться в его работоспособности (программа реагирует на команды пользователя, отсутствуют сообщения о неисправностях).
10.4 Подбирают вспомогательные устройства, необходимые для установки подшипников на измерительные установки, в соответствии с технической документацией предприятия-изготовителя на операции контроля относительного осевого смещения колец конкретных подшипников.
10.5 Проверяют выбранные вспомогательные устройства на предмет наличия механических повреждений (сколов, выступаний металла на контактных поверхностях, следов износа, загрязнений, коррозии на контактных и присоединительных поверхностях и т.д.). При необходимости следует устранить все выявленные замечания.
10.6 Осуществляют установку начальной и конечной осевых нагрузок в соответствии с эксплуатационной документацией на измерительную установку. При этом необходимо руководствоваться следующим:
- измерительное усилие от подвижного элемента измерительной установки, соединенного с отсчетным устройством, направлено по оси приложения осевых нагрузок, но в противоположную сторону, следовательно, для компенсации влияния измерительного усилия начальную и конечную осевые нагрузки необходимо увеличить на известное значение измерительного усилия;
- для минимизации погрешности установления осевых нагрузок рекомендуется устанавливать их по средним значениям допустимого диапазона.
Пример определения значений для подшипника с установленной по технической документации начальной осевой нагрузкой 3+0,5 Н и конечной осевой нагрузкой 23+1 Н при измерительном усилии отсчетного устройства 1,5 Н:
- для установленных диапазонов допускаемых осевых нагрузок определяют средние значения начальной осевой нагрузки - 3,25 Н и конечной осевой нагрузки - 23,5 Н;
- определяют результирующую начальную осевую нагрузку с учетом компенсации влияния измерительного усилия: 3,25 + 1,5 = 4,75 Н;
- определяют результирующую конечную осевую нагрузку с учетом компенсации влияния измерительного усилия: 23,5 + 1,5 = 25 Н.
10.7 Осуществляют проверку деформации узла измерительной установки, предназначенного для непосредственной установки контролируемого подшипника, с использованием контрольной шайбы под осевыми нагрузками, равными начальной и конечной осевым нагрузкам на контролируемый подшипник. При этом в начале проверки к нижнему торцу шайбы через отверстие в измерительном столике подводят измерительный шток измерительной установки. Изменение показаний на отсчетном устройстве будет свидетельствовать о том, что торцевая поверхность штока контактирует с контрольной шайбой с определенным измерительным усилием.
10.8 Проверку установленных осевых нагрузок и деформации узла измерительной установки выполняют перед началом работы и при переналадке измерительной установки на другой тип подшипника.
10.9 Осуществляют проверку отклонения от перпендикулярности рабочего торца измерительного столика к оси штока, передающего осевую нагрузку. Проверку данного параметра следует проводить при переналадке измерительной установки на другой тип подшипника в соответствии с эксплуатационной документацией на измерительную установку.
10.10 Каждый подшипник перед измерением необходимо смазать двумя каплями масла типа МВП по ГОСТ 1805 или типа трансформаторного селективной очистки по ГОСТ 10121, распределив его равномерно по всему подшипнику.
Допускается применение масла других марок, которое должно быть установлено в технической документации предприятия-изготовителя на операции контроля относительного осевого смещения подшипника.
11.1 Измерение относительного осевого смещения колец, имеющих одну дорожку качения
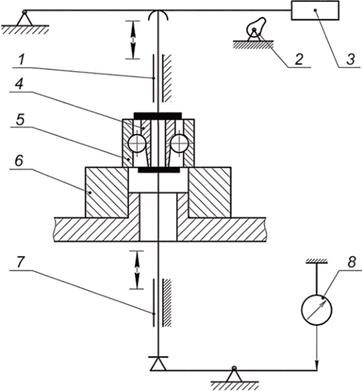
11.1.1 Схема измерения относительного осевого смещения колец, имеющих одну дорожку качения, представлена на рисунке 1.

1 - верхний шток; 2 - механизм переключения нагрузок; 3 - осевая нагрузка; 4 - внутреннее кольцо подшипника; 5 - наружное кольцо подшипника; 6 - измерительный столик; 7 - измерительный шток; 8 - отсчетное устройство
Рисунок 1
11.1.2 Перед установкой подшипника для измерений верхний шток 1 измерительной установки должен находиться в верхнем положении.
11.1.3 Контролируемый подшипник устанавливают на измерительный столик 6 таким образом, чтобы торец наружного кольца 5 подшипника касался измерительного столика, а внутреннее кольцо 4, обращенное узким торцом вниз, свободно располагалось над отверстием в измерительном столике.
11.1.4 Для создания более плотного контакта между торцом наружного кольца подшипника и измерительным столиком следует повернуть измерительный столик на один-два оборота, прижимая наружное кольцо к измерительному столику. Если конструкция измерительной установки не позволяет повернуть измерительный столик, то следует повернуть наружное кольцо относительно столика.
11.1.5 Подводят измерительный шток 7, соединенный с отсчетным устройством (СИ) 8, вверх до контакта с торцом внутреннего кольца подшипника, что подтверждается изменением показания отсчетного устройства от первоначального значения.
Примечание - Для удобства расчета значения относительного осевого смещения колец подшипника в дальнейшем допускается настройка показания отсчетного устройства на нулевое значение шкалы после подведения измерительного штока к подшипнику.
11.1.6 Опускают шток 1 до контакта с торцом внутреннего кольца подшипника, приложив к подшипнику начальную осевую нагрузку 3, установленную технической документацией на контролируемый подшипник и скорректированную на значение измерительного усилия в соответствии с 10.6.
11.1.7 Устраняют затирание между деталями подшипника (шариками и дорожками качения колец), воспринимающими осевую нагрузку, для чего одно из колец подшипника поворачивают в одну, затем в другую сторону на угол 5° - 15° при опущенном штоке 1.
11.1.8 Под воздействием начальной осевой нагрузки внутреннее кольцо подшипника сместится вниз в отверстие измерительного столика, переместив на то же расстояние измерительный шток 7, соединенный с отсчетным устройством (СИ) 8.
11.1.9 Фиксируют показания отсчетного устройства (СИ) 8 при начальной осевой нагрузке.
11.1.10 В соответствии с эксплуатационной документацией на измерительную установку изменяют начальную осевую нагрузку на конечную осевую нагрузку 3, установленную технической документацией на контролируемый подшипник и скорректированную на значение измерительного усилия в соответствии с 10.6.
11.1.11 Фиксируют показания отсчетного устройства (СИ) 8 при конечной осевой нагрузке.
11.1.12 Вычисляют разность показаний отсчетного устройства при конечной и начальной осевых нагрузках, которая и будет являться величиной относительного осевого смещения колец подшипника в данном угловом положении подшипника.
11.1.13 Указанные в 11.1.6, 11.1.8 - 11.1.12 действия следует проводить в трех угловых положениях внутреннего кольца относительно наружного, для чего после каждого измерения необходимо повернуть одно из колец относительно другого на угол 120° ± 10°.
Допускается проводить измерение относительного осевого смещения деталей подшипника при количестве угловых положений внутреннего кольца относительно наружного более трех. При этом расположение контрольных точек по наружной (внутренней) цилиндрической поверхности подшипника должно быть равномерным.
11.1.14 За величину относительного осевого смещения колец подшипника принимают среднее арифметическое значение измерений во всех проверенных взаимных угловых положениях колец подшипника.
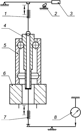
11.2 Измерение относительного осевого смещения шарикоподшипниковых опор
11.2.1 Схемы измерения относительного осевого смещения колец и валиков шарикоподшипниковых опор в зависимости от их конструкции представлены на рисунке 2.

1 - верхний шток; 2 - механизм переключения нагрузок; 3 - осевая нагрузка; 4 - валик подшипника; 5 – наружное кольцо подшипника; 6 - измерительный столик; 7 - измерительный шток; 8 - отсчетное устройство
Рисунок 2
11.2.2 Перед установкой шарикоподшипниковой опоры для измерений верхний шток 1 измерительной установки должен находиться в верхнем положении.
11.2.3 Измерение относительного осевого смещения шарикоподшипниковой опоры осуществляют отдельно по каждой из дорожек качения валика, если на валике две дорожки качения [см. рисунок 2а)] или по одной дорожке качения валика, а затем по внутреннему и наружному кольцам [см. рисунок 2б)]. Во втором случае измерение осевого смещения внутреннего кольца относительно наружного происходит согласно схеме, приведенной на рисунке 1.
11.2.4 Контролируемую шарикоподшипниковую опору устанавливают на измерительный столик 6 таким образом, чтобы широкий торец наружного кольца 5 шарикоподшипниковой опоры касался измерительного столика, а валик 4 свободно располагался над отверстием в измерительном столике [см. рисунок 2а)].
В зависимости от конструкции деталей шарикоподшипниковой опоры ее расположение в измерительной установке может быть следующее: торец наружного кольца подшипника 5 касается измерительного столика, а валик 4, обращенный узким торцом вниз, свободно располагается в отверстии измерительного столика [см. рисунок 2б)].
11.2.5 Для создания более плотного контакта между торцом наружного кольца шарикоподшипниковой опоры и измерительным столиком следует повернуть измерительный столик на один-два оборота, прижимая наружное кольцо к измерительному столику. Если конструкция измерительной установки не позволяет повернуть измерительный столик, то следует повернуть наружное кольцо относительно столика.
11.2.6 Подводят измерительный шток 7, соединенный с отсчетным устройством (СИ) 8, вверх до контакта с торцом валика (кольца) шарикоподшипниковой опоры, что подтверждается изменением показания отсчетного устройства от первоначального значения.
Примечание - Для удобства расчета значения относительного осевого смещения валика и колец шарикоподшипниковой опоры в дальнейшем допускается настройка показания отсчетного устройства на нулевое значение шкалы после подведения измерительного штока к шарикоподшипниковой опоре.
11.2.7 Опускают шток 1 до контакта с отверстием валика шарикоподшипниковой опоры, приложив к шарикоподшипниковой опоре начальную осевую нагрузку 3, установленную технической документацией на контролируемую шарикоподшипниковую опору и скорректированную на значение измерительного усилия в соответствии с 10.6.
11.2.8 Устраняют затирание между деталями шарикоподшипниковой опоры (шариками и дорожками качения кольца и валика), воспринимающими осевую нагрузку, для чего наружное кольцо шарикоподшипниковой опоры поворачивают в одну, затем в другую сторону на угол 5° - 15° при опущенном штоке 1.
11.2.9 Под воздействием начальной осевой нагрузки валик шарикоподшипниковой опоры сместится вниз в отверстии измерительного столика, переместив на то же расстояние измерительный шток 7, соединенный с отсчетным устройством (СИ) 8.
11.2.10 Фиксируют показания отсчетного устройства (СИ) 8 при начальной осевой нагрузке.
11.2.11 В соответствии с эксплуатационной документацией на измерительную установку изменяют начальную осевую нагрузку на конечную осевую нагрузку 3, установленную технической документацией на контролируемую шарикоподшипниковую опору и скорректированную на значение измерительного усилия в соответствии с 10.6.
11.2.12 Фиксируют показания отсчетного устройства (СИ) 8 при конечной осевой нагрузке.
11.2.13 Вычисляют разность показаний отсчетного устройства при конечной и начальной осевых нагрузках, которая и будет являться величиной относительного осевого смещения деталей в данном угловом положении шарикоподшипниковой опоры.
11.2.14 Указанные в 11.2.7, 11.2.9 - 11.2.13 действия следует проводить в трех угловых положениях валика относительно наружного кольца, для чего после каждого измерения необходимо повернуть наружное кольцо или валик на угол 120° ± 10°.
Допускается проводить измерение относительного осевого смещения деталей подшипника при количестве угловых положений валика относительно наружного кольца более трех. При этом расположение контрольных точек по наружной (внутренней) цилиндрической поверхности шарикоподшипниковой опоры должно быть равномерным.
11.2.15 За величину относительного осевого смещения шарикоподшипниковой опоры принимают среднее арифметическое значение измерений во всех проверенных взаимных угловых положениях кольца и валика шарикоподшипниковой опоры.
11.3 Измерение относительного осевого смещения шарикоподшипниковых опор с двумя дорожками качения на наружном кольце
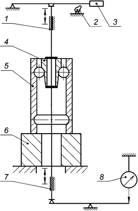
11.3.1 Схемы измерения шарикоподшипниковых опор, наружное кольцо которых имеет две дорожки качения, представлены на рисунках 3, 4:
- на рисунке 3 показана схема измерения смещения валика относительно наружного кольца;
- на рисунке 4 показана схема измерения смещения внутреннего кольца относительно наружного кольца.

1 - верхний шток; 2 - механизм переключения нагрузок; 3 - осевая нагрузка; 4 - валик подшипника; 5 – наружное кольцо подшипника; 6 - измерительный столик; 7 - измерительный шток; 8 - отсчетное устройство
Рисунок 3

1 - верхний шток; 2 - механизм переключения нагрузок; 3 - осевая нагрузка; 4 - внутреннее кольцо подшипника; 5 - наружное кольцо подшипника; 6 - измерительный столик; 7 - измерительный шток; 8 - отсчетное устройство
Рисунок 4
11.3.2 Измерения относительного осевого смещения деталей шарикоподшипниковой опоры по схемам 3 и 4 осуществляют раздельно. При этом последовательность измерения может быть выбрана произвольно.
11.3.3 Перед установкой шарикоподшипниковой опоры для измерений верхний шток 1 измерительной установки должен находиться в верхнем положении.
11.3.4 Контролируемую шарикоподшипниковую опору устанавливают на измерительный столик 6 таким образом, чтобы торец наружного кольца 5 шарикоподшипниковой опоры касался измерительного столика, а валик 4, обращенный узким торцом вниз, свободно располагался над отверстием в измерительном столике (см. рисунок 3).
11.3.5 Для создания более плотного контакта между торцом наружного кольца шарикоподшипниковой опоры и измерительным столиком следует повернуть измерительный столик на один-два оборота, прижимая наружное кольцо к измерительному столику. Если конструкция измерительной установки не позволяет повернуть измерительный столик, то следует повернуть наружное кольцо относительно столика.
11.3.6 Подводят измерительный шток 7, соединенный с отсчетным устройством (СИ) 8, вверх до контакта с торцом валика (кольца) шарикоподшипниковой опоры, что подтверждается изменением показания отсчетного устройства от первоначального значения.
Примечание - Для удобства расчета значения относительного осевого смещения валика и колец шарикоподшипниковой опоры в дальнейшем допускается настройка показания отсчетного устройства на нулевое значение шкалы после подведения измерительного штока к шарикоподшипниковой опоре.
11.3.7 Опускают шток 1 до контакта с отверстием валика шарикоподшипниковой опоры, приложив к шарикоподшипниковой опоре начальную осевую нагрузку 3, установленную технической документацией на контролируемую шарикоподшипниковую опору и скорректированную на значение измерительного усилия в соответствии с 10.6.
11.3.8 Устраняют затирание между деталями шарикоподшипниковой опоры (шарики и дорожки качения кольца и валика), воспринимающими осевую нагрузку, для чего наружное кольцо шарикоподшипниковой опоры поворачивают в одну, затем в другую сторону на угол 5° - 15° при опущенном штоке 1.
11.3.9 Под воздействием начальной осевой нагрузки валик шарикоподшипниковой опоры сместится вниз в отверстии измерительного столика, переместив на то же расстояние измерительный шток 7, соединенный с отсчетным устройством (СИ) 8.
11.3.10 Фиксируют показания отсчетного устройства (СИ) 8 при начальной осевой нагрузке.
11.3.11 В соответствии с эксплуатационной документацией на измерительную установку изменяют начальную осевую нагрузку на конечную осевую нагрузку 3, установленную технической документацией на контролируемую шарикоподшипниковую опору и скорректированную на значение измерительного усилия в соответствии с 10.6.
11.3.12 Фиксируют показания отсчетного устройства (СИ) 8 при конечной осевой нагрузке.
11.3.13 Вычисляют разность показаний отсчетного устройства при конечной и начальной осевых нагрузках, которая и будет являться величиной относительного осевого смещения деталей в данном угловом положении шарикоподшипниковой опоры.
11.3.14 Указанные в 11.3.7, 11.3.9 - 11.3.13 действия следует проводить в трех угловых положениях валика относительно наружного кольца, для чего после каждого измерения необходимо повернуть наружное кольцо или валик на угол 120° ± 10°.
Допускается проводить измерение относительного осевого смещения деталей подшипника при количестве угловых положений внутреннего кольца или валика относительно наружного кольца более трех. При этом расположение контрольных точек по наружной (внутренней) цилиндрической поверхности шарикоподшипниковой опоры должно быть равномерным.
11.3.15 За величину относительного осевого смещения шарикоподшипниковой опоры принимают среднее арифметическое значение измерений во всех проверенных взаимных угловых положениях кольца и валика шарикоподшипниковой опоры.
11.3.16 Снимают шарикоподшипниковую опору с измерительной установки. Наружное кольцо собирают с внутренним кольцом, убрав валик (см. рисунок 4).
11.3.17 Осуществляют настройку измерительной установки для измерения осевого смещения внутреннего кольца относительно наружного кольца с учетом требований раздела 10.
11.3.18 Контролируемую шарикоподшипниковую опору устанавливают на измерительный столик 6 таким образом, чтобы торец наружного кольца 5 шарикоподшипниковой опоры касался измерительного столика, а внутреннее кольцо 4, обращенное узким торцом вниз, свободно располагалось над отверстием в измерительном столике.
11.3.19 Для создания более плотного контакта между торцом наружного кольца шарикоподшипниковой опоры и измерительным столиком проводят действия по 11.3.5.
11.3.20 Опускают шток 1 до контакта с торцом внутреннего кольца шарикоподшипниковой опоры, приложив к шарикоподшипниковой опоре начальную осевую нагрузку 3, установленную технической документацией на контролируемую шарикоподшипниковую опору и скорректированную на значение измерительного усилия в соответствии с 10.6.
11.3.21 Устраняют затирание между деталями подшипника (шарики и дорожки качения колец), воспринимающими осевую нагрузку, для чего наружное кольцо шарикоподшипниковой опоры поворачивают в одну, затем в другую сторону на угол 5° - 15° при опущенном штоке 1.
11.3.22 Под воздействием начальной осевой нагрузки внутреннее кольцо шарикоподшипниковой опоры сместится вниз в сторону отверстия измерительного столика, переместив на то же расстояние измерительный шток 7, соединенный с отсчетным устройством (СИ) 8.
11.3.23 Фиксируют показания отсчетного устройства (СИ) 8 при начальной осевой нагрузке.
11.3.24 В соответствии с эксплуатационной документацией на измерительную установку изменяют начальную осевую нагрузку на конечную осевую нагрузку 3, установленную технической документацией на контролируемую шарикоподшипниковую опору и скорректированную на значение измерительного усилия в соответствии с 10.6.
11.3.25 Фиксируют показания отсчетного устройства (СИ) 8 при конечной осевой нагрузке.
11.3.26 Вычисляют разность показаний отсчетного устройства при конечной и начальной осевых нагрузках, которая и будет являться величиной относительного осевого смещения деталей в данном угловом положении шарикоподшипниковой опоры.
11.3.27 Указанные в 11.3.20, 11.3.22 - 11.3.26 действия следует проводить в трех угловых положениях внутреннего кольца относительно наружного кольца, для чего после каждого измерения необходимо повернуть наружное кольцо на угол 120° ± 10°.
Допускается проводить измерение относительного осевого смещения деталей подшипника при количестве угловых положений внутреннего кольца относительно наружного более трех. При этом расположение контрольных точек по наружной (внутренней) цилиндрической поверхности подшипника должно быть равномерным.
11.3.28 За величину относительного осевого смещения шарикоподшипниковой опоры принимают среднее арифметическое значение измерений во всех проверенных взаимных угловых положениях кольца и валика шарикоподшипниковой опоры.
Результаты измерений относительного осевого смещения колец или валиков подшипников, а также расчетные средние арифметические значения относительного осевого смещения (итоговые значения относительного осевого смещения подшипников) записывают в протоколы измерений в соответствии с порядком и формой, принятыми на предприятии-изготовителе или предприятии-потребителе. При использовании для измерений программного обеспечения или электронного блока с возможностью автоматической записи результаты измерений сохраняют в электронном виде.


