Утв. и введен в действие Приказом Федерального агентства по техническому регулированию и метрологии от 11 января 2023 г. N 9-ст
Национальный стандарт РФ ГОСТ Р 70629-2023
"ПШЕНИЦА. ОПРЕДЕЛЕНИЕ СТЕКЛОВИДНОСТИ ОПТИКО-КОМПЬЮТЕРНЫМ МЕТОДОМ"
Wheat. Determination of vitreousness by optical-computer method
ОКС 67.060
Дата введения - 1 апреля 2023 года
Введен впервые
Предисловие
1 РАЗРАБОТАН Всероссийским научно-исследовательским институтом зерна и продуктов его переработки - филиалом Федерального государственного бюджетного научного учреждения "Федеральный научный центр пищевых систем им. В.М. Горбатова" РАН (ВНИИЗ - филиал ФГБНУ "ФНЦ пищевых систем им. В.М. Горбатова" РАН), обществом с ограниченной ответственностью "Экан" (ООО "Экан"), Уральским научно-исследовательским институтом метрологии - филиалом Федерального государственного унитарного предприятия "ВНИИМ им. Д.И. Менделеева" (УНИИМ - филиал ФГУП "ВНИИМ им. Д.И. Менделеева")
2 ВНЕСЕН Техническим комитетом по стандартизации ТК 002 "Зерно, продукты его переработки и маслосемена"
3 УТВЕРЖДЕН И ВВЕДЕН В ДЕЙСТВИЕ Приказом Федерального агентства по техническому регулированию и метрологии от 11 января 2023 г. N 9-ст
4 ВВЕДЕН ВПЕРВЫЕ
Правила применения настоящего стандарта установлены в статье 26 Федерального закона от 29 июня 2015 г. N 162-ФЗ "О стандартизации в Российской Федерации". Информация об изменениях к настоящему стандарту публикуется в ежегодном (по состоянию на 1 января текущего года) информационном указателе "Национальные стандарты", а официальный текст изменений и поправок - в ежемесячном информационном указателе "Национальные стандарты". В случае пересмотра (замены) или отмены настоящего стандарта соответствующее уведомление будет опубликовано в ближайшем выпуске ежемесячного информационного указателя "Национальные стандарты". Соответствующая информация, уведомление и тексты размещаются также в информационной системе общего пользования - на официальном сайте Федерального агентства по техническому регулированию и метрологии в сети Интернет (www.rst.gov.ru)
1 Область применения
Настоящий стандарт распространяется на зерно мягкой (Triticum aestivum L.) и твердой (Triticum durum Desf.) пшеницы и устанавливает определение стекловидности оптико-компьютерным экспресс-методом с применением электронного диафаноскопа.
2 Нормативные ссылки
В настоящем стандарте использованы нормативные ссылки на следующие стандарты:
ГОСТ 10987 Зерно. Методы определения стекловидности
ГОСТ 13586.3 Зерно. Правила приемки и методы отбора проб
ГОСТ 27186 Зерно заготовляемое и поставляемое. Термины и определения
ГОСТ 30483 Зерно. Методы определения общего и фракционного содержания сорной и зерновой примесей; содержания мелких зерен и крупности; содержания зерен пшеницы, поврежденных клопом-черепашкой; содержания металломагнитной примеси
ГОСТ OIML R 76-1 Государственная система обеспечения единства измерений. Весы неавтоматического действия. Часть 1. Метрологические и технические требования. Испытания
ГОСТ Р ИСО 5725-1 Точность (правильность и прецизионность) методов и результатов измерений. Часть 1. Основные положения и определения
ГОСТ Р ИСО 5725-2 Точность (правильность и прецизионность) методов и результатов измерений. Часть 2. Основной метод определения повторяемости и воспроизводимости стандартного метода измерений
ГОСТ Р ИСО 5725-3 Точность (правильность и прецизионность) методов и результатов измерений. Часть 3. Промежуточные показатели прецизионности стандартного метода измерений
ГОСТ Р ИСО 5725-4 Точность (правильность и прецизионность) методов и результатов измерений. Часть 4. Основные методы определения правильности стандартного метода измерений
ГОСТ Р ИСО 5725-5 Точность (правильность и прецизионность) методов и результатов измерений. Часть 5. Альтернативные методы определения прецизионности стандартного метода измерений
ГОСТ Р ИСО 5725-6 Точность (правильность и прецизионность) методов и результатов измерений. Часть 6. Использование значений точности на практике
Примечание - При пользовании настоящим стандартом целесообразно проверить действие ссылочных стандартов в информационной системе общего пользования - на официальном сайте Федерального агентства по техническому регулированию и метрологии в сети Интернет или по ежегодному информационному указателю "Национальные стандарты", который опубликован по состоянию на 1 января текущего года, и по выпускам ежемесячного информационного указателя "Национальные стандарты" за текущий год. Если заменен ссылочный стандарт, на который дана недатированная ссылка, то рекомендуется использовать действующую версию этого стандарта с учетом всех внесенных в данную версию изменений. Если заменен ссылочный стандарт, на который дана датированная ссылка, то рекомендуется использовать версию этого стандарта с указанным выше годом утверждения (принятия). Если после утверждения настоящего стандарта в ссылочный стандарт, на который дана датированная ссылка, внесено изменение, затрагивающее положение, на которое дана ссылка, то это положение рекомендуется применять без учета данного изменения. Если ссылочный стандарт отменен без замены, то положение, в котором дана ссылка на него, рекомендуется применять в части, не затрагивающей эту ссылку.
3 Термины и определения
В настоящем стандарте применены термины по ГОСТ 27186, а также следующий термин с соответствующим определением:
3.1 оптико-компьютерный метод: Метод оценки показателей качества продукции на основе компьютерного анализа ее изображений в оптическом диапазоне длин волн.
4 Сущность метода
Определение стекловидности пшеницы оптико-компьютерным экспресс-методом заключается в просвечивании зерен пшеницы направленным световым потоком, получении их электронного изображения с последующей программной обработкой, включающей коррекцию изображения, сегментирование, оценку показателей рассеяния света для каждого зерна и расчет общей стекловидности пшеницы, выражаемой в процентах.
5 Средства измерений и вспомогательное оборудование
5.1 Диафаноскоп электронный, состоящий из источника света, создающего равномерный световой поток не менее 200 люменов, и цифровой камеры в качестве фотоприемника.
Примечание - Допускается использовать диафаноскопы различных моделей, отвечающих техническим характеристикам данного стандарта.
5.2 Кассета диафаноскопа, имеющая прозрачное основание и обеспечивающая размещение не менее 200 зерновок в один слой.
5.3 Персональный компьютер.
5.4 Весы электронные - по ГОСТ OIML R 76-1, с пределами допускаемой абсолютной погрешности не более ± 1,0 г;
5.5 Устройство для подсушивания зерна, обеспечивающее поддержание температуры не более 50 °C.
6 Требования к условиям проведения испытаний
6.1 Определение стекловидности зерна проводят при следующих условиях окружающей среды:
- температура окружающего воздуха, °C .................... от 18 до 35;
- относительная влажность воздуха, % ....................... не более 75.
6.2 Проба зерна должна иметь ту же установившуюся температуру, что и температура окружающего воздуха.
7 Проведение испытания
7.1 Подготовка проб
7.1.1 Отбор проб - по ГОСТ 13586.3.
7.1.2 Из средней пробы зерна пшеницы выделяют навеску массой (50 ± 1) г и очищают ее от сорной и зерновой примесей - по ГОСТ 30483.
7.1.3 При влажности зерна более 17,0% его подсушивают на воздухе или в устройстве для подсушивания.
7.2 Подготовка электронного диафаноскопа
Настройку электронного диафаноскопа проводят в соответствии с руководством (инструкцией) по его эксплуатации.
7.3 Определение стекловидности:
- равномерно заполняют кассету зерном; при этом кассета заполняется полностью, не допуская наложения одного зерна на другое;
- устанавливают кассету с зерном в диафаноскоп;
- проводят определение стекловидности в соответствии с руководством (инструкцией) по эксплуатации диафаноскопа.
7.4 Обработка результатов
За окончательный результат определений стекловидности зерна пшеницы принимают среднеарифметическое значение двух независимых результатов измерений, выполненных в условиях повторяемости при соблюдении условий приемлемости и определяемых:
|x1 - x2| ≤ r, (1)
где x1, x2 - результаты двух определений, %;
r - значение предела повторяемости, %.
Если для представления окончательного результата используют среднее арифметическое более двух измерений, то в этом случае для каждого количества измерений (n) следует рассчитать критический диапазон CR0,95(n), в соответствии с ГОСТ Р ИСО 5725-6.
7.5 При разногласиях контрольные определения стекловидности проводят по результатам осмотра среза зерна по ГОСТ 10987.
Расхождение между результатами первоначального и контрольного определений должно быть не более 5%.
При контрольном определении за окончательный результат испытания принимают результат первоначального определения, если расхождение между результатами контрольного и первоначального определений не превышает допускаемого значения. Если расхождение превышает допускаемое значение, то за окончательный результат испытания принимают результат контрольного определения.
8 Прецизионность
8.1 Межлабораторные испытания
На основании результатов межлабораторных испытаний получены значения пределов повторяемости r и воспроизводимости R. Статистическая обработка полученных данных проведена в соответствии с ГОСТ Р ИСО 5725-1, ГОСТ Р ИСО 5725-2, ГОСТ Р ИСО 5725-3, ГОСТ Р ИСО 5725-4, ГОСТ Р ИСО 5725-5, ГОСТ Р ИСО 5725-6. Результаты испытаний приведены в приложении А.
Показатели прецизионности, полученные в результате проведенных межлабораторных испытаний, могут быть применены только к диапазонам стекловидности, приведенным в таблице 1.
Таблица 1
|
Анализируемый продукт
|
Диапазон измерений стекловидности
|
СКО <*> повторяемости Sr, %
|
СКО воспроизводимости SR, %
|
Предел повторяемости при P = 0,95, r, %
|
Предел воспроизводимости при P = 0,95, R, %
|
Показатель точности (границы абсолютной погрешности метода) при P = 0,95, ±Δ, %
|
|
Пшеница
|
от 15,0 до 95,0
|
1,8
|
3,6
|
5,0
|
10,0
|
7,0
|
|
<*> Среднеквадратическое отклонение.
|
8.2 Предел повторяемости
Абсолютная разность между двумя независимыми единичными результатами испытаний, полученными за короткий промежуток времени в результате использования одного метода на одной испытуемой пробе в одной лаборатории одним оператором, работавшим на одном оборудовании, не более чем в 5% случаев будет больше значений, приведенных в таблице 1. Предел повторяемости r рассчитывают по формуле:
r = 2,8·Sr, (2)
где Sr - стандартное отклонение повторяемости.
8.3 Предел воспроизводимости
Абсолютная разность между двумя независимыми единичными результатами испытаний, полученными за короткий промежуток времени при использовании одного метода на одной испытуемой пробе в разных лабораториях разными операторами, работавшими на разном оборудовании, не более чем в 5% случаев будет больше значений, приведенных в таблице 1. Предел воспроизводимости R рассчитывают по формуле:
R = 2,8·SR, (3)
где SR - стандартное отклонение воспроизводимости.
Расхождение между двумя параллельными определениями, а также при контрольных и арбитражных определениях стекловидности методом оптико-компьютерной диагностики допускается не более 5%.
8.4 Показатель точности
Оценку точности проводят в соответствии с ГОСТ Р ИСО 5725-1, ГОСТ Р ИСО 5725-2. Данные получены в 11 лабораториях на пробах зерна пшеницы, имеющих нижнее, среднее и верхнее значение диапазона определения стекловидности.
На основании результатов межлабораторных испытаний абсолютная погрешность Δ равна ± 7,0% значения стандартного отклонения воспроизводимости при доверительной вероятности P = 0,95. Абсолютную погрешность Δ рассчитывают по формуле:
Δ = ±1,96·SR, (4)
где SR - стандартное отклонение воспроизводимости.
9 Требования к квалификации операторов
К выполнению процедуры по определению стекловидности допускаются лица, имеющие начальную профессиональную подготовку, обученные работе с соответствующей аппаратурой, изучившие руководство по эксплуатации электронного диафаноскопа, настоящий метод.
10 Отчет об испытании
Отчет об испытании должен включать следующие данные:
- информацию, необходимую для полной идентификации пробы;
- используемый метод отбора проб, если известно;
- используемый метод проведения испытания со ссылкой на данный стандарт;
- влажность зерна, если она определялась;
- информацию об используемых средствах измерения и вспомогательном оборудовании;
- окончательный результат;
- информацию о лаборатории, в которой проводился анализ;
- условия проведения анализа;
- иную информацию, не указанную в настоящем стандарте, но влияющую на результат определения.
Приложение А
(справочное)
Результаты межлабораторных испытаний
А.1 Данные, относящиеся к оценке характеристик прецизионности (стандартного отклонения повторяемости, стандартного отклонения воспроизводимости), получены из межлабораторного эксперимента, организованного и проведенного в соответствии с ГОСТ Р ИСО 5725-2.
А.2 Дополнительная информация, относящаяся к проведенному межлабораторному эксперименту
Для проведения исследований по установлению показателей точности метода измерений было подготовлено 3 образца пшеницы для каждой лаборатории.
В эксперименте принимали участие 11 лабораторий из разных регионов РФ: Рязань, Смоленск, Калмыкия, Ставрополь, Ростов, Башкортостан, Оренбург, Кемерово, Новосибирск, Благовещенск, Краснодар.
Измерения стекловидности проводили с применением электронного диафаноскопа "Янтарь". В каждой лаборатории было получено n = 2 результатов наблюдений в условиях повторяемости. Полученные результаты приведены в таблице А.1.
Таблица А.1
|
Наименование показателя
|
1-й образец
|
2-й образец
|
3-й образец
|
|
Общее среднее значение , %
|
21,0
|
49,4
|
92,5
|
|
Предел повторяемости r, %
|
2,4
|
2,1
|
2,3
|
|
Стандартное отклонение повторяемости Sr, %
|
0,85
|
0,77
|
0,83
|
|
Предел воспроизводимости R, %
|
10,0
|
5,0
|
8,2
|
|
Стандартное отклонение воспроизводимости SR, %
|
3,6
|
1,8
|
3,0
|
|
Границы абсолютной погрешности ±Δ, %
|
7,0
|
3,4
|
5,7
|
Приложение Б
(справочное)
Изображение диафаноскопа "Янтарь"

Рисунок Б.1 - Диафаноскоп "Янтарь"
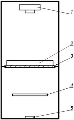
Приложение В
(справочное)
Схема диафаноскопа "Янтарь"

1 - камера с объективом; 2 - кассета с пробой зерна; 3 - рассеивающая пластина; 4 - ограничительный экран; 5 - источник света
Рисунок В.1 - Схема диафаноскопа "Янтарь"