ГОСТ Р 56446-2022 ОБОРУДОВАНИЕ ГИМНАСТИЧЕСКОЕ. ОБЩИЕ ТРЕБОВАНИЯ БЕЗОПАСНОСТИ И МЕТОДЫ ИСПЫТАНИЙ
Утв. и введен в действие Приказом Федерального агентства по техническому регулированию и метрологии от 27 декабря 2022 г. N 1610-ст
Gymnastic equipment. General safety requirements and test methods
(EN 913:2018+A1:2021, NEQ)
ОКС 97.220.30
Дата введения - 1 июля 2023 года
Взамен ГОСТ Р 56446-2015
Предисловие
1 РАЗРАБОТАН Ассоциацией Саморегулируемой организацией "Отраслевое объединение национальных производителей в сфере физической культуры и спорта "Промспорт" (СРО "Промспорт") при участии Федерального государственного бюджетного учреждения "Федеральный научный центр физической культуры и спорта" (ФГБУ ФНЦ ВНИИФК)
2 ВНЕСЕН Техническим комитетом по стандартизации ТК 444 "Спортивные и туристские изделия, оборудование, инвентарь, физкультурные и спортивные услуги"
3 УТВЕРЖДЕН И ВВЕДЕН В ДЕЙСТВИЕ Приказом Федерального агентства по техническому регулированию и метрологии от 27 декабря 2022 г. N 1610-ст
4 Настоящий стандарт разработан с учетом основных нормативных положений европейского стандарта ЕН 913:2018+A1:2021 "Гимнастическое оборудование. Общие требования безопасности и методы испытаний", включая изменения и техническую поправку A1:2021 (EN 913:2018+A1:2021 "Gymnastic equipment - General safety requirements and test methods", NEQ)
5 ВЗАМЕН ГОСТ Р 56446-2015
Правила применения настоящего стандарта установлены в статье 26 Федерального закона от 29 июня 2015 г. N 162-ФЗ "О стандартизации в Российской Федерации". Информация об изменениях к настоящему стандарту публикуется в ежегодном (по состоянию на 1 января текущего года) информационном указателе "Национальные стандарты", а официальный текст изменений и поправок - в ежемесячном информационном указателе "Национальные стандарты". В случае пересмотра (замены) или отмены настоящего стандарта соответствующее уведомление будет опубликовано в ближайшем выпуске ежемесячного информационного указателя "Национальные стандарты". Соответствующая информация, уведомление и тексты размещаются также в информационной системе общего пользования - на официальном сайте Федерального агентства по техническому регулированию и метрологии в сети Интернет (www.rst.gov.ru)
Настоящий стандарт устанавливает общие требования безопасности и методы испытаний для всех видов гимнастического и спортивного оборудования и инвентаря, которые предназначены для использования в физическом воспитании, в ходе тренировок и при проведении соревнований под наблюдением компетентного лица.
Настоящий стандарт не распространяется на оборудование и инвентарь, требования к которым установлены в стандартах на эти виды оборудования, например стационарные тренажеры, оборудование для игровых видов спорта и т.п.
В настоящем стандарте использованы нормативные ссылки на следующие документы:
ГОСТ ISO 12100 Безопасность машин. Основные принципы конструирования. Оценки риска и снижения риска
ГОСТ Р ЕН 1177 Покрытия игровых площадок ударопоглощающие. Определение критической высоты падения
СП 20.13330.2016 Нагрузки и воздействия
Примечание - При пользовании настоящим стандартом целесообразно проверить действие ссылочных стандартов (сводов правил) в информационной системе общего пользования - на официальном сайте Федерального агентства по техническому регулированию и метрологии в сети Интернет или по ежегодному информационному указателю "Национальные стандарты", который опубликован по состоянию на 1 января текущего года, и по выпускам ежемесячного информационного указателя "Национальные стандарты" за текущий год. Если заменен ссылочный документ, на который дана недатированная ссылка, то рекомендуется использовать действующую версию этого документа с учетом всех внесенных в данную версию изменений. Если заменен ссылочный документ, на который дана датированная ссылка, то рекомендуется использовать версию этого документа с указанным выше годом утверждения (принятия). Если после утверждения настоящего стандарта в ссылочный документ, на который дана датированная ссылка, внесено изменение, затрагивающее положение, на которое дана ссылка, то это положение рекомендуется применять без учета данного изменения. Если ссылочный документ отменен без замены, то положение, в котором дана ссылка на него, рекомендуется применять в части, не затрагивающей эту ссылку. Сведения о действии сводов правил целесообразно проверить в Федеральном информационном фонде стандартов.
В настоящем стандарте применены следующие термины с соответствующими определениями:
3.1
|
опасность (hazard): Потенциальная угроза нанесения физической травмы или причинения вреда здоровью человека. Примечание 1 - Термин "опасность" можно квалифицировать в соответствии с причиной его происхождения (например, механическая опасность, электрическая опасность) или характера потенциального повреждения (например, опасность поражения электрическим током, опасность пореза, опасность воздействия токсических веществ, опасность возгорания). Примечание 2 - Виды опасностей: - опасности, постоянно присутствующие в процессе использования машины по назначению (например, опасное перемещение подвижных элементов, дуговой разряд в процессе сварки, вредная для здоровья рабочая поза, эмиссия шума, высокая температура); - опасности, возникающие неожиданно (например, взрыв, опасность раздавливания вследствие неожиданного/непреднамеренного пуска, выбросы вследствие аварии, падение вследствие ускорения или замедления). [ГОСТ ISO 12100-2013, пункт 3.6] |
3.2
|
риск (risk): Сочетание вероятности нанесения и степени тяжести возможных травм или другого вреда здоровью. [ГОСТ ISO 12100-2013, пункт 3.12] |
3.3 масса тела: Физическая величина, характеризующая инертность тела (тел) пользователя(ей) гимнастического оборудования.
3.4 статическая нагрузка: Вертикальная нагрузка на оборудование, состоящая из веса конструкции, дополнительных весов и предварительно напряженных компонентов.
3.5 динамический коэффициент: Коэффициент, учитывающий увеличение фактической массы и вызванный динамическим движением.
3.6 коэффициент безопасности: Коэффициент, предназначенный для компенсации допущений по массе и динамическому фактору, который не покрывает допустимые изменения в материале и производственных процессах.
3.7 переменная нагрузка: Нагрузка, основанная на факторах, отличных от статической нагрузки и массы тела.
Оценку степени риска проводят по ГОСТ ISO 12100.
Опасности, связанные с использованием гимнастического оборудования, могут привести к следующим травмам пользователя:
- защемление или сдавливание;
- порез;
- отрезание;
- застревания частей тела и одежды пользователя;
- столкновения с оборудованием;
- укол или прокалывание;
- повреждение наружных тканей под действием трения.
Соответственно для оборудования установлены следующие риски:
- недостаточная механическая прочность оборудования;
- использование материалов, выделяющих вредные вещества (в т.ч. в результате горения или разложения);
- непреднамеренное движение, включая скольжение;
- неподходящий эргономичный дизайн;
- недостоверная или отсутствующая информация.
5.1 Материалы
Материалы для изготовления оборудования выбирают и защищают таким образом, чтобы обеспечить работоспособность изготовленного из них оборудования до следующей проверки по техническому обслуживанию.
Выбор материалов и их использование производят по соответствующим стандартам.
При выборе материалов для изготовления оборудования следует учитывать все возможные токсические риски для окружающей среды в случае утилизации этого оборудования.
5.2 Поверхности оборудования
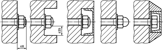
Над поверхностью оборудования не должно быть выступающих частей крепежных элементов, например: гвоздей, креплений для концов троса, наконечников или деталей с острыми краями. Шероховатые поверхности не должны представлять опасности получения травмы при соприкосновении с незащищенной кожей пользователя. Все сварные швы должны быть гладкими. Выступающие резьбовые соединения во всех доступных частях оборудования должны быть постоянно закрыты, например шляпными гайками. Гайки и головки болтов размером менее 8 мм разрешены для недоступных деталей при условии, что они не содержат заусенцев.
Углы, края и выступающие части в пространстве, занимаемом пользователем, должны быть закругленными, если они выступают более чем на 8 мм и не покрыты смежными областями, расположенными не более чем на 25 мм от конца выступающей части. Радиус закругления должен быть не менее 3 мм.
Примеры защиты соединений, а также допустимые выступающие детали показаны на рисунке 1.

а) Примеры защиты соединений

б) Примеры допустимых выступающих элементов оборудования
Рисунок 1 - Примеры допустимых выступающих элементов оборудования
Примеры недопустимых выступающих элементов оборудования показаны на рисунке 2.

а) Непокрытая, внешне видная винтовая резьба
![]()
б) Незакрытая, выступающая остроконечная (фиксированная) часть устройства
Рисунок 2 - Примеры недопустимых выступающих элементов оборудования
5.3 Застревание, захват и раздавливание
5.3.1 Зазоры и места захвата
При пользовании оборудованием не допускаются застревание, захват и раздавливание:
- в отверстиях, зазорах и/или местах сдвига оборудования, которые могут представлять опасность для головы, шеи или пальцев пользователя;
- между частями оборудования, перемещающимися относительно друг друга или пола, или из-за деформации или прогиба под нагрузкой.
Выполнение этих требований проверяют путем визуального осмотра и измерения в соответствии приложением А.
Опасным местом для застревания головы и шеи не считают, если наиболее низкая часть окружности отверстия находится менее чем на 600 мм над полом. Если оборудование может быть использовано на разных высотах или с разной пространственной ориентацией, необходимо учитывать все возможные варианты высоты и ориентации при оценке застревания, зажима и раздавливания.
5.3.2 Транспортирование
При транспортировании не допускается опрокидывания или падения закрепленного с одной стороны оборудования, если нагрузка не превышает 750 Н.
При наезде на препятствия транспортного средства, перевозящего оборудование, крепления не должны ослабевать и не допускать опрокидывания оборудования.
5.3.3 Крепление оборудования
Все крепления к полу должны быть сконструированы таким образом, чтобы они не выступали над поверхностью или не оставляли отверстий диаметром более 8 мм после демонтажа оборудования.
5.4 Устойчивость и прочность
5.4.1 Общие сведения
Если в соответствующих стандартах на оборудование не указано иное, определение устойчивости и прочности оборудования выполняют путем технического расчета или испытания в соответствии с приложением Б.
5.4.2 Устойчивость
При проверке устойчивости в тех случаях, когда обычное движение вызывает дестабилизирующую силу в горизонтальном направлении, например при прыжке через оборудование, теоретическую горизонтальную испытательную силу следует рассчитать в соответствии с формулой (Б.2). Если рассчитанная величина F составляет менее 35% собственного веса оборудования, то испытательную нагрузку принимают равной 50 Н.
Если иное не указано в соответствующих стандартах на оборудование, для оборудования, фиксируемого на поверхности креплениями или крепежными элементами, необходимо провести фактическую проверку с 65%-ной теоретической горизонтальной испытательной силой, рассчитанной по формуле (Б.2), но не менее 50 Н. Детали крепления не должны отсоединяться.
5.4.3 Прочность
Во время испытания в соответствии с приложением Б оборудование не должно разрушаться, ломаться или деформироваться так, чтобы представлять потенциальную опасность получения травмы.
5.5 Регулирующие устройства
Все регулирующие приспособления должны исключать непреднамеренную регулировку при использовании оборудования.
Рычаги управления не должны выдвигаться в пространство пользователя.
Определение указанных требований осуществляют путем визуального осмотра и приведения в действие регулирующего устройства.
5.6 Демпфирующие свойства покрытий
При проведении испытаний в соответствии с приложением В значение максимального ускорения не должно превышать 500 м/с2, если в других соответствующих стандартах на оборудование не установлено иное.
5.7 Трение и истирание
Требования касаются конкретного тренажерного и спортивного оборудования и регулируются соответствующими национальными стандартами (если применимо).
Все оборудование должно иметь следующую маркировку:
а) номер соответствующего национального стандарта;
б) наименование, товарный знак или другая маркировка производителя, продавца или импортера;
в) год изготовления;
г) количество пользователей, для которых предназначено оборудование;
д) дополнительная информация об использовании оборудования по назначению, касающаяся конкретных видов оборудования и регулируемая соответствующими национальными стандартами (если применимо).
Производитель предоставляет письменные инструкции по безопасной установке, наладке, транспортированию, хранению и обслуживанию на языках стран - потребителей оборудования.
Приложение А
(обязательное)
А.1 Общие положения
Предельные отклонения средств измерений в настоящем приложении, если не указано иное, следующие:
а) ± 1 мм - при линейных измерениях;
б) ± 1° - при угловых.
При использовании испытательных щупов в случае неясностей в отношении предельных отклонений следует проводить точное измерение для того, чтобы убедиться в том, что отверстие соответствует номинальному размеру испытательного щупа.
Все испытания проводят в критическом положении.
А.2 Испытательные устройства
Испытательные устройства показаны на рисунках А.1 и А.2.

1 - ручка
Рисунок А.1 - Конический испытательный щуп

а) Круглый стержень диаметром 8 мм

б) Круглый стержень диаметром 25 мм
SR - радиус закругления
Рисунок А.2 - Круглые стержни
А.3 Кондиционирование и температура проведения испытания
Оборудование и испытательные устройства кондиционируют не менее 3 ч при температуре (23 ± 2) °C. Испытания проводят при аналогичных условиях.
А.4 Проведение испытаний
А.4.1 Застревание головы и шеи
А.4.1.1 Общие сведения
Конический испытательный щуп (далее - щуп) вводят таким образом, чтобы его продольная ось была расположена перпендикулярно к плоскости отверстия. Принимают, что продольная ось щупа соответствует оси рукоятки.
Вращение щупа вокруг других осей, кроме продольной, не допускается. Допускается перемещение перпендикулярно продольной оси щупа.
А.4.1.2 Проведение испытания
А.4.1.2.1 Щуп, показанный на рисунке А.1, пытаются ввести в отверстие. Если щуп можно ввести в отверстие, превышающее или равное 110 мм, он также должен входить в отверстие с наибольшими размерами - 230 мм.
А.4.1.2.2 Частично закрытые отверстия
Конический испытательный щуп пытаются ввести в отверстие. Щуп не должен застрять. Если щуп можно ввести в отверстие, как показано на рисунках А.3 и А.4, он должен коснуться дна отверстия [см. рисунок А.4, б)].

Рисунок А.3 - Пример проведения испытаний по А.4.1.2.2 и А.4.1.2.3

а) Щуп не проходит в отверстие

б) Щуп проходит в отверстие
Рисунок А.4 - Пример проведения испытаний по А.4.1.2.2 и А.4.1.2.3
А.4.1.2.3 V-образные отверстия
Необходимо попытаться вставить в отверстие щуп по осевой линии, как показано на рисунках А.3 и А.4. Щуп не должен застревать. Если щуп можно вставить, он должен касаться дна отверстия [см. рисунок А.4, б)].
А.4.2 Застревание пальцев
Пытаются вставить круглый стержень (далее - стержень) диаметром 8 мм, показанный на рисунке А.2, а), в каждое соответствующее отверстие, и, если стержень не входит, его следует перемещать (см. рисунок А.5).
В протоколе испытаний фиксируют, входит ли стержень через отверстие или застревает в каком-либо положении при перемещении по конусообразной дуге, как показано на рисунке А.5.

Рисунок А.5 - Пример проведения испытания по А.4.2
Если стержень диаметром 8 мм входит в отверстие, следует ввести стержень диаметром 25 мм.
Следует установить и зафиксировать в протоколе испытаний, входит ли стержень диаметром 25 мм в отверстие, если да, то доступно ли тогда другое место застревания пальцев.
Отверстия, представляющие опасность в качестве места застревания пальцев, не допускаются. Отверстия считаются опасным местом захвата пальцев, если:
- в него входит стержень диаметром 8 мм, но не входит стержень диаметром 25 мм;
- его профиль выполнен таким образом, что стержень диаметром 8 мм может застрять;
- стержень диаметром 25 мм невозможно ввести в отверстие на глубину не более 100 мм;
- отверстие позволяет получить доступ к другому месту застревания.
А.5 Протокол испытаний
Все результаты, полученные в ходе испытаний в соответствии с А.4.1 и А.4.2, должны быть занесены в протокол испытаний.
Необходимо оценить и зафиксировать, соответствует ли каждое оцененное отверстие требованиям настоящего стандарта.
Приложение Б
(обязательное)
Б.1 Общие требования по нагрузкам для испытаний
Б.1.1 Общие положения
Испытание не учитывает усталость от повторной нагрузки.
Б.1.2 Краткое описание
Испытательную нагрузку Ft, Н, определяют суммированием массы тела, статической нагрузки и переменной нагрузки и применением динамических коэффициентов и коэффициентов безопасности в зависимости от ситуации по формуле
Ft = mb·a·Cd·S + Fs + Lv, (Б.1)
где mb - масса тела, кг;
a - ускорение, м/с2.
Примечание - Для вертикальных сил a = g = 9,81 м/с2. Для теоретических горизонтальных испытательных нагрузок a приведено в таблице Б.1;
Cd - динамический коэффициент;
S - коэффициент безопасности;
Fs - статическая нагрузка, Н;
Lv - переменная нагрузка, Н.
Примечание - Переменная нагрузка учитывает воздействие снега, ветра и т.д.
|
Действие |
Динамический коэффициент |
Горизонтальное ускорение, м/с2 |
|
Рычаг и движение |
2,5 |
20 |
|
Вертикальный прыжок |
- | |
|
Прыжок и захват | ||
|
Прыжок с разбегом |
10 |
В большинстве практических случаев статическая нагрузка Fs не присутствует и не нуждается в добавлении.
Для гимнастического спортивного оборудования маловероятно, что необходимо учитывать переменную нагрузку, поэтому Lv будет равна нулю.
Б.1.3 Статическая нагрузка
Если при расчете испытательной нагрузки требуется, чтобы статическая нагрузка учитывалась, она должна включать наибольшие дополнительные веса, используемые в оборудовании.
Б.1.4 Масса тела
Используемая масса человеческого тела основана на среднестатистическом распределении масс тел.
При применении оборудования взрослыми или взрослыми и детьми следует учитывать массу тела mb, равную 100 кг. Если оборудование будет использоваться только детьми в возрасте не старше 14 лет, следует учитывать массу тела mb, равную 74 кг.
Если ожидается, что оборудованием будут одновременно пользоваться более чем один человек, то массу тела mb для расчета принимают по данным, приведенным в таблице Б.2.
|
Количество пользователей |
Масса, кг | |
|
Взрослые |
Дети | |
|
1 |
100 |
74 |
|
2 |
191 |
138 |
|
3 |
280 |
201 |
|
5 |
456 |
323 |
|
10 |
886 |
626 |
Распределение нагрузки по всей массе тела должно соответствовать предполагаемому использованию, например: горизонтально или равномерно распределено на нескольких участках. Если ожидается более одного варианта нагрузки, принимают наиболее неблагоприятное положение нагрузки.
Если при испытаниях на устойчивость прикладывают статические и динамические нагрузки, например при прыжках, следует учитывать либо величину угла, под которым приложена нагрузка, либо путем приложения дополнительной статической нагрузки.
Б.1.5 Динамический коэффициент и горизонтальное ускорение
Динамический коэффициент следует определять исходя из среднего значения коэффициентов, измеренных экспериментальным путем с типичным количеством людей, выполняющих рассматриваемое упражнение. При отсутствии таких данных необходимо учитывать коэффициенты, указанные в таблице Б.1.
Б.1.6 Коэффициент безопасности
В настоящем стандарте в качестве коэффициента безопасности принято 1,2, если в соответствующих стандартах на оборудование не установлено более высокое значение для оборудования с высоким риском.
Б.1.7 Переменные нагрузки
В особых случаях, когда могут возникнуть дополнительные нагрузки, они должны быть включены в определение общей нагрузки. Данные о снеге, ветре и температурных нагрузках, если это применимо, должны быть заимствованы из СП 20.13330.2016, с расчетным сроком эксплуатации 10 лет.
Б.1.8 Теоретическая горизонтальная испытательная нагрузка
Если не указано в соответствующих стандартах на оборудование, теоретическую горизонтальную испытательную силу F, Н, рассчитывают по формуле
, (Б.2)
где mE - масса оборудования, кг;
g - ускорение силы тяжести 9,81 м/с2;
d - ширина основания, контактирующая с полом в направлении теоретической испытательной силы (см. рисунок Б.1);
hE - максимальная высота оборудования.

Рисунок Б.1 - Примеры правильного определения высоты и ширины основания
Б.1.9 Количество пользователей на оборудовании
Количество пользователей - максимальное число пользователей, указанное изготовителем, которые могут эксплуатировать оборудование одновременно.
Б.2 Испытательное оборудование
Б.2.1 Средство измерения для приложения заданного усилия с пределом погрешности ± 2%.
Б.2.2 Пластина или ремень для крепления нагрузки на поверхность, как указано в Б.3.2.
Б.2.3 Устройство для измерения прогиба с пределом погрешности ± 1 мм.
Б.2.4 Секундомер с пределом погрешности ± 1 с.
Б.3 Проведение испытания
Б.3.1 Общие положения
Испытания проводят для определения устойчивости, прочности или остаточной деформации оборудования. Если в техническом паспорте оборудования не указано иное, нагрузка должна быть приложена по площади и/или времени, указанным ниже. Степень нагрузки, направление нагрузки и параметры, которые необходимо измерить, должны быть указаны в требованиях к оборудованию.
Б.3.2 Площадь нагрузки
Для плоских поверхностей применяют жесткую пластину размерами (100 ± 1) x (100 ± 1) мм, для выпуклых - широкий ремень (100 ± 1) мм.
Б.3.3 Время нагрузки
Нагрузку прикладывают в течение (65 ± 5) с. Остаточный прогиб измеряют через (45 ± 15) с после снятия нагрузки.
Б.3.4 Порядок проведение испытания
Оборудование устанавливают и закрепляют так, как для обычного использования или как указано в инструкции изготовителя. Чтобы избежать скольжения при испытаниях на устойчивость, оборудование устанавливают с помощью подходящей колодки высотой 20 мм. Если требуется отклонение, положение загруженной детали следует измерять со всех соответствующих опорных точек.
Нагрузку прикладывают в месте и в направлении, как указано в Б.3.1.
Регистрируют потерю устойчивости или поломку оборудования, измеряют прогибы. Для оборудования с незакрепленными деталями отклонение отдельных деталей не допускается. По истечении времени, указанного в Б.3.3, снимают нагрузку и регистрируют повреждения или измеряют значение остаточного прогиба.
Б.4 Результаты испытаний
Устойчивость оборудования определяют по тому, произошло ли опрокидывание, прочность - появляются ли поломки или повреждения. Значение остаточного прогиба следует указывать в миллиметрах. Результаты испытаний сравнивают с заявленной в технической документации информацией производителя.
Приложение В
(обязательное)
В.1 Сущность метода
Испытательный корпус сбрасывают на поверхность и определяют отрицательное ускорение при ударе.
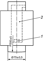
В.2 Испытательное оборудование
В.2.1 Корпус испытательный с указанными на рисунке В.1 основными размерами и массой (8,0 ± 0,1) кг.

1 - акселерометр; 2 - камера для установки акселерометра
Рисунок В.1 - Испытательный корпус с примером места для установки акселерометра
В.2.2 Устройство для сброса испытательного корпуса, чтобы он мог падать вертикально свободно.
В.2.3 Датчик ускорения, прочно закрепленный на оси падающего корпуса, как показано на рисунке В.1.
В.2.4 Устройство для приема, регистрации и обработки сигналов ускорения с частотой канала от 1000 Гц, включая датчик ускорения, в соответствии с ГОСТ Р ЕН 1177, эталонной частотой не менее 10 кГц.
В.3 Испытуемый образец покрытия
Образец покрытия с подложкой, при необходимости, длиной не менее 500 мм и шириной не менее 500 мм помещают на ровный твердый бетонный пол. В качестве альтернативы образец покрытия можно, если это выполнимо, закрепить на оборудовании.
В.4 Кондиционирование и температура испытания
Испытуемый образец выдерживают при температуре испытания (23 ± 2) °C не менее 3 ч.
В.5 Проведение испытания
Испытательный корпус поднимают до необходимой высоты и закрепляют в этом положении. Затем корпус освобождают и позволяют ему свободно падать перпендикулярно поверхности испытуемого образца покрытия.
Регистрируют сигнал датчика ускорения во время столкновения корпуса и покрытия. Зарегистрированный сигнал отображают и проверяют кривые графика для того, чтобы убедиться в том, что они не содержат помехи и т.п.
Данные используют для определения наибольшего снижения скорости во время удара g.
Проводят 10 испытаний, в т.ч. пять с интервалом 1 мин и пять с интервалом 3 мин в этом же месте измерения.
В.6 Запись результатов
В качестве результата испытания демпфирующих свойств покрытия принимают среднее значение максимальных ускорений трех последних испытаний.


