Утв. и введен в действие Приказом Федерального агентства по техническому регулированию и метрологии от 27 декабря 2022 г. N 1607-ст
Национальный стандарт РФ ГОСТ Р 70600-2022
"ПАЛКИ ДЛЯ ГОРНЫХ И ТУРИСТИЧЕСКИХ ЛЫЖ. ТРЕБОВАНИЯ И МЕТОДЫ ИСПЫТАНИЙ"
Ski-poles for alpine and touring skiing. Requirements and test methods
(ISO 7331:2020, NEQ)
ОКС 97.220.20
Дата введения - 1 июля 2023 года
Взамен ГОСТ Р ИСО 7331-2017
Предисловие
1 РАЗРАБОТАН Ассоциацией Саморегулируемой организацией "Отраслевое объединение национальных производителей в сфере физической культуры и спорта "Промспорт" (СРО "Промспорт")
2 ВНЕСЕН Техническим комитетом по стандартизации ТК 444 "Спортивные и туристские изделия, оборудование, инвентарь, физкультурные и спортивные услуги"
3 УТВЕРЖДЕН И ВВЕДЕН В ДЕЙСТВИЕ Приказом Федерального агентства по техническому регулированию и метрологии от 27 декабря 2022 г. N 1607-ст
4 Настоящий стандарт разработан с учетом основных нормативных положений международного стандарта ИСО 7331:2020 "Палки для горных и туристических лыж. Требования и методы испытаний" (ISO 7331:2020 "Ski-poles for alpine and touring skiing - Requirements and test methods", NEQ)
5 ВЗАМЕН ГОСТ Р ИСО 7331-2017
Правила применения настоящего стандарта установлены в статье 26 Федерального закона от 29 июня 2015 г. N 162-ФЗ "О стандартизации в Российской Федерации". Информация об изменениях к настоящему стандарту публикуется в ежегодном (по состоянию на 1 января текущего года) информационном указателе "Национальные стандарты", а официальный текст изменений и поправок - в ежемесячном информационном указателе "Национальные стандарты". В случае пересмотра (замены) или отмены настоящего стандарта соответствующее уведомление будет опубликовано в ближайшем выпуске ежемесячного информационного указателя "Национальные стандарты". Соответствующая информация, уведомление и тексты размещаются также в информационной системе общего пользования - на официальном сайте Федерального агентства по техническому регулированию и метрологии в сети Интернет (www.rst.gov.ru)
1 Область применения
Настоящий стандарт устанавливает минимальные требования по безопасности к палкам для катания на горных и туристических лыжах.
Настоящий стандарт распространяется на палки для катания на горных и туристических лыжах в следующих диапазонах полной длины lT:
группа A - lT более 1050 мм (палки для взрослых);
группа B - lT от 700 до 1050 мм (палки для подростков);
группа C - lT менее 700 мм (палки для детей).
2 Нормативные ссылки
В настоящем стандарте использована нормативная ссылка на следующий стандарт:
ГОСТ 9013 (ИСО 6508-86) Металлы. Метод измерения твердости по Роквеллу
Примечание - При пользовании настоящим стандартом целесообразно проверить действие ссылочных стандартов в информационной системе общего пользования - на официальном сайте Федерального агентства по техническому регулированию и метрологии в сети Интернет или по ежегодному информационному указателю "Национальные стандарты", который опубликован по состоянию на 1 января текущего года, и по выпускам ежемесячного информационного указателя "Национальные стандарты" за текущий год. Если заменен ссылочный стандарт, на который дана недатированная ссылка, то рекомендуется использовать действующую версию этого стандарта с учетом всех внесенных в данную версию изменений. Если заменен ссылочный стандарт, на который дана датированная ссылка, то рекомендуется использовать версию этого стандарта с указанным выше годом утверждения (принятия). Если после утверждения настоящего стандарта в ссылочный стандарт, на который дана датированная ссылка, внесено изменение, затрагивающее положение, на которое дана ссылка, то это положение рекомендуется применять без учета данного изменения. Если ссылочный стандарт отменен без замены, то положение, в котором дана ссылка на него, рекомендуется применять в части, не затрагивающей эту ссылку.
3 Обозначения
В настоящем стандарте применены следующее обозначения:
AG - верхняя поверхность ручки (зона воздействия нагрузки), см2;
F-Z - сжимающая сила по оси лыжной палки, Н;
F+Z - растягивающая сила по оси лыжной палки, Н;
lT - общая длина, мм;
lH - длина, измеренная от наконечника до середины ручки, мм;
lB - длина, измеренная от наконечника до нижней поверхности опорного элемента, мм;
dB - максимальный диаметр опорного элемента, мм.
4 Части и категории лыжных палок
4.1 Части лыжных палок
Образцы лыжных палок показаны на рисунке 1.
|

|

|
|
а) Лыжная палка с ручкой с темляком
|
б) Лыжная палка с ручкой без темляка
|
1 - верхняя поверхность ручки AG; 2 - ручка; 3 - темляк; 4 - стержень; 5 - опорный элемент; 6 - наконечник; 7 - ручка без темляка
Рисунок 1 - Элементы и обозначения частей лыжной палки
4.2 Категории лыжных палок
В настоящем стандарте рассмотрены лыжные палки двух типов: для катания на горных и туристических лыжах. Их длина может быть регулируемой или нерегулируемой, как показано на рисунке 2.
|

|

|
|
а) Нерегулируемая палка
|
б) Регулируемая палка
|
Рисунок 2 - Центр вращения и размеры лыжных палок
Палки для катания на горных лыжах дополнительно делят на три группы A, B и C в зависимости от их полной длины, lT для нерегулируемых палок и длину lH определяют с учетом средней ширины ладони, мм:
- 93 - для группы A;
- 73 - для группы B;
- 57 - для группы C.
5 Технические требования
5.1 Требования к материалам
Применяемые материалы должны отвечать требованиям 5.3 - 5.12.
5.2 Отбор образцов для испытаний
Из каждой группы для испытаний отбирают по три самых длинных и самых коротких палки.
Кроме того, из группы A отбирают три палки длиной lT 1200 мм, из группы B - lT 1000 мм.
Для проведения испытаний на соответствие требованиям 5.3 - 5.12 отбирают по одной длинной и одной короткой палке.
Если один образец не соответствует установленным требованиям, испытание проводят с двумя дополнительными палками, которые должны пройти повторные испытания. Образцы должны соответствовать установленным нормам.
Для регулируемых палок туристических лыж испытывают три образца, устанавливая в положения минимальной назначенной длины и максимальной назначенной длины. Все образцы должны соответствовать установленным нормам.
5.3 Полная длина
Полная длина lT не должна отличаться от заданной длины более чем на ± 10 мм. Для регулируемых палок туристических лыж допустимо отклонение от полной длины до ± 15 мм. Кроме того, длина лыжных палок в одной паре не должна отличаться более чем на 7 мм.
5.4 Внешний вид
Острые части (кроме наконечника) и шершавые поверхности, которые могут вызвать травму, должны быть исключены.
5.5 Конструктивное решение, исключающее зацепление
Лыжные палки должны ограничивать то механическое напряжение, которое может передаваться на запястье и руку лыжника, если палка зацепилась во время катания на лыжах. Данному требованию может отвечать конструктивное решение по 5.8.3 или 5.11.4 или ручка без темляка.
5.6 Высвобождающий механизм
5.6.1 Высвобождающий механизм изготовляют таким образом, чтобы он правильно работал в характерных условиях, возникающих во время катания на лыжах.
5.6.2 Влияние температуры и оледенения
Если в стержне предусмотрен высвобождающий механизм, сжимающая сила по оси палки, необходимая, чтобы вызвать высвобождение при температуре минус 20 °C, и в условиях оледенения, и при температуре 20 °C не должны отличаться более чем на 30%.
В дополнение, высвобождающая сила при минус 20 °C и в условиях оледенения не должна превышать величины, указанной в 5.8.3.
5.6.3 Усталость материалов
Высвобождающие механизмы должны быть износостойкими, чтобы продолжать нормально работать после 100 высвобождений.
Высвобождающая сила не должна отличаться более чем на 20% после испытания на усталость материала.
5.7 Ручка
5.7.1 Требования к форме
Форма ручки должна облегчать управление палкой, т.е. ручка должна отвечать форме руки и не быть скользкой. У всех ручек как с темляками, так и без них форма литой части не должна способствовать выдавливанию большого пальца наружу или вверх за кромку зоны воздействия верха ручки AG.
5.7.2 Требования к зоне воздействия
Площадь зоны воздействия AG должна составлять, см2, не менее:
- 10 - для группы A;
- 10 - для группы B;
- 7 - для группы C.
5.7.3 Требования к кромкам
Во избежание травм кромки ручек изготовляют с радиусом закругления не менее 2 мм. Мягкие ручки (с твердостью <80 по шкале A Шора при температуре минус 10 °C) могут иметь радиус менее 1 мм.
5.7.4 Сопротивление прокалыванию
Сопротивление прокалыванию верхом стержня зоны воздействия AG, т.е. сила, необходимая для прокалывания стержнем площади воздействия вверх, должна быть более 1500 Н или больше максимальной высвобождающей силы для палок с высвобождающим механизмом.
5.7.5 Требования к растягивающей силе
Сила, требуемая для вырывания ручки со стержня, должна составлять, Н, не менее:
- 350 - для группы A;
- 350 - для группы B;
- 300 - для группы C.
5.7.6 Требования к ручкам без темляка
Скобы ручки без темляка разрабатывают такими, чтобы уменьшить риск захвата или скручивания запястья.
5.8 Требования к темлякам
5.8.1 Требования к ширине
На месте соприкосновения с рукой темляк должен иметь следующую ширину, мм, не менее:
- 16 - для группы A;
- 14 - для группы B;
- 12 - для группы C.
5.8.2 Минимальное механическое напряжение в направлении поддержки
Темляки, выполняющие поддержку (группы A и B), должны выдерживать усилие ≥ 350 Н в направлении нагрузки минус Z.
Темляки для группы C функции поддержки не имеют.
5.8.3 Функция высвобождения
Темляки с функцией высвобождения должны срабатывать при воздействии нагрузки в направлении плюс Z в диапазоне температур от 20 °C до минус 5 °C, Н:
- от 80 до 240 - для группы A;
- от 60 до 180 - для группы B.
5.9 Требования к стержням
5.9.1 Минимальная сжимающая сила
Стержни выполняют выдерживающими сжимающие силы и изгибающие моменты, возникающие во время катания на лыжах без пластической деформации или разлома.
Не должно возникать остаточных деформаций при нагружении сжимающей силой по оси палки, составляющей, Н:
- 320 - для группы A;
- 320 - для группы B;
- 220 - для группы C.
На регулируемых палках [см. рисунок 2, б)] система регулирования длины должна выдерживать сжимающую силу лыжных палок F-Z 550 Н без скольжения.
Для регулируемых палок туристических лыж следует соблюдать нижеприведенные условия.
Стержень должен выдерживать сжимающие силы, возникающие во время назначенного применения с упругой деформацией ≤ 1 мм, без разрыва или перекручивания.
После нагружения сжимающей силой 320 Н вдоль продольной оси лыжной палки остаточная деформация не должна возникать.
Указанное требование выполняется, если:
а) после нагружения стержня сжимающей силой расстояние ≤ 30 мм; или
б) сжимающая сила> 450 Н.
Если стержень выдерживает сжимающую силу только 220 Н, максимальная длина lT должна быть ограничена 135 см.
5.9.2 Точка выгибания
Палки не должны разламываться на две части или расслаиваться на длинные и торчащие нити материала при сжатии до 2/3 lH.
5.10 Зажимающая сила
Если для регулировки длины лыжных палок применены зажимные системы, фиксируемые в радиальном направлении к продольной оси лыжной палки (поворотные замковые системы), то зажимная система должна быть разработана такой, что поддерживающая сила лыжной палки не уменьшалась более чем на 25% от минимальной сжимающей силы после поворота на 1/4 в направлении открытия (безопасность обратного поворота).
Если для регулирования длины лыжных палок применены зажимные системы, не фиксируемые в радиальном направлении к продольной оси лыжной палки, то данные системы должны быть разработаны таким образом, чтобы регулирование зажимного усилия не изменялось непреднамеренно во время использования по назначению.
5.11 Требования к опорным элементам
5.11.1 Размеры
Размеры dB и lB следует выбирать отвечающими требованиям 5.12.2.
5.11.2 Сопротивление
Опорные элементы на лыжных палках для групп A и B должны выдерживать воздействие, соответствующее следующим силам в направлении минус Z при температуре минус 20 °C без разлома: 500 Н для направления минус Z и 350 Н для направления плюс Z.
5.11.3 Прочность крепления
Крепление опорных элементов должно выдерживать нагрузки, указанные в 5.11.2, без разлома в обоих направлениях, плюс Z и минус Z, при температуре минус 20 °C. Во время испытания на прочность перемещение опорного элемента на стержне не должно превышать ± 3 мм.
5.11.4 Конструкция опорного элемента для исключения зацепления
Если ручка имеет темляк и отсутствует функция высвобождения темляка, прохождение опорного элемента должно быть возможным через проем с максимальной силой согласно 5.8.3 при температуре минус 20 °C.
Конструкция опорного элемента должна быть выполнена таким образом, чтобы уменьшался риск зацепления.
5.12 Наконечник
5.12.1 Минимальная площадь
Для уменьшения опасности прокалывания сечение наконечника палки, измеренное перпендикулярно оси лыжной палки на расстоянии от крайней точки:
- 4,5 мм - для групп A и B;
- 1,0 мм - для группы C,
должно иметь площадь, мм2, не менее:
- 25 - для группы A;
- 25 - для группы B;
- 30 - для группы C.
Геометрию наконечника палки разрабатывают такой, чтобы уменьшить риск травмы по мере возможности.
5.12.2 Сила сцепления со льдом
Наконечник должен давать удовлетворительное сцепление со льдом для групп A и B.
Данное требование выполняется, если лыжная палка не скользит после поворота на 40° от вертикальной оси к поверхности льда.
5.12.3 Твердость
Твердость наконечника должна быть не менее HRC 50.
6 Методы испытаний
6.1 Условия проведения испытаний
Испытания следует проводить в стандартных климатических условиях при температуре (23 ± 2) °C и относительной влажности (50 ± 5)%, если изготовителем не указано иное.
Опорное значение для квазистатической конструкции силы F относительно времени t переводят в интенсивность деформации ≤ 2 мм/с.
6.2 Испытательное оборудование и средства измерений должны быть такими, чтобы все измеряемые переменные, такие как силы, температуры, углы, линейные размеры, площади поверхностей, время, можно было измерить или определить со следующей точностью:
- силы, массы - ± 2%;
- температуры - ± 2 °C;
- углов - ± 1°;
- линейных размеров - ± 1 мм;
- радиусов - ± 0,2 мм.
6.3 Наличие острых частей (кроме наконечника) и шершавых поверхностей, которые могут вызвать травму, форму ручек и аналогичные требования, проверяют визуально и тактильно.
6.4 Определение воздействия отрицательной температуры и ледовых условий
Высвобождающую силу определяют при температуре 20 °C на пять срабатываний на одном испытуемом образце и вычисляют среднее значение.
Высвобождающий механизм охлаждают до температуры минус 5 °C. Определяют высвобождающую силу один раз и сравнивают со средней величиной при температуре 20 °C.
После этого повторно определяют высвобождающую силу при температуре 20 °C на пять срабатываний на одном испытуемом образце и вычисляют среднее значение.
Опрыскивают вертикально установленную лыжную палку водой температурой 10 °C в течение 1 мин с расстояния 1 м.
Вертикально установленную палку охлаждают до температуры минус 5 °C, затем один раз определяют усилие высвобождения и сравнивают его со средним значением при температуре 20 °C.
6.5 Определение усталости материала
Проводят 100 высвобождений на каждом высвобождающем механизме и сравнивают среднюю величину для первых пяти высвобождений со средней величиной последних пяти.
6.6 Испытание зоны воздействия
Зоной воздействия является наибольшее сечение наружного контура на уровне между 0 и 10 мм от верхней кромки ручки и на уклоне между 0° и 10° к перпендикуляру.
В случае деформируемых поверхностей ручки данное измерение проводят при сжимающей силе 400 Н.
6.7 Испытание кромок выполняют визуально и средствами измерения соответствующей точности.
6.8 Испытание сопротивления прокалыванию
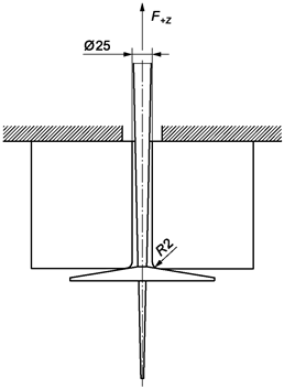
Вдавливают образец в неподвижный упор с помощью пластины, как показано на рисунке 3.

Рисунок 3 - Устройство испытания на сопротивление прокалыванию
Когда приложена сила, указанная в 5.7.4, стержень не должен прокалывать конец ручки. Испытание проводят квазистатически.
6.9 Испытание растягивающей силы проводят на образце, как показано на рисунке 4. Испытание проводят квазистатически.

Рисунок 4 - Устройство испытания на растягивающую силу
6.10 Испытание ручек без темляка для определения риска захвата или скручивания запястья выполняют визуально.
6.11 Испытание минимального механического напряжения темляка в направлении поддержки проводят квазистатически, как показано на рисунке 5, прикладывая силу в направлении минус Z.

Рисунок 5 - Испытательное устройство для темляка
6.12 Высвобождающие силы определяют в направлении плюс Z квазистатически, как показано на рисунке 5.
Проводят 100 высвобождений на каждом высвобождающем механизме, сравнивая среднюю величину первых пяти испытаний со средней величиной для последних пяти испытаний.
6.13 Определение минимальной сжимающей силы и точки выгибания стержней
Испытывают самую длинную палку из одной серии, принимая lH за контрольную длину. Испытание проводят квазистатически между двумя параллельными плитами, причем точка фиксации палки смещена от центра ее вращения, как показано на рисунке 6.

a - линия прилагаемой силы; lH - длина испытания; F-Z - сжимающая сила
Рисунок 6 - Схема определения минимальной сжимающей силы
Испытание изогнутых палок проводят таким образом, чтобы деформация продолжалась.
Для регулируемой палки применимы следующие дополнительные требования:
а) вращающиеся крепежные элементы устанавливают для испытания с крутящим моментом (1,5 ± 0,1) Нм;
б) замки-качалки устанавливают для закрытия рычага с силой ≤ 75 Н.
Регулируемые палки фиксируют на максимально назначенной для регулировки длиной.
Для определения зажимающей силы фиксируют стержень на минимальной регулируемой длине LT, придав боковую поддержку, препятствующую выгибанию под нагрузкой во время испытания, как показано на рисунке 7.

LT - длина при испытании; 1 - компенсирующее кольцо
Рисунок 7 - Испытательное устройство для регулируемой палки
6.14 Испытания опорных элементов
6.14.1 Определение сопротивления опорных элементов
Испытания проводят квазистатически при температуре минус 20 °C на одном образце, как показано на рисунке 8 в направлении минус Z.

Рисунок 8 - Устройство для определения сопротивления и фиксации опорного элемента в направлении сжатия
6.14.2 Определение прочности крепления опорных элементов
Испытание проводят квазистатически при температуре минус 20 °C на каждом образце, как показано на рисунке 9 (направление плюс Z).

Рисунок 9 - Устройство для определения прочности крепления опорного элемента в направлении растягивающей силы
6.14.3 Испытание конструкции опорных элементов на исключение зацепления
Для ручки с темляком без функции высвобождения опорный элемент должен проходить через проем с усилием, указанным в 5.8.3, при температуре минус 20 °C, как показано на рисунке 10.

Рисунок 10 - Проем для испытания опорного элемента
Палки для туристических лыж испытывают, как показано на рисунке 11.

Рисунок 11 - Проем для испытания опорного элемента
6.15 Определение силы сцепления со льдом
Лыжную палку устанавливают перпендикулярно на лед с гладкой плоской поверхностью при температуре минус 20 °C. Прикладывают силу F-Z, равную 100 Н, и, сохраняя усилие, отклоняют от вертикальной оси к поверхности льда до угла 40°, как показано на рисунке 12.

Рисунок 12 - Испытание силы сцепления со льдом
Если опорный элемент касается льда, его следует снять. Испытание проводят в течение 10 с.
6.16 Определение твердости наконечника - по ГОСТ 9013.
7 Протокол испытаний
Протокол испытаний должен содержать, по меньшей мере, следующую информацию:
а) ссылка на настоящий стандарт;
б) наименования изготовителя и модели;
в) соответствие требованиям настоящего стандарта;
г) отклонения от требований настоящего стандарта;
д) дата испытания.
8 Маркировка
Лыжные палки, отвечающие требованиям настоящего стандарта, маркируют обозначением настоящего стандарта с указанием буквенного обозначения группы, полной длины, см, наименования или товарного знака изготовителя или импортера. Палки регулируемой длины следует маркировать диапазоном обеспечиваемой длины. Наибольшая длина должна быть указана, например, с маркировкой останова или механической блокировки. Маркировку диапазона длины можно выполнять как линейку или диапазон.
9 Информация изготовителя
Каждая палка или пара палок должны иметь инструкцию по эксплуатации, содержащую следующую информацию:
а) область применения на отличающихся поверхностях;
б) опции для регулирования длины (при наличии);
в) инструкции по чистке и уходу;
г) обращение и практические примеры;
д) назначение типа;
е) адрес изготовителя, импортера или дистрибьютера, информация по подбору размера и длина регулировки длины по росту;
ж) указания по транспортированию (например, на рюкзаке, риск травм);
и) следующие предупреждения:
- палки запрещается применять для помощи при ходьбе,
- не допускается использовать палки с дефектами,
- упаковку следует регулярно проверять,
- систему регулирования следует зафиксировать таким образом, чтобы при эксплуатации части палок не скользили друг относительно друга.