Утв. и введен в действие Приказом Федерального агентства по техническому регулированию и метрологии от 22 декабря 2022 г. N 1557-ст
Национальный стандарт РФ ГОСТ Р ИСО 25620-2022
"ПОКРЫТИЯ НАПОЛЬНЫЕ ЛАМИНИРОВАННЫЕ. МЕТОД ОПРЕДЕЛЕНИЯ СИЛЫ ТРЕНИЯ ПО ПРОДОЛЬНОЙ СТОРОНЕ ДЛЯ ПАНЕЛЕЙ, СОБРАННЫХ МЕХАНИЧЕСКИМ СПОСОБОМ"
Laminate floor coverings. Method for determining the force of friction along the longitudinal side for mechanically assembled panels
(ISO 25620:2008, Laminate floor coverings – Determination of long-side friction for mechanically assembled panels, IDT)
ОКС 91.060.30
Дата введения - 1 сентября 2023 года
Введен впервые
Предисловие
1 ПОДГОТОВЛЕН Обществом с ограниченной ответственностью "ПСМ-Стандарт" (ООО "ПСМ-Стандарт") на основе собственного перевода на русский язык англоязычной версии стандарта, указанного в пункте 4
2 ВНЕСЕН Техническим комитетом по стандартизации ТК 144 "Строительные материалы и изделия"
3 УТВЕРЖДЕН И ВВЕДЕН В ДЕЙСТВИЕ Приказом Федерального агентства по техническому регулированию и метрологии от 22 декабря 2022 г. N 1557-ст
4 Настоящий стандарт идентичен международному стандарту ИСО 25620:2008 "Покрытия напольные ламинированные. Определение силы трения по длинной стороне для механически собранных панелей" (ISO 25620:2008 "Laminate floor coverings - Determination of long-side friction for mechanically assembled panels", IDT).
Международный стандарт ИСО 25620:2008 подготовлен Техническим комитетом ИСО/ТК 219 "Напольные покрытия" Международной организации по стандартизации (ИСО).
Наименование настоящего стандарта изменено относительно наименования указанного международного стандарта для приведения в соответствие с ГОСТ Р 1.5-2012 (пункт 3.5).
При применении настоящего стандарта рекомендуется использовать вместо ссылочных международных стандартов соответствующие им национальные стандарты, сведения о которых приведены в дополнительном приложении ДА
5 ВВЕДЕН ВПЕРВЫЕ
6 Некоторые положения стандарта могут являться объектами патентных прав
Правила применения настоящего стандарта установлены в статье 26 Федерального закона от 29 июня 2015 г. N 162-ФЗ "О стандартизации в Российской Федерации". Информация об изменениях к настоящему стандарту публикуется в ежегодном (по состоянию на 1 января текущего года) информационном указателе "Национальные стандарты", а официальный текст изменений и поправок - в ежемесячном информационном указателе "Национальные стандарты". В случае пересмотра (замены) или отмены настоящего стандарта соответствующее уведомление будет опубликовано в ближайшем выпуске ежемесячного информационного указателя "Национальные стандарты". Соответствующая информация, уведомление и тексты размещаются также в информационной системе общего пользования - на официальном сайте Федерального агентства по техническому регулированию и метрологии в сети Интернет (www.rst.gov.ru)
1 Область применения
Настоящий стандарт устанавливает метод определения силы трения по продольной стороне в соединениях между панелями ламинированного напольного покрытия, которые крепятся между собой с помощью механических замковых систем.
2 Нормативные ссылки
В настоящем стандарте использована нормативная ссылка на следующий стандарт [для датированных ссылок применяют только указанное издание ссылочного стандарта, для недатированных - последнее издание (включая все изменения)]:
ИСО 7500-1:2004, Metallic materials - Calibration and verification of static uniaxial testing machines - Part 1: Tension/compression testing machines - Calibration and verification of the force-measuring system (Материалы металлические. Верификация машин для статических испытаний в условиях одноосного нагружения. Часть 1. Машины для испытания на растяжение/сжатие. Верификация и калибровка силоизмерительных систем)
3 Сущность метода
Силу трения по продольной стороне механически собранных панелей определяют при испытании на растяжение. Во время испытания испытуемый образец перемещают вдоль плоскости касания продольных сторон двух механически собранных панелей. Максимальное усилие является определяемой величиной силы трения по продольной стороне.
4 Средства испытаний
4.1 Машина для испытания на растяжение, верифицированная и калиброванная в соответствии с ИСО 7500-1:2004 и соответствующая классу 3 в отношении диапазона усилий, приложенных при определении прочности соединения.
4.2 Измерительный инструмент (штангенциркуль) для определения длины, ширины и толщины образца.
4.3 Весы с точностью измерения до 0,1 г.
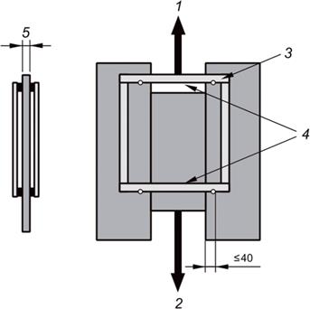
4.4 Опорные рамы из стали толщиной ≥ 6 мм, шириной ≥ 25 мм для параллельного измерения трения на растяжение в продольных швах, собранные (рисунок 1) с помощью:
a) четырех винтов (например, М12);
b) восьми шайб;
c) четырех гаек.
Размер в миллиметрах

1 - верхний захват; 2 - нижний захват; 3 - винт М12; 4 - параллельное натяжение; 5 - шайба
Рисунок 1 - Положение образца при испытании на растяжение
5 Отбор панелей и кондиционирование
Отбирают десять панелей для приготовления пяти образцов.
Панели, из которых вырезают образцы, выдерживают до постоянной массы при относительной влажности (50 ± 5)% и при температуре (23 ± 2) °C.
Постоянную массу считают достигнутой, если результаты двух последовательных взвешиваний, проводимых с интервалом 24 ч, не отличаются более чем на 0,1%.
6 Порядок проведения испытаний
6.1 Вырезание и сборка образцов для проведения испытаний
Собирают образец для испытаний из частей панелей, вырезанных из центральных частей двух разных панелей (рисунок 2), и просверливают параллельные отверстия для винтов на панелях длиной 300 мм. Расположение отверстий показано на рисунке 1. Диаметр отверстий должен быть на 0,2 мм больше внешнего диаметра винтов. Сборку образца по продольным швам осуществляют в соответствии с инструкциями производителя ламинированного напольного покрытия без давления или растягивающих усилий на профиле. Для проведения испытания подготавливают образец с опорными рамами согласно 4.4, используя шайбы на всех четырех винтах с обеих сторон образца так, чтобы центральная часть образца не соприкасалась с рамой.
Размер в миллиметрах

1 - продольный шов; 2 - ширина панели
Рисунок 2 - Нарезка образцов
Образец должен быть плоским и без искривлений. Испытание следует проводить с использованием карданной подвески. Для каждого вида продукции должно быть испытано не менее пяти образцов.
6.2 Определение трения в продольном направлении
Направление вытягивания - параллельно продольным швам. Подвеска машины для испытания на растяжение (4.1) должна быть собрана в середине подвижной части образца (т.е. части длиной 200 мм).
Скорость растяжения должна составлять 0,5 мм/мин.
Используя машину для испытания на растяжение, проводят испытание на расстоянии около 3 мм.
7 Выражение результатов
Максимальное усилие, необходимое для скольжения панелей в сборе (адгезионное скольжение) для преодоления трения, считают трением по продольной стороне FRL (рисунок 3).

l - расстояние перемещения, мм; F - сила, Н
Рисунок 3 - Определение величины продольного трения FRL при испытании на растяжение
Необходимо указать стандартное отклонение и коэффициент вариации FRL.
8 Протокол испытаний
Протокол испытаний должен содержать следующую информацию:
a) ссылка на настоящий стандарт (ИСО 25620);
b) любые отклонения от настоящего стандарта;
c) наименование и адрес лаборатории, проводившей испытание;
d) наименование и адрес организации, запросившей проведение испытания;
e) наименование и тип испытанного ламинированного напольного покрытия;
f) дата доставки образцов для испытаний;
g) результаты испытаний по разделу 7.
Приложение ДА
(справочное)
Сведения о соответствии ссылочных международных стандартов национальным стандартам
Таблица ДА.1
|
Обозначение ссылочного международного стандарта
|
Степень соответствия
|
Обозначение и наименование соответствующего национального стандарта
|
|
ISO 7500-1:2004
|
-
|
<*>
|
|
<*> Соответствующий национальный стандарт отсутствует. До его принятия рекомендуется использовать перевод на русский язык данного стандарта.
|