ГОСТ Р МЭК 60601-2-46-2022 ИЗДЕЛИЯ МЕДИЦИНСКИЕ ЭЛЕКТРИЧЕСКИЕ. Часть 2-46. ЧАСТНЫЕ ТРЕБОВАНИЯ БЕЗОПАСНОСТИ С УЧЕТОМ ОСНОВНЫХ ФУНКЦИОНАЛЬНЫХ ХАРАКТЕРИСТИК К ОПЕРАЦИОННЫМ СТОЛАМ
Утв. и введен в действие Приказом Федерального агентства по техническому регулированию и метрологии от 22 ноября 2022 г. N 1329-ст
Medical electrical equipment. Part 2-46. Particular requirements for the basic safety and essential performance of operating tables
(IEC 60601-2-46:2016, IDT)
ОКС 11.140
Дата введения - 1 июля 2023 года
Взамен ГОСТ Р МЭК 60601-2-46-2014
Предисловие
1 ПОДГОТОВЛЕН Обществом с ограниченной ответственностью "Медтехстандарт" (ООО "Медтехстандарт") на основе собственного перевода на русский язык англоязычной версии стандарта, указанного в пункте 4
2 ВНЕСЕН Техническим комитетом по стандартизации ТК 011 "Медицинские приборы, аппараты и оборудование"
3 УТВЕРЖДЕН И ВВЕДЕН В ДЕЙСТВИЕ Приказом Федерального агентства по техническому регулированию и метрологии от 22 ноября 2022 г. N 1329-ст
4 Настоящий стандарт идентичен международному стандарту МЭК 60601-2-46:2016 "Изделия медицинские электрические. Часть 2-46. Частные требования безопасности с учетом основных функциональных характеристик к операционным столам" (IEC 60601-2-46:2016 "Medical electrical equipment - Part 2-46: Particular requirements for the basic safety and essential performance of operating tables", IDT).
При применении настоящего стандарта рекомендуется использовать вместо ссылочных международных стандартов соответствующие им национальные стандарты, сведения о которых приведены в дополнительном приложении ДА.
Дополнительные сноски в тексте стандарта, выделенные курсивом, приведены для пояснения текста оригинала
5 ВЗАМЕН ГОСТ Р МЭК 60601-2-46-2014
Правила применения настоящего стандарта установлены в статье 26 Федерального закона от 29 июня 2015 г. N 162-ФЗ "О стандартизации в Российской Федерации". Информация об изменениях к настоящему стандарту публикуется в ежегодном (по состоянию на 1 января текущего года) информационном указателе "Национальные стандарты", а официальный текст изменений и поправок - в ежемесячном информационном указателе "Национальные стандарты". В случае пересмотра (замены) или отмены настоящего стандарта соответствующее уведомление будет опубликовано в ближайшем выпуске ежемесячного информационного указателя "Национальные стандарты". Соответствующая информация, уведомление и тексты размещаются также в информационной системе общего пользования - на официальном сайте Федерального агентства по техническому регулированию и метрологии в сети Интернет (www.rst.gov.ru)
Введение
Настоящий стандарт относится к ОСНОВНОЙ БЕЗОПАСНОСТИ и ОСНОВНЫМ ФУНКЦИОНАЛЬНЫМ ХАРАКТЕРИСТИКАМ ОПЕРАЦИОННЫХ СТОЛОВ. Он изменяет и дополняет МЭК 60601-1 [третье издание 2005 г., включая изменение (МЭК 60601-1:2005/AMD1:2012)], далее именуемый общим стандартом.
Целью настоящего стандарта является актуализация требований со ссылкой на третью редакцию общего стандарта путем пересмотра и внесения технических изменений.
Требования настоящего стандарта имеют приоритет над требованиями общего стандарта.
Общие положения и обоснование для наиболее существенных требований настоящего стандарта приведены в приложении AA. Принято считать, что знание причин для этих требований будет способствовать не только правильному применению настоящего стандарта, но и в дальнейшем более оперативному пересмотру, обусловленному изменениями клинической практики или совершенствованием технологии. Однако приложение AA не является частью требований настоящего стандарта.
Настоящий стандарт идентичен международному стандарту МЭК 60601-2-46, подготовленному подкомитетом 62D МЭК "Электромедицинская аппаратура" Технического комитета ТК 62 "Электрооборудование в медицинской практике".
Третье издание отменяет и заменяет второе издание МЭК 60601-2-46, опубликованное в 2010 г. и представляет собой технический пересмотр. Третье издание МЭК 60601-2-46 было подготовлено для структурного согласования с МЭК 60601-1:2005 и его изменением МЭК 60601-1:2005/AMD1:2012.
Текст МЭК 60601-2-46 основан на следующих документах:
|
Окончательный проект международного стандарта |
Отчет о голосовании |
|
62D/1365/FDIS |
62D/1371/RVD |
Полная информация о голосовании по утверждению МЭК 60601-2-46 приведена в отчете о голосовании, указанном в приведенной выше таблице.
Редакция международного стандарта подготовлена в соответствии с Директивами ИСО/МЭК, часть 2.
В настоящем стандарте приняты следующие шрифтовые выделения:
- требования и определения - прямой шрифт;
- методы испытаний - курсив;
- информационный материал, приведенный вне таблиц (примечания, примеры и справочная информация), а также нормативный текст таблиц - шрифт уменьшенного размера;
- ТЕРМИНЫ, ОПРЕДЕЛЕННЫЕ В РАЗДЕЛЕ 3 ОБЩЕГО СТАНДАРТА И В НАСТОЯЩЕМ СТАНДАРТЕ - ЗАГЛАВНЫЕ БУКВЫ.
В настоящем стандарте термины означают:
- "пункт" - одна из 17 частей стандарта, указанных в содержании, включая все подпункты (например, пункт 7, включая его подпункты 7.1, 7.2 и т.д.);
- "подпункт" - пронумерованная последовательность подпунктов пункта (например, подпункты 7.1, 7.2 и 7.2.1 являются подпунктами пункта 7).
Перед ссылкой на пункт и перед его номером в настоящем стандарте будет стоять слово "пункт", а ссылка на подпункт - ограничиваться лишь его номером.
В настоящем стандарте союз "или" будет использован как включающее "или", т.е. утверждение будет истинным при любой комбинации условий.
Глагольные формы, используемые в настоящем стандарте, совпадают по форме с описанными в приложении Н Директив ИСО/МЭК (часть 2).
Значение вспомогательных глаголов:
- "должен" - соответствие требованиям или испытаниям обязательно для соответствия настоящему стандарту;
- "следует" - соответствие требованиям или испытаниям рекомендовано, но не обязательно для соответствия настоящему стандарту;
- "может" - описание допустимых путей достижения соответствия требованиям или испытаниям.
Знак звездочки (*) у номера пункта, или подпункта раздела, или заголовка таблицы указывает, что в приложении AA приведены соответствующие пояснения.
Перечень всех частей серии МЭК 60601 под общим наименованием "Изделия медицинские электрические" приведен на веб-сайте МЭК.
Применяют пункт 1 общего стандарта <1>, за исключением следующего:
--------------------------------
<1> Общий стандарт МЭК 60601-1:2005 и МЭК 60601-1:2005/AMD1:2012 "Изделия медицинские электрические. Часть 1. Общие требования безопасности с учетом основных функциональных характеристик".
201.1.1 Область применения
Замена:
Настоящий стандарт устанавливает требования безопасности, предъявляемые к ОПЕРАЦИОННЫМ СТОЛАМ, имеющим или не имеющим в своем составе электрические части, в том числе ТРАНСПОРТЕРАМ, используемым для перевозки панели к или от основания или опоры ОПЕРАЦИОННОГО СТОЛА со съемной панелью.
Примечание - См. также 4.2 общего стандарта.
Настоящий стандарт не распространяется:
- на стоматологические кресла;
- осмотровые кресла и кушетки;
- поддерживающие системы диагностических и терапевтических изделий (см. МЭК 60601-2-43);
- одеяла с подогревом для ОПЕРАЦИОННОГО СТОЛА (см. МЭК 80601-2-35);
- оборудование для транспортирования ПАЦИЕНТА;
- родовые столы или кровати;
- медицинские кровати (см. МЭК 60601-2-52);
- столы узкоспециализированного назначения.
Если ОПЕРАЦИОННЫЕ СТОЛЫ будут использоваться совместно с диагностическими и/или терапевтическими изделиями, должны быть учтены соответствующие требования каждого стандарта на такие изделия.
201.1.2 Цель
Замена:
Цель настоящего стандарта - установить частные требования к ОСНОВНОЙ БЕЗОПАСНОСТИ и ОСНОВНЫМ ФУНКЦИОНАЛЬНЫМ ХАРАКТЕРИСТИКАМ для ОПЕРАЦИОННЫХ СТОЛОВ, как определено в 201.3.203.
201.1.3 Дополнительные стандарты
Дополнение:
Настоящий стандарт использует ссылки на применяемые дополнительные стандарты, которые перечислены в пункте 2 общего стандарта и в пункте 201.2.
МЭК 60601-1-2 и МЭК 60601-1-3 применяют с изменениями в пунктах 202 и 203 соответственно. МЭК 60601-1-8, МЭК 60601-1-10, МЭК 60601-1-11 и МЭК 60601-1-12 не применяют. Все остальные дополнительные стандарты, опубликованные в серии стандартов МЭК 60601-1, применяют в том виде, в каком они опубликованы.
201.1.4 Частные стандарты
Замена:
Частные стандарты серии МЭК 60601 могут изменять, заменять или отменять требования, содержащиеся в общем стандарте и дополнительных стандартах, имеющие прямое отношение к конкретному МЭ ИЗДЕЛИЮ <*>, а также могут добавлять другие требования к ОСНОВНОЙ БЕЗОПАСНОСТИ и ОСНОВНЫМ ФУНКЦИОНАЛЬНЫМ ХАРАКТЕРИСТИКАМ.
--------------------------------
<*> В ряде стандартов серии МЭК 60601 используется термин "МЕ ИЗДЕЛИЕ".
Требования настоящего стандарта являются приоритетными по отношению к соответствующим требованиям общего стандарта.
Для краткости изложения в настоящем стандарте в качестве общего стандарта указан МЭК 60601-1. Дополнительные стандарты обозначены по их номерам.
Нумерация пунктов и подпунктов настоящего стандарта соответствует общему стандарту с приставкой "201" (например, пункт 201.1 настоящего стандарта соответствует содержанию пункта 1 общего стандарта) или дополнительному стандарту с приставкой "20x", где "x" - это последняя(ие) цифра(ы) номера дополнительного стандарта (например, пункт 202.4 настоящего стандарта соответствует содержанию пункта 4 дополнительного стандарта МЭК 60601-1-2, пункт 203.4 настоящего стандарта соответствует содержанию пункта 4 дополнительного стандарта МЭК 60601-1-3 и т.д.). Изменения текста общего стандарта обозначены следующими словами:
- "замена" означает, что пункт или подпункт общего стандарта или соответствующего дополнительного стандарта полностью заменен текстом настоящего стандарта;
- "дополнение" - текст настоящего стандарта является дополнением к требованиям общего стандарта или соответствующего дополнительного стандарта;
- "изменение" - пункт или подпункт общего стандарта или соответствующего дополнительного стандарта изменен в соответствии с текстом настоящего стандарта.
Подпункты, рисунки или таблицы, которые являются дополнительными к элементам общего стандарта, пронумерованы начиная с 201.101. Однако вследствие того, что определения в общем стандарте пронумерованы начиная с 3.1 по 3.147, дополнительные определения в настоящем стандарте пронумерованы начиная с 201.3.201. Дополнительные приложения обозначены буквами AA, BB и т.д., дополнительные перечисления - aa), bb) и т.д.
Подпункты, рисунки или таблицы, которые являются дополнительными к элементам дополнительного стандарта, пронумерованы начиная с "20x", где "x" - номер дополнительного стандарта, например 202 для МЭК 60601-1-2, 203 для МЭК 60601-1-3 и т.д.
Термин "настоящий стандарт" использован для совместной ссылки на общий стандарт, любые применимые дополнительные стандарты и настоящий стандарт, вместе взятые.
В случае отсутствия соответствующего пункта или подпункта в настоящем стандарте применяют без изменений соответствующий пункт или подпункт общего стандарта или применимого дополнительно стандарта, даже если он не актуален; в настоящем стандарте указаны условия неприменимости любого пункта или подпункта общего стандарта или применимого дополнительного стандарта.
Применяют пункт 2 общего стандарта, за исключением следующего:
Замена:
IEC 60601-1-2:2014, Medical electrical equipment - Part 1-2: General requirements for basic safety and essential performance - Collateral Standard: Electromagnetic disturbances - Requirements and tests (Изделия медицинские электрические. Часть 1-2. Общие требования безопасности с учетом основных функциональных характеристик. Дополнительный стандарт. Электромагнитная совместимость. Требования и испытания)
IEC 60601-1-3:2008, Medical electrical equipment - Part 1-3: General requirements for basic safety and essential performance - Collateral standard: Radiation protection in diagnostic X-ray equipment (Изделия медицинские электрические. Часть 1-3. Общие требования безопасности с учетом основных функциональных характеристик. Дополнительный стандарт. Защита от излучения в диагностических рентгеновских аппаратах)
IEC 60601-1-3:2008/AMD1:2013 <*>
--------------------------------
<*> Существует объединенное издание 2.1, которое включает МЭК 60601-1-3:2008 и изменение 1 к нему (2013).
Дополнение:
IEC 60601-2-2, Medical electrical equipment - Part 2-2: Particular requirements for the basic safety and essential performance of high frequency surgical equipment and high frequency surgical accessories (Изделия медицинские электрические. Часть 2-2. Частные требования безопасности с учетом основных функциональных характеристик к высокочастотным электрохирургическим аппаратам и высокочастотным электрохирургическим принадлежностям)
IEC 60601-2-43, Medical electrical equipment - Part 2-43: Particular requirements for the basic safety and essential performance of X-ray equipment for interventional procedures (Изделия медицинские электрические. Часть 2-43. Частные требования безопасности с учетом основных функциональных характеристик к рентгеновским аппаратам для интервенционных процедур)
В настоящем стандарте применены термины и определения, приведенные в МЭК 60601-1, а также следующие термины с соответствующими определениями:
Примечание - Алфавитный указатель терминов приведен в конце настоящего стандарта.
Дополнение:
201.3.201 ПЕРЕДВИЖНОЙ ОПЕРАЦИОННЫЙ СТОЛ (MOBILE OPERATING TABLE): ОПЕРАЦИОННЫЙ СТОЛ, который можно передвигать из одного места в другое с использованием собственных колес или эквивалентных средств.
201.3.202 НОРМАЛЬНОЕ ПОЛОЖЕНИЕ (NORMAL POSITION): Положение панели ОПЕРАЦИОННОГО СТОЛА, при котором все секции установлены горизонтально.
201.3.203 ОПЕРАЦИОННЫЙ СТОЛ (OPERATING TABLE): Изделие, предусмотренным применением которого является размещение и обеспечение оптимального положения ПАЦИЕНТА во время проведения хирургических процедур в течение не более 24 ч.
Примечание - Предусмотрены пред- и постоперационные периоды, хирургические/медицинские процедуры под наблюдением врача.
201.3.204 ТРАНСПОРТЕР (TRANSPORTER): Изделие, предназначенное для транспортирования панели ОПЕРАЦИОННОГО СТОЛА к или от основания или опоры ОПЕРАЦИОННОГО СТОЛА, или транспортирования панели ОПЕРАЦИОННОГО СТОЛА совместно с основанием.
Примечание 1 - Определение не включает в себя изделия, предназначенные для упрощения транспортирования ПАЦИЕНТА из одного места в другое без переноса частей ОПЕРАЦИОННОГО СТОЛА.
Примечание 2 - Транспортирование может быть осуществлено с ПАЦИЕНТОМ или без него.
201.3.205 ПОЛОЖЕНИЕ ТРЕНДЕЛЕНБУРГА (TRENDELENBURG POSITION): Положение ПАЦИЕНТА на спине, при котором тело находится в одной плоскости, причем эта плоскость наклонена так, что голова находится ниже таза.
Применяют пункт 4 общего стандарта, за исключением следующего:
201.4.3 ОСНОВНЫЕ ФУНКЦИОНАЛЬНЫЕ ХАРАКТЕРИСТИКИ
Дополнение:
Помимо определенных ИЗГОТОВИТЕЛЕМ, для ОПЕРАЦИОННЫХ СТОЛОВ требуются следующие ОСНОВНЫЕ ФУНКЦИОНАЛЬНЫЕ ХАРАКТЕРИСТИКИ:
- поддержание ПАЦИЕНТА без нежелательных движений при УСЛОВИИ ЕДИНИЧНОГО НАРУШЕНИЯ.
201.4.7 УСЛОВИЕ ЕДИНИЧНОГО НАРУШЕНИЯ для МЭ ИЗДЕЛИЯ
Дополнение:
Дополнение УСЛОВИЙ ЕДИНИЧНЫХ НАРУШЕНИЙ применительно к ОПЕРАЦИОННЫМ СТОЛАМ:
- дефект (нарушение) в передаче команд от/к устройствам ввода.
ИЗГОТОВИТЕЛЬ должен предоставить средства, где это практически возможно, для обеспечения того, чтобы при УСЛОВИИ ЕДИНИЧНОГО НАРУШЕНИЯ платформа для поддержания ПАЦИЕНТА ОПЕРАЦИОННОГО СТОЛА могла вернуться в положение для экстренного лечения.
Примечание 101 - Примерами позиций для экстренного лечения являются ПОЛОЖЕНИЕ ТРЕНДЕЛЕНБУРГА или положения для сердечно-легочной реанимации (СЛР), экстренного выравнивания спины.
Применяют пункт 5 общего стандарта.
--------------------------------
<*> В ряде стандартов серии МЭК 60601 используется термин "МЕ СИСТЕМА".
Применяют пункт 6 общего стандарта.
Применяют пункт 7 общего стандарта, за исключением следующего:
201.7.2 Маркировка на наружных поверхностях ОПЕРАЦИОННЫХ СТОЛОВ или частей ОПЕРАЦИОННЫХ СТОЛОВ
201.7.2.10 РАБОЧИЕ ЧАСТИ
Изменение:
РАБОЧУЮ ЧАСТЬ маркируют символом согласно таблице D.1 (символы 19, 20 или 21), который должен быть расположен на видном месте.
Соответствие устанавливают осмотром.
201.7.2.21 Масса ПЕРЕДВИЖНОГО ОПЕРАЦИОННОГО СТОЛА
Подпункт 7.2.21 общего стандарта не применяют.
201.7.9.2 Инструкция по эксплуатации
201.7.9.2.1 Общие положения
Дополнение:
Инструкция по эксплуатации должна содержать информацию о потенциальных ОПАСНОСТЯХ, связанных с кардиодефибрилляторами и кардиодефибрилляторами-мониторами.
Примечание - Потенциальные ОПАСНОСТИ, которые должны быть рассмотрены, включают, но не ограничиваются ими, следующие: ожоги ПАЦИЕНТА, ОПАСНОСТИ взрыва или поражения электрическим током ПАЦИЕНТА или ОПЕРАТОРА.
Применяют пункт 8 общего стандарта, за исключением следующего:
201.8.6.7 ПРОВОД ВЫРАВНИВАНИЯ ПОТЕНЦИАЛОВ
Дополнение:
РАБОЧИЕ ЧАСТИ ОПЕРАЦИОННЫХ СТОЛОВ с ДОСТУПНЫМИ ЧАСТЯМИ, которые не ЗАЗЕМЛЕНЫ С ЦЕЛЬЮ ЗАЩИТЫ, должны быть обеспечены клеммой ВЫРАВНИВАНИЯ ПОТЕНЦИАЛОВ, где это ВЫРАВНИВАНИЕ ПОТЕНЦИАЛОВ требуется.
Для ОПЕРАЦИОННОГО СТОЛА с клеммой ВЫРАВНИВАНИЯ ПОТЕНЦИАЛОВ сопротивление между клеммой ВЫРАВНИВАНИЯ ПОТЕНЦИАЛОВ и любой ДОСТУПНОЙ ЧАСТЬЮ не должно превышать 200 мОм.
Соответствие устанавливают проведением испытания методом, указанным в 8.6.4 общего стандарта.
Применяют пункт 9 общего стандарта, за исключением следующего:
201.9.2.3 Прочие МЕХАНИЧЕСКИЕ ОПАСНОСТИ, связанные с движущимися частями
201.9.2.3.1* Непреднамеренное движение
Дополнение:
Беспроводные устройства дистанционного управления ОПЕРАЦИОННЫМИ СТОЛАМИ должны иметь встроенные средства для однозначного индивидуального закрепления за ОПЕРАЦИОННЫМИ СТОЛАМИ.
Соответствие устанавливают осмотром.
201.9.4 ОПАСНОСТИ, связанные с неустойчивостью
201.9.4.2.2* Неустойчивость в других положениях, исключая положение транспортирования
Перечисление а)
Дополнение:
ОПЕРАЦИОННЫЕ СТОЛЫ подвергают БЕЗОПАСНОЙ РАБОЧЕЙ НАГРУЗКЕ.
Примечание - См. рисунок AA.1 и таблицу AA.1 для получения рекомендаций относительно распределения массы.
Дополнительное требование:
ОПЕРАЦИОННЫЕ СТОЛЫ с переносными панелями должны быть спроектированы и изготовлены таким образом, чтобы свести к минимуму РИСК телесных повреждений и случайных разъединений панелей при транспортировании.
Технические требования, предъявляемые к переносу панелей ОПЕРАЦИОННОГО СТОЛА, должны быть указаны в инструкции по эксплуатации для безопасности при переносе.
Соответствие устанавливают осмотром и проведением следующих испытаний:
Переносят панель ОПЕРАЦИОННОГО СТОЛА на ТРАНСПОРТЕР, затем проводят испытание на устойчивость при НОРМАЛЬНОЙ ЭКСПЛУАТАЦИИ в соответствии с 9.4.2.2 общего стандарта. Панель ОПЕРАЦИОННОГО СТОЛА не должна упасть с ТРАНСПОРТЕРА.
Затем повторяют испытания с панелью ОПЕРАЦИОННОГО СТОЛА, установленной на основание, причем испытание на устойчивость на основании проводят сразу после переноса.
201.9.4.2.4.3* Перемещение через препятствие
Дополнение:
Если ПЕРЕДВИЖНЫЕ ОПЕРАЦИОННЫЕ СТОЛЫ и ТРАНСПОРТЕРЫ не могут безопасно преодолевать такие препятствия, ИЗГОТОВИТЕЛЬ должен указать в инструкции по эксплуатации соответствующее предупреждение или определить, какое препятствие может быть безопасно преодолено, и соответственно информировать ОПЕРАТОРА.
201.9.4.3.1 Неустойчивость при транспортировании
Замена методов испытаний в перечислениях b) и c):
ПЕРЕДВИЖНОЙ ОПЕРАЦИОННЫЙ СТОЛ или ТРАНСПОРТЕР устанавливают с БЕЗОПАСНОЙ РАБОЧЕЙ НАГРУЗКОЙ на соответствующем месте и при приведенном в действие устройстве блокировки (например, тормозов) на поверхность с виниловым покрытием толщиной от 2 до 4 мм с углом наклона 6° относительно горизонтальной плоскости бетонного пола. После начального упругого перемещения, скольжения и разворота роликов, дальнейшее перемещение ПЕРЕДВИЖНОГО ОПЕРАЦИОННОГО СТОЛА или ТРАНСПОРТЕРА не допустимо на расстояние, превышающее 50 мм (относительно наклонной плоскости). Любое начальное перемещение не должно приводить к неприемлемому РИСКУ, принимая во внимание НОРМАЛЬНУЮ ЭКСПЛУАТАЦИЮ ПЕРЕДВИЖНОГО ОПЕРАЦИОННОГО СТОЛА или ТРАНСПОРТЕРА.
Примечание - См. рисунок AA.1 и таблицу AA.1 для получения рекомендаций относительно распределения массы.
201.9.8 МЕХАНИЧЕСКИЕ ОПАСНОСТИ, связанные с опорными системами
201.9.8.1 Общие положения
Замена первого дефиса:
- конструкция опор, подвесных систем или системы приведения в действие должна быть разработана с использованием данных таблицы 201.101 и значения БЕЗОПАСНОЙ РАБОЧЕЙ НАГРУЗКИ.
201.9.8.2* КОЭФФИЦИЕНТ БЕЗОПАСНОСТИ
Замена:
Опорные системы должны сохранять целостность конструкции в течение всего ОЖИДАЕМОГО СРОКА СЛУЖБЫ ОПЕРАЦИОННОГО СТОЛА или ТРАНСПОРТЕРА. Значения КОЭФФИЦИЕНТА БЕЗОПАСНОСТИ должны быть не менее указанных в таблице 201.101, за исключением случая, когда альтернативный метод обеспечивает целостность конструкций в течение всего ОЖИДАЕМОГО СРОКА СЛУЖБЫ ОПЕРАЦИОННОГО СТОЛА или ТРАНСПОРТЕРА.
В связи с тем, что не всегда возможно в целом определить поврежден ли конкретный компонент или конструкция из-за износа, решение должно быть основано на опыте, испытаниях и/или МЕНЕДЖМЕНТЕ РИСКА и соответствующим образом задокументировано. Тем не менее ИЗГОТОВИТЕЛЬ несет ответственность за выбор достаточного КОЭФФИЦИЕНТА БЕЗОПАСНОСТИ.
ОПЕРАЦИОННЫЙ СТОЛ или ТРАНСПОРТЕР должны быть испытаны:
- с БЕЗОПАСНОЙ РАБОЧЕЙ НАГРУЗКОЙ (требуемая масса пациента согласно рисунку AA.1 и таблице AA.1) и КОЭФФИЦИЕНТОМ БЕЗОПАСНОСТИ согласно таблице 201.101.
|
Ситуация |
Минимальный КОЭФФИЦИЕНТ БЕЗОПАСНОСТИ | ||
|
N |
Часть системы |
Удлинение | |
|
1 |
Опорная система, не подверженная износу |
Материал, имеющий относительное удлинение при разрыве, равное или превышающее 5% |
2,5 |
|
2 |
Опорная система, не подверженная износу |
Материал, имеющий относительное удлинение при разрыве менее 5% |
4 |
|
3 |
Опорная система, подверженная износу |
Материал, имеющий относительное удлинение при разрыве, равное или превышающее 5% |
5 |
|
4 |
Опорная система, подверженная износу |
Материал, имеющий относительное удлинение при разрыве менее 5% |
8 |
|
Предел прочности материала и все ожидаемые внешние воздействия поддаются количественному измерению и точно известны. | |||
Соответствие требованиям 201.9.8.1 и 201.9.8.2 устанавливают осмотром ОПЕРАЦИОННОГО СТОЛА или ТРАНСПОРТЕРА, рассмотрением ФАЙЛА МЕНЕДЖМЕНТА РИСКА и технических характеристик на используемые материалы и процесс их обработки.
Если результаты испытаний являются частью соответствующей информации, то испытание сводится к постепенному приложению к испытуемой опорной системе испытательной нагрузки, равной БЕЗОПАСНОЙ РАБОЧЕЙ НАГРУЗКЕ, умноженной на требуемый КОЭФФИЦИЕНТ БЕЗОПАСНОСТИ. Испытуемая опорная система должна находиться в равновесии через 1 мин или не приводить к возникновению недопустимого РИСКА.
Примечание - Период времени 1 мин может быть увеличен при использовании материалов, обладающих повышенной ползучестью, таких как пластмассы или другие неметаллические материалы.
201.9.8.3.2* Статические усилия от нагрузок, создаваемых людьми
Замена перечисления b):
b) ОПЕРАЦИОННЫЕ СТОЛЫ и ТРАНСПОРТЕРЫ должны быть сконструированы таким образом, чтобы не возникало поломок или остаточных деформаций при воздействии нагрузки в 2,2 раза большем, чем БЕЗОПАСНАЯ РАБОЧАЯ НАГРУЗКА.
Примечание - См. рисунок AA.1 и таблицу AA.1 для руководства в отношении распределения массы.
Соответствие устанавливают проведением следующего испытания:
1) в НОРМАЛЬНОМ ПОЛОЖЕНИИ и при максимальной высоте ОПЕРАЦИОННЫХ СТОЛОВ должна быть приложена статическая нагрузка в 2,2 раза большая, чем БЕЗОПАСНАЯ РАБОЧАЯ НАГРУЗКА. Фиксируют деформацию после 5 мин воздействия. ОПЕРАЦИОННЫЕ СТОЛЫ не допускается эксплуатировать или перемещать во время этой части испытания;
2) нагрузку снимают и сразу же заменяют БЕЗОПАСНОЙ РАБОЧЕЙ НАГРУЗКОЙ;
3) после ожидания в течение 5 мин, повторно в НОРМАЛЬНОМ ПОЛОЖЕНИИ и при максимальной высоте ОПЕРАЦИОННЫХ СТОЛОВ прикладывают статическую нагрузку в 2,2 раза большую, чем БЕЗОПАСНАЯ РАБОЧАЯ НАГРУЗКА. Фиксируют деформацию после 5 мин воздействия.
Значения прогибов сравнивают со значениями, измеренными по перечислению 1); они должны быть в пределах ± 2,5 мм от первоначальных показаний;
4) нагрузку снимают, заменяют БЕЗОПАСНОЙ РАБОЧЕЙ НАГРУЗКОЙ, и ОПЕРАЦИОННЫЕ СТОЛЫ осуществляют весь диапазон движений. Значения деформации/прогиба измеряют на концах головной и ножной секций ОПЕРАЦИОННОГО СТОЛА. Для принадлежностей точку замера определяют в соответствии с предусмотренным применением.
201.9.8.3.3* Динамические усилия от нагрузок, создаваемых людьми
Подпункт 9.8.3.3 общего стандарта не применяют.
Применяют пункт 10 общего стандарта.
Применяют пункт 11 общего стандарта, за исключением следующего:
201.11.6 Перелив, расплескивание, утечка, проникание воды или твердых частиц, чистка, дезинфекция, стерилизация и совместимость с веществами, используемыми вместе с ОПЕРАЦИОННЫМИ СТОЛАМИ
201.11.6.5 Проникание воды или твердых частиц в ОПЕРАЦИОННЫЕ СТОЛЫ и МЭ СИСТЕМЫ
Дополнение:
ОПЕРАЦИОННЫЕ СТОЛЫ должны иметь степень защиты по крайней мере IPX4.
201.11.8 Прерывание питания/ПИТАЮЩЕЙ СЕТИ МЭ ИЗДЕЛИЯ
Дополнение:
В случае прерывания ПИТАЮЩЕЙ СЕТИ, независимо от того, восстанавливается или нет ПИТАЮЩАЯ СЕТЬ, высота и конфигурация панели ОПЕРАЦИОННОГО СТОЛА не могут быть изменены. Движение в НОРМАЛЬНОМ ПОЛОЖЕНИИ и/или в ПОЛОЖЕНИИ ТРЕНДЕЛЕНБУРГА остается возможным.
Соответствие устанавливают следующим образом:
a) испытание после отключения ПИТАЮЩЕЙ СЕТИ при нахождении панели ОПЕРАЦИОННОГО СТОЛА в любом положении, за исключением НОРМАЛЬНОГО ПОЛОЖЕНИЯ, между максимальной и минимальной высотами, панель подвергается воздействию БЕЗОПАСНОЙ РАБОЧЕЙ НАГРУЗКИ с распределением массы в соответствии с рисунком AA.1 и таблицей AA.1. Перемещения "в" и "из" НОРМАЛЬНОГО ПОЛОЖЕНИЯ должны быть получены применением методов, описанных ИЗГОТОВИТЕЛЕМ;
b) наблюдение после восстановления ПИТАЮЩЕЙ СЕТИ.
Применяют пункт 12 общего стандарта.
Применяют пункт 13 общего стандарта.
Применяют пункт 14 общего стандарта.
Применяют пункт 15 общего стандарта, за исключением следующего:
201.15.3.5 Испытание на грубое обращение
Изменение:
Пункт 15.3.5 общего стандарта применяют только к ТРАНСПОРТЕРАМ и ПЕРЕДВИЖНЫМ ОПЕРАЦИОННЫМ СТОЛАМ.
201.15.4.7.2 Случайное срабатывание ОПЕРАЦИОННЫХ СТОЛОВ
Дополнение:
201.15.4.7.2.101 Самопроизвольное срабатывание
Усилие срабатывания для ножного устройства управления должно быть не менее 10 Н.
Соответствие устанавливают осмотром.
Применяют пункт 16 общего стандарта.
Применяют пункт 17 общего стандарта.
Применяют МЭК 60601-1-2, за исключением следующего:
202.8 Требования ПОМЕХОУСТОЙЧИВОСТИ ОПЕРАЦИОННЫХ СТОЛОВ и МЭ СИСТЕМ
Дополнительные подпункты:
202.8.101 Критерии прохождения испытания (положительного/отрицательного результата)
По крайней мере, следующие критерии прохождения испытания, связанные с ОСНОВНОЙ БЕЗОПАСНОСТЬЮ и ОСНОВНЫМИ ФУНКЦИОНАЛЬНЫМИ ХАРАКТЕРИСТИКАМИ, должны применяться на всех уровнях испытаний на помехоустойчивость:
- не должно наблюдаться необратимого ухудшения или потери функций или настроек ОПЕРАТОРА, которые не подлежат восстановлению;
- никакое движение не должно происходить без активирования ОПЕРАТОРОМ;
- никакое движение, кроме предусмотренного ОПЕРАТОРОМ, не должно происходить;
- ОПЕРАЦИОННЫЙ СТОЛ должен поддерживать ОСНОВНЫЕ ФУНКЦИОНАЛЬНЫЕ ХАРАКТЕРИСТИКИ в пределах, указанных ИЗГОТОВИТЕЛЕМ (например, временное ухудшение функциональности);
- в течение 15 сек после испытания на помехоустойчивость ОПЕРАЦИОННЫЙ СТОЛ должен возобновить нормальную работу в прежнем рабочем режиме без потери каких-либо настроек ОПЕРАТОРА или сохраненных данных и должен продолжать выполнять свою предусмотренную функцию, как описано в ЭКСПЛУАТАЦИОННЫХ ДОКУМЕНТАХ.
202.8.102 ПОМЕХОУСТОЙЧИВОСТЬ к ИЗЛУЧЕНИЮ от ВЫСОКОЧАСТОТНОГО ЭЛЕКТРОХИРУРГИЧЕСКОГО АППАРАТА
Электрические ОПЕРАЦИОННЫЕ СТОЛЫ, предназначенные для использования в пределах 2 м от активного ВЫСОКОЧАСТОТНОГО ХИРУРГИЧЕСКОГО АППАРАТА или для взаимодействия с ПАЦИЕНТОМ, проходящим лечение с помощью ВЫСОКОЧАСТОТНОГО ЭЛЕКТРОХИРУРГИЧЕСКОГО АППАРАТА, должны быть проверены на ПОМЕХОУСТОЙЧИВОСТЬ к ИЗЛУЧЕНИЮ от ВЫСОКОЧАСТОТНОГО ЭЛЕКТРОХИРУРГИЧЕСКОГО АППАРАТА.
Должны быть использованы критерии прохождения испытания на ПОМЕХОУСТОЙЧИВОСТЬ, указанные в 202.8.101.
Все испытания должны проводиться в двух условиях:
- без активации движения ОПЕРАЦИОННОГО СТОЛА;
- с активацией любого перемещения ОПЕРАЦИОННОГО СТОЛА (например, перемещения по высоте).
Чтобы учесть огромное разнообразие ВЫСОКОЧАСТОТНЫХ ЭЛЕКТРОХИРУРГИЧЕСКИХ АППАРАТОВ, все испытания, описанные в этом подпункте, должны быть проведены с двумя различными ВЫСОКОЧАСТОТНЫМИ ЭЛЕКТРОХИРУРГИЧЕСКИМИ АППАРАТАМИ:
- ВЫСОКОЧАСТОТНЫЕ ЭЛЕКТРОХИРУРГИЧЕСКИЕ АППАРАТЫ должны соответствовать МЭК 60601-2-2 и иметь минимальную мощность в режиме резания 300 Вт, минимальный режим коагуляции 100 Вт и рабочие частоты, включающие не менее (400 ± 100) кГц. Используемые ВЫСОКОЧАСТОТНЫЕ ЭЛЕКТРОХИРУРГИЧЕСКИЕ АППАРАТЫ должны быть указаны в протоколе испытаний;
- ВЫСОКОЧАСТОТНЫЕ ЭЛЕКТРОХИРУРГИЧЕСКИЕ АППАРАТЫ должны иметь режим аргоноплазменной коагуляции с пиковым напряжением 4000Vр (напряжение разомкнутой цепи) и мощностью 120 Вт. Используемые ВЫСОКОЧАСТОТНЫЕ ЭЛЕКТРОХИРУРГИЧЕСКИЕ АППАРАТЫ должны быть указаны в протоколе испытаний.
Примечание 1 - Электромагнитная среда для ОПЕРАЦИОННЫХ СТОЛОВ - это специфическая среда (зоны медицинского обслуживания с мощными ОПЕРАЦИОННЫМИ СТОЛАМИ). Помимо испытаний на помехоустойчивость, необходимых для условий профессиональной медицинской организации (в соответствии с таблицами 4 - 9 МЭК 60601-1-2:2014), к ОПЕРАЦИОННЫМ СТОЛАМ по крайней мере, применима помехоустойчивость к излучению от высокочастотного электрохирургического аппарата, как описано в этом подпункте.
Соответствие устанавливают путем проведения следующих испытаний:
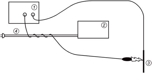
a) Для частей ОПЕРАЦИОННЫХ СТОЛОВ, которые не связаны с ПАЦИЕНТОМ [например, устройства дистанционного управления, ножные переключатели (педали)], обматывают провод МОНОПОЛЯРНОЙ ВЫСОКОЧАСТОТНОЙ ЭЛЕКТРОХИРУРГИЧЕСКОЙ ПРИНАДЛЕЖНОСТИ вокруг КОРПУСА таких частей таким образом, чтобы были сделаны по меньшей мере два полных оборота провода, как показано на рисунке 202.101. Более трех оборотов не требуется. Если часть ОПЕРАЦИОННОГО СТОЛА слишком велика, чтобы сделать два оборота, обматывают настолько насколько это возможно или накрывают проводом ту область части ОПЕРАЦИОННОГО СТОЛА, которая с наибольшей вероятностью соприкоснется с проводами ПРИНАДЛЕЖНОСТИ ВЫСОКОЧАСТОТНОГО ЭЛЕКТРОХИРУРГИЧЕСКОГО АППАРАТА.
Присоединяют один конец провода к соединителю НЕЙТРАЛЬНОГО ЭЛЕКТРОДА ВЫСОКОЧАСТОТНОГО ЭЛЕКТРОХИРУРГИЧЕСКОГО АППАРАТА, а другой конец - к металлической пластине. Используя МОНОПОЛЯРНУЮ ВЫСОКОЧАСТОТНУЮ ЭЛЕКТРОХИРУРГИЧЕСКУЮ ПРИНАДЛЕЖНОСТЬ, активируют ВЫСОКОЧАСТОТНЫЙ ЭЛЕКТРОХИРУРГИЧЕСКИЙ АППАРАТ в каждом возможном выходном режиме и соединяют ПРИНАДЛЕЖНОСТЬ с металлической пластиной. Для каждого режима настраивают ВЫСОКОЧАСТОТНЫЙ ЭЛЕКТРОХИРУРГИЧЕСКИЙ АППАРАТ таким образом, чтобы он создавал максимальное пиковое выходное напряжение.
Примечание 2 - В данном испытании генерируются высокие электрические и магнитные поля (Е-поля и Н-поля) с максимально возможным разбросом частот.

1 - ВЫСОКОЧАСТОТНЫЙ ЭЛЕКТРОХИРУРГИЧЕСКИЙ АППАРАТ; 2 – часть ОПЕРАЦИОННОГО СТОЛА (например, устройства дистанционного управления, ножные переключатели); 3 – металлическая пластина (типичный размер нейтрального электрода, указанный ИЗГОТОВИТЕЛЕМ используемого ВЫСОКОЧАСТОТНОГО ЭЛЕКТРОХИРУРГИЧЕСКОГО АППАРАТА)
Рисунок 202.101 - Специальное испытание КОРПУСА
b) Повторяют испытание a) с МОНОПОЛЯРНОЙ ВЫСОКОЧАСТОТНОЙ ЭЛЕКТРОХИРУРГИЧЕСКОЙ ПРИНАДЛЕЖНОСТЬЮ, закороченной на металлическую пластину. ВЫСОКОЧАСТОТНЫЙ ЭЛЕКТРОХИРУРГИЧЕСКИЙ АППАРАТ должен быть настроен таким образом, чтобы получать максимальную выходную мощность для каждого выходного режима.
Примечание 3 - В данном испытании генерируются максимальные выходные токи и, следовательно, максимальное Н-поле. В нем также создается высокое Е-поле на основной выходной частоте.
c) Повторяют испытания a) и b) с проводом МОНОПОЛЯРНОЙ ВЫСОКОЧАСТОТНОЙ ЭЛЕКТРОХИРУРГИЧЕСКОЙ ПРИНАДЛЕЖНОСТИ, обмотанным вокруг ШНУРА ПИТАНИЯ ОПЕРАЦИОННОГО СТОЛА (испытуемого блока), как показано на рисунке 202.102. Это испытание не требуется проводить для ОПЕРАЦИОННЫХ СТОЛОВ С ПОСТОЯННЫМ ПРИСОЕДИНЕНИЕМ К ПИТАЮЩЕЙ СЕТИ или для ОПЕРАЦИОННЫХ СТОЛОВ без сетевого ШНУРА ПИТАНИЯ. Достаточно трех оборотов провода МОНОПОЛЯРНОЙ ВЫСОКОЧАСТОТНОЙ ЭЛЕКТРОХИРУРГИЧЕСКОЙ ПРИНАДЛЕЖНОСТИ вокруг ШНУРА ПИТАНИЯ.
Примечание 4 - Это испытание моделирует шум, который может проникать в ОПЕРАЦИОННЫЕ СТОЛЫ или МЭ СИСТЕМУ через сетевой шнур питания.

1 - ВЫСОКОЧАСТОТНЫЙ ЭЛЕКТРОХИРУРГИЧЕСКИЙ АППАРАТ; 2 - испытуемое изделие; 3 - металлическая пластина (типичный размер нейтрального электрода, указанный ИЗГОТОВИТЕЛЕМ используемого ВЫСОКОЧАСТОТНОГО ЭЛЕКТРОХИРУРГИЧЕСКОГО АППАРАТА); 4 - СЕТЕВОЙ ШНУР ПИТАНИЯ испытуемого изделия
Рисунок 202.102 - Специальное испытание ШНУРА ПИТАНИЯ
d) Если у ОПЕРАЦИОННОГО СТОЛА есть кабели, которые входят в стерильную область (например, кабель устройства дистанционного управления), проникновение электромагнитных помех может также происходить между этими кабелями и проводом МОНОПОЛЯРНОЙ ВЫСОКОЧАСТОТНОЙ ЭЛЕКТРОХИРУРГИЧЕСКОЙ ПРИНАДЛЕЖНОСТИ. Чтобы проверить эту возможность, повторяют испытания a) и b) с проводом МОНОПОЛЯРНОЙ ВЫСОКОЧАСТОТНОЙ ЭЛЕКТРОХИРУРГИЧЕСКОЙ ПРИНАДЛЕЖНОСТИ, обмотанным вокруг кабеля ПРИНАДЛЕЖНОСТИ испытуемого ОПЕРАЦИОННОГО СТОЛА, как показано на рисунке 202.103. Достаточно трех оборотов провода МОНОПОЛЯРНОЙ ВЫСОКОЧАСТОТНОЙ ЭЛЕКТРОХИРУРГИЧЕСКОЙ ПРИНАДЛЕЖНОСТИ вокруг кабеля ПРИНАДЛЕЖНОСТИ ОПЕРАЦИОННОГО СТОЛА.

1 - ВЫСОКОЧАСТОТНЫЙ ЭЛЕКТРОХИРУРГИЧЕСКИЙ АППАРАТ; 2 - испытуемое изделие; 3 - металлическая пластина (типичный размер нейтрального электрода, указанный ИЗГОТОВИТЕЛЕМ используемого ВЫСОКОЧАСТОТНОГО ЭЛЕКТРОХИРУРГИЧЕСКОГО АППАРАТА); 4 – кабель ПРИНАДЛЕЖНОСТИ испытуемого изделия
Рисунок 202.103 - Специальное испытание кабеля ПРИНАДЛЕЖНОСТИ
Для самого ОПЕРАЦИОННОГО СТОЛА должны быть проведены следующие испытания. Для ОПЕРАЦИОННЫХ СТОЛОВ со съемными панелями необходимо проверить сочленение основания и панели ОПЕРАЦИОННОГО СТОЛА.
Во всех случаях отведения активных и нейтральных электродов должны располагаться вдоль боковых направляющих и/или открытых металлических частей панели ОПЕРАЦИОННОГО СТОЛА.
Во время испытаний ВЫСОКОЧАСТОТНЫЙ ЭЛЕКТРОХИРУРГИЧЕСКИЙ АППАРАТ должен работать в каждом доступном режиме с максимальной выходной мощностью и/или максимальным пиковым напряжением.
e) ВЫСОКОЧАСТОТНЫЙ ЭЛЕКТРОХИРУРГИЧЕСКИЙ АППАРАТ должен работать при разомкнутой цепи.
f) ВЫСОКОЧАСТОТНЫЙ ЭЛЕКТРОХИРУРГИЧЕСКИЙ АППАРАТ должен работать при коротком замыкании активных и нейтральных электродов и искрении активных электродов на боковых направляющих и/или открытых металлических частях панели ОПЕРАЦИОННОГО СТОЛА.
Применяют МЭК 60601-1-3, за исключением следующего:
Дополнение:
Если ОПЕРАЦИОННЫЙ СТОЛ используется в качестве системы поддержания ПАЦИЕНТА, подвергаемого воздействию МЭ ИЗДЕЛИЙ для рентгенодиагностики и интервенционной радиологии, как описано в МЭК 60601-2-43, должны быть выполнены требования по алюминиевому эквиваленту МЭК 60601-1-3.
Применяют приложения общего стандарта, за исключением следующего:
Приложение G
(обязательное)
Применяют приложение G общего стандарта, за исключением следующего:
201.G.4.3 Предотвращение электростатических зарядов
Дополнение:
Создание электропроводящих путей от ПЕРЕДВИЖНЫХ ОПЕРАЦИОННЫХ СТОЛОВ к токопроводящему полу или к системе защитного заземления, или к системе выравнивания потенциала, или через колеса к антистатическому полу в помещении медицинского назначения должно существовать, независимо от того, подключен или нет стол к ПИТАЮЩЕЙ СЕТИ.
Предельные значения электрического сопротивления матрацев и шин колес ОПЕРАЦИОННЫХ СТОЛОВ и других элементов из антистатических материалов должны быть не менее 104 Ом и не более 107 Ом.
Соответствие устанавливают измерением электрического сопротивления согласно ИСО 2878.
Примечание - Электрическое сопротивление служит для предотвращения электростатических зарядов, но не предохраняет от ожогов, вызванных использованием высокочастотного хирургического МЭ ИЗДЕЛИЯ, и от ОПАСНОСТЕЙ поражения электрическим током.
Приложение AA
(справочное)
Ниже приведены обоснования к определенным пунктам и подпунктам настоящего стандарта, номера которых совпадают с приведенными в самом стандарте.
Подпункт 201.9.2.3.1 Непреднамеренное движение
Требование было добавлено для того, чтобы избежать непредвиденных ситуаций, связанных с путаницей устройств дистанционного управления в отделении.
Подпункт 201.9.4.2.2 Неустойчивость в других положениях, исключая положение транспортирования
Тело человека не набирают массу в одинаковой норме во всех частях тела, таким образом, рисунок A.19 общего стандарта не является показательным для ПАЦИЕНТОВ, страдающих ожирением. Рекомендуется использовать для ПАЦИЕНТОВ с избыточной массой рисунок AA.1 совместно с таблицей AA.1. На рисунке AA.1 представлена "базовая" масса ПАЦИЕНТА 135 кг. Для БЕЗОПАСНОЙ РАБОЧЕЙ НАГРУЗКИ, большей чем 135 кг, дополнительная масса должна быть добавлена к каждой части тела в пропорциях, приведенных в таблице AA.1.

Рисунок AA.1 - Рекомендуемое распределение массы свыше 135 кг и примеры применения
|
Нижняя часть ноги |
Верхняя часть ноги |
Нижняя часть тела |
Верхняя часть тела |
Кисть |
Рука (без кисти) |
Голова | |
|
Процентное добавление массы (свыше 135 кг) применительно к каждой части |
10% общая (5% каждая) |
32% общая (16% каждая) |
32% |
14% |
3,0% общая (1,5% каждая) |
7% общая (3,5% каждая) |
2,0% |
|
Примеры применения дополнительной массы для ПАЦИЕНТОВ свыше 135 кг | |||||||
|
ПАЦИЕНТ массой 135 кг (для справки) |
10 кг каждая |
15 кг каждая |
27,5 кг |
27,5 кг |
5 кг каждая |
5 кг каждая |
10 кг |
|
ПАЦИЕНТ массой 250 кг |
15,8 кг каждая |
33,4 кг каждая |
64,3 кг |
43,6 кг |
6,7 кг каждая |
9 кг каждая |
12,3 кг |
|
ПАЦИЕНТ массой 360 кг |
21,3 кг каждая |
51 кг каждая |
99,5 кг |
59 кг |
8,4 кг каждая |
12,9 кг каждая |
14,5 кг |
На рисунке AA.1 представлены пример распределения массы человеческого тела для ПАЦИЕНТА массой 135 кг и обозначения частей тела для использования совместно с таблицей AA.1.
Подпункт 201.9.4.2.4.3 Перемещение через препятствие
Появление подобного препятствия маловероятно в условиях операционной.
Подпункт 201.9.8.2 КОЭФФИЦИЕНТ БЕЗОПАСНОСТИ
Опорные системы не обязательно должны быть изготовлены из металла. Поэтому при определении КОЭФФИЦИЕНТА БЕЗОПАСНОСТИ должен быть указан материал.
Например, столы ПАЦИЕНТА рентгеновских/компьютерных томографических/магнитно-резонансных систем часто изготавливают из пластика, ламинированного или укрепленного углеволокном, или стекловолокном, поскольку эти столы ПАЦИЕНТА должны обладать низким коэффициентом поглощения рентгеновского излучения (алюминиевый эквивалент), магнитно-резонансной совместимостью (низкий уровень протонов), а также структурной устойчивостью. Несмотря на то, что эти пластики, укрепленные углеволокном, могут иметь относительное удлинение при разрыве менее 5%, многолетний накопленный опыт и надзор после выхода на рынок, могут предоставить достаточно доказательств того, что необходимая структурная устойчивость столов ПАЦИЕНТА достигается за счет применения КОЭФФИЦИЕНТА БЕЗОПАСНОСТИ из таблицы 201.101, строка 1 (а не строка 2).
Кроме того, не всегда возможно в целом определить, поврежден ли конкретный компонент или конструкция из-за износа.
Поэтому выбор применимого КОЭФФИЦИЕНТА БЕЗОПАСНОСТИ должен быть основан на опыте, испытаниях и/или МЕНЕДЖМЕНТЕ РИСКА и документально подтвержден.
Подпункт 201.9.8.3.2 Статические усилия от нагрузок, создаваемых людьми
Применимы требования к КОЭФФИЦИЕНТУ БЕЗОПАСНОСТИ, приведенные в 201.9.8.2. Они не отменяют требования к исполнению, приведенные в 201.9.8.3.2.
Подпункт 201.9.8.3.3 Динамические усилия от нагрузок, создаваемых людьми
Помещение ПАЦИЕНТА на ОПЕРАЦИОННЫЙ СТОЛ осуществляется в контролируемых условиях профессионалами, знакомыми с надлежащей методикой.
Приложение ДА
(справочное)
Таблица ДА.1
|
Обозначение ссылочного международного стандарта |
Степень соответствия |
Обозначение и наименование соответствующего национального стандарта |
|
IEC 60601-1-2:2014 |
- |
<*> |
|
IEC 60601-1-3:2008 |
IDT |
ГОСТ Р МЭК 60601-1-3-2013 "Изделия медицинские электрические. Часть 1-3. Общие требования безопасности с учетом основных функциональных характеристик. Дополнительный стандарт. Защита от излучения в диагностических рентгеновских аппаратах" |
|
IEC 60601-2-2 |
IDT |
ГОСТ Р МЭК 60601-2-2-2022 "Изделия медицинские электрические. Часть 2-2. Частные требования безопасности с учетом основных функциональных характеристик к высокочастотным электрохирургическим аппаратам и высокочастотным электрохирургическим принадлежностям" |
|
IEC 60601-2-43 |
IDT |
ГОСТ Р МЭК 60601-2-43-2013 "Изделия медицинские электрические. Часть 2-43. Частные требования безопасности с учетом основных функциональных характеристик к рентгеновским аппаратам для интервенционных процедур" |
|
<*> Соответствующий национальный стандарт отсутствует. До его принятия рекомендуется использовать перевод на русский язык данного международного стандарта. Примечание - В настоящей таблице использовано следующее условное обозначение степени соответствия стандартов: - IDT - идентичные стандарты. | ||
Библиография
|
IEC 60601-1-8 |
Medical electrical equipment - Part 1-8: General requirements for basic safety and essential performance - Collateral Standard: General requirements, tests and guidance for alarm systems in medical electrical equipment and medical electrical systems |
|
IEC 60601-1-10:2007 |
Medical electrical equipment - Part 1-10: General requirements for basic safety and essential performance - Collateral Standard: Requirements for the development of physiologic closed-loop controllers |
|
IEC 60601-1-10:2007/AMD1:2013 | |
|
IEC 60601-1-11:2015 |
Medical electrical equipment - Part 1-11: General requirements for basic safety and essential performance - Collateral Standard: Requirements for medical electrical equipment and medical electrical systems used in the home healthcare environment |
|
IEC 60601-1-12:2014 |
Medical electrical equipment - Part 1-12: General requirements for basic safety and essential performance - Collateral Standard: Requirements for medical electrical equipment and medical electrical systems intended for use in the emergency medical services environment |
|
IEC 60601-2-52 |
Medical electrical equipment - Part 2-52: Particular requirements for the basic safety and essential performance of medical beds |
|
IEC 80601-2-35 |
Medical electrical equipment - Part 2-35: Particular requirements for the basic safety and essential performance of heating devices using blankets, pads and mattresses and intended for heating in medical use |
|
БЕЗОПАСНОСТЬ ОСНОВНАЯ |
МЭК 60601-1, 3.10 |
|
ЗАЗЕМЛЕНИЕ С ЦЕЛЬЮ ЗАЩИТЫ |
МЭК 60601-1, 3.96 |
|
ИЗГОТОВИТЕЛЬ |
МЭК 60601-1, 3.55 |
|
ИЗДЕЛИЕ МЕДИЦИНСКОЕ ЭЛЕКТРИЧЕСКОЕ; МЭ ИЗДЕЛИЕ |
МЭК 60601-1, 3.63 |
|
ИЗДЕЛИЕ С ПОСТОЯННЫМ ПРИСОЕДИНЕНИЕМ К ПИТАЮЩЕЙ СЕТИ |
МЭК 60601-1, 3.84 |
|
ИНСТРУМЕНТ |
МЭК 60601-1, 3.127 |
|
КОРПУС |
МЭК 60601-1, 3.26 |
|
МЕНЕДЖМЕНТ РИСКА |
МЭК 60601-1, 3.107 |
|
НАГРУЗКА РАБОЧАЯ БЕЗОПАСНАЯ |
МЭК 60601-1, 3.109 |
|
ОГРАЖДЕНИЕ |
МЭК 60601-1, 3.36 |
|
ОПАСНОСТЬ |
МЭК 60601-1, 3.39 |
|
ОПЕРАТОР |
МЭК 60601-1, 3.73 |
|
ПАЦИЕНТ |
МЭК 60601-1, 3.76 |
|
ПОЛОЖЕНИЕ НОРМАЛЬНОЕ |
201.3.202 |
|
ПОЛОЖЕНИЕ ТРЕНДЕЛЕНБУРГА |
201.3.205 |
|
ПРИГОДНОСТЬ ЭКСПЛУАТАЦИОННАЯ |
МЭК 60601-1, 3.136 |
|
ПРИНАДЛЕЖНОСТЬ |
МЭК 60601-1, 3.3 |
|
ПРОЕКТИРОВАНИЕ ЭКСПЛУАТАЦИОННОЙ ПРИГОДНОСТИ |
МЭК 60601-1, 3.137 |
|
ПРОЦЕСС |
МЭК 60601-1, 3.89 |
|
РИСК |
МЭК 60601-1, 3.102 |
|
СЕТЬ ПИТАЮЩАЯ |
МЭК 60601-1, 3.120 |
|
СИСТЕМА МЕДИЦИНСКАЯ ЭЛЕКТРИЧЕСКАЯ; МЭ СИСТЕМА |
МЭК 60601-1, 3.64 |
|
СИСТЕМА МЕДИЦИНСКАЯ ЭЛЕКТРИЧЕСКАЯ ПРОГРАММИРУЕМАЯ; ПЭМС |
МЭК 60601-1, 3.90 |
|
СОСТОЯНИЕ НОРМАЛЬНОЕ |
МЭК 60601-1, 3.70 |
|
СТОЛ ОПЕРАЦИОННЫЙ |
201.3.203 |
|
СТОЛ ОПЕРАЦИОННЫЙ ПЕРЕДВИЖНОЙ |
201.3.201 |
|
ТРАНСПОРТЕР |
201.3.204 |
|
УСЛОВИЕ ЕДИНИЧНОГО НАРУШЕНИЯ |
МЭК 60601-1, 3.116 |
|
ХАРАКТЕРИСТИКИ ФУНКЦИОНАЛЬНЫЕ ОСНОВНЫЕ |
МЭК 60601-1, 3.27 |
|
ЧАСТЬ ДОСТУПНАЯ |
МЭК 60601-1, 3.2 |
|
ЧАСТЬ РАБОЧАЯ |
МЭК 60601-1, 3.8 |
|
ЧАСТЬ РАБОЧАЯ ТИПА В |
МЭК 60601-1, 3.132 |
|
ЭКСПЛУАТАЦИЯ НОРМАЛЬНАЯ |
МЭК 60601-1, 3.71 |


