ГОСТ Р МЭК 60840-2022 КАБЕЛИ СИЛОВЫЕ С ЭКСТРУДИРОВАННОЙ ИЗОЛЯЦИЕЙ И АРМАТУРА. К НИМ НА НОМИНАЛЬНОЕ НАПРЯЖЕНИЕ СВЫШЕ 30 кВ (Um = 36 кВ) ДО 150 кВ (Um = 170 кВ). МЕТОДЫ ИСПЫТАНИЙ
Утв. и введен в действие Приказом Федерального агентства по техническому регулированию и метрологии от 13 июля 2022 г. N 617-ст
Power cables with extruded insulation and their accessories for rated voltages above 30 kV (Um = 36 kV) up to 150 kV (Um = 170 kV). Test methods
[IEC 60840:2020+Cor 1:2021, Power cables with extruded insulation and their accessories for rated voltages above 30 kV (Um = 36 kV) up to 150 kV (Um = 170 kV). Test methods and requirements, IDT]
ОКС 29.060.20
Дата введения - 1 января 2024 года
Взамен ГОСТ Р МЭК 60840-2017
Предисловие
1 ПОДГОТОВЛЕН Открытым акционерным обществом "Всероссийский научно-исследовательский, проектно-конструкторский и технологический институт кабельной промышленности" (ОАО "ВНИИКП") на основе собственного перевода на русский язык англоязычной версии стандарта, указанного в пункте 4
2 ВНЕСЕН Техническим комитетом по стандартизации ТК 046 "Кабельные изделия"
3 УТВЕРЖДЕН И ВВЕДЕН В ДЕЙСТВИЕ Приказом Федерального агентства по техническому регулированию и метрологии от 13 июля 2022 г. N 617-ст
4 Настоящий стандарт идентичен международному стандарту МЭК 60840:2020 "Кабели силовые с экструдированной изоляцией и арматура к ним на номинальное напряжение свыше 30 кВ (Um = 36 кВ) до 150 кВ (Um = 170 кВ). Методы испытаний и требования к ним" [IEC 60840:2020 "Power cables with extruded insulation and their accessories for rated voltages above 30 kV (Um = 36 kV) up to 150 kV (Um = 170 kV). Test methods and requirements", IDT], включая техническую поправку Cor 1:2021.
Техническая поправка к указанному международному стандарту, принятая после его официальной публикации, внесена в текст настоящего стандарта и выделена двойной вертикальной линией, расположенной на полях напротив соответствующего текста, а обозначение и год ее принятия приведены в скобках после соответствующего текста.
Наименование настоящего стандарта изменено относительно наименования указанного международного стандарта для приведения в соответствие с ГОСТ Р 1.5-2012 (пункт 3.5).
При применении настоящего стандарта рекомендуется использовать вместо ссылочных международных стандартов соответствующие им национальные и межгосударственные стандарты, сведения о которых приведены в дополнительном приложении ДА
5 ВЗАМЕН ГОСТ Р МЭК 60840-2017
Правила применения настоящего стандарта установлены в статье 26 Федерального закона от 29 июня 2015 г. N 162-ФЗ "О стандартизации в Российской Федерации". Информация об изменениях к настоящему стандарту публикуется в ежегодном (по состоянию на 1 января текущего года) информационном указателе "Национальные стандарты", а официальный текст изменений и поправок - в ежемесячном информационном указателе "Национальные стандарты". В случае пересмотра (замены) или отмены настоящего стандарта соответствующее уведомление будет опубликовано в ближайшем выпуске ежемесячного информационного указателя "Национальные стандарты". Соответствующая информация, уведомление и тексты размещаются также в информационной системе общего пользования - на официальном сайте Федерального агентства по техническому регулированию и метрологии в сети Интернет (www.rst.gov.ru)
Настоящий стандарт распространяется на силовые кабели (далее - кабели) для стационарной прокладки на номинальное переменное напряжение свыше 30 кВ (Um = 36 кВ) и до 150 кВ (Um = 170 кВ) включительно, арматуру к ним, силовые кабельные системы и устанавливает методы испытаний.
Настоящий стандарт распространяется на одножильные и трехжильные кабели с отдельно экранированными жилами, предназначенные для нормальных условий прокладки и эксплуатации.
Настоящий стандарт не распространяется на кабели и арматуру для подводной прокладки, а также на переходные муфты между кабелями с экструдированной изоляцией и кабелями с бумажной пропитанной изоляцией.
В настоящем стандарте использованы нормативные ссылки на следующие стандарты [для датированных ссылок применяют только указанное издание ссылочного стандарта, для недатированных - последнее издание (включая все изменения)]:
IEC 60060-1:2010, High-voltage test techniques - Part 1: General definitions and test requirements (Методы испытаний высоким напряжением. Часть 1. Общие определения и требования к испытаниям)
IEC 60228, Conductors of insulated cables (Жилы токопроводящие изолированных кабелей)
IEC 60229:2007, Electric cables - Tests on extruded oversheaths with a special protective function (Кабели электрические. Испытания наружных экструдированных оболочек кабелей, выполняющих специальную защитную функцию)
IEC 60230, Impulse tests on cables and their accessories (Испытания импульсным напряжением кабелей и арматуры к ним)
IEC 60287-1-1:2006, Electric cables - Calculation of the current rating - Part 1-1: Current rating equations (100% load factor) and calculation of losses - General [Электрические кабели. Расчет номинальной токовой нагрузки. Часть 1-1. Уравнения для расчета номинальной токовой нагрузки (100%-ный коэффициент токовой нагрузки) и расчет потерь. Общие положения]
IEC 60332-1-2, Tests on electric and optical fibre cables under fire conditions - Part 1-2: Test for vertical flame propagation for a single insulated wire or cable - Procedure for 1 kW pre-mixed flame (Испытания электрических и оптических кабелей в условиях воздействия пламени. Часть 1-2. Испытание на нераспространение горения одиночного вертикально расположенного изолированного провода или кабеля. Проведение испытания при воздействии пламени газовой горелки мощностью 1 кВт с предварительным смешением газов)
IEC 60332-3-24, Tests on electric and optical fibre cables under fire conditions - Part 3-24: Test for vertical flame spread of vertically-mounted bunched wires or cables - Category C (Испытания электрических и оптических кабелей в условиях воздействия пламени. Часть 3-24. Распространение пламени по вертикально расположенным пучкам проводов или кабелей. Категория C)
IEC 60754-2, Tests on gases evolved during combustion of materials from cables - Part 2: Determination of acidity (by pH measurement) and conductivity (Испытания газов, выделяемых при горении материалов конструкции кабелей. Часть 2. Определение степени кислотности газов измерением pH и удельной проводимости)
IEC 60811-201, Electric and optical fibre cables - Test methods for non-metallic materials - Part 201: General tests - Measurement of insulation thickness (Кабели электрические и волоконно-оптические. Методы испытаний неметаллических материалов. Часть 201. Общие испытания. Измерение толщины изоляции)
IEC 60811-202:2012, Electric and optical fibre cables - Test methods for non-metallic materials - Part 202: General tests - Measurement of thickness of non-metallic sheath, IEC 60811-202:2012/Amd1:2017 (Кабели электрические и волоконно-оптические. Методы испытаний неметаллических материалов. Часть 202. Общие испытания. Измерение толщины неметаллической оболочки, МЭК 60811-202:2012/Изм. 1:2017)
IEC 60811-203, Electric and optical fibre cables - Test methods for non-metallic materials - Part 203: General tests - Measurement of overall dimensions (Кабели электрические и волоконно-оптические. Методы испытаний неметаллических материалов. Часть 203. Общие испытания. Измерение наружных размеров)
IEC 60811-401, Electric and optical fibre cables - Test methods for non-metallic materials - Part 401: Miscellaneous tests - Thermal ageing methods - Ageing in an air oven (Кабели электрические и волоконно-оптические. Методы испытаний неметаллических материалов. Часть 401. Разные испытания. Методы теплового старения. Старение в термостате)
IEC 60811-403, Electric and optical fibre cables - Test methods for non-metallic materials - Part 403: Miscellaneous tests - Ozone resistance test on cross-linked compounds (Кабели электрические и волоконно-оптические. Методы испытаний неметаллических материалов. Часть 403. Разные испытания. Испытание сшитых композиций на озоностойкость)
IEC 60811-409, Electric and optical fibre cables - Test methods for non-metallic materials - Part 409: Miscellaneous tests - Loss of mass test for thermoplastic insulations and sheaths (Кабели электрические и волоконно-оптические. Методы испытаний неметаллических материалов. Часть 409. Разные испытания. Испытание на потерю массы для термопластичных изоляции и оболочек)
IEC 60811-501:2012, Electric and optical fibre cables - Test methods for non-metallic materials - Part 501: Mechanical tests - Tests for determining the mechanical properties of insulation and sheathing compounds, IEC 60811-501:2012/Amd1:2018 (Кабели электрические и волоконно-оптические. Методы испытаний неметаллических материалов. Часть 501. Механические испытания. Испытания для определения механических свойств композиций изоляции и оболочек, МЭК 60811-501:2012/Изм. 1:2018)
IEC 60811-502:2012, Electric and optical fibre cables - Test methods for non-metallic materials - Part 502: Mechanical tests - Mechanical tests - Shrinkage test for insulations (Кабели электрические и волоконно-оптические. Методы испытаний неметаллических материалов. Часть 502. Механические испытания. Испытание изоляции на усадку)
IEC 60811-503, Electric and optical fibre cables - Test methods for non-metallic materials - Part 503: Mechanical tests - Shrinkage test for sheaths (Кабели электрические и волоконно-оптические. Методы испытаний неметаллических материалов. Часть 503. Механические испытания. Испытание оболочек на усадку)
IEC 60811-505, Electric and optical fibre cables - Test methods for non-metallic materials - Part 505: Mechanical tests - Elongation at low temperature for insulations and sheaths (Кабели электрические и волоконно-оптические. Методы испытаний неметаллических материалов. Часть 505. Механические испытания. Испытание изоляции и оболочек на удлинение при низкой температуре)
IEC 60811-506, Electric and optical fibre cables - Test methods for non-metallic materials - Part 506: Mechanical tests - Impact test at low temperature for insulations and sheaths (Кабели электрические и волоконно-оптические. Методы испытаний неметаллических материалов. Часть 506. Механические испытания. Испытание изоляции и оболочек на удар при низкой температуре)
IEC 60811-507, Electric and optical fibre cables - Test methods for non-metallic materials - Part 507: Mechanical tests - Hot set test for cross-linked materials (Кабели электрические и волоконно-оптические. Методы испытаний неметаллических материалов. Часть 507. Механические испытания. Испытание на тепловую деформацию сшитых композиций)
IEC 60811-508:2012, Electric and optical fibre cables - Test methods for non-metallic materials - Part 508: Mechanical tests - Pressure test at high temperature insulations and sheaths, IEC 60811-508:2012/Amd1:2017 (Кабели электрические и волоконно-оптические. Методы испытаний неметаллических материалов. Часть 508. Механические испытания. Испытание изоляции и оболочек под давлением при высокой температуре, МЭК 60811-508:2012/Изм. 1:2017)
IEC 60811-509, Electric and optical fibre cables - Test methods for non-metallic materials - Part 509: Mechanical tests - Test for resistance of insulations and sheaths to cracking (heat shock test) [Кабели электрические и волоконно-оптические. Методы испытаний неметаллических материалов. Часть 509. Механические испытания. Испытание на стойкость изоляции и оболочек к растрескиванию (испытание на тепловой удар)]
IEC 60811-605:2012, Electric and optical fibre cables - Test methods for non-metallic materials - Part 605: Physical tests - Measurement of carbon black and/or mineral filler in poly ethylene compounds (Кабели электрические и волоконно-оптические. Методы испытаний неметаллических материалов. Часть 605. Физические испытания. Определение содержания сажи и/или минерального наполнителя в полиэтиленовых компаундах)
IEC 60811-606, Electric and optical fibre cables - Test methods for non-metallic materials - Part 606: Physical tests - Methods for determining the density (Кабели электрические и волоконно-оптические. Методы испытаний неметаллических материалов. Часть 606. Физические испытания. Методы определения плотности)
IEC 60885-3, Electrical test methods for electric cables - Part 3: Test methods for partial discharge measurements on lengths of extruded power cables (Методы электрических испытаний электрических кабелей. Часть 3. Методы испытаний по измерению частичных разрядов на длинах силовых экструдированных кабелей)
IEC 61034-2:2005, Measurement of smoke density of cables burning under defined conditions - Part 2: Test procedure and requirements, IEC 61034-2:2005/Amd1:2013 (Измерение плотности дыма при горении кабелей в заданных условиях. Часть 2. Метод испытаний и требования к нему, МЭК 61034-2:2005/Изм. 1:2013) (Cor 1:2021)
IEC 61462:2007, Composite hollow insulators - Pressurized and unpressurized insulators for use in electrical equipment with rated voltage greater than 1000 V - Definitions, test methods, acceptance criteria and design recommendations (Изоляторы композитные полые. Изоляторы герметизированные и негерметизированные для электрооборудования с номинальным напряжением более 1000 В. Определения, методы испытаний, критерии приемки и рекомендации по проектированию)
IEC 62271-209, High-voltage switchgear and controlgear - Part 209: Cable connections for gas-insulated metal-enclosed switchgear for rated voltages above 52 kV. Fluid-filled and extruded insulation cables - Fluid-filled and dry-type cable-terminations (Коммутационная аппаратура высокого напряжения с аппаратурой управления. Часть 209. Кабельные соединения для комплектных распределительных устройств с газовой изоляцией в металлической оболочке на номинальные напряжения свыше 52 кВ. Маслонаполненные кабели и кабели с экструдированной изоляцией. Заполненные жидкостью и сухие кабельные вводы)
ISO 48-2, Rubber, vulcanized or thermoplastic - Determination of hardness - Part 2: Hardness between 10 IRHD and 100 IRHD (Резина вулканизированная или термопластичная. Определение твердости. Часть 2. Твердость в пределах 10 - 100 IRHD)
В настоящем стандарте применены следующие термины с соответствующими определениями.
ИСО и МЭК ведут терминологические базы данных для использования в стандартизации по следующим адресам:
- Электропедия МЭК: доступна на http://www.electropedia.org/;
- платформа онлайн-просмотра ИСО: доступна на http://www.iso.org/obp.
3.1 Размерные параметры (толщины, сечения и т.д.)
3.1.1 номинальное значение (nominal value): Значение, которым обозначают величину и которое, как правило, используют в таблицах.
Примечание - Приведенные в настоящем стандарте номинальные значения - это значения, которые проверяют измерениями с учетом установленных предельных отклонений.
3.1.2 медианное значение (median value): Значение, определяемое результатами измерений, расположенными в ряд в порядке возрастания (или убывания) числовых значений, которое находится в середине ряда, если число полученных результатов нечетное, или усредненное из двух, находящихся в середине ряда, если число результатов четное.
3.2 Виды испытаний
3.2.1 приемо-сдаточные испытания (routine tests): Испытания, проводимые изготовителем на каждой строительной длине кабеля или каждом виде арматуры с целью проверки соответствия установленным требованиям.
3.2.2 периодические испытания (sample tests): Испытания, проводимые изготовителем на образцах кабеля или конструктивных элементах, отобранных от кабеля или арматуры, и в сроки, установленные в нормативном или техническом документе, с целью проверки соответствия готового изделия установленным требованиям.
3.2.3 типовые испытания (type tests): Испытания, проводимые изготовителем на стадии постановки на производство кабельной системы, кабеля или арматуры, подпадающих под действие настоящего стандарта, с целью обеспечения гарантии соответствия их характеристик установленным требованиям после внесения изменений в конструкцию, материалы или технологический процесс.
Примечание - После проведения типовых испытаний повторное их проведение не требуется до тех пор, пока не будут внесены изменения в применяемые материалы, конструкцию кабеля или технологию изготовления, которые могут повлиять на их эксплуатационные характеристики.
3.2.4 предквалификационные испытания (prequalification tests): Испытания кабельной системы конкретного типа, проводимые на соответствие требованиям настоящего стандарта перед поставкой на общей коммерческой основе в целях подтверждения возможности кабельной системы сохранять установленные технические характеристики в течение длительного времени.
3.2.5 испытания, проводимые для расширения предквалификационных испытаний (extension of prequalification tests): Испытания кабелей или кабельных систем конкретного типа, выдержавших предквалификационные испытания, проводимые перед поставкой на общей коммерческой основе, на соответствие требованиям настоящего стандарта в целях подтверждения того, что кабель или кабельная система сохраняет установленные характеристики в течение длительного времени.
3.2.6 электрические испытания после прокладки (electrical tests after installation): Испытания, проводимые с целью проверки целостности кабельной системы после прокладки.
Примечание - Интегрированные оптические элементы, при их наличии, испытывают по требованию заказчика. Виды испытаний устанавливают по согласованию между изготовителем и заказчиком.
3.3 Другие термины и определения
3.3.1 кабельная система (cable system): Кабель, оснащенный арматурой, включая элементы, используемые только в качестве концевых и соединительных муфт для ограничения воздействий термомеханических факторов.
3.3.2 номинальная электрическая напряженность (nominal electrical stress): Напряженность электрического поля, рассчитанная при U0 с использованием номинальных параметров.
Примечания
1 Расчет электрической напряженности приведен в перечислении n) раздела 6.
2 Номинальную электрическую напряженность выражают в кВ/мм.
3.3.3 комбинированная конструкция; CD (combined design, CD): Конструкция металлического экрана кабеля, с использованием которой обеспечиваются радиальная водонепроницаемость и электрические свойства кабеля.
Примечание - Подробная информация о конструкции металлического экрана кабеля приведена в 4.3.
3.3.4 раздельная конструкция; SD (separate design, SD): Конструкция металлического экрана кабеля, в которой для обеспечения радиальной водонепроницаемости и электрических свойств применяют разные металлические элементы.
Примечание - Подробная информация о конструкции металлического экрана кабеля приведена в 4.3.
3.3.5 раздельная электропроводящая конструкция; SscD (separate semi-conductive design, SscD): Конструкция металлического экрана кабеля, в которой разделены электрические свойства и свойства радиальной водонепроницаемости и применена фольга с электропроводящим полимерным покрытием.
Примечание - Подробная информация о конструкции металлического экрана кабеля приведена в 4.3.
3.3.6 номинальное сечение токопроводящей жилы (conductor cross section): Номинальное сечение токопроводящей жилы по МЭК 60228.
3.3.7 максимальная механическая нагрузка; ММН (maximum mechanical load, MML): Наибольшая ожидаемая механическая (консольная) нагрузка, на которую рассчитана конструкция композитного изолятора концевой муфты наружного применения при эксплуатации.
3.3.8 соединительная муфта с разрывом экрана или металлической оболочки (joint with screen or metal sheath interruption): Соединительная муфта, в которой металлическая оболочка, общий экран и экран по изоляции кабеля электрически изолированы друг от друга.
3.3.9 кабельная арматура с электрическим разрывом экрана или металлической оболочки (cable accessory with screen or metallic sheath interruption): Кабельная арматура, в которой металлическая оболочка, общий экран и экран по изоляции кабеля электрически изолированы друг от друга.
3.3.10 концевая муфта с секционирующей изоляцией (termination with sectionalizing insulation): Концевая муфта, в которой металлическая оболочка, общий экран и экран по изоляции кабеля электрически разомкнуты с землей.
4.1 Номинальные напряжения
В настоящем стандарте применены условные обозначения номинальных напряжений кабелей и арматуры U0, U и Um в соответствии с МЭК 60183.
4.2 Изоляционные материалы кабелей
Изоляционные материалы кабелей приведены в таблице 1 с указанием максимальной рабочей температуры на жиле для каждого изоляционного материала, являющейся основой для задания условий испытаний.
Рекомендуется дегазировать изолированные жилы кабеля с изоляционной системой из сшитого полимера.
|
Изоляционный материал |
Максимальная температура на жиле, °C | |
|
при нормальных условиях эксплуатации |
при коротком замыкании продолжительностью не более 5 с | |
|
Термопластичный полиэтилен низкой плотности (ПЭНП <*>) |
70 |
130 |
|
Термопластичный полиэтилен высокой плотности (ПЭВП) |
80 |
160 |
|
Сшитый полиэтилен (СПЭ) |
90 |
250 |
|
Этиленпропиленовая резина (ЭПР) |
90 |
250 |
|
Высокомодульная или повышенной твердости этиленпропиленовая резина (ВЭПР) |
90 |
250 |
|
По согласованию между изготовителем и заказчиком (потребителем) при испытании кабеля с изоляцией из ПЭНП <*> и ПЭВП значения температур короткого замыкания, указанные в таблице, могут быть увеличены на 20 °C, если по жиле и изоляции наложены электропроводящие экраны. | ||
--------------------------------
<*> Ошибка от оригинала.
4.3 Металлические экраны/оболочки кабелей
Настоящий стандарт распространяется на кабели различных конструкций, в том числе обеспечивающих радиальную водонепроницаемость кабеля.
Металлические экран/оболочка должны выдерживать суммарный ток короткого замыкания.
Кабели, конструкции которых обеспечивают радиальную водонепроницаемость, как правило, включают в себя следующие элементы:
- бесшовные металлические оболочки;
- продольно наложенные металлические ленты или фольгу, обладающие адгезией к наружной оболочке:
- CD: конструкция металлического экрана, изготовленного с применением металлической ленты или фольги, с наложением сваренных или склеенных друг с другом слоев, по которым частично или полностью протекает ток короткого замыкания, и, при необходимости, с применением металлических проволок, по которым частично протекает ток короткого замыкания,
- SD: конструкция металлического экрана, изготовленного с применением многослойной металлической фольги, покрытой полимером с одной или обеих сторон для обеспечения радиальной водонепроницаемости, и металлических проволок, по которым полностью протекает ток короткого замыкания,
- SscD: конструкция металлического экрана, изготовленного с применением тонкой свинцовой или алюминиевой фольги, покрытой клеем с наружной стороны и электропроводящим полимером с внутренней стороны, наложенной поверх слоя электропроводящей ленты, которая оборачивается вокруг слоя медных круглых проволок. Как правило, применяют алюминиевую фольгу и электропроводящий полимер толщиной 0,05 мм каждый.
Примечание 1 - Определения конструкций металлических экранов CD, SD и SscD приведены в 3.3.3, 3.3.4 и 3.3.5;
- составные экраны, включающие в себя повив из проволок и либо металлическую оболочку, либо металлическую ленту или фольгу, обладающие адгезией к наружной оболочке и служащие водонепроницаемым барьером (см. раздел 5).
Примечание 2 - Во время разработки конструкции кабеля или кабельной системы с продольно наложенной металлической лентой или фольгой, обладающей адгезией к наружной оболочке, рекомендуется проводить испытания по IEC TR 61901.
Кабели, конструкции которых не обеспечивают радиальную водонепроницаемость, включают в себя:
- металлические ленты или фольгу, не обладающие адгезией к наружной оболочке;
- только слой металлических проволок.
4.4 Материалы наружных оболочек кабелей
В настоящем стандарте установлены методы испытаний кабелей с наружными оболочками из материалов следующих типов:
- ST1 и ST2 на основе поливинилхлоридного пластиката (ПВХ);
- ST3 и ST7 на основе полиэтилена (ПЭ);
- ST12 на основе безгалогенного полимера с низким уровнем дымовыделения (LSHF).
Тип наружной оболочки выбирают в зависимости от конструкции кабеля, механических, тепловых и пожарных воздействий на него в процессе прокладки и эксплуатации.
Максимально допустимые значения температуры токопроводящей жилы для нормальных условий эксплуатации кабелей с наружными оболочками из разных типов компаундов приведены в таблице 2.
|
Материал наружной оболочки |
Условное обозначение материала (типа) |
Максимальная температура нагрева жилы при нормальных условиях эксплуатации, °C |
|
Поливинилхлоридный пластикат (ПВХ) |
ST1 |
80 |
|
ST2 |
90 | |
|
Полиэтилен (ПЭ) |
ST3 |
80 |
|
ST7 |
90 | |
|
Безгалогенный полимер с низким дымовыделением (LSHF) |
ST12 |
90 |
Если предполагается, что воздействие ультрафиолетового излучения (УФ-излучения) приведет к ухудшению характеристик наружной оболочки, то защиту наружной оболочки от УФ-излучения устанавливают по согласованию между изготовителем и заказчиком (потребителем). Наружные оболочки из черного ПЭ, содержащие требуемое количество дисперсированной сажи (см. таблицу 5), защищены от УФ излучения.
Примечания
1 При прокладке в воздухе, например в туннелях и зданиях, рекомендуется применять безгалогенный, пожаробезопасный кабель с низким уровнем дымовыделения. В этих случаях допускается применять кабель с наружной оболочкой типа ST12 (LSHF).
2 В некоторых случаях наружную оболочку кабеля допускается покрывать слоем, обладающим дополнительной функцией (например, электропроводящей).
4.5 Округление чисел
Порядок округления чисел, приведенный в приложении B, применяют при округлении чисел и значений, полученных по результатам испытаний, проведенных в соответствии с настоящим стандартом.
Для кабельных систем, проложенных в грунте, легко затапливаемых туннелях или воде, рекомендуется применять кабель с радиальным водонепроницаемым слоем (радиальная герметизация кабеля).
Допускается применять кабель с продольным водонепроницаемым слоем во избежание замены больших участков кабеля при его повреждении вследствие проникновения воды.
Метод испытаний кабеля на продольное проникновение влаги (водонепроницаемость) приведен в 12.5.15.
Примечание - Метод испытаний на радиальное проникновение влаги в кабель не разработан.
Для проведения испытаний кабеля или кабельной системы, а также регистрации результатов испытаний кабель или кабельную систему следует идентифицировать. Для этого изготовитель должен указать следующие данные:
a) наименование изготовителя, тип кабеля, его обозначение и дату изготовления (дату последней фазы процесса изготовления) или кодировку даты;
b) номинальное напряжение - значения U0, U, Um (см. 4.1 и 8.4);
c) пожароопасность: материал наружной оболочки типа ST1, ST2 или ST12 в соответствии с 12.5.14.
Примечание - Пожароопасность кабеля зависит как от конструкции, так и от материала наружной оболочки кабеля;
d) тип токопроводящей жилы, материал, из которого она изготовлена, номинальное сечение, мм2; конструкция жилы; меры, предпринятые для уменьшения поверхностного эффекта; возможное наличие и характер мер, предпринятых для обеспечения продольной водонепроницаемости; электрическое сопротивление жилы постоянному току, пересчитанное на 1 км длины кабеля и температуру 20 °C, если номинальное сечение жил не соответствует требованиям МЭК 60228;
e) изоляционный материал в соответствии с таблицей 1 и номинальную толщину tn изоляции по 4.2. Если изоляция выполнена из сшитого полиэтилена (СПЭ), то при превышении значения тангенса угла диэлектрических потерь tgδ, приведенного в таблице 3, следует указать примененные специальные добавки;
f) способ наложения изоляции;
g) меры (при наличии), применяемые для обеспечения герметичности экрана;
h) металлический экран/оболочку:
- конструктивные особенности металлического экрана, например материал и конструкцию металлического экрана, число и диаметр проволок. Материал, конструкцию и номинальную толщину металлической оболочки или продольно наложенной металлической ленты или фольги, обладающих адгезией к наружной оболочке (при наличии); тип металлического экрана (CD, или SD, или SscD) для кабелей с продольно наложенной металлической лентой или фольгой, обладающей адгезией к наружной оболочке,
- максимальное сопротивление металлического экрана постоянному току;
i) компаунд (в соответствии с таблицей 2) и номинальную толщину наружной оболочки, а также тип и материал электропроводящего покрытия (при наличии);
j) номинальный диаметр d токопроводящей жилы;
k) номинальный наружный диаметр D кабеля;
l) номинальный внутренний диаметр dii и расчетное значение номинального наружного диаметра Dio изоляции;
m) номинальную емкость между жилой и экраном или металлической оболочкой, приведенную к 1 км длины кабеля;
n) расчетные значения номинальной напряженности электрического поля на экране по жиле Ei и экране по изоляции Eo, вычисленные по формулам:
;
,
где Dio = dii + 2tn;
Dio - расчетное значение номинального наружного диаметра изоляции, мм;
dii - номинальный внутренний диаметр изоляции, мм;
tn - номинальная толщина изоляции, мм.
|
Обозначение изоляционного материала (см. 4.2) |
ПЭ |
ПЭВП |
ЭПР/ВЭПР |
СПЭ |
|
Максимальное значение tgδ 10-4 |
10 |
10 |
50 |
10 |
|
Для кабелей с изоляцией на основе СПЭ, содержащего специальные добавки, максимальное значение tgδ = 50·10-4. | ||||
Значение U0 приведено в таблице 4.
В киловольтах
|
Номинальное напряжение |
Максимальное напряжение для оборудования Um |
Значение U0 для определения испытательного напряжения U0 |
Испытание напряжением по 9.3 2,5U0 |
Измерение частичных разрядов по 9.2 и 12.4.4 1,5U0 |
Измерение tgδ по 12.4.5 U0 |
Испытание напряжением с циклами нагрева по 12.4.6 2U0 |
Испытание грозовым импульсным напряжением по 10.12, 12.4.7 и 13.2.5 |
Испытание напряжением по 12.4.7 2,5U0 |
Испытание напряжением после прокладки по 16.3 |
|
От 45 до 47 |
52 |
26 |
65 |
39 |
26 |
52 |
250 |
65 |
52 |
|
От 60 до 69 |
72,5 |
36 |
90 |
54 |
36 |
72 |
325 |
90 |
72 |
|
От 110 до 115 |
123 |
64 |
160 |
96 |
64 |
128 |
550 |
160 |
128 |
|
От 132 до 138 |
145 |
76 |
190 |
114 |
76 |
152 |
650 |
190 |
132 |
|
От 150 до 161 |
170 |
87 |
218 |
131 |
87 |
174 |
750 |
218 |
150 |
|
При необходимости значения испытательных напряжений допускается корректировать в соответствии с 12.4.1. При необходимости значения испытательных напряжений допускается корректировать в соответствии с 16.3. | |||||||||
Если расчетное значение номинальной напряженности электрического поля на экране токопроводящей жилы превышает 8,0 кВ/мм и/или расчетное значение номинальной напряженности электрического поля на экране изоляции превышает 4,0 кВ/мм, то следует провести предквалификационные испытания в соответствии с разделом 13;
o) конструкцию любого(ых) встроенного(ых) оптического(их) элемента(ов) (при наличии);
p) необходимость проведения предквалификационных испытаний кабельной системы и/или подробный(ые) протокол(ы) о проведенных соответствующих предквалификационных испытаниях (при наличии).
7.1 Концевые муфты кабеля для применения в газовой изоляции
Концевые муфты кабеля для использования в газовой изоляции в устройствах на номинальное напряжение свыше 52 кВ должны соответствовать МЭК 62271-209.
7.2 Композитные изоляторы концевых муфт наружной установки
Для проведения испытаний должна быть указана максимальная механическая нагрузка (ММН) композитных изоляторов концевых муфт наружной установки, соответствующая уровню I или II по таблице 10. Для испытаний применяют ММН уровня I, соответствующую нормальным условиям эксплуатации, за исключением случаев, когда заказчик (потребитель) оговаривает применение ММН уровня II. Иное значение ММН может быть установлено по согласованию между заказчиком (потребителем) и изготовителем.
7.3 Данные для идентификации арматуры
Для проведения испытаний кабелей и кабельных систем или арматуры к ним и регистрации результатов испытаний кабельная арматура должна быть идентифицирована.
Для этого изготовитель должен указать следующие данные:
a) идентификационные данные кабеля, применяемого для испытаний арматуры, в соответствии с разделом 6;
b) схему испытаний с указанием всех особенностей испытаний, проводимых в соответствии с H.1 (приложение H);
c) информацию о соединениях жил и металлических экранов, используемых в арматуре:
- технологию монтажа,
- тип, ссылочный номер и любую другую характеристику соединителя(ей) или другого(их) устройства (устройств) для соединения жил,
- подробное описание типового испытания соединителя (если его используют);
d) идентификационные данные арматуры:
- наименования изготовителя,
- тип, обозначение, дата изготовления или кодировка даты,
- номинальное напряжение [см. раздел 6, перечисление b)],
- тип материала резиновых частей главного изолятора [например, силиконовая резина или этилен-пропилен-диеновый каучук (EPDM)],
- тип материала электроизоляционного жидкого заполнителя (при наличии),
- тип наружной защиты муфты,
- наличие изоляции для секционирования оболочки (если требуется),
- наличие инструкции по монтажу (ссылки и даты);
e) дополнительные данные о концевых муфтах, применяемых в газовой среде:
- подтверждение совместимости и возможности установки изолятора концевой муфты в коммутационное оборудование перед поставкой на объект;
- рекомендации по проведению приемо-сдаточных испытаний коммутационного оборудования без кабеля (при необходимости);
f) дополнительные данные о композитных изоляторах концевых муфт наружного применения:
- значение ММН для композитного изолятора по 7.2;
- максимальное эксплуатационное давление (МЭД) для изоляторов, которые в процессе эксплуатации будут находиться под избыточным давлением.
8.1 Температура окружающей среды
Испытания проводят при температуре окружающей среды (20 ± 15) °C, если в конкретном методе испытания не указано иное.
8.2 Испытание высоким напряжением
Если не указано иное, то испытания высоким напряжением проводят в соответствии с МЭК 60060-1. Испытания высоким напряжением в соответствии с настоящим стандартом - это испытания на устойчивость к высоким напряжениям.
К значениям испытательного напряжения не применяют "атмосферную коррекцию для сухих испытаний" (см. МЭК 60060-1:2010, 4.3).
Форма волны испытательного напряжения должна быть практически синусоидальной. Значения испытательного напряжения являются среднеквадратичными.
8.3 Форма волны испытательного грозового импульсного напряжения
Длительность фронта напряжения стандартного грозового импульса должна быть в диапазоне 1 - 5 мкс (см. МЭК 60230). Время спада до половины пикового значения напряжения импульса должно быть (50 ± 10) мк в соответствии с МЭК 60060-1.
8.4 Зависимость между испытательными и номинальными напряжениями
Если испытательное напряжение нормировано как кратное номинальному напряжению U0, то для определения испытательного напряжения значение U0 должно соответствовать указанному в таблице 4.
Для кабелей и арматуры, номинальное напряжение которых не приведено в таблице 4, значение U0 для определения испытательного напряжения допускается выбирать из ближайшего ряда при условии, что значение Um для кабеля и арматуры не превышает соответствующего значения из таблицы 4. Если номинальное напряжение не приближается ни к одному из значений в таблице 4, то значение U0, являющееся основой испытательного напряжения, должно быть равно номинальному значению, то есть значению U, деленному на √3. Значения испытательного напряжения устанавливают путем расчета с использованием множителей, указанных в таблице 4, или интерполяции, если множители не указаны.
Испытательные напряжения в соответствии с настоящим стандартом основаны на предположении о том, что кабели и арматуру применяют в сетях категории A или B по МЭК 60183.
8.5 Определение температуры токопроводящей жилы кабеля
Для определения фактической температуры токопроводящей жилы кабеля рекомендуется использовать один из методов испытаний, приведенных в приложении A.
9.1 Общие положения
На всех строительных длинах кабеля должны быть проведены следующие испытания:
a) измерение частичных разрядов по 9.2;
b) испытание напряжением по 9.3;
c) электрическое испытание наружной оболочки (если требуется) по 9.4.
Последовательность проведения испытаний устанавливает изготовитель.
Основная изоляция каждой предварительно изготовленной арматуры должна выдерживать испытания с измерением частичных разрядов по 9.2 и напряжением по 9.3 в соответствии с одним из вариантов испытаний:
1) на арматуре, смонтированной на кабеле;
2) с использованием основной арматуры, в которую введен испытуемый элемент взамен элемента, предназначенного для этой арматуры;
3) с использованием моделирующего устройства арматуры, в котором воспроизведены условия по напряженности электрического поля, соответствующие основной изоляции.
Для испытаний по перечислениям 2) и 3) испытательное напряжение следует выбирать так, чтобы напряженности электрического поля соответствовали, по крайней мере, тем, которые будут приложены к элементу готовой арматуры с испытательным напряжением по 9.2 и 9.3.
На изоляторе концевой муфты в газовой среде также проводят приемо-сдаточные испытания в соответствии с МЭК 62271-209.
Комбинированные изоляторы концевых муфт наружной установки, на которые в процессе эксплуатации возможно воздействие внутреннего давления газа, подвергают испытанию на гидравлическое давление или давление газа [например, воздуха, элегаза (SF6), гелия], равное 2,0 МЭД (максимального рабочего давления при эксплуатации), не менее 1 мин. Испытание проводят при нормальных атмосферном давлении и температуре окружающей среды. Во время испытаний не должно произойти повреждения изолятора.
Приемо-сдаточные испытания не применяют к термоусаживаемой или холодноусаживаемой арматуре или арматуре с ленточной намоткой и/или прессованием на месте монтажа.
Примечание - Основная изоляция предварительно изготовленной арматуры состоит из элементов, которые непосредственно контактируют с изоляцией кабеля или они необходимы для распределения электрического поля в арматуре. Например, изоляционные элементы из эластомера или эпоксидной смолы, предварительно отлитые в заводских условиях, которые можно использовать отдельно или совместно для обеспечения изоляции и экранирования арматуры.
9.2 Измерение частичных разрядов
Измерение частичных разрядов проводят в соответствии с МЭК 60885-3 для кабелей, за исключением того, что значения чувствительности, определенные по МЭК 60885-3, должны быть 10 пКл или выше. Испытание арматуры проводят этим же методом, но чувствительность должна быть 5 пКл или выше.
Испытательное напряжение постепенно поднимают до значения 1,75U0, выдерживают в течение 10 с и затем постепенно снижают до значения 1,5U0 в соответствии с графой 5 таблицы 4.
При значении напряжения 1,5U0 не должны быть зафиксированы разряды от испытуемого образца, превышающие заявленную чувствительность.
9.3 Испытание напряжением
Испытание проводят путем воздействия напряжения переменного тока промышленной частоты на образец при температуре окружающей среды.
Испытательное напряжение между жилой и экраном или металлической оболочкой постепенно поднимают до значения 2,5U0, выдерживают при этом значении в течение 30 мин в соответствии с графой 4 таблицы 4.
Во время испытания не должно произойти пробоя изоляции.
9.4 Испытание напряжением наружной оболочки кабеля
Если такое требование содержится в контракте, то проводят испытание напряжением наружной оболочки кабеля по МЭК 60229:2007 (раздел 3).
10.1 Общие положения
Следующие испытания проводят на образцах кабеля, отобранных в качестве представителей от изготовленных партий кабелей, при этом испытания по перечислениям b) и g) допускается проводить на строительных длинах кабеля, намотанных на барабан:
a) проверка токопроводящей жилы - по 10.4;
b) измерение электрического сопротивления жилы и металлического экрана - по 10,5;
c) измерение толщины изоляции и наружной оболочки кабеля - по 10.6;
d) измерение толщины металлической оболочки кабеля - по 10.7;
e) измерение диаметров жилы и/или наружного диаметра кабеля (если требуется) - по 10.8;
f) испытание на тепловую деформацию изоляции из СПЭ, этиленпропиленовой резины (ЭПР) и высокомодульной этиленпропиленовой резины (ВЭПР) - по 10.9;
g) измерение емкости - по 10.10;
h) определение плотности изоляции из полиэтилена высокой плотности (ПЭВП) - по 10.11;
i) испытание грозовым импульсным напряжением кабеля с расчетным значением номинальной напряженности электрического поля на экране токопроводящей жилы более 8,0 кВ/мм в соответствии с разделом 6, перечисление n) - по 10.12;
j) испытание на водонепроницаемость (если требуется) - по 10.13;
k) испытание на элементах конструкции кабеля с продольно наложенной металлической лентой или фольгой, обладающей адгезией к наружной оболочке, - по 10.14.
10.2 Периодичность испытаний
Испытания по перечислениям a) - h) и перечислению k) 10.1 проводят на образцах одной строительной длины, отобранных от каждой изготовляемой партии (промышленной серии) кабелей одного типа и номинального сечения. При этом число испытуемых образцов строительных длин должно быть не более 10% от общего числа длин кабеля, поставляемого по одному контракту. Число образцов строительных длин округляют до ближайшего большего числа.
Испытания по перечислениям i) и j) 10.1 проводят с периодичностью, указанной в нормативных документах по контролю качества. Если такие документы отсутствуют, то достаточно провести одно испытание даже при поставке кабеля длиной более 20 км.
10.3 Повторные испытания
При получении неудовлетворительных результатов испытаний хотя бы в одном из методов, перечисленных в 10.1, отбирают новые образцы кабеля двух других строительных длин той же партии и подвергают тем же испытаниям, в которых на первых образцах получены неудовлетворительные результаты. Если результаты испытаний на новых образцах будут удовлетворительными, то всю партию кабеля, от которой они были отобраны, рассматривают как соответствующую требованиям настоящего стандарта. При получении неудовлетворительного результата испытаний хотя бы одного образца, отобранного от кабеля одной из этих строительных длин, партию кабеля считают не соответствующей требованиям настоящего стандарта.
10.4 Проверка токопроводящей жилы
Соответствие конструкции токопроводящих жил требованиям МЭК 60228 или конструкции жилы, приведенной в нормативном документе на конкретное изделие, проверяют внешним осмотром или (если возможно) измерением.
10.5 Измерение электрического сопротивления жилы и металлического экрана
Строительную длину кабеля или отобранный от нее образец размещают в испытательной камере и выдерживают до начала испытания при постоянной температуре не менее 12 ч. Если отсутствует уверенность в том, что температура жилы или металлического экрана сравнялась с температурой в испытательной камере, то электрическое сопротивление следует измерять после выдержки в испытательной камере не менее 24 ч. Допускается измерять электрическое сопротивление жилы или металлического экрана на образце после выдержки в ванне с водой с регулируемой температурой не менее 1 ч.
Электрическое сопротивление жилы постоянному току пересчитывают на длину 1 км кабеля и температуру 20 °C, используя формулы и коэффициенты, приведенные в МЭК 60228. Для всех экранов, кроме медных или алюминиевых, следует выбирать температурные коэффициенты и поправки к формулам в соответствии с МЭК 60287-1-1:2006 (пункт 2.1.1, таблица 1).
Скорректированное значение электрического сопротивления токопроводящей жилы постоянному току при температуре 20 °C должно быть не более соответствующего максимального значения электрического сопротивления, приведенного в МЭК 60228. Если максимальное значение электрического сопротивления токопроводящей жилы постоянному току соответствует указанному в перечислении d) раздела 6, то скорректированное значение электрического сопротивления жилы постоянному току при температуре 20 °C должно быть не более значения, указанного в нормативном документе на кабель конкретного типа.
Скорректированное значение электрического сопротивления металлического экрана постоянному току при температуре 20 °C не должно быть более значения, указанного в нормативном документе на кабель конкретного типа.
10.6 Измерение толщины изоляции и наружной оболочки кабеля
10.6.1 Общие положения
Применяют метод измерений толщины изоляции кабеля по МЭК 60811-201. Для измерений толщины наружной оболочки кабеля применяют метод по МЭК 60811-202:2012 с Изменением N 1, 2017, за исключением случаев, когда измерения толщины наружных оболочек кабеля, наложенных на практически гладкую поверхность, допускается проводить с использованием микрометра с радиусом сферического наконечника 2,5 - 3 мм. Точность измерений микрометра должна быть ± 0,01 мм.
От одного конца кабеля каждой отобранной для испытаний строительной длины отбирают образец после удаления, при необходимости, поврежденных частей.
10.6.2 Требования к изоляции кабеля после испытаний
Наименьшее значение толщины изоляции кабеля tmin, полученное при измерении, должно быть не менее 90% значения номинальной толщины
tmin ≥ 0,90tn
кроме того,
,
где tmax - максимальная измеренная толщина изоляции кабеля, мм;
tmin - минимальная измеренная толщина изоляции кабеля, мм;
tn - номинальная толщина изоляции кабеля, мм.
Примечание - tmax и tmin являются значениями, измеренными на одном срезе изоляции.
Значение толщины электропроводящих экранов, наложенных по жиле и изоляции, не следует включать в значение толщины изоляции.
10.6.3 Требования к наружной оболочке кабеля после испытаний
Наименьшее значение толщины наружной оболочки кабеля tmin должно быть не менее значения, полученного путем вычитания 0,1 мм из 85% номинальной толщины
tmin ≥ 0,85tn - 0,1.
Для наружных оболочек кабеля, наложенных на практически гладкую поверхность, среднее значение измерений, округленное до 0,1 мм, должно быть не менее значения номинальной толщины.
Данное требование не распространяется на оболочки, наложенные на неровную поверхность, например на проволочные или ленточные металлические экраны или металлические гофрированные оболочки.
10.7 Измерение толщины металлической оболочки кабеля
10.7.1 Общие положения
Измерения кабелей с металлическими оболочками из свинца, свинцового сплава, меди или алюминия проводят по 10.7.2.1 - 10.7.2.3. Кабели с фольгой, накладываемой для радиальной водонепроницаемости, данным измерениям не подвергают.
10.7.2 Оболочка кабеля из свинца или свинцового сплава
10.7.2.1 Общие положения
Минимальная толщина металлической оболочки кабеля tmin должна быть не менее значения, полученного путем вычитания 0,1 мм из 95% номинальной толщины
tmin ≥ 0,95tn - 0,1.
Измерение толщины свинцовой оболочки проводят одним из следующих методов.
10.7.2.2 Метод измерений на плоском образце
Измерения проводят микрометром с плоскими щечками и диаметром щупов 4 - 8 мм. Погрешность измерений должна составлять ± 0,01 мм.
Измерения проводят на образце оболочки длиной приблизительно 50 мм, отобранном от кабеля. Образец разрезают продольно оси, затем выпрямляют. После очистки образца толщину образца измеряют вдоль окружности оболочки не менее чем в 10 мм от края выпрямленного образца в точках, число которых достаточно для обеспечения достоверности определения минимальной толщины оболочки.
10.7.2.3 Метод измерений на образце в виде кольца
Измерение проводят микрометром, имеющим либо одну плоскую и другую сферическую щечку, либо одну плоскую и другую прямоугольную щечку шириной 0,8 мм и длиной 2,4 мм. Сферическую или прямоугольную щечку прикладывают к внутренней поверхности кольца. Погрешность измерений должна составлять ± 0,01 мм.
Измерение проводят на оболочке в виде кольца, срезанной с образца кабеля. Толщину измеряют в точках по окружности кольца, число которых достаточно для обеспечения достоверности определения минимальной толщины оболочки.
10.7.3 Гладкая или гофрированная алюминиевая оболочка кабеля
Минимальная толщина гладкой медной или алюминиевой оболочки кабеля tmin должна быть не менее значения, полученного путем вычитания 0,1 мм из 90% номинальной толщины
tmin ≥ 0,9tn - 0,1.
Минимальная толщина гофрированной алюминиевой оболочки кабеля tmin должна быть не менее значения, полученного путем вычитания 0,1 мм из 85% номинальной толщины
tmin ≥ 0,85tn - 0,1.
Измерения проводят микрометром со сферическими щечками радиусом приблизительно 3 мм. Погрешность измерений должна составлять ± 0,01 мм.
Измерения проводят на образце наружной оболочки в виде кольца шириной приблизительно 50 мм, отобранном от кабеля. Толщину измеряют в точках по окружности кольца и на боковых концах кольца, число которых достаточно для обеспечения достоверности определения минимальной толщины оболочки.
10.7.4 Металлическая лента для конструкции CD
Минимальная толщина металлической ленты должна быть не менее 90% номинальной толщины
tmin ≥ 0,9tn.
Измерения проводят микрометром со сферическими щечками радиусом приблизительно 3 мм. Погрешность измерений должна составлять ± 0,01 мм.
Измерения проводят на образце ленты или оболочки в виде кольца шириной приблизительно 50 мм, снятого с кабеля. Толщину измеряют в точках по окружности кольца и на концах ленты, число которых достаточно для обеспечения достоверности определения минимальной толщины оболочки.
10.8 Измерение диаметра жилы и/или наружного диаметра кабеля
По требованию заказчика (потребителя) измеряют диаметр жилы и/или наружный диаметр кабеля. Измерения проводят по МЭК 60811-203.
10.9 Испытания на тепловую деформацию изоляции из сшитого полиэтилена, этиленпропиленовой резины и высокомодульной этиленпропиленовой резины
10.9.1 Метод испытаний
Отбор образцов и метод испытаний - по МЭК 60811-507, условия испытаний - по таблице 8 настоящего стандарта.
Образцы отбирают в той части изоляции, где степень сшивки считают наименьшей для используемого процесса сшивки.
10.9.2 Требования к результатам испытаний
Результаты испытаний должны соответствовать требованиям, указанным в таблице 8.
10.10 Измерение емкости
Емкость измеряют на образце кабеля между жилой и экраном или металлической оболочкой при температуре окружающей среды. Температуру окружающей среды следует регистрировать совместно с результатами испытаний.
Измеренное значение емкости должно быть пересчитано на 1 км длины кабеля и не должно превышать заявленное изготовителем номинальное значение более чем на 8%.
10.11 Определение плотности изоляции из полиэтилена высокой плотности
10.11.1 Метод испытаний
Проверка плотности изоляции из ПЭВП и отбор образцов - по МЭК 60811-606.
10.11.2 Требования к результатам испытаний
Результаты испытаний должны соответствовать требованиям, указанным в таблице 8.
10.12 Испытание грозовым импульсным напряжением
Испытания проводят только на кабеле с номинальной напряженностью электрического поля на экране токопроводящей жилы более 8,0 кВ/мм.
Испытания проводят на образце кабеля длиной не менее 10 м, исключая арматуру, при температуре нагрева токопроводящей жилы, превышающей на 5 - 10 К максимально допустимую температуру на жиле при нормальных условиях эксплуатации.
Кабельную сборку нагревают пропусканием тока по токопроводящей жиле до тех пор, пока кабель не достигнет требуемой температуры.
Если данная температура испытания не может быть достигнута, то допускается наложение дополнительной теплоизоляции на кабель. Температуру жилы следует поддерживать в установленных пределах не менее 2 ч.
Напряжение грозового импульса прикладывают в соответствии с МЭК 60230. Кабель должен выдержать без пробоя изоляции 10 положительных и 10 отрицательных импульсов напряжения в соответствии с графой 8 таблицы 4.
Во время испытаний не должно произойти пробоя изоляции.
10.13 Испытание на водонепроницаемость
Если в кабеле предусмотрены средства защиты от продольного распространения воды, то для испытаний отбирают образцы от кабеля и проводят испытания в соответствии с 12.5.15.
10.14 Дополнительные испытания элементов конструкции кабеля с продольно наложенной металлической лентой или фольгой, обладающей адгезией к наружной оболочке
Испытания кабелей с продольно наложенной металлической лентой или фольгой, обладающей адгезией к наружной оболочке, проводят по 12.5.16 на образце длиной не менее 1 м, отобранном от строительной длины кабеля.
11.1 Испытания элементов конструкции арматуры
Соответствие характеристик каждого элемента конструкции арматуры техническим условиям оценивают по протоколам испытаний изготовителя данного элемента арматуры либо внутренними испытаниями.
Изготовитель данной арматуры должен представить перечень испытаний, проводимых на каждом элементе арматуры, с указанием их периодичности.
Элементы конструкции арматуры проверяют на соответствие чертежам. Не должно быть отклонений за пределы установленных допусков.
Примечание - Учитывая, что элементы конструкции арматуры разных поставщиков отличаются друг от друга, установить общие требования к испытаниям на образцах элементов не представляется возможным.
11.2 Испытания арматуры
Если на основной изоляции арматуры затруднительно провести приемо-сдаточные испытания в соответствии с 9.1, то изготовитель должен провести следующие электрические испытания на смонтированной арматуре:
a) измерение частичных разрядов по 9.2;
b) испытание напряжением по 9.3.
Последовательность проведения испытаний устанавливает изготовитель.
Примечание - Примерами основной изоляции, на которой не проводят приемо-сдаточные испытания, являются термоусаживаемая изоляция и изоляция, намотанная из лент и/или опрессованная на месте монтажа.
Испытания проводят на одном образце каждого типа арматуры, указанного в контракте, если число единиц этого типа арматуры в соответствии с контрактом более 50.
Если образец арматуры не выдержал испытание по одному из двух вышеуказанных испытаний, то отбирают два новых образца арматуры того же типа, поставляемой по контракту, и проводят повторные испытания. Если результаты испытаний на этих двух дополнительных образцах будут удовлетворительными, то остальную арматуру этого же типа, указанную в контракте, рассматривают как соответствующую требованиям настоящего стандарта; если на арматуре одного из типов имеются дефекты, то арматуру этого типа рассматривают как не соответствующую требованиям настоящего стандарта.
12.1 Общие положения
Методы испытаний, установленные в настоящем разделе, предназначены для подтверждения соответствия эксплуатационных характеристик кабельных систем.
После успешного завершения типовых испытаний необходимость их повторного проведения отсутствует, за исключением случаев замены материалов кабеля или арматуры, изменения технологии изготовления, конструкции или расчетных значений электрических напряженностей, которые могут привести к ухудшению эксплуатационных характеристик.
Ссылки на разделы, используемые для проведения типовых испытаний кабельных систем, приведены в приложении C, таблице C.1.
Типовые испытания концевых муфт кабеля для применения в газовой среде при напряжении кабельной системы свыше 52 кВ проводят в соответствии с МЭК 62271-209 в дополнение к испытаниям, приведенным в настоящем стандарте.
Дополнительные типовые электрические испытания проводят в соответствии с МЭК 62271-209 при поставке изготовителю коммутационного оборудования изоляторов концевой муфты, предназначенной для эксплуатации в газовой среде, с целью подтверждения того, что по результатам приемо-сдаточных испытаний и испытаний, проводимых на месте эксплуатации, концевая муфта соответствует установленным требованиям.
Примечания
1 Для проведения дополнительных типовых испытаний целесообразно использовать кабель и изолятор, идентичные кабельным системам, применяемым для проведения типовых испытаний кабельной системы в соответствии с настоящим стандартом.
2 Методы испытаний концевых муфт на стойкость к воздействию атмосферных осадков или загрязнений в настоящем стандарте не установлены.
12.2 Типовые испытания на подтверждение соответствия
Если типовые испытания проведены успешно на одной или нескольких кабельных системах определенного сечения и определенного номинального напряжения и конструкции, то процедуру подтверждения соответствия распространяют также и на кабельные системы с другими сечениями, номинальным напряжением и конструкцией в соответствии с настоящим стандартом при условии выполнения требований по перечислениям a) - f) (результаты типовых испытаний, которые были успешно проведены в соответствии с предыдущим изданием настоящего стандарта, считают действительными):
a) группа напряжения должна быть не выше группы напряжения испытанной кабельной(ых) системы (систем). Кабельные системы одной группы номинального напряжения - это системы с одинаковыми значениями номинального напряжения Um, максимального напряжения оборудования и испытательного напряжения (см. графы 1 и 2 таблицы 4);
b) значение сечения токопроводящей жилы не должно превышать значения сечения жил испытанного кабеля;
c) кабель и арматура должны иметь такую же конструкцию или конструкцию, аналогичную конструкции испытанной(ых) кабельной(ых) системы (систем).
Кабели и арматуру рассматривают как обладающие аналогичной конструкцией, если тип и процесс наложения изоляции и электропроводящих на экран соответствуют испытанной(ым) кабельной(ым) системе (системам).
Типовые электрические испытания не повторяют из-за различий в типе или в материале жилы или соединениях, или защитных покрытий, наложенных на экран по изоляции жилы, или по основной изоляции арматуры, если эти различия не могут оказать значительного воздействия на результаты испытаний. В отдельных случаях, например при подключении трехжильных кабелей, может появиться необходимость повторения одного или нескольких этапов типовых испытаний (например, испытания на изгиб, циклами нагрева и/или совместимость);
d) расчетные значения напряженности электрического поля при номинальном и импульсном напряжении на экране по жиле, рассчитанные с использованием номинальных размеров, не должны превышать соответствующие расчетные значения напряженности электрического поля испытанной(ых) кабельной(ых) системы (систем) более чем на 10%;
e) расчетные значения напряженности электрического поля при номинальном и импульсном напряжении на экране по изоляции, рассчитанные с использованием номинальных размеров, не должны превышать соответствующие значения напряженности электрического поля испытанной(ых) кабельной(ых) системы (систем);
f) расчетные значения напряженности электрического поля при номинальном и импульсном напряжении на частях основной изоляции арматуры и на поверхности соприкосновения изоляции кабеля и арматуры, рассчитанные с использованием номинальных размеров, не должны превышать соответствующие значения напряженности электрического поля испытанной(ых) кабельной(ых) системы (систем);
g) для изоляторов штекерных разъемных соединителей типа "plug-in" полное соответствие требованиям должно быть возможным только для одной и той же комбинации изолятора, разъемного соединителя и кабеля, использованных при типовом испытании.
Заказчику (потребителю) должна быть представлена информация о том, что характеристики и совместимость разъемного соединителя следует проверять, если изолятор, установленный в разъемный соединитель, отличается от изолятора, использованного в изолированной концевой муфте при проведении квалификационного испытания.
Для распространения результатов испытаний по подтверждению соответствия на другие комбинации разъемных соединителей и проходных изоляторов с целью обеспечения взаимозаменяемости вводов следует повторить одно или более типовых электрических испытаний (например, измерение частичных разрядов).
Типовые испытания элементов конструкции кабеля по 12.5 не проводят на образцах кабеля с различными номинальными напряжениями и/или сечениями жилы, если для их изготовления не применены различные материалы и/или разные технологические процессы. При необходимости по согласованию между изготовителем и заказчиком (потребителем) проводят повторное испытание на старение кабеля для определения совместимости материалов по 12.5.5, если сочетание материалов, наложенных по изолированной жиле, отличается от сочетания материалов кабеля, на котором ранее были проведены типовые испытания.
Доказательной базой проведения типовых испытаний являются свидетельство или протокол по результатам проведения типовых испытаний, подписанные представителем компетентного контрольного органа, или протокол, составленный изготовителем, в котором представлены результаты испытаний, и подписанный ответственным лицом, или протокол типовых испытаний, выданный независимой испытательной лабораторией.
12.3 Требования к типовым испытаниям
В типовые испытания должны быть включены электрические испытания кабельной системы по 12.4 и неэлектрические испытания элементов конструкции кабеля и кабеля по 12.5.
Информация для каждого типа материала изоляции и наружной оболочки приведена в таблицах 5 и 9. Испытания кабелей в условиях воздействия пламени проводят только в том случае, если изготовитель намерен заявить о способности кабеля выдерживать эти испытания как об особенности характеристик конструкции кабеля.
|
Условное обозначение изоляционного материала (см. 4.2 и 4.4) |
Изоляция |
Наружная оболочка | ||||||||
|
ПЭ |
ПЭВП |
ЭПР |
ВЭПР |
СПЭ |
ST1 |
ST2 |
ST3 |
ST7 |
ST12 | |
|
Проверка конструкции; испытание на водонепроницаемость |
Применяют независимо от материалов изоляции и наружной оболочки | |||||||||
|
Механические характеристики (прочность при разрыве и относительное удлинение при разрыве): | ||||||||||
|
a) до старения |
x |
x |
x |
x |
x |
x |
x |
x |
x |
x |
|
b) после старения в термостате |
x |
x |
x |
x |
x |
x |
x |
x |
x |
x |
|
c) после старения кабеля (испытание на совместимость) |
x |
x |
x |
x |
x |
x |
x |
x |
x |
x |
|
Испытание под давлением при высокой температуре |
- |
- |
- |
- |
- |
x |
x |
- |
x |
x |
|
Стойкость к воздействию низкой температуры: | ||||||||||
|
a) испытание на удлинение при низкой температуре |
- |
- |
- |
- |
- |
x |
x |
- |
- |
x |
|
b) испытание на удар при низкой температуре |
- |
- |
- |
- |
- |
x |
x |
- |
- |
x |
|
Испытание на потерю массы в термостате |
- |
- |
- |
- |
- |
- |
x |
- |
- |
- |
|
Испытание на тепловой удар |
- |
- |
- |
- |
- |
x |
x |
- |
- |
- |
|
Испытание на озоностойкость |
- |
- |
x |
x |
- |
- |
- |
- |
- |
- |
|
Испытание на тепловую деформацию |
- |
- |
x |
x |
x |
- |
- |
- |
- |
- |
|
Измерение плотности |
- |
x |
- |
- |
- |
- |
- |
- |
- |
- |
|
Определение содержания сажи |
- |
- |
- |
- |
- |
- |
- |
x |
x |
- |
|
Испытание на усадку |
x |
x |
- |
- |
x |
- |
- |
x |
x |
x |
|
Определение твердости |
- |
- |
- |
x |
- |
- |
- |
- |
- |
- |
|
Определение модуля упругости |
- |
- |
- |
x |
- |
- |
- |
- |
- |
- |
|
Определение значения pH |
- |
- |
- |
- |
- |
- |
- |
- |
- |
x |
|
Испытание на электропроводимость |
- |
- |
- |
- |
- |
- |
- |
- |
- |
x |
|
В настоящей таблице применены следующие обозначения: - знак "x" - обязательное проведение испытания; - знак "-" - испытание не проводят. Требование распространяется на кабели, в конструкциях которых предусмотрены барьеры, препятствующие продольному проникновению воды. Только для кабелей с наружными оболочками черного цвета. | ||||||||||
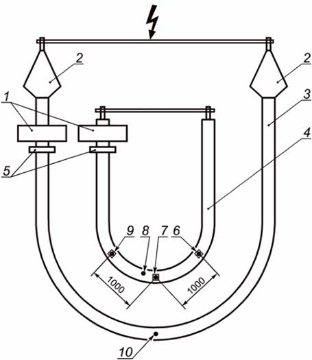
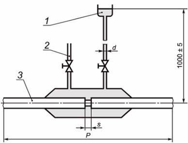
Испытания по 12.4.2 проводят на одном или нескольких образцах кабеля в зависимости от числа примененной арматуры. Длина образца без арматуры - не менее 10 м.
Длина кабеля между смонтированной арматурой должна быть не менее 5 м.
Арматуру следует монтировать после проведения испытаний кабеля на изгиб. Испытания проводят на образце арматуры каждого типа.
Арматуру монтируют на кабеле по инструкциям изготовителя с соответствующим качеством и количеством материалов, входящих в поставку, в том числе смазочных материалов (при наличии).
Наружная поверхность арматуры должна быть сухой и чистой. Кабели и арматура не должны подвергаться никаким способам кондиционирования, не указанным в инструкции изготовителя, во избежание изменения электрических, тепловых или механических характеристик.
При испытаниях по перечислениям c) - g) 12.4.2 соединительная муфта должна иметь наружную защиту.
Измерение удельного электрического сопротивления электропроводящих полимерных экранов по 12.4.9 проводят на отдельном образце.
12.4 Типовые электрические испытания кабельных систем
12.4.1 Значения испытательного напряжения
Перед проведением типовых электрических испытаний измеряют толщину изоляции в соответствии с МЭК 60811-201 на отрезке кабеля длиной, необходимой для испытаний, с целью подтверждения того, что среднее значение толщины изоляции не превышает номинальное значение.
Если средняя толщина изоляции не превышает номинальное значение более чем на 5%, то значение испытательного напряжения должно быть равно значению, приведенному в таблице 4 для номинального напряжения кабеля.
Если средняя толщина изоляции превышает номинальное значение более чем на 5%, не выходя за пределы 15%, то испытательное напряжение должно быть скорректировано таким образом, чтобы напряженность электрического поля на экране по жиле была равна напряженности электрического поля, которая была бы получена при средней толщине изоляции, равной номинальному значению, и испытательное напряжение имело бы стандартное значение, нормированное для номинального напряжения кабеля.
Средняя толщина изоляции отрезка кабеля, используемого для типовых электрических испытаний, не должна превышать номинальное значение более чем на 15%.
12.4.2 Последовательность испытаний
Испытания по перечислениям a) - h) проводят в следующем порядке:
a) испытание кабеля на изгиб - по 12.4.3 с последующим внешним осмотром, монтажом арматуры (при необходимости) и измерением частичных разрядов при температуре окружающей среды по 12.4.4;
b) измерение тангенса угла диэлектрических потерь - по 12.4.5.
Данное испытание допускается проводить на другом образце кабеля, отобранном из этой же производственной партии, оснащенного концевыми муфтами, которые могут отличаться от концевых муфт, используемых для остальных испытаний;
c) испытание напряжением с циклами нагрева - по 12.4.6;
d) измерение частичных разрядов - по 12.4.4:
- при температуре окружающей среды;
- при высокой температуре.
Измерения проводят после последнего цикла нагрева по перечислению c) или после испытаний грозовым импульсным напряжением по перечислению e);
e) испытание грозовым импульсным напряжением с последующим испытанием напряжением переменного тока промышленной частоты по 12.4.7;
f) измерение частичных разрядов, если оно не было проведено по перечислению d);
g) дополнительные типовые испытания арматуры (см. приложение H);
h) внешний осмотр кабельной системы, состоящей из кабеля и арматуры, проводят по 12.4.8 после выполнения комплекса вышеприведенных испытаний;
i) измерение удельного электрического сопротивления электропроводящих полимерных экранов - по 12.4.9 (измерения проводят на отдельном образце).
Значения испытательных напряжений должны соответствовать значениям, приведенным в таблице 4.
12.4.3 Испытание на изгиб
Для проведения испытаний образец кабеля навивают на цилиндр (например, на шейку кабельного барабана) не менее чем одним полным витком и разматывают без осевого вращения при температуре окружающей среды. Данную процедуру повторяют при повороте образца на 180°.
Цикл операций выполняют три раза.
Номинальный диаметр цилиндра для испытания должен быть:
1) для кабелей с гладкой, не гофрированной медной или алюминиевой оболочкой:
- 36(d + D) - для одножильных кабелей,
- 25(d + D) - для трехжильных кабелей;
2) для кабелей с оболочкой из свинца, свинцового сплава или с металлической гофрированной оболочкой:
- 25(d + D) - для одножильных кабелей,
- 20(d + D) - для трехжильных кабелей;
3) для кабелей с оболочкой из металлической ленты или фольги, наложенной продольно (с перекрытием или методом сварки) и обладающей адгезией к наружной оболочке:
- 20(D + d) для CD,
- 25(D + d) для SD и CD плюс проволока,
- 10Ds для SscD;
4) для других кабелей:
- 20(d + D) для одножильных кабелей,
- 15(d + D) для трехжильных кабелей,
где d - номинальный диаметр токопроводящей жилы, мм [см. перечисление j) раздела 6];
D - номинальный наружный диаметр кабеля, мм [см. перечисление k) раздела 6];
Ds - номинальный диаметр слоя металлического экрана/оболочки, мм.
Допустимая погрешность измерений диаметра испытательного цилиндра составляет от -0% до +5% значения номинального диаметра. Диаметры изгиба меньшего размера допускается использовать по усмотрению изготовителя.
После завершения трех циклов изгиба кабелей с ламинированной металлической лентой или фольгой проводят их внешний осмотр в соответствии с разделом G.1 (приложение G).
12.4.4 Измерение частичных разрядов
Испытание проводят в соответствии с МЭК 60885-3 со значением чувствительности не менее 5 пКл.
Испытательное напряжение постепенно повышают и поддерживают на уровне 1,75U0 в течение 10 с, затем медленно снижают до 1,5U0 (см. графу 5 таблицы 4).
Испытание проводят на сборке при температуре жилы кабеля на 5 - 10 К выше максимальной температуры нагрева жилы кабеля при нормальных условиях эксплуатации. Температуру жилы кабеля следует удерживать в указанных пределах температур не менее 2 ч. Кабельную сборку нагревают пропусканием тока по жиле кабеля.
Если температура испытания не может быть достигнута, то допускается наложение дополнительной термоизоляции на кабель.
При испытательном значении напряжения, равном 1,5U0, от испытуемого образца не должно быть обнаружено разрядов, превышающих заявленную чувствительность.
12.4.5 Измерение тангенса угла диэлектрических потерь
Нагрев образца следует проводить пропусканием тока по жиле; температуру на жиле определяют либо измерением электрического сопротивления, либо термодатчиками, установленными на поверхности экрана или оболочки, либо термодатчиками, установленными на жиле другого образца того же кабеля, нагретого этим же способом.
Образец нагревают таким образом, чтобы температура жилы была на 5 - 10 К выше максимальной температуры нагрева жилы при нормальных условиях эксплуатации.
Если температура испытания не может быть достигнута, то допускается наложение дополнительной термоизоляции на кабель.
Температуру на жиле следует поддерживать в указанных пределах температур не менее 2 ч.
Значение tgδ измеряют при напряжении U0 промышленной частоты и вышеуказанной температуре (см. графу 6 таблицы 4).
Измеренное значение tgδ должно быть не более значения, приведенного в таблице 3.
12.4.6 Испытание напряжением с циклами нагрева
Кабель должен быть изогнут в виде буквы U и иметь диаметр не более диаметра испытательного цилиндра, включая допуск +5%, как указано в 12.4.3.
Нагрев сборки кабеля следует проводить пропусканием тока по жиле таким образом, чтобы температура жилы была на 5 - 10 К выше максимальной температуры нагрева жилы при нормальных условиях эксплуатации.
Если температура испытания не может быть достигнута, то допускается наложение дополнительной термоизоляции на кабель. Нагрев проводят не менее 8 ч. Температуру жилы поддерживают в указанных пределах температур в течение не менее 2 ч во время каждого периода нагрева. Затем сборку кабеля оставляют остывать естественным путем не менее 16 ч до достижения температуры жилы 30 °C или значения, не превышающего значения температуры окружающей среды более чем на 10 К, в зависимости от того, какое значение больше. Регистрируют ток в жиле в течение двух последних часов каждого цикла нагрева.
Проводят 20 циклов нагрева и охлаждения.
В течение всего периода испытания к сборке кабеля должно быть приложено напряжение 2U0 (см. графу 7 таблицы 4).
Цикл нагрева, при котором температура токопроводящей жилы превышает максимальную температуру токопроводящей жилы при нормальных условиях эксплуатации более чем на 10 К также считают удовлетворяющим условиям испытаний.
Допускается прерывание испытаний при условии проведения в общей сложности полных 20 циклов нагрева под напряжением.
12.4.7 Испытание грозовым импульсным напряжением с последующим испытанием напряжением переменного тока промышленной частоты
Испытания проводят на сборке кабеля при нагреве пропусканием тока по жиле при температуре жилы, на 5 - 10 К превышающей максимальную температуру нагрева жилы при нормальных условиях эксплуатации.
Температуру токопроводящей жилы поддерживают в указанных пределах не менее 2 ч.
Если температура испытания не может быть достигнута, то допускается наложение дополнительной термоизоляции на кабель. Импульсное напряжение прикладывают в соответствии с процедурой, приведенной в МЭК 60230, при температуре на жиле в вышеуказанных пределах.
Сборка кабеля должна выдержать без пробоя или перекрытия 10 положительных и 10 отрицательных импульсов напряжения, приведенного в графе 8 таблицы 4.
После испытаний импульсным напряжением сборка должна выдержать испытание напряжением промышленной частоты 2,5U0 в течение 15 мин в соответствии с графой 9 таблицы 4. По выбору изготовителя испытание допускается проводить во время охлаждения либо при температуре окружающей среды.
Во время испытаний не должно произойти пробоя изоляции или перекрытия.
12.4.8 Внешний осмотр
12.4.8.1 Кабель и арматура
При внешнем осмотре срезов кабеля и, по возможности, разобранной арматуры, не должно быть обнаружено следов повреждений (например, электрических разрушений, утечки, коррозии или небезопасной усадки), которые могли бы повлиять на эксплуатационные характеристики кабельной системы.
Внешний осмотр проводят без применения увеличительных приборов.
Примечание - Руководство по внешнему осмотру кабеля и арматуры приведено в приложении J.
12.4.8.2 Кабели с продольно наложенной металлической лентой или фольгой, обладающие адгезией к наружной оболочке
От строительной длины кабеля отбирают образец длиной не менее 1 м, изгибают в виде буквы U и испытывают по 12.5.16.
12.4.9 Измерение удельного объемного электрического сопротивления электропроводящих полимерных экранов
12.4.9.1 Общие положения
Измерение удельного объемного электрического сопротивления электропроводящих полимерных экранов кабеля проводят на образцах, отобранных из той же производственной партии, что и испытуемый кабель.
Удельное объемное электрическое сопротивление экструдированных электропроводящих экранов, наложенных на жилу и изоляцию, измеряют на образцах изолированной жилы, отобранных от кабеля в исходном состоянии и кабеля, прошедшего испытание на старение по 12.5.5, предназначенного для проверки совместимости материалов, используемых в конструкции.
12.4.9.2 Проведение испытаний
Испытания проводят в соответствии с приложением D.
Измерения проводят в нормальных условиях эксплуатации при максимальной температуре нагрева жилы с допускаемым отклонением ± 2 К.
12.4.9.3 Требования к результатам испытаний
Удельное объемное электрическое сопротивление, измеренное до и после старения, должно быть не более:
- для экрана, наложенного по жиле, - 1000 Ом·м;
- для экрана, наложенного по изоляции, - 500 Ом·м.
12.5 Типовые неэлектрические испытания кабеля и элементов кабеля
12.5.1 Общие положения
Проводят следующие типовые испытания:
a) проверку конструкции кабеля - по 12.5.2;
b) определение механических характеристик изоляции кабеля до и после старения - по 12.5.3;
c) определение механических характеристик наружных оболочек кабеля до и после старения - по 12.5.4;
d) испытание на старение кабеля для проверки совместимости материалов - по 12.5.5;
e) испытание на потерю массы наружных оболочек кабеля из ПВХ типа ST2 - по 12.5.6;
f) испытание под давлением при высокой температуре наружных оболочек кабеля типов ST1, ST2, ST7 и ST12 - по 12.5.7;
g) испытание при низкой температуре наружных оболочек кабеля из ПВХ типов ST1, ST2 и LSHF типа ST12 - по 12.5.8;
h) испытание на тепловой удар наружных оболочек кабеля из ПВХ типов ST1 и ST2 - по 12.5.9;
i) испытание на озоностойкость изоляции кабеля из ЭПР и ВЭПР - по 12.5.10;
j) испытание на тепловую деформацию изоляции кабеля из ЭПР, ВЭПР и СПЭ - по 12.5.11;
k) определение плотности изоляции кабеля из ПЭВП - по 12.5.12;
l) определение содержания сажи в наружных оболочках кабеля из ПЭ типов ST3 и ST7 черного цвета - по 12.5.13;
m) испытание в условиях пожара кабелей с наружными оболочками типов ST1, ST2, ST12 - по 12.5.14;
n) испытание на водонепроницаемость - по 12.5.15;
o) испытание на элементах конструкции кабеля с продольно наложенной металлической лентой или фольгой, обладающей адгезией к наружной оболочке, - по 12.5.16;
p) испытание на усадку изоляции кабелей из ПЭ, ПЭВП и СПЭ - по 12.5.17;
q) испытание на усадку наружных оболочек кабелей из ПЭ типов ST3 и ST7 и LSHF типа ST12 - по 12.5.18;
r) определение твердости изоляции кабеля из ВЭПР - по 12.5.19;
s) определение модуля упругости изоляции кабеля из ВЭПР - по 12.5.20.
12.5.2 Проверка конструкции кабеля
Внешний осмотр жилы и измерения толщин изоляции, наружной и металлической оболочек проводят по 10.4, 10.6 и 10.7.
12.5.3 Определение механических характеристик изоляции кабеля до и после старения
12.5.3.1 Отбор образцов
Отбор и подготовку образцов проводят по МЭК 60811-501:2012 с Изменением N 1, 2018.
12.5.3.2 Тепловое старение
Тепловое старение проводят по МЭК 60811-401 в условиях, приведенных в таблице 6.
|
Условное обозначение изоляционного материала (см. таблицу 1) |
Единица измерения |
ПЭ |
ПЭВП |
СПЭ |
ЭПР |
ВЭПР |
|
Максимальная температура нагрева жилы при нормальных условиях эксплуатации |
°C |
70 |
80 |
90 |
90 |
90 |
|
До старения по МЭК 60811-501:2012 с Изменением N 1, 2018: | ||||||
|
- прочность при разрыве, не менее |
Н/мм2 |
10,0 |
12,5 |
12,5 |
4,2 |
8,5 |
|
- относительное удлинение при разрыве, не менее |
% |
300 |
350 |
200 |
200 |
200 |
|
После старения в термостате по МЭК 60811-401: условия испытания: | ||||||
|
- температура |
°C |
100 |
110 |
135 |
135 |
135 |
|
- допуск |
К |
± 2 |
± 2 |
± 3 |
± 3 |
± 3 |
|
- продолжительность |
ч |
240 |
240 |
168 |
168 |
168 |
|
прочность при разрыве: | ||||||
|
a) значение после старения, не менее |
Н/мм2 |
- |
- |
- |
- |
- |
|
b) отклонение , не более |
% |
- |
- |
± 25 |
± 30 |
± 30 |
|
относительное удлинение при разрыве: | ||||||
|
a) значение после старения, не менее |
% |
300 |
350 |
- |
- |
- |
|
b) отклонение, не более |
% |
- |
- |
± 25 |
± 30 |
± 30 |
|
Отклонение - разность между медианным значением, полученным после старения, и медианным значением, полученным до старения, выраженное в процентах. | ||||||
12.5.3.3 Кондиционирование и определение механических характеристик
Кондиционирование и определение механических характеристик проводят по МЭК 60811-501:2012 с Изменением N 1, 2018, кроме того:
a) допускается не проводить испытания на разрыв образцов, прошедших и не прошедших старение непосредственно друг за другом, и
b) допускается применять любой соответствующий измерительный инструмент, например микрометр.
12.5.3.4 Требования к результатам испытаний
Результаты испытаний образцов до и после старения должны соответствовать требованиям, указанным в таблице 6.
12.5.4 Определение механических характеристик наружных оболочек кабеля до и после старения
12.5.4.1 Отбор образцов
Отбор и подготовку образцов проводят по МЭК 60811-501:2012 с Изменением N 1, 2018.
12.5.4.2 Тепловое старение
Тепловое старение образцов проводят по МЭК 60811-401 в условиях, приведенных в таблице 7.
|
Условное обозначение материала (см. 4.4) |
Единица измерения |
ST1 |
ST2 |
ST3 |
ST7 |
ST12 |
|
До старения по МЭК 60811-501:2012 с Изменением N 1, 2018: | ||||||
|
- прочность при разрыве, не менее |
Н/мм2 |
12,5 |
12,5 |
10,0 |
12,5 |
12,5 |
|
- относительное удлинение при разрыве, не менее |
% |
150 |
150 |
300 |
300 |
300 |
|
После старения в термостате по МЭК 60811-401: условия испытания: | ||||||
|
- температура |
°C |
100 |
100 |
100 |
110 |
110 |
|
- допуск |
К |
± 2 |
± 2 |
± 2 |
± 2 |
± 2 |
|
- продолжительность |
ч |
168 |
168 |
240 |
240 |
240 |
|
прочность при разрыве: | ||||||
|
a) значение после старения, не менее |
Н/мм2 |
12,5 |
12,5 |
- |
- |
10 |
|
b) отклонение , не более |
% |
± 25 |
± 25 |
- |
- |
± 30 |
|
относительное удлинение при разрыве: | ||||||
|
a) значение после старения, не менее |
% |
150 |
150 |
300 |
300 |
300 |
|
b) отклонение , не более |
% |
± 25 |
± 25 |
- |
- |
- |
|
Испытание под давлением при высокой температуре по МЭК 60811-508:2012 с Изменением N 1, 2017: условия испытания: | ||||||
|
- температура |
°C |
80 |
90 |
- |
110 |
110 |
|
- допуск |
К |
± 2 |
± 2 |
- |
± 2 |
± 2 |
|
- вдавливание, не более |
% |
50 |
50 |
- |
50 |
50 |
|
Испытание на усадку по МЭК 60811-503: условия испытания: | ||||||
|
- температура |
°C |
- |
- |
80 |
80 |
80 |
|
- допуск |
К |
- |
- |
± 2 |
± 2 |
± 2 |
|
- продолжительность |
ч |
- |
- |
5 |
5 |
5 |
|
- число циклов нагрева |
- |
- |
5 |
5 |
5 | |
|
- допустимые значения усадки, не более |
% |
- |
- |
3,0 |
3,0 |
3,0 |
|
Отклонение - разность между медианным значением, полученным после старения, и медианным значением, полученным до старения, выраженная в процентах. | ||||||
12.5.4.3 Кондиционирование и определение механических характеристик
Кондиционирование и определение механических характеристик проводят по МЭК 60811-501:2012 с Изменением N 1, 2018, кроме того:
a) допускается не проводить испытания на разрыв образцов, прошедших или не прошедших старение непосредственно друг за другом, и
b) допускается применять любой соответствующий измерительный инструмент, например микрометр.
12.5.4.4 Требования к результатам испытаний
Результаты испытаний до и после старения образцов должны соответствовать требованиям, указанным в таблице 7.
12.5.5 Испытание на старение кабеля для проверки совместимости материалов
12.5.5.1 Общие положения
Испытание на старение кабеля проводят с целью проверки того, что характеристики изоляции, экструдированного электропроводящего экрана и наружной оболочки не подвержены чрезмерному ухудшению в процессе эксплуатации вследствие контакта с другими элементами конструкции кабеля.
Испытание проводят на кабелях всех типов.
12.5.5.2 Отбор образцов
Отбор образцов кабеля для испытаний изоляции и наружной оболочки - по МЭК 60811-401.
12.5.5.3 Тепловое старение
Тепловое старение образцов кабелей проводят в термостате с циркуляцией воздуха по МЭК 60811-401 при следующих условиях:
- температура на (10 ± 2) К выше максимальной температуры нагрева жилы кабеля при нормальных условиях эксплуатации, указанной в таблице 1;
- продолжительность - 7 сут.
12.5.5.4 Определение механических характеристик
Образцы изоляции и наружной оболочки, предварительно прошедшие старение, должны быть подготовлены и испытаны с целью проверки влияния старения на механические характеристики по МЭК 60811-401.
12.5.5.5 Требования к результатам испытаний
Отношение разности между медианными значениями прочности при разрыве и относительного удлинения при разрыве после старения и соответствующими значениями, полученными до старения (см. 12.5.3 и 12.5.4), не должны превышать значений, установленных после старения в термостате с циркуляцией воздуха, приведенных в таблице 6 для изоляции и таблице 7 - для наружных оболочек.
12.5.6 Испытание на потерю массы наружных оболочек кабеля из поливинилхлоридного пластиката типа ST2
12.5.6.1 Проведение испытаний
Испытания на потерю массы наружных оболочек типа ST2 проводят в соответствии с МЭК 60811-409 и требованиями, приведенными в таблице 9.
12.5.6.2 Требования к результатам испытаний
Результаты испытаний должны соответствовать требованиям, указанным в таблице 9.
12.5.7 Испытание под давлением при высокой температуре наружных оболочек кабеля
12.5.7.1 Проведение испытаний
Испытание под давлением при высокой температуре наружных оболочек кабеля типов ST1, ST2, ST7 и ST12 проводят по МЭК 60811-508:2012 с Изменением N 1, 2017, кроме того:
a) допускается применять термостат как с естественной, так и с принудительной циркуляцией воздуха с использованием вентилятора. В последнем случае возможно лучшее управление температурой, при этом следует предусмотреть защиту образца от вибрации, и
b) если наружная оболочка кабеля прочно склеена с металлической оболочкой, то наружную оболочку не следует удалять с металлической оболочки. Испытание проводят на наружной оболочке, при этом металлическую оболочку используют как оправку.
Условия испытаний должны соответствовать приведенным в настоящем методе испытаний и таблице 7.
12.5.7.2 Требования к результатам испытаний
Результаты испытаний должны соответствовать требованиям, указанным в таблице 7.
12.5.8 Испытание при низкой температуре наружных оболочек кабеля из поливинилхлоридного пластиката типов ST1 и ST2 и безгалогенного полимера с низким дымовыделением типа ST12
12.5.8.1 Проведение испытаний
Испытание при низкой температуре наружных оболочек кабеля из ПВХ типов ST1 и ST2 и LSHF типа ST12 проводят по МЭК 60811-505 и МЭК 60811-506. Температура испытаний приведена в таблице 9.
12.5.8.2 Требования к результатам испытаний
Результаты испытаний должны соответствовать требованиям, указанным в МЭК 60811-505 и МЭК 60811-506.
12.5.9 Испытание на тепловой удар наружных оболочек кабеля из поливинилхлоридного пластиката типов ST1 и ST2
12.5.9.1 Проведение испытаний
Испытание на тепловой удар наружных оболочек кабеля из ПВХ типов ST1 и ST2 проводят по МЭК 60811-509. Температура испытаний и продолжительность нагрева приведены в таблице 9.
12.5.9.2 Требования к результатам испытаний
Результаты испытаний должны соответствовать требованиям, указанным в таблице 9.
12.5.10 Испытание на озоностойкость изоляции кабеля из этиленпропиленовой резины и высокомодульной этиленпропиленовой резины
12.5.10.1 Проведение испытаний
Изоляция кабеля из ЭПР, ВЭПР должна выдержать испытания на озоностойкость, отбор образцов и метод испытаний - по МЭК 60811-403. Концентрация озона и продолжительность испытаний приведены в таблице 8.
|
Условное обозначение материала (см. 4.2) |
Единица измерения |
ПЭ |
ПЭВП |
СПЭ |
ЭПР |
ВЭПР |
|
Испытание на озоностойкость по МЭК 60811-403: | ||||||
|
- концентрация озона (объемная) |
% |
- |
- |
- |
От 0,025 до 0,030 |
От 0,025 до 0,030 |
|
- продолжительность испытания без растрескивания |
ч |
- |
- |
- |
24 |
24 |
|
Испытание на тепловую деформацию по МЭК 60811-507: условия испытания: | ||||||
|
- температура воздуха |
°C |
- |
- |
200 |
250 |
250 |
|
- допуск |
К |
- |
- |
± 3 |
± 3 |
± 3 |
|
- растягивающее усилие |
Н/см2 |
- |
- |
20 |
20 |
20 |
|
- относительное удлинение под нагрузкой, не более |
% |
- |
- |
175 |
175 |
175 |
|
- остаточное относительное удлинение после охлаждения, не более |
% |
- |
- |
15 |
15 |
15 |
|
Испытание на усадку по МЭК 60811-502:2012: условия испытания: | ||||||
|
- расстояние L между отметками |
мм |
200 |
200 |
200 |
- |
- |
|
- температура |
°C |
100 |
115 |
130 |
- |
- |
|
- допуск |
К |
± 2 |
± 2 |
± 3 |
- |
- |
|
- продолжительность |
ч |
6 |
6 |
6 |
- |
- |
|
- допустимое значение усадки, не более |
% |
4,5 |
4,5 |
4,5 |
- |
- |
|
Плотность по МЭК 60811-606: | ||||||
|
- плотность, не менее |
г/см3 |
- |
0,940 |
- |
- |
- |
|
Определение твердости (в соответствии с приложением I), не менее |
IRHD |
- |
- |
- |
- |
80 |
|
Определение модуля упругости (см. 12.5.20): | ||||||
|
- модуль упругости при 150%-ном относительном удлинении, не менее |
Н/мм2 |
- |
- |
- |
- |
4,5 |
|
IRHD - международная единица твердости резины. | ||||||
12.5.10.2 Требования к результатам испытаний
Результаты испытаний должны соответствовать требованиям, указанным в таблице 8.
12.5.11 Испытание на тепловую деформацию изоляции кабеля из этиленпропиленовой резины, высокомодульной этиленпропиленовой резины и сшитого полиэтилена
Изоляция кабеля из ЭПР, ВЭПР и СПЭ должна выдержать испытания на тепловую деформацию по 10.9.
12.5.12 Определение плотности изоляции кабеля из полиэтилена высокой плотности
Плотность изоляции кабеля из ПЭВП определяют по 10.11.
12.5.13 Определение содержания сажи в наружных оболочках из полиэтилена типов ST3 и ST7 черного цвета
12.5.13.1 Проведение испытаний
Содержание сажи в наружных оболочках кабеля из ПЭ типов ST3 и ST7 черного цвета определяют по МЭК 60811-605:2012, за исключением случая, когда после заключительного этапа нагрева (на котором сжигается оставшийся углерод) не допускается охлаждение образца в испытательном устройстве, в связи с чем образец следует охлаждать в эксикаторе в том же порядке, как и на предыдущем этапе охлаждения, но с использованием потока воздуха или кислорода вместо азота.
Если экструдированный электропроводящий слой наложен поверх наружной оболочки, то его не включают в испытуемый образец.
12.5.13.2 Требования к результатам испытаний
Номинальное значение содержания сажи должно быть (2,5 ± 0,5)%.
По согласованию между изготовителем и заказчиком (потребителем) допускаются более низкие значения содержания сажи, если оболочка не подвержена влиянию УФ-излучения.
12.5.14 Испытание в условиях пожара кабелей с наружными оболочками типов ST1, ST2, ST12
12.5.14.1 Общие положения
Испытания проводят в соответствии с требованиями настоящего подраздела с учетом характеристик пожароопасности, указанных в перечислении c) раздела 6.
12.5.14.2 Испытание на нераспространение горения одиночных кабелей
Испытание кабелей на нераспространение горения проводят по МЭК 60332-1-2.
Результаты испытаний должны соответствовать требованиям, указанным в таблице 9.
|
Условное обозначение материала (см. 4.4) |
Единица измерения |
ST1 |
ST2 |
ST12 |
|
Потеря массы в термостате по МЭК 60811-409: условия испытания: | ||||
|
- температура |
°C |
- |
100 |
- |
|
- допуск |
К |
- |
± 2 |
- |
|
- продолжительность |
ч |
- |
168 |
- |
|
- допустимая потеря массы, не более |
мг/см2 |
- |
1,5 |
- |
|
Испытание при низкой температуре : испытания, проводимые без предварительного старения: a) относительное удлинение при низкой температуре на образцах в виде двусторонней лопатки по МЭК 60811-505: условия испытания: | ||||
|
- температура |
°C |
-15 |
-15 |
-15 |
|
- допуск |
К |
± 2 |
± 2 |
± 2 |
|
- требование к результату испытаний |
% |
≥ 20 |
≥ 20 |
≥ 20 |
|
b) испытание на механический удар при низкой температуре по МЭК 60811-506: условия испытания: | ||||
|
- температура |
°C |
-15 |
-15 |
-15 |
|
- допуск |
К |
± 2 |
± 2 |
± 2 |
|
- требование к результату испытаний |
Отсутствие трещин |
Отсутствие трещин |
Отсутствие трещин | |
|
Испытание на тепловой удар по МЭК 60811-509: условия испытания: | ||||
|
- температура |
°C |
150 |
150 |
- |
|
- допуск |
К |
± 3 |
± 3 |
- |
|
- продолжительность |
ч |
1 |
1 |
- |
|
- требование к результату испытаний |
Отсутствие трещин |
Отсутствие трещин |
- | |
|
Испытание кабелей на нераспространение горения при одиночной прокладке (готовый кабель) по МЭК 60332-1-2: | ||||
|
- расстояние от нижнего края верхней опоры до начала обугленной части образца сверху |
мм |
> 50 |
> 50 |
> 50 |
|
- расстояние от нижнего края верхней опоры до начала обугленной части образца снизу |
мм |
≤ 540 |
≤ 540 |
≤ 540 |
|
Испытание кабелей на нераспространение горения при прокладке пучком (готовый кабель) по МЭК 60332-3-24: | ||||
|
- длина обугленной части образца, измеренная от нижнего края горелки |
м |
- |
- |
≤ 2,5 |
|
Измерение оптической плотности дыма (кабели) по МЭК 61034-2:2005 и МЭК 61034-2:2005 с Изменением N 1, 2013 (Cor 1:2021): | ||||
|
- диаметр ≤ 80 мм - светопроницаемость Tmin |
% |
- |
- |
60 |
|
- диаметр> 80 мм - светопроницаемость Tmin |
% |
- |
- |
45 |
|
Определение кислотности (измерением pH) и удельной проводимости наружной оболочки кабеля или в виде весовых величин по МЭК 60754-2: | ||||
|
- pH, не менее |
- |
- |
- |
4,3 |
|
- удельная проводимость, не более |
мкС/мм |
- |
- |
10 |
|
При особых климатических условиях в национальных стандартах может быть установлена более низкая температура испытаний. | ||||
Если образец не выдержал испытание, то проводят еще два испытания. Если в результате двух повторных испытаний получены удовлетворительные результаты, то кабель считают выдержавшим испытание.
12.5.14.3 Испытание на вертикальное распространение горения вертикально расположенных кабелей
Испытание на вертикальное распространение горения вертикально расположенных кабелей проводят по МЭК 60332-3-24.
Примечание - По согласованию между изготовителем и заказчиком (потребителем) допускается устанавливать более жесткие требования к проведению испытаний кабелей по МЭК 60332-3-22 или МЭК 60332-3-23. Достигнутый уровень по нераспространению горения зависит как от конструкции кабелей, так и от характеристик применяемых материалов.
Результаты испытаний должны соответствовать требованиям, указанным в таблице 9.
12.5.14.4 Измерение плотности дыма от горящих кабелей при заданных условиях испытаний
|
Плотность дыма от горящих кабелей при заданных условиях измеряют по МЭК 61034-2:2005 с Изменением N 1, 2013. (Cor 1:2021) |
Результаты испытаний должны соответствовать требованиям, указанным в таблице 9.
12.5.14.5 Определение кислотности (измерением pH) и электропроводимости газов, возникающих во время сгорания наружной оболочки кабеля
Испытания проводят на наружной оболочке кабеля по МЭК 60754-2.
Результаты испытаний должны соответствовать требованиям, указанным в таблице 9.
12.5.14.6 Определение кислотности (измерением pH) и электропроводимости газов, возникающих во время сгорания неметаллических материалов кабеля
Данное испытание проводят по 12.5.14.5.
Испытание проводят на неметаллических элементах кабеля в соответствии с МЭК 60754-2.
|
Взвешенные значения pH и электропроводимости газов, выделяющихся при горении кабеля, рассчитывают по МЭК 60754-2, полученные значения должны соответствовать требованиям, указанным в таблице 9. (Cor 1:2021) |
12.5.15 Испытание на водонепроницаемость
Испытания на водонепроницаемость проводят на кабелях, в конструкции которых имеются барьеры, препятствующие продольному проникновению воды, в соответствии с перечислениями d) и g) раздела 6. Испытание распространяется на кабели, предназначенные для прокладки в грунте, и не распространяется на кабели подводной прокладки.
Испытание состоит из двух этапов. На первом этапе испытанию подвергают кабель и все элементы его конструкции, на втором - токопроводящую жилу. Требования к аппаратуре, отбору образцов и методу испытаний приведены в приложениях E и F.
12.5.16 Испытания на элементах конструкции кабеля с продольно наложенной металлической лентой или фольгой, обладающей адгезией к наружной оболочке
На образце проводят следующие испытания:
a) внешний осмотр - по G.1 (приложение G);
b) проверку прочности адгезии и стойкости к отслаиванию многослойной (ламинированной) металлической фольги, наложенной с перекрытием, - по G.2 (приложение G).
Требования к аппаратуре и метод испытаний приведены в приложении G.
12.5.17 Испытание на усадку изоляции кабелей из полиэтилена, полиэтилена высокой плотности и сшитого полиэтилена
12.5.17.1 Проведение испытаний
Испытание на усадку изоляции кабеля из ПЭ, ВЭВП и СПЭ проводят на образцах по МЭК 60811-502 с соблюдением условий по таблице 8.
12.5.17.2 Требования к результатам испытаний
Результаты испытаний должны соответствовать требованиям, указанным в таблице 8.
12.5.18 Испытание на усадку наружных оболочек кабелей из полиэтилена типов ST3 и ST7 и безгалогенного полимера с низким дымовыделением типа ST12
12.5.18.1 Проведение испытаний
Испытание на усадку наружных оболочек кабелей из ПЭ типов ST3 и ST7 и LSHF типа ST12 проводят по МЭК 60811-503. Условия испытаний приведены в таблице 7.
12.5.18.2 Требования к результатам испытаний
Результаты испытаний должны соответствовать требованиям, указанным в таблице 7.
12.5.19 Определение твердости изоляции кабеля из высокомодульной этиленпропиленовой резины
12.5.19.1 Проведение испытаний
Требования к отбору образцов и метод испытаний приведены в приложении I.
12.5.19.2 Требования к результатам испытаний
Результаты испытаний должны соответствовать требованиям, указанным в таблице 8.
12.5.20 Определение модуля упругости изоляции кабеля из высокомодульной этиленпропиленовой резины
12.5.20.1 Проведение испытаний
Отбор, подготовку образцов и испытание проводят по МЭК 60811-501:2012 с Изменением N 1, 2018.
Измеряют нагрузку при 150%-ном относительном удлинении. Значение напряжения определяют путем деления значения нагрузки на значение поперечного сечения нерастянутого образца. Для получения значения модуля упругости при 150%-ном относительном удлинении определяют отношением значения напряжения к значению деформации.
За значение модуля упругости принимают его медианное значение.
12.5.20.2 Требования к результатам испытаний
Результаты испытания должны соответствовать значениям, указанным в таблице 8.
13.1 Общие положения и предквалификационные испытания для подтверждения соответствия
Если предквалификационные испытания кабельной системы на соответствие техническим требованиям прошли успешно, то это означает, что изготовитель может поставлять на рынок кабельные системы того же типа с номинальным напряжением того же значения или более низкого при условии, что расчетное значение номинальной напряженности электрического поля на экране по изоляции кабеля не превысит аналогичных значений номинальной напряженности электрического поля кабельной системы, прошедшей данное испытание.
Предквалификационные испытания проводят на кабельных системах, для которых расчетные значения номинальной электрической напряженности на экране токопроводящей жилы превышают 8,0 кВ/мм и/или на экране по изоляции превышают 4,0 кВ/мм.
Предквалификационные испытания кабельной системы не проводят в одном из следующих случаев:
- если на кабельных системах с такой же конструкцией и арматурой такого же типа проведены предквалификационные испытания при равном или большем номинальном напряжении;
- изготовитель может подтвердить положительный опыт эксплуатации кабельных систем с равными или более высокими расчетными значениями напряженности электрического поля на экранах по токопроводящей жиле и по изоляции, в элементах основной изоляции арматуры и на границах областях при условии применения конструкции арматуры одного типа;
- изготовитель выполнил требования другого эквивалентного длительного испытания, проведенного в соответствии с национальными техническими требованиями или техническими требованиями заказчика (потребителя) на кабельные системы с такой же конструкцией и арматурой такого же типа.
Если в кабельной системе, прошедшей предквалификационные испытания, кабель и/или арматура заменены на другой кабель и/или арматуру, уже прошедшие предквалификационные испытания в составе другой кабельной системы при равном или большем номинальном значении напряженности электрического поля на экране по изоляции этой системы, то результаты проведенных предквалификационных испытаний распространяют на этот кабель и/или арматуру при условии их соответствия требованиям 13.3.
Если кабельную систему, прошедшую предквалификационные испытания, изменяют путем замены кабеля и/или арматуры на другие кабель и арматуру, которые являются частью кабельной системы, не прошедшей предквалификационные испытания, или на прошедшие испытания в составе другой кабельной системы при меньшем расчетном значении номинальной напряженности электрического поля на экране по изоляции этой системы, то на данной кабельной системе проводят предквалификационные испытания на соответствие требованиям 13.2.
Состав предквалификационных и расширенных предквалификационных испытаний приведен в приложении C.
Предквалификационные испытания проводят только один раз, за исключением случаев существенного изменения кабельной системы (материалов, процесса производства, конструкции или расчетных значений напряженностей электрического поля).
Примечания
1 Существенным изменением считают изменение, которое может отрицательно повлиять на эксплуатационные характеристики кабельной системы. При внесении изменений в кабельную систему поставщик представляет протокол с подробным описанием испытаний, из которого следует, что внесенные изменения не являются существенными.
2 Предквалификационные испытания проводят на кабелях с токопроводящей жилой большого сечения для учета воздействия термомеханических факторов.
Документом, подтверждающим проведение предквалификационных испытаний, является свидетельство по результатам проведения предквалификационных испытаний, подписанное представителем компетентного органа, или протокол испытаний, составленный изготовителем и подписанный правомочным ответственным лицом, который засвидетельствовал результаты испытаний, или протокол предквалификационных испытаний, выданный независимой испытательной лабораторией.
13.2 Предквалификационные испытания кабельных систем
13.2.1 Требования к предквалификационным испытаниям
В предквалификационные испытания должны быть включены электрические испытания кабельной системы, которые проводят на кабеле длиной не менее 20 м и не менее чем с одним образцом арматуры каждого типа. Минимальная длина свободного участка кабеля между образцами смонтированной арматуры должна быть не менее 10 м. Испытания проводят в следующем порядке:
a) испытание напряжением с циклами нагрева - по 13.2.4;
b) испытание грозовым импульсным напряжением - по 13.2.5;
c) внешний осмотр кабельной системы после проведения указанных испытаний - по 13.2.6.
Может возникнуть ситуация, когда один или более образцов арматуры не соответствуют всем требованиям предквалификационных испытаний по 13.2. В таком случае испытания могут быть продолжены на оставшейся кабельной системе (кабель с оставшейся арматурой) после ремонта испытательной установки.
Если оставшаяся кабельная система соответствует всем требованиям 13.2, то ее считают прошедшей предквалификационные испытания. На арматуру, не соответствующую данным требованиям, результаты предквалификационных испытаний не распространяют. При этом испытание может быть продолжено на кабеле с замененной арматурой до тех пор, пока не будут выполнены все требования по 13.2. Если изготовитель принимает решение включить отремонтированную арматуру в предквалификационные испытания кабельной системы, то проведение предквалификационных испытаний кабельной системы считают начатым после ремонта.
13.2.2 Значения испытательных напряжений
Перед предквалификационными испытаниями кабельной системы следует измерить толщину изоляции кабеля и, при необходимости, отрегулировать значение испытательного напряжения в соответствии с 12.4.1.
13.2.3 Условия проведения испытаний и испытательная сборка
Кабели и арматура должны быть смонтированы в соответствии с инструкциями изготовителя и с учетом качества и количества материалов, входящих в поставку, включая смазочные материалы (при наличии).
Испытание допускается проводить в лаборатории, при этом соблюдение условий, моделирующих реальные условия прокладки кабельной системы, не обязательно.
Если конструкцией соединительной муфты предусмотрено ее использование как при гибкой, так и при стационарной прокладке, то одну муфту монтируют в гибкой конфигурации, а другую - в жесткой, как показано на рисунке 1. Если соединительная муфта предназначена для использования только для стационарной (жесткой) установки, то ее устанавливают, неподвижно закрепляя на обеих сторонах кабельной системы. Если соединительная муфта предназначена для использования только при гибкой прокладке, то ее устанавливают в гибкой конфигурации на обеих сторонах кабельной системы.

1 - зажим; J1 - соединительная муфта для негибкого (стационарного) и гибкого крепления; J2 – соединительная муфта только для гибкого крепления
Рисунок 1 - Пример испытательной сборки для проведения предквалификационных испытаний
Испытательная сборка должна иметь U-образный изгиб и иметь диаметр не более диаметра испытательного цилиндра, включая допуск +5%, как указано в 12.4.3.
Примечание - Испытательную сборку, представленную на рисунке 1, реализовать проще, чем смоделировать реальные условия прокладки. Испытание кабельных систем с учетом воздействия термомеханических факторов на данном испытательном оборудовании не проводят.
Если при испытании должны быть учтены воздействующие термомеханические факторы, то следует разработать специальную схему испытательной сборки с моделированием условий прокладки. При разных способах прокладки, а также во время испытаний условия окружающей среды могут изменяться, при этом считают, что они не оказывают какого-либо значительного влияния на результаты испытаний.
В связи с тем что испытание допускается проводить на открытом воздухе, то рекомендуемая температура окружающей среды при испытании (20 ± 15) °C не применяется.
13.2.4 Испытание напряжением с циклами нагрева
Сборку кабеля и арматуры нагревают путем пропускания тока по токопроводящей жиле кабеля до температуры жилы на 0 - 5 К выше максимальной температуры нагрева жилы при нормальных условиях эксплуатации. При изменении условий окружающей среды может возникнуть необходимость регулирования тока в жиле во время испытаний.
Оборудование, используемое для нагрева, следует выбирать так, чтобы температура токопроводящей жилы кабеля достигала вышеуказанных значений на расстоянии, как можно большем от арматуры. Значения температуры на поверхности кабеля регистрируют в информационных целях.
Если температура испытания не может быть достигнута, то допускается наложение поверх кабеля дополнительной теплоизоляции.
Общая продолжительность нагрева - не менее 8 ч. Температуру на жиле следует удерживать в указанных температурных пределах не менее 2 ч во время каждого периода нагрева. Затем сборку оставляют остывать естественным путем не менее 16 ч до достижения температуры на жиле 30 °C или значения, не превышающего температуру окружающей среды более чем на 10 К, в зависимости от того, какое значение выше.
В течение всего периода испытаний к сборке должно быть приложено напряжение 1,7U0.
Должно быть проведено 180 циклов нагрева и охлаждения. В расчет также включают циклы нагрева с температурой токопроводящей жилы, более чем на 5 К превышающей максимальную температуру нагрева токопроводящей жилы при нормальных условиях эксплуатации. В расчет также допускается включать не более 10 циклов, длительность которых при высоких температурах составляет от 1 до 2 ч. Должно быть проведено не менее 180 принятых в расчет циклов нагрева при приложении напряжения.
Во время проведения испытаний допускается прерывание циклов нагрева или приложения испытательного напряжения.
Во время испытания не должно произойти пробоя изоляции сборки.
Примечание - Для раннего предупреждения возможного ухудшения качества изоляции сборки и возможности проведения ремонта до наступления пробоя рекомендуется проводить измерение частичных разрядов.
13.2.5 Испытание грозовым импульсным напряжением
Испытание проводят на полной кабельной сборке при температуре на жиле на 0 - 5 К выше максимальной температуры на жиле при нормальных условиях эксплуатации. Температуру токопроводящей жилы следует поддерживать в указанных температурных пределах не менее 2 ч. Если температура испытания не может быть достигнута, то допускается наложение на кабель дополнительной термоизоляции.
Импульсное напряжение прикладывают в соответствии с МЭК 60230.
Сборка должна выдержать без пробоя или перекрытия испытания 10 положительными и 10 отрицательными импульсами напряжения соответствующего значения, приведенного в графе 8 таблицы 4.
13.2.6 Внешний осмотр
Внешний осмотр кабельной системы, состоящей из кабеля и арматуры, и требования к нему должны соответствовать 12.4.8.
13.3 Испытания, проводимые для расширения предквалификационных испытаний кабельной системы
13.3.1 Объем испытаний, проводимых для расширения предквалификационных испытаний кабельной системы
С целью расширения предквалификационных испытаний в них должны быть включены электрические испытания кабельной системы в соответствии с 13.3.2 и неэлектрические испытания кабеля в соответствии с 12.5.
13.3.2 Электрические испытания, проводимые в рамках расширения предквалификационных испытаний кабельной системы
13.3.2.1 Общие положения
Испытания по 13.3.2.3 проводят на одном или нескольких образцах кабеля кабельной системы, в зависимости от количества используемой арматуры, прошедшей предквалификационные испытания. Образец кабельной системы должен содержать в себе не менее одного образца арматуры каждого типа, на котором проводят расширенные предквалификационные испытания. Испытание допускается проводить в лаборатории с соблюдением условий, моделирующих реальные условия прокладки (если требуется).
Длина кабеля между испытуемой арматурой должна быть не менее 5 м. Общая длина кабеля - не менее 20 м.
Кабель и арматура должны быть смонтированы в соответствии с инструкциями изготовителя с учетом качества и количества материалов, включенных в поставку, в том числе смазочные материалы (при наличии).
Если конструкцией соединительной муфты предусмотрена как гибкая, так и жесткая установка [для негибкой (стационарной)] прокладки, то для расширенных предквалификационных испытаний одна соединительная муфта должна быть установлена в гибкой конфигурации, а другая соединительная муфта - в жесткой (стационарной) конфигурации, как показано на рисунке 2.

1 - концевая муфта; 2 - зажим; 3 - соединительная муфта
Рисунок 2 - Пример испытательной сборки для расширенных предквалификационных испытаний системы с другой соединительной муфтой, предназначенной для стационарной и гибкой прокладки
Испытательная сборка должна иметь U-образный изгиб и иметь диаметр не более диаметра испытательного цилиндра, включая допуск +5%, как указано в 12.4.3.
За исключением проверки по 13.3.2.2 и измерения тангенса угла диэлектрических потерь [см. перечисление d) 13.3.2.3], испытания, указанные в перечислениях a) - j) 13.3.2.3, проводят последовательно на одном и том же образце. Арматуру монтируют на кабеле после испытаний кабеля на изгиб.
Измерение удельного электрического сопротивления электропроводящих полимерных экранов кабеля [см. перечисление k) 13.3.2.3] проводят по 12.4.9 на отдельном образце кабеля из этой же произведенной партии.
Проведение измерений удельного электрического сопротивления электропроводящих полимерных экранов кабеля не требуется, если испытание в рамках расширенных предквалификационных испытаний проводят только на арматуре.
13.3.2.2 Значения испытательного напряжения
Перед проведением электрических испытаний в рамках расширенных предквалификационных испытаний измеряют толщину изоляции кабеля и, при необходимости, регулируют значение испытательного напряжения в соответствии с 12.4.1.
13.3.2.3 Последовательность электрических испытаний в рамках расширенных предквалификационных испытаний
Как правило, испытания проводят в следующем порядке:
a) испытание кабеля на изгиб - по 12.4.3 без последующего измерения уровня частичных разрядов по 12.4.4 и с последующим монтажом арматуры, на которой проводят расширенные предквалификационные испытания;
b) измерение частичных разрядов при температуре окружающей среды - по 12.4.4;
c) испытание циклами нагрева без подачи напряжения - по 13.3.2.4;
d) измерение тангенса угла диэлектрических потерь (если расширенные предквалификационные испытания предусмотрены для кабеля) - по 12.4.5.
Допускается проводить испытание на другом образце кабеля, отобранного из этой же производственной партии, с применением специальных концевых муфт, а не на том, который был использован для остальных испытаний;
e) испытание напряжением с циклами нагрева - по 12.4.6;
f) измерение частичных разрядов - по 12.4.4 при температуре окружающей среды и высокой температуре. Измерения проводят после последнего цикла нагрева по перечислению e) или после испытания грозовым импульсным напряжением по перечислению g);
g) испытание грозовым импульсным напряжением с последующим испытанием напряжением промышленной частоты - по 12.4.7;
h) измерение частичных разрядов при температуре окружающей среды или высокой температуре, если оно не было проведено по перечислению f);
i) дополнительные типовые испытания арматуры (см. приложение H);
j) проверку внешнего вида кабельной системы, включающей в себя кабель и арматуру, после комплекса испытаний - по 12.4.8. Если расширение предквалификационного испытания требуется только для арматуры, то требование 12.4.8.2 не выполняют;
k) удельное электрическое сопротивление электропроводящих полимерных экранов проверяют на отдельном образце по 12.4.9, отобранном от этой же производственной партии.
Испытательные напряжения должны соответствовать значениям, приведенным в таблице 4 с учетом требований, указанных в 13.3.2.2.
13.3.2.4 Испытание с циклами нагрева без подачи напряжения
Сборку нагревают, пропуская ток по жиле кабеля, до температуры на 0 - 5 К выше максимально допустимой температуры нагрева жилы при нормальных условиях эксплуатации.
Если температура проведения испытания не может быть достигнута, то допускается наложение дополнительной термоизоляции на кабель.
Нагрев проводят не менее 8 ч. Температуру на жиле поддерживают в указанных пределах температур в течение 2 ч во время каждого периода нагрева. Затем сборку оставляют остывать естественным путем не менее 16 ч до достижения температуры на жиле 30 °C или значения, не превышающего температуру окружающей среды более чем на 10 К, в зависимости от того, какое значение температуры выше. Ток в жиле в течение двух последних часов каждого периода нагрева регистрируют.
Результаты испытаний считают удовлетворительными, если температура токопроводящей жилы превышает максимальную температуру нагрева токопроводящей жилы при нормальных условиях эксплуатации более чем на 5 К.
Должно быть проведено 60 циклов нагрева и охлаждения.
14.1 Общие положения
Методы испытаний, установленные в настоящем разделе, предназначены для подтверждения соответствия эксплуатационных характеристик кабелей.
Если типовые испытания прошли успешно, то повторно их не проводят, за исключением следующих случаев: замена материалов, изменение конструкции кабеля, технологического процесса, которые могут привести к ухудшению эксплуатационных характеристик кабеля.
Типовые испытания проводят на кабелях, для которых расчетные значения номинальной электрической напряженности на экране токопроводящей жилы не превышают 8,0 кВ/мм и/или на экране по изоляции - 4,0 кВ/мм. В других случаях типовые испытания кабельных систем проводят в соответствии с разделом 12.
Типовые испытания, которые были успешно проведены в соответствии с предыдущим изданием настоящего стандарта, считают действительными.
Объем типовых испытаний кабелей приведен в приложении C.
14.2 Типовые испытания для подтверждения соответствия
Если типовые испытания успешно проведены на одном кабеле определенного сечения, номинального напряжения и конструкции или более, то результаты испытаний по подтверждению соответствия по настоящему стандарту распространяют на кабели с другими сечениями, номинальным напряжением и конструкциями, если выполнены все условия по перечислениям a) - e):
a) группа напряжения должна быть не более группы напряжения испытуемого(ых) кабеля(ей).
Кабели одной группы напряжения - это кабели с номинальным напряжением, имеющим общее значение Um, максимальное напряжение для оборудования и одинаковые уровни испытательного напряжения (см. графы 1 и 2 таблицы 4);
b) сечение жилы - не более сечения жилы испытанного(ых) кабеля(ей);
c) конструкция кабеля такая же или подобная конструкции испытанного(ых) кабеля(ей).
Кабели считают обладающими подобной конструкцией, если тип и процесс наложения изоляции и электропроводящих экранов такие же. Повторно не проводят типовые электрические испытания из-за различий в типе или материале жилы, или защитных покрытий, наложенных на экран по изоляции кабеля, если эти различия не оказывают значительного воздействия на результаты испытаний. В некоторых случаях может оказаться целесообразным повторить одно или несколько типовых испытаний (например, испытание на изгиб, испытание циклами нагрева и/или испытание на совместимость);
d) расчетное значение номинальной электрической напряженности на экране по жиле кабеля не превышает значения электрической напряженности на экране по жиле испытанного(ых) кабеля(ей) более чем на 10%;
e) расчетное значение номинальной электрической напряженности на экране по изоляции не превышает значение электрической напряженности на экране по изоляции испытанного(ых) кабеля(ей).
Типовые испытания элементов конструкции кабеля по 12.5 необходимо проводить только на тех образцах кабелей с разными номинальными напряжениями и/или с разными номинальными сечениями жил, у которых для их производства применены разные материалы и/или разные производственные процессы. Следует учитывать, что может потребоваться повторное проведение испытаний на старение на образцах кабеля для проверки совместимости материалов по 12.5.5, если комбинация материалов, нанесенных на экран по изоляции кабеля, отличается от комбинации материалов кабеля, на котором ранее проведены типовые испытания.
Подтверждением проведения типовых испытаний является свидетельство, подписанное представителем компетентного контрольного органа, или протокол, составленный изготовителем, в котором представлены результаты испытаний, и подписанный ответственным лицом, или протокол типовых испытаний, выданный независимой испытательной лабораторией.
14.3 Объем типовых испытаний
В типовые испытания должны быть включены электрические испытания кабеля по 12.4.1 и 14.4, неэлектрические испытания элементов конструкции кабеля и кабеля по 12.5.
Неэлектрические испытания элементов конструкции кабеля (изоляции и наружной оболочки) проводят в соответствии с таблицей 5. Испытание кабелей в условиях пожара проводят в том случае, если изготовитель намерен подтвердить, что данный тип кабеля специальной конструкции соответствует заданным требованиям пожарной безопасности.
14.4 Типовые электрические испытания кабелей
Испытания по перечислениям a) - f) проводят последовательно на одном образце кабеля без арматуры длиной не менее 10 м:
a) испытание на изгиб - по 12.4.3 с последующим монтажом концевых муфт для испытаний и измерений уровня частичных разрядов при температуре окружающей среды по 12.4.4;
b) измерение тангенса угла диэлектрических потерь tgδ - по 12.4.5.
Данное испытание допускается проводить на другом образце кабеля, отобранного от той же производственной партии, что и образец, использованный для оставшейся части испытаний;
c) испытание напряжением с циклами нагрева - по 12.4.6 с последующим измерением частичных разрядов при температуре окружающей среды по 12.4.4. Испытание проводят после последнего цикла нагрева или после испытания грозовым импульсным напряжением [см. перечисление d)];
d) испытание грозовым импульсным напряжением с последующим испытанием напряжением промышленной частоты - по 12.4.7;
e) измерение частичных разрядов при температуре окружающей среды - по 12.4.4, если оно не было проведено по перечислению c);
f) внешний осмотр кабеля после вышеприведенных испытаний - по 12.4.8;
g) удельное электрическое сопротивление электропроводящих полимерных экранов измеряют на отдельном образце по 12.4.9.
Значения испытательных напряжений должны соответствовать значениям, приведенным в соответствующих графах таблицы 4.
15.1 Общие положения
Испытания, установленные в настоящем разделе, предназначены для подтверждения соответствия эксплуатационных характеристик арматуры.
Если типовые испытания завершены успешно, то их не проводят повторно за исключением следующих случаев: изменение конструкции кабеля, замена материалов, изменение технологического процесса, конструкции или расчетных значений напряженности электрического поля, которые могут привести к ухудшению эксплуатационных характеристик кабеля.
Испытания проводят на арматуре в тех случаях, для которых расчетные значения номинальной напряженности на экране токопроводящей жилы не превышают 8,0 кВ/мм и/или на экране по изоляции - 4,0 кВ/мм. В других случаях испытания проводят на кабельной системе. Типовые испытания кабельной системы проводят в соответствии с разделом 12, а предквалификационные - в соответствии с разделом 13.
Объем типовых испытаний арматуры приведен в приложении C.
Примечание - Методы испытаний концевых муфт наружной установки на стойкость к воздействию атмосферных осадков или загрязнений в настоящем стандарте не установлены.
15.2 Типовые испытания для подтверждения соответствия
Если типовые испытания успешно проведены на одном или более образце арматуры с одним или более образцом кабеля определенного(ых) сечения(ий), одинакового номинального напряжения и конструкции, то результаты испытаний по подтверждению соответствия настоящему стандарту распространяют на арматуру с другими номинальными напряжениями и конструкциями и другими кабелями, если выполнены все условия по перечислениям a) - d).
Типовые испытания, которые успешно проведены в соответствии с предыдущим изданием настоящего стандарта, считают действительными.
a) Группа напряжения не более группы напряжения испытуемой арматуры.
Арматура одной группы напряжения - это арматура, значение номинального напряжения которой Um является самым максимальным напряжением оборудования, выдержавшая испытания теми же значениями испытательного напряжения (см. графы 1 и 2 таблицы 4);
b) сечение жилы, номинальное напряжение и конструкция кабеля находятся в пределах, применяемых при типовых испытаниях для подтверждения соответствия по 14.2;
c) конструкция арматуры такая же или подобная конструкции испытанных образцов арматуры.
Арматуру рассматривают как имеющую подобную конструкцию, если тип и процесс наложения изоляции и электропроводящих экранов такие же.
Типовые электрические испытания из-за различий в типе соединения или материале, или защитных покрытий, наложенных по основной изоляции арматуры, не повторяют, если эти различия не могут оказать значительного воздействия на результаты испытаний. В некоторых случаях может быть целесообразно повторить одно или несколько типовых испытаний (например, испытание по измерению частичных разрядов);
d) расчетные значения номинальной напряженности электрического поля в основной изоляции арматуры и границах соприкосновения изоляции кабеля и арматуры не превышают значений испытанной арматуры;
e) для штекерных разъемных соединителей типа "plug-in" полное соответствие требованиям возможно только для комбинации проходного изолятора, разъемного соединителя и кабеля, подвергаемых типовому испытанию. Характеристики и совместимость разъемного соединителя следует проверять, если проходной изолятор, установленный в разъемном соединителе, отличается от проходного изолятора, использованного в изолированной концевой муфте, при проведении квалификационного испытания.
Для распространения результатов испытаний по подтверждению соответствия на другие комбинации разъемных соединителей и проходных изоляторов с целью обеспечения взаимозаменяемости вводов следует повторить одно или более типовых электрических испытаний (например, измерение частичных разрядов).
Подтверждением проведения типовых испытаний является свидетельство, подписанное представителем компетентного контрольного органа, или протокол, составленный изготовителем, в котором представлены результаты испытаний, и подписанный ответственным лицом, или протокол типовых испытаний, выданный независимой испытательной лабораторией.
15.3 Требования к типовым испытаниям
Арматура должна выдержать испытания по 15.4.1 и 15.4.2.
Длина кабеля между смонтированной арматурой должна быть не менее 5 м.
Испытания проводят на одном образце арматуры каждого типа.
Арматуру монтируют перед первым испытанием по измерению частичных разрядов.
Арматура должна быть смонтирована на кабеле в соответствии с инструкциями изготовителя, качеством и количеством материалов, входящих в поставку, включая смазочные материалы (при наличии).
Наружная поверхность арматуры должна быть сухой и чистой. Кабели и арматуру не следует подвергать каким-либо способам кондиционирования, не указанным в инструкциях изготовителя, при воздействии которого могут измениться электрические, тепловые или механические характеристики.
При испытаниях по перечислениям a) - e) 15.4.2 соединительные муфты должны быть обеспечены наружной защитой. Если подтверждено, что наружная защита не оказывает влияния на характеристики изоляции соединительной муфты, например отсутствуют воздействующие термомеханические факторы или опасность несовместимости с другими элементами конструкции муфты, то защиту не применяют.
15.4 Типовые электрические испытания арматуры
15.4.1 Значения испытательных напряжений
Перед проведением типовых электрических испытаний арматуры следует измерить толщину изоляции используемого кабеля и при необходимости отрегулировать значения испытательных напряжений по 12.4.1.
Значения испытательных напряжений должны соответствовать значениям, указанным в таблице 4.
15.4.2 Последовательность испытаний
Испытания арматуры проводят в следующем порядке:
a) измерение частичных разрядов при температуре окружающей среды - по 12.4.4;
b) испытание напряжением с циклами нагрева - по 12.4.6, при этом U-образный изгиб кабеля не требуется;
c) измерение частичных разрядов - по 12.4.4:
- при температуре окружающей среды,
- при высокой температуре.
Измерение проводят после последнего цикла испытания по перечислению b) или после испытания грозовым импульсным напряжением по перечислению d);
d) испытание грозовым импульсным напряжением с последующим испытанием напряжением промышленной частоты - по 12.4.7;
e) измерение частичных разрядов при температуре окружающей среды или высокой температуре, если оно не было проведено по перечислению c);
f) дополнительные типовые испытания арматуры (см. приложение H);
g) внешний осмотр арматуры после выполнения комплекса вышеприведенных испытаний - по 12.4.8.1.
16.1 Общие положения
Испытания новых кабельных линий проводят после завершения монтажа кабеля и арматуры к нему.
Рекомендуется проводить испытание наружной оболочки кабеля напряжением постоянного тока по 16.2 и/или испытание изоляции кабеля напряжением переменного тока по 16.3.
На кабельных линиях, где проводят только испытание наружной оболочки по 16.2, процедуры обеспечения качества при монтаже арматуры по согласованию между изготовителем и подрядчиком могут стать заменой испытания изоляции, проводимого в соответствии с 16.3.
16.2 Испытание наружной оболочки кабеля напряжением постоянного тока
Уровень испытательного напряжения, продолжительность испытания и условия его проведения - в соответствии с МЭК 60229:2007 (раздел 5). Испытательное напряжение прикладывают между каждой металлической оболочкой или металлическим экраном (соединенными вместе), если оба этих элемента находятся в кабеле, и землей.
Для того, чтобы испытание было результативным, необходимо чтобы земля была в хорошем контакте со всей внешней поверхностью наружной оболочки кабеля. Для этой цели допускается нанесение проводящего слоя по наружной оболочке кабеля.
16.3 Испытание изоляции кабеля напряжением переменного тока
Испытательное напряжение переменного тока должно быть приложено к образцу:
- в течение 1 ч в соответствии с графой 10 таблицы 4, или
- значением U0 в течение 24 ч, или
- значением и в течение времени, установленными по согласованию между заказчиком (потребителем) и изготовителем.
Форма волны испытательного напряжения должна быть синусоидальной, частота - в диапазоне 20 - 300 Гц. Для очень длинных кабельных линий по согласованию между заказчиком (потребителем) и изготовителем минимальная частота может быть уменьшена до 10 Гц. Для кабельных линий, которые были в эксплуатации, допускается проводить испытания при более низких напряжениях и/или меньшей продолжительностью, чем указанные в графе 10 таблицы 4. Параметры испытаний должны быть установлены с учетом срока эксплуатации, условий окружающей среды, предшествующих пробоев и цели испытаний.
Измерение уровня частичных разрядов при приложенном напряжении переменного тока допускается проводить по согласованию между заказчиком (потребителем) и изготовителем. Также по согласованию между заказчиком (потребителем) и изготовителем устанавливают порядок проведения испытаний, значение(я) испытательного напряжения и критерии приемки.
|
Наибольшее напряжение для оборудования Um, кВ |
Номинальный ток, А | |||
|
<800 |
1000 - 1600 | |||
|
ММН | ||||
|
N | ||||
|
Ввод, установленный с отклонением от вертикали <30° | ||||
|
I |
II |
I |
II | |
|
52 |
500 |
800 |
625 |
800 |
|
72,5 |
500 |
1000 |
625 |
1000 |
|
123 и 145 |
625 |
1575 |
800 |
1575 |
|
170 |
625 |
2000 |
800 |
2000 |
|
Обозначения: - уровень I - нормальная нагрузка, - уровень II - высокая нагрузка. Для вводов, эксплуатируемых при угле отклонения от вертикали более 30°, при выборе испытательной нагрузки и метода измерений следует учитывать эффект нагрузки от собственной массы. Вышеуказанные значения предназначены для испытаний выводов, расположенных в вертикальном положении. Если ввод, находящийся в наклонном или горизонтальном положении, необходимо испытывать в вертикальном положении, то для достижения изгибающего момента на фланце следует приложить силу, эквивалентную весу ввода в рабочем положении. Если ввод, находящийся в вертикальном положении, необходимо испытывать в горизонтальном положении, то испытательную нагрузку уменьшают соответствующим образом. Данная таблица приведена в МЭК 60137. | ||||
Приложение A
(справочное)
A.1 Общие положения
При проведении некоторых испытаний необходимо повысить температуру токопроводящей жилы до заданного значения, как правило, на 5 - 10 К выше максимально допустимой температуры жилы при нормальных условиях эксплуатации путем приложения к кабелю напряжения промышленной частоты или импульсного напряжения. При этом возможность доступа к токопроводящей жиле для непосредственного измерения ее температуры отсутствует.
Температуру жилы следует поддерживать в ограниченном диапазоне (5 К), при этом температура окружающей среды может изменяться в более широком диапазоне.
Сначала предварительная калибровка испытуемого кабеля или расчеты могут быть удовлетворительными, при этом следует учитывать, что изменение условий окружающей среды в течение всего испытания может привести к отклонениям температуры жилы за допустимые пределы.
В связи с вышеизложенным следует применять методы, в которых температуру жилы можно постоянно регистрировать и контролировать в течение всего испытания.
Ниже приведено руководство по применению общепринятых методов измерений.
A.2 Калибровка температуры основного испытательного контура
A.2.1 Общие положения
Калибровку проводят с целью определения температуры токопроводящей жилы путем непосредственных измерений при заданном значении тока в требуемом для испытаний диапазоне температур.
Используемый для калибровки кабель (здесь и далее - эталонный кабель) должен быть идентичен испытуемому кабелю.
A.2.2 Монтаж кабеля датчиков температур
Калибровку проводят на эталонном кабеле длиной не менее 5 м, отобранном от такого же кабеля, что и испытуемый. Длина эталонного кабеля должна быть такой, чтобы при передаче тепла вдоль кабеля к его концам температура центральной двухметровой части кабеля не изменялась более чем на 2 К.
В середине эталонного кабеля размещают два датчика температуры: один датчик TC1c на токопроводящей жиле, а другой датчик TC1s на внешней поверхности или непосредственно под внешней поверхностью оболочки эталонного кабеля.
Два других датчика TC2c и TC3c устанавливают на токопроводящей жиле эталонного кабеля (см. рисунок A.1); каждый датчик крепят на расстоянии, приблизительно равном 1 м от центра кабеля.
Размеры в миллиметрах

1 - нагревные трансформаторы, индуцирующие ток; 2 - концевые муфты; 3 - испытуемый кабель; 4 – эталонный кабель (не менее 5 м); 5 - измерительные трансформаторы; 6 - датчик TC3c, установленный на токопроводящей жиле эталонного кабеля; 7 - датчик TC1c, установленный на токопроводящей жиле эталонного кабеля; 8 – датчик TC1s, установленный на оболочке эталонного кабеля; 9 - датчик TC2c, установленный на токопроводящей жиле эталонного кабеля; 10 - датчик TCs, установленный на оболочке испытуемого кабеля
Рисунок A.1 - Типовая испытательная установка эталонного и основного испытательного контуров
Датчики температуры крепят к токопроводящей жиле с использованием механических приспособлений, так как они могут перемещаться вследствие колебаний кабеля при нагреве. Следует применять меры по обеспечению надежного теплового контакта во время испытаний и по предотвращению утечки тепла в окружающую среду. Рекомендуется крепить датчики, как показано на рисунке A.2, между двух проволок многопроволочной жилы или между (сплошной) жилой и экраном по жиле. Для обеспечения доступа к жиле в середине эталонного кабеля проделывают небольшой проем путем удаления слоев, лежащих выше токопроводящей жилы. После установки датчика(ов) удаленные слои допускается вернуть на место с целью восстановления тепловых характеристик кабеля.

1 - токопроводящая жила; 2 - электропроводящие экраны; 3 - изоляция; 4 - металлическая оболочка; 5 – эластичный теплоизолирующий компаунд; 6 - датчик тепла; 7 - наружная оболочка кабеля
Рисунок A.2 - Пример месторасположения датчика температуры на токопроводящей жиле эталонного кабеля
При передаче незначительного количества тепла в направлении концов кабеля разность между показаниями датчиков TC1c, TC2c и TC3 должна быть менее 2 К.
Если основной испытательный контур состоит из нескольких отдельных отрезков кабеля, смонтированных близко друг к другу, то эти отрезки подвержены тепловому эффекту близости. Поэтому калибровку следует проводить с учетом фактической схемы испытаний, при этом измерения выполняют на самом горячем участке кабеля (как правило, в средней части).
A.2.3 Метод калибровки
Калибровку проводят в помещении при отсутствии сквозняков и температуре (20 ± 15) °C.
Для одновременного измерения температуры токопроводящей жилы, наружной оболочки и окружающей среды следует использовать записывающие устройства.
Кабель нагревают до тех пор, пока температура токопроводящей жилы по показаниям датчика TC1c (см. рисунок A.1) не стабилизируется и не достигнет значения на 5 - 10 К выше максимально допустимой температуры на жиле кабеля при нормальных условиях эксплуатации (см. таблицу 1).
После достижения стабилизации фиксируют следующие параметры:
- температуру токопроводящей жилы эталонного кабеля: среднее значение на датчиках температур TC1c, TC2c и TC3c;
- температуру наружной оболочки эталонного кабеля в месте нахождения датчика температур TC1s;
- температуру окружающей среды;
- ток нагрева.
A.3 Методы испытаний
A.3.1 Метод 1. Испытание с применением эталонного кабеля
Эталонный кабель, идентичный испытуемому кабелю, нагревают тем же током, который проходит по основному испытательному контуру.
Монтаж кабеля и датчиков температур проводят по A.2.
Испытания проводят при следующих условиях:
- по эталонному кабелю постоянно проходит тот же ток, что в основном испытательном контуре, допускается незначительное изменение значения тока для выравнивания поверхностных температур на испытуемом и эталонном кабелях;
- монтаж выполнен таким образом, что взаимное тепловое воздействие испытуемого и эталонного кабелей учитывается в течение всего испытания.
Ток нагрева должен быть отрегулирован так, чтобы температура жилы поддерживалась в установленных пределах.
Датчик температур TCs устанавливают на или под наружной оболочкой основного испытательного контура в наиболее горячей точке, как правило, в его середине. Аналогичным образом устанавливают датчик температур TC1s в наиболее горячей точке эталонного кабеля для контроля того, что наружные оболочки обоих контуров имеют одинаковую температуру.
Температуру, измеренную датчиком температур TC1c на токопроводящей жиле эталонного кабеля, допускается принять за температуру токопроводящей жилы испытательного контура под напряжением.
Все датчики температуры должны быть соединены с записывающим устройством для обеспечения мониторинга температуры. Ток нагрева каждого контура должен быть также зафиксирован для того, чтобы проверить, что оба значения тока одинаковы в течение всего испытания. Разность между токами нагрева должна быть в пределах ± 1%.
Эталонный кабель может быть подсоединен последовательно к испытуемому кабелю, если температуру измеряют с использованием оптоволоконного кабеля или аналогичным способом.
A.3.2 Метод 2. Испытание методом расчета температуры токопроводящей жилы кабеля на основе измерений температуры его наружной оболочки
A.3.2.1 Калибровка температуры токопроводящей жилы
Калибровку проводят с целью определения температуры токопроводящей жилы путем непосредственного измерения при заданном значении тока в пределах диапазона температур, установленного для испытаний.
Используемый для калибровки эталонный кабель и способ нагрева должны быть идентичны испытуемому кабелю и его способу нагрева.
Монтаж кабеля и датчиков температур - по A.2.
Калибровку проводят в соответствии с A.2.3.
A.3.2.2 Проведение испытания
При калибровке и проведении испытаний основного контура температуру токопроводящей жилы кабеля основного испытательного контура рассчитывают по МЭК 60853-2 на основе температуры наружной оболочки испытуемого кабеля, измеренной датчиком TCs. Измерения проводят в наиболее горячем месте датчиком температуры, установленным на или под наружной поверхностью оболочки испытуемого кабеля, аналогичным образом, как для эталонного кабеля.
Допускается выполнять расчет по МЭК 60287-1-1, если асимптотическая температура переходного процесса достигается за установленное время.
Ток нагрева регулируют для получения требуемого значения расчетной температуры токопроводящей жилы испытуемого кабеля, получаемого на основе измерений температуры его наружной оболочки.
Приложение B
(обязательное)
Если необходимо округлить значение до определенного знака после запятой, например при расчете среднего значения нескольких измерений или минимального значения, используя допуск в процентах от заданного номинального значения, то выполняют следующие действия:
- если до округления последнего знака, который должен быть оставлен после запятой, приведены цифры 0, 1, 2, 3 или 4, то цифру оставляют без изменения (округление в сторону уменьшения);
- если до округления последнего знака, который должен быть оставлен после запятой, приведены цифры 9, 8, 7, 6 или 5, то цифру увеличивают на единицу (округление в сторону увеличения).
Примеры:
2,449 ≈ 2,45 округление до двух знаков после запятой.
2,449 ≈ 2,4 округление до одного знака после запятой.
2,453 ≈ 2,45 округление до двух знаков после запятой.
2,453 ≈ 2,5 округление до одного знака после запятой.
25,0478 ≈ 25,048 округление до трех знаков после запятой.
25,0478 ≈ 25,05 округление до двух знаков после запятой.
25,0478 ≈ 25,0 округление до одного знака после запятой.
Приложение C
(справочное)
Типовые испытания кабельных систем, кабелей и арматуры приведены в разделах 12, 14 и 15 соответственно.
Объем типовых испытаний кабельных систем, кабелей и арматуры со ссылками на соответствующие разделы настоящего стандарта приведен в таблице C.1.
|
Пункт |
Испытание |
Подраздел, пункт, приложение настоящего стандарта | ||
|
кабельная система |
кабель |
арматура | ||
|
a |
Общие положения |
12.1 |
14.1 |
15.1 |
|
b |
Типовые испытания для подтверждения соответствия |
12.2 |
14.2 |
15.2 |
|
c |
Типовые электрические испытания |
12.4 |
14.4 |
15.4 |
|
d |
Значения испытательного напряжения |
12.4.1 |
12.4.1 |
12.4.1 |
|
e |
Испытание на изгиб |
12.4.3 |
12.4.3 |
- |
|
Измерение частичных разрядов при температуре окружающей среды |
12.4.4 |
12.4.4 |
12.4.4 | |
|
f |
Измерение тангенса угла диэлектрических потерь tgδ |
12.4.5 |
12.4.5 |
- |
|
g |
Испытание напряжением с циклами нагрева |
12.4.6 |
12.4.6 |
12.4.6 |
|
h |
Измерение частичных разрядов при высокой температуре |
12.4.4 |
- |
12.4.4 |
|
Измерение частичных разрядов при температуре окружающей среды [после последнего цикла нагрева или после испытания грозовым импульсным напряжением по пункту i)] |
12.4.4 |
12.4.4 |
12.4.4 | |
|
i |
Испытание грозовым импульсным напряжением с последующим испытанием напряжением промышленной частоты |
12.4.7 |
12.4.7 |
12.4.7 |
|
j |
Измерение частичных разрядов при высокой температуре [если не проводилось после испытаний по пункту g)] |
12.4.4 |
- |
12.4.4 |
|
Измерение частичных разрядов при температуре окружающей среды [если не проводилось после испытаний по пункту g)] |
12.4.4 |
12.4.4 |
12.4.4 | |
|
k |
Дополнительные испытания арматуры |
Приложение H |
- |
Приложение H |
|
l |
Внешний осмотр |
12.4.8 |
12.4.8 |
12.4.8.1 |
|
m |
Измерение удельного электрического сопротивления электропроводящих полимерных экранов |
12.4.9 |
12.4.9 |
- |
|
n |
Типовые неэлектрические испытания кабеля и элементов конструкции кабеля |
12.5 |
12.5 |
- |
Предквалификационные испытания кабельных систем с расчетным значением номинальной напряженности электрического поля на экране токопроводящей жилы свыше 8,0 кВ/мм или расчетным значением номинальной напряженности электрического поля по изоляции свыше 4,0 кВ/мм установлены в 13.1 и 13.2.
Испытания, проводимые для расширения предквалификационных испытаний кабельных систем с расчетным значением номинальной напряженности электрического поля на экране токопроводящей жилы свыше 8,0 кВ/мм или расчетным значением номинальной напряженности электрического поля по изоляции свыше 4,0 кВ/мм приведены в 13.1 и 13.3.
Объем предквалификационных испытаний кабельных систем со ссылками на соответствующие разделы настоящего стандарта приведен в таблице C.2.
|
Пункт |
Испытание |
Подраздел, пункт |
|
кабельная система | ||
|
a |
Общие положения и предквалификационные испытания для подтверждения соответствия |
13.1 |
|
b |
Предквалификационные испытания |
13.2 |
|
c |
Требования к предквалификационным испытаниям |
13.2.1 |
|
d |
Значения испытательного напряжения |
13.2.2 |
|
e |
Условия проведения испытаний и испытательная сборка |
13.2.3 |
|
f |
Испытание напряжением с циклами нагрева |
13.2.4 |
|
g |
Испытание грозовым импульсным напряжением |
13.2.5 |
|
h |
Внешний осмотр |
13.2.6 |
Объем расширенных предквалификационных испытаний кабельных систем, кабелей и арматуры с ссылками на соответствующие разделы настоящего стандарта приведен в таблице C.3.
|
Пункт |
Испытание |
Подраздел, пункт |
|
кабельная система | ||
|
a |
Испытания, проводимые для расширения предквалификационных испытаний |
13.3 |
|
b |
Испытания, проводимые в рамках расширенных предквалификационных испытаний |
13.3.1 |
|
c |
Электрические испытания |
13.3.2 |
|
d |
Общие положения |
13.3.2.1 |
|
e |
Значения испытательного напряжения |
13.3.2.2 |
|
f |
Последовательность электрических испытаний |
13.3.2.3 |
|
g |
Испытание с циклами нагрева без подачи напряжения |
13.3.2.4 |
Приложение D
(обязательное)
Каждый образец отбирают от выборки кабеля. Длина образца - не менее 150 мм.
При измерениях на экране по жиле образец подготавливают следующим образом: изолированную жилу разрезают вдоль пополам и удаляют жилу и сепаратор (при наличии) [см. рисунок D.1 a)]. При измерениях на экране по изоляции образец подготавливают следующим образом: удаляют все покрытия с экрана, наложенного по изоляции жилы [см. рисунок D.1 b)].
Размеры в миллиметрах

1 - экран по изоляции; 2 - экран по жиле; A, D - электроды тока; B, C - электроды напряжения
a) Образец для измерений удельного объемного электрического сопротивления экрана по жиле
Размеры в миллиметрах

1 - экран по изоляции; 2 - экран по жиле; A, D - электроды тока; B, C - электроды напряжения
b) Образец для измерений удельного объемного электрического сопротивления экрана по изоляции
Рисунок D.1 - Образцы для измерений удельного объемного электрического сопротивления экранов по жиле и изоляции
Удельное объемное электрическое сопротивление экранов определяют следующим образом.
Электроды A, B, C и D, покрытые серебряной краской [см. рисунки D.1 a) и D.1 b)], закрепляют на электропроводящих поверхностях. Электроды напряжения B и C должны находиться на расстоянии 50 мм один от другого, а электроды тока A и D - на расстоянии не менее 25 мм от электродов напряжения.
Соединения на электродах должны быть выполнены посредством соответствующих зажимов. Выполняя соединение электродов экрана по жиле, следует убедиться, что на внешней поверхности образца зажимы надежно изолированы от экрана по изоляции.
Данную сборку помещают в предварительно нагретый до установленной температуры термостат. По истечении не менее 30 мин измеряют электрическое сопротивление между электродами посредством цепи, выделяемая мощность которой должна быть не более 100 мВт.
После проведения электрических измерений при температуре окружающей среды измеряют диаметры по экранам по жиле и по изоляции. За результат измерений принимают среднее значение шести измерений, выполненных на образце, представленном на рисунке D.1 b).
Удельное объемное электрическое сопротивление экранов ρ, Ом·м, вычисляют по формулам:
- для экрана по жиле
,
где ρc - удельное объемное электрическое сопротивление экрана по жиле, Ом·м;
Rc - измеренное электрическое сопротивление, Ом;
Lc - расстояние между электродами напряжения, м;
Dc - наружный диаметр экрана по жиле, м;
Tc - средняя толщина экрана по жиле, м;
- для экрана по изоляции
,
где ρi - удельное объемное электрическое сопротивление экрана по изоляции, Ом·м;
Ri - измеренное электрическое сопротивление, Ом;
Li - расстояние между электродами напряжения, м;
Di - наружный диаметр экрана по изоляции, м;
Ti - средняя толщина экрана по изоляции, м.
Приложение E
(обязательное)
E.1 Подготовка образца
Образец кабеля длиной не менее 6 м, не использованный ни в одном из испытаний по 12.4 или 14.4, испытывают на изгиб по 12.4.3.
Образец кабеля, подвергнутого испытанию на изгиб, длиной не менее 6 м размещают горизонтально. В центре образца вырезают кольцо шириной, приблизительно равной 50 мм. Это кольцо должно содержать все элементы конструкции кабеля, находящиеся с наружной стороны экрана по изоляции. Если токопроводящая жила также герметизирована, то в кольцо должны быть включены все элементы конструкции кабеля, находящиеся с наружной стороны токопроводящей жилы.
Если в кабеле содержатся отдельные барьеры, расположенные с определенным шагом, препятствующие продольному проникновению воды (образец должен иметь по крайней мере два таких барьера), то кольцо вырезают также из участка между барьерами. В этом случае для таких кабелей должно быть известно среднее значение расстояния между барьерами.
Поверхности должны быть срезаны таким образом, чтобы границы раздела конструкции, проверяемые на продольную герметичность, были открыты для воздействия воды. Границы раздела конструкции, не предназначенные для проверки на продольную герметичность, должны быть герметизированы соответствующим материалом или наружные покрытия должны быть удалены.
Испытательное устройство (см. рисунок E.1) должно быть смонтировано так, чтобы трубка диаметром не менее 10 мм была расположена вертикально над вырезанным кольцом и герметично примыкала к поверхности наружной оболочки. В местах, в которых кабель выходит из испытательного устройства, уплотнения испытательного устройства не должны оказывать механического давления на кабель.
Размер в миллиметрах

1 - резервуар с водой; 2 - вентиляционное отверстие; 3 - кабель; d - Ø10 мм, не менее (внутренний); s - 50 мм (приблизительно); p - длина не менее 6000 мм
Рисунок E.1 - Схема устройства для испытаний на водонепроницаемость кабеля
Примечание - Стойкость отдельных барьеров кабеля к продольному проникновению воды может зависеть от состава воды (например от pH, т.е. концентрации водородных ионов). Если не указано иное, то для испытаний применяют обычную водопроводную воду.
E.2 Проведение испытаний
В течение 5 мин трубку заполняют водопроводной водой температурой (20 ± 10) °C так, чтобы уровень воды составлял 1 м над осью кабеля (см. рисунок E.1).
Образец выдерживают в течение 24 ч.
Затем образец подвергают 10 циклам нагрева. Токопроводящую жилу нагревают до тех пор, пока ее температура не достигнет постоянного значения на 5 - 10 К выше максимально допустимой температуры нагрева жилы при нормальных условиях эксплуатации, но не выше 100 °C.
Продолжительность цикла нагрева - 8 ч. Температуру жилы поддерживают в пределах установленных значений в течение не менее 2 ч в каждом периоде нагрева. Затем следует период естественного охлаждения в течение не менее 16 ч.
Столб воды поддерживают на уровне 1 м.
Примечание - В течение всего испытания напряжение к жиле не прикладывают. Последовательно с испытуемым кабелем подсоединяют эталонный кабель, при этом температуру измеряют непосредственно на токопроводящей жиле эталонного кабеля.
E.3 Требования к результатам испытаний
При проведении испытания на концах образца не должна появляться вода.
Приложение F
(обязательное)
F.1 Подготовка образца
Образец кабеля длиной не менее 3 м, прошедший испытание на изгиб в соответствии с 12.4.3, размещают горизонтально.
Все слои, которые являются наружными по отношению к экрану изоляции кабеля, удаляют с образца и на обоих концах испытуемого кабеля полностью обнажают токопроводящую жилу.
В соответствующую камеру помещают один конец испытуемого образца. Камера должна быть оборудована вентиляционным отверстием и отдельной вертикальной трубкой, внутренний диаметр которых не менее 10 мм, с водонапорным бачком для создания и приложения давления столба воды в трубе на уровне 1 м (см. рисунок F.1). Место выхода кабеля за пределы камеры герметизируют. При герметизации в месте выхода кабеля за пределы камеры не должно быть деформации его изоляции во время проведения испытаний.
Размер в миллиметрах

1 - водонапорный бачок; 2 - вентиляционное отверстие; 3 - испытуемый образец; 4 - камера; 5 - проходной клапан при необходимости); d - Ø10 мм, не менее (внутренний); p - длина не менее 3000 мм
Рисунок F.1 - Схема устройства для испытания на водонепроницаемость токопроводящей жилы
Примечание - Стойкость отдельных барьеров кабеля к продольному проникновению воды может зависеть от состава воды (например от pH, т.е. концентрации водородных ионов). Если не указано иное, то для испытаний применяют обычную водопроводную воду.
F.2 Проведение испытаний
В течение 5 мин трубку заполняют водопроводной водой температурой (20 ± 10) °C так, чтобы высота столба воды на 1 м превышала уровень кабеля (см. рисунок F.1).
Образец выдерживают в течение 11 дней при температуре окружающей среды.
F.3 Требования к результатам испытаний
При проведении испытаний на конце образца не должна появляться вода.
Приложение G
(обязательное)
G.1 Внешний осмотр
Проводят разделку кабеля и внешний осмотр. Внешний осмотр образцов проводят без применения увеличительных приборов. При внешнем осмотре на образцах не должны быть выявлены расслоения, складки, трещины или разрывы металлической ленты или фольги, а также коробления или перехлеста проволок экрана.
G.2 Испытания на прочность адгезии и прочность при отслаивании
G.2.1 Общие положения
Адгезию и прочность при отслаивании вычисляют по формуле
F/w,
где F - сила, Н;
w - ширина ленты, мм.
При применении в кабеле экрана конструкции CD (комбинированная конструкция - металлический экран, обеспечивающий радиальную водонепроницаемость и электрические характеристики) есть вероятность того, что отслаивание может привести к повреждению металлического компонента и ухудшить электрическую функциональность экрана. Следовательно, значения прочности адгезии и прочности при отслаивании ламинированного (многослойного) покрытия должны быть максимальными.
При применении в кабеле экрана конструкции SD (раздельная конструкция - металлический экран, в котором для обеспечения радиальной водонепроницаемости и электрических характеристик используют различные металлические элементы) отсутствует вероятность того, что расслоение изменит электрическую функциональность экрана. Кабель может функционировать при возникновении токов короткого замыкания за счет наличия в составе экрана проволок. При этом значения прочности адгезии и прочности при отслаивании должны быть максимальными с целью недопущения образования складок и изгибов в многослойном покрытии.
При применении в кабеле экрана конструкции SscD (конструкция экрана с раздельными электрическими и радиальными свойствами водонепроницаемости с фольгой, покрытой электропроводящим полимером) испытание не проводят в связи с тем, что металлическая фольга настолько тонкая, что ломается во время испытаний на прочность сцепления или отслаивания.
Примечание - Примеры вышеуказанных конструкций приведены в IEC TR 61901:2016 (приложение A).
G.2.2 Испытания на прочность адгезии
Испытуемый образец отбирают от покрытия кабеля в том месте, где металлическая лента или фольга обладает адгезией к наружной оболочке.
Отбирают пять образцов, три из которых с места перекрытия металлической фольги или сварного шва металлической ленты, два других - с противоположной стороны кабеля.
Длина и ширина одного образца должны быть 200 и 10 мм соответственно.
От поверхности образца с одного конца отделяют ленту на длине 50 - 120 мм и вставляют его в разрывную машину, закрепив свободный конец наружной оболочки в одном зажиме. Свободный конец металлической ленты или фольги отводят вниз и закрепляют в другом зажиме, как показано на рисунке G.1.

1 - наружная оболочка образца; 2 - металлическая лента или фольга; 3 - зажим
Рисунок G.1 - Месторасположение испытуемого образца при испытании на прочность адгезии
Во время испытаний образец должен находиться приблизительно в вертикальном положении в плоскости зажимов.
После регулировки записывающего устройства начинают отделение металлической фольги от образца под углом приблизительно 180° и продолжают на достаточной длине, чтобы получить значение прочности адгезии. Не менее чем на половине оставшегося склеенного участка испытание на адгезию (отделение) проводят со скоростью, приблизительно равной 50 мм/мин.
G.2.3 Испытания на прочность при отслаивании металлической фольги, наложенной с перекрытием
Образец длиной не менее 200 мм отбирают от кабеля, включая участок перекрытия металлической фольги. Испытуемый образец подготавливают, вырезая из него только часть металлической фольги с перекрытием, как показано на рисунке G.2.

1 - образец; 2 - наружная оболочка образца; 3 - металлическая фольга или ламинированная металлическая лента
Рисунок G.2 - Пример металлической фольги, наложенной с перекрытием
Испытания проводят аналогично испытаниям на прочность адгезии. Месторасположение испытуемого образца показано на рисунке G.3.
Испытания проводят на трех образцах.

1 - наружная оболочка образца; 2 - металлическая фольга или ламинированная металлическая фольга; 3 - зажим
Рисунок G.3 - Месторасположение испытуемого образца при испытании на прочность отслаивания металлической фольги с перекрытием
G.2.4 Требования к результатам испытаний
Значение прочности регистрируют в зависимости от расстояния между зажимами. Типовые графики значений прочности приведены на рисунках G.4 и G.5.

Рисунок G.4 - Типовой график зависимости прочности от расстояния между зажимами (вариант 1)

Рисунок G.5 - Типовой график зависимости прочности от расстояния между зажимами (вариант 2)
Первая часть кривой относится к подготовке образца. Убывающая часть кривой соответствует концу образца. В промежуточной части кривой отражено устойчивое состояние образца. Минимально допустимые значения прочности адгезии и прочности при отслаивании Fmin приведены в таблице G.1, определенные при увеличении расстояния между зажимами не менее чем на 50 мм. Допускается использовать разрывную машину с прямой индикацией минимального значения прочности или выводом информации через графопостроитель. На рисунках G.4 и G.5 представлены типовые графики с кривыми на выходе графопостроителя с соответствующими обозначениями.
|
Прочность адгезии или прочность при отслаивании Fmin |
Конструкция экрана | |||||
|
CD |
SD |
SscD | ||||
|
Н/мм |
Медь |
1,5 |
Медь |
1,0 |
Медь |
NA |
|
Н/мм |
Алюминий |
1,5 |
Алюминий |
1,0 |
Алюминий |
NA |
|
Н/мм |
Перекрытие |
1,5 |
Перекрытие |
1,0 |
Перекрытие |
NA |
|
В таблице приведено обозначение NA - испытание не проводят. | ||||||
Приложение H
(обязательное)
H.1 Общие положения
Настоящее приложение устанавливает процедуру проведения дополнительных типовых испытаний следующей арматуры:
- соединительных муфт с разрывом или без разрыва экрана;
- арматуры для разрыва экрана кабеля и/или заземления экрана кабеля;
- концевых устройств с секционирующей изоляцией;
- композитных изоляторов для концевых муфт наружной установки.
Арматуру, предназначенную для монтажа на воздухе, допускается не подвергать испытанию погружением в воду только по согласованию между заказчиком (потребителем) и поставщиком. В этом случае учитывают риск наличия воды, например при монтаже в тоннелях или любой другой риск временного воздействия воды на соединительные муфты или арматуру.
Арматура, выдержавшая испытание погружением в воду, соответствует требованиям монтажа как на воздухе, так и в других условиях. Арматура, не подвергавшаяся испытанию погружением в воду, не соответствует требованиям монтажа при подземной прокладке кабеля или в среде, в которой существует риск воздействия воды.
Изготовитель арматуры должен предоставить схему с четким указанием всех особенностей испытаний, проводимых в соответствии с настоящим приложением.
В таблице H.1 указана последовательность испытаний арматуры разных типов.
|
Последовательность испытаний |
Соединительные муфты без разрыва экрана или металлической оболочки кабеля и арматура без разрыва экрана или металлической оболочки кабеля (например, для заземления) |
Соединительные муфты с разрывом экрана или металлической оболочки и арматура с разрывом экрана и/или металлической оболочки кабеля (например, для заземления и/или транспозиции) |
Концевые муфты с секционирующей изоляцией |
Композитные изоляторы концевых муфт наружной установки |
|
Раздел H.3 |
Раздел H.3 |
Раздел H.4 |
Раздел H.6 | |
|
20 циклов нагрева с приложением или без приложения напряжения |
x |
x |
- |
- |
|
Кондиционирование погружением в воду (20 циклов нагрева) |
x |
x |
- |
- |
|
Испытание напряжением "экран-земля" постоянного тока |
x |
x |
x |
- |
|
Испытание напряжением "экран-экран" постоянного тока |
- |
x |
- |
- |
|
Испытание грозовым импульсным напряжением "экран-земля" |
x |
x |
x |
- |
|
Испытание грозовым импульсным напряжением "экран-экран" |
- |
x |
- |
- |
|
Испытание внутреннем давлением |
- |
- |
- |
x |
|
Испытание консольной нагрузкой |
- |
- |
- |
x |
|
Внешний осмотр (раздел H.5) |
x |
x |
x |
- |
|
Не применяют к арматуре, предназначенной для установки на воздухе, испытание погружением в воду не проводят. | ||||
H.2 Типовые испытания для подтверждения соответствия
H.2.1 Типовые испытания для подтверждения соответствия соединительных муфт без разрыва экрана или металлической оболочки кабеля
Успешное проведение типовых испытаний в последовательности (см. таблицу H.1) и в соответствии с настоящим приложением соединительной муфты без разрыва экрана является подтверждением соответствия установленным требованиям также и всех соединительных муфт без разрыва экрана для токопроводящих жил равного или меньшего сечения, при соответствии основных конструктивных параметров и одинаковых материалов, испытываемых при равных или меньших значениях испытательного напряжения.
Если требуется проведение испытаний для подтверждения соответствия для внешней защиты соединительной муфты, содержащей вводы для таких элементов, как выводы транспозиции, то внешняя защита испытуемой муфты должна включать в себя эти конструктивные элементы.
Положительными результатами испытаний наружной защиты соединительной муфты с вводами для дополнительных компонентов подтверждается возможность применения этой защиты для подобной соединительной муфты без вводов для дополнительных компонентов, но не наоборот.
H.2.2 Типовые испытания для подтверждения соответствия соединительных муфт с разрывом экрана или металлической оболочки кабеля
Успешное проведение типовых испытаний в соответствии и последовательности с данным приложением соединительной муфты с разрывом экрана является подтверждением соответствия установленным требованиям всех соединительных муфт с разрывом экрана или без разрыва экрана для токопроводящих жил равного или меньшего сечения, при соответствии основных конструктивных исполнений и применяемых материалов испытуемых муфт при равных или меньших значениях испытательного напряжения.
Если требуется проведение типовых испытаний для подтверждения соответствия соединительной муфты с разрывом металлической оболочки, имеющей вводы для таких элементов, как соединительные кабели, то испытуемая муфта должна включать в себя эти элементы.
Положительными результатами испытаний соединительной муфты с разрывом металлической оболочки с вводящими элементами транспозиции подтверждается соответствие такой металлической оболочки для аналогичной соединительной муфты без вводных элементов, но не наоборот.
H.2.3 Типовые испытания для подтверждения соответствия арматуры с разрывом экрана и/или металлической оболочки кабеля
Успешное проведение типовых испытаний в последовательности и соответствии с данным приложением кабеля с разрывом экрана или металлической оболочки является подтверждением его соответствия установленным требованиям, и его результаты считают действительными для всех кабелей с разрывом экрана или металлической оболочки, выпускаемых одним и тем же изготовителем, имеющих одинаковые базовые принципы конструкции, при равной или более низкой группе напряжения.
H.2.4 Типовые испытания концевых муфт с секционирующей изоляцией
Успешное проведение типовых испытаний концевых муфт с секционирующей изоляцией в последовательности и соответствии с данным приложением является подтверждением соответствия установленным требованиям всех концевых муфт с секционирующей изоляцией этого же изготовителя, при условии соблюдения одинаковых основных конструктивных принципов секционирования для равной или более низкой группы напряжения.
H.3 Испытания соединительных муфт и арматуры с разрывом или без разрыва экрана или металлической оболочки кабеля
H.3.1 Выдержка в воде
Испытание погружением в воду соединительных муфт или кабелей проводят последовательно на соединительной муфте, успешно выдержавшей испытание напряжением с циклами нагрева по 12.4.6, или на отдельной соединительной муфте, которая должна выдержать не менее 20 циклов нагрева без приложения напряжения в соответствии с перечислением g) 12.4.2.
Сборку, подлежащую испытаниям для подтверждения соответствия, погружают в воду на глубину не менее 1 м от самой высокой точки металлической оболочки. Для этих целей допускается применять напорный резервуар, соединенный с герметичным сосудом, содержащим испытательную сборку.
Дополнительные испытания напряжением в соответствии с H.3.2 допускается проводить перед началом циклов нагрева/охлаждения по согласованию с изготовителем.
Проводят 20 циклов "нагрев/охлаждение" с повышением температуры воды до температуры на 15 - 20 К ниже максимальной допустимой температуры на жиле кабеля при нормальных условиях эксплуатации. В каждом цикле воду нагревают до установленной температуры, выдерживают испытуемый образец при этом значении в течение не менее 5 ч, затем охлаждают до температуры на 10 К выше температуры окружающей среды. Данную температуру можно получить, добавляя воду более низкой или более высокой температуры. Минимальная длительность каждого цикла нагрева и охлаждения должна составлять 12 ч и длительность повышения температуры воды до указанного значения должна по возможности равняться длительности охлаждения воды до 30 °C или до значения, которое на 10 К превышает температуру окружающей среды, в зависимости от того, какое из этих значений больше.
H.3.2 Электрические испытания
H.3.2.1 Общие положения
После завершения циклов нагрева испытуемую сборку оставляют в воде и проводят испытания напряжением (при необходимости) в соответствии с настоящим пунктом.
Во время проведения любого из электрических испытаний не должен происходить пробой изоляции соединительных муфт с разрывом или без разрыва экрана или кабелей с разрывом экрана.
Во время проведения любого из электрических испытаний на концевых разделках не должны наблюдаться искровые разряды.
Все испытания, приведенные в настоящем приложении, проводят при температуре окружающей среды, если не указано иное.
При проведении испытаний выдержкой в воде арматуры электрические испытания в соответствии с H.3.2.2 и H.3.2.4 проводят при нахождении сборки в воде. Если проведение электрических испытаний сборки при нахождении ее в воде практически нецелесообразно, то сборку извлекают из воды и проводят на ней электрические испытания при минимальной задержке. В этом случае заземление испытуемого образца достигают обертыванием его мокрой тканью или с использованием электропроводящего покрытия, наложенного поверх всей наружной поверхности испытуемой сборки.
Если испытание выдержкой в воде арматуры не проводят, то заземление испытуемого образца достигают обертыванием его электропроводящей лентой или сеткой или применением электропроводящего покрытия, наложенного поверх всей наружной поверхности испытуемой сборки.
H.3.2.2 Испытание напряжением постоянного тока, приложенным между экраном и землей
Испытательное напряжение 25 кВ постоянного тока прикладывают в течение 1 мин между металлическим экраном или оболочкой и внешней частью заземленной наружной защиты испытуемого образца.
H.3.2.3 Испытание напряжением постоянного тока, приложенным между экранами кабеля
Испытательное напряжение 25 кВ постоянного тока прикладывают в течение 1 мин между обеими сторонами разрыва металлического экрана или оболочки испытуемого образца.
H.3.2.4 Испытание грозовым импульсным напряжением, приложенным между экраном и землей
Испытательное напряжение в соответствии с таблицей H.2 прикладывают между металлическими экранами/оболочками и внешней частью сборки.
Процедура испытаний должна соответствовать МЭК 60230.
В киловольтах
|
Наибольшее значение напряжения оборудования Um |
Уровень грозового импульсного напряжения | |
|
Между каждой частью и землей | ||
|
Выводы для транспозиции длиной ≤ 3 м |
Выводы для транспозиции длиной> 3 м и ≤ 10 м | |
|
≤ 72,5 |
30 |
30 |
|
> 72,5 |
30 |
37,5 |
|
См. графу 2 таблицы 4. Если ограничители напряжения на оболочке размещены около соединительной муфты или кабеля, то используют напряжения для транспозиции выводов длиной ≤ 3 м. | ||
H.3.2.5 Испытание грозовым импульсным напряжением "экран-экран"
Перед приложением испытательного грозового импульсного напряжения между металлическими экранами/оболочками сборку извлекают из воды, если предварительно проводилось испытание выдержкой в воде.
Испытательное напряжение прикладывают в соответствии с таблицей H.3.
Процедура испытаний должна соответствовать МЭК 60230.
В киловольтах
|
Наибольшее значение напряжения оборудования Um |
Уровень грозового импульсного напряжения | |
|
Между частями | ||
|
Выводы для транспозиции длиной ≤ 3 м |
Выводы для транспозиции длиной> 3 м и ≤ 10 м | |
|
≤ 72,5 |
60 |
60 |
|
> 72,5 |
60 |
75 |
|
См. графу 2 таблицы 4. Если ограничители напряжения оболочки размещены около соединительной муфты или кабеля, то используют напряжения для транспозиционных выводов длиной ≤ 3 м. | ||
H.4 Испытания концевых муфт с секционированной изоляцией
H.4.1 Испытание напряжением "экран-земля" постоянного тока
Испытательное напряжение 25 кВ постоянного тока прикладывают в течение 1 мин через выводы экранов кабелей к изоляции, установленной между экранами образцов секционированных кабелей.
H.4.2 Испытание грозовым импульсным напряжением "экран-земля"
Для испытаний концевых муфт с секционирующуй изоляцией испытательное напряжение в соответствии с таблицей H.4 прикладывают между экраном и землей к изоляции образца, разделяющей секции.
Процедура проведения испытаний - по МЭК 60230.
В киловольтах
|
Максимальное напряжение, оборудования Um |
Уровень грозового импульсного напряжения |
|
≤ 72,5 |
30 |
|
> 72,5 |
37,5 |
|
См. графу 2 таблицы 4. | |
H.5 Внешний осмотр
Внешний осмотр арматуры проводят по 12.4.8.1.
После испытаний по H.3 следует осмотреть испытуемую сборку с целью оценки состояния водонепроницаемых барьеров (см. раздел H.1).
Кожухи наружной защиты соединительных муфт, заполненные удаляемыми компаундами, рассматривают как соответствующие установленным требованиям, если отсутствуют видимые следы внутренних пустот, внутренних перемещений заполнителя, обусловленных доступом воды, или утечки компаунда через различные уплотнения или стенки кожуха.
В наружной защите соединительной муфты, в которой используют другие технологии и материалы, не должно быть следов проникновения воды или внутренней коррозии под водонепроницаемыми барьерами.
H.6 Испытания композитных изоляторов концевых муфт наружного применения
H.6.1 Общие положения
Испытание проводят на одном изоляторе каждого типа в соответствии с H.6.2 и H.6.3.
H.6.2 Испытание на стойкость к внутреннему давлению
Изоляторы, в которых в процессе эксплуатации создается внутреннее давление, испытывают в соответствии с МЭК 61462:2007 (пункт 8.4). Результаты испытаний должны соответствовать требованиям МЭК 61462:2007 (пункт 8.4).
H.6.3 Испытание консольной нагрузкой
Изолятор испытывают в соответствии с МЭК 61462:2007 (пункт 8.5). Результаты испытаний должны соответствовать требованиям МЭК 61462:2007 (пункт 8.5).
Приложение I
(обязательное)
I.1 Испытуемый образец
Испытуемым образцом является образец кабеля, с которого удалены все покрытия снаружи изоляции из ВЭПР. Допускается проводить испытание на образце кабеля без экранов.
I.2 Проведение испытаний
I.2.1 Общие положения
Испытания проводят по ИСО 48-2 с изменениями, указанными ниже.
I.2.2 Испытания образцов с большим радиусом кривизны поверхности
Конструкция испытательного прибора по ИСО 48-2 должна обеспечивать его жесткое расположение на изоляции кабеля из ВЭПР и вертикальное соприкосновение прижимной лапки и индентора с поверхностью изоляции одним из следующих способов:
a) прибор должен иметь прижим, перемещающийся на универсальных шарнирах, обеспечивающих регулировку соприкосновения с кривой поверхностью образца;
b) в основании прибора должны быть два параллельных стержня A и A', расположенных на расстоянии, определяемом кривизной поверхности образца, в соответствии с рисунком I.1.

A и A' - параллельные стержни
Рисунок I.1 - Схема испытаний образцов с большим радиусом кривизны поверхности
Указанные способы применяют для испытаний образцов, радиус кривизны поверхности которых менее 20 мм.
Если толщина изоляции из ВЭПР менее 4 мм, то применяют прибор по ИСО 48-2 для тонких и небольших испытуемых образцов.
I.2.3 Испытания образцов с небольшим радиусом кривизны поверхности
Если радиус кривизны поверхности образца менее указанного в I.2.1, то образец должен быть расположен на той же жесткой опоре, что и испытательный прибор в целях предотвращения перемещения изоляции из ВЭПР при приложении к индентору дополнительного усилия продавливания и обеспечения его вертикального расположения над осью образца. Для этого применяют следующие способы:
a) помещают образец в канавку или паз металлического зажима в соответствии с рисунком I.2 a;
b) помещают концы жилы испытуемого образца в V-образный блок в соответствии с рисунком I.2 b.
|
|
|
|
a) Образец помещен в канавку |
b) Образец помещен в V-образный блок |
Рисунок I.2 - Схема испытаний образцов с небольшим радиусом кривизны поверхности
Указанные способы применяют для испытаний образцов, радиус кривизны поверхности которых не менее 4 мм.
Для испытаний образцов, радиус кривизны поверхности которых менее 4 мм, применяют прибор по ИСО 48-2.
I.2.4 Кондиционирование образцов и температура испытаний
Период времени между изготовлением, т.е. между вулканизацией и испытанием образца, должен быть не менее 16 ч.
Испытание проводят при температуре (20 ± 2) °C, перед испытанием образцы выдерживают при заданной температуре в течение не менее 3 ч.
I.2.5 Число измерений и результаты испытаний
Проводят по одному измерению в трех или пяти разных точках, расположенных по окружности образца. За результат испытаний принимают медианное значение твердости образца, округленное до ближайшего целого числа и выраженное в международных единицах твердости резины (IRHD).
Приложение J
(справочное)
Следует учитывать, что затруднительно определить объективный критерий приемки для всех возможных признаков ухудшения состояния кабеля и арматуры (например, деформации или других изменений), которые удается обнаружить при внешнем осмотре.
Таким образом, внешний осмотр всегда имеет некоторую степень субъективности. Для уменьшения этой субъективности в настоящем приложении приведен перечень возможных признаков ухудшения состояния кабеля и арматуры, которые можно обнаружить при внешнем осмотре.
При проведении внешнего осмотра следует игнорировать загрязнения образцов, т.к. главная цель контроля - определение признаков ухудшения состояния образцов, негативно влияющих на эксплуатационные характеристики кабельных систем.
В некоторых случаях допускается использовать не подвергнутый испытанию образец кабеля или арматуры (или компонента арматуры) в качестве эталона для проведения внешнего осмотра.
Образцы кабеля, по возможности, отобранные из разных мест кабеля испытуемой длины, и арматуры, например одну из соединительных или концевых муфт, подвергают внешнему осмотру в соответствии с требованиями настоящего стандарта.
При внешнем осмотре образцов без применения увеличительных приборов не должно быть выявлено ухудшения состояния сборки ни по одному из ниже приведенных признаков. Перечень признаков не является исчерпывающим, поэтому все выявленные изменения образцов также следует учитывать и оценивать их потенциальное воздействие на работоспособность кабельной системы при принятии решения об их допустимости или недопустимости.
Признаки ухудшения состояния образца:
- повреждение жилы, которое может привести к отклонению рабочих характеристик кабеля от установленных требований;
- наличие значительных (опасных) вдавливаний на изолированной(ых) жиле(ах) кабеля, острых врезаний полупроводящего экрана в изоляцию;
- наличие коррозии на металлических частях, например металлическом экране и соединителях;
- признаки возможного механического повреждения изоляционных частей образца;
- признаки возможной электрической деградации основной изоляции арматуры и кабеля: усадка, деформация или изменение первоначальных размеров, которые могут привести к несоответствию конкретным техническим требованиям к изделию, например длина пути утечки тока не должна быть ниже минимально допустимых значений, любые изменения формы и размеров изделия не должны приводить к доступности токоведущих частей;
- признаки тепловой деформации (всех элементов конструкции);
- наличие трещин или других повреждений изоляции;
- повреждение оболочки кабеля, приводящее к ухудшению рабочих характеристик кабеля, например проникновение воды, которое в дальнейшем может вызвать появление коррозии;
- утечка или выделение изолирующей жидкости (любую утечку материала изоляции в арматуре указывают в протоколе);
- значительные изменения размеров образца, которые могут привести к ухудшению рабочих характеристик кабеля или арматуры, например существенная усадка изоляции или наружной оболочки.
Приложение K
|
Свободно На странице преднамеренно не приведен текст. (Cor 1:2021) |
Приложение ДА
(справочное)
Таблица ДА.1
|
Обозначение ссылочного международного стандарта |
Степень соответствия |
Обозначение и наименование соответствующего национального, межгосударственного стандарта |
|
IEC 60060-1:2010 |
NEQ |
ГОСТ Р 55194-2012 "Электрооборудование и электроустановки переменного тока на напряжение от 1 до 750 кВ. Общие методы испытаний электрической прочности изоляции" |
|
IEC 60228 |
MOD |
ГОСТ 22483-2021 (IEC 60228:2004) "Жилы токопроводящие для кабелей, проводов и шнуров" |
|
IEC 60229:2007 |
- |
<*> |
|
IEC 60230 |
IDT |
ГОСТ Р МЭК 60230-2022 "Кабели и арматура к ним. Методы испытаний импульсным напряжением" |
|
IEC 60287-1-1:2006 |
IDT |
ГОСТ Р МЭК 60287-1-1-2009 "Кабели электрические. Вычисление номинальной токовой нагрузки. Часть 1-1. Уравнения для расчета номинальной токовой нагрузки (100%-ный коэффициент нагрузки) и расчет потерь. Общие положения" |
|
IEC 60332-1-2 |
IDT |
ГОСТ IEC 60332-1-2-2011 "Испытания электрических и оптических кабелей в условиях воздействия пламени. Часть 1-2. Испытание на нераспространение горения одиночного вертикально расположенного изолированного провода или кабеля. Проведение испытания при воздействии пламенем газовой горелки мощностью 1 кВт с предварительным смешением газов" |
|
IEC 60332-3-24 |
IDT |
ГОСТ IEC 60332-3-24-2011 "Испытания электрических и оптических кабелей в условиях воздействия пламени. Часть 3-24. Распространение пламени по вертикально расположенным пучкам проводов или кабелей. Категория C" |
|
IEC 60754-2 |
IDT |
ГОСТ IEC 60754-2-2015 "Испытания материалов конструкции кабелей при горении. Часть 2. Определение степени кислотности выделяемых газов измерением pH и удельной проводимости" |
|
IEC 60811-201 |
IDT |
ГОСТ IEC 60811-201-2015 "Кабели электрические и волоконно-оптические. Методы испытаний неметаллических материалов. Часть 201. Общие испытания. Измерение толщины изоляции" |
|
IEC 60811-202:2012 |
IDT |
ГОСТ IEC 60811-202-2015 "Кабели электрические и волоконно-оптические. Методы испытаний неметаллических материалов. Часть 202. Общие испытания. Измерение толщины неметаллической оболочки" |
|
IEC 60811-203 |
IDT |
ГОСТ IEC 60811-203-2015 "Кабели электрические и волоконно-оптические. Методы испытаний неметаллических материалов. Часть 203. Общие испытания. Измерение наружных размеров" |
|
IEC 60811-401 |
IDT |
ГОСТ IEC 60811-401-2015 "Кабели электрические и волоконно-оптические. Методы испытаний неметаллических материалов. Часть 401. Разные испытания. Методы теплового старения. Старение в термостате" |
|
IEC 60811-403 |
IDT |
ГОСТ IEC 60811-403-2015 "Кабели электрические и волоконно-оптические. Методы испытаний неметаллических материалов. Часть 403. Разные испытания. Испытание сшитых композиций на озоностойкость" |
|
IEC 60811-409 |
IDT |
ГОСТ IEC 60811-409-2015 "Кабели электрические и волоконно-оптические. Методы испытаний неметаллических материалов. Часть 409. Разные испытания. Испытание на потерю массы для термопластичных изоляции и оболочек" |
|
IEC 60811-501:2012 |
IDT |
ГОСТ IEC 60811-501-2015 "Кабели электрические и волоконно-оптические. Методы испытаний неметаллических материалов. Часть 501. Механические испытания. Испытания для определения механических свойств композиций изоляции и оболочек" |
|
IEC 60811-502:2012 |
IDT |
ГОСТ IEC 60811-502-2015 "Кабели электрические и волоконно-оптические. Методы испытаний неметаллических материалов. Часть 502. Механические испытания. Испытание изоляции на усадку" |
|
IEC 60811-503 |
IDT |
ГОСТ IEC 60811-503-2015 "Кабели электрические и волоконно-оптические. Методы испытаний неметаллических материалов. Часть 503. Механические испытания. Испытание оболочек на усадку" |
|
IEC 60811-505 |
IDT |
ГОСТ IEC 60811-505-2015 "Кабели электрические и волоконно-оптические. Методы испытаний неметаллических материалов. Часть 505. Механические испытания. Испытание изоляции и оболочек на удлинение при низкой температуре" |
|
IEC 60811-506 |
IDT |
ГОСТ IEC 60811-506-2015 "Кабели электрические и волоконно-оптические. Методы испытаний неметаллических материалов. Часть 506. Механические испытания. Испытание изоляции и оболочек на удар при низкой температуре" |
|
IEC 60811-507 |
IDT |
ГОСТ IEC 60811-507-2015 "Кабели электрические и волоконно-оптические. Методы испытаний неметаллических материалов. Часть 507. Механические испытания. Испытание на тепловую деформацию для сшитых композиций" |
|
IEC 60811-508 |
IDT |
ГОСТ IEC 60811-508-2015 "Кабели электрические и волоконно-оптические. Методы испытаний неметаллических материалов. Часть 508. Механические испытания. Испытание изоляции и оболочек под давлением при высокой температуре" |
|
IEC 60811-509 |
IDT |
ГОСТ IEC 60811-509-2015 "Кабели электрические и волоконно-оптические. Методы испытаний неметаллических материалов. Часть 509. Механические испытания. Испытание на стойкость изоляции и оболочек к растрескиванию (испытание на тепловой удар)" |
|
IEC 60811-605:2012 |
IDT |
ГОСТ IEC 60811-605-2016 "Кабели электрические и волоконно-оптические. Методы испытаний неметаллических материалов. Часть 605. Физические испытания. Определение содержания сажи и/или минерального наполнителя в полиэтиленовых композициях" |
|
IEC 60811-606 |
IDT |
ГОСТ IEC 60811-606-2017 "Кабели электрические и волоконно-оптические. Методы испытаний неметаллических материалов. Часть 606. Физические испытания. Методы определения плотности" |
|
IEC 60885-3 |
- |
<*> |
|
IEC 61034-2:2005 |
IDT |
ГОСТ IEC 61034-2-2011 "Измерение плотности дыма при горении кабелей в заданных условиях. Часть 2. Метод испытания и требования к нему" |
|
IEC 61462:2007 |
- |
<*> |
|
IEC 62271-209 |
- |
<*> |
|
ISO 48-2 |
- |
<*> |
|
<*> Соответствующий национальный стандарт отсутствует. До его принятия рекомендуется использовать перевод на русский язык данного международного стандарта. Примечание - В настоящей таблице использованы следующие условные обозначения степени соответствия стандартов: - IDT - идентичные стандарты; - MOD - модифицированные стандарты; - NEQ - неэквивалентные стандарты. | ||
Библиография
|
IEC 60137 |
Insulated bushings for alternating voltages above 1000 V (Вводы изолированные на напряжения свыше 1000 В переменного тока) |
|
IEC 60183 |
Guidance for the selection of high-voltage A.C. cable systems (Руководство по выбору высоковольтных кабельных сетей переменного напряжения) |
|
IEC 60287 (all parts) |
Electric cables - Calculation of the current rating [(все части) Кабели электрические. Расчет номинальной токовой нагрузки] |
|
IEC 60332-3-22 |
Tests on electric and optical fibre cables under fire conditions - Part 3-22: Test for vertical flame spread of vertical-mounted bunched wires or cables - Category A (Испытания электрических и оптических кабелей в условиях воздействия пламени. Часть 3-22. Распространение пламени по вертикально расположенным пучкам проводов или кабелей. Категория A) |
|
IEC 60332-3-23 |
Tests on electric and optical fibre cables under fire conditions - Part 3-23: Test for vertical flame spread of vertical-mounted bunched wires or cables. Category B (Испытания электрических и оптических кабелей в условиях воздействия пламени. Часть 3-23. Распространение пламени по вертикально расположенным пучкам проводов или кабелей. Категория B) |
|
IEC 60811-100 |
Electric and optical fibre cables - Test methods for non-metallic materials - Part 100: General (Кабели электрические и волоконно-оптические. Методы испытаний неметаллических материалов. Часть 100. Общие положения) |
|
IEC 60811-405 |
Electric and optical fibre cables - Test methods for non-metallic materials - Part 405: Miscellaneous tests - Thermal stability test for PVC insulations and PVC sheaths (Кабели электрические и волоконно-оптические. Методы испытаний неметаллических материалов. Часть 405. Разные испытания. Испытание изоляции и оболочек кабеля из поливинилхлоридных композиций на термическую стабильность) |
|
IEC 60853-2 |
Calculation of the cyclic and emergency current rating of cables - Part 2: Cyclic rating of cables greater than 18/30 (36) kV and emergency rating of cables of all voltages [Расчет токовой нагрузки кабелей в цикличном и аварийном режимах. Часть 2. Коэффициент цикличной нагрузки кабелей на номинальное напряжение свыше 18/30 (36) кВ и аварийной нагрузки кабелей всех напряжений] |
|
IEC 61443 |
Short-circuit temperature limits of electric cables with rated voltages above 30 kV (Um = 36 kV) [Предельные температуры электрических кабелей на номинальное напряжение свыше 30 кВ (Um = 36 кВ) в условиях короткого замыкания] |
|
IEC TP 61901:2016 |
Tests recommended on cables with a longitudinally applied metal foil for rated voltages above 30 kV (Um = 36 kV) up to and including 500 kV (Um = 550 kV) [Испытания, рекомендуемые для кабелей с продольно наложенной металлической фольгой для номинальных напряжений свыше 30 кВ (Um = 36 кВ) и до 500 кВ (Um = 550 кВ) включительно] |
|
IEC 62067 |
Power cables with extruded insulation and their accessories for rated voltages above 150 kV (Um = 170 kV) up to 500 kV (Um = 550 kV) - Test methods and requirements [Кабели силовые с экструдированной изоляцией и арматура к ним на номинальное напряжение свыше 150 кВ (Um = 170 кВ) и до 500 кВ (Um = 550 кВ). Методы испытаний и требования к ним] |
|
Electra No. 128 |
Guide to the protection of specially bonded cable systems against sheath overvoltages, January 1990, pp. 46 - 62 (Руководство по защите кабельных систем со специальными соединениями оболочек от перенапряжений оболочек Electra, N 128, январь 1990, с. 46 - 62) |
|
Electra No. 157 |
CIGRE Technical Brochure: Accessories for HV extruded cables, December 1994, pp. 84 - 89 (Тематическая подборка CIGRE: Арматура для кабелей высокого напряжения с экструдированной изоляцией Electra, N 157, декабрь 1994, с. 84 - 89) |
|
Electra No. 173 |
After laying tests on high-voltage extruded insulation cables systems, August 1997, pp. 32 - 41 (Испытания после прокладки систем кабелей на высокое напряжение с экструдированной изоляцией "Electra", N 173, август 1997, стр. 32 - 41) |
|
Electra No. 205 |
Experiences with AC tests after installation on the main insulation of polymeric (E)HV cable systems, December 2002, pp. 26 - 36 (Опытные данные по испытаниям напряжением переменного тока после прокладки основной изоляции систем кабелей и на высокое напряжение с полимерной изоляцией "Electra", N 205, декабрь 2002, с. 26 - 36) |
|
Electra No. 227 |
Revision of qualification procedures for extruded high voltage AC underground cable systems, August 200, pp. 31 - 37 (Пересмотр порядка проведения испытаний на соответствие техническим условиям для кабельных систем с экструдированной изоляцией на высокое напряжение переменного тока для подземной прокладки "Electra", N 227, август 2006, с. 31 - 37) |
|
CIGRE Technical Brochure 303: Revision of qualification procedures for extruded (extra) high voltage ac underground cables; CIGRE Working Group B1-06; 2006 (Тематическая подборка CIGRE 303: Пересмотр порядка проведения испытаний на соответствие техническим условиям для кабелей с экструдированной изоляцией на (сверх) высокое напряжение переменного тока для подземной прокладки; рабочая группа CIGRE B1-06; 2006) | |




