ГОСТ Р 70203-2022 КРЫШИ АЛЮМИНИЕВЫЕ ДЛЯ РЕЗЕРВУАРОВ. ТЕХНИЧЕСКИЕ УСЛОВИЯ
Утв. и введен в действие Приказом Федерального агентства по техническому регулированию и метрологии от 7 июля 2022 г. N 582-ст
Aluminum roofs for reservoirs. Specifications
ОКС 23.020.01
91.060.20
91.080.17
Дата введения - 1 сентября 2022 года
Введен впервые
Предисловие
1 РАЗРАБОТАН Закрытым акционерным обществом "Центральный ордена Трудового Красного Знамени научно-исследовательский и проектный институт строительных металлоконструкций им. Н.П. Мельникова" (ЗАО "ЦНИИПСК им. Мельникова")
2 ВНЕСЕН Техническим комитетом по стандартизации ТК 465 "Строительство"
3 УТВЕРЖДЕН И ВВЕДЕН В ДЕЙСТВИЕ Приказом Федерального агентства по техническому регулированию и метрологии от 7 июля 2022 г. N 582-ст
4 ВВЕДЕН ВПЕРВЫЕ
Правила применения настоящего стандарта установлены в статье 26 Федерального закона от 29 июня 2015 г. N 162-ФЗ "О стандартизации в Российской Федерации". Информация об изменениях к настоящему стандарту публикуется в ежегодном (по состоянию на 1 января текущего года) информационном указателе "Национальные стандарты", а официальный текст изменений и поправок - в ежемесячном информационном указателе "Национальные стандарты". В случае пересмотра (замены) или отмены настоящего стандарта соответствующее уведомление будет опубликовано в ближайшем выпуске ежемесячного информационного указателя "Национальные стандарты". Соответствующая информация, уведомление и тексты размещаются также в информационной системе общего пользования - на официальном сайте Федерального агентства по техническому регулированию и метрологии в сети Интернет (www.rst.gov.ru)
1.1 Настоящий стандарт распространяется на стационарные крыши из алюминиевых сплавов (далее - алюминиевые крыши) для вертикальных цилиндрических стальных резервуаров с понтоном номинальным объемом от 3000 до 30000 м3, диаметром от 19,0 до 45,60 м, предназначенных для хранения нефти и нефтепродуктов.
1.2 Настоящий стандарт устанавливает требования на изготовление алюминиевых крыш резервуаров, эксплуатируемых в следующих условиях:
- максимальная температура корпуса резервуара - не выше 50 °C, минимальная - не ниже минус 65 °C;
- сейсмичность района строительства - не более 6 баллов по шкале MSK-64;
- агрессивность среды в газовом пространстве - не выше среднеагрессивной.
В настоящем стандарте использованы нормативные ссылки на следующие документы:
ГОСТ 481 Паронит и прокладки из него. Технические условия
ГОСТ 1759.0 Болты, винты, шпильки и гайки. Технические условия
ГОСТ 3242 Соединения сварные. Методы контроля качества
ГОСТ 4784 Алюминий и сплавы алюминиевые деформируемые. Марки
ГОСТ 7512 Контроль неразрушающий. Соединения сварные. Радиографический метод
ГОСТ 8617 Профили прессованные из алюминия и алюминиевых сплавов. Технические условия
ГОСТ 13726 Ленты из алюминия и алюминиевых сплавов. Технические условия
ГОСТ 14192 Маркировка грузов
ГОСТ 14806 Дуговая сварка алюминия и алюминиевых сплавов в инертных газах. Соединения сварные. Основные типы, конструктивные элементы и размеры
ГОСТ 18442 Контроль неразрушающий. Капиллярные методы. Общие требования
ГОСТ 27751 Надежность строительных конструкций и оснований. Основные положения
ГОСТ 31385-2016 Резервуары вертикальные цилиндрические стальные для нефти и нефтепродуктов. Общие технические условия
ГОСТ 32484.1 (EN 14399-1:2005) Болтокомплекты высокопрочные для предварительного натяжения конструкционные. Общие требования
ГОСТ 32484.3 (EN 14399-3:2005) Болтокомплекты высокопрочные для предварительного натяжения конструкционные. Система HR - комплекты шестигранных болтов и гаек
ГОСТ 32484.4 (EN 14399-4:2005) Болтокомплекты высокопрочные для предварительного натяжения конструкционные. Система HV - комплекты шестигранных болтов и гаек
ГОСТ 32484.5 (EN 14399-5:2005) Болтокомплекты высокопрочные для предварительного натяжения конструкционные. Плоские шайбы
ГОСТ 32484.6 (EN 14399-6:2005) Болтокомплекты высокопрочные для предварительного натяжения конструкционные. Плоские шайбы с фаской
ГОСТ Р 9.316 Единая система защиты от коррозии и старения. Покрытия термодиффузионные цинковые. Общие требования и методы контроля
ГОСТ Р 55724 Контроль неразрушающий. Соединения сварные. Методы ультразвуковые
ГОСТ Р 57352-2016/EN 1090-3:2008 Конструкции алюминиевые строительные. Общие технические условия
ГОСТ Р 58942 Система обеспечения точности геометрических параметров в строительстве. Технологические допуски
СП 16.13330 "СНиП II-23-81* Стальные конструкции"
СП 20.13330.2016 "СНиП 2.01.07-85* Нагрузки и воздействия"
СП 128.13330 "СНиП 2.03.06-85 Алюминиевые конструкции"
Примечание - При пользовании настоящим стандартом целесообразно проверить действие ссылочных стандартов (сводов правил) в информационной системе общего пользования - на официальном сайте Федерального агентства по техническому регулированию и метрологии в сети Интернет или по ежегодному информационному указателю "Национальные стандарты", который опубликован по состоянию на 1 января текущего года, и по выпускам ежемесячного информационного указателя "Национальные стандарты" за текущий год. Если заменен ссылочный документ, на который дана недатированная ссылка, то рекомендуется использовать действующую версию этого документа с учетом всех внесенных в данную версию изменений. Если заменен ссылочный документ, на который дана датированная ссылка, то рекомендуется использовать версию этого документа с указанным выше годом утверждения (принятия). Если после утверждения настоящего стандарта в ссылочный документ, на который дана датированная ссылка, внесено изменение, затрагивающее положение, на которое дана ссылка, то это положение рекомендуется применять без учета данного изменения. Если ссылочный документ отменен без замены, то положение, в котором дана ссылка на него, рекомендуется применять в части, не затрагивающей эту ссылку. Сведения о действии сводов правил целесообразно проверить в Федеральном информационном фонде стандартов.
В настоящем стандарте применены термины по ГОСТ 31385, а также следующие термины с соответствующими определениями:
3.1
|
минимальная конструктивная толщина элемента: Минимальная толщина, принятая из сортамента листового проката, достаточная для нормальной эксплуатации. [ГОСТ 31385-2016, пункт 3.7] |
3.2
|
общий срок службы резервуара: Продолжительность безопасной эксплуатации резервуара при выполнении необходимого регламента обслуживания и ремонтов до состояния, при котором его дальнейшая эксплуатация недопустима или нецелесообразна. [ГОСТ 31385-2016, пункт 3.13] |
3.3 отказ: Состояние элемента конструкции крыши, при котором не выполняются одно или несколько условий предельных состояний.
3.4
|
расчетная модель: Модель конструктивной системы, используемая при проведении расчетов. [ГОСТ 27751-2014, пункт 2.2.10] |
3.5 расчетный срок службы резервуара/крыши: Период безопасной эксплуатации резервуара/крыши до очередного диагностирования или ремонта. Расчетный срок службы отсчитывают от начала эксплуатации, а также от момента возобновления эксплуатации после диагностирования или ремонта.
3.6 расчетные ситуации: Учитываемый при расчете сооружений комплекс наиболее неблагоприятных условий, которые могут возникнуть при его возведении и эксплуатации.
3.7
|
расчетная толщина элемента: Величина, определяемая расчетом. [ГОСТ 31385-2016, пункт 3.6] |
3.8 стационарная алюминиевая крыша: Стационарная крыша резервуара сферической формы из алюминиевых сплавов с каркасом в виде сетчатой оболочки и листовых панелей настила.
В настоящем стандарте применены следующие сокращения:
КМ - рабочие чертежи металлических конструкций;
КМД - деталировочные чертежи металлических конструкций;
НДС - напряженно-деформированное состояние конструкции;
ППР - проект производства монтажно-сварочных работ;
РВСП - резервуар вертикальный стальной со стационарной крышей с понтоном;
РК - радиографический контроль;
УЗК - ультразвуковой контроль.
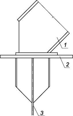
5.1.1 Каркас крыши резервуара состоит из опорного кольца, расположенного поверх стенки резервуара (см. рисунок 5.1), стержневых элементов сетчатой оболочки с треугольной ячейкой, вписанной в сферическую поверхность, узловых накладок рядовых узлов и опорных узлов соединения стержней сетчатой оболочки с опорным кольцом. Опорное кольцо выполняется из стали; все остальные элементы конструкции - из алюминиевых сплавов.

1 - каркас крыши; 2 - опорное кольцо; 3 - стенка резервуара
Рисунок 5.1 - Расположение элементов крыши на стенке резервуара
5.1.2 Радиус кривизны R срединной сферической поверхности крыши должен находиться в диапазоне: 0,8D ≤ R ≤ D, где D - диаметр резервуара.
5.1.3 Геометрические схемы сетчатой оболочки рекомендуется принимать циклически симметричными с расположением кольцевых элементов в горизонтальных плоскостях (см. рисунок 5.2).

1 - кольцевые элементы; 2 - наклонные элементы; 3 - опорные элементы; 4 - опорное кольцо
Рисунок 5.2 - Пример схемы сетчатой оболочки крыши
5.1.4 Угол любой треугольной ячейки должен быть не менее 40°.
5.1.5 Стержневые элементы сетчатой оболочки принимают двутаврового и/или коробчатого сечения. Высоту профилей принимают одинаковой для всей конструкции. Она должна быть не менее 1/150 радиуса кривизны срединной поверхности крыши. Параметры поперечного сечения стержневых элементов для различных зон конструкции определяются расчетом (требования к расчету указаны в приложении А). В одной конструкции для разных ее зон допускаются несколько различных типов поперечных сечений элементов.
5.1.6 Стержневые элементы сетчатой оболочки принимаются цельнопрессованными или составными. Сварные соединения составных элементов выполняются по ГОСТ 14806 на заводе-изготовителе. При определении несущей способности составного сварного стержня должно быть учтено изменение механических свойств металла шва и околошовной зоны в соответствии с требованиями СП 128.13330.
Допускается образование проектного сечения составного стержня на монтаже с использованием болтовых соединений.
5.1.7 Стержни сетчатой оболочки соединяются между собой в узлах двумя круглыми коническими накладками, которые крепятся болтами к верхним и нижним поясам стержней. Чернота отверстий в соединяемых деталях должна быть не более 1,0 мм.
5.1.8 Крепление стержней сетчатой оболочки крыши к узловым накладкам следует осуществлять с применением фрикционных соединений на стальных высокопрочных болтах с контролируемым натяжением. Конструктивные требования по размещению болтов и назначение коэффициента трения μ принимают в соответствии с требованиями СП 128.13330. Применение фрикционных соединений без обработки контактных поверхностей не допускается.
5.1.9 Крепление каркаса сферической алюминиевой крыши к опорному кольцу выполняется по одной из следующих схем:
- с образованием неподвижного шарнира в зоне опирания;
- с образованием скользящей опоры между элементами каркаса и опорным кольцом через прокладку.
5.1.10 Стенка резервуара в опорном узле может быть подкреплена вертикальными ребрами, расположенными с внутренней и/или наружной стороны резервуара. Минимальная длина ребер определяется расчетом и должна учитывать технологические требования к движению понтона. Крепление вертикальных ребер к стенке резервуара необходимо выполнять через накладки. Минимальная толщина накладки - 6 мм. Накладка должна привариваться к стенке сплошным угловым швом по всему периметру прилегания.
5.1.11 В конструкции крыши с опорными узлами по схеме с образованием неподвижного шарнира распор в каркасе купола воспринимается стальным опорным кольцом крыши.
5.1.12 Значения номинальных толщин элементов опорного кольца t, мм, следует принимать из сортамента на листовой прокат с учетом припуска на коррозию и минусового допуска на листовой прокат.
5.2.1 Настил крыши выполняется в виде панелей треугольной формы заводского изготовления толщиной не менее 1,2 мм и служит для передачи внешней нагрузки на каркас крыши, а также для развязки верхних поясов стержневых элементов каркаса из плоскости наибольшей жесткости.
5.2.2 Размер панели настила должен обеспечивать ее транспортирование с завода-изготовителя на монтажную площадку в вертикальном положении.
5.2.3 Панель настила при соответствующем обосновании допускается изготавливать из двух частей, соединенных сплошным стыковым швом. Требования к сварным соединениям полотнищ настила изложены в 6.4. Нахлесточное соединение не допускается.
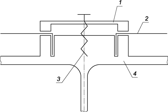
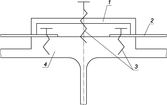
5.2.4 Возможны два типа узлов сопряжения настила с каркасом: "подвижный" и "жесткий". Пример узлов сопряжения показан на рисунке 5.3.
"Подвижный" узел сопряжения обшивки с каркасом

"Жесткий" узел сопряжения обшивки с каркасом

1 - прижимная планка; 2 - настил; 3 - самонарезающий винт; 4 - каркас крыши
Рисунок 5.3 - Варианты узлов сопряжения настила с каркасом крыши
5.2.5 В "подвижном" узле отбортовка панели настила свободно входит в паз стержневого элемента и фиксируется в нем за счет прижимной планки, расположенной поверх панелей настила. Усилия от нагрузок, направленных внутрь резервуара, передаются на каркас за счет контакта отбортовки настила со стенкой паза стержневого элемента. Нагрузки, направленные наружу (ветер), передаются с настила на прижимную планку, а с нее - на каркас. Крепление планки к каркасу должно обеспечивать передачу отрывающих усилий.
5.2.6 В "жестком" узле передача всех усилий с настила на каркас осуществляется болтовыми соединениями верхней полки стержневого элемента и панели настила.
5.2.7 Прижимная планка в совокупности с резиновыми и/или полимерными уплотнителями и соответствующими герметиками должна обеспечивать водонепроницаемость узла сопряжения настила с каркасом на весь общий срок службы крыши.
5.2.8 При соответствующем обосновании возможны другие типы узлов сопряжения настила и стержней каркаса при учете требований 5.2.7.
Изготовление и испытание алюминиевых крыш резервуаров должны осуществляться в соответствии с требованиями настоящего стандарта, проектом КМ и рабочими чертежами КМД, утвержденными в установленном порядке.
6.1.1 Сталь для опорного кольца должна отвечать требованиям ГОСТ 31385-2016 (подраздел 6.2). При этом опорное кольцо следует отнести к группе элементов А.
6.1.2 Выбор марок алюминиевых сплавов следует проводить в зависимости от температур эксплуатации, технологии изготовления и монтажа алюминиевых крыш с учетом механических свойств, физических характеристик материалов и степени агрессивности коррозионной среды.
Применяемые в конструкциях крыш алюминиевые прессованные профили и листы по химическому составу должны соответствовать требованиям ГОСТ 4784.
Прессованные профили из алюминия по своим техническим характеристикам должны соответствовать ГОСТ 8617, а ленты из алюминия - ГОСТ 13726.
6.1.3 Несущий каркас крыши должен изготавливаться из алюминиевых сплавов общего назначения нормальной и (или) повышенной прочности в закаленном и искусственно состаренном состоянии.
Рекомендуемые алюминиевые сплавы:
- для стержней каркаса - АД33 (EN AW-6061, EN AW-6061A), АД31 (EN AW-6060, EN AW-6063);
- для узловых накладок - АМг6; АМг5.
6.1.4 Для настила кровли рекомендуется использовать алюминиевые сплавы АМц, АМг2 (EN AW-5051A), сплав АМг3А (EN AW-5754) с нормальной двухсторонней плакировкой (А) из алюминия марки А6.
6.1.5 Для вспомогательных элементов конструкции (прижимных планок, колпаков, лестниц, ограждений и т.п.) рекомендуется использовать алюминиевые сплавы АМц, АМг1 (EN AW-5005), АМг2 (EN AW-5051A), сплав АМг3 (EN AW-5754).
6.1.6 Для фрикционных соединений следует применять высокопрочные болтокомплекты (болты в исполнении ХЛ класса прочности не ниже 10.9 с предварительным натяжением), удовлетворяющие требованиям ГОСТ 32484.1, ГОСТ 32484.3 - ГОСТ 32484.6.
6.1.7 Для нефрикционных соединений следует применять болты из коррозионно-стойких сталей группы 21 по ГОСТ 1759.0.
6.1.8 Вытяжные заклепки, применяемые для крепления колпаков над узловыми накладками, должны изготавливаться из алюминиевого сплава АМг3.5, вытяжные стержни - из коррозионно-стойкой стали.
6.1.9 Самонарезающие винты с шестигранной головкой должны быть изготовлены из высоколегированных аустенитных сталей типа Х18Н10Т.
6.1.10 Уплотнительные резинотехнические и полимерные материалы и герметики для крыш должны обладать эластичностью и стойкостью к климатическим воздействиям (озон, ультрафиолетовые лучи) с сохранением своих свойств за весь период эксплуатации и быть совместимыми с газами и парами, выделяющимися из продукта в резервуаре.
6.1.11 Характеристики сварочных материалов, применяемые для изготовления конструкций крыши, должны соответствовать требованиям СП 16.13330, СП 128.13330, технических условий и проектной документации на крыши. Качество и характеристики сварочных материалов должны быть подтверждены соответствующими документами оценки соответствия.
6.2.1 Защита от коррозии стального опорного кольца и стальных деталей опорных узлов
Защита от коррозии доступных для восстановления в процессе эксплуатации поверхностей стального опорного кольца и стальных деталей опорных узлов должна выполняться по технологии защиты от коррозии внутренней поверхности резервуара. Срок службы применяемого лакокрасочного покрытия должен составлять не менее 10 лет.
Защита от коррозии недоступных для восстановления в процессе эксплуатации поверхностей стального опорного кольца и стальных деталей опорных узлов должна выполняться комбинированными покрытиями на основе газотермических алюминиевых покрытий толщиной 200 - 250 мкм и дополнительных лакокрасочных покрытий со сроком службы не менее 15 лет.
6.2.2 Защита от коррозии каркаса и настила крыши
В качестве материала каркаса крыши используются коррозионно-стойкие алюминиевые сплавы, защита от коррозии которых не требуется.
В качестве материала настила кровли используются листы из коррозионно-стойких алюминиевых сплавов, защита от коррозии которых не требуется.
6.2.3 Защита от коррозии крепежных изделий
Высокопрочные болты из стали марки 40Х "Селект", гайки и шайбы к ним должны быть защищены от коррозии термодиффузионными цинковыми покрытиями толщиной 18 мкм по ГОСТ Р 9.316.
Для крепления прижимных планок настила кровли следует применять самонарезающие винты из коррозионно-стойкой стали, которые устанавливаются на герметик.
6.2.4 Защита от коррозии болтовых соединений
6.2.4.1 Защите от коррозии лакокрасочными покрытиями подлежат все поверхности болтов фрикционных соединений (головки, шайбы, гайки и выступающая над гайкой часть болтов с резьбой) и прилегающие поверхности конструкций каркаса (зона шириной 20 мм).
6.2.4.2 Для исключения контактной коррозии должны быть выполнены следующие мероприятия:
- установка прокладок между сопрягающимися опорными поверхностями купольного покрытия из алюминиевого сплава и опорным кольцом стального резервуара; материал прокладок - паронит марки ПОН-В толщиной 2 мм по ГОСТ 481;
- установка прокладок из паронита марки ПОН-В толщиной 2 мм по ГОСТ 481 под головку и шайбу болтов из коррозионно-стойких сталей группы 21 по ГОСТ 1759.0 в узлах крепления элементов металлоконструкций каркаса.
6.3.1 Точность изготовления стальных элементов опорного кольца должна соответствовать требованиям, указанным в ГОСТ 31385-2016 (раздел 7, таблица 22).
6.3.2 Точность изготовления стержневых элементов, в том числе взаимного положения групп отверстий на верхней и нижней полках на одном конце стержневого элемента, должна соответствовать 2-му классу точности по ГОСТ Р 58942.
Предельные отклонения оси стержневого элемента от прямолинейности в направлении главных осей поперечного сечения δ для стержней длиной L ≤ 2250 мм определяются величиной 3,0 мм. Для стержней длиной L> 2250 мм эти отклонения не должны превышать величины L/750 мм.
Величины отклонений очертания поперечного сечения профиля стержневого элемента от проектной конфигурации не должны превышать значений, определенных в ГОСТ Р 57352-2016 (приложение G).
6.3.3 Образование отверстий в стержневых элементах и узловых накладках следует производить сверлением. Образование отверстий в указанных элементах методом продавливания или прожитом не допускается.
6.3.4 Сверление отверстий в группе производят по кондуктору или с помощью другого приспособления, обеспечивающего точность взаимного положения отверстий в группе.
6.3.5 Отклонение расстояния между группами монтажных отверстий в готовых элементах от проектных линейных размеров не должно превышать:
- для стержневых элементов длиной от 2500 до 4000 мм - ± 1,2 мм;
- для узловых деталей - ± 0,5 мм.
6.3.6 Номинальные диаметры отверстий под высокопрочные болты должны быть больше номинальных диаметров болтов на 1,0 мм. Отклонение диаметров отверстий от номинальной величины не должно превышать +0,25 мм. Уменьшение номинальных диаметров отверстий не допускается.
6.3.7 Точность изготовления панелей настила и прижимных планок должна соответствовать 3-му классу точности по ГОСТ Р 58942.
6.3.8 Точность изготовления других вспомогательных элементов конструкции должна соответствовать 4-му классу точности по ГОСТ Р 58942.
6.4.1 Требования к сварным соединениям стального опорного кольца приведены в ГОСТ 31385-2016 (пункт 6.1.2).
6.4.2 Сварные соединения составных стержней, опорных узлов и вспомогательных элементов конструкции крыши следует выполнять в соответствии с требованиями ГОСТ 14806.
6.4.3 Допускается изготавливать панель настила из двух полотнищ, соединенных сварным стыковым швом. Тип сварного соединения - С2 или С4 по ГОСТ 14806. Качество выполнения сварного соединения должно обеспечивать его прочность, плотность и герметичность.
6.4.4 Материалы для сварных соединений элементов алюминиевых конструкций должны удовлетворять требованиям СП 128.13330.
6.4.5 Сварочные материалы и технологии сварки алюминиевых конструкций должны быть аттестованы в соответствии с [1] и [2].
К выполнению сварных соединений элементов конструкции алюминиевой крыши должны допускаться сварщики, аттестованные в соответствии с требованиями [3] и [4].
6.4.6 Качество сварных соединений составных стержней, настила и опорных узлов должно быть подтверждено результатами следующих методов контроля:
- визуально-измерительный по ГОСТ 3242;
- радиографический по ГОСТ 7512 или ультразвуковой по ГОСТ Р 55724;
- капиллярный по ГОСТ 18442 или проба "мел-керосин".
6.4.7 Визуально-измерительный контроль сварных соединений должен быть выполнен в объеме 100% для выявления наружных недопустимых дефектов. Данный контроль необходимо проводить после очистки швов и прилегающих поверхностей металла от шлака, брызг и других загрязнений.
Места и объем контроля сварных соединений физическими методами (РК или УЗК) должны быть указаны в рабочей документации на крышу.
6.5.1 Контрольная сборка производится на заводе-изготовителе. При этом собирается только каркас крыши без настила.
6.5.2 Контрольная сборка проводится для подтверждения собираемости конструкции и определения максимальных отклонений узлов каркаса от их проектного положения, которые не должны превышать величину предельных отклонений, указанную в проектной документации.
6.5.3 При проведении контрольной сборки болтовые соединения узлов конструкций допускается не затягивать на проектное усилие.
6.5.4 Результаты контрольной сборки фиксируются в соответствующем акте, который входит в комплект сдаточной документации.
6.5.5 При изготовлении нескольких одинаковых крыш на одном заводе-изготовителе допускается проведение контрольной сборки только первой крыши при условии, что все производственные процессы, задействованные при ее изготовлении, будут задействованы без изменения каких-либо параметров при изготовлении последующих крыш.
В комплект поставки крыши должны входить:
- отправочные марки крыши согласно рабочей документации: опорное кольцо, стержневые элементы сетчатой оболочки, узловые накладки, детали опорных узлов, панели настила;
- крепежные изделия;
- чертежи КМ и КМД;
- документация (документы о качестве на металлопрокат, сварочные материалы и крепежные изделия, акт контрольной сборки);
- ведомость комплектации.
6.7.1 На каждый стержневой элемент и панель настила должна быть нанесена маркировка согласно монтажной схеме, указывающая на их местоположение в конструкции и ориентацию относительно узлов, к которым они примыкают.
6.7.2 На каждую узловую накладку должна быть нанесена маркировка согласно монтажной схеме, указывающая ярус, местоположение накладки на ярусе, признак верхней или нижней накладки.
6.7.3 Стержневые элементы упаковываются в пачки по принципу однотипности. В одной пачке должны быть упакованы либо кольцевые, либо наклонные элементы одного яруса. Упаковка в одну пачку разнотипных элементов не допускается.
6.7.4 Узловые накладки упаковываются в контейнер по принципу однотипности. В один контейнер помещаются накладки одного яруса.
6.7.5 Панели настила упаковываются в кассеты, обеспечивающие их транспортирование к месту монтажа без повреждений. В одной кассете должны быть упакованы панели настила одного яруса.
6.7.6 На каждую пачку, контейнер или кассету наносится маркировка, указывающая зону крыши, детали которой находятся в упаковке.
Алюминиевые крыши резервуаров принимаются по следующим параметрам:
- соответствие габаритных и присоединительных размеров элементов конструкции крыши проектной документации;
- качество металла несущих конструкций, сварочных материалов и крепежных изделий, подтвержденное документами оценки соответствия установленной формы с отметкой в них результатов входного контроля;
- результаты операционного контроля в процессе монтажа металлоконструкций и защиты элементов от контактной коррозии, оформленные в соответствующих журналах согласно требованиям рабочей и технологической документации;
- результаты испытания на водонепроницаемость после завершения монтажа;
- результаты контрольной геодезической съемки каждого узла смонтированной крыши.
8.1 При изготовлении металлоконструкций алюминиевых крыш резервуаров следует проводить входной и операционный контроль качества на предмет соответствия материалов и изделий требованиям настоящего стандарта, рабочей и технологической (ППР) документации.
8.2 При отсутствии сопроводительных документов оценки соответствия предприятий - поставщиков материалов на предприятии - изготовителе элементов конструкции крыши должен быть проведен входной контроль характеристик и свойств основных и сварочных материалов.
Металл, предназначенный для изготовления крыши, не должен иметь трещин, закатов, раковин, плен, расслоений и других дефектов.
8.3 Методы и объем контроля сварных соединений составных стержней, опорных узлов и панелей обшивки указаны в 6.4.
8.4 Приемку элементов металлоконструкций крыши в монтаж (входной контроль) следует проводить в соответствии с 10.1.2.
8.5 Места измерений при операционном контроле и контролируемые параметры должны быть указаны в проектной и технологической документации.
8.6 Геодезический контроль за местоположением узлов в процессе монтажа и после установки крыши в проектное положение следует проводить в соответствии с 10.2.7.
9.1 На упаковки конструкций крыши должна быть нанесена транспортная маркировка, включающая в себя манипуляционные знаки, основные, дополнительные и информационные надписи.
9.2 Размеры знаков, объем основных, дополнительных и информационных надписей, а также место и способы нанесения транспортной маркировки должны соответствовать ГОСТ 14192.
9.3 Упаковки с конструкциями крыши перевозят любым видом транспорта в соответствии с правилами, действующими на транспорте конкретного вида.
9.4 Транспортирование конструкций панелей настила следует выполнять в специальной упаковке в вертикальном положении.
9.5 Условия транспортирования и хранения конструкций крыши должны обеспечивать сохранность качества элементов крыши, предохранять их от загрязнения, механических повреждений и деформаций.
10.1.1 Монтаж конструкций крыши должен осуществляться в соответствии с проектом КМ, чертежами КМД, ППР и требованиями настоящего стандарта.
В ППР должны быть предусмотрены:
- строительный генеральный план монтажной площадки;
- технологическая последовательность монтажа элементов металлоконструкций;
- грузоподъемные, тяговые механизмы;
- приспособления и такелажная оснастка;
- оборудование, инструмент и материалы для производства монтажно-сварочных работ;
- виды и объемы контроля;
- мероприятия, обеспечивающие требуемую точность сборки элементов, пространственную неизменяемость, прочность и устойчивость конструкций в процессе монтажа;
- требования к качеству сборочно-сварочных работ;
- технологическая карта проведения испытания крыши;
- требования безопасности и охраны труда;
- требования к охране окружающей среды.
10.1.2 Приемку элементов металлоконструкций крыши (входной контроль) в монтаж должны проводить представители заказчика и производителя работ с оформлением акта установленной формы.
К акту приемки металлоконструкций в монтаж должны быть приложены:
- КМД изготовителя;
- комплектовочные (отправочные) ведомости;
- результаты измерений и испытаний при проведении заводского входного контроля металлопроката и документы оценки соответствия на сварочные материалы;
- карты, схемы и заключения по неразрушающему контролю;
- акт контрольной сборки.
10.2.1 Монтаж элементов опорного кольца и сварка производятся в технологических процессах монтажа стенки резервуара.
Предельные отклонения кромки листов верхнего яруса стенки, к которой привариваются элементы опорного кольца, не должны превышать значений, указанных в ГОСТ 31385-2016 (раздел 8, таблица 25). При этом верхняя кромка последнего яруса стенки должна иметь плавное очертание. Резкие перепады высот (например, на стыке соседних деталей стенки) не допускаются. Разница в отметках стенки в створах двух соседних опорных узлов крыши не должна превышать 10 мм.
Требования к процессу и качеству сварки опорного кольца изложены в ГОСТ 31385-2016 (раздел 9).
10.2.2 При разработке технологии монтажа крыши необходимо учитывать монтажные нагрузки на крышу в целом и ее конструктивные элементы, а также на стенку резервуара. При необходимости следует устанавливать временные распорки, связи и другие устройства, препятствующие возникновению деформаций.
10.2.3 Монтаж конструкции крыши в пределах кольца нижнего яруса производится внутри резервуара на его днище. Собранную часть крыши поднимают на проектную высоту с помощью монтажных приспособлений, установленных на опорном кольце в створах узлов последнего кольца.
Процесс монтажа завершается присоединением опорных стержней, оформлением опорных узлов на кольце и установкой периферийных деталей настила.
При соответствующем обосновании допускается другой способ монтажа, обеспечивающий проектную точность сборки.
10.2.4 Сборка соединений каркаса осуществляется на монтажных пробках, диаметр которых на 0,5 мм меньше номинального диаметра отверстий. В соединение должно быть установлено не менее двух монтажных пробок. Извлекать монтажные пробки допускается только после постановки всех болтов в соединении и затяжки их на усилие не менее половины от величины расчетного натяжения. Постановка временных болтов не допускается.
10.2.5 Сборка следующего яруса допускается только после затяжки всех болтов смонтированного яруса на проектное усилие.
10.2.6 Защита от коррозии болтовых соединений производится после контроля затяжки высокопрочных болтов фрикционных соединений.
10.2.7 В процессе монтажа крыши проводится геодезический контроль за местоположением узлов собранной части. После установки крыши в проектное положение проводится контрольная геодезическая съемка каждого узла смонтированной крыши. При этом определяются координаты каждой точки контроля геометрии и величина максимального отклонения Δ местоположения узлов сетчатой оболочки от их проектного положения.
10.2.8 При превышении значений максимальных отклонений узлов каркаса величины предельных отклонений, указанной в проектной документации, эксплуатация крыши возможна только после положительного заключения проектировщика. В противном случае эксплуатация крыши не разрешается.
10.2.9 На весь период монтажа конструкций крыши организация, разработавшая проектную документацию, в установленном заказчиком порядке должна осуществлять авторский надзор с ведением журнала авторского надзора.
10.3.1 Испытание крыши должно проводиться после завершения всех монтажно-сварочных работ, контроля качества всех элементов конструкции и их приемки техническим надзором заказчика.
10.3.2 В составе проектов КМ и ППР должны быть разработаны программа и методика испытания. Испытание проводится монтажником при участии представителей технического надзора заказчика и авторского надзора проектировщика.
10.3.3 Испытание крыши проводят на водонепроницаемость орошением водой. Ввиду возможных коррозионных последствий следует уделять внимание качеству воды и длительности орошения. Если не оговорено иное, следует использовать питьевую воду.
Появление воды с внутренней стороны купола свидетельствует о водопроницаемости купола. При испытании должна быть исключена конденсация атмосферной влаги на внутренней поверхности купола.
10.3.4 После окончания испытания составляется акт установленной формы.
11.1 Общий срок службы крыши резервуаров должен быть не менее общего срока службы корпуса резервуара, назначаемого заказчиком или определяемого при проектировании по технико-экономическим показателям, согласованным с заказчиком. Он обеспечивается выбором материала, учетом температурных и коррозионных воздействий, допусками на изготовление и монтаж металлоконструкций, способами защиты от коррозии и назначением регламента обслуживания.
11.2 Общий срок службы крыши включает в себя регламентные работы по обслуживанию и ремонту, которые должны включать в себя диагностирование стального опорного кольца, элементов каркаса, узловых элементов и болтовых соединений, панелей настила, узлов сопряжения настила и каркаса.
11.3 Расчетный срок службы крыши регламентируется коррозионным износом стальных конструкций корпуса резервуара и должен обеспечиваться установленной в проектной документации системой защиты от коррозии, имеющей гарантированный срок службы не менее десяти лет.
11.4 Эксплуатация крыши должна осуществляться в соответствии с инструкцией по надзору и обслуживанию, утвержденной руководителем эксплуатирующего предприятия.
11.5 Безопасность эксплуатации крыши должна обеспечиваться проведением регулярного диагностирования с оценкой технического состояния и проведением (при необходимости) ремонтов.
11.6 Полное диагностирование, включающее в себя в том числе проведение испытания крыши на водонепроницаемость, должно проводиться с частотой диагностирования корпуса резервуара.
11.7 Диагностирование резервуаров должно проводиться экспертной организацией, допущенной к осуществлению диагностирования резервуаров надзорным органом по промышленной безопасности в порядке, установленном действующим законодательством Российской Федерации.
Приложение А
(обязательное)
А.1 Общие положения
А.1.1 Расчет конструкций крыши необходимо выполнять в соответствии с требованиями ГОСТ 27751, СП 16.13330, СП 20.13330 и СП 128.13330.
А.1.2 Необходимо учитывать следующие расчетные ситуации:
- установившаяся расчетная ситуация, соответствующая нормальной эксплуатации крыши после ее ввода в эксплуатацию и в межремонтный период;
- расчетные ситуации, соответствующие монтажу конструкции и ее состоянию в период производства ремонтных работ.
А.2 Нагрузки на крышу
А.2.1 При расчете крыши следует учитывать:
- нагрузки от собственного веса конструкций;
- нагрузки от технологического оборудования;
- климатические нагрузки (снеговые, ветровые, гололедные, температурные).
Нагрузки от технологического оборудования определяются заказчиком и указываются в техническом задании.
Климатические нагрузки определяют по СП 20.13330 в зависимости от места строительства.
Распределение снеговых и ветровых нагрузок по поверхности крыши определяют по СП 20.13330. При этом необходимо учитывать требование СП 20.13330.2016 (пункт 10.4) об учете снеговых нагрузок на половине или четверти поверхности крыши.
А.2.2 При расчете конструкций необходимо учитывать основное сочетание нагрузок.
Основное сочетание нагрузок включает в себя нагрузки:
- от собственного веса конструкций крыши;
- от технологического оборудования;
- климатические нагрузки.
Коэффициенты сочетаний нагрузок для основного сочетания определены в СП 20.13330.
А.3 Расчетные модели
А.3.1 Расчет конструкций каркаса крыши производится методом конечного элемента в геометрически нелинейной постановке с учетом начальных отклонений узлов конструкции от проектной сферической поверхности.
А.3.2 В расчетную модель каркаса крыши включают: верхний пояс стального резервуара, опорное кольцо и стержни каркаса, а также стержневые элементы, моделирующие связевую функцию настила.
А.3.3 Для каждого расчетного загружения следует принимать свою наиболее неблагоприятную форму начальных отклонений узлов каркаса от идеальной проектной геометрии. Поэтому каждому расчетному загружению должна соответствовать своя особая расчетная модель.
А.3.4 Расчетную величину наибольшего отклонения одного из узлов каркаса от сферической поверхности следует принимать не менее 1/400 радиуса кривизны.
А.3.5 Каждый стержень каркаса должен содержать несколько промежуточных узлов и моделироваться минимум четырьмя конечными элементами. Геометрические характеристики стержней соответствуют принятым поперечным сечениям стержневых элементов каркаса.
А.3.6 Опорное кольцо и стенка резервуара моделируются элементами оболочки.
А.3.7 Несущая способность узлов и элементов должна быть обеспечена при НДС конструкции, соответствующем расчетной величине нагрузки. Проверку следует производить по критериям предельных состояний в соответствии с требованиями СП 16.13330 и СП 128.13330. При этом, определяя несущую способность составных стержневых элементов, образованных с применением сварки, следует учитывать снижение прочностных характеристик металла сварного шва и околошовной зоны.
Резкое нарастание деформаций конструкции без увеличения нагрузки при дальнейшем пошаговом ее увеличении означает потерю устойчивости формы конструкции. Соответствующий уровень нагрузки должен превышать расчетное значение не менее чем в 1,8 раза.
А.3.8 Расчетная модель панели настила должна состоять из конечных элементов типа оболочки проектной толщины. Размеры конечных элементов должны быть в пределах, обеспечивающих необходимую точность расчета. Начальные погиби настила допускается не учитывать.
А.3.9 Нелинейный расчет выполняется на две распределенные нагрузки:
- равномерно распределенная по всей площади с интенсивностью, соответствующей наибольшей поверхностной нагрузке, действующей на крышу;
- нагрузка 200 кг, распределенная по площади 0,4 x 0,4 м на любом участке панели.
А.3.10 Несущая способность настила должна быть обеспечена при НДС конструкции, соответствующем расчетной величине нагрузки. Проверку следует производить по критериям предельных состояний в соответствии с СП 128.13330.
Если панель настила выполняется из двух полотнищ, при проверке несущей способности следует учесть снижение прочностных характеристике зоне шва и в околошовной зоне.
Приложение Б
(обязательное)
Б.1 Лестницу обслуживания центрального вентиляционного патрубка - светового люка рекомендуется располагать с наветренной стороны по розе ветров в зимний период.
Б.2 Вентилирование надпонтонного пространства РВСП должно осуществляться через один проем в центре крыши и кольцевой проем, расположенный под свесом настила крыши по всему периметру опорного кольца, или через вентиляционные патрубки, расположенные на крыше резервуара. Общая открытая площадь всех проемов и вентиляционных патрубков должна составлять не менее 0,06 м2 на 1 м диаметра резервуара.
Б.3 Требования к площадкам, переходам, лестницам и ограждениям крыши указаны в ГОСТ 31385. Расположение и конструкция узлов опирания площадок, лестниц и технологического оборудования, устанавливаемого на крыше, должны способствовать равномерному распределению нагрузок от этих конструкций на каркас крыши, а также обеспечивать наиболее благоприятные условия схода снега и наледи с поверхности крыши.
Библиография
|
[1] |
Федеральные нормы и правила в области промышленной безопасности "Требования к производству сварочных работ на опасных производственных объектах" (утверждены приказом Федеральной службы по экологическому, технологическому и атомному надзору от 11 декабря 2020 г. N 519, зарегистрированным Министерством юстиции Российской Федерации 30 декабря 2020 г., регистрационный N 61964) | |
|
[2] |
РД 03-615-03 |
Порядок применения сварочных технологий при изготовлении, монтаже, ремонте и реконструкции технических устройств для опасных производственных объектов |
|
[3] |
ПБ 03-273-99 |
Правила аттестации сварщиков и специалистов сварочного производства |
|
[4] |
РД 03-495-02 |
Технологический регламент проведения аттестации сварщиков и специалистов сварочного производства |


