ГОСТ Р МЭК 60095-6-2021 БАТАРЕИ СТАРТЕРНЫЕ СВИНЦОВО-КИСЛОТНЫЕ. Часть 6. БАТАРЕИ ДЛЯ ПРИМЕНЕНИЯ В РЕЖИМЕ МИКРОЦИКЛИРОВАНИЯ. ОБЩИЕ ТРЕБОВАНИЯ И МЕТОДЫ ИСПЫТАНИЙ
Утв. и введен в действие Приказом Федерального агентства по техническому регулированию и метрологии от 17 августа 2021 г. N 724-ст
Lead-acid starter batteries. Part 6. Batteries for micro-cycle applications. General requirements and methods of tests
(IEC 60095-6:2019, Lead-acid starter batteries - Part 6: Batteries for micro-cycle applications, IDT)
ОКС 29.220.20
Дата введения - 1 декабря 2021 года
Введен впервые
Предисловие
1 ПОДГОТОВЛЕН Национальной ассоциацией производителей источников тока "РУСБАТ" (Ассоциация "РУСБАТ") на основе собственного перевода на русский язык англоязычной версии стандарта, указанного в пункте 4, и Федеральным государственным бюджетным учреждением "Российский институт стандартизации" (ФГБУ "РСТ")
2 ВНЕСЕН Техническим комитетом по стандартизации ТК 044 "Аккумуляторы и батареи"
3 УТВЕРЖДЕН И ВВЕДЕН В ДЕЙСТВИЕ Приказом Федерального агентства по техническому регулированию и метрологии от 17 августа 2021 г. N 724-ст
4 Настоящий стандарт идентичен международному стандарту МЭК 60095-6:2019 "Батареи стартерные свинцово-кислотные. Часть 6. Батареи для применения в режиме микроциклирования" (IEC 60095-6:2019 "Lead-acid starter batteries - Part 6: Batteries for micro-cycle applications", IDT).
Наименование настоящего стандарта изменено относительно наименования указанного международного стандарта для приведения в соответствие с ГОСТ Р 1.5-2012 (пункт 3.5).
При применении настоящего стандарта рекомендуется использовать вместо ссылочных международных стандартов соответствующие им национальные стандарты, сведения о которых приведены в дополнительном приложении ДА.
Дополнительные сноски в тексте стандарта, выделенные курсивом, приведены для пояснения текста оригинала МЭК
5 ВВЕДЕН ВПЕРВЫЕ
Правила применения настоящего стандарта установлены в статье 26 Федерального закона от 29 июня 2015 г. N 162-ФЗ "О стандартизации в Российской Федерации". Информация об изменениях к настоящему стандарту публикуется в ежегодном (по состоянию на 1 января текущего года) информационном указателе "Национальные стандарты", а официальный текст изменений и поправок - в ежемесячном информационном указателе "Национальные стандарты". В случае пересмотра (замены) или отмены настоящего стандарта соответствующее уведомление будет опубликовано в ближайшем выпуске ежемесячного информационного указателя "Национальные стандарты". Соответствующая информация, уведомление и тексты размещаются также в информационной системе общего пользования - на официальном сайте Федерального агентства по техническому регулированию и метрологии в сети Интернет (www.gost.ru)
Настоящий стандарт распространяется на свинцово-кислотные аккумуляторные батареи (далее - батареи) с номинальным напряжением 12 В, используемые в качестве источника энергии для пуска двигателей внутреннего сгорания (ДВС), для освещения, а также для вспомогательного оборудования транспортных средств (далее - ТС) с ДВС.
Настоящий стандарт устанавливает общие требования и методы испытаний. Данные батареи, как правило, называют "стартерными батареями".
Батареи в рамках настоящего стандарта используют в ТС в режимах микроциклирования, которые также называют "старт-стоп" (или "стоп-старт", "система холостой ход-стоп", "микрогибрид" или "холостой ход-стоп и вперед"). В ТС с этой специальной функцией ДВС выключается во время полной остановки ТС, во время холостого хода с низкой скоростью или во время холостого хода, когда нет необходимости поддерживать движение ТС с помощью ДВС. В периоды, когда ДВС выключается, большая часть электрических и электронных компонентов ТС питается от батареи без электропитания от генератора переменного тока. Кроме того, в большинстве случаев устанавливается дополнительная функция рекуперативного торможения (рекуперация или регенерация энергии торможения). Батареи для этих применений подвергаются совершенно другой нагрузке по сравнению с классическими стартерными батареями. Помимо этих дополнительных функций данные батареи должны обеспечивать возможность прокручивания ДВС и поддержания освещения, а также вспомогательные функции в стандартном режиме работы с электропитанием от генератора переменного тока при включении ДВС. Все батареи, входящие в область применения настоящего стандарта, выполняют основные функции, которые подвергают испытаниям на соответствие требованиям МЭК 60095-1.
Требования настоящего стандарта применимы к батареям:
- для ТС с возможностью автоматического отключения ДВС во время работы ТС в режиме остановки или при движении ("старт-стоп") - батареи с габаритными размерами согласно МЭК 60095-2;
- ТС с системой "старт-стоп" с возможностью рекуперации энергии торможения или энергии других источников - батареи с габаритными размерами согласно МЭК 60095-2.
Технология "литий-ион" не входит в область применения настоящего стандарта.
Примечание - В настоящее время рассматривается вопрос о возможности применения требований настоящего стандарта к батареям по МЭК 60095-4.
В настоящем стандарте использованы нормативные ссылки на следующие стандарты [для датированных ссылок применяют только указанное издание ссылочного стандарта, для недатированных - последнее издание (включая все изменения)]:
IEC 60050-482, International Electrotechnical Vocabulary (IEV) - Part 482: Primary and secondary cells and batteries (Международный электротехнический словарь. Часть 482. Первичные элементы, аккумуляторы и аккумуляторные батареи)
IEC 60095-1:2018, Lead-acid starter batteries - Part 1: General requirements and methods of test (Батареи стартерные свинцово-кислотные. Часть 1. Общие требования и методы испытаний)
IEC 60095-2, Lead-acid starter batteries - Part 2: Dimensions of batteries and dimensions and marking of terminals (Батареи стартерные свинцово-кислотные. Часть 2. Размеры батарей и размеры и маркировка зажимов)
В настоящем стандарте применены термины по МЭК 60050-482, а также следующие термины с соответствующими определениями.
ИСО и МЭК ведут терминологические базы данных для использования в стандартизации по следующим адресам:
- Электропедия МЭК: доступна на http://www.electropedia.org/;
- платформа онлайн-просмотра ИСО: доступна на http://www.iso.org/obp.
3.1.1 батарея открытого типа (flooded battery; vented battery): Свинцово-кислотная батарея, оснащенная крышкой с одним или несколькими отверстиями, через которые могут выходить газообразные продукты.
3.1.2 улучшенная батарея открытого типа; батарея EFB (enhanced flooded battery; EFB battery): Свинцово-кислотная батарея открытого типа, оснащенная специальными конструктивными особенностями, позволяющими значительно улучшить способность к циклированию по сравнению со стандартными батареями открытого типа.
3.1.3 свинцово-кислотная батарея с регулирующим клапаном; батарея VRLA (valve regulated lead-acid battery; VRLA battery): Свинцово-кислотная батарея, закрытая в нормальных условиях, но оснащенная устройством, обеспечивающим возможность газу выходить, если при ее эксплуатации внутреннее давление превышает заданное значение.
Примечания
1 Для батареи VRLA и после активации сухозаряженной VRLA отсутствует возможность добавления электролита.
2 В батареях VRLA электролит иммобилизован.
3.1.4 батарея с абсорбирующим стекловолоконным сепаратором; батарея AGM: Батарея VRLA, в которой электролит иммобилизован путем поглощения в стекловолоконном пористом материале.
3.1.5 гелевая батарея (gel battery): Батарея VRLA, в которой электролит иммобилизован в виде геля.
- EN - Европейский стандарт (Euro Norm), созданный CENELEC (Европейский комитет по электротехнической стандартизации);
- SBA - Ассоциация стандартов батарей, созданная Японской ассоциацией батарей;
- CHA - заряд батареи; батарею заряжают с заданными параметрами;
- DCA - прием динамического заряда;
- DCH - разряд батареи; батарею разряжают с заданными параметрами;
- PAU - пауза; нет заряда или разряда, но измерение напряжения по требованию. Если батарея подключена к испытательному устройству, ток должен отсутствовать;
- RPT - повторение; указание повторить определенные шаги несколько раз;
- CAS - в случае если; точка принятия решения, ведущая к различным действиям, зависящим от значения переменной;
- EOS - конец шага;
- Cф - фактическая емкость, А·ч;
- Cн - номинальная емкость, А·ч;
- Crch - емкость повторного заряда, А·ч;
- ГР - глубина разряда, % Cн;
- Iз - ток заряда, А;
- Iх.п - ток холодной прокрутки, А;
- IDCA - взвешенный нормированный прием динамического заряда, измеренный в А, деленных на номинальную емкость Cн, А/А·ч;
- Iр - ток разряда, А;
- Ic - средний ток заряда в DCA испытании после заряда, А;
- Id - средний ток заряда в DCA испытании после разряда, А;
- Iн - номинальный ток разряда, А, Iн, А = Cн, А·ч/20 ч;
- Iрек - средний ток заряда в DCA испытании во время рекуперативного торможения;
- Qз - емкость заряда, А·ч;
- Qр - емкость разряда, А·ч;
- Rд - расчетное динамическое внутреннее сопротивление, Ом;
- Rвн - внутреннее сопротивление, Ом;
- RC - резервная емкость (разряд постоянным током 25 А до напряжения 10,5 В), используемая в DCA испытании;
- СЗ - степень заряженности;
- tр - время разряда, с;
- Uз - напряжение заряда, В.
Согласно МЭК 60095-1:2018 (пункт 4.1).
Согласно МЭК 60095-1:2018 (пункт 4.3).
Согласно МЭК 60095-1:2018 (раздел 5).
6.1.1 Общие положения
На батареях, изготовленных в соответствии с настоящим стандартом, по крайней мере, на верхней или одной из четырех боковых сторон должны быть приведены данные, установленные в 6.1.2 - 6.1.9.
6.1.2 Идентификация изготовителя или поставщика
Должно быть указано наименование изготовителя или поставщика.
6.1.3 Номинальное напряжение
Должно быть указано номинальное напряжение 12 В.
6.1.4 Емкость или резервная емкость и номинальный ток холодной прокрутки
Согласно МЭК 60095-1:2018 (пункт 6.1.4).
6.1.5 Код даты производства
Батареи должны быть маркированы датой изготовления. Она может быть частью более сложного кода.
6.1.6 Маркировка безопасности
Согласно МЭК 60095-1:2018 (пункт 6.1.6).
6.1.7 Маркировка переработки
Согласно МЭК 60095-1:2018 (пункт 6.1.7).
6.1.8 Идентификация батарей "старт-стоп"
В дополнение к информации, приведенной в МЭК 60095-1, батарею допускается маркировать символом, отражающим применение батарей в режиме микроциклирования.
Для лучшей идентификации и сравнения батарей изготовитель батарей может использовать специальную маркировку.
Пример - Маркировка Европы и маркировка Японии:

6.1.9 Батареи с регулирующими клапанами
Согласно МЭК 60095-1:2018 (пункт 6.1.8).
Маркировка полярности выводов должна быть выполнена в соответствии с требованиями МЭК 60095-2.
При креплении батареи на ТС с использованием ее частей (например, нижних выступов) они должны соответствовать требованиям МЭК 60095-2.
7.1.1 Определения характеристики холодной прокрутки, емкости 20-часового разряда, резервной емкости, сохраняемости заряда и расхода воды соответствуют приведенным в МЭК 60095-1:2018.
Испытания на прием заряда и испытания на долговечность адаптированы для режима микроциклирования.
7.1.2 Характеристика холодной прокрутки - это ток разряда Iх.п, установленный изготовителем в соответствии с выбранным им вариантом (вариант 1 или вариант 2), который может обеспечить батарея в соответствии с 9.3.
7.1.3 Емкость батареи определяют при температуре окружающей среды (25 ± 2) °C.
Изготовитель может указать ее следующим образом:
- номинальная емкость 20-часового разряда C20;
- номинальная резервная емкость RCн.
C20 и RCн определены в МЭК 60095-1:2018 (пункт 7.1.2).
7.1.4 Прием заряда состоит из двух частей:
- прием заряда 1 (при 0 °C) согласно МЭК 60095-1:2018 (пункт 7.1.3).
- прием заряда 2 (при 25 °C) является специфическим требованием для режима микроциклирования.
7.1.5 Сохраняемость заряда - по МЭК 60095-1:2018 (пункт 7.1.4).
7.1.6 Испытание на долговечность состоит из четырех этапов:
- испытание на коррозию - характеризует устойчивость к повторяющимся периодам перезаряда и последующего периода хранения;
- циклическое испытание при 50% ГР - характеризует устойчивость к повторяющимся циклам разряда и последующего заряда, а также длительного отдыха при разомкнутой цепи. После проведения серии зарядно-разрядных циклов и периодов отдыха при определенных условиях определяют характеристики холодной прокрутки или емкость;
- циклическое испытание при 17,5% ГР - характеризует способность обеспечивать энергию в режиме микроциклирования при частично разряженной батарее;
- испытание на микроциклирование - характеризует способность батареи обеспечивать электропитание для повторного запуска двигателя после частых остановок, способность батареи восстанавливать заряженность после этого и износ батареи при небольших импульсных нагрузках.
7.1.7 Расход воды согласно МЭК 60095-1:2018 (пункт 7.1.6).
В батареях VRLA расход воды очень мал и возможность долива дополнительной воды не предусмотрена.
В батареях EFB в большинстве случаев крышка герметична, и в них не предусмотрен долив дополнительной воды вследствие малого ее расхода.
7.2.1 Требования устойчивости к вибрационным нагрузкам и невыливаемости электролита - по МЭК 60095-1.
7.2.2 Устойчивость к вибрации представляет собой способность батареи поддерживать рабочее состояние при воздействии периодических или нерегулярных вибрационных нагрузок. Минимальные требования проверяют испытаниями по 9.7.
7.2.3 Невыливаемость электролита - способность батареи удерживать электролит при определенных физических условиях (см. 9.8).
Образцы испытывают не позднее чем через:
- 45 сут после даты изготовления - для залитых электролитом батарей;
- 60 сут после даты изготовления - для сухозаряженных батарей.
Согласно МЭК 60095-1:2018 (пункт 8.2).
8.3.1 Измерительные приборы
Согласно МЭК 60095-1:2018 (пункт 8.3.1).
Конкретные требования к характеристикам измерительных приборов приведены в приложении A для испытания на прием динамического заряда в соответствии с 9.4.2 и испытания на микроциклирование - в соответствии с 9.6.4.
8.3.2 Термостатированная водяная ванна
Согласно МЭК 60095-1:2018 (пункт 8.3.2).
8.3.3 Климатическая камера
Согласно МЭК 60095-1:2018 (пункт 8.3.3).
a) Батареи подвергают испытаниям в последовательности, приведенной ниже:
- первая проверка Cф или RCф;
- первое испытание характеристик холодной прокрутки;
- вторая проверка Cф или RCф;
- второе испытание характеристик холодной прокрутки;
- третья проверка Cф или RCф;
- третье испытание характеристик холодной прокрутки.
Проверка емкости 20-часового разряда Cф согласно МЭК 60095-1:2018 (пункт 9.1), проверка резервной емкости RCф согласно МЭК 60095-1:2018 (пункт 9.2).
Для Cф или RCф и характеристик холодной прокрутки установленные значения должны быть получены по крайней мере в одном из соответствующих разрядов в испытаниях, приведенных в перечислении a).
Нет необходимости продолжать последовательность, если указанные значения достигнуты при первом или втором испытании.
Примечание - Выбор между проверкой Cф или RCф является решением заказчика или потребителя.
b) Испытания в соответствии с таблицами 1 или 2 проводят, только если батареи соответствуют требованиям испытаний, указанным в перечислении a), и не позднее чем через неделю после завершения указанных испытаний.
Примечание - Выбор между проверкой Cф или RCф является решением заказчика или потребителя.
|
Испытание |
Номер выборки батарей | ||||||
|
1 |
2 |
3 |
4 |
5 |
6 | ||
|
Предварительный заряд перед испытанием |
- |
+ |
+ |
+ |
+ |
+ |
+ |
|
Первая проверка емкости 20-часового разряда |
Первая резервная емкость |
+ C20 |
- |
+ |
+ |
+ |
+ |
|
Первое испытание характеристик холодной прокрутки |
- |
+ |
- |
+ |
+ |
+ |
+ |
|
Вторая проверка емкости 20-часового разряда |
Вторая резервная емкость |
+ C20 |
- |
(+) |
(+) |
(+) |
(+) |
|
Второе испытание характеристик холодной прокрутки |
- |
(+) |
- |
(+) |
(+) |
(+) |
(+) |
|
Третья проверка емкости 20-часового разряда |
Третья резервная емкость |
+ C20 |
- |
(+) |
(+) |
(+) |
(+) |
|
Третье испытание характеристик холодной прокрутки |
- |
+ |
- |
- |
- |
- |
- |
|
Испытание на прием заряда 1 (9.4.1) |
- |
+ |
- |
- |
- |
- |
- |
|
Испытание на прием заряда 2 (SBA) (9.4.2) |
- |
- |
+ |
- |
- |
- |
- |
|
Испытание на долговечность (9.6) |
Испытание на коррозию |
+ | |||||
|
Циклическое испытание при 50% ГР |
+ | ||||||
|
Циклическое испытание при 17,5% ГР |
+ |
- |
- | ||||
|
Испытание на микроциклирование (9.4.2) |
+ | ||||||
|
Испытание на сохраняемость заряда (9.5) |
- |
- |
- |
- |
- |
+ |
- |
|
Испытание на невыливаемость электролита (9.8) |
- |
- |
- |
- |
- |
- |
+ |
|
Испытание на устойчивость к вибрации (9.7) |
- |
- |
- |
- |
- |
- |
+ |
|
Обозначения: + - испытание необходимо провести; (+) - испытание проводят, только если при предыдущем аналогичном испытании был получен отрицательный результат. Батарея 1 должна быть подвергнута полной последовательности из трех испытаний по определению емкости 20-часового разряда (не RC) перед испытанием на прием заряда по 9.4.1. | |||||||
|
Испытание |
Номер выборки батарей | |||||||
|
1 |
2 |
3 |
4 |
5 |
6 |
7 | ||
|
Предварительный заряд перед испытанием |
- |
+ |
+ |
+ |
+ |
+ |
+ |
+ |
|
Первая проверка емкости 20-часового разряда |
Первая резервная емкость |
+ C20 |
+ |
+ C20 |
+ |
+ |
+ |
- |
|
Первое испытание характеристик холодной прокрутки |
- |
+ |
+ |
+ |
+ |
+ |
+ |
- |
|
Вторая проверка емкости 20-часового разряда |
Вторая резервная емкость |
+ C20 |
+ |
+ C20 |
(+) |
(+) |
(+) |
- |
|
Второе испытание характеристик холодной прокрутки |
- |
(+) |
(+) |
(+) |
(+) |
(+) |
(+) |
- |
|
Третья проверка емкости 20-часового разряда |
Третья резервная емкость |
+ C20 |
(+) |
+ C20 |
(+) |
(+) |
(+) |
- |
|
Третье испытание характеристик холодной прокрутки |
- |
(+) |
(+) |
(+) |
(+) |
(+) |
(+) |
- |
|
Испытание на прием заряда 1 (9.4.1) |
- |
+ |
(+) |
- |
- |
- |
- |
- |
|
Испытание на прием заряда DCA (9.4.2) |
- |
- |
- |
- |
- |
- |
- |
+ |
|
Испытание на долговечность (9.6) |
Испытание на коррозию |
+ | ||||||
|
Циклическое испытание при 50% ГР |
+ | |||||||
|
Циклическое испытание при 17,5% ГР |
+ |
- |
- |
- | ||||
|
Испытание на микроциклирование (9.6.4) |
+ | |||||||
|
Испытание на сохраняемость заряда (9.5) |
- |
- |
- |
- |
- |
+ |
- |
- |
|
Испытание на невыливаемость электролита (9.8) |
- |
- |
- |
- |
- |
- |
+ |
- |
|
Испытание на устойчивость к вибрации (9.7) |
- |
- |
- |
- |
- |
- |
+ |
- |
|
Обозначения: + - испытание необходимо провести; (+) - испытание проводят, только если при предыдущем аналогичном испытании был получен отрицательный результат. Батарея 1 должна быть подвергнута полной последовательности из трех испытаний по определению емкости 20-часового разряда (не RC) перед испытанием на прием заряда по 9.4.1. Батарея 3 должна быть подвергнута полной последовательности из трех испытаний по определению емкости 20-часового разряда (не RC) перед циклическим испытанием 17,5% ГР по 9.6.3. | ||||||||
Согласно МЭК 60095-1:2018 (пункт 9.1).
Согласно МЭК 60095-1:2018 (пункт 9.2).
9.3.1 Испытания характеристик холодной прокрутки. Стандартная температура минус 18 °C
Согласно МЭК 60095-1:2018 (подпункт 9.3.1).
9.3.2 Испытания характеристик холодной прокрутки. Очень холодный климат
Согласно МЭК 60095-1:2018 (подпункт 9.3.2).
9.4.1 Прием заряда 1 (при 0 °C)
Согласно 9.4 МЭК 60095-1:2018 (пункт 9.4).
9.4.2 Специальные испытания на прием заряда для батарей для режима микроциклирования (при 25 °C)
Для проведения специальных испытаний на прием заряда необходимо выбрать один из следующих методов испытаний.
Вариант A: Специальное испытание на прием заряда (SBA испытание 2) проводят следующим образом:
1) Испытание проводят на батареях, заряженных в соответствии с 8.2.
2) Батарею помещают в водяную ванну с температурой воды (25 ± 2) °C в соответствии с 8.3.2.
Затем батарею в течение 30 мин разряжают током, равным значению тока 20-часового разряда I20, умноженному на 3,42.
Примечание - Ток разряда 3,42·I20 округляют до одного десятичного знака.
3) После завершения разряда батарею выдерживают в водяной ванне с температурой воды (25 ± 2) °C в течение 16 - 24 ч.
4) Батарею заряжают при постоянном напряжении (14,50 ± 0,03) В в водяной ванне с температурой воды (25 ± 2) °C, а значение тока регистрируют до (10 ± 0,1) с от начала заряда с интервалом 0,1 с. Максимальное значение тока заряда должно быть (200 ± 0,5) А.
Если напряжение достигает значения 14,5 В через 0,1 с от начала заряда, предельный ток допускается уменьшать.
5) Емкость, полученную при заряде Qз, А·с, определяют по формуле
Qз = (I0,1с + I0,2с + ... + I9,9с + I10с)·0,1 (1)
или
,
где I0,1с + I0,2с и т.д. - ток заряда на 0,1 с, 0,2 с и т.д.;
t - индекс, обозначающий время в диапазоне от 0,1 с до 10,0 с с шагом 0,1 с.
Примечание - Ток заряда допускается записывать через 10 - 60 с после начала заряда.
Вариант B:
Специальное испытание на прием заряда (испытание на прием динамического заряда, EN DCA) проводят следующим образом (см. блок-схему метода испытания в приложении B).
Цель: батареи в системах "старт-стоп" должны быть заряжены в короткие сроки для поддержания энергетического баланса во время эксплуатации ТС. Поэтому для определения возможности приема динамического заряда необходимо проводить различие между батареями, пригодными для "старт-стоп", и для стандартных применений. При данном испытании проверяют возможность батареи принимать импульсы тока при различных значениях СЗ после заряда или разряда, а также после имитации режимов "старт-стоп" и рекуперативного торможения, что позволяет оценить снижение способности динамического заряда в условиях микроциклирования.
1) Метод испытаний:
Испытания проводят на батарее, помещенной в водяную ванну при температуре воды (25 ± 2) °C в соответствии с 8.3.2. Данное испытание состоит из трех последовательных частей:
- предварительное циклирование;
- испытания на прием заряда qDCA токами заряда Ic и Id;
- DCRSS разряд током Iрек при микроциклировании.
Конечный результат определяют с помощью полученных значений Ic, Id и Iрек. Блок-схемы методов испытаний приведены в приложении B <*>.
--------------------------------
<*> В оригинале МЭК 60095-6:2019 ошибочно сделана ссылка на приложение A.
Аббревиатуры, используемые в настоящем подпункте:
- DCA - прием динамического заряда;
- qDCA - испытание на ускоренный прием динамического заряда;
- DCApp - DCA импульсный профиль [см. приложение B (рисунок B.1)];
- DCRSS - прием динамического заряда в реальном режиме "старт-стоп" [см. приложение B (рисунки B.2, B.3 и B.4)].
2) Предварительное циклирование проводят по схеме, приведенной в таблице 3.
|
Структура |
Номер шага |
Шаг |
t |
U |
I |
Описание |
Получение данных |
Результат измерения каждого шага |
|
Предварительное циклирование |
10 |
DCH |
- |
> 10,5 |
25 |
RC разряда |
EOS |
RC резервная емкость |
|
11 |
CHA |
24 ч |
Uз |
5Iн |
Напряжение заряда батарей открытого типа или VRLA батарей |
EOS |
Емкость заряда, А·ч. Конечный ток заряда | |
|
12 |
PAU |
1 ч |
- |
- |
Фаза перерыва |
- |
- | |
|
13 |
DCH |
- |
> 10,5 |
25 |
RC разряда |
EOS |
RC резервная емкость | |
|
14 |
CHA |
24 ч |
Uз |
5Iн |
Напряжение заряда батарей открытого типа или VRLA батарей |
EOS |
Емкость заряда, А·ч. Конечный ток заряда | |
|
15 |
PAU |
1 ч |
- |
- |
Фаза перерыва |
- |
- | |
|
16 |
DCH |
- |
> 10,5 |
1Iн |
Cф разряда |
EOS |
Cф рассчитывается: Crch = Cф - 0,2·Cн | |
|
17 |
CHA |
- |
Uз |
5Iн |
Напряжение заряда батарей открытого типа или VRLA батарей |
- |
Прекратить заряд, когда Crch, А·ч, будет достигнута |
Примечание - RC на шагах 10 и 13 должна достигать не менее 90% RCн, а Cф разряда на шаге 16 - не менее 90% Cн.
3) Процедуру qDCA определяют в соответствии со схемой, приведенной в таблице 4. Процедура DCApp, используемая на шагах 21 и 27, определена в таблице 5.
|
Процедура |
Номер шага |
Шаг |
t |
U |
I |
Описание |
Получение данных |
Результат измерения каждого шага |
|
Испытания на прием заряда qDCA |
20 |
PAU |
мин. 20 ч макс. 72 ч |
- |
- |
Фаза перерыва |
EOS |
Напряжение разомкнутой цепи |
|
21 |
DCApp |
- |
- |
- |
Процедура DCApp |
EOS |
Ic = интегрированный ток заряда/200 с | |
|
22 |
CHA |
12 ч |
Uз |
5·Iн |
Напряжение заряда батарей открытого типа/VRLA батарей |
EOS |
- | |
|
23 |
CHA |
4 ч |
18,0/14,8 |
0,5·Iн/5·Iн |
Напряжение заряда батарей открытого типа/VRLA батарей |
EOS |
- | |
|
24 |
PAU |
1 ч |
- |
- |
Фаза перерыва |
EOS |
- | |
|
25 |
DCH |
2 ч |
- |
Iн |
- |
EOS |
- | |
|
26 |
PAU |
20 ч |
- |
- |
Фаза перерыва |
EOS |
- | |
|
27 |
DCApp |
- |
- |
- |
Процедура DCApp |
EOS |
Id = интегрированный ток заряда/200 с | |
|
28 |
DCH |
2 ч |
- |
Iн |
- |
EOS |
- | |
|
29 |
PAU |
мин. 12 ч макс. 72 ч |
- |
- |
Фаза перерыва |
EOS |
- |
Шаг 23: для батарей открытого типа применяют заряд при постоянном напряжении (CV) и постоянном токе (CC) (напряжение не ограничивают). Предел напряжения 18 В указан как предельное безопасное напряжение.
Шаги 21 и 27: средние токи заряда Ic и Id рассчитывают в соответствии с перечислением 6) настоящего подпункта. Следует обратить внимание на то, что Ic и Id являются токами заряда, индексы "c" и "d" обозначают "после заряда" или "после разряда" соответственно.
4) Процедура DCApp (шаги 21 и 27 по таблице 4) определяется в соответствии со схемой, приведенной в таблице 5.
|
Процедура |
Номер шага |
Шаг |
t |
U |
I |
Описание |
Получение данных |
Результат измерения каждого шага |
|
DCApp |
30 |
CHA |
10 с |
14,8 |
33,3·Iн |
Импульсный заряд |
EOS |
Увеличение токов Ic и Id на величину заряда ΔQi |
|
31 |
PAU |
30 с |
- |
- |
Фаза перерыва |
- |
- | |
|
32 |
DCH |
- |
- |
20·Iн |
Разряд |
- |
Окончание разряда, когда ΔQi, А·ч, будет достигнута (x = 1 - 20) | |
|
33 |
PAU |
30 с |
- |
- |
Фаза перерыва |
- |
- | |
|
34 |
RTP |
- |
- |
- |
Повтор 20 раз шагов от 30 до 33 |
- |
- |
5) Расчет:
- Средний ток заряда для 20 импульсов тока после предыдущего заряда на шаге 17 (Ic, А) рассчитывают из интегрированного по всем импульсам количества электричества при заряде, деленного на общее время заряда (шаг 21 по таблице 4) по формуле
. (2)
Примечание - Как правило, Qi регистрируют на испытательном стенде и выражают в единицах А·ч. Ic рассчитывают по сумме значений заряда, А·ч, 20 импульсов путем умножения его на 3600 с/ч и деления результата на 200 с.
- Средний ток заряда для 20 импульсов тока после предыдущего разряда на шаге 25 (Id, А) рассчитывают из интегрированного по всем импульсам количества электричества, деленного на общее время заряда (шаг 27 по таблице 4) по формуле
. (3)
Примечание - Как правило, Qi регистрируют на испытательном стенде и выражают в единицах А·ч. Id рассчитывают по сумме значений заряда, А·ч, 20 импульсов путем умножения его на 3600 с/ч и деления результата на 200 с.
6) Для испытания DCRSS через выводы батареи следует подключить комбинацию резисторов, состоящую из двух параллельно соединенных резисторов E96 (1%) (см. МЭК 60063), каждый из которых имеет номинальную мощность рассеивания не менее 0,25 Вт и ближе всего подходит к отношению 75 000 Ом·А·ч, деленному на Cн. Необходимо проверить и зарегистрировать сопротивление параллельного соединения резисторов.
Пример - Для Cн = 80 А·ч используют два параллельно соединенных резистора по 931 Ом каждый, которые - в пределах серии E96 - ближе всего подходят к 75 000 Ом·А·ч/80 А·ч = 937,5 Ом; таким образом, в данном примере общее сопротивление параллельно соединенных резисторов составляет 466 Ом.
Для контроля баланса ампер-часов во время испытания DCRSS используют модифицированный счетчик ампер-часов, который устанавливают на ноль перед подключением резисторов. Он суммирует количество электричества при заряде и разряде, полученное с помощью испытательного стенда, принимая коэффициент заряда равным 1, и компенсирует потерю количества электричества на внешнем резисторе (имитация отключения нагрузки) путем расчета. Формулы приведены в приложении B <*>.
--------------------------------
<*> В оригинале МЭК 60095-6:2019 ошибочно приведена ссылка на приложение A и таблицу 6.
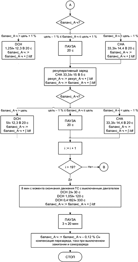
Испытание DCRSS проводят в соответствии с порядком, приведенным в таблице 6.
|
Процедура |
Номер шага |
Шаг |
t |
U |
I |
Описание |
Получение данных |
Результат измерения каждого шага |
|
Циклическое испытание DCRss |
40 |
Подключение резисторов | ||||||
|
41 |
PAU |
12 ч |
- |
- |
Правильный баланс А·ч на -0,45% Cн |
1/ч |
- | |
|
42 |
DCH |
30 с |
- |
1Iн |
Включение зажигания |
- |
- | |
|
43 |
DCH |
3 с |
- |
100 |
Запуск двигателя |
- |
- | |
|
44 |
CHA |
58 с |
14,4 |
33,3Iн |
Обычный заряд |
- |
- | |
|
45 |
CAS |
- |
- |
- |
Если баланс А·ч/Cн |
- |
- | |
|
DCH |
30 с |
- |
1,25Iн |
> 0,01 |
- |
- | ||
|
CHA |
30 с |
14,4 |
33,3Iн |
<-0,01 |
- |
- | ||
|
PAU |
30 с |
- |
- |
[-0,01; 0,01] |
- |
- | ||
|
46 |
CHA |
5 с |
15,0 |
33,3Iн |
Рекуперативный заряд |
1/с |
Записать сумму заряда ΔQ от 1 до 19 | |
|
47 |
DCH |
9 с |
- |
10Iн |
Двигатель не работает |
- |
- | |
|
48 |
DCH |
1 с |
- |
100 |
Двигатель запущен вновь |
- |
- | |
|
49 |
CAS |
- |
- |
- |
В случае, если баланс А·ч/Cн |
- |
- | |
|
DCH |
20 с |
- |
1,25Iн |
> 0,01 |
- |
- | ||
|
CHA |
20 с |
14,4 |
33,3Iн |
<-0,01 |
- |
- | ||
|
PAU |
20 с |
[-0,01; 0,01] |
- |
- | ||||
|
50 |
CHA |
5 с |
15,0 |
33,3Iн |
Рекуперативный заряд |
1/с |
Записать сумму заряда ΔQ от 1 до 19 | |
|
51 |
CAS |
- |
- |
- |
В случае, если баланс А·ч/Cн |
- |
- | |
|
DCH |
20 с |
- |
5Iн |
> 0,01 |
- |
- | ||
|
CHA |
20 с |
14,4 |
33,3Iн |
<-0,01 |
- |
- | ||
|
PAU |
20 с |
- |
- |
[-0,01; 0,01] |
- |
- | ||
|
52 |
RPT |
- |
- |
- |
Повтор шагов 45 - 51 19 раз |
- |
- | |
|
53 |
DCH |
30 с |
- |
2Iн |
- |
- |
- | |
|
54 |
DCH |
120 с |
- |
1,05Iн |
- |
- |
- | |
|
55 |
DCH |
330 с |
- |
0,4182Iн |
- |
- |
- | |
|
56 |
PAU |
3,33 ч |
- |
- |
Правильный баланс А·ч на -0,12% Cн |
1/4 |
- | |
|
57 |
RPT |
- |
- |
- |
Повтор шагов 42 - 56 три раза |
- |
- | |
|
58 |
RPT |
- |
- |
- |
Повтор шагов 41 - 57 пять раз |
- |
- | |
|
59 |
Отключение резисторов | |||||||
Фаза 90 с движения (шаги 45 - 51) состоит из частей, представленных на рисунке 1.

Рисунок 1 - Части фазы DCRSS: фаза 90 с движения (шаги с 45 по 51)
7) Средний ток рекуперативного заряда, Iрек, А (данные шагов 46 и 50) рассчитывают как интеграл количества электричества, протекающего во всех (15 В, 5 с) зарядных импульсах, деленный на общее время заряда (19 фаз по 2·5 с каждая = 190 с) и на количество фаз движения (15) по формуле
. (4)
Рекомендуется, чтобы все три интеграла зарядного тока, определенные выше, вычислялись автоматически во время выполнения испытания с использованием программного обеспечения испытательного стенда. Для расчета средних токов требуется только деление на заранее определенные времена, и поэтому он может быть легко выполнен в автономном режиме.
8) Нормированный прием заряда батареи IDCA, А/(А·ч), рассчитывают по результатам, полученным в перечислении 7) настоящего пункта по формуле
. (5)
Согласно МЭК 60095-1:2018 (пункт 9.5).
9.6.1 Испытание на устойчивость к коррозии
Согласно МЭК 60095-1:2018 (подпункт 9.6.1).
9.6.2 Циклическое испытание при 50% ГР
Согласно МЭК 60095-1:2018 (подпункт 9.6.2).
9.6.3 Циклическое испытание при 17,5% ГР
1) Цель: Испытание проводят для проверки способности батареи отдавать энергию при высоких циклических нагрузках в частично разряженном состоянии. Батареи, используемые для применений "старт-стоп", имеют улучшенный прием заряда по сравнению со стандартными батареями открытого типа по МЭК 60095-1. Батарею проверяют на способность работать на ТС при таких требованиях в течение прогнозируемого срока службы.
2) Метод испытания: Испытание проводят на батарее, помещенной в водяную ванну при температуре воды (25 ± 2) °C в соответствии с 8.3.2.
Испытание проводят на батарее, полностью заряженной по 8.2.
Оборудование для циклирования должно работать по схеме, приведенной в таблице 7. Шаги с 10 по 16 таблицы 3 представляют собой один блок циклического испытания.
|
Структура |
Номер шага |
Шаг |
t |
U |
I |
Описание |
T, °C |
Получение данных |
Результат измерения каждого шага |
|
Блок циклического испытания |
10 |
DCH |
2,5 ч |
> 10,0 |
4Iн |
Предварительный разряд |
25 |
- |
U (EOS) |
|
11 |
CHA |
2400 с |
14,4 |
7Iн |
Заряд при постоянном напряжении |
25 |
- |
- | |
|
12 |
DCH |
1800 с |
> 10,0 |
7Iн |
Разряд |
25 |
- |
U (EOS) | |
|
13 |
RPT |
- |
- |
- |
Повтор шагов 11 - 12 85 раз, прекращают, если U ≤ 10 В |
25 |
- |
- | |
|
14 |
CHA |
18 ч |
Uз |
2Iн |
Выравнивание заряда |
25 |
- |
Qз | |
|
15 |
DCH |
> 10,5 |
Cе емкость |
25 |
- |
Cф | |||
|
16 |
CHA |
24 ч |
Uз |
5Iн |
Подзаряд в соответствии с МЭК 60095-1 |
25 |
- |
Qз |
Блок циклического испытания таблицы 7 повторяют до тех пор, пока не будет достигнут один из критериев отказа: если напряжение на шаге 10 или 12 будет ниже допустимого, то циклическое испытание прекращают. Батарею заряжают по 8.2.
9.6.4 Испытание на микроциклирование, испытание на долговечность в режиме "старт-стоп"
Для проведения испытания на микроциклирование, испытания на долговечность в режиме "старт-стоп", выбирают один из следующих методов.
Вариант A:
Испытание на долговечность в режиме "старт-стоп" проводят в соответствии со следующим методом:
1) На протяжении всего испытания батарея должна находиться в воздушной среде при температуре (25 ± 2) °C в соответствии с 8.3.3 (допускается использование водяной ванны при температуре воды (40 ± 2) °C в соответствии с 8.3.2).
2) Батарею подсоединяют к испытательному оборудованию на долговечность и повторяют последовательно циклы разряда [разряд (1) и (2)] и заряда.
- Разряд (1): ток разряда (ID1 ± 1) А в течение (59,0 ± 0,2) с.
ID1, А, определяют по формуле (6) и округляют до ближайшего целого числа.
. (6)
- Разряд (2): ток разряда (300 ± 1) А в течение (1,0 ± 0,2) с.
- Заряд: напряжение заряда (14 ± 0,03) В [предел тока (100,0 ± 0,5) А] в течение (60,0 ± 0,3) с.
Во время испытания измеряют конечное напряжение разряда (2).
3) Батарею выдерживают 40 - 48 ч после каждых 3600 циклов, а затем продолжают испытание на микроциклирование.
4) Окончанием испытания считают время, когда напряжение во время разряда падает ниже 7,2 В.
5) Доливку воды в батарею не проводят до тех пор, пока число циклов не достигнет 30 000.
Вариант B:
1) Цель: Испытание проводят для проверки возможности батареи обеспечивать электропитание для запуска двигателя после частых фаз остановки, ее возможности восстанавливать заряженность после этого и износ при небольших импульсных нагрузках.
2) Метод испытания
Испытание проводят на батарее, помещенной в водяную ванну при температуре воды (25 ± 2) °C в соответствии с 8.3.2. Испытание на микроциклирование разделено на три процедуры:
a) подготовка батареи (устанавливают СЗ на 85%);
b) проведение микроциклов (80 единиц по 100 циклов каждый, в общей сложности 8000 циклов);
c) проверка после циклирования.
3) Подготовка батареи
Батарею разряжают до 85% номинальной емкости в соответствии с таблицей 8.
|
Структура |
Номер шага |
Шаг |
t |
U, В |
I, А |
Описание |
T, °C |
Получение данных |
Результат измерения каждого шага |
|
Установить СЗ батареи на уровне 85% |
10 |
DCH |
3 ч |
> 10,5 |
Cф/20 |
Разряд до 85% Cф |
25 |
- |
Qр |
|
11 |
PAU |
мин. 12 ч макс. 60 ч |
- |
- |
Пауза |
25 |
EOS |
U (EOS) |
4) Микроциклирование
Данное циклическое испытание большими токами часто приводит к тому, что внутренняя температура батареи значительно превышает 25 °C. Напряжение заряда, равное 14,0 В (шаг 21), соответствует типичным параметрам работы ТС.
Испытание на микроциклирование проводят при фиксированной ГР 2% Cн. Время заряда (см. таблицу 9) на шаге 21 и время разряда tр, с, на шаге 22 зависят от номинальной емкости Cн батареи и должны быть рассчитаны и округлены до ближайшего целого значения в секундах в соответствии с формулой:
. (7)
|
Структура |
Номер шага |
Шаг |
t, с |
U, В |
I, А |
Описание |
T, °C |
Частота получения данных |
Результат измерения каждого шага |
|
Последовательность микроциклирования |
20 |
PAU |
10 |
- |
- |
Пауза |
25 |
EOS |
U (10 с) |
|
21 |
CHA |
1 + tр |
14,0 |
100 |
Заряд |
25 |
EOS |
I (EOS), Qз (EOS) | |
|
22 |
DCH |
tр |
- |
48 |
Низкий режим разряда |
25 |
EOS |
U (EOS), Qр | |
|
23 |
DCH |
1 |
> 9,5 |
300 |
Высокий режим разряда |
25 |
EOS |
U (EOS), Qр, Rд | |
|
24 |
RPT |
- |
- |
- |
Повторение шагов 20 - 23 100 раз |
- |
EOS |
- | |
|
25 |
PAU |
12 ч |
- |
- |
Выдержка и охлаждение после циклирования |
25 |
EOS |
U (EOS) | |
|
26 |
RPT |
- |
- |
- |
Повторение шагов 20 - 25 80 раз |
- |
- |
- |
Динамическое внутреннее сопротивление Rд, Ом, рассчитывают на основе значений напряжений шагов 22 и 23 по таблице 9 в соответствии с формулой 8:
. (8)
5) Проверка после микроциклирования
Проверка должна быть выполнена в соответствии с таблицей 10 в течение 60 ч после окончания микроциклирования (шаг 26 таблицы 9).
|
Структура |
Номер шага |
Шаг |
t |
U, В |
I, А |
Описание |
T, °C |
Частота получения данных |
Результат измерения каждого шага |
|
Последовательность проверок после микроциклирования |
30 |
DCH |
> 10,5 |
Iн |
Фактическая емкость Cф |
25 |
- |
Cф | |
|
31 |
CHA |
24 ч |
Uз |
5Iн |
Заряд |
25 |
- |
Qз | |
|
32 |
DCH |
> 10,5 |
Iн |
Cф |
25 |
- |
Cф | ||
|
33 |
CHA |
24 ч |
Uз |
5Iн |
Заряд |
25 |
- |
Qз |
6) Оценка данных
Должна быть выполнена оценка данных, приведенных в таблице 11.
|
Данные микроциклирования |
Среднее Rд |
Среднее значение величины Rд каждого блока из 100 циклов |
|
Нормализованное среднее Rд |
Средняя величина Rд должна быть нормализована с величиной, полученной в первом блоке из 100 циклов для каждой батареи (шаги 22 и 23 таблицы 9) | |
|
Минимальное U (EOS)300А |
Минимальное значение напряжения к концу разряда 300 А каждого блока из 100 циклов (шаг 23 таблицы 9) | |
|
U (EOS) |
EOS напряжение в каждой 12 часовой фазы паузы (шаг 25 таблицы 9) | |
|
Данные проверок |
Фактическая емкость Cф |
Согласно номеру 30 таблицы 9 |
|
Cф |
Согласно номеру 32 таблицы 9 |
Согласно МЭК 60095-1:2018 (пункт 9.8).
Согласно МЭК 60095-1:2018 (пункт 9.9).
Требования, предъявляемые к основным рабочим характеристикам, приведены в таблицах 12 и 13.
|
Рабочая характеристика |
Пункт, подпункт |
Требование |
Примечание |
|
Емкость 20-часового разряда |
9.1 |
Cф ≥ C20 |
Для батарей, нормируемых в А·ч |
|
Резервная емкость |
9.2 |
RCф ≥ RCн |
Для батарей, нормируемых по резервной емкости |
|
Характеристики холодной прокрутки при температуре минус 18 °C |
9.3.1 |
Вариант 1 (для батарей, нормируемых в А·ч) U10с ≥ 7,50 В, t6В ≥ 90 с. Вариант 2 (для батарей, нормируемых по резервной емкости) U30с ≥ 7,20 В |
- |
|
Характеристики холодной прокрутки при температуре минус 29 °C |
9.3.2 |
U30с ≥ 7,20 В |
Необязательно |
|
Прием заряда |
9.4.1 |
Iз.п ≥ 2I0 |
- |
|
Специальный прием заряда |
9.4.2 |
DCA должен быть минимум 0,1 А/А·ч |
- |
|
Сохраняемость батарей с ненормируемым (N) и малым (L) расходом воды |
9.5 |
U30с ≥ 8,0 В |
- |
|
Сохраняемость батарей с очень малым (VL) расходом воды |
9.5 |
U30с ≥ 8,5 В |
- |
|
Испытание на устойчивость к коррозии |
9.6.1 |
Число образцов ≥ 4 |
- |
|
Испытание на долговечность при 50% ГР |
9.6.2 |
≥ 120 циклов |
- |
|
Испытание на долговечность при 17,5% ГР |
9.6.3 |
≥ 9 образцов |
- |
|
Долговечность при микроциклировании. Вариант A |
9.6.4 |
≥ 30 000 циклов |
- |
|
Вибрация |
9.7 |
U30с ≥ 7,20 В |
- |
|
Невыливаемость электролита |
9.8 |
Отсутствие следов жидкости на вентиляционных пробках (или из одиночного выпускного отверстия) |
- |
|
Для Cф, RCф и характеристик холодной прокрутки указанные значения должны быть получены, по меньшей мере, в одном соответствующем разряде последовательности циклов по 9.1, 9.2 и 9.3, проводимых до трех раз. | |||
|
Рабочая характеристика |
Пункт, подпункт |
Требование |
Примечание |
|
Емкость 20-часового разряда |
9.1 |
Cф ≥ C20 |
Для батарей, нормируемых в А·ч |
|
Резервная емкость |
9.2 |
RCф ≥ RCн |
Для батарей, нормируемых по резервной емкости |
|
Характеристики холодной прокрутки при температуре минус 18 °C |
9.3.1 |
Вариант 1 (для батарей, нормируемых в А·ч) U10с ≥ 7,50 В, t6В ≥ 90 с. Вариант 2 (для батарей, нормируемых по резервной емкости) U30с ≥ 7,20 В |
- |
|
Характеристики холодной прокрутки при температуре минус 29 °C |
9.3.2 |
U30с ≥ 7,20 В |
Необязательно |
|
Прием заряда |
9.4.1 |
Iз.п ≥ 2I0 |
- |
|
Специальный прием заряда |
9.4.2 |
DCA не менее 0,1 А/А·ч |
- |
|
Сохраняемость батарей с ненормируемым (N) и малым (L) расходом воды |
9.5 |
U30с ≥ 8,0 В |
- |
|
Сохраняемость батарей с очень малым (VL) расходом воды |
9.5 |
U30с ≥ 8,5 В |
- |
|
Испытание на устойчивость к коррозии |
9.6.1 |
Количество образцов ≥ 4 |
- |
|
Испытание на долговечность при 50% ГР |
9.6.2 |
≥ 120 циклов |
- |
|
Испытание на долговечность при 17,5% ГР |
9.6.3 |
≥ 9 образцов |
- |
|
Долговечность при микроциклировании, вариант B |
9.6.4 |
Регистрируют, когда Rд возрастает ≤ 1,5 после 8000 циклов U (EOS)300А ≥ 9,5 В Cф ≥ 50% C20 после 8000 циклов |
- |
|
Вибрация |
9.7 |
U30с ≥ 7,20 В |
- |
|
Невыливаемость электролита |
9.8 |
Отсутствие следов жидкости на вентиляционных пробках (или из одиночного выпускного отверстия) |
- |
|
Для Cф, RCф и характеристик холодной прокрутки указанные значения должны быть получены, по меньшей мере, в одном соответствующем разряде последовательности циклов по 9.1, 9.2 и 9.3, проводимых до трех раз. | |||
Приложение A
(обязательное)
A.1 Требования к оборудованию для испытания на прием динамического заряда DCA (см. 9.4.2, вариант B)
|
Характеристика |
Диапазон |
Погрешность |
Частота измерений, мс |
Погрешность измерения |
|
UCHA |
От 14 В до 18 В |
± 0,04 В |
200 |
± 0,01 В |
|
Iз |
От 0 А до 200 А |
± 0,5% |
200 |
± 0,1% |
|
Qз |
10 |
± 1 мА·ч | ||
|
UDCH |
От 6 В до 14 В |
200 |
± 0,01 В | |
|
Iр |
От 0 А до 100 А |
± 0,5% |
200 |
± 0,1% |
|
Qз |
- |
- |
10 |
± 1 мА·ч |
A.2 Требования к оборудованию для испытания на микроциклирование (см. 9.6.4, вариант B)
|
Характеристика |
Диапазон |
Погрешность |
Частота измерений, мс |
Погрешность измерения |
|
UCHA |
От 14 В до 16 В |
± 0,04 В |
10 |
± 0,01 В |
|
Iз |
От 0 А до 100 А |
± 0,5% |
10 |
± 0,1% |
|
Qз |
10 |
± 1 мА·ч | ||
|
UDCH |
От 6 В до 14 В |
10 |
± 0,01 В | |
|
Iр |
От 0 А до 300 А, если 300 А tр ≥ 1 с в минуту, то переход к времени <0,01 с |
± 0,5% |
10 |
± 0,1% |
|
Qз |
- |
- |
10 |
± 1 мА·ч |
Приложение B
(обязательное)

Рисунок B.1 - DCApp = DCA импульсный профиль (≈ 30 мин)

Рисунок B.2 - DCAss = DCA моделирование эксплуатационных испытаний "старт-стоп" (5 x 24 ч)

Рисунок B.3 - Первая часть фазы движения

Рисунок B.4 - Вторая часть фазы движения
Приложение ДА
(справочное)
Таблица ДА.1
|
Обозначение ссылочного международного стандарта |
Степень соответствия |
Обозначение и наименование соответствующего национального стандарта |
|
IEC 60050-482 |
- |
<*>, <1> |
|
IEC 60095-1:2018 |
MOD |
ГОСТ Р 53165-2020 (МЭК 60095-1:2018) "Батареи стартерные свинцово-кислотные. Часть 1. Общие требования и методы испытаний" |
|
IEC 60095-2 |
IDT |
ГОСТ Р МЭК 60095-2-2010 "Батареи стартерные свинцово-кислотные. Часть 2. Размеры батарей и размеры и маркировка зажимов" |
|
<*> Соответствующий национальный стандарт отсутствует. До его принятия рекомендуется использовать перевод на русский язык данного международного стандарта. Примечание - В настоящей таблице использованы следующие условные обозначения степени соответствия стандартов: - IDT - идентичные стандарты: - MOD - модифицированные стандарты. | ||
--------------------------------
<1> Действует ГОСТ Р 58593-2019 "Источники тока химические. Термины и определения".
Библиография
|
ISO 7010 |
Graphical symbols - Safety colours and safety signs - Safety signs used in workplaces and public areas (Символы графические. Цвета и знаки безопасности. Зарегистрированные знаки безопасности) |


