Утв. и введен в действие Приказом Федерального агентства по техническому регулированию и метрологии от 1 декабря 2020 г. N 1225-ст
Национальный стандарт РФ ГОСТ Р 56442-2020
"ТРЕНАЖЕРЫ СТАЦИОНАРНЫЕ. ВЕЛОТРЕНАЖЕРЫ БЕЗ МЕХАНИЗМА СВОБОДНОГО ХОДА. ТРЕБОВАНИЯ БЕЗОПАСНОСТИ И МЕТОДЫ ИСПЫТАНИЯ"
Stationary training equipment. Exercise bicycles with a fixed wheel or without freewheel. Safety requirements and test methods
(ISO 20957-10:2017, NEQ)
ОКС 97.220.30
Дата введения - 1 мая 2021 года
Взамен ГОСТ Р 56442-2015
Предисловие
1 РАЗРАБОТАН Ассоциацией Саморегулируемой организацией "Отраслевое объединение национальных производителей в сфере физической культуры и спорта "Промспорт" (СРО "Промспорт")
2 ВНЕСЕН Техническим комитетом по стандартизации ТК 444 "Спортивные и туристские изделия, оборудование, инвентарь, физкультурные и спортивные услуги"
3 УТВЕРЖДЕН И ВВЕДЕН В ДЕЙСТВИЕ Приказом Федерального агентства по техническому регулированию и метрологии от 1 декабря 2020 г. N 1225-ст
4 Настоящий стандарт разработан с учетом основных нормативных положений международного стандарта ИСО 20957-10:2017 "Тренажеры стационарные. Часть 10. Велотренажеры с маховиком без свободного хода или без механизма свободного хода. Дополнительные специальные требования безопасности и методы испытаний" (ISO 20957-10:2017 "Stationary training equipment - Part 10: Exercise bicycles with a fixed wheel or without freewheel - Additional specific safety requirements and test methods", NEQ)
5 ВЗАМЕН ГОСТ Р 56442-2015
Правила применения настоящего стандарта установлены в статье 26 Федерального закона от 29 июня 2015 г. N 162-ФЗ "О стандартизации в Российской Федерации". Информация об изменениях к настоящему стандарту публикуется в ежегодном (по состоянию на 1 января текущего года) информационном указателе "Национальные стандарты", а официальный текст изменений и поправок - в ежемесячном информационном указателе "Национальные стандарты". В случае пересмотра (замены) или отмены настоящего стандарта соответствующее уведомление будет опубликовано в ближайшем выпуске ежемесячного информационного указателя "Национальные стандарты". Соответствующая информация, уведомление и тексты размещаются также в информационной системе общего пользования - на официальном сайте Федерального агентства по техническому регулированию и метрологии в сети Интернет (www.gost.ru)
1 Область применения
Настоящий стандарт распространяется на велотренажеры без механизма свободного хода (далее - тренажеры), которые имеют инерцию более 0,6 кг/м2, и устанавливает требования безопасности, дополняющие общие требования безопасности стационарных тренажеров, указанные в ГОСТ Р 56445.
2 Нормативные ссылки
В настоящем стандарте использованы нормативные ссылки на следующие стандарты:
ГОСТ ISO 12100 Безопасность машин. Основные принципы конструирования. Оценки риска и снижения риска
ГОСТ Р 56445 Тренажеры стационарные. Общие требования безопасности и методы испытаний
ГОСТ Р ИСО 13732-1 Эргономика термальной среды. Методы оценки реакции человека при контакте с поверхностями. Часть 1. Горячие поверхности
Примечание - При пользовании настоящим стандартом целесообразно проверить действие ссылочных стандартов в информационной системе общего пользования - на официальном сайте Федерального агентства по техническому регулированию и метрологии в сети Интернет или по ежегодному информационному указателю "Национальные стандарты", который опубликован по состоянию на 1 января текущего года, и по выпускам ежемесячного информационного указателя "Национальные стандарты" за текущий год. Если заменен ссылочный стандарт, на который дана недатированная ссылка, то рекомендуется использовать действующую версию этого стандарта с учетом всех внесенных в данную версию изменений. Если заменен ссылочный стандарт, на который дана датированная ссылка, то рекомендуется использовать версию этого стандарта с указанным выше годом утверждения (принятия). Если после утверждения настоящего стандарта в ссылочный стандарт, на который дана датированная ссылка, внесено изменение, затрагивающее положение, на которое дана ссылка, то это положение рекомендуется применять без учета данного изменения. Если ссылочный стандарт отменен без замены, то положение, в котором дана ссылка на него, рекомендуется применять в части, не затрагивающей эту ссылку.
3 Термины и определения
В настоящем стандарте применены термины по ГОСТ Р 56445, а также следующие термины с соответствующими определениями:
3.1 маховик: Массивное вращающееся колесо, предназначенное для создания инерции.
3.2 механизм свободного хода: Механизм, разработанный для отцепления маховика от педального механизма для вращения в одном направлении.
3.3 стойка сиденья: Соединение между рамой и сиденьем, предназначенное для регулировки высоты сиденья.
3.4 подседельная труба рамы: Часть рамы, куда вставляется стойка сиденья.
3.5 шток рукояток: Соединение между рамой и рукоятками для регулировки высоты рукояток.
3.6 аварийный тормоз: Механизм, разработанный для остановки движения педалей в аварийном случае.
3.7 система блокировки: Механизм, разработанный для остановки любой вращающейся части тренажера.
3.8 кожух: Оболочка, применяемая для ограждения потенциально опасных элементов.
3.9 защита трансмиссии: Компонент, применяемый для предотвращения доступа к потенциально опасным элементам трансмиссии.
4 Классификация
Тренажеры подразделяют по классам применения и классам точности в соответствии с ГОСТ Р 56445.
Пример тренажера показан на рисунке 1.

1 - рукоятки; 2 - регулятор рукояток; 3 – регулятор сопротивления; 4 - аварийный тормоз; 5 – система сопротивления (тормоз); 6 - маховик; 7 - сиденье; 8 – стойка сиденья; 9 - регулятор сиденья; 10 - подседельная труба рамы; 11 - кривошип педали; 12 - педаль; 13 – защита трансмиссии; 14 - рама; 15 - дисплей (если установлен)
Рисунок 1 - Пример тренажера с колесом с втулкой без свободного хода или без механизма свободного хода
5 Требования безопасности
5.1 Наружная конструкция
5.1.1 Элементы трансмиссии, вращающиеся части, места застревания
Тренажеры, у которых кривошипы педалей имеют больший диаметр, чем кожух, должны иметь расстояние между кривошипами педалей и неподвижными частями конструкции не менее 10 мм.
Требование не распространяется на тренажеры, кожух которых имеет больший диаметр, чем диаметр кривошипов педалей. Элементы трансмиссии должны быть закрыты согласно ГОСТ ISO 12100. Все другие части следует испытывать с помощью испытательного пальца (далее - зонда) согласно ГОСТ Р 56445. Зонд не должен захватываться или контактировать с подвижными частями, не имеющими гладкой поверхности. Радиус кромки маховика должен быть более или равен 2,5 мм. Кромки педалей должны быть лишены шипов, закруглены или защищены другим способом.
5.1.2 Температура доступных поверхностей
Доступные поверхности тренажера не должны нагреваться более 65 °C.
5.2 Естественное нагружение
5.2.1 Стойка сиденья
Стойка сиденья в критических точках должна выдерживать вертикальную нагрузку, в 2,5 раза превышающую нагрузку максимальной массы тела пользователя, указанной изготовителем, но не менее 2500 Н.
Во время испытания стойки сиденья тренажеры не должны опрокидываться. Зажатая стойка сиденья не должна проскальзывать более чем на 5 мм в подседельной трубе рамы. После проведения испытания тренажеры не должны быть сломаны и должны продолжать функционировать, как предусмотрено изготовителем.
5.2.2 Рукоятки
Рукоятки испытывают вертикальной нагрузкой, в 1,5 раза превышающей нагрузку от максимальной массы тела пользователя, указанной изготовителем, но не менее 1500 Н.
Те же рукоятки испытывают горизонтальной нагрузкой. Нагрузка должна составлять 0,5 нагрузки от максимальной массы тела пользователя, указанной изготовителем, но не менее 500 Н, приложенной горизонтально в направлении вперед. После испытания тренажеры не должны быть сломаны и должны продолжать функционировать, как предусмотрено изготовителем.
5.2.3 Педали
Педали должны выдерживать нагрузку, в 2,5 раза превышающую нагрузку от максимальной массы тела пользователя, указанной изготовителем, но не менее 2500 Н. После проведения испытания тренажеры не должны быть сломаны и должны продолжать функционировать, как предусмотрено изготовителем.
5.3 Регулировка стойки сиденья
5.3.1 Общая часть
Если предусмотрена регулировка положения сиденья, она должна осуществляться без инструментов для тренажеров класса S. Если для регулировки высоты сиденья тренажеров класса H необходим инструмент, то он должен входить в комплект, поставляемый изготовителем вместе с тренажерами.
5.3.2 Глубина фиксации
Стойка сиденья должна иметь постоянную метку, указывающую минимальную глубину погружения не менее полуторного опорного размера сечения (например, диаметра или длины большей диагонали для прямоугольной трубы) в подседельную трубу рамы. Метку не проставляют, если минимальная глубина определена конструкцией.
Если зажимной механизм горизонтальной регулировки ослабевает, сиденье должно оставаться прикрепленным и должны нести нагрузку от пользователя.
5.4 Рукоятки
5.4.1 Регулировка штока рукояток
Шток рукояток должен быть регулируемым, или должны быть возможны разные положения захвата. Если необходимы инструменты для регулировки штока рукояток, то изготовитель должен поставлять инструменты в комплекте с тренажерами.
5.4.2 Глубина фиксации
Шток рукояток должен иметь постоянную метку, указывающую минимальную глубину вставления не менее 1,5-ного опорного размера сечения (например, диаметра или длины большей диагонали для прямоугольной трубы). Метку не проставляют, если минимальная глубина определена конструкцией. Если зажимной механизм горизонтальной регулировки ослабевает, рукоятки должны оставаться прикрепленными и должны нести нагрузку от пользователя.
5.5 Педали
Педали должны иметь приспособление, удерживающее стопу в положении, предотвращающем непреднамеренное перемещение.
5.6 Устойчивость
Тренажеры не должны опрокидываться.
5.7 Система блокировки
Тренажеры без механизма свободного хода для домашнего применения (класс H) должны быть оснащены системой блокировки. Система блокировки должна удерживать крутящий момент, более или равный 100 Нм, приложенный к валу кривошипа. Кривошип не должен поворачиваться на угол более 45° под нагрузкой.
Примечание - Система блокировки осуществляет предотвращение неконтролируемого использования или перемещения любых вращающихся частей с высокой инерцией тренажеров пользователями, особенно детьми.
5.8 Система аварийного торможения
5.8.1 Эффективность
Тренажеры без механизма свободного хода должны быть оборудованы аварийным тормозом. Устанавливаемый тормоз должен быть способен останавливать вращение тренажеров (в обоих направлениях) в одном полном обороте кривошипа и может быть активирован приложением направленной вниз силы (толкающей) не более 100 Н или направленной вверх силы (тянущей) не более 50 Н.
5.8.2 Работоспособность исполнительного механизма
Для фрикционных механических тормозных систем исполнительный механизм должен выдерживать нагрузку (300 ± 5) Н в направлении перемещения исполнительного механизма. Для тормозных систем других типов (например, магнитных) исполнительный механизм должен выдерживать нагрузку, в пять раз превышающую измеренную, требуемую для приведения в действие тормозной системы в направлении перемещения исполнительного механизма. После проведения испытания исполнительный механизм не должен быть сломан и должен продолжать функционировать, как предусмотрено изготовителем.
5.8.3 Заметность
Исполнительный механизм должен быть легко доступен и виден с позиции пользователя. Исполнительный механизм аварийного тормоза должен быть красного цвета. При наличии фона его цвет должен быть желтым.
5.9 Рабочий ресурс для узла кривошипа педали
Узел кривошипа педали должен выдерживать динамическую нагрузку от 75% максимальной массы тела пользователя, указанной изготовителем, но не менее (750 ± 10) Н:
а) для 1 000 000 циклов - при частоте не более 25 Гц для класса S;
б) 120 000 циклов - при частоте не более 25 Гц для класса H.
5.10 Зазор для ноги
Расстояние по вертикали между любым жестким компонентом педали и полом или педалью и любым элементом рамы должно быть не менее 60 мм.
5.11 Отображение мощности
Для мощности, равной или более 50 Вт, точность отображения должна иметь допуск ± 10%, для мощности менее 50 Вт точность отображения должна иметь допуск ± 5 Вт. Для тренажеров класса S: если отображается пульс, должно быть приведено предупреждение на видном месте на консоли дисплея: "Предупреждение! Системы мониторинга пульса могут быть неточными. Чрезмерный объем тренировки может приводить к серьезному ущербу здоровью или летальному исходу. Если чувствуете недомогание, немедленно прекратите тренировку". Режим с контролем пульса не обеспечивается. Маркировка тренажеров классов A - C запрещена. Спецификацию тренажеров классов A - C в инструкциях по применению не приводят. Информация по точности измерения скорости (об/мин) и мощности (Вт) должна быть приведена в инструкциях по применению.
5.12 Дополнительные требования к инструкции по применению
В дополнение к общим инструкциям по применению по ГОСТ Р 56445 изготовитель должен приводить инструкции по безопасному применению, содержащие следующую информацию:
а) о рисках, обусловленных вращающимися педалями и/или открытым маховиком в отсутствие системы свободного хода;
б) способах эксплуатации аварийного тормоза;
в) способах остановки вращения педалей и маховика и завершения тренировки;
г) эксплуатации блокирующего механизма для класса H;
д) тренажеры класса S должны всегда применяться в условиях наблюдения за работой;
е) о применении системы позиционирования ступни, описанной в 5.5;
ж) для конструктивных решений, не обеспечивающих минимальную глубину вставления рукояток и сиденья, необходимость регулировки рукояток и сиденья для соответствия пользователю: "При регулировке не превышайте отметку минимальной глубины вставления".
5.13 Дополнительная маркировка
Тренажеры домашнего применения (класс H) должны иметь маркировку с предупреждением о необходимости блокировать неработающий тренажер: "Предупреждение - блокировать оборудование, когда не применяется". Тренажер класса S должен иметь маркировку с предупреждением о применении оборудования под постоянным наблюдением: "Предупреждение - применять стационарный тренажер в условиях постоянного наблюдения". Все предупреждения должны быть помещены на видном месте.
6 Методы испытаний
6.1 Общая часть
6.1.1 Контроль размеров
Измерения следует выполнять средствами измерений необходимой точности.
6.1.2 Визуальная проверка
Визуальную проверку следует проводить при надлежащем освещении.
6.1.3 Испытание для определения рабочих параметров
Испытуемый тренажер должен быть приведен в действие, как предусмотрено изготовителем.
6.2 Испытание элементов трансмиссии, вращающихся частей, мест застревания
Испытание проводят при помощи зонда по ГОСТ Р 56445. Зонд приближают ко всем движущимся частям со всех сторон для определения возможности захвата.
6.3 Определение температуры доступных поверхностей
Измерение следует проводить по ГОСТ Р ИСО 13732-1. Педали тренажера вращают при (200 ± 10) Вт с частотой (60 ± 1) об/мин три периода по (20 ± 1) мин. После каждого периода следует делать перерыв на (5 ± 1) мин. В течение 2 мин после третьего периода измеряют температуру всех открытых поверхностей.
6.4 Испытание естественного нагружения
Испытание следует проводить без сиденья и в критических точках. Прикладывают статическую нагрузку, указанную в 5.2.1, на 5 мин. Определяют возможность опрокидывания тренажера и проверяют наличие поломок. После снятия нагрузки определяют опорные размеры стойки сиденья.
6.5 Испытание рукояток
Прикладывают направленную вниз вертикальную статическую нагрузку с одной стороны рукоятки, как описано в 5.2.2, в критической точке. Затем прикладывают горизонтальную статическую нагрузку с одной стороны рукоятки в направлении вперед. Для приложения нагрузки применяют ремень шириной 80 мм.
6.6 Испытание устойчивости
Испытатель с массой тела (100 ± 5) кг и ростом (1850 ± 50) мм должен выполнить все упражнения, описанные в руководстве изготовителя, на поверхности с уклоном 10°+1° в наиболее неблагоприятном направлении для каждой из следующих позиций, крутя педали со скоростью (80 ± 10) об/мин более 30 с:
а) сидя, положив руки на рукоятки;
б) сидя прямо, сняв руки с рукояток;
в) стоя, положив руки на рукоятки.
Испытатель должен быть закреплен страховочным снаряжением для безопасности и не должен создавать противовес на поверхности с уклоном 10°+1°.
6.7 Испытание системы аварийного торможения
6.7.1 Испытание эффективности
Педали тренажера без механизма свободного хода вращают со скоростью (100 ± 10) об/мин без сопротивления, активируют тормоз с силой согласно 5.8.1 и наблюдают, остановился ли кривошип педали в пределах одного оборота. Для исполнительных механизмов кнопочного типа сила должна быть приложена в центре исполнительного механизма. Для исполнительных механизмов рычажного типа сила должна быть приложена на расстояние (25 ± 1) мм от конца рычага.
6.7.2 Испытание целостности исполнительного механизма
Прикладывают нагрузку согласно 5.8.2 на время, более или равное 3 мин, в критических точках.
6.8 Испытание узла кривошипа педали
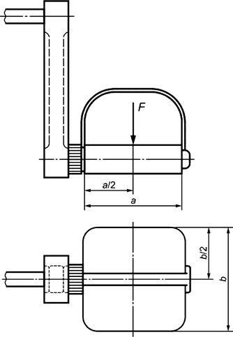
Для определения рабочего ресурса прикрепляют неподвижно раму тренажера, укомплектованную узлом кривошипа педали, к испытательной установке и прикладывают нагрузку согласно 5.9 на одну педаль в самом нижнем положении. Нагрузка должна быть расположена, как показано на рисунке 2.

a - ширина педали; b - длина педали; F - сила
Рисунок 2 - Испытание педали
Во время испытания обеспечивают падение нагрузки на узле кривошипа педали не более 5% максимальной нагрузки, указанной в 5.9, до начала приложения испытательных нагрузок на узел кривошипа педали. После испытания рабочего ресурса прикладывают статическую нагрузку согласно 5.2.3, расположенную, как показано на рисунке 2.
6.9 Испытание отображения мощности
Испытательное устройство должно иметь точность ± 1%. Механическую мощность допускается измерять напрямую на кривошипе. Испытание проводят следующим образом:
а) крутят педали тренажера в течение 1 ч на максимальной мощности (сопротивлении) со скоростью (80 ± 1) об/мин;
б) выдерживают тренажер до достижения им температуры (20 ± 2) °C;
в) регулируют тренажер на (50 ± 2,5) Вт при (50 ± 1) об/мин;
г) сравнивают мощность испытательного устройства с мощностью, отображенной на дисплее тренажера;
д) крутят педали 15 мин. Измеряют мощность и сравнивают с отображенной на дисплее, без остановки тренажера;
е) выдерживают тренажер до достижения им температуры (20 ± 2) °C. Затем проводят процедуру при следующих значениях:
- (100 ± 5) Вт - при скорости (50 ± 1) об/мин;
- (150 ± 7,5) Вт - при скорости (60 ± 1) об/мин;
- (200 ± 10) Вт - при скорости (60 ± 1) об/мин;
- (300 ± 15) Вт - при скорости (70 ± 1) об/мин;
- (400 ± 20) Вт - при скорости (70 ± 1) об/мин;
- произвольно выбранным значением в верхнем конце диапазона скорости, установленного изготовителем, например от 80 до 120 об/мин.
6.10 Испытание системы блокировки
Включают систему блокировки в соответствии с указаниями изготовителя. Прикладывают крутящий момент согласно 5.7 к валу кривошипа в направлении вперед на время, более или равное 30 с, и измеряют угол поворота кривошипа. Прикладывают крутящий момент согласно 5.7 к валу кривошипа в направлении назад на время, более или равное 30 с, и измеряют угол поворота кривошипа.
7 Протокол испытания
Протокол должен содержать информацию в соответствии с ГОСТ Р 56445 и настоящим стандартом.