Утв. и введен в действие Приказом Федерального агентства по техническому регулированию и метрологии от 29 декабря 2021 г. N 1884-ст
Национальный стандарт РФ ГОСТ Р 56433-2021
"ОБОРУДОВАНИЕ ДЛЯ СПОРТИВНЫХ ИГР. ОБОРУДОВАНИЕ ВОЛЕЙБОЛЬНОЕ. ТРЕБОВАНИЯ И МЕТОДЫ ИСПЫТАНИЙ"
Equipment for sports games. Volleyball equipment. Requirements and test methods
(EN 1271:2014, NEQ)
ОКС 97.220.30,
97.220.40
Дата введения - 1 июля 2022 года
Взамен ГОСТ Р 56433-2015
Предисловие
1 РАЗРАБОТАН Ассоциацией Саморегулируемой организацией "Отраслевое объединение национальных производителей в сфере физической культуры и спорта "Промспорт" (СРО "Промспорт") при участии Федерального государственного бюджетного учреждения "Федеральный научный центр физической культуры и спорта" (ФГБУ ФНЦ ВНИИФК)
2 ВНЕСЕН Техническим комитетом по стандартизации ТК 444 "Спортивные и туристские изделия, оборудование, инвентарь, физкультурные и спортивные услуги"
3 УТВЕРЖДЕН И ВВЕДЕН В ДЕЙСТВИЕ Приказом Федерального агентства по техническому регулированию и метрологии от 29 декабря 2021 г. N 1884-ст
4 Настоящий стандарт разработан с учетом основных нормативных положений европейского стандарта ЕН 1271:2014 "Оборудование игровых площадок. Оборудование для волейбола. Функциональные требования и требования безопасности, методы испытаний" (EN 1271:2014 "Playing field equipment - Volleyball equipment - Functional and safety requirements, test methods", NEQ)
5 ВЗАМЕН ГОСТ Р 56433-2015
Правила применения настоящего стандарта установлены в статье 26 Федерального закона от 29 июня 2015 г. N 162-ФЗ "О стандартизации в Российской Федерации". Информация об изменениях к настоящему стандарту публикуется в ежегодном (по состоянию на 1 января текущего года) информационном указателе "Национальные стандарты", а официальный текст изменений и поправок - в ежемесячном информационном указателе "Национальные стандарты". В случае пересмотра (замены) или отмены настоящего стандарта соответствующее уведомление будет опубликовано в ближайшем выпуске ежемесячного информационного указателя "Национальные стандарты". Соответствующая информация, уведомление и тексты размещаются также в информационной системе общего пользования - на официальном сайте Федерального агентства по техническому регулированию и метрологии в сети Интернет (www.rst.gov.ru)
1 Область применения
Настоящий стандарт устанавливает функциональные требования и требования безопасности для волейбольного оборудования.
Настоящий стандарт применяется к двум типам и пяти классам волейбольного оборудования, используемым в помещении и на открытом воздухе.
Настоящий стандарт не распространяется на пляжный волейбол и не устанавливает требований к креслу судьи (для первого арбитра).
2 Нормативные ссылки
В настоящем стандарте использованы нормативные ссылки на следующие стандарты:
ГОСТ ISO 2062 Материалы текстильные. Пряжа в паковках. Методы определения разрывной нагрузки и относительного удлинения при разрыве одиночной нити с использованием прибора для испытаний с постоянной скоростью растяжения образца (CRE)
ГОСТ 3241 Канаты стальные. Технические условия
ГОСТ 25552 Изделия крученые и плетеные. Методы испытаний
ГОСТ Р ИСО 2307 Изделия канатные. Методы определения некоторых физических и механических свойств
ГОСТ Р 56446 Оборудование гимнастическое. Общие требования безопасности и методы испытаний
Примечание - При пользовании настоящим стандартом целесообразно проверить действие ссылочных стандартов в информационной системе общего пользования - на официальном сайте Федерального агентства по техническому регулированию и метрологии в сети Интернет или по ежегодному информационному указателю "Национальные стандарты", который опубликован по состоянию на 1 января текущего года, и по выпускам ежемесячного информационного указателя "Национальные стандарты" за текущий год. Если заменен ссылочный стандарт, на который дана недатированная ссылка, то рекомендуется использовать действующую версию этого стандарта с учетом всех внесенных в данную версию изменений. Если заменен ссылочный стандарт, на который дана датированная ссылка, то рекомендуется использовать версию этого стандарта с указанным выше годом утверждения (принятия). Если после утверждения настоящего стандарта в ссылочный стандарт, на который дана датированная ссылка, внесено изменение, затрагивающее положение, на которое дана ссылка, то это положение рекомендуется применять без учета данного изменения. Если ссылочный стандарт отменен без замены, то положение, в котором дана ссылка на него, рекомендуется применять в части, не затрагивающей эту ссылку.
3 Общие требования
3.1 Допуски
Если в этом стандарте не указано иное, применяется допуск 2%.
3.2 Классификация
Оборудование для волейбола классифицируют по конструкции (типам), как показано в таблице 1, и использованию (классам) в соответствии с таблицей 2.
Таблица 1 - Типы оборудования
|
Тип
|
Вид конструкции
|
Пример
|
|
1
|
С установочными гильзами
|
Рисунок 1
|
|
2
|
С напольными креплениями (монтаж под игровым покрытием)
|
Рисунок 2
|
Таблица 2 - Классы оборудования
|
Класс
|
Назначение оборудования
|
|
A
|
Волейбольное оборудование для международных соревнований
|
|
B
|
Волейбольное оборудование для национальных соревнований
|
|
C
|
Волейбольное оборудование для массового спорта и занятий физической культурой в образовательных организациях
|
|
D
|
Волейбольное оборудование для международных соревнований сидя
|
|
E
|
Волейбольное оборудование для массового спорта и занятий физической культурой в образовательных организациях сидя
|
3.3 Размеры
Оборудование для волейбола должно соответствовать размерам, показанным на рисунке 1 и указанным в таблице 3.
Таблица 3 - Размеры волейбольного оборудования типа 1
В миллиметрах
|
|
Класс A
|
Класс B
|
Класс C
|
Класс D
|
Класс E
|
|
a
|
9 000 ± 30
|
6 000 ± 30
|
|
b
|
2 550+100 <а>
|
1 250+100 <а>
|
|
c <б>
|
до 1 000
|
|
d <б>
|
max 11 000
|
От 8 000 до 11 000
|
|
e
|
1 000 ± 30
|
800 ± 30
|
|
f
|
От 9 500 до 10 000
|
От 6 500 до 7 000
|
|
g
|
1 800 ± 20
|
|
h
|
100 ± 1
|
|
i
|
10 ± 1
|
|
<а> Регулируемые по высоте стойки регулируют до указанной высоты.
<б> Измерения проводят на готовой поверхности игрового поля.
|

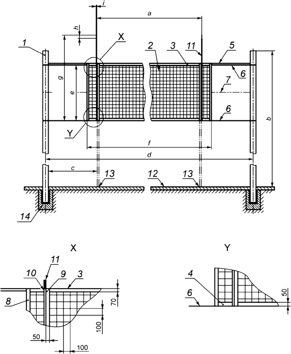
1 - стойка; 2 - сетка; 3 - верхняя окантовочная лента; 4 - нижняя окантовочная лента; 5 - несущий трос; 6 - натяжной трос; 7 - натяжной трос (опция); 8 – краевая окантовка; 9 - боковая окантовочная лента; 10 – карман антенны (альтернатива боковой ленты 9); 11 - антенна; 12 - поверхность игрового поля; 13 - боковая линия; 14 - установочная гильза
Примечание - Высоту сетки (несущего троса) определяет(ют) международная и/или национальная ассоциация(ии).
Рисунок 1 - Конструкция и размеры волейбольного оборудования типа 1
Полный комплект волейбольного оборудования типа 1 должен состоять из следующих частей:
а) стоек - 2 шт. (одной с натяжным устройством и одной с устройством для крепления троса);
б) обшивки стойки - 2 шт.;
в) установочных гильз - 2 шт.;
г) сетки - 1 шт.;
д) антенн (для оборудования классов A, B и D) - 2 шт.;
е) боковых лент (для оборудования классов A, B и D) - 2 шт.

1 - стойка; 2 - напольное крепление
Рисунок 2 - Волейбольное оборудование типа 2
Примечание - Остальные размеры и характеристики, как у типа 1.
Комплектное волейбольное оборудование типа 2 должно состоять из следующих частей:
а) стоек - 2 шт. (одной с натяжным устройством и одной с устройством для крепления троса);
б) обшивок стойки - 2 шт.;
в) конструкции, состоящей из плиты с гильзой для установки стоек, - 2 шт.;
г) сетки - 1 шт.;
д) антенн (для оборудования классов B и D) - 2 шт.;
е) боковых лент (для оборудования классов B и D) - 2 шт.
3.4 Материалы
3.4.1 Стойки
Материалы необходимо выбирать таким образом, чтобы выполнялись требования настоящего стандарта.
Металл должен быть коррозионно-стойким, а сталь - защищена от коррозии (например, путем горячего цинкования, нанесения порошкового покрытия или окрашивания).
3.4.2 Сетка
Сетка должна быть сделана из волокон, удовлетворяющих требованиям настоящего стандарта.
Несущий трос должен быть изготовлен из синтетического волокна, гальванизированной или коррозионно-стойкой стальной проволоки или аналогичного материала.
Примечание - Допускается пластиковое покрытие стальной проволоки.
Окантовочные ленты для сетки должны быть изготовлены из синтетического материала.
3.4.3 Антенны
Антенны должны быть изготовлены из полимера, армированного стекловолокном или другим подходящим материалом.
3.5 Конструкция
3.5.1 Стойки
Стойки должны обеспечивать диапазон регулировки крепления сетки высотой от 2000 до 2500 мм для оборудования классов A, B и C и от 1000 до 1200 мм для оборудования классов D и E, измеренный от поверхности игрового поля.
3.5.2 Сетка
Сетка для оборудования классов A, B и D должна быть черной, нижняя, верхняя и боковые окантовочные ленты - белыми.
Сетки для оборудования классов A, B и D должны быть выполнены в виде квадратных ячеек 100x100 или 45x45 мм. Несущий трос протягивают в верхнюю окантовочную ленту.
Сетка должна быть натянута в горизонтальном направлении в верхнем и нижнем углах натяжными тросами. Для оборудования классов A, B и D расстояние между несущим тросом и нижней окантовочной лентой между боковыми линиями игрового поля должно быть таким, как показано в таблице 3, строка e.
Сетка и ее компоненты в зависимости от классов волейбольного оборудования должны выдерживать нагрузки, указанные в таблицах 4 - 6.
Таблица 4 - Прочность на разрыв сетки
|
Класс
|
Нагрузка, Н, не менее
|
|
A
|
1 080 (900) <а>
|
|
B
|
1 080 (900) <а>
|
|
C
|
792 (660) <а>
|
|
D
|
1 080 (900) <а>
|
|
E
|
792 (660) <а>
|
|
<а> Соответствует пределу прочности на разрыв пряжи, которая была испытана по ГОСТ ISO 2062.
|
Таблица 5 - Прочность на разрыв окантовочных лент
|
Класс
|
Нагрузка, Н, не менее
|
|
A
|
3 400
|
|
B
|
3 400
|
|
C
|
1 100
|
|
D
|
3 400
|
|
E
|
1 100
|
Таблица 6 - Прочность на разрыв несущего троса
|
Класс
|
Нагрузка, Н, не менее
|
|
A
|
6 000
|
|
B
|
6 000
|
|
C
|
3 000
|
|
D
|
6 000
|
|
E
|
3 000
|
3.5.3 Антенны
Для классов A, B и D необходимо наличие антенн. Каждая антенна должна быть помечена полосами по 100 мм контрастного цвета, предпочтительно белого и красного.
Антенны прикрепляют к обеим сторонам сетки штатными зажимами вертикально над пересечением боковой и центральной линий игрового поля.
3.5.4 Установочные гильзы
Для оборудования на открытом воздухе установочные гильзы должны быть защищены от коррозии и иметь дренажное отверстие, как показано в приложении А.
4 Требования безопасности
4.1 Общие требования
Углы и края должны иметь радиус закругления не менее 3 мм.
4.2 Стойки, натяжные устройства, устройства для крепления троса и трос
Во время испытания стойки не должны разрушиться или иметь следующие повреждения:
а) видимые трещины и/или разрывы;
б) остаточная деформация стойки d более 10 мм.
Во время испытания фиксирующий механизм натяжного устройства и устройство для крепления троса не должны непреднамеренно ослабевать.
Если есть шатуны или натяжная лебедка, они должны быть съемными, выдвижными или располагаться внутри стойки.
Натяжные устройства классов A, B и D и устройства для крепления троса располагают с наружной стороны стойки, вне игрового поля или встроенными в стойки.
Для классов C и E они могут быть прикреплены к стойке со стороны сетки, но не должны выступать более, чем установлено ГОСТ Р 56446.
4.3 Обшивка стоек
Обшивка стоек должна быть доступна и установлена на высоте до 1800 мм над уровнем пола. Если стойка находится на высоте менее 1800 мм над полом готового игрового поля, обшивка должна доходить до верха стойки.
Обшивка должна полностью охватывать стойки, натяжные устройства и выступающие части. Обшивку стоек конструируют таким образом, чтобы она не могла смещаться при нормальном использовании.
При испытании по ГОСТ Р 56446 с высотой падения 200 мм демпфирующая способность обшивки должна быть менее 50 g.
5 Методы испытания
5.1 Общие положения
Требования, перечисленные в разделах 3 и 4, для которых не указаны конкретные испытания, должны быть проверены путем измерения, осмотра, тактильно и испытанием. Допускается проведение испытания по месту установки оборудования.
5.2 Определение прочностных характеристик сетки и тросов
Определение прочности сетки по ГОСТ 25552.
Определение прочности окантовочных лент по ГОСТ Р ИСО 2307.
Определение прочности тросов из синтетического или аналогичного волокна по ГОСТ Р ИСО 2307, стальных - по ГОСТ 3241.
5.3 Испытание стоек, натяжных устройств, устройств для крепления троса и троса
Оборудование для волейбола установлено, стойки вставлены в соответствующие установочные гильзы (тип 1) или напольными креплениями (тип 2). Сетка натянута для использования по назначению.
Устройство измерения силы, которое может выполнять измерения более 10 Н, вставляют в несущий трос между сеткой и стойкой.
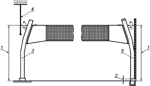
Контрольную точку определяют на оси несущего троса < 100 мм с внешней стороны стойки. Контрольная точка остается на этом месте во время испытания.
Примечание - Контрольной точкой может быть щуп, прикрепленный к нижней части 50-миллиметровой стойки (см. рисунок 3), или отвес, подвешенный снаружи стойки.

1 - высота проведения испытания (см. таблицу 7); 2 – скотч в пределах первых 50 мм от пола (мерная линейка прикреплена вертикально к нижним 50 мм столба); 3 - стойка с напольным креплением; 4 - отвес к оси сети; 5 - стойка с установочной гильзой; d1 - начальное расстояние до приложения испытательной силы; d2 - расстояние после снятия испытательной силы
Рисунок 3 - Проверка постоянного прогиба стоек
Таблица 7 - Испытательная сила F и высота h
|
Характеристика
|
Класс A
|
Класс B
|
Класс C
|
Класс D
|
Класс E
|
|
Испытательная сила F1, Н
|
1 450
|
1 200
|
1 000
|
1 200
|
1 000
|
|
Испытательная сила F2, Н
F2 = 1,2 x F1,
где 1,2 - коэффициент безопасности
|
1 740
|
1 440
|
1 200
|
1 440
|
1 200
|
|
Высота проведения испытания h, мм
|
2 430 <а>
|
1 150
|
|
<а> Высота проведения испытания связана с максимальной соревновательной высотой согласно [1].
|
Натяжение несущего троса увеличивают до тех пор, пока не будет достигнута требуемая начальная сила F1 (см. таблицу 7).
Наибольшее значение расстояния d1 измеряют между стойкой и вертикальной контрольной точкой.
Натяжение несущего троса увеличивают в течение не более 60 с (например, подвешивая груз посередине троса) до тех пор, пока не будет достигнута требуемая сила F2 (см. таблицу 7). Дополнительную силу прикладывают в течение (10 ± 1) мин.
Натяжение несущего троса снижают до начальной силы F1 и максимального расстояния d2. Повторно измеряют расстояние между стойкой и вертикальной контрольной точкой.
Оставшийся остаточный прогиб d рассчитывают по формуле
d = d2 - d1. (1)
6 Инструкция по эксплуатации
Каждое волейбольное оборудование должно иметь инструкцию по эксплуатации, которая должна содержать как минимум следующую информацию.
а) Маркировка:
- тип волейбольного оборудования (см. таблицу 1);
- предназначение: только для использования в спортивных целях в классе (см. таблицу 2), не допускается использовать для каких-либо других целей.
б) Предупреждение: "Перед использованием оборудования убедитесь, что все кронштейны и фитинги надежно и правильно затянуты".
в) Сведения о правильном размещении стоек для использования.
г) Сведения о правильном креплении сетки.
д) Сведения о правильном применении защиты.
е) Правила обращения с затяжным устройством.
ж) Условия хранения и транспортирования.
и) Порядок утилизации.
к) Дополнительная информация о сетках и комплектующих, которые будут использоваться для отдельных классов (антенны, натяжной трос и т.д.).
л) Сведения о техническом обслуживании.
7 Маркирование
Оборудование для волейбола, соответствующее настоящему стандарту, должно иметь следующую маркировку.
а) Стойки:
- номер настоящего стандарта;
- тип и класс волейбольного оборудования;
- предупреждение: "Забираться, висеть или раскачиваться на волейбольном оборудовании не разрешается";
- наименование, товарный знак или другие средства идентификации производителя, дистрибьютора или импортера и год изготовления.
б) Сетка:
- наименование, товарный знак или другие средства идентификации производителя, дистрибьютора или импортера и год изготовления.
Приложение А
(справочное)
Фундамент
Схема фундамента приведена на рисунке А.1.

1 - стойка; 2 - поверхность игрового поля; 3 – бетонный блок; 4 - установочные гильзы; 5 - дренажное отверстие (для использования вне помещений)
Рисунок А.1 - Фундамент
Таблица А.1 - Размеры h1 и h2
В миллиметрах
|
Параметр
|
Размер, не менее
|
|
h1
|
40
|
|
h2
|
350
|
Библиография
|
[1]
|
Официальные волейбольные правила 2017 - 2020. Утверждены 35-м Конгрессом ФИВБ 2016
|