ГОСТ 34682.2-2020 (EN 81-41:2010) ПЛАТФОРМЫ ПОДЪЕМНЫЕ ДЛЯ ИНВАЛИДОВ И ДРУГИХ МАЛОМОБИЛЬНЫХ ГРУПП НАСЕЛЕНИЯ. ТРЕБОВАНИЯ БЕЗОПАСНОСТИ К УСТРОЙСТВУ И УСТАНОВКЕ. Часть 2. ПЛАТФОРМЫ С ВЕРТИКАЛЬНЫМ ПЕРЕМЕЩЕНИЕМ
Lifting platforms for persons with impaired mobility. Safety requirements for the construction and installation. Part 2. Vertical lifting platforms
МКС 91.140.90
Дата введения - 1 июня 2021 г.
Введен впервые
Предисловие
Цели, основные принципы и общие правила проведения работ по межгосударственной стандартизации установлены ГОСТ 1.0 "Межгосударственная система стандартизации. Основные положения" и ГОСТ 1.2 "Межгосударственная система стандартизации. Стандарты межгосударственные, правила и рекомендации по межгосударственной стандартизации. Правила разработки, принятия, обновления и отмены"
Сведения о стандарте
1 Подготовлен Ассоциацией "Российское лифтовое объединение" (Ассоциация "РЛО"), Автономной некоммерческой организацией по сертификации лифтов и эскалаторов "Центр-эксперт" (АНОСЛЭ "Центр-эксперт"), Федеральным государственным унитарным предприятием "Российский научно-технический центр информации по стандартизации, метрологии и оценке соответствия" (ФГУП "СТАНДАРТИНФОРМ") на основе официального перевода на русский язык англоязычной версии указанного в пункте 5 стандарта, который выполнен ФГУП "СТАНДАРТИНФОРМ"
2 Внесен Федеральным агентством по техническому регулированию и метрологии
3 Принят Межгосударственным советом по стандартизации, метрологии и сертификации (протокол от 30 октября 2020 г. N 134-П)
За принятие проголосовали:
|
Краткое наименование страны по МК (ИСО 3166) 004-97 |
Код страны по МК (ИСО 3166) 004-97 |
Сокращенное наименование национального органа по стандартизации |
|
Армения |
AM |
ЗАО "Национальный орган по стандартизации и метрологии" Республики Армения |
|
Беларусь |
BY |
Госстандарт Республики Беларусь |
|
Киргизия |
KG |
Кыргызстандарт |
|
Россия |
RU |
Росстандарт |
|
Узбекистан |
UZ |
Узстандарт |
4 Приказом Федерального агентства по техническому регулированию и метрологии от 6 ноября 2020 г. N 1032-ст межгосударственный стандарт ГОСТ 34682.2-2020 (EN 81-41:2010) введен в действие в качестве национального стандарта Российской Федерации с 1 июня 2021 г.
5 Настоящий стандарт является модифицированным по отношению к стандарту EN 81-41:2010 "Правила безопасности по устройству и установке лифтов. Специальные лифты для транспортирования людей и грузов. Часть 41. Подъемные платформы с вертикальным перемещением для людей с ограниченной подвижностью" ("Safety rules for the construction and installation of lifts. Special lifts for the transport of persons and goods - Part 41: Vertical lifting platforms intended for use by persons with impaired mobility", MOD) путем изменения его структуры для приведения в соответствие с правилами, установленными в ГОСТ 1.5 (подразделы 4.2 и 4.3); путем изменения фраз, слов, которые выделены курсивом.
Наименование настоящего стандарта изменено относительно наименования указанного стандарта для приведения в соответствие с ГОСТ 1.5 (подраздел 3.6).
Сведения о соответствии ссылочных межгосударственных стандартов международным (европейским) стандартам, использованным в качестве ссылочных в примененном стандарте, приведены в дополнительном приложении ДД.
Сопоставление структуры настоящего стандарта со структурой указанного стандарта приведено в дополнительном приложении ДЕ
6 Введен впервые
0 Введение
Разработка настоящего стандарта на основе применения стандарта EN 81-41 имеет целью содействовать устранению технических барьеров в международной торговле, в том числе между государствами - участниками Соглашения о проведении согласованной политики в области стандартизации, метрологии, сертификации и аккредитации, в этих областях деятельности стран Содружества Независимых Государств.
С целью обеспечения соответствия структуры настоящего стандарта структуре стандарта EN 81-41 в настоящем стандарте в максимально возможной степени сохранена нумерация структурных элементов стандарта EN 81-41.
Принятый за основу стандарт EN 81-41 содержит современные требования безопасности к устройству и установке платформ подъемных для инвалидов и маломобильных групп населения, отражающие передовой международный опыт.
Настоящий стандарт является нормативной базой для нового поколения платформ подъемных, учитывающих достижения мирового машиностроения в совершенствовании конструкций и технологии.
0.1 Общие положения
0.1.1 Целью настоящего стандарта является установление требований безопасности к конструкции и установке платформ подъемных для инвалидов и маломобильных групп населения (далее по тексту - платформы) в зданиях и сооружениях, при использовании их по назначению, техническому обслуживанию в период эксплуатации и в аварийных ситуациях.
0.1.2 При разработке стандарта были учтены опасные факторы, перечисление которых приведено в таблице 1 раздела 4.
0.1.2.1 Настоящий стандарт устанавливает требования по обеспечению безопасности:
а) пользователей платформами, персонала, осуществляющего монтаж, техническое обслуживание, ремонт, осмотр, оценку соответствия и обследование платформ;
б) лиц, находящихся в непосредственной близости к шахте, машинному или блочному помещениям (при их наличии).
0.1.2.2 Настоящий стандарт устанавливает требования по предотвращению причинения вреда:
а) оборудованию платформы;
б) зданию, в котором установлена платформа.
Требования пожарной безопасности, вандалозащищенности установлены в других стандартах.
0.1.3 В тех случаях, когда масса, размер и/или форма узлов, сборочных единиц и оборудования, входящих в состав платформы, не позволяет обеспечить их перемещение вручную при монтаже или ремонте, они должны быть спроектированы и изготовлены таким образом, чтобы обеспечивалась возможность их перемещения при помощи грузоподъемных средств.
0.2 Принципы
При разработке настоящего стандарта были применены следующие принципы:
0.2.1 Настоящий стандарт не повторяет общетехнические правила, относящиеся к электрическому, механическому оборудованию и строительным конструкциям.
Требования стандарта относятся к специфике конструкции и применения оборудования платформ.
0.2.2 Настоящий стандарт устанавливает требования к строительной части платформ. Выполнение этих требований не относится к области ответственности организаций, осуществляющих проектирование, поставку, монтаж и обслуживание платформ.
0.2.3 Требования настоящего стандарта к применяемым материалам и оборудованию платформ ограничены задачей обеспечения безопасности платформ.
0.2.4 Расчетная масса человека в стандарте принята равной 75 кг.
0.3 Принятые допущения
0.3.1 Платформы устанавливают, как в новые здания, так и в здания, находящиеся в эксплуатации.
0.3.2 При установке платформы в находящееся в эксплуатации здание, в котором невозможно обеспечить рассматриваемые в стандарте размеры строительной части, должен быть выполнен анализ риска.
0.3.3 В шахте расположено только оборудование, связанное с конкретной платформой. Противовес или уравновешивающий груз расположен в той же шахте, что и грузонесущее устройство.
0.3.4 Все оборудование установлено в пространстве для его размещения.
0.3.5 Требования к оборудованию платформы разработаны на основе анализа рисков и основаны на следующем:
a) применены современные методы расчета и конструирования;
b) изготовлены из материалов требуемой прочности и надлежащего качества;
c) в используемых материалах отсутствуют дефекты;
d) используемые материалы не содержат опасных веществ (например, асбеста).
0.3.6 Обеспечено регулярное проведение технического обслуживания, ремонта и соответствующих технических освидетельствований, обеспечивающих соблюдение в ходе эксплуатации нормируемых размеров и характеристик с учетом износа составных частей платформ.
0.3.7 Применяемое оборудование обеспечивает безопасную работу платформы при соблюдении условий эксплуатации, включая влияние окружающей среды.
0.3.8 Конструкция несущих элементов платформы обеспечивает безопасную работу платформы при нагрузках от нуля до максимальной рабочей динамической нагрузки и максимальной статической нагрузки.
0.3.9 Для обеспечения безопасного функционирования платформы диапазон температур окружающей среды - от 5 °С до 40 °С.
0.3.10 При заключении договора на поставку платформы заказчик и поставщик согласовывают:
1) назначение и предполагаемое использование платформы с учетом приложения В;
2) условия окружающей среды (температура, влажность и т.п.);
3) требования строительного законодательства;
4) особенности установки платформы в здание, включая условия монтажа;
5) дополнительные противопожарные требования.
1.1 Настоящий стандарт устанавливает общие требования безопасности к устройству и установке в зданиях, сооружениях платформ с вертикальным перемещением, предназначенных для использования инвалидами и другими маломобильными группами населения.
Транспортирование пользователей на платформах осуществляется в положении стоя или сидя, в том числе в инвалидном кресле-коляске с сопровождающим или без сопровождающего.
1.2 Настоящий стандарт устанавливает требования:
a) к платформам, установленным в огражденных шахтах;
b) к платформам, конструкции которых или условия эксплуатации на месте установки позволяют обеспечить безопасность без ограждения шахты.
1.3 Настоящий стандарт распространяется на платформы со следующими характеристиками:
- грузонесущее устройство платформы перемещается по вертикали между заданными уровнями по заданной траектории, отклонение которой от вертикали не превышает 15°;
- грузонесущее устройство платформы расположено в полностью закрытой шахте (без ограничения высоты подъема);
- грузонесущее устройство платформы расположено в частично огражденной шахте или в неогражденной шахте (при высоте подъема не более 3 м). Примеры платформ с частично огражденной шахтой показаны на рисунке 1. Возможно иное исполнение платформ;
- грузонесущее устройство не полностью ограждено;
- номинальная скорость грузонесущего устройства не более 0,15 м/с.

Рисунок 1 - Примеры вертикальных подъемных платформ с неогражденной шахтой
Для приведения в движение и удержания грузонесущего устройства платформы могут применяться следующие виды приводов:
1) с зубчато-реечной передачей;
2) приводом трения с канатами или плоскими ремнями;
3) позитивным приводом с канатом, цепью или зубчатым ремнем;
4) приводом винт-гайка;
5) направляемой цепью;
6) механизмом подъема ножничного типа;
7) гидравлическим приводом прямого или непрямого действия.
1.4 В настоящем стандарте рассмотрены все существенные опасности, связанные с платформами, когда они используются по назначению и в условиях, предусмотренных изготовителем.
1.5 Настоящий стандарт не устанавливает дополнительные требования:
- к платформам, эксплуатируемым в особых условиях окружающей среды (например, экстремальный климат, сильные магнитные поля);
- молниезащите платформ;
- платформам, эксплуатируемым в соответствии со специальными правилами (например, в потенциально взрывоопасной окружающей среде);
- использованию в конструкции платформ материалов, свойства которых могут привести к опасным ситуациям;
- платформам, предназначенным для перевозки грузов;
- платформам с полностью огражденным грузонесущем устройством;
- платформам, устанавливаемым в зданиях, сооружениях, где возможен вандализм;
- платформам, используемым по назначению во время землетрясения или наводнения;
- платформам, используемым для борьбы с пожаром или эвакуации людей во время пожара;
- шуму и вибрации, создаваемой платформой при использовании по назначению;
- конструкции основания, на которое устанавливается платформа;
- конструкции анкерных болтов, для крепления элементов платформы к зданию, сооружению;
- платформам, на грузонесущем устройстве которых возможно перемещение пассажиров в инвалидных креслах-колясках с электроприводом класса С по приложению ДГ;
- платформам, на грузонесущем устройстве которых возможно перемещение пассажиров в инвалидных креслах-колясках с ручным приводом с габаритными размерами более 1200 х 700 (длина х ширина) мм.
Настоящий стандарт не распространяется на платформы, изготовленные до даты введение в действие настоящего стандарта.
1.6 Настоящий стандарт может быть использован в качестве нормативной базы для модернизации платформ, находящихся в эксплуатации.
1.7 Шум и вибрация в настоящем стандарте не рассматриваются в качестве опасных факторов работы платформы.
1.8 Настоящий стандарт может быть использован на добровольной основе для соблюдения общих требований безопасности [1].
В настоящем стандарте использованы нормативные ссылки на следующие межгосударственные стандарты:
ГОСТ ISO 12100-2013 Безопасность машин. Основные принципы конструирования. Оценки риска и снижения риска
ГОСТ 13568-2017 Цепи приводные роликовые и втулочные. Общие технические условия
ГОСТ ISO 13857-2012 Безопасность машин. Безопасные расстояния для предохранения верхних и нижних конечностей от попадания в опасную зону
ГОСТ 14254-2015 (IEC 60529:2013) Степени защиты, обеспечиваемые оболочками (Код IP)
ГОСТ 23752-79 Платы печатные. Общие технические условия
ГОСТ 26246.10-89 (МЭК 249-2-11-87) Материал электроизоляционный фольгированный тонкий общего назначения для многослойных печатных плат на основе стеклоткани, пропитанной эпоксидным связующим. Технические условия
ГОСТ 26246.14-91 Материалы электроизоляционные фольгированные для печатных плат. Склеивающая прокладка, используемая при изготовлении многослойных печатных плат. Технические условия
ГОСТ 29283-92 (МЭК 747-5-84) Полупроводниковые приборы. Дискретные приборы и интегральные схемы. Часть 5. Оптоэлектронные приборы
ГОСТ 30030-93 (МЭК 742-83) Трансформаторы разделительные и безопасные разделительные трансформаторы. Технические требования
ГОСТ 30331.1-2013 (IEC 60364-1:2005) Электроустановки низковольтные. Часть 1. Основные положения, оценка общих характеристик, термины и определения
ГОСТ 33605-2015 Лифты. Термины и определения
ГОСТ 33855-2016 Обоснование безопасности оборудования. Рекомендации по подготовке
ГОСТ 33984.1-2016 (EN 81-20:2014) Лифты. Общие требования безопасности к устройству и установке. Лифты для транспортирования людей или людей и грузов
ГОСТ 33984.2-2016 (EN 81-20:2014) Лифты. Правила и методы исследований (испытаний) и измерений при сертификации. Правила отбора образцов
ГОСТ 33984.3-2017 (EN 81-50:2014) Лифты. Правила и методы исследований (испытаний) и измерений при сертификации устройств безопасности лифтов. Правила отбора образцов
ГОСТ 33984.4-2017 (EN 81-50:2014) Лифты. Методы расчета основных несущих узлов лифта
ГОСТ 34682.3-2020 Платформы подъемные для инвалидов и других маломобильных групп населения. Требования безопасности к устройству и установке. Правила и методы исследований (испытаний) и измерений при сертификации. Правила отбора образцов
ГОСТ МЭК 60204-1-2002 * Безопасность машин. Электрооборудование машин и механизмов. Часть 1. Общие требования
──────────────────────────────
* В Российской Федерации действует ГОСТ Р МЭК 60204-1-2007 "Безопасность машин. Электрооборудование машин и механизмов. Часть 1. Общие требования".
──────────────────────────────
ГОСТ IEC 60947-1-2017 Аппаратура распределения и управления низковольтная. Часть 1. Общие правила
ГОСТ IEC 60947-4-1-2015 * Аппаратура коммутационная и механизмы управления низковольтные комплектные. Часть 4-1. Контакторы и пускатели электродвигателей. Электромеханические контакторы и пускатели электродвигателей
──────────────────────────────
* В Российской Федерации действует ГОСТ Р 50030.4.1-2012 (МЭК 60947-4-1:2009) "Аппаратура распределения и управления низковольтная. Часть 4. Контакторы и пускатели. Раздел 1. Электромеханические контакторы и пускатели".
──────────────────────────────
ГОСТ IEC 60947-5-1-2014 Аппаратура распределения и управления низковольтная. Часть 5-1. Аппараты и коммутационные элементы цепей управления. Электромеханические устройства цепей управления
ГОСТ IEC 61558-1-2012 Безопасность силовых трансформаторов, блоков питания, реакторов и аналогичных изделий. Часть 1. Общие требования и испытания
Примечание - При пользовании настоящим стандартом целесообразно проверить действие ссылочных стандартов и классификаторов на официальном интернет-сайте Межгосударственного совета по стандартизации, метрологии и сертификации (www.easc.by) или по указателям национальных стандартов, издаваемым в государствах, указанных в предисловии, или на официальных сайтах соответствующих национальных органов по стандартизации. Если на документ дана недатированная ссылка, то следует использовать документ, действующий на текущий момент, с учетом всех внесенных в него изменений. Если заменен ссылочный документ, на который дана датированная ссылка, то следует использовать указанную версию этого документа. Если после принятия настоящего стандарта в ссылочный документ, на который дана датированная ссылка, внесено изменение, затрагивающее положение, на которое дана ссылка, то это положение применяется без учета данного изменения. Если ссылочный документ отменен без замены, то положение, в котором дана ссылка на него, применяется в части, не затрагивающей эту ссылку.
В настоящем стандарте применены термины по ГОСТ 33605, а также следующие термины с соответствующими определениями:
3.1 винт: Деталь с наружной резьбой, которая воспринимает нагрузку от несущей гайки и, в определенных ситуациях, нагрузку от предохранительной гайки.
3.2 грузонесущее устройство: Часть подъемной платформы, перемещающаяся по одной или нескольким направляющим, на которой находятся люди (пользователи) при подъеме или опускании.
3.3 давление при полной нагрузке: Статическое давление в трубопроводе, непосредственно соединенном с гидроцилиндром, при нахождении грузонесущего устройства с номинальным грузом в состоянии покоя на уровне верхней посадочной площадки.
3.4 диаметр корда: Диаметр окружности, описанной вокруг поперечного сечения корда и используемый для оценки соотношений диаметров.
3.5 дроссель: Клапан, в котором вход и выход соединены посредством канала установленного сечения.
3.6 запорный клапан: Управляемый вручную двухходовой клапан, который пропускает или перекрывает поток жидкости.
3.7 зона отпирания двери шахты: Располагающаяся выше и ниже порога посадочной площадки часть шахты, в которой должен оказаться порог грузонесущего устройства, чтобы обеспечить возможность отпирания автоматического замка двери шахты.
3.8 квалифицированный персонал: Работники, имеющие квалификацию для выполнения соответствующих работ.
3.9 клапан движения вниз: Электрический управляемый клапан в гидравлической схеме для управления опусканием грузонесущего устройства.
3.10 компетентный персонал: Лицо, надлежащим образом подготовленное и квалифицированное на основе знаний и практического опыта, и обеспеченное необходимыми инструкциями, позволяющими безопасно выполнять требуемую работу.
3.11 концевой выключатель: Электрическое устройство безопасности, вызывающее при срабатывании остановку привода грузонесущего устройства и приводимое в действие грузонесущим устройством при переходе им уровня крайних посадочных площадок.
3.12 корд: Армирующий конструктивный элемент, придающий жесткость и/или прочность тяговым ремням. Корд состоит из стальных прядей, каждая из которых содержит стальные проволоки, спирально уложенные вокруг центрального сердечника.
3.13 коэффициент запаса прочности: Отношение напряжения по пределу текучести (условный предел текучести R P0,2) или напряжения по пределу прочности к напряжениям, возникающим в элементах платформы при статическом и динамическом нагружении при размещении на грузонесущем устройстве груза, равного номинальной грузоподъемности.
3.14 кромка безопасности: Элемент, расположенный на краю грузонесущего устройства, вызывающий при его контакте с каким-либо препятствием отключение привода перемещения грузонесущего устройства для обеспечения защиты от опасности защемления, разрезания или раздавливания.
3.15 ловители: Механическое устройство, предназначенное для остановки и удержания на направляющих движущегося вниз грузонесущего устройства, противовеса или уравновешивающего груза при превышении допустимой (предельной) величины скорости и (или) при обрыве тяговых элементов.
3.16 максимальная рабочая нагрузка: Номинальная нагрузка плюс перегрузка.
3.17 максимальная статическая нагрузка: Возможная статическая нагрузка, зависящая от площади грузонесущего устройства, или максимальная рабочая нагрузка. Выбирается наибольшее значение из перечисленных.
3.18 маломобильные группы населения: К маломобильным группам населения относятся лица, испытывающие затруднения при использовании лестниц при перемещении с одного уровня на другой.
Примечание - В настоящем стандарте перечень маломобильных групп населения включает, но не ограничивается только ими: пользователей инвалидных колясок, людей с детскими колясками, людей, в том числе детей, с ограниченными возможностями передвижения, людей, пользующихся приспособлениями для ходьбы, и пожилых людей.
3.19 машинное оборудование: Оборудование, включающее в себя шкаф управления, привод платформы, главный выключатель и панель управления.
3.20 механический упор: Устройство, гарантирующее в разложенном положении обеспечение безопасного пространства под грузонесущим устройством при проведении технического обслуживания или осмотра.
3.21 направляемая цепь: Неподвижная или движущаяся цепь, имеющая направляющие по всей длине, которые обеспечивают цепи возможность передавать как растягивающую, так и сжимающую нагрузку.
3.22 направляющие: Жесткие элементы, обеспечивающие траекторию движения грузонесущего устройства. Механизм подъема ножничного типа рассматривается как система, обеспечивающая траекторию движения грузонесущего устройства.
3.23 непреднамеренное движение: Неуправляемое движение грузонесущим устройством с открытыми дверями шахты в зоне их отпирания, исключая перемещения, возникающие в результате операции погрузки/разгрузки и повторного выравнивания.
3.24 несущая гайка: Деталь с внутренней резьбой, которая совместно с винтом воспринимает нагрузки (например, от грузонесущего устройства).
3.25 номинальная грузоподъемность: Масса груза, для перемещения которого предназначена платформа.
3.26 номинальная скорость: Расчетная скорость движения грузонесущего устройства.
3.27 огражденная шахта: Пространство, в котором перемещается грузонесущее устройство и/или противовес, или уравновешивающий груз и которое полностью ограждено снизу и с боков (перекрытие не обязательно).
3.28 ограничитель скорости: Устройство, вызывающее остановку грузонесущего устройства при достижении им допустимой (предельной) скорости перемещения и, при необходимости, для приведения в действие механизма ловителей.
3.29 останавливающее устройство безопасности: Механическое устройство для блокировки относительного вращения между винтом и несущей гайкой в случае превышения скорости и остановки и удержания подъемной платформы.
3.30 открытый доступ: Место установки платформы при отсутствии данных о пользователе.
3.31 перегрузка: Допустимая дополнительная нагрузка, равная массе одного человека (75 кг).
3.32 перепускной (предохранительный) клапан: Клапан, предотвращающий превышение установленного давления в гидравлической системе.
3.33 поверхность безопасности: Элемент, аналогичный по действию кромке безопасности, но расположенный под грузонесущим устройством и контролирующий всю нижнюю поверхность грузонесущего устройства.
3.34 повторное выравнивание: Операция перемещения, выполняемая после остановки грузонесущего устройства, для коррекции точности остановки при загрузке и разгрузке.
3.35 подъемная платформа: Стационарное устройство, предназначенное для перемещения инвалидов и маломобильных групп населения с одного уровня на другой на грузонесущем устройстве.
3.36 пользователь: Лицо, использующее платформу по назначению.
3.37 посадочная площадка: Пространство у входа на платформу (на любом уровне) для обеспечения возможности маневрирования, посадки и высадки пользователей с инвалидными колясками или без них.
3.38 предохранительная гайка: Деталь с внутренней резьбой, которая связана с несущей гайкой, но не несет нагрузки при нормальной работе платформы, и которая способна удержать грузонесущее устройство с грузом при поломке несущей гайки.
3.39 привод: Электромеханическое устройство с электродвигателем, который обеспечивает движение и остановку грузонесущего устройства.
3.40 привод с направляемой цепью: Платформа, в которой грузонесущее устройство удерживается на месте, поднимается и опускается посредством одной или нескольких направляемых цепей.
3.41 пространство для машинного оборудования: Пространство внутри или снаружи шахты платформы, в котором полностью или частично размещены машинное оборудование и зоны обслуживания машинного оборудования.
3.42 противовес: Часть подъемной платформы, которая за счет своей массы обеспечивает сцепление тяговых элементов с канатоведущим шкивом (барабаном трения) для передачи тягового усилия от привода к грузонесущему устройству.
3.43 разрывной клапан: Клапан, жестко связанный с гидроцилиндром и предназначенный для автоматического прерывания потока жидкости при падении давления на входе в клапан, вызванного увеличением расхода жидкости свыше предварительно установленного значения.
3.44 самотормозящаяся система: Система, которая в условиях свободного хода обеспечивает снижение скорости (торможение) грузонесущего устройства до его остановки.
3.45 существующее здание/сооружение: Здание/сооружение, находящееся в эксплуатации на момент заказа платформы.
3.46 тормоз: Механизм, используемый для остановки грузонесущего устройства и удержания его на месте.
3.47 уравновешивающий груз: Часть подъемной платформы, которая за счет своей массы снижает мощность привода при балансировке всей или части массы незагруженного грузонесущего устройства.
3.48 цикл: Пуск (ускорение от покоя до номинальной скорости), перемещение от нижней посадочной площадки на всю высоту подъема, остановка (замедление от номинальной скорости до полной остановки) и движение вниз (пуск и остановка) в исходное положение.
3.49 цепь безопасности: Цепь, содержащая контакты и/или электронные компоненты, которая соответствует требованиям для электрических устройств безопасности.
3.50 шахта: Пространство, в котором перемещается грузонесущее устройство и расположенный на нем груз.
3.51 шлагбаум: Подъемная перекладина или аналогичное устройство, предназначенное обеспечить защиту от падения людей с грузонесущего устройства.
3.52 электрическая цепь безопасности: Совокупность электрических устройств безопасности, которые могут быть как выключателями, так и цепями безопасности, соединенными последовательно друг с другом.
3.53 электрический контакт безопасности: Контакт, в котором разделение размыкающих элементов проводится принудительно.
3.54 электрическое устройство безопасности: Электрический выключатель с одним или несколькими электрическими контактами безопасности либо цепь безопасности.
В разделе приведены все существенные опасности, опасные ситуации и события, поскольку они имеют отношение к настоящему стандарту, определяемые оценкой степени риска для платформ с вертикальным перемещением и теми действиями, которые необходимо предпринять для исключения или уменьшения риска.
В таблице 1 приведены опасности, которые были идентифицированы, и указаны ссылки на разделы и пункты настоящего стандарта, в которых указаны соответствующие требования, обеспечивающие возможность ограничить риск или уменьшить эти опасности.
Примечание - Опасности, связанные с аллергическими реакциями людей, не рассматриваются в этом стандарте.
|
Группа |
Существенные опасности |
Соответствующие пункты стандарта |
|
1 |
Механические опасности | |
|
1.1 |
от механических деталей и узлов, например, - из-за их потенциальной энергии (падающие предметы, высота над уровнем земли, сила тяжести) |
5.1.6, 5.3, 5.4.1, 5.4.6, 5.6.4, 5.6.5, 5.6.6, 5.8.2, 5.8.3 |
|
1.2 |
- из-за кинетической энергии (ускорение, замедление, движение/вращение элементов) |
5.1.5, 5.3, 5.4.2 |
|
1.3 |
- из-за механической прочности (разрушение) |
5.1.2, 5.1.10, 5.1.6, 5.3, 5.4.1, 5.4.2, 5.4.4, 5.4.5, 5.4.6, 5.4.7, 5.4.8, 5.4.9 |
|
1.4 |
- из-за накопленной энергии, например, - упругие элементы (пружины) |
5.4.9 |
|
1.5 |
Опасность раздавливания |
5.1.3, 5.1.4.1.2, 5.1.4.2.1, 5.6.2, 5.6.4, 5.9 |
|
1.6 |
Опасность среза |
5.1.3, 5.6.4, 5.8.4, 5.9 |
|
1.7 |
Опасность разрезания или перерезания (отрыва) |
5.1.4.1.2, 5.1.4.4.1, 5.6.4, 5.6.6, 5.8.2, 5.9 |
|
1.8 |
Опасность запутывания |
5.1.3, 5.1.4.1.2, 5.1.4.4.1, 5.5.5, 5.6.4, 5.9, 5.4.1.7 |
|
1.9 |
Опасность защемления или захвата |
5.1.3, 5.1.4.1.2, 5.1.4.4.1, 5.1.11.3, 5.4.5.4.4, 5.4.5, 5.5.5, 5.6.6, 5.8.4, 5.9 |
|
1.10 |
Опасность удара |
5.1.4.1.2, 5.1.4.4.1, 5.8.7 |
|
1.11 |
Опасность рассечения или разрыва |
5.1.4, 5.9 |
|
1.12 |
Опасность трения или истирания |
5.1.3, 5.6.4, 5.9 |
|
1.13 |
Опасность укола |
5.1.4.4.1, 5.4.9 |
|
1.14 |
Опасность скольжения, спотыкания и падения |
5.1.3, 5.1.4.1.2, 5.1.4.2.3, 5.4.1, 5.1.4.3, 5.1.6, 5.1.7, 5.2.1, 5.3, 5.4.2, 5.4.4, 5.4.5, 5.4.6, 5.4.7, 5.4.8, 5.4.9, 5.5.4, 5.5.15.7, 5.6.4, 5.6.5, 5.6.6, 5.8.2, 5.8.3, 5.8.4, 5.8.4.6, 5.8.4.7, 5.8.5, 5.9 |
|
1.15 |
Опасность из-за потери устойчивости или разбалансировки |
5.1.5, 5.1.7, 5.2.1.1, 5.2.1.2, 5.4.2, 5.4.3, 5.6.4 |
|
1.16 |
Опасность из-за соприкосновения с подвижными частями |
5.1.4.4.1, 5.5.1, 5.5.2, 5.5.3, 5.5.8, 5.5.13 |
|
1.17 |
Опасность из-за частей, которые приобрели подвижность в результате ошибочных действий |
5.5.1, 5.5.3 |
|
1.18 |
Из-за: - недостаточная механическая прочность деталей и узлов; - неадекватные рабочие коэффициенты запаса прочности; - сбой контроля загрузки |
5.1.6, 5.1.7, 5.1.8, 5.1.10, 5.4.4, 5.4.5, 5.4.6, 5.4.7, 5.4.8, 5.4.9, 5.6.4, 5.9 |
|
1.19 |
Ошибки управления грузонесущим устройством (функционирование, приоритеты) |
5.5.7, 5.5.11, 5.5.15.3 |
|
1.20 |
Превышение скорости грузонесущего устройства |
5.1.5, 5.3, 5.4.2 |
|
2 |
Электрические опасности | |
|
2.1 |
Опасность из-за возникновения дугового разряда | |
|
2.2 |
Опасность из-за случайного соприкосновения с частями, находящимися под напряжением | |
|
2.3 |
Опасность из-за неисправности частей, находящихся под напряжением | |
|
2.4 |
Опасность из-за возникновения короткого замыкания | |
|
3 |
Термические опасности | |
|
3.1 |
Опасность из-за соприкосновения с предметами или материалами с экстремально высокой или низкой температурой |
5.1.4.4.1, 5.1.5, 5.5.12, 5.5.14 |
|
6 |
Опасности, создаваемые излучением | |
|
6.1 |
Низкочастотное электромагнитное излучение |
5.5.9 |
|
7 |
Опасности, создаваемые материалами и веществами | |
|
7.2 |
Опасность, вызываемая пожаром |
5.5.14.9 |
|
7.3 |
Опасности, вызываемые взрывом |
5.5.14.9 |
|
8 |
Опасности из-за несоблюдения эргономических принципов | |
|
8.1 |
Опасность, связанная с неправильным положением тела или чрезмерным усилием |
5.1.4.2.2, 5.1.8, 5.4.3, 5.5.15, 5.8.2, 5.8.7 |
|
8.2 |
Опасности, возникающие, если не учитывать особенности анатомии человека |
5.4.3, 5.5.14, 5.8.7 |
|
8.4 |
Опасности, связанные с недостаточным местным освещением |
5.5.3, 5.5.4 |
|
8.5 |
Опасности, возникающие из-за неправильной конструкции или расположения индикаторов и дисплеев |
5.5.15 |
|
8.6 |
Конструкция, расположение или идентификация аппаратов управления |
5.5.15 |
|
8.9 |
Ошибки человека при управлении (во время работы) |
5.4.3, 5.5.15, 7.3 |
|
9 |
Опасности, связанные с условиями окружающей среды, в которых используется платформа | |
|
9.4 |
Снег, вода, ветер, температура |
5.1.4, 5.1.11 |
|
10 |
Комбинация опасностей | |
|
10.1 |
Отказ/неисправность системы управления и цепей управления |
5.1.11, 5.1.12, 5.4.2, 5.4.3, 5.5, 5.5.1.1, 5.5.6, 5.5.7, 5.5.8, 5.5.11, 5.5.11.3, 5.5.11.5, 5.5.13, 5.5.14, 5.5.17 |
|
10.2 |
Восстановление энергоснабжения после его прерывания |
5.5.11 |
|
10.3 |
Ошибки программного обеспечения |
5.5.11, 5.5.14, 5.5.15.5, 5.5.15.6 |
|
10.4 |
Отказ источника питания |
5.4.2, 5.5.6.4, 5.5.11, 5.5.13 |
|
11 |
Опасности, связанные с монтажом и техническим обслуживанием | |
|
11.1 |
Опасности из-за неправильной сборки, установки или регулировки |
5.1.10, 5.3, 5.5.13, 5.8.4.7, 5.8.5 |
|
11.2 |
Опасности из-за неправильного или несвоевременного проведения технического обслуживания |
5.5.1, 5.5.5, 5.5.6.3, 5.5.6.4, 5.5.11, 5.5.13 |
|
11.3 |
Опасности из-за невозможности покинуть шахту |
5.4.3, 5.5.4, 5.5.11, 5.5.14, 5.5.16, 5.8.6 |
|
12 |
Опасности, связанные с движением грузонесущего устройства | |
|
12.1 |
Движение грузонесущего устройства без пассажира |
5.4.2, 5.5.1.1, 5.5.6, 5.5.7, 5.5.8.2, 5.5.12, 5.5.13, 5.5.11.5, 5.5.17 |
|
12.2 |
Недостаточная возможность привода замедлить движение, остановить и удерживать в остановленном состоянии |
5.5.15.5, 5.5.15.7 |
|
13 |
Опасности, связанные с местом работы (включая положение привода) | |
|
13.1 |
Падение человека во время доступа на рабочее место или с него |
5.1.4.1.2, 5.1.4.2.3, 5.1.6, 5.3, 5.4.1, 5.4.2, 5.4.4, 5.4.5, 5.4.6, 5.4.7, 5.4.8, 5.4.9 |
|
13.2 |
Механические опасности на рабочем месте, такие как: - контакт со штурвалом; - опрокидывание и перевертывание; - скольжение во время доступа; - падение предметов, проникновение предметов; - контакт людей с деталями машин или инструментами (площадка для управления приводом) |
5.1.6, 5.1.7, 5.3 |
|
14 |
Механические опасности, вызванные падением груза, столкновениями, опрокидыванием привода | |
|
14.1 |
Неконтролируемая амплитуда движения |
5.1.5, 5.4.2, 5.5.7 |
|
14.2 |
Не отвечающие требованиям фиксирующие устройства (блокировки) |
5.9.7 |
|
14.3 |
Доступ человека на грузонесущее устройство |
5.4.4, 5.4.5, 5.4.6, 5.3, 5.8 |
|
14.4 |
Сход с направляющих |
5.1.10, 5.2.1 |
|
14.5 |
Неадекватная конструкция шкивов и барабанов |
5.4.5.4 |
|
14.6 |
Неадекватный выбор цепей, тросов, подъема и аксессуаров, и их недостаточная интеграция в машину |
5.4.5, 5.4.7 |
|
14.7 |
Опускание грузонесущего устройства при управлении тормозом |
5.4.2, 5.4.3 |
|
14.8 |
Ненормальные условия монтажа/ использования/ обслуживания |
6.3, ж |
|
14.9 |
Воздействие груза на людей (удар грузом или противовесом) |
5.8.5, 5.8.7 |
|
15 |
Общие для любых машин | |
|
15.1 |
Падение человека с грузонесущего устройства |
5.6.4.3, 5.6.4.4, 5.8.5 |
|
15.2 |
Превышение скорости грузонесущего устройства |
5.1.5, 5.3, 5.4.2 |
5.1.1 Платформы должны отвечать требованиям безопасности и/или мерам защиты, приведенным в настоящем разделе, а конструкция платформы должна соответствовать требованиям ГОСТ ISO 12100 для соответствующих незначительных опасностей, которые не рассматриваются в настоящем стандарте (например, острые края).
В процессе эксплуатации должно быть обеспечено сохранение размеров и зазоров, указанных в настоящем стандарте, несмотря на износ оборудования. Следует также учитывать необходимость защиты от воздействия коррозии. Все применяемые материалы не должны содержать асбест.
Платформа должна быть рассчитана на выполнение не менее десяти циклов в час с номинальным грузом.
При применении технических решений, отличающихся от регламентированных или непредусмотренных настоящим стандартом, должен быть выполнен анализ риска, дополненный в необходимых случаях расчетами, чертежами и результатами испытаний, подтверждающими безопасность как этих технических решений, так и их соответствия требованиям [1].
5.1.2 Принцип применения
При проектировании механических элементов платформы должна учитываться интенсивность ее использования.
5.1.3 Ограждения
Открытые вращающиеся или движущиеся части (например, редуктор привода) должны быть защищены от риска получения травмы в результате случайного прикосновения к ним. Панели (крышки) для доступа к оборудованию должны быть обеспечены средствами, требующими использования инструмента или ключа для их снятия. Элементы крепления панелей (крышек) должны оставаться прикрепленными к панелям (крышкам) при их снятии.
5.1.4 Доступ для технического обслуживания, ремонта и осмотра
5.1.4.1 Рабочие зоны на платформе
5.1.4.1.1 Если оборудование должно обслуживаться или осматриваться с грузонесущего устройства, и если эти операции требуют перемещения грузонесущего устройства или могут привести к неконтролируемому и неожиданному перемещению грузонесущего устройства, должно выполняться следующее:
5.1.4.1.2 Любое неконтролируемое и неожиданное движение грузонесущего устройства, являющееся результатом обслуживания/осмотра, которое может быть опасным для выполняющих эти работы людей, должно быть предотвращено механическим устройством. Такое устройство должно обеспечивать не менее 300 мм свободного пространства между частями остановившегося грузонесущего устройства и жесткими элементами шахты, чтобы исключить опасность раздавливания. Контроль этого устройства для гарантии нахождения его в пассивном положении перед началом движения грузонесущего устройства в режиме "Нормальная работа", должен осуществляться электрическим устройством безопасности, отвечающим требованиям 5.5.11.
5.1.4.1.3 Любые необходимые для освобождения пассажиров и для проведения динамических испытаний (таких как проверка тормоза, сцепление канатов (ремней) со шкивом (барабаном) трения, испытание ловителей) приспособления и устройства должны быть расположены таким образом, чтобы ими можно было управлять снаружи шахты.
5.1.4.1.4 При оборудовании шахты дверью для технического обслуживания:
1) дверь должна быть оборудована замком, отпираемым ключом. Закрытие и запирание двери допускается осуществлять без ключа;
2) дверь должна быть оборудована электрическим устройством безопасности, отвечающим требованиям 5.5.11 и контролирующим ее закрытое положение.
5.1.4.2 Рабочие зоны под платформой
5.1.4.2.1 При проведении в приямке полностью огражденной шахты работ по техническому обслуживанию и осмотру для обеспечения безопасности персонала требуется:
a) если при нахождении грузонесущего устройства в крайнем нижнем положении расстояние между нижними частями грузонесущего устройства и дном приямка менее 500 мм, должен быть предусмотрен устанавливаемый вручную механический упор для остановки движущегося вниз на номинальной скорости с максимальной рабочей нагрузкой грузонесущего устройства. После остановки грузонесущего устройства этим механическим упором расстояние между нижними частями грузонесущего устройства и полом приямка должно быть не менее 500 мм.
Если расстояние между нижними частями грузонесущего устройства, находящегося в крайнем верхнем положении и дном приямка менее 500 мм, то механический упор должен фиксировать грузонесущее устройство в крайнем верхнем положении. В этом случае работы по техническому обслуживанию и осмотру проводит персонал, находящийся вне шахты;
b) механический упор должен приводиться в рабочее положение снаружи приямка и его положение должно контролироваться электрическим устройством безопасности, отвечающим требованиям 5.5.11, которое контролирует активное положение механического упора и которое будет отключать вызывные и приказные аппараты и включать (делает возможным работу) управление с поста инспекции. Рядом с местом, с которого осуществляется управление механическим упором, должна располагаться четкая информация о работе механического упора: о его назначении и положении;
c) отпирание любой двери, обеспечивающей доступ в приямок, должно осуществляться с помощью ключа, соответствующего 5.8.6, и предотвращать движение грузонесущего устройства; если механический упор не находится в активном положении, то визуальный сигнал должен информировать об этом обслуживающий персонал. Возврат платформы к режиму "Нормальная работа" должен проводиться только с помощью устройства сброса, расположенного вне шахты и доступного только для обслуживающего персонала;
d) при необходимости управления перемещением грузонесущего устройства из приямка должен быть предусмотрен пост управления, отвечающий требованиям 5.5.18;
e) пол доступного для людей приямка должен быть рассчитан на нагрузку, создаваемую массой двух человек, нагрузка от каждого из них эквивалентна 1000 Н.
5.1.4.2.2 При нахождении грузонесущего устройства в положении согласно 5.1.4.2.1, перечисление а) обслуживающий персонал должен иметь возможность легко и безопасно покинуть рабочую зону в приямке.
5.1.4.2.3 Управление грузонесущим устройством при освобождении пользователя, проведение динамических испытаний (проверка тормоза, сцепления, ловителей и т.п.) должны осуществляться снаружи полностью закрытой шахты.
5.1.4.3 Рабочие зоны снаружи шахты
Если оборудование находится в закрытой шахте и его необходимо обслуживать или осматривать обслуживающему персоналу снаружи шахты, то доступ к этому оборудованию должен быть возможен только через дверь/люк для технического обслуживания в соответствии с 5.6.6 или через дверь для доступа на грузонесущее устройство.
5.1.4.4 Машинное оборудование снаружи шахты
5.1.4.4.1 Если какая-либо часть машинного оборудования находится за пределами закрытой шахты, например панель управления, привод (лебедка), они должны находиться внутри шкафа.
5.1.4.4.2 Шкаф для размещения машинного оборудования должен состоять из сплошных стен, пола, крыши и двери(ей).
Дверь(и) шкафа для размещения машинного оборудования:
1) не должна открываться во внутрь шкафа;
2) должна быть оборудована отпираемым ключом замком;
3) закрывание и запирание допускается производить без ключа;
В шкафу для размещения машинного оборудования допускаются следующие отверстия:
1) отверстия между шахтой и шкафом для размещения оборудования, необходимые для функционирования платформы;
2) вентиляционные отверстия для выхода газов и дыма в случае пожара. Эти отверстия, если они доступны для посторонних лиц, должны соответствовать следующим требованиям:
- они должны препятствовать контакту с опасными зонами в соответствии с ГОСТ ISO 13857-2012, таблица 5;
- иметь степень защиты IP2XD в соответствии с ГОСТ 14254.
5.1.5 Номинальная скорость
Номинальная скорость грузонесущего устройства в режиме "Нормальная работа" не должна превышать 0,15 м/с.
5.1.6 Номинальная грузоподъемность
Номинальная грузоподъемность должна быть рассчитана из условия не менее чем 250 кг/м 2 чистого пола грузонесущего устройства.
Примечание - 250 кг/м 2 учитывает нагрузку от человека в инвалидном кресле-коляске с электроприводом класса А или В.
Максимальная номинальная грузоподъемность 500 кг.
Минимальные значения номинальной грузоподъемности должны быть следующие:
- один пользователь, стоящий или сидящий в кресле-коляске с электроприводом класса А: 250 кг;
- пользователь в кресле-коляске с электроприводом класса А или В с сопровождающим лицом: 315 кг.
Примечание - См. таблицу 2.
5.1.7 Контроль загрузки
Платформа должна быть оснащена устройством для предотвращения пуска в режиме нормальной работы при перегрузке, исключая пуск для повторного выравнивания при наличии гидропривода. Считается, что перегрузка возникает при превышении номинальной грузоподъемности на 75 кг.
В случае перегрузки:
- пользователь должен быть информирован об этом посредством ауди и визуального сигнала на грузонесущем устройстве;
- двери шахты должны оставаться незапертыми, когда грузонесущее устройство находится в зоне отпирания дверей.
5.1.8 Размеры грузонесущего устройства
5.1.8.1 Измеренная на уровне пола площадь грузонесущего устройства, включая кромки безопасности, фотоэлементы или световые барьеры, не должна превышать 2 м 2.
5.1.8.2 При установке платформы, предназначенной для перевозки пользователей в кресле-коляске класса А или В, в новых общественных зданиях размеры пола грузонесущего устройства, включая любые кромки безопасности, фотоэлементы или световые завесы должны быть равны или больше, чем указано в таблице 2. Проекции на плоскость пола поручней не должны учитываться при определении размеров.
Для существующих зданий или в случае отсутствия открытого доступа к платформе грузонесущее устройство может иметь иные размеры.
|
Основное использование |
Минимальные размеры, мм (ширина х длина) |
Минимальная грузоподъемность, кг |
|
Пользователь в кресле-коляске с электроприводом класса А и В с одним сопровождающим; грузонесущее устройство со смежными входами, расположенными под углом 90° друг к другу |
1 100 х 1 400 |
385 |
|
Пользователь в кресле-коляске с электроприводом класса А и В |
900 х 1 400 |
315 |
|
Один пользователь, стоящий или сидящий в кресле-коляске с электроприводом класса А |
800 х 1 250 |
250 |
5.1.9 Механическая прочность грузонесущего устройства
При расчете механической прочности грузоподъемного устройства должно учитываться предполагаемое неправильное использование (например, перегрузка). Таким образом, грузонесущее устройство и связанные с ним элементы подвески должны быть рассчитаны на указанную в таблице 3 нагрузку или на максимальную рабочую нагрузку (в зависимости от того, какая больше). При расчете к выбранному значению добавляется перегрузка 25 %, то есть коэффициент статики равен 1,25.
|
Максимальная статическая нагрузка, кг |
Максимальная доступная площадь, м 2 |
Максимальная статическая нагрузка, кг |
Максимальная доступная площадь, м 2 |
|
100 |
0,37 |
525 |
1,45 |
|
180 |
0,58 |
600 |
1,60 |
|
225 |
0,70 |
630 |
1,66 |
|
300 |
0,90 |
675 |
1,75 |
|
375 |
1,10 |
750 |
1,90 |
|
400 |
1,17 |
800 |
2,00 |
|
450 |
1,30 | ||
|
Примечание - Для промежуточных значений нагрузки площадь определяется методом линейной интерполяции. | |||
5.1.10 Устойчивость к действующим нагрузкам
5.1.10.1 После завершения монтажа движущееся на номинальной скорости грузонесущее устройство должно выдерживать без остаточных деформаций нагрузки, действующие на него во время нормальной работы, при посадке на ловители и при соприкосновении с механическими упорами. Допускается возникающая при посадке на ловители местная деформация, которая не влияет на работу грузоподъемного устройства.
5.1.10.2 Возникающие из-за неравномерной нагрузки прогибы направляющих элементов, их креплений и соединений не должны влиять на нормальную работу платформы.
5.1.10.3 Все подверженные циклическим нагрузкам несущие компоненты и соединения необходимо проектировать с учетом степени колебаний напряжения и числа циклов напряжения, которые могут быть кратными числу циклов нагрузки. Расчет должен быть основан на следующем:
a) каждый цикл нагрузки должен быть выбран для худшего варианта нагружения и состоять, по крайней мере, из одного пуска (ускорение от покоя до номинальной скорости); подъем - на 5 м (при максимальной высоте подъема свыше 5 м) или значения, соответствующего максимальной высоте подъема, если она менее 5 м, и одной остановки (замедление от номинальной скорости до нуля);
b) расчет выполняется для следующих вариантов нагружения грузонесущего устройства: 33,33 % циклов без нагрузки, при 33,33 % - с половиной номинальной нагрузки и 33,33 % - с номинальной нагрузкой;
c) минимальное число циклов с нагрузкой 50000.
Расчет элементов крепления должен подтверждать их целостность во время нормальной эксплуатации.
5.1.11 Защита оборудования от вредных внешних воздействий
5.1.11.1 Общие понятия
Все механические и электрические компоненты платформы должны быть защищены от вредного и опасного воздействия окружающей среды, которые могут возникнуть на предлагаемом месте ее установки, например:
- попадание воды и твердых тел;
- воздействие влаги, температуры, коррозии, загрязнения атмосферного воздуха, солнечной радиации и т.д.;
- воздействия флоры, фауны и др.
Защита должна быть спроектирована и изготовлена, а платформа должна быть установлена таким образом, чтобы вышеупомянутые воздействия не влияли на безопасное и надежное функционирование платформы.
5.1.11.2 Защита от попадания влаги
Полностью огражденная шахта должна быть защищена от попадания влаги или быть оборудована дренажом.
Должно быть исключено накопление жидкости на примыкающих к шахте поверхностях пола.
5.1.11.3 Защита оборудования от механических повреждений
Ограждение должно быть спроектировано и изготовлено в соответствии с ГОСТ ISO 12100-2013, пункт 6.3. Элементы крепления ограждения должны оставаться прикрепленными к крышкам или к оборудованию, когда крышки сняты.
5.1.12 Степень защиты при наружной установке платформы
При наружной установке платформы ее электрооборудование в зависимости от условий эксплуатации должно иметь достаточную степень защиты, но не ниже IP54 по ГОСТ 14254.
5.2.1 Опорная/направляющая система грузонесущего устройства
5.2.1.1 Горизонтальные зазоры между грузонесущим устройством и ограждением шахты
Опорная или направляющая система должна обеспечивать постоянную траекторию движения грузонесущего устройства на протяжении всего его перемещения.
Максимальный горизонтальный зазор между внутренней поверхностью полностью огражденной шахты и элементами грузонесущего устройства со стороны, на которой отсутствует ограждение, не должен превышать 20 мм при размещении на грузоподъемном устройстве максимальной рабочей нагрузки.
Горизонтальные зазоры между элементами грузонесущего устройства и смежными поверхностями при не полностью огражденной шахте или при ее отсутствии должны соответствовать указанным на рисунке 2.
5.2.1.2 Отклонение от горизонтали пола грузонесущего устройства
Опорная или направляющая система должна обеспечивать отклонение края грузонесущего устройства от горизонтального уровня не более ± 10 мм, если:
- номинальная нагрузка распределяется по наиболее неблагоприятной половине длины платформы;
- и номинальная нагрузка распределена по наиболее неблагоприятной половине ширины платформы.
5.2.1.3 Материалы
Опорная или направляющая система должна быть изготовлена из металла.
5.2.1.4 Общие положения, касающиеся направляющих
Направляющие, их соединения и крепления должны выдерживать нагрузки и усилия, прилагаемые к ним, в целях обеспечения безопасной эксплуатации подъемной платформы.
Условия безопасного использования подъемной платформы, которые необходимо учитывать при подборе направляющих:
1) должна обеспечиваться траектория движения грузонесущего устройства, противовеса или уравновешивающего груза;
2) деформация направляющих не должна вызывать:
- непреднамеренное отпирание двери шахты;
- самопроизвольное срабатывание ловителей;
- должно быть исключено столкновение движущихся узлов с другими элементами.
Примечание - Метод расчета направляющих приведен в ГОСТ 33984.4-2017, пункт 5.1.
5.2.1.5 Направляющие для платформ с приводом трения
Если грузонесущее устройство или противовес находится в самом высоком положении для перемещения, в том числе при переподъеме, то длина направляющих должна быть такой, чтобы было возможно дальнейшее перемещение на расстоянии не менее 0,05 м.
5.2.1.6 Направляющие для платформ с позитивным приводом
5.2.1.6.1 При нахождении грузонесущего устройства на верхнем упоре длина направляющей должна быть такой, чтобы она позволяла осуществлять дальнейшее перемещение грузонесущего устройства на расстоянии не менее 0,05 м.

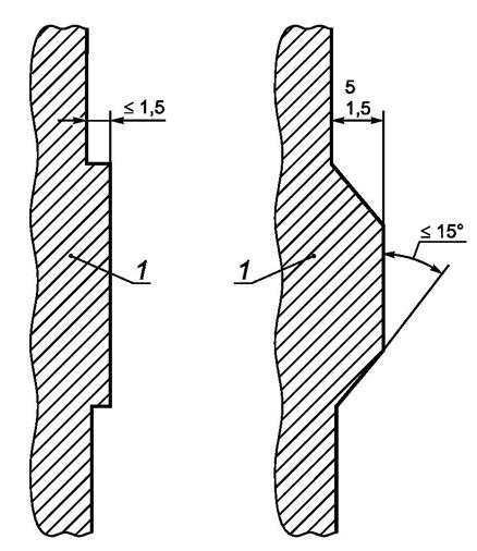
1 - грузонесущее устройство; 2 - уровень посадочной площадки; 3 - вертикальный щит; 4 - зона ограждения; А - смежные поверхности при отсутствии на грузонесущем устройстве кромок безопасности, зазор не более 10 мм (см. 5.6.4.2); В - зазор между поручнем и неподвижной поверхностью ≥ 35 мм (см. 5.9.7); С - зазор между поручнем и движущейся относительно поручня поверхностью или ≤ 10 мм или ≥ 100 мм (см. 5.9.7); D - смежные поверхности при наличии на грузонесущем устройстве кромок безопасности, зазор от 10 до 100 мм (см. 5.9.2.1); E - высота поручня от 900 до 1100 мм (см. 5.9.7); F - высота щита под порогом грузонесущего устройства 25 мм (см. 5.9.2.1)
Рисунок 2 - Размеры и зазоры для подъемных платформ с неогражденной или не полностью огражденной шахтой и грузонесущим устройством без стен и потолка
5.2.1.6.2 При нахождении уравновешивающего устройства (при его наличии) в крайнем верхнем положении, включая переподъем, длина направляющей должна быть такой, чтобы она позволяла осуществлять дальнейшее перемещение уравновешивающего устройства на расстоянии не менее 0,05 м.
5.3.1 Ловители
5.3.1.1 Общие положения
Грузонесущее устройство должно быть оборудовано ловителями. Ловители должны остановить и удержать движущееся вниз грузонесущее устройство с максимальной статической нагрузкой, определенной в таблице 3. Допускается не оборудовать ловителями:
1) платформы с гидравлическим приводом прямого действия (см. 5.4.9.12);
2) платформы с самотормозящимся приводом винт-гайка при наличии предохранительной гайки (см. 5.4.6);
3) платформы с приводом винт-гайка, оборудованные ограничителем скорости в соответствии с 5.3.2 и тормозной системой в соответствии с 5.4.2.2 или останавливающим устройством безопасности в соответствии с 5.4.6.1.3.
Если грузонесущее устройство приводится в движение направляемой цепью, ловители могут устанавливаться не на грузонесущее устройство при условии соблюдения требований 5.4.7 в отношении привода с направляемой цепью.
После срабатывания ловителей ослабление натяжения или каната, или цепи, или иного механизма, используемого для включения ловителей, не должно приводить к снятию с ловителей.
Ловители должны быть способны остановить и удержать грузонесущее устройство с максимальной статической нагрузкой на расстоянии не более 150 мм от места включения ловителей (касания направляющих).
Ловители должны взаимодействовать с направляющими или эквивалентным им элементом.
Любой вал, схватывающие элементы, клин или корпус, которые являются частью ловителей и которые подвергаются нагрузкам во время их работы, должны быть изготовлены из металла.
Срабатывание ловителей не должно вызывать перекос грузонесущего устройства более, чем на 5°.
При наличии привода трения ловители, имеющие дополнительную функцию защиты от превышения скорости поднимающегося вверх грузонесущего устройства, должны использоваться в соответствии с ГОСТ 33984.1-2016, пункт 5.6.6, если коэффициент балансировки превышает 5 %.
Для того чтобы обеспечить срабатывание ограничителя скорости прежде, чем будет достигнута опасная скорость грузонесущего устройства, максимальное расстояние между точками срабатывания на ограничители скорости не должно превышать 250 мм перемещения каната ограничителя скорости.
5.3.1.2 Приведение в действие ловителей
Ловители должны механически включаться посредством ограничителя скорости прежде, чем скорость платформы возрастет на 0,3 м/с. Ловители, установленные на противовесе, уравновешивающем грузе или на платформе с гидравлическим приводом непрямого действия, могут срабатывать от каната безопасности, который не зависит от элементов подвески и включает ловители при ослаблении или обрыве тягового каната или цепи. Канат безопасности должен соответствовать 5.3.2.2.
Если ограничитель скорости приводится в действие элементами подвески - цепью, ремнем, канатом или аналогичными элементами, то ловители также должны приводиться в действие механизмом, срабатывающим при обрыве или ослаблении элементов подвески.
5.3.1.3 Снятие с ловителей
После срабатывания ловителей снятие с ловителей должно осуществляться квалифицированным персоналом.
Снятие с ловителей грузонесущего устройства, противовеса или уравновешивающего груза должно быть возможно только при подъеме перечисленных узлов.
5.3.1.4 Доступность для осмотра
Ловители должны быть доступны для осмотра и проверок.
5.3.1.5 Электрический контроль
При срабатывании ловителей электрическое устройство безопасности, отвечающее требованиям 5.5.11, должно приводиться в действие ловителями и должно немедленно вызывать остановку привода и предотвращать его пуск.
5.3.2 Ограничитель скорости
5.3.2.1 Общие положения
Привод трения ограничителя скорости должен быть независим от главного привода трения платформы.
Ограничитель скорости, у которого усилие для приведения в действие ловителей создается только за счет трения между канатом и рабочим шкивом, должен иметь канавки, которые:
- были подвергнуты дополнительному процессу упрочнения; или
- были подрезаны в соответствии с ГОСТ 33984.4-2017, пункт 5.2.2.3.
Направление вращения, соответствующее срабатыванию ловителей, должно быть указано на ограничителе скорости одностороннего действия.
Если ограничитель скорости регулируется на предприятии-изготовителе, то окончательная настройка должна быть зафиксирована таким образом, чтобы было невозможно изменить настройку без нарушения фиксации.
Ограничитель скорости или другое устройство, посредством электрического устройства безопасности, отвечающим требованиям 5.5.11, должно вызывать остановку привода не позднее момента срабатывания ограничителя скорости.
Если после снятия с ловителей по 5.3.1 ограничитель скорости автоматически не возвращается в исходное состояние, то электрическое устройство безопасности, отвечающее требованиям 5.5.11, должно предотвращать движение грузонесущего устройства до приведения ограничителя скорости в исходное состояние.
Обрыв или превышение регламентированной вытяжки каната, приводящего в действие ограничитель скорости, должны вызывать остановку привода электрическим устройством безопасности, отвечающим требованиям 5.5.11.
Усилие в элементе (канат, ремень, рычаг), приводящем в действие ловители при срабатывании ограничителя скорости, должно быть не менее следующей величины:
- удвоенного значения, необходимого для приведения в действия ловителей, или;
- 300 Н.
5.3.2.2 Канат ограничителя скорости, канат безопасности
Канат ограничителя скорости должен быть стальным. Коэффициент запаса прочности каната ограничителя скорости, определенный как отношение разрывного усилия каната в целом к усилию, возникающему в нем при срабатывании ловителей, должен быть не менее 8:
1) при расчете усилия, возникающего в канате ограничителя скорости или канате безопасности при срабатывании ловителей, должен использоваться коэффициент трения, равный 0,2 между канатом, приводящим в действие ограничитель скорости, и шкивом ограничителя скорости;
2) отношение диаметра шкива или блока к диаметру огибаемого каната, приводящего в действие ограничитель скорости, должно быть не менее 25.
Для приведения в действие ограничителя скорости могут применяться иные элементы (например, цепь, зубчатый ремень и т.п.) при обеспечении уровня безопасности как при использовании стального каната.
5.3.2.3 Доступность
a) ограничитель скорости должен быть доступен для проверок и технического обслуживания;
b) если ограничитель скорости располагается в шахте, он должен быть не доступен для пользователей;
c) если ограничитель скорости располагается в шахте, он должен быть доступен для проверок и технического обслуживания снаружи шахты;
d) требования по перечислению с) допускается не выполнять, если соблюдены следующие условия:
1) обеспечена возможность дистанционно снаружи шахты приводить в действие ограничитель скорости для его испытания. При этом должно быть исключено непреднамеренное срабатывание ограничителя скорости. Применение беспроводных средств управления ограничителем скорости не допускается;
2) обеспечена возможность осуществлять проверки и техническое обслуживание ограничителя скорости с грузонесущего устройства или из приямка;
3) ограничитель скорости грузонесущего устройства, противовеса или уравновешивающего груза должен автоматически возвращаться в исходное положение после перемещения вверх соответственно грузонесущего устройства, противовеса или уравновешивающего устройства.
Электрические устройства безопасности, контролирующие работу ограничителя скорости, допускается возвращать в нормальное положение посредством дистанционного управления снаружи шахты, если это не влияет на работоспособность ограничителя скорости.
5.4.1 Общие положения
5.4.1.1 Системы привода
Выбранная система привода должна соответствовать одной из систем, указанных в 5.4.4-5.4.11.
5.4.1.2 Направление движения
Все типы систем привода, за исключением гидравлической, должны обеспечивать перемещение грузонесущего устройства в двух направлениях.
5.4.1.3 Редукторный привод
Коэффициенты безопасности, применяемые при расчете редукторных приводов, должны сохраняться в течение срока службы платформы с учетом возможного износа элементов привода.
Шкив, барабан, цилиндрическое зубчатое колесо, червяк и червячное колесо, тормозной барабан или диск, или его составная часть, не являющиеся неотъемлемой частью вала или приводного устройства, должны быть закреплены на валу или другом элементе привода одним из нижеперечисленных способов:
- призматическими шпонками;
- шлицевыми соединениями;
- поперечными штифтами.
Корпус редуктора не должен иметь перфорации.
5.4.1.4 Промежуточная передача привода
Если в качестве промежуточной передачи привода используется цепь или ремень, то должны выполняться следующие условия:
- редуктор находится на нагруженной стороне цепной или ременной передачи и
- или редуктор должен быть самотормозящимся; или
- тормоз должен находиться на нагруженной стороне цепной или ременной передачи и должно использоваться не менее двух ремней или цепей. Целостность цепи или ремня, а также ослабление ремня необходимо контролировать с помощью электрического устройства безопасности, отвечающего требованиям 5.5.11.
5.4.1.5 Две цепных промежуточных передачи
Если используются две промежуточных цепных передачи, то цепи каждой промежуточной передачи необходимо контролировать электрическим предохранительным устройством безопасности, отвечающим требованиям 5.5.11, которое отключает питание двигателя и тормоза в случае обрыва любой цепи.
5.4.1.6 Защита от нерегламентируемой вытяжки
Защита в случае нерегламентируемой вытяжки, слабины каната/плоского ремня или вытяжки цепи/зубчатого ремня должна быть обеспечена следующим образом:
a) в случае подвески грузонесущего устройства на двух канатах (ремнях) или цепях электрическое устройство безопасности, отвечающее требованиям 5.5.11, должно вызывать остановку привода в случае нерегламентируемой относительной вытяжки одного каната (ремня) или одной цепи;
b) в случае позитивного или гидравлического привода, если существует риск ослабления каната (ремня) или цепи, электрическое устройство безопасности, отвечающее требованиям 5.5.11, должно вызывать остановку привода в случае возникновения слабины.
После остановки привода возврат в режим "Нормальная работа" должен осуществлять квалифицированный персонал.
Для гидравлического привода с двумя или более гидроцилиндрами это требование распространяется на каждую подвеску.
5.4.1.7 Защита шкивов, блоков и звездочек
Для шкивов, блоков и звездочек должны быть предусмотрены меры для устранения рисков:
a) нанесения телесных повреждений;
b) схождения канатов/ремней/цепей в случае их слабины со шкивов/звездочек;
c) попадания предметов между канатами/ремнями/цепями и шкивами/звездочками.
Конструкцией ограждения должна быть предусмотрена возможность проведения работ по осмотру шкивов, блоков и звездочек без его разборки. Если в ограждении имеются отверстия, они должны соответствовать ГОСТ ISO 13857-2012, таблица 4.
Демонтаж ограждения допускается только в следующих случаях:
a) замена каната/плоского ремня/цепи/зубчатого ремня;
b) замена шкива/блока/звездочки;
c) при снятии шкива, блока или звездочки для повторной проточки канавок шкива или блока, или нарезки зубьев звездочки.
5.4.2 Тормозная система
5.4.2.1 Общие положения
Привод должен быть оборудован электромеханическим фрикционным тормозом нормально замкнутого типа (за исключением подъемных платформ с гидравлическим приводом, соответствующих 5.4.9), который автоматически срабатывает при прекращении питания:
a) от электросети;
b) к цепям управления платформы.
Тормоз должен быть способен плавно остановить грузонесущее устройство, движущееся с номинальной скоростью и с максимальной рабочей нагрузкой и удерживать его в неподвижном состоянии. Тормоз должен удерживать в неподвижном состоянии грузонесущее устройство с максимальной статической нагрузкой. Тормоз должен растормаживаться только при подаче питания на электродвигатель.
Не допускается использование ленточных тормозов.
5.4.2.2 Электромеханический тормоз
5.4.2.2.1 Общие положения
Тормозные накладки должны быть изготовлены из негорючего материала и должны быть закреплены таким образом, чтобы нормальный износ не ослаблял их крепления.
Срабатывание тормоза должно происходить без дополнительной временной задержки после размыкания цепи питания тормоза.
5.4.2.2.2 Тормоз должен состоять из двух систем торможения; все механические элементы тормоза, задействованные в процессе приложения усилия к тормозному барабану или диску, должны дублироваться. Каждая из систем торможения должна создавать усилие торможения, достаточное для остановки и удержания грузонесущего устройства, движущегося вниз с номинальной скоростью и номинальной нагрузкой и вверх с незагруженным грузоподъемным устройством.
Любой толкатель соленоида считается механической частью, а любая катушка соленоида нет.
5.4.2.2.3 В случае самотормозящихся приводных систем требования 5.4.2.2.2 могут не выполняться.
5.4.2.2.4 Если тормоз оборудован устройством для ручного растормаживания, то при прекращении воздействия на это устройство действие тормоза должно автоматически восстанавливаться. Растормаживание может проводиться посредством механического устройства (например, рычага) или путем подачи электропитания от перезаряжаемого аварийного источника питания (источник бесперебойного питания).
5.4.2.2.5 В случае привода трения, при расторможенном вручную тормозе и нахождении на грузонесущем устройстве груза массой:
- не более чем (q - 0,1) x Q, или
- не менее чем (q + 0,1) x Q,
где q - коэффициент уравновешивания, указывающий величину уравновешивания номинальной грузоподъемности противовесом;
Q - номинальная грузоподъемность
должно быть возможным перемещение грузонесущего устройства на ближайшую посадочную площадку:
a) или под действием силы тяжести;
b) или вручную посредством:
1) или механического устройства, имеющегося на месте эксплуатации платформы;
2) или электрическим средством, электропитание на которое подается от источника питания, не зависимого от основного источника питания привода.
5.4.2.2.6 Тормозная колодка или тормозной диск должны приводиться в действие пружинами сжатия или грузами.
5.4.2.2.7 Между тормозным барабаном (диском) и канатоведущим шкивом, или шкивом трения, или барабаном, или звездочкой, или зубчатым шкивом, или гайкой, или винтом должна быть неразмыкаемая кинематическая связь, за исключением случая, когда конечный элемент привода является самотормозящимся или используется система с двумя промежуточными цепными передачами по 5.4.1.5.
В случае использования тормоза, непосредственно воздействующего на несущую гайку, самоконтроль должен включать проверку правильного подъема или опускания тормозных элементов или проверку тормозного усилия. При обнаружении неисправности должен быть предотвращен следующий нормальный пуск грузонесущего устройства.
5.4.2.2.8 Прерывание подачи тока на тормоз должно проводиться не менее чем двумя независимыми друг от друга электрическими устройствами, теми же, которые прерывают подачу электрического тока к приводу. Если один из контакторов не разомкнул основные контакты, пока грузоподъемное устройство находится на остановке, то дальнейшее его движение должно быть предотвращено не позднее следующего изменения направления движения.
Срабатывание тормоза должно происходить без временной задержки после размыкания цепи питания тормоза.
Примечание - Пассивно действующий электрический компонент, который снижает искрение (например, диод, конденсатор или варисторы), не рассматривают как средство задержки.
5.4.2.2.9 Если двигатель привода работает в режиме генератора, электрические устройства, приводящие в действие тормоз, не должны питаться от этого двигателя.
5.4.2.3 Точность остановки/выравнивания
В режиме нормальной работы:
- точность остановки грузонесущего устройства должна быть ± 10 мм;
- зона повторного выравнивания должна быть ± 20 мм.
Тормозной путь при срабатывании электрического устройства безопасности, отвечающего требованиям 5.5.11, должен быть не более 20 мм.
5.4.3 Перемещение грузонесущего устройства для освобождения пользователя
5.4.3.1 Общие положения
Должна быть предусмотрена возможность перемещения грузонесущего устройства для освобождения пользователя в непредвиденных ситуациях, в том числе и при отключении питания платформы.
В такой ситуации время перемещения грузонесущего устройства до ближайшей посадочной площадки, где может быть открыта дверь шахты, или при отсутствии шахты до нижней посадочной площадки, должно быть не более 15 мин.
Действия по освобождению находящегося на грузоподъемном устройстве пользователя должны осуществляться только компетентным персоналом, находящимся вне шахты или вне зоны траектории движения грузонесущего устройства. При этом должен осуществляться контроль за перемещением грузонесущего устройства.
Во время ручного перемещения грузонесущего устройства посредством штурвала или иного приспособления электрическое устройство безопасности, отвечающее требованиям 5.5.11, должно предотвращать работу органов управления, используемых в режиме "Нормальная работа".
Если средство для ручного перемещения грузонесущего устройства (например, штурвал или маховик) может быть приведено во вращение движением грузонесущего устройства, то оно должно быть гладким и без спиц. Съемное средство для перемещения грузонесущего устройства должно находиться в легко доступном месте в пространстве для размещения оборудования.
Если ручное усилие, необходимое для перемещения грузонесущего устройства с максимальной рабочей нагрузкой, превышает 30 Н при наложенном тормозе, то должно быть предусмотрено устройство для ручного растормаживания тормоза. При прекращении воздействия на это устройство действие тормоза должно автоматически восстанавливаться. Контроль за перемещением грузонесущего устройства должен осуществляться при любых обстоятельствах.
Операции по освобождению пользователей платформ с гидравлическим приводом должны отвечать требованиям 5.4.9.16.
При перемещении грузонесущего устройства для освобождения пользователя в качестве альтернативы для обеспечения работы привода может использоваться резервный источник питания. Резервный источник питания должен быть способен переместить грузонесущее устройство с максимальной рабочей нагрузкой на уровень посадочной площадки. В этом случае также должна быть исключена работа органов управления, используемых в режиме "Нормальная работа".
При перемещении грузонесущего устройства для освобождения при помощи резервного источника питания должны быть выполнены следующие условия:
a) максимальная скорость перемещения грузонесущего устройства не более 0,05 м/с;
b) перемещение должно быть возможным только при удержании элемента управления;
c) допускается шунтирование следующих электрических устройств безопасности, контролирующих:
1) натяжение канатов/ремней/цепей/зубчатых ремней;
2) ловители и ограничитель скорости;
3) кромки безопасности, фотоэлементы, световой барьер;
4) кнопку "Стоп".
При использовании в качестве резервного источника питания дополнительной батареи/аккумулятора:
a) или должны быть предусмотрены средства, информирующие обслуживающий персонал о том, что заряд батареи/аккумулятора ниже, чем это необходимо для перемещения грузонесущего устройства;
b) или должна быть информация для обслуживающего персонала о том, что дополнительная батарея/аккумулятор должна быть заменена по истечении определенного периода времени, определенного изготовителем.
5.4.3.2 Средства приведения в действие (включения) режима освобождения пользователя
Средства приведения в действие (включения) режима освобождения пользователя должны располагаться:
- или в контроллере (шкафу управления);
- или на панели для проведения освобождения и испытаний.
5.4.3.3 Информация о направлении движения
Если для перемещения грузонесущего устройства требуется вращение какого-либо элемента, то направление движения грузонесущего устройства должно быть четко указано рядом с этим элементом.
При применении несъемного элемента направление движения может быть указано непосредственно на нем.
5.4.4 Дополнительные требования к приводу с зубчато-реечной передачей
5.4.4.1 Общие положения
Грузонесущее устройство должно удерживаться, подниматься или опускаться посредством одной или нескольких шестерен, входящих в зацепление с зубчатой рейкой. Привод должен осуществляться с помощью одного или нескольких двигателей.
Должны быть приняты меры для предотвращения попадания посторонних предметов между каждой приводной шестерней или шестерней устройства безопасности и зубчатой рейкой.
5.4.4.2 Распределение нагрузки
При наличии нескольких взаимодействующих с рейкой ведущих шестерен для эффективного распределения нагрузки на каждую ведущую шестерню должно быть предусмотрено устройство, автоматически выравнивающее нагрузку между шестернями, либо приводная система должна быть спроектирована таким образом, чтобы обеспечить равномерное распределение нагрузки между шестернями.
5.4.4.3 Шестерня
Ведущая шестерня должна быть рассчитана с коэффициентом запаса не менее 2 по изгибной прочности зуба и 1,4 по контактной прочности зуба. Коэффициенты запаса прочности должны сохраняться при динамической нагрузке, износе и усталостных напряжениях, которые могут возникнуть в течение расчетного срока службы ведущей шестерни и связанных с ней компонентов, указанного изготовителем в руководстве по эксплуатации. Подрез зубьев недопустим. Шестерня должна быть закреплена на выходном валу в соответствии с 5.4.1.3.
5.4.4.4 Зубчатая рейка
5.4.4.4.1 Секции рейки должны быть надежно закреплены. Стыки реек должны быть точно выровнены для предотвращения сбоя зацепления или поломки зуба ведущей шестерни.
5.4.4.4.2 Рейка должна быть изготовлена из материала, имеющего свойства, соответствующие свойствам шестерни с точки зрения износа.
Рейка должна быть рассчитана с коэффициентом запаса не менее 2 по изгибной прочности зуба. Если рейка подвергается сжимающей нагрузке, коэффициент запаса по продольному изгибу должен быть не менее 3. Коэффициенты запаса прочности должны сохраняться при динамической нагрузке, износе и усталостных напряжениях, которые могут возникнуть в течение расчетного срока службы, указанного изготовителем в руководстве по эксплуатации.
5.4.4.5 Зацепление шестерня-рейка
5.4.4.5.1 Должны быть предусмотрены средства, обеспечивающие правильное зацепление рейки со всеми приводными шестернями и шестерней ловителей при любой загрузке грузонесущего устройства. Эти средства не должны зависеть от башмаков скольжения или роликовых башмаков.
Диаметр делительной окружности шестерни должен совпадать с делительной прямой рейки. Максимальный допуск несовпадения - 1/3 модуля зацепления.
5.4.4.5.2 Должны быть предусмотрены средства, обеспечивающие при выходе из строя средств, предусмотренных в соответствии с 5.4.4.5.1, отклонение диаметра делительной окружности шестерни отделительной прямой рейки не более чем 2/3 модуля зацепления.
5.4.4.5.3 Должны быть предусмотрены средства для обеспечения постоянного полного контакта зубьев рейки по всей их ширине с зубьями шестерни.
5.4.4.5.4 Должны быть предусмотрены средства, обеспечивающие в случае выхода из строя средств, указанных в 5.4.4.5.3, чтобы не менее 90 % ширины зуба рейки находилось в зацеплении с зубьями шестерни.
5.4.4.5.5 Зубья шестерни и зубья рейки должны располагаться параллельно друг другу. Отклонение не более ± 0,5°.
5.4.5 Дополнительные требования к канатам, плоским ремням, зубчатым ремням, цепному приводу и фрикционному приводу
5.4.5.1 Общие положения
Допускаются следующие типы приводов с тяговыми элементами:
a) использование барабана и канатов;
b) использование звездочек и цепей;
c) использование канатоведущего шкива и канатов;
d) использование барабана трения и плоских ремней;
e) использование зубчатого шкива и зубчатых ремней.
5.4.5.2 Канаты, цепи, плоские ремни и зубчатые ремни
5.4.5.2.1 Грузонесущее устройство, противовес или уравновешивающий груз должны быть подвешены на стальных канатах или на плоских/зубчатых ремнях с кордом из стальных проволок, или стальных цепях с параллельными звеньями (цепь Галля) или роликовых цепях.
5.4.5.2.2 Номинальный диаметр каната должен быть не менее 5 мм.
5.4.5.2.3 Плоский ремень должен соответствовать следующим требованиям:
- проволоки из углеродистой или легированной стали, применяемой для корда, должны иметь предел прочности на разрыв от 1570 Н/мм 2 до 3500 Н/мм 2;
- стальные проволоки или корд могут иметь антикоррозионное покрытие.
5.4.5.2.4 Цепи должны соответствовать требованиям ГОСТ 13568.
5.4.5.2.5 Зубчатые ремни должны обеспечивать уровень безопасности не ниже, чем при использовании стальных канатов.
5.4.5.2.6 Коэффициент запаса прочности тяговых элементов должен быть не менее:
- 12 для канатов, плоских и зубчатых ремней;
- 10 для цепей.
Коэффициент запаса прочности определен как отношение минимального разрывного усилия тягового элемента к максимальной нагрузке, действующей на этот элемент при нахождении грузонесущего устройства с номинальной нагрузкой на нижней посадочной площадке.
Для платформ с позитивным и гидравлическим приводом коэффициент запаса прочности для тягового элемента подвески уравновешивающего груза определяется как отношение минимального разрывного усилия тягового элемента к максимальной нагрузке, действующей на этот элемент от массы уравновешивающего груза.
5.4.5.2.7 Минимальное число тяговых элементов должно быть равно двум. Тяговые элементы должны быть независимыми.
5.4.5.3 Заделка канатов/цепей/плоских ремней/зубчатых ремней
5.4.5.3.1 Заделка концов канатов/плоских ремней/зубчатых ремней/цепей при их креплении к грузонесущему устройству, противовесу (уравновешивающему устройству) или точкам подвески неподвижной ветви полиспаста должна выдерживать не менее 80 % минимального разрывного усилия канатов/плоских ремней/зубчатых ремней/цепей.
5.4.5.3.2 Концы канатов/плоских ремней должны быть прикреплены к грузонесущему устройству, противовесу (уравновешивающему грузу) или к точкам подвешивания оконечных частей запасованных канатов/ремней посредством самозатягивающихся клинообразных муфт, зажимных хомутов или обжимных наконечников.
5.4.5.3.3 Устройства для регулировки длины канатов/плоских ремней/зубчатых ремней/цепей должны быть выполнены таким образом, чтобы эти устройства не могли самостоятельно ослабляться после регулировки.
5.4.5.4 Блоки, барабаны и звездочки
5.4.5.4.1 Отношение между диаметром делительной окружности (расчетным диаметром) шкивов, блоков или барабанов и номинальным диаметром тяговых канатов должно быть не менее 25, независимо от числа прядей.
5.4.5.4.2 Отношение между диаметром делительной окружности (расчетным диаметром) барабанов и номинальным диаметром корда ремней должно быть не менее 40, независимо от числа прядей.
5.4.5.4.3 Барабан должен иметь нарезанные по винтовой линии канавки, соответствующие диаметру каната. На барабан должен быть намотан только один слой каната. При нахождении грузонесущего устройства на его упорах в канавках барабана должно оставаться не менее полутора запасных витков каждого закрепленного на барабане каната. Угол отклонения канатов относительно оси канавок должен быть не более 4°.
5.4.5.4.4 Крепление канатов к барабану следует выполнять посредством заклинивания или с использованием не менее двух прижимных планок, или любым другим способом, обеспечивающим эквивалентный уровень безопасности.
5.4.5.4.5 Все приводные звездочки должны быть изготовлены из металла и иметь не менее 16 обработанных на металлорежущем станке зубьев. В зацеплении должно быть не менее 8 зубьев. Минимальный угол зацепления должен быть 140°.
5.4.5.4.6 Все приводные зубчатые шкивы должны быть изготовлены из металла и иметь не менее 24 зубьев. В зацеплении должно быть не менее 12 зубьев. Минимальный угол зацепления должен быть 140°.
5.4.5.4.7 Должны быть предусмотрены средства для предотвращения заклинивания из-за исчезновения натяжения или ослабления цепи/зубчатого ремня и для предотвращения схода или перескакивания цепи/зубчатого ремня по зубьям звездочек/зубчатых шкивов.
Должна быть предусмотрена защита, предотвращающая опасность захвата между звездочкой/зубчатым шкивом и цепью/зубчатым ремнем и любыми другими частями платформы.
5.4.5.5 Распределение нагрузки между тяговыми элементами
5.4.5.5.1 Автоматическое устройство, обеспечивающее выравнивание натяжения между тяговыми элементами, должно быть предусмотрено по крайней мере на одном из их концов.
5.4.5.5.2 Для цепей/зубчатых ремней, взаимодействующих со звездочками/зубчатыми шкивами, концы, закрепленные на грузонесущем устройстве, а также концы, закрепленные на уравновешивающем грузе, должны быть оснащены такими выравнивающими устройствами.
5.4.5.5.3 При установке на один вал нескольких отводных звездочек/шкивов эти звездочки/шкивы должны вращаться независимо друг от друга.
5.4.5.5.4 Если для распределения нагрузки используют пружины, то они должны работать на сжатие.
5.4.5.6 Средства защиты для предотвращения свободного падения, превышения скорости, непреднамеренного движения и сползания грузонесущего устройства - общие положения
5.4.5.6.1 Средства или комбинация средств и устройств приведения их в действие должны защищать грузоподъемное устройство от:
a) свободного падения;
b) превышения номинальной скорости грузонесущего устройства при движении вниз или движении вверх и вниз для платформ с приводом трения;
c) непреднамеренного движения с открытыми дверями шахты.
5.4.5.6.2 Для платформ с приводом трения и позитивным приводом должны быть предусмотрены средства защиты в соответствии с таблицей 4.
|
Опасная ситуация |
Средства защиты |
Устройства, приводящие в действие средства защиты |
|
Свободное падение или превышение скорости при движении грузонесущего устройства в направлении вниз |
Ловители по 5.3.1 |
Ограничитель скорости по 5.3.2 |
|
Свободное падение противовеса или уравновешивающего груза при наличии под приямком платформы пространства (помещения), доступного для людей |
Ловители по 5.3.1 |
Ограничитель скорости по 5.3.2 или устройство, срабатывающее от обрыва или ослабления тяговых элементов, или канат безопасности |
|
Превышение скорости при движении в направлении вверх (только для платформ с приводом трения) |
См. 5.4.13 |
Устройство защиты от превышения скорости грузоподъемного устройства вверх по 5.4.13 |
|
Непреднамеренное движение грузонесущего устройства с открытыми дверями шахты для платформ с системами выравнивания или повторного выравнивания |
Устройство, защищающее от непреднамеренного движения грузонесущего устройства, или самодиагностируемая система привода |
Защита от непреднамеренного движения грузонесущего устройства должна быть выполнена в соответствии с ГОСТ 33984.1-2016, пункт 5.6 |
5.4.6 Дополнительные требования для привода с передачей винт-гайка
5.4.6.1 Средства защиты против свободного падения и превышения скорости при движении вниз грузонесущего устройства
5.4.6.1.1 Средства защиты или их комбинация при их срабатывании в соответствии с таблицей 5 должны предотвратить:
a) свободное падение грузонесущего устройства, или
b) превышение скорости при движении вниз грузонесущего устройства.
|
Свободное падение |
Превышение скорости при движении вниз |
|
Ловители, соответствующие 5.3.1 |
Ограничитель скорости, соответствующий 5.3.2 |
|
Предохранительная гайка по 5.4.6.1.4 |
- или останавливающее устройство безопасности в соответствии с 5.4.6.1.3, срабатывающее от ограничителя скорости, соответствующего 5.3.2; - или ограничитель скорости, соответствующий 5.3.2, в сочетании с тормозной системой в соответствии с 5.4.2.2 *; - или самотормозящаяся передача винт-гайка |
|
* В этом случае тормоз должен быть спроектирован так, чтобы затормозить, остановить и удержать грузонесущее устройство с номинальным грузом, движущееся вниз на скорости срабатывания ограничителя скорости. | |
5.4.6.1.2 Коэффициент трения, принимаемый при расчете самотормозящейся передачи винт-гайка, должен быть не более 0,06.
Примечание - Вышеуказанная цифра основана на коэффициенте трения 0,075 и коэффициенте безопасности 1,25.
5.4.6.1.3 Останавливающее устройство безопасности
5.4.6.1.3.1 Останавливающее устройство безопасности в случае, предусмотренном 5.4.6.1.1, должно отвечать следующим требованиям:
a) останавливающее устройство безопасности должно срабатывать только при движении вниз;
b) останавливающее устройство безопасности должно быть способно блокировать вращение гайки относительно винта или наоборот, остановить и удержать в неподвижном состоянии грузонесущее устройство при его движении со скоростью срабатывания ограничителя скорости и при нахождении на грузонесущем устройстве максимальной рабочей нагрузки.
5.4.6.1.3.2 Останавливающее устройство безопасности должно быть плавного торможения.
5.4.6.1.3.3 Останавливающее устройство безопасности не должно приводиться в действие механизмами с электрическим, гидравлическим или пневматическим приводом.
5.4.6.1.3.4 При срабатывании останавливающего устройства безопасности среднее замедление при торможении с максимальной рабочей нагрузкой грузонесущего устройства, опускающегося со скоростью по 5.3.1.2, должно составлять от 0,2 g до 1,0 g (от 1,96 до 9,81 м/с 2).
5.4.6.1.3.5 Снятие воздействия останавливающего устройства безопасности должно быть возможным только при подъеме грузонесущего устройства. После снятия воздействия останавливающее устройство безопасности должно вернуться в нормальное рабочее состояние.
5.4.6.1.3.6 Если останавливающее устройство безопасности регулируется, то окончательная настройка должна быть зафиксирована таким образом, чтобы было невозможно изменить настройку без нарушения фиксации.
5.4.6.1.3.7 После срабатывания останавливающего устройства безопасности пол грузонесущего устройства с равномерно распределенной номинальной нагрузкой или без нее не должен отклоняться от горизонтали более, чем на 5°.
5.4.6.1.3.8 При включении останавливающего устройства безопасности электрическое устройство безопасности, отвечающее требованиям 5.5.11, должно вызывать остановку привода, если грузонесущее устройство движется вниз, и препятствовать его запуску в этом направлении.
5.4.6.1.3.9 Останавливающее устройство безопасности рассматривается в качестве компонента безопасности и проверяется в соответствии с требованиями ГОСТ 34682.3-2020, приложение Б.1.
5.4.6.1.4 Предохранительная гайка
Должна быть предусмотрена дополнительная ненагруженная предохранительная гайка, расположенная на грузонесущем устройстве и обеспечивающая, указанную в 5.3.1, эквивалентную степень безопасности в случае выхода из строя несущей гайки.
Выход из строя (отказ) несущей гайки должен:
- или активировать электрическое устройство безопасности, отвечающее требованиям 5.5.11, которое должно вызывать отключение питания двигателя и тормоза;
- или механически отсоединить предохранительную гайку от привода.
После выхода из строя несущей гайки вращение предохранительной гайки должно предотвращаться за счет самоторможения передачи винт-гайка либо за счет принудительного внешнего воздействия.
После выхода из строя несущей гайки на предохранительную гайку не должен воздействовать ни двигатель, ни тормоз привода.
Должна быть предусмотрена защита электрического устройства безопасности от воздействия загрязнения и вибрации.
5.4.6.1.5 Электронное обнаружение превышения скорости
Структура системы безопасности должна быть такой, чтобы обнаруживалась любая случайная неисправность и система переходила в безопасное состояние (SIL 2) в соответствии с 5.5.11.
Примечание - Уровень встроенной безопасности (Safety Integration Level, SIL - это разумный уровень (один из трех) для точного определения требований степени (полноты) безопасности назначенных функций безопасности программируемых электронных блокировок системы, в которой уровень 3 - высший уровень, а уровень 1 - низший.
5.4.6.2 Привод платформы
5.4.6.2.1 Допускается только привод прямого действия.
Если используется несколько винтов и гаек, то наклон грузонесущего устройства не допускается ни при загрузке, ни при движении. Если при подъеме грузонесущего устройства его наклон будет больше чем 1 %, то подъем грузонесущего устройства должен быть остановлен.
5.4.6.2.2 Общие требования к винту
5.4.6.2.2.1 Должны быть предусмотрены надежные механические средства для предотвращения расстыковки секций многосекционного винта. Должна быть обеспечена соосность секций для обеспечения правильности резьбового соединения или предотвращения поломки гайки. Должна быть предусмотрена возможность проверки стыков секций винта.
5.4.6.2.2.2 Расчет винта
Коэффициент запаса прочности винта при растяжении должен быть не менее 5. При расчете учитываются максимальные нагрузки и вращающий момент, создаваемые приводом и грузонесущим устройством. Коэффициент запаса прочности в верхнем соединении должен быть не менее 5 при максимальной растягивающей нагрузке.
Коэффициент запаса прочности винта по продольному изгибу должен быть не менее 3 при максимальной сжимающей нагрузке на максимальной длине винта.
5.4.6.2.3 Общие требования к гайке
5.4.6.2.3.1 Материал несущей гайки должен иметь меньшую твердость, чем сопрягаемый винт.
5.4.6.2.3.2 Должна быть предусмотрена возможность проверки и определения износа несущей гайки. Критерии проверки должны быть подробно изложены в руководстве по эксплуатации.
5.4.6.2.3.3 Расчет гайки
Коэффициент запаса прочности несущей гайки с учетом ее максимального износа при максимальной рабочей нагрузке и максимальном крутящем моменте должен быть не менее 5 относительно предела прочности на растяжение.
Коэффициент запаса прочности предохранительной гайки и ее соединения с грузонесущим устройством при максимальной рабочей нагрузке и максимальном крутящем моменте с учетом динамических нагрузок, возникающих при разрушении несущей гайки, должен быть не менее 5 относительно предела прочности на растяжение.
5.4.6.2.4 Соединение грузонесущего устройства с несущей гайкой
5.4.6.2.4.1 Если на винт действует усилие сжатия, то между несущей гайкой и грузонесущим устройство должно быть гибкое (шарнирное) соединение.
5.4.6.2.4.2 Должны быть предусмотрены средства, предотвращающие нарушение механической связи между грузонесущим устройством и несущей гайкой.
5.4.7 Дополнительные требования для привода с направляемой цепью
5.4.7.1 Общие требования
5.4.7.1.1 Введение
Грузонесущее устройство должно поддерживаться, подниматься и опускаться с помощью одной или нескольких цепей, приводимых в действие с помощью одного или нескольких приводов.
Должны быть приняты меры для предотвращения проникновения инородных тел между цепью и сопряженными с ней элементами.
5.4.7.1.2 Вал, звездочки и ловители
Все звездочки и ловители по 5.4.7.2.3 должны быть надежно закреплены на выходном валу в соответствии с 5.4.1.3.
5.4.7.1.3 Распределение нагрузки
Если применены несколько приводов, то кинематическая связь между приводными звездочками должна быть обеспечена средствами согласно 5.4.1.3.
5.4.7.1.4 Звездочки
Каждая звездочка должна быть сконструирована с учетом прочности зубьев и их выкрашивания, а также должны учитываться требования 5.1.10.3, касающиеся анализа усталостных напряжений.
Каждая звездочка должна иметь минимальный коэффициент запаса прочности 2,0 относительно предела усталости зубьев с учетом максимального износа, указанного в руководстве по эксплуатации изготовителя.
Каждая звездочка должна иметь минимальный коэффициент запаса прочности 1,4 относительно предела усталости при выкрашивании зубьев.
5.4.7.1.5 Направляющие элементы цепи
Цепь должна иметь направляющую по всей длине, чтобы передавать как растягивающую, так и сжимающую нагрузку.
Все приводные звездочки должны быть изготовлены из металла и иметь не менее 16 механически обработанных зубьев. В зацеплении должно быть не менее 8 зубьев.
При проектировании направляющих элементов, которые ограничивают перемещение цепи по оси X (см. рисунок 3) не учитывается износ диаметра ролика цепи более 5 %.
При проектировании направляющих элементов, которые ограничивают перемещение цепи по оси Z (см. рисунок 3) не учитывается износ ширины внутреннего ролика цепи менее 15 %.

1 - направляющий элемент
Рисунок 3 - Направляющие элементы цепи
5.4.7.1.6 Направляемая цепь
Цепь должна быть роликовой, отвечать требованиям ГОСТ 13568 и быть предварительно растянутой при нагрузке 50 % от предела прочности на разрыв.
Коэффициент запаса прочности цепи, являющейся элементом трансмиссии, должен быть не менее 3 относительно предела прочности на растяжение.
5.4.7.1.7 Расчет по продольному изгибу
Элементы направляющих цепи при сжимающих нагрузках с учетом максимального износа в соответствии с 5.4.7.1.5 должны быть спроектированы таким образом, чтобы при максимальной сжимающей нагрузке на максимальной длине направляющих элементов от грузоподъемного устройства с максимальной рабочей нагрузкой обеспечивался коэффициент запаса прочности не менее 3 по продольному изгибу.
5.4.7.2 Привод
5.4.7.2.1 Общие положения
Каждый узел привода должен быть спроектирован с учетом усилий, возникающих в цепи при движении грузонесущего устройства в любом направлении. Анализ усталостных напряжений проводится по 5.1.10.3
5.4.7.2.2 Привод
Грузонесущее устройство должно приводиться в движение не менее чем одним приводом.
Двигатель должен быть присоединен к приводу при помощи неразмыкаемой кинематической связи, отвечающей требованиям 5.4.1.3, и не должен отсоединяться от нее.
5.4.7.2.3 Ловители
Грузонесущее устройство должно быть снабжено ловителями, способными остановить движущееся вниз на скорости срабатывания ограничителя скорости грузонесущее устройство с максимальной рабочей нагрузкой. Ловители могут быть расположены непосредственно на приводе (приводном блоке, модуле), если имеется жесткая кинематическая связь между узлами привода в соответствии с 5.4.1.3.
5.4.8 Дополнительные требования для привода механизма подъема ножничного типа
Изложенные в настоящем стандарте требования ко всем типам приводов должны в равной степени применяться к приводу, приводящему в действие механизм подъема ножничного типа.
5.4.9 Дополнительные требования к гидравлическому приводу
5.4.9.1 Основные положения
Возможны два следующих варианта привода
a) прямого действия;
b) непрямого действия.
Если для подъема грузонесущего устройства используется несколько гидроцилиндров, то они должны быть гидравлически соединены для обеспечения уравнивания давления.
Для привода непрямого действия применимы требования 5.4.5.2 и 5.4.5.3.
5.4.9.2 Гидроцилиндр
5.4.9.2.1 Расчет давления
Цилиндр и поршень должны быть спроектированы таким образом, чтобы при усилии, возникающем при давлении, превышающем в 2,3 раза давление от полной нагрузки, коэффициент запаса прочности был не менее 1,7 относительно предела текучести R P0,2.
Для расчета элементов телескопических гидроцилиндров с гидравлической синхронизацией давление от полной нагрузки заменяется самым высоким давлением, которое возникает в элементе за счет гидравлической синхронизации. Должна быть учтена вероятность возникновения аномально высокого давления из-за неправильной настройки гидравлической синхронизации во время монтажа.
При расчете толщины добавляется значение 1,0 мм для стенки и основания цилиндра и 0,5 мм для стенки полого штока простых и телескопических гидроцилиндров.
Расчет должен быть выполнен в соответствии с ГОСТ 33984.4-2017, пункты 5.4.1 и 5.4.2.
5.4.9.2.2 Расчет по потере устойчивости при продольном изгибе
Гидроцилиндр под действием сжимающей нагрузки должен полностью отвечать следующим требованиям:
- в полностью выдвинутом положении поршня и под действием сил, обусловленных давлением, превышающим в 1,4 раза давление от полной нагрузки, обеспечивает коэффициент запаса прочности не менее двух по потери устойчивости;
- расчет должен быть выполнен в соответствии с ГОСТ 33984.4-2017, пункт 5.4.3.
5.4.9.2.3 Расчет напряжений при растяжении
Гидроцилиндр должен быть спроектирован так, чтобы под действием растягивающих нагрузок, возникающих при давлении, превышающем в 1,4 раза давление от полной нагрузки, коэффициент запаса прочности был не менее 2 относительно предела текучести R P0,2.
5.4.9.2.4 Ограничение хода поршня
Должны быть предусмотрены средства для остановки поршня в конце его перемещения. Конструкция упора должна быть такой, чтобы среднее замедление грузонесущего устройства не превышало 9,81 м/с 2 и чтобы в случае привода непрямого действия замедление не приводило к ослаблению каната или цепи.
5.4.9.2.5 Средства защиты
Если гидроцилиндр расположен ниже уровня пола шахты, то он должен быть установлен в защитную трубу. Если гидроцилиндр частично расположен в других пространствах, то он должен быть надлежащим образом защищен. Установка гидроцилиндра должна быть выполнена таким образом, чтобы можно легко проверить гидроцилиндр на предмет наличия коррозии.
Таким же образом должны быть защищены:
a) разрывной клапан(ы)/дроссель(и);
b) жесткий трубопровод, соединяющий разрывной клапан(ы)/дроссель(и) с цилиндром;
c) жесткий трубопровод, соединяющий разрывные клапаны/дроссели друг с другом.
Должен быть обеспечен сбор подтекающей и соскабливаемой с головки цилиндра жидкости.
Гидроцилиндр должен быть оборудован устройством для выпуска воздуха в атмосферу.
5.4.9.3 Соединение грузонесущего устройства с поршнем/цилиндром
5.4.9.3.1 В случае гидравлического привода прямого действия, кроме привода механизма подъема ножничного типа, соединение между грузонесущим устройством и поршнем/цилиндром должно быть таким, чтобы все силы действовали на поршень/цилиндр по его оси.
Соединение между механизмом подъема ножничного типа и поршнем/цилиндром должно быть таким, чтобы все силы действовали на поршень/цилиндр по его оси.
5.4.9.3.2 Соединение между грузонесущим устройством и поршнем (цилиндром) должно быть выполнено так, чтобы выдерживать вес поршня (цилиндра) с учетом динамических нагрузок. Соединение должно быть надежно закреплено.
5.4.9.3.3 В том случае, если поршень состоит из более чем одной секции, соединение между секциями должно быть выполнено таким образом, чтобы выдерживать вес подвешенных секций поршня с учетом дополнительных динамических нагрузок.
5.4.9.3.4 В случае гидравлического привода непрямого действия оголовок плунжера (цилиндра) должен перемещаться по направляющим.
Это требование не применимо к натяжным гидроцилиндрам при условии, что натяжное приспособление препятствует воздействию изгибающих сил на поршень.
5.4.9.3.5 В случае гидравлического привода непрямого действия ни одна из частей направляющей системы головки поршня не должна находиться в пределах вертикальной проекции грузонесущего устройства.
5.4.9.4 Телескопические гидроцилиндры
При применении телескопических гидроцилиндров дополнительно должны быть выполнены следующие требования:
5.4.9.4.1 Между последовательными секциями должны быть установлены упоры для предотвращения выхода поршней из соответствующих цилиндров.
5.4.9.4.2 Длина опоры каждой секции телескопического гидроцилиндра без внешней направляющей должна по меньшей мере в два раза превышать диаметр соответствующего поршня.
5.4.9.4.3 Гидроцилиндры должны быть снабжены механическим или гидравлическим средством синхронизации.
5.4.9.4.4 Если в качестве средства синхронизации применены канаты или цепи, то должны быть выполнены перечисленные ниже условия:
a) обязательное наличие по меньшей мере двух независимых канатов или цепей;
b) блоки и звездочки должны иметь ограждения;
c) коэффициент запаса прочности должен быть не менее чем:
12 - для канатов;
10 - для цепей.
Коэффициент запаса прочности определяется отношением между минимальной разрывной нагрузкой одного каната или цепи и максимальным усилием, действующим на этот канат или цепь.
При расчете максимального усилия необходимо учесть:
1) усилие, создаваемое давлением полной нагрузки;
2) число канатов (или цепей).
Должно быть устройство, которое препятствует превышению скорости движущегося вниз грузонесущего устройства более чем на 0,15 м/с по отношению к номинальной скорости движения в случае неисправности устройства синхронизации.
5.4.9.5 Трубопровод
5.4.9.5.1 Общие положения
Трубы и фитинги, находящиеся под давлением (соединения, клапаны и т.п.), будучи в общем случае компонентами гидравлической системы, должны:
- соответствовать используемой гидравлической жидкости;
- спроектированы и установлены таким образом, чтобы исключить любое напряжение вследствие крепления, перекоса или вибрации;
- защищены от повреждений, в частности повреждений механического характера.
Трубы и фитинги должны быть надежно закреплены и доступны для осмотра. Если трубы (жесткие или гибкие) проходят через стены или пол, они должны быть защищены посредством муфт, размеры которых позволяют производить при необходимости демонтаж труб. Никакие соединения не должны находиться внутри муфты.
5.4.9.5.2 Жесткие трубопроводы
Жесткие трубы и фитинги между цилиндром и обратным клапаном(ами) или клапаном(ами), регулирующим(и) движение в направлении вниз, должны быть сконструированы таким образом, чтобы под действием сил, создаваемых давлением, превышающем в 2,3 раза давление от полной нагрузки, обеспечивался коэффициент запаса прочности не менее 1,7 по отношению к пределу текучести R P0,2.
При расчетах толщины должно быть добавлено значение 1,0 мм для соединения между цилиндром и разрывным клапаном, в случае его использования, и значение 0,5 мм для других жестких труб.
Расчеты должны быть выполнены в соответствии с ГОСТ 33984.4-2017, пункт 5.4.1.
Для телескопических гидроцилиндров, имеющих более двух секций и гидравлическое средство синхронизации, дополнительный коэффициент запаса прочности, равный 1,3, следует учитывать при расчете труб и фитингов между разрывным клапаном и обратным клапаном или клапаном(ами) движения вниз.
Трубы и фитинги, в случае их использования между цилиндром и разрывным клапаном, следует рассчитывать на тоже давление, что и цилиндр.
5.4.9.5.3 Гибкие трубопроводы
Гибкий трубопровод между цилиндром и обратным клапаном или клапаном движения вниз следует выбирать с коэффициентом запаса прочности не менее 8 по отношению к давлению полной нагрузки и разрывному давлению.
Гибкий трубопровод и его соединения между цилиндром и обратным клапаном или клапаном движения вниз должны выдерживать без повреждения давление, в 5 раз превышающее давление полной нагрузки; это испытание должен проводить изготовитель шланга в сборе.
На гибкий трубопровод должна быть нанесена несмываемая маркировка, содержащая:
a) наименование изготовителя или торговый знак;
b) значение испытательного давления;
c) дату проведения испытания.
Гибкий трубопровод должен быть закреплен с радиусом изгиба, не менее указанного изготовителем трубопровода.
5.4.9.6 Остановка привода и проверка остановленного состояния
Остановку привода, инициируемую электрическим устройством безопасности, следует контролировать в соответствии со следующими требованиями.
Движение в направлении вверх: подача электропитания на электродвигатель должна быть прервана по меньшей мере двумя независимыми контакторами, силовые контакты которых должны быть соединены последовательно в схеме питания электродвигателя.
Движение в направлении вниз: при движении в направлении вниз подача электропитания на клапан(ы), регулирующий(ие) движение вниз, должна быть прервана одним из следующих способов:
1) по меньшей мере двумя независимыми электрическими устройствами, соединенными последовательно;
или
2) непосредственно электрическим устройством безопасности.
5.4.9.7 Сбой в контактах
Если во время остановки грузонесущего устройства один из контакторов не разомкнул основные контакты или не разомкнул одно из электрических устройств, то необходимо предотвратить дальнейший пуск не позднее следующего изменения направления движения.
5.4.9.8 Запорный клапан
Должен быть предусмотрен запорный клапан, установленный на участке соединения гидроцилиндра (цилиндров) с обратным клапаном и клапаном движения вниз.
5.4.9.9 Обратный клапан
Должен быть предусмотрен обратный клапан, установленный на участке соединения насоса(ов) с запорным клапаном. Обратный клапан должен быть способен удерживать грузонесущее устройство с максимальной статической нагрузкой в любой точке траектории его движения, в случае падения давления ниже минимального рабочего давления. Закрытие обратного клапана должно происходить под воздействием гидравлического давления от гидроцилиндра и под воздействием не менее чем одной пружины сжатия, имеющей направляющие элементы, и/или под действием силы тяжести.
5.4.9.10 Предохранительный клапан
Должен быть предусмотрен предохранительный клапан, установленный на участке между насосом (насосами) и обратным клапаном. Гидравлическая жидкость должна возвращаться в бак. Предохранительный клапан должен быть отрегулирован на предельное значение давления, составляющее максимум 140 % давления от полной нагрузки. При необходимости из-за высоких внутренних потерь (потери напора, трение) предохранительный клапан может быть отрегулирован на большее значение, но не более 170 % от давления от полной нагрузки. В этом случае при расчете гидравлического оборудования (включая гидроцилиндр) должно использоваться фиктивное давление от полной нагрузки, равное уменьшенному в 1,4 раза давлению, на которое отрегулирован предохранительный клапан. При расчете изгибной устойчивости коэффициент превышения давления, равный 1,4, должен быть заменен коэффициентом, соответствующим повышенному установочному значению предохранительного клапана.
5.4.9.11 Клапаны направления движения вниз
Клапан движения вниз должен открываться при подаче на него электропитания. Закрытие клапанов должно происходить под действием давления жидкости, поступающей от гидроцилиндра, и не менее чем одной пружины сжатия, имеющей направляющие элементы, на каждый клапан.
5.4.9.12 Защита от свободного падения и движения вниз с превышением скорости грузоподъемного устройства
Должен использоваться один из методов защиты, перечисленных в таблице 6.
|
Защита от свободного падения или движения вниз с превышением скорости |
Защита против сползания | |||
|
Дополнительное срабатывание ловителей (5.3) при движении кабины вниз |
Предохранительный упор (5.4.9.18) |
Электрическая система, препятствующая сползанию (5.4.9.19) | ||
|
Привод прямого действия |
ловители (5.3.1), срабатывающие от ограничителя скорости (5.3.2) |
x |
x |
x |
|
разрывной клапан (5.4.9.12.1) |
x |
x | ||
|
дроссель (5.4.9.12.2) |
x | |||
|
Привод непрямого действия |
ловители (5.3.1), срабатывающие от ограничителя скорости (5.3.2) |
x |
x |
x |
|
разрывной клапан (5.4.9.12.1) плюс ловители (5.3.1), срабатывающие от обрыва подвески (5.3.1.2) или каната безопасности (5.3.2.2) |
x |
x |
x | |
|
дроссель (5.4.9.12.1) плюс ловители (5.3.1), срабатываемые от обрыва подвески или каната безопасности (5.3.2.2) |
x |
x | ||
|
Примечание - X - комбинация варианта защиты от свободного падения или движения вниз с превышением скорости и варианта защиты против сползания, которые должны быть выбраны. | ||||
5.4.9.12.1 Разрывной клапан
Если в соответствии с таблицей 6 применяется разрывной клапан, то он устанавливается непосредственно на выходе из гидроцилиндра, чтобы в случае выхода из строя любой части гидравлического контура (за исключением гидроцилиндра) остановить спуск грузонесущего устройства. Разрывной клапан должен быть:
- или неотъемлемой частью гидроцилиндра;
- или жестко закреплен непосредственно на фланце;
- или размещен рядом с цилиндром и соединен с ним посредством коротких жестких труб, имеющих сварные, фланцевые или резьбовые соединения;
- или присоединен непосредственно к гидроцилиндру на резьбе. Разрывной клапан должен иметь резьбовой конец с буртиком; буртик должен упираться в гидроцилиндр.
Другие типы соединений между гидроцилиндром и разрывным клапаном, такие как обжимные или развальцованные фитинги, не допускаются.
Разрывной клапан должен быть способен остановить грузонесущее устройство при движении вниз и удерживать его в неподвижном состоянии. Разрывной клапан должен сработать не позже момента увеличения скорости движения грузонесущего устройства вниз на 0,15 м/с.
Разрывной клапан должен быть рассчитан так же, как и гидроцилиндр.
5.4.9.12.2 Дроссель
Если в соответствии с таблицей 6 применяется дроссель, то он устанавливается непосредственно на выходе из гидроцилиндра, чтобы в случае выхода из строя любой части гидравлического контура (за исключением гидроцилиндра) предотвратить превышение номинальной скорости опускающегося с максимальной рабочей нагрузкой грузонесущего устройства. Дроссель должен быть:
- или неотъемлемой частью гидроцилиндра;
- или жестко закреплен непосредственно на фланце;
- или размещен рядом с цилиндром и соединен с ним посредством коротких жестких труб, имеющих сварные, фланцевые или резьбовые соединения;
- или присоединен непосредственно к гидроцилиндру на резьбе. Дроссель должен иметь резьбовой конец с буртиком; буртик должен упираться в гидроцилиндр.
Другие типы соединений между гидроцилиндром и дросселем, такие как обжимные или развальцованные фитинги, не допускаются.
5.4.9.13 Фильтры
Фильтры или подобные им устройства должны быть установлены в схеме между:
a) резервуаром и насосом (насосами); и
b) запорным клапаном и клапаном(ами) движения в направлении вниз.
Фильтр или подобное устройство между запорным клапаном и клапаном движения в направлении вниз должны быть доступны для проверок и технического обслуживания.
5.4.9.14 Контроль давления
Должно быть предусмотрено устройство, указывающее давление в гидравлической системе (манометр). Это устройство должно быть установлено на участке между обратным клапаном или клапаном(ами) движения вниз и запорным клапаном. Между главным контуром и подсоединением этого устройства должен быть установлен запорный клапан. Соединение должно иметь внутреннюю резьбу М 20 x 1,5 или G ½''.
5.4.9.15 Резервуар
Резервуар должен быть спроектирован и сконструирован таким образом, чтобы было легко:
a) проверять уровень гидравлической жидкости в резервуаре;
b) заливать и сливать гидравлическую жидкость из резервуара.
5.4.9.16 Освобождение пассажиров
5.4.9.16.1 Перемещение грузонесущего устройства вниз
Платформа должна быть оборудована управляемым вручную аварийным клапаном опускания, позволяющим, даже в случае отключения электропитания, опускать грузонесущее устройство до уровня, на котором пассажиры смогут его покинуть. Аварийный клапан опускания должен располагаться вне шахты, а при ее отсутствии вне пространства, в котором перемещается грузонесущее устройство.
Скорость опускания грузонесущего устройства не должна превышать 0,15 м/с.
Для приведения в действие этого клапана требуется постоянно вручную прикладывать к нему усилие. Клапан должен быть защищен от непреднамеренного включения.
На платформах с приводом непрямого действия, на которых возможно возникновение слабины канатов/цепей, воздействие на клапан аварийного опускания не должно вызывать чрезмерного опускания поршня, приводящего к слабине канатов/цепей.
5.4.9.16.2 Перемещение грузонесущего устройства вверх
Ручной насос, который обеспечивает перемещение грузонесущего устройства в направлении вверх, должен быть постоянно установлен на каждой платформе, оборудованной ловителями.
Ручной насос должен быть подсоединен на участке между обратным клапаном или клапаном(ами) движения вниз и запорным клапаном.
Ручной насос должен быть оборудован предохранительным клапаном, ограничивающим давление до величины, в 2,3 раза превышающей давление от полной нагрузки.
5.4.9.17 Защита от сползания грузонесущего устройства
5.4.9.17.1 Устройства или комбинации устройств и их приведение в действие в соответствии с таблицей 6 должны быть предусмотрены на подъемных платформах с гидравлическим приводом для предотвращения сползания грузонесущего устройства с уровня посадочной площадки более чем на 20 мм, а также сползания ниже нижнего конца зоны отпирания двери шахты.
5.4.9.17.2 Электрическое устройство безопасности, контролирующее сползание грузонесущего устройства, должно быть электрическим контактом безопасности или устройством в соответствии с 5.5.11, таблица 8.
На платформах с гидравлическим приводом и автоматическими дверями шахты должна быть гарантирована возможность закрытия двери даже при отсутствии питания привода двери, пока предохранительный упор удерживает грузонесущее устройство на уровне посадочной площадки.
5.4.9.17.3 Грузонесущее устройство должно быть автоматически отправлено на нижнюю посадочную площадку в течение 15 мин после последней нормальной поездки и/или после последней команды.
5.4.9.18 Предохранительный упор
Если в соответствии с 5.4.9.17 платформа оборудована предохранительным упором, то он должен отвечать следующим требованиям:
a) предохранительный упор должен приводиться в действие только при движении грузонесущего устройства вниз и быть способен остановить движущееся на номинальной скорости грузонесущее устройство с максимальным рабочим грузом. Если предохранительный упор сработал и остановил опускающееся грузонесущее устройство, его должно быть невозможно вернуть в исходное положение, до тех пор, пока грузонесущее устройство не будет снято с упора;
b) должен быть предусмотрен по крайней мере один электрически убираемый предохранительный упор, обеспечивающий в выдвинутом положении остановку движущегося вниз грузонесущего устройства до соприкосновения с жесткими опорами;
c) для каждой посадочной площадки должны быть предусмотрены опоры на двух уровнях:
1) для предотвращения опускания грузонесущего устройства ниже уровня точной остановки более чем на 20 мм, и
2) остановки грузонесущего устройства на нижнем уровне зоны отпирания дверей;
d) выдвижение упора(ов) должно осуществляться с помощью пружины (пружин) сжатия или под действием силы тяжести;
e) при остановке привода платформы питание электрического устройства, вызывающего убирание предохранительного упора, должно отключаться;
f) конструкция предохранительного упора(ов) и неподвижных опор должна быть такой, чтобы при любом положении упора не происходило остановки или повреждения движущегося вверх грузонесущего устройства;
g) при применении нескольких упоров должны быть приняты меры, гарантирующие вхождение в зацепление всех упоров с соответствующими опорами, даже в случае прекращения подачи электроэнергии при движении грузонесущего устройства вниз;
h) электрическое устройство безопасности, отвечающее требованиям 5.5.11, должно предупреждать любое движение грузонесущего устройства вниз, если упоры не в убранном состоянии.
5.4.9.19 Электрическая система, препятствующая сползанию
Если в соответствии с 5.4.9.17 платформа оборудована электрической системой, препятствующей сползанию, то перемещение грузонесущего устройства должно обеспечиваться независимо от положения дверей шахты, если грузонесущее устройство находится в зоне, которая простирается от расположенной на 20 мм ниже уровня посадочной площадки отметки до нижней границы зоны отпирания двери.
5.4.9.20 Управление выравниванием, повторным выравниванием и препятствие сползанию с открытыми дверями шахты
Допускается движение грузонесущего устройства с открытыми дверями шахты в зоне отпирания дверей с целью выравнивания, повторного выравнивания или электрического препятствия сползанию грузонесущего устройства с уровня посадочной площадки при условии, что:
a) любое перемещение грузонесущего устройства за пределы зоны отпирания двери должно быть предотвращено по крайней мере одним коммутирующим устройством, установленным в цепи, шунтирующей контролирующие закрытие и запирание двери электрические устройства безопасности;
b) это коммутирующее устройство должно:
1) быть электрическим контактом безопасности по 5.5.11.2 или
2) быть подключено таким образом, чтобы удовлетворять требованиям для цепей безопасности по 5.5.11.3;
c) если работа системы зависит от косвенной механической связи с грузонесущим устройством, например посредством каната, ремня или цепи, то разрыв или слабина этой механической связи должны вызывать остановку привода посредством электрического устройства безопасности, отвечающего требованиям 5.5.11;
d) в течение процесса выравнивания контролирующие закрытие и запирание двери электрические устройства безопасности могут быть зашунтированы только после остановки грузонесущего устройства на посадочной площадке.
5.4.10 Дополнительные требования для привода трения при наличии противовеса и для позитивного привода при наличии уравновешивающего устройства
5.4.10.1 Противовес и уравновешивающее устройство
При наличии позитивного привода применение противовеса не допускается. Разрешено применение уравновешивающего устройства.
5.4.10.2 Общие положения
5.4.10.2.1 Конструкция противовеса или уравновешивающего устройства, в состав которых входят грузы, должна исключать смещение грузов. Грузы должны устанавливаться в раму и закрепляться в ней.
5.4.10.2.2 Блоки и/или звездочки, установленные на противовесе или уравновешивающем устройстве, должны быть защищены в соответствии с 5.4.1.7.
5.4.10.3 Ограждение противовеса или уравновешивающего устройства
Зона перемещения противовеса или уравновешивающего груза должна быть ограждена. Ограждение должно удовлетворять перечисленным ниже требованиям:
- если ограждение выполнено из перфорированного листа, то следует соблюдать требование ГОСТ ISO 13857-2012, пункт 4.2.4.1 относительно расстояния до подвижных частей;
- ограждение должно быть размещено от самой нижней точки находящегося на упоре противовеса или уравновешивающего устройства в его самом нижнем положении до отметки 2,0 м от уровня пола приямка;
- расстояние от пола приямка до самой нижней части ограждения должно быть не более 0,30 м;
- ширина ограждения должна быть не менее ширины противовеса или уравновешивающего устройства.
5.4.10.4 Крайнее положение грузонесущего устройства, противовеса и уравновешивающего устройства
При нахождении противовеса на упоре должны одновременно выполняться два следующих условия:
- длина направляющих должна обеспечивать перемещение грузонесущего устройства не менее, чем на 0,05 м;
- вертикальный зазор между самыми нижними элементами перекрытия шахты и самыми высокими элементами оборудования, закрепленными на грузонесущем устройстве, должен быть не менее 0,05 м.
5.4.11 Дополнительные требования для привода трения с канатом или плоским ремнем
Канат и плоский ремень должны удовлетворять следующим трем условиям:
a) должно отсутствовать их проскальзывание на канатоведущем шкиве или барабане трения при размещении на грузонесущем устройстве груза массой, равной максимальной рабочей нагрузке или 125 % от максимальной статической нагрузки, определенной в таблице 3;
b) должна быть обеспечена остановка грузонесущего устройства пустого или с номинальным грузом при любом экстренном торможении;
c) должно быть исключено опасное подтягивание пустого грузонесущего устройства или противовеса, вызванного остановкой грузонесущего устройства или противовеса любым из двух способов:
1) или канаты/плоские ремни должны проскальзывать на шкиве трения;
2) или привод должен быть остановлен посредством электрического устройства безопасности, отвечающего требованиям 5.5.11.
Примечание - Небольшой подъем грузонесущего устройства или противовеса является приемлемым при условии отсутствия риска разрушения в крайних положениях или при падении грузонесущего устройства или противовеса, вызванного силой удара в элементах подвески или чрезмерного ускорения замедления грузонесущего устройства.
5.4.12 Шкивы трения, блоки и звездочки в шахте
Шкивы трения, блоки и звездочки могут устанавливаться в шахте выше уровня нижней посадочной площадки при условии наличия устройств, отклоняющих падающие шкивы/блоки/звездочки в случае механического их разрушения и предотвращающих их падение на грузонесущее устройство. Эти устройства должны выдерживать массу шкивов/блоков/звездочек и подвешенных грузов.
5.4.13 Средства защиты от превышения скорости грузонесущего устройства при движении вверх
5.4.13.1 Средство защиты от превышения скорости поднимающегося вверх грузонесущего устройства, включающее в себя элементы контроля скорости и снижения скорости, должно выявлять превышение скорости (см. 5.4.13.9) и вызывать остановку грузонесущего устройства.
Средство должно быть активным:
- в режиме "Нормальная работа";
- при ручном перемещении грузонесущего устройства во время освобождения пассажиров, если отсутствует прямое визуальное наблюдение за приводом или скорость грузонесущего устройства не ограничивается другими средствами до величины не более 115 % от номинальной скорости.
5.4.13.2 Средство защиты от превышения скорости поднимающегося вверх грузонесущего устройства должно быть способно согласно требованию 5.4.13.1 контролировать скорость и замедлять или останавливать грузонесущее устройство без помощи любого компонента платформы, который во время нормальной работы выполняет эти функции.
Для защиты от превышения скорости поднимающегося вверх грузонесущего устройства допускается использовать компоненты платформы, используемые во время нормальной работы, имеющие встроенное дублирование (резервирование) и самодиагностику правильной работы.
В случае использования для этой цели тормоза привода самодиагностика может включать проверку правильности подъема или опускания тормозных элементов, или проверку тормозного усилия. При обнаружении неисправности должен быть предотвращен следующий нормальный пуск грузоподъемного устройства.
Механическая связь с грузонесущим устройством, независимо от того, используется ли такая связь для какой-либо другой цели, может использоваться для выполнения этой функции.
5.4.13.3 Это средство должно воздействовать на:
- грузонесущее устройство, или
- противовес, или
- канаты/ремни подвески, или
- канатоведущий шкив/барабан трения, или
- тот же вал, что и вал канатоведущего шкива/барабана трения, при условии, что вал опирается только на две опоры.
5.4.13.4 Каждое срабатывание средства защиты от превышения скорости поднимающегося вверх грузонесущего устройства должно приводить в действие электрическое/электронное устройство безопасности, отвечающее требованиям 5.5.11.
5.4.13.5 Возврат средства защиты в исходное положение не должен требовать доступа в шахту. Разрешен доступ к средству защиты через проемы на грузонесущем устройстве.
5.4.13.6 Возврат в исходное состояние средства защиты от превышения скорости поднимающегося вверх грузоподъемного устройства после его срабатывания должен осуществляться квалифицированным персоналом.
5.4.13.7 После возврата средства защиты от превышения скорости поднимающегося вверх грузоподъемного устройства в исходное положение - это средство должно быть готово к работе.
5.4.13.8 Если средство защиты от превышения скорости поднимающегося вверх грузонесущего устройства требует внешнего источника питания для его приведения в действие, отсутствие питания от внешнего источника должно приводить к остановке грузонесущего устройства, и привод должен оставаться в выключенном состоянии. Данное требование не применяется в случае использования пружин сжатия.
5.4.13.9 В качестве элемента контроля скорости средства защиты от превышения скорости поднимающегося вверх грузоподъемного устройства может быть использован:
a) или ограничитель скорости, соответствующий требованиям 5.3.2;
b) или иное устройство, соответствующее требованиям 5.3.2.
5.4.13.10 Средство защиты от превышения скорости поднимающегося вверх грузонесущего устройства является компонентом безопасности и должно быть испытано в соответствии с требованиями ГОСТ 34682.3-2020, приложение Б.9.
5.4.13.11 На устройстве контроля скорости и устройстве снижения скорости средства защиты от превышения скорости поднимающегося вверх грузонесущего устройства должны быть указаны следующие сведения:
a) наименование изготовителя и (или) его товарный знак;
b) фактическая скорость срабатывания, на которую отрегулировано устройство;
c) тип устройства, применяемого для защиты от превышения скорости поднимающегося вверх грузонесущего устройства.
5.4.13.12 Ограничение времени работы привода
5.4.13.12.1 Платформы с приводом трения должны иметь ограничение времени работы электродвигателя, вызывающего отключение электропитания привода и удержание привода в отключенном состоянии, если:
- двигатель не вращается при пуске;
- грузонесущее устройство/противовес остановлены при движении вниз препятствием, что приводит к проскальзыванию канатов/плоских ремней на канатоведущем шкиве (барабане трения).
5.4.13.12.2 Ограничение по времени работы электродвигателя должно срабатывать за время, не превышающее время, необходимое для прохождения всего пути перемещения при нормальной работе, плюс 10 с, но не менее 20 с, если время прохождения полного пути менее 10 с.
5.4.13.12.3 Возврат к нормальной работе возможен только посредством ручного возврата в исходное состояние, осуществляемого квалифицированным персоналом. При восстановлении электропитания после его отключения удержание привода в остановленном состоянии не является необходимым.
5.4.13.12.4 Ограничитель времени работы электродвигателя не должен оказывать влияния на движение грузонесущего устройства при выполнении операций при освобождении пользователя.
5.5.1 Общие положения
5.5.1.1 Источник питания
Платформы должны быть подключены к источнику питания в соответствии с ГОСТ МЭК 60204-1 через главный выключатель и предохранитель или автоматический выключатель, имеющий возможность блокировки в положении "Выкл." или отключенном состоянии в соответствии с ГОСТ МЭК 60204-1-2002, пункт 5.6. Автоматический выключатель в цепи питания розеток должен быть оборудован устройством дифференциального тока на 30 мА. Требование к питанию не распространяется на платформы, работающие от аккумуляторов.
Главный выключатель не должен отключать цепи питания:
- освещения платформы (см. 5.5.4);
- розеток для технического обслуживания (см. 5.5.5).
5.5.1.2 Электрическое оборудование
Электрическое оборудование и устройства должны соответствовать требованиям ГОСТ МЭК 60204-1. Номинальное основное напряжение постоянного тока или напряжение переменного тока между проводниками и между проводниками и землей не должно превышать 250 В для цепей управления и безопасности. Цепи управления, питаемые от сети, кроме сетей с глухозаземленной нейтралью, должны запитываться от вторичной обмотки разделительного трансформатора в соответствии с ГОСТ IEC 61558-1. Один провод цепи управления должен быть заземлен (или подключен к разделительной цепи), а другой провод должен быть подключен в соответствии с рисунком 4.

1 - разделительный трансформатор; 2 - первичный источник; 3 - схема управления
Рисунок 4 - Питание цепи управления
Схемы с защитой SELV (разделенное или безопасное сверхнизкое напряжение (SELV)) в соответствии с ГОСТ 30331.1 могут рассматриваться в качестве альтернативы при условии обеспечения эквивалентного уровня безопасности.
Требования для подъемных платформ с питанием от аккумулятора приведены в 5.5.14.
Трансформаторы должны отвечать требования ГОСТ МЭК 60204-1-2002, пункт 7.2.7.
Рабочее напряжение питания привода не должно превышать 500 В.
5.5.2 Провода различных цепей
Провода различных цепей могут быть уложены рядом или в один и тот же короб (например, канал, желоб, лоток для прокладки кабеля) или являться частью одного многожильного кабеля, когда это отрицательно не влияет на нормальную работу цепей. Когда эти цепи должны выдерживать различные напряжения, провода необходимо отделять соответствующими перегородками или же изолировать от наиболее высокого напряжения, которое подается на какой-либо провод внутри одного канала (например, при размещении рядом провода питания в незаземленной системе и провода питания в заземленной системе питания).
5.5.3 Сопротивление изоляции
Сопротивление изоляции должно измеряться между каждым находящимся под напряжением проводником и землей.
Минимальные значения сопротивления изоляции принимают в соответствии с таблицей 7.
|
Напряжение, В |
Испытательное напряжение (DC), В |
Сопротивление изоляции, МОм |
|
SELV |
250 |
≥ 0,25 |
|
≤ 500 |
500 |
≥ 0,5 |
|
> 500 |
1 000 |
≥ 1,0 |
Если цепь включает в себя электронные устройства, фаза и нейтраль должны быть соединены вместе во время измерения.
5.5.4 Освещение
5.5.4.1 Освещение на уровне пола грузонесущего устройства и на устройствах управления грузонесущим устройством должно составлять не менее 50 лк.
Освещенность на уровне пола площадки перед дверью шахты с размерами:
- глубиной 1000 мм от порога двери шахты;
- шириной, равной ширине двери шахты
должна быть не менее 50 лк и обеспечивается владельцем платформы.
Используемое освещение должно сводить к минимуму блики, отражения, дезориентирующие тени или чередование светлых и темных участков.
Если предусмотрен выключатель освещения, то он должен быть защищен от несанкционированного использования.
Грузонесущее устройство, установленное в полностью огражденной шахте, должно быть оборудовано автоматически перезаряжаемым аварийным источником питания, способным гарантировать работу хотя бы одного источника света (аварийное освещение), обеспечивающего в течение одного часа освещенность 5 лк устройства вызова обслуживающего персонала в случае отказа питания рабочего освещения. Данное требование не распространяется на грузонесущее устройство, установленное без ограждения шахты. При отказе питания рабочего освещения аварийное освещение должно включаться автоматически.
5.5.4.2 Грузонесущее устройство, установленное в полностью огражденной шахте, должно постоянно освещаться, за исключением случаев, когда грузонесущее устройство находится в режиме ожидания и двери закрыты.
5.5.5 Розетка
Электрическая розетка должна быть предусмотрена рядом с платформой, если при осмотрах и техническом обслуживании платформы требуется подключение локального освещения.
Розетки должны отвечать требованиям ГОСТ МЭК 60204-1-2002, пункт 15.1
5.5.6 Контакторы привода
5.5.6.1 Главные контакторы в соответствии с требованиями 5.5.7 должны быть в соответствии с ГОСТ IEC 60947-4-1:
a) категории применения АС-3 для контакторов двигателей переменного тока;
b) категории применения DC-3 для контакторов двигателей постоянного тока.
5.5.6.2 Если из-за подводимой мощности для приведения в действие главных контакторов должны использоваться реле, то такие реле должны быть в соответствии с ГОСТ IEC 60947-5-1:
a) категории применения АС-15 для управления контакторами переменного тока;
b) категории применения DC-13 для управления контакторами постоянного тока.
5.5.6.3 Каждый контактор, указанный в 5.5.6.1 и 5.5.6.2, должен действовать так, чтобы:
а) если один из нормально замкнутых контактов замкнут, то все нормально разомкнутые контакты - разомкнуты;
b) если один из нормально разомкнутых контактов замкнут, то все нормально замкнутые контакты - разомкнуты.
5.5.6.4 Контакторы для реверсирования направления движения должны электрически взаимно заблокироваться.
5.5.7 Привод, подключаемый напрямую к сети переменного тока
5.5.7.1 Подача питания на двигатель и тормоз должна прерываться двумя независимыми контакторами, контакты которых должны быть последовательно включены в цепи питания двигателя и тормоза. Пока грузонесущее устройство неподвижно, один из контакторов не разомкнул основные контакты, дальнейшее движение грузонесущего устройства должно быть предотвращено не позднее следующего изменения направления движения.
5.5.7.2 Двигатели переменного или постоянного тока, управляемые и питаемые посредством твердотельных (статических) элементов.
Должен использоваться один из следующих методов:
a) или как в 5.5.7.1,
b) или система, состоящая из:
1) контактора, прерывающего подачу тока на всех фазах. Катушка контактора должна быть разомкнута (разъединена), по крайней мере, перед каждым изменением направления движения. Если контактор не размыкается, любое дальнейшее движение грузонесущего устройства должно быть предотвращено;
2) независимого устройства управления, блокирующего поток энергии твердотельных (статических) элементов;
3) устройство контроля для проверки блокирования потока энергии каждый раз, когда грузонесущее устройство неподвижно;
c) или электрическая цепь безопасности, соответствующая ГОСТ 33984.1-2016, пункт 5.11.2.3;
d) или система электропривода с регулируемой скоростью вращения с функцией безопасного отключения крутящего момента, отвечающая требованиям SIL3, с допустимым пределом отказа аппаратной части не менее 1.
Примечания
1 Функция безопасного отключения крутящего момента: на двигатель не подается питание, которое может вызвать вращение (или движение в случае линейного двигателя). Система силового электропривода с регулируемой скоростью не обеспечивает питание двигателя, который может произвести крутящий момент (или усилие в случае линейного двигателя).
2 Эта функция безопасности выполняет неуправляемую остановку и соответствует категории остановки 0 в соответствии с ГОСТ МЭК 60204-1.
3 Эта функция безопасности может использоваться, если требуется отключение питания для предотвращения неожиданного запуска.
4 Если существуют внешние влияния (например, падение висящих грузов), то для предотвращения какой-либо опасности могут быть необходимы дополнительные меры (например, механические тормоза).
5 Электронных средств и контакторов недостаточно: для защиты от удара током и для изоляции могут быть необходимы дополнительные меры.
6 SIL - класс безопасности систем управления, SIL3 - Допустимое число отказов: 1 на 10 млн ч.
5.5.7.3 Электропитание двигателя и тормоза должно быть прервано после окончания (отключения) сигнала управления направлением или после сбоя электропитания, или при срабатывании любого электрического устройства безопасности.
5.5.8 Требования к кожухам (оболочкам)
Токоведущие части контроллеров и электрические предохранительные контакты должны быть расположены в защитном кожухе со степенью защиты не менее IP2X.
Крышки должны удерживаться зажимными приспособлениями, требующими использования инструмента для их снятия.
Кроме того, для электронных компонентов должна учитываться температура окружающей среды, указанная изготовителем. Если могут быть превышены пределы температуры окружающей среды, установленные в документации изготовителя, должны использоваться соответствующие средства (такие как нагрев или охлаждение).
Кожухи (оболочки) должны соответствовать ГОСТ МЭК 60204-1-2002, пункт 6.2.2.
5.5.9 Минимальные расстояния утечки
Минимальные расстояния утечки для аппаратов, установленных в силовых цепях, цепях безопасности и любых компонентов, подключенных после цепей безопасности или электрических предохранительных контактов и отказ которых может привести к опасным ситуациям, должны соответствовать требованиям ГОСТ IEC 60947-1-2015, таблица 15. Минимальная степень загрязнения 2. Не должен использоваться печатный монтаж.
5.5.10 Защита от электрических неисправностей
Любая перечисленная ниже единственная неисправность, возникающая в электрооборудовании платформы, сама по себе не должна быть причиной опасной ситуации:
a) отсутствие напряжения;
b) падение напряжения;
c) смена фаз на многофазных источниках питания;
d) нарушения изоляции по отношению к металлическим частям или к земле;
e) короткое замыкание или размыкание схемы, изменение величины или функции в электрическом компоненте, например резисторе, конденсаторе, транзисторе, лампе;
f) отсутствие втягивания или неполное втягивание подвижного якоря контактора или реле;
g) отсутствие обратного хода подвижного якоря контактора или реле;
h) отсутствие размыкания или замыкания контактов;
i) обрыв (потеря одной) фазы;
j) обрыв электрического провода.
Отсутствие размыкания контактов не следует рассматривать для контактов безопасности. Замыкание электрической цепи, в которой имеются электрические устройства безопасности, на землю должно немедленно вызывать остановку платформы и предотвращать повторный пуск платформы.
5.5.11 Электрические/электронные устройства безопасности
5.5.11.1 Основные положения
5.5.11.1.1 При срабатывании одного из перечисленных в таблице 8 электрических устройств безопасности движение привода должно быть предотвращено, или он будет немедленно остановлен, как указано в 5.5.11.4.
Электрическое устройство безопасности должно состоять:
a) из одного или нескольких электрических контактов безопасности, отвечающим требованиям 5.5.11.2, непосредственно отключающих питание контакторов, указанных в 5.5.7, или их релейных контакторов;
b) или цепей безопасности в соответствии с 5.5.11.3, состоящих из одного или из сочетания следующих компонентов:
1) из одного или более контактов безопасности по 5.5.11.2, непосредственно не отключающих питание для контакторов, указанных в 5.5.7, или их релейных контакторов;
2) контактов, не отвечающих требованиям 5.5.11.2;
3) компонентов в соответствии с приложением А.
|
Электрические устройства безопасности |
Пункт |
|
Замок двери шахты | |
|
a) контроль закрытия двери шахты |
5.8.5.2 |
|
b) контроль запирания двери шахты в зоне отпирания двери |
5.8.5.3 |
|
Контроль слабины тяговых канатов, ремней и цепей |
5.4.1.6 |
|
Устройство аварийной остановки "Стоп" |
5.5.15.5 |
|
Контроль срабатывания кромок и поверхностей безопасности, фотоэлементов и световых барьеров |
5.9.2 |
|
Концевой выключатель |
5.5.15.6 |
|
Выключатель ловителей |
5.3.1.5 |
|
Контроль поломки несущей гайки |
5.4.6.1.4 |
|
Контроль двери или люка для технического обслуживания |
5.6.6.3 |
|
Устройство "Стоп" в зоне технического обслуживания |
5.1.4.2.1, 5.1.4.1 |
|
Контроль останавливающего устройства |
5.4.6.1.3 |
|
Контроль привода |
5.5.6, 5.5.7 |
|
Контроль выравнивания, повторного выравнивания и защиты от сползания |
5.4.9.18, перечисление h) |
5.5.11.1.2 Не считая исключений, разрешенных в настоящем стандарте (см. электрическая система защиты от сползания по 5.4.9.19, контроль выравнивания, повторного выравнивания и защиты от сползания при открытых дверях по 5.4.9.20), никакое электрическое оборудование не должно быть подключено параллельно к электрическим устройствам безопасности.
Подсоединения к разным точкам электрической цепи безопасности разрешены только для сбора информации. Устройства, используемые для этой цели, должны удовлетворять требованиям для цепей безопасности согласно 5.5.11.3.
5.5.11.1.3 Влияние внутренней или внешней индуктивности либо емкости не должно приводить к нарушению функционирования электрических устройств безопасности.
5.5.11.1.4 Выходной сигнал, исходящий от электрического устройства безопасности, не должен изменяться поступающим извне сигналом от другого электрического устройства, расположенного дальше в той же цепи, что может спровоцировать возникновение опасного состояния.
5.5.11.1.5 В цепях безопасности, содержащих два или более параллельных канала, информацию, отличающуюся от требуемой для контроля по четности, следует извлекать только из одного канала.
5.5.11.1.6 Схемы, которые регистрируют или задерживают сигналы, не должны, даже в случае возникновения неисправности, препятствовать или существенно задерживать остановку привода после срабатывания электрического устройства безопасности, то есть остановка должна произойти в кратчайшее время, совместимое с системой.
5.5.11.1.7 Конструкция и расположение внутренних источников питания должны быть такими, чтобы препятствовать появлению ложных сигналов и выходов из строя электрических устройств безопасности вследствие эффекта переключения.
5.5.11.2 Электрические контакты безопасности
5.5.11.2.1 Срабатывание контакта безопасности должно проводиться путем размыкания контактной группы нормально замкнутого типа. Размыкание должно происходить, даже если контакты приварены друг к другу.
Конструкция контакта безопасности должна быть такой, чтобы минимизировать риск короткого замыкания вследствие его неисправности.
Примечание - Принудительное размыкание достигается, когда элементы размыкания приводятся в разомкнутое состояние, и на большей части пути между подвижными контактами и частью элемента, на которую воздействует усилие, размыкающее контакт, отсутствуют упругие элементы (например, пружины).
5.5.11.2.2 Изоляция электрических устройств безопасности должна быть рассчитана на номинальное напряжение 250 В, если степень защиты корпуса не менее IP4X, и на 500 В, если степень защиты менее IP4X.
Контакты безопасности должны относиться в соответствии с ГОСТ IEC 60947-5-1 к следующим категориям:
a) АС-15 - для контактов безопасности в цепях переменного тока;
b) DC-13 - для контактов безопасности в цепях постоянного тока.
5.5.11.2.3 Если степень защиты электрических устройств безопасности равна или меньше IP4X, пути утечки должны быть не менее 3 мм и расстояние для выключающих контактов не менее 4 мм после размыкания. Если защита лучше, чем IP4X, длина пути утечки может быть сокращена до 3 мм.
5.5.11.2.4 В случае разрыва одновременно в нескольких местах (многократные разрывы) расстояние после размыкания между контактами должно быть не менее 2 мм.
5.5.11.2.5 Износ контактных групп не должен приводить к короткому замыканию контактов.
5.5.11.3 Цепи безопасности
5.5.11.3.1 Цепи безопасности должны соответствовать требованиям 5.5.11 по отношению к возникновению неисправностей.
5.5.11.3.2 Кроме того, как показано на рисунке 5, будут применимы перечисленные ниже требования.

Рисунок 5 - Блок-схема оценки цепи безопасности
5.5.11.3.2.1 Если одна неисправность в сочетании со второй неисправностью может привести к опасной ситуации, грузонесущее устройство должно быть остановлено не позже следующей рабочей последовательности, в которой первый неисправный элемент должен принимать участие. Всякая дальнейшая работа грузонесущего устройства должна стать невозможной, пока присутствует эта неисправность.
Вероятность возникновения второй неисправности, возникающей после первой и до того, как грузонесущее устройство было остановлено последовательностью, упомянутой выше, не рассматривается.
5.5.11.3.2.2 Если две неисправности, которые сами по себе не ведут к опасной ситуации, в сочетании с третьей неисправностью могут привести к опасной ситуации, грузонесущее устройство должно быть остановлено не позднее следующей рабочей последовательности, в которой один из неисправных элементов должен принимать участие.
Вероятность возникновения третей неисправности, возникающей после второй и до того, как грузонесущее устройство было остановлено последовательностью, упомянутой выше, не рассматривается.
5.5.11.3.2.3 Если возможно сочетание более трех неисправностей, тогда цепь безопасности должна быть спроектирована с несколькими каналами и схемой мониторинга, проверяющей одинаковость состояний каналов. При обнаружении разных состояний грузонесущее устройство должно быть остановлено.
5.5.11.3.2.4 При восстановлении электропитания после его отключения удержание грузонесущего устройства в остановленном состоянии не требуется при условии, что во время следующей последовательности остановка повторно вызывается в случаях, определяемых 5.5.11.3.2.1, 5.5.11.3.2.2 и 5.5.11.3.2.3.
5.5.11.3.2.5 В цепях с дублированием должны быть приняты меры для ограничения, насколько возможно, риска неисправностей, возникающих одновременно более чем в одной цепи и происходящих по одной причине.
5.5.11.3.3 Цепи безопасности, содержащие электронные компоненты, считаются компонентами безопасности.
5.5.11.4 Срабатывание электрических устройств безопасности
Срабатывание электрического устройства безопасности должно вызывать немедленную остановку привода и препятствовать приведению его в движение.
Электрические устройства безопасности должны воздействовать непосредственно на оборудование, управляющее подачей электропитания на привод, в соответствии с требованиями 5.5.7.
Если из-за передаваемой мощности релейные контакторы используются для управления приводом, они должны рассматриваться как оборудование, непосредственно контролирующее подачу питания на привод для пуска и остановки.
5.5.11.5 Приведение в действие электрических устройств безопасности
Узлы (детали), приводящие в действие электрические устройства безопасности, должны быть сконструированы таким образом, чтобы они могли нормально функционировать под воздействием механических нагрузок, возникающих при непрерывной нормальной работе.
Если элементы, приводящие в действие электрические устройства безопасности, вследствие характера их установки доступны для людей, то они должны быть выполнены таким образом, чтобы соответствующие им электрические устройства безопасности не могли быть переведены в нерабочее состояние простыми средствами.
Примечание - Магнит или шунт не считаются простыми средствами.
В случае цепей безопасности с дублированием это должно быть обеспечено посредством механического или геометрического расположения передающих элементов, чтобы механическая неисправность не вызывала потери дублирования.
5.5.12 Защита двигателя привода
Двигатели привода должны быть защищены от перегрузки и возможного повреждения избыточными токами с помощью устройства, которое автоматически отключает питание. Устройство может автоматически переустановиться после соответствующего интервала времени.
Если защита обеспечивается с помощью устройства контроля температуры, то грузонесущее устройство может продолжать движение до остановки на уровне посадочной площадки, чтобы пользователь мог его покинуть. Автоматический возврат в режим "Нормальная работа" должен происходить только после снижения температуры до рабочих значений.
5.5.13 Электропроводка
5.5.13.1 Провода, изоляция и заземление
Жилы проводов должны быть медными. Применение алюминиевых проводов не допускается. Поперечное сечение проводов должно соответствовать ГОСТ МЭК 60204-1-2002, таблица 5.
5.5.13.2 Изоляция
Изоляция проводов должна соответствовать ГОСТ МЭК 60204-1-2002, пункт 13.3.
Все открытые металлоконструкции, не являющиеся проводами и которые могут находиться под напряжением, должны быть заземлены.
5.5.13.3 Подвесной кабель
Силовой подвесной кабель и подвесной кабель цепи управления должны быть надежно закреплены на каждом конце, чтобы механическая нагрузка не передавалась на концевую заделку.
5.5.13.4 Клеммы и разъемы
5.5.13.4.1 Общие положения
Разъемы и устройства штекерного типа должны быть спроектированы таким образом, чтобы было невозможно их неправильно подключить.
5.5.13.4.2 Зажимы не должны вызывать повреждение жил или изоляции.
5.5.13.4.3 Все клеммы для подключения внешнего питания должны быть четко обозначены и легко доступны.
5.5.13.5 Идентификация электрического оборудования
Клеммы, разъемы и электрические компоненты должны быть маркированы с целью их идентификации.
5.5.14 Дополнительные требования к аккумуляторному источнику питания
5.5.14.1 Для платформ с питанием от аккумулятора напряжение цепи управления не должно превышать 60 В.
5.5.14.2 Предохранитель должен быть установлен в одной цепи с аккумулятором рядом с отрицательным полюсом, доступ к которому возможен только с помощью соответствующего инструмента (инструментов). Этот предохранитель должен отключить питание от аккумулятора в течение 0,5 с после короткого замыкания источника питания и в течение 5 с после увеличения среднего пикового тока в два раза.
5.5.14.3 Зарядное устройство для аккумулятора должно быть таким, как на рисунке 6, а для зарядки переменным током и рисунке 6, b для зарядки постоянным током.

а) Зарядное устройство переменного тока АС

b) Зарядное устройство постоянного тока AD
1 - АС - DC преобразователь; 2 - DC - DC преобразователь; 3 - цепь управления 60 В максимум; 4 - см. примечание; 5 - контакты для подзарядки аккумулятора
Примечание - Символ ГП обозначает, что отрицательный полюс аккумулятора подключен к раме (корпусу) подъемной платформы.
Рисунок 6 - Зарядное устройство для подъемных платформ с аккумулятором
5.5.14.4 Клеммы аккумулятора и зарядные контакты должны быть физически защищены от короткого замыкания.
5.5.14.5 Должно быть обеспечено безопасное расположение или крепление аккумулятора.
5.5.14.6 Должен быть выключатель, отключающий аккумулятор от цепи управления и цепи питания привода.
5.5.14.7 Устройства для зарядки аккумулятора должны быть выполнены так, чтобы в случае остановки платформы вне досягаемости зарядных контактов визуальная и звуковая индикация информировала об этом пользователя.
5.5.14.8 Заземление должно быть выполнено в соответствии с рисунком 4.
Заземление не требуется в цепях зарядки с SELV-защитой.
5.5.14.9 Аккумуляторы не должны протекать. Аккумуляторы не должны выделять пары при нормальной работе, включая зарядку.
5.5.15 Аппараты управления
5.5.15.1 Аппараты управления должны располагаться на каждой посадочной площадке и на грузонесущем устройстве. Требования к аппаратам управления в таблице 9.
|
Элемент |
Требования |
|
Минимальный размер рабочей поверхности кнопки |
Площадь, ограниченная вписанной окружностью диаметром 20 мм |
|
Идентификация рабочей поверхности кнопок |
Визуальное (контрастность) и тактильное (рельеф) отличие от лицевой панели поста управления или других окружающих элементов |
|
Идентификация лицевой панели поста управления |
Цвет лицевой панели должен контрастировать с цветом окружающих элементов |
|
Рабочее усилие воздействия на кнопку |
От 2,5 до 5,0 Н |
|
Информация о регистрации команды |
Информирование пользователя о регистрации команды после нажатия на кнопку (световая индикация) |
|
Расположение маркировки кнопок |
На рабочей поверхности кнопки или на расстоянии от 10 до 15 мм слева от нее |
|
Размер маркировки (рельеф) |
Рельефно выделенная маркировка должна быть высотой от 15 до 40 мм |
|
Высота рельефа |
Не менее 0,8 мм |
|
Расстояние между рабочими поверхностями кнопок |
Не менее 10 мм |
|
Расстояние между группами кнопок вызова и другой группой кнопок |
Минимум в два раза превышающее расстояние между рабочими поверхностями кнопок |
|
Минимальное расстояние от уровня пола до центра любой кнопки |
850 мм |
|
Максимальное расстояние от уровня пола до центра наиболее высоко расположенной кнопки |
1200 мм (предпочтительно 1100 мм) |
|
Максимальное расстояние от уровня пола посадочной площадки до центра наиболее высоко расположенной кнопки на посадочной площадке |
1100 мм |
|
На грузонесущем устройстве, предназначенном для перевозки пассажиров в креслах-колясках, минимальное боковое пространство между осевой линией любых кнопок и углом на грузонесущем устройстве или за пределами площадки |
400 мм |
5.5.15.2 Аппараты управления должны работать следующим образом
5.5.15.2.1 Управление движением с грузонесущего устройства должно происходить только при постоянном воздействии на элемент управления.
5.5.15.2.2 Расположенные на посадочных площадках и используемые для вызова грузонесущего устройства аппараты управления не требуют удержания во время движения грузонесущего устройства. Это должно гарантировать выполнение условий 5.5.15.3.
Примечание - Когда пользователь испытывает затруднения при работе с обычными устройствами управления, может возникнуть необходимость применения специальных устройств, соответствующих конкретным нарушениям, при условии сохранения функции удержания для движения. Рекомендации для таких устройств приведены в приложении С.
5.5.15.3 Действия по управлению с грузонесущего устройства должны иметь приоритет относительно команд с посадочных площадок. Если грузонесущее устройство не стоит на уровне посадочной площадки, вызов грузонесущего устройства с посадочной площадки должен быть невозможен.
5.5.15.4 После закрытия двери шахты должна быть предусмотрена пауза не менее 5 с, прежде чем грузонесущее устройство может быть вызвано с других посадочных площадок.
5.5.15.5 Устройство аварийной остановки "Стоп" должно быть установлено на грузонесущем устройстве и в приямке. При активации устройство аварийной остановки "Стоп" должно напрямую размыкать электрическую цепь безопасности.
Устройство аварийной остановки "Стоп" на грузонесущем устройстве должно быть хорошо видимо и легко доступно для пользователя.
5.5.15.6 Концевые выключатели
Должны быть предусмотрены концевые выключатели. Они должны быть установлены так, чтобы срабатывать при нахождении грузонесущего устройства как можно ближе к нижней или верхней посадочным площадкам, без риска случайного срабатывания.
Концевой выключатель должен быть:
- или устройством, которое за счет принудительного механического разделения контактов непосредственно размыкает цепи, питающие двигатель и тормоз;
- или электрическим устройством безопасности в соответствии с 5.5.11.
Срабатывание концевого выключателя должно предотвращать движение грузонесущего устройства в обоих направлениях. Возврат платформы в режим "Нормальная работа" должен осуществляться квалифицированным персоналом. Приведение в действие концевых выключателей должно осуществляться:
a) или непосредственно грузонесущим устройством в верхней и нижней частях шахты;
b) или же за счет механизма, который связан с грузонесущим устройством посредством каната, ремня или цепи. В этом случае обрыв или слабина каната, ремня или цепи должны привести к остановке привода посредством электрического устройства безопасности, отвечающего требованиям 5.5.11.
При наличии позитивного привода приведение в действие концевых выключателей должно осуществляться:
a) или устройством, связанным с перемещением приводного механизма;
b) или непосредственно грузонесущим устройством в верхней и нижней частях шахты.
5.5.15.7 Средства, предусмотренные для остановки на крайних посадочных площадках в режиме "Нормальная работа" грузонесущего устройства, должны быть независимыми от концевого выключателя.
5.5.15.8 Допускается не устанавливать нижний концевой выключатель в случае гидравлического привода или привода с тяговыми канатами/цепями, если ослабление тяговых канатов или цепей контролируется электрическим устройством безопасности. Кроме того, допускается не устанавливать концевой выключатель, если конструкция привода препятствует переходу грузонесущего устройства за пределы границ перемещения, даже без использования механических концевых упоров.
Допускается не устанавливать нижний концевой выключатель, если выключатель точной нижней остановки является электрическим устройством безопасности, отвечающим требованиям 5.5.11.
5.5.16 Устройства экстренной сигнализации
5.5.16.1 На грузонесущем устройстве должно быть предусмотрено устройство экстренной сигнализации, обеспечивающее двустороннюю переговорную связь пользователя с обслуживающим персоналом, в течение всего времени, когда платформа доступна для пользователей.
5.5.16.2 Устройство экстренной сигнализации должно быть оснащено резервным источником питания (например, резервным аккумулятором и зарядным устройством) на случай отключения основного источника питания.
Продолжительность работы устройства экстренной сигнализации от резервного источника питания должна составлять не менее 1 ч.
Устройство экстренной сигнализации должно работать даже в случае сбоя электропитания. В случае подключения к телефонной сети общего пользования 5.5.16.2 может не применяться.
5.5.16.3 Устройство экстренной сигнализации или аналогичное устройство, имеющее резервный источник питания (как, например указанный в 5.5.4), должно быть установлено для обеспечения двусторонней переговорной связи также между приямком и машинным помещением или устройством управления, если прямая голосовая связь между этими местами невозможна.
5.5.17 Беспроводное управление
5.5.17.1 Беспроводная система управления должна быть рассчитана на работу только с одной платформой. Она должна быть сконструирована таким образом, чтобы платформа не реагировала на сигналы от другой платформы или другой беспроводной системы управления (например, путем использования соответствующего частотного спектра, кодированных сигналов и диапазона).
На платформах, установленных в общественных зданиях, пульты беспроводной системы управления должны быть закреплены, чтобы их нельзя было унести.
5.5.17.2 Беспроводная система управления должна быть сконструирована таким образом, чтобы в случае отказа компонента она была не менее безопасной, чем проводная система управления.
5.5.18 Управление при проверках и испытаниях
Для облегчения проведения работ по осмотру, техническому обслуживанию, проверкам и испытаниям может быть предусмотрен специальный пост управления.
Включение этого поста управления должно осуществляться аппаратом (выключатель режима "Инспекция"), удовлетворяющим требованиям к электрическим устройствам безопасности в соответствии с 5.5.11. Аппарат должен иметь два фиксированных положения и быть защищен от случайного воздействия.
Одновременно должны выполняться следующие условия:
a) включение режима "Инспекция" должно отключать режим "Нормальная работа";
b) движение грузонесущего устройства должно зависеть от постоянного нажатия на кнопку, защищенную от случайного срабатывания и с четко указанным направлением движения;
c) на посту управления должно быть устройство аварийной остановки;
d) движение грузонесущего устройства должно быть возможным только при замкнутых контактах электрических устройств безопасности.
5.6.1 Общие положения
См. пример на рисунке 7.

Рисунок 7 - Пример вертикальной платформы с огражденной шахтой
5.6.2 Зазоры в верхней части шахты
При нахождении грузонесущего устройства в контакте с верхним механическим упором, вертикальный зазор между полом грузонесущего устройства и самыми низкими частями препятствий над головой должен быть не менее 2 м.
5.6.3 Сигнальные устройства для персонала
Если существует риск, что работающий в шахте персонал не сможет самостоятельно из нее выбраться, то в таких местах должны быть установлены сигнальные устройства. Сигнальные устройства должны отвечать требованиям 5.5.16.2 и 5.5.16.3.
5.6.4 Конструкция ограждения шахты
5.6.4.1 Каждая стенка ограждения должна образовывать сплошную вертикальную гладкую поверхность и состоять из жестких элементов.
5.6.4.2 Со стороны грузонесущего устройства, не имеющего сплошного ограждения на высоту менее 2000 мм, любые выемки или выступы на внутренних поверхностях стен шахты не должны превышать 5 мм, а выступы, превышающие 1,5 мм, должны быть скошены под углом не более 15° к вертикали (см. рисунок 8). Для платформ с частичным ограждением шахты или без ограждения шахты данное требование распространяется на смежные поверхности, расположенные на расстоянии не более 10 мм от любой части грузонесущего устройства.

1 - внутренняя поверхность двери шахты или стены ограждения шахты
Рисунок 8 - Размеры допустимых выступов ограждения шахты
5.6.4.3 Через вертикальные щели (пазы) с внутренней стороны шахты не должен быть возможен доступ к любым движущимся частям привода. Не должно быть никаких доступных острых краев или выступающих частей, которые могли бы вызвать защемление/срезание/раздавливание пальцев или рук при попадании в щель. Постоянный размер щели на протяжении всего перемещения должен поддерживаться во избежание захвата руки или пальца. Размеры зазора/щели должны соответствовать ГОСТ ISO 13857.
Если при попадании в щель пальцев или рук существует риск защемления/срезания/раздавливания, должны применяться устройства в соответствии с 5.9.2.
5.6.4.4 Сплошное ограждение шахты должно выдерживать нагрузку, равную 300 Н, равномерно распределенную по круглой или квадратной площадке площадью 5 см 2 и приложенную под прямым углом в любой ее точке с упругой деформацией, не превышающей 15 мм, при этом остаточная деформация не допускается. Кроме того, ограждение шахты также должно выдерживать нагрузку, равную 1000 H, равномерно распределенную по круглой или квадратной площадке площадью 100 см 2 и приложенную под прямым углом в любой ее точке с остаточной деформацией, не превышающей 1 мм. При этом упругая деформация стенки шахты не должна превышать рабочего зазора между грузонесущим устройством и стенкой шахты.
5.6.4.5 Для платформ с высотой подъема до 3 м высота ограждения над уровнем пола верхней посадочной площадки должна быть не менее 1,1 м (см. рисунок 9). При высоте подъема более 3 м высота ограждения должна быть не менее 2,0 м над уровнем пола верхней посадочной площадки. Ограждение шахты должно препятствовать доступу посторонних лиц к находящемуся внутри шахты оборудованию (приводу).
Высота ограждения шахты должна быть не ниже ограждения грузонесущего устройства, при его нахождении в крайней верхней точке траектории движения с учетом переподъема.

|
Описание |
Пункт |
Обозначение |
Размер, мм |
|
Высота подъема |
t1 |
- | |
|
Высота входного проема в свету на нижней и промежуточных посадочных площадках |
5.8.2 |
h1 |
≥ 2 000 |
|
Высота ограждения шахты/высота двери шахты на верхней посадочной площадке |
5.6.4.5 |
h2 |
≥ 1 100 |
|
5.8.3.1 |
≥ 2 000 (при высоте подъема > 3 000) | ||
|
Высота от уровня верхней посадочной площадки до перекрытия |
5.6.2 |
h3 |
≥ 2 000 |
|
Высота вертикального щита |
5.9.3 |
h4 |
не менее половины зоны отпирания двери |
Примечание - h5 - возможный переподъем грузонесущего устройства по отношению к точной остановке.
Рисунок 9 - Платформа с огражденной шахтой
5.6.5 Требования к стеклу, применяемому для ограждения шахты
Если в конструкции ограждения шахты или распашных дверей используется стекло, то оно должно отвечать требованиям, приведенным в таблицах 10 и 11. Стеклянные панели должны быть со всех сторон закреплены в раме.
Если требования таблиц 10 и 11 не выполнены, стекло должно быть испытано в соответствии с ГОСТ 33984.2-2016, приложение ДД.11. Испытание проводит изготовитель платформы или по его поручению испытательная лаборатория.
|
Тип стекла |
Диаметр вписанной окружности | |
|
Не более 1 м |
Не более 2 м | |
|
Минимальная толщина, мм |
Минимальная толщина, мм | |
|
Закаленное ламинированное (многослойное) стекло |
8 (4 + 4 + 0,76) |
10 (5 + 5 + 0,76) |
|
Ламинированное (многослойное) стекло |
10 (5 + 5 + 0,76) |
12 (6 + 6 + 0,76) |
|
Тип стекла |
Минимальная толщина, мм |
Максимальный диаметр вписанной окружности, мм |
|
Закаленное стекло |
8 |
100 |
|
Закаленное ламинированное (многослойное) стекло |
8 (4 + 4 + 0,76) |
1 000 |
|
Ламинированное (многослойное) стекло |
10 (5 + 5 +0,76) |
1 000 |
5.6.6 Двери и люки для технического обслуживания
5.6.6.1 Двери и люки для технического обслуживания при открытии не должны пересекать траекторию движения грузонесущего устройства.
5.6.6.2 Двери и люки для технического обслуживания должны открываться снаружи с помощью специального ключа или инструмента.
5.6.6.3 Двери и люки для технического обслуживания должны механически запираться. Контроль запирания в соответствии с 5.5.11.1.1.
5.6.7 Вентиляция
5.6.7.1 Полностью огражденная шахта должна иметь вентиляционные отверстия.
5.6.7.2 Эффективная площадь вентиляционных отверстий должна составлять не менее 2 % от площади пола грузонесущего устройства. Зазоры вокруг дверей могут быть учтены при расчете площади вентиляционных отверстий и составлять до 50 % необходимой площади вентиляционных отверстий.
5.6.7.3 Вентиляционные отверстия должны быть сконструированы или расположены таким образом, чтобы сквозь ограждение шахты изнутри невозможно было просунуть прямой жесткий стержень диаметром 10 мм.
Примечание - См. также приложение F.
Огнестойкость дверей полностью огражденной шахты должна соответствовать требованиям, касающимся противопожарной защиты соответствующего здания.
5.8.1 Общие положения
Входные проемы огражденной шахты должны закрываться дверями. Входной проем для доступа на грузонесущее устройство, установленное в частично огражденной шахте или в не огражденной шахте, допускается не оборудовать дверью.
5.8.2 Распашные двери
Ширина в свету дверного проема двери шахты и грузонесущего устройства должна быть не менее 800 мм.
В принадлежащих частным лицам зданиях при транспортировании на не предназначенном для инвалидных кресел-колясок типа А и В грузонесущем устройстве пользователя стоя, допускается ширина в свету входов 500 мм.
Высота в свету дверного проема должна быть не менее 2000 мм.
Проемы в ограждении шахты, через которые осуществляется вход на грузонесущее устройство, должны быть оборудованы дверями, отвечающими следующим требованиям:
a) должны быть сплошными;
b) должны закрываться автоматически; дверь может удерживаться в открытом положении при условии:
1) если двери относятся к системе противопожарной безопасности здания, то они должны автоматически закрываться при срабатывании пожарной сигнализации;
2) если возможно неконтролируемое движение грузонесущего устройства с уровня этажной площадки, то двери должны закрываться автоматически;
c) не открываться внутрь шахты или в пространство, в котором перемещается грузонесущее устройство;
d) ручное усилие открывания двери должно быть не более 40 Н;
е) изготовленная из непрозрачного материала открываемая вручную дверь шахты высотой более 1,1 м должна быть оборудована смотровым окном (окнами) или должна быть предусмотрена информация о наличии грузонесущего устройства на этаже. Смотровое окно должно:
1) иметь ширину не менее 60 мм;
2) нижний край смотровых окон должен находиться на высоте от 300 до 900 мм над уровнем этажной площадки;
3) остекленная площадь одной двери шахты должна быть не менее 0,015 м 2, но не менее 0,01 м 2 на каждое смотровое окно.
Допускается располагать нижний край смотрового окна на расстоянии более 900 мм от нижней части двери, при условии, что имеется световой сигнал о наличии грузонесущего устройства на посадочной площадке, который загорается при приближении грузонесущее устройство к остановке или грузонесущее устройство остановлено на конкретной посадочной площадке. Этот сигнал может быть выключен, если двери шахты закрыты, а грузонесущее устройство стоит на уровне посадочной площадки, но должен включиться снова, если нажимается кнопка вызова на той посадочной площадке, на которой находится грузонесущее устройство.
5.8.3 Высота двери шахты
5.8.3.1 Верхняя посадочная площадка
Для платформ с высотой подъема до 3 м высота двери на верхней посадочной площадке должна быть высотой не менее 1,1 м над уровнем пола верхней посадочной площадки (см. рисунок 9). При высоте подъема более 3 м высота двери на верхней посадочной площадке должна быть не менее 2,0 м над уровнем пола верхней посадочной площадки.
Кроме того, высота двери на верхней посадочной площадке должна быть не ниже ограждения грузонесущего устройства, когда оно находится в крайней верхней точке траектории движения с учетом возможного выбега.
5.8.3.2 Нижняя посадочная площадка и промежуточные уровни
Высота двери полностью огражденной шахты на нижней или промежуточных посадочных площадках должна полностью закрывать входной проем или быть по высоте равной высоте ограждения шахты в зависимости от того, какой размер меньше.
5.8.3.3 Если строительная часть здания не позволяет выполнить требование 5.8.3.1, высота в свету двери шахты может быть уменьшена, но должна быть не менее 1800 мм. Если высота в свету двери шахты менее 2000 мм, то на посадочной площадке должны быть размещены соответствующие предупреждения.
5.8.4 Конструкция двери шахты
5.8.4.1 Внутренняя поверхность двери шахты должна образовывать твердую гладкую поверхность. Любые выемки или выступы на внутренних поверхностях дверей шахты не должны превышать 5 мм, а выступы, превышающие 1,5 мм, должны иметь скосы под углом не более 15° к вертикали (см. рисунок 8).
5.8.4.2 Внутренняя поверхность дверей шахты должна образовывать сплошную плоскость с внутренней поверхностью ограждения шахты.
5.8.4.3 Остекление
Материалы, используемые для остекления двери шахты, должны соответствовать 5.6.5.
5.8.4.4 Зазоры
Зазор между дверью шахты и порогом, дверью и обвязкой дверного проема, между створками двери не должен быть более 8 мм на всем пути движения грузонесущего устройства с учетом его выбега.
5.8.4.5 Направляющие дверей
Двери шахты должны быть спроектированы таким образом, чтобы во время нормальной работы предотвращались механическое заедание или смещение дверного полотна.
5.8.4.6 Пороги
Вход должен быть оборудован порогом или пандусом достаточной прочности, чтобы выдерживать нагрузки, возникающие при эксплуатации платформы.
Пандусы должны быть установлены со стороны доступа на грузонесущее устройство, если перепад высот между порогом двери шахты и чистым полом превышает 10 мм, либо между уровнем пола посадочной площадки и полом грузонесущего устройства (при отсутствии шахты) превышает 15 мм.
Пандус должен иметь уклон, который не превышает указанных ниже значений. Перепад высот менее 10 мм допустим на переднем крае пандуса. Уклон не должен превышать:
a) 1:4 при перепаде высот до 50 мм;
b) 1:6 при перепаде высот до 75 мм;
c) 1:8 при перепаде высот до 100 мм;
d) 1:12 при перепаде высот свыше 100 мм.
5.8.4.7 Прочность дверей шахты
Двери шахты вместе с замками должны выдерживать в запертом положении нагрузку 300 Н, равномерно распределенную по круглой или квадратной площадке площадью 5 см 2 и приложенную к дверной панели под прямым углом в любой ее точке с фасадной стороны, при этом:
a) отсутствует остаточная деформация;
b) упругая деформация не превышает 15 мм;
c) во время и после испытаний не нарушается безопасное функционирование двери.
После снятия воздействия на дверь нагрузки 1000 Н, равномерно распределенной по круглой или квадратной площадке площадью 100 см 2 и приложенной к дверной панели под прямым углом в любой ее точке, остаточная деформация должна быть не более 1 мм.
5.8.5 Запирание двери
5.8.5.1 При нормальной работе платформы должна быть исключена возможность открытия двери шахты, если порог грузонесущего устройства находится на расстоянии более 50 мм от уровня порога этой двери.
5.8.5.2 Должна быть исключена возможность пуска или движения грузонесущего устройства с открытой дверью шахты. Контроль закрытого положения двери шахты должен осуществляться электрическим устройством безопасности, отвечающим требованиям 5.5.11.
5.8.5.3 Должна быть исключена возможность пуска или движение грузонесущего устройства с незапертой дверью шахты, если порог грузонесущего устройства находится на расстоянии более 50 мм от уровня порога этой двери. Контроль запирания двери шахты должен осуществляться электрическим устройством безопасности, отвечающим требованиям 5.5.11. Движение грузонесущего устройства должно быть возможно только после перемещения запирающего элемента автоматического замка двери шахты не менее чем на 7 мм в ответную часть замка (см. рисунок 10).

Рисунок 10 - Пример запирающего элемента
5.8.5.4 Запирающий элемент замка должен воздействовать на электрический контакт безопасности. При необходимости допускается регулировка их установки относительно друг друга.
5.8.5.5 Запирающие элементы и их крепления должны быть устойчивы к ударным нагрузкам.
5.8.5.6 Зацепление запирающего элемента должно обеспечивать надежное запирание при приложении нагрузки в направлении открывания двери.
5.8.5.7 Запирающий элемент должен выдерживать без остаточной деформации усилие 3000 Н, действующее на запирающий элемент на уровне замка в направлении открывания двери. После снятия нагрузки функция запирания не должна быть нарушена.
Запирание автоматического замка и его нахождение в запертом состоянии должно происходить под действием силы тяжести, постоянных магнитов или пружин сжатия. Пружины сжатия должны иметь направляющие и такие размеры, чтобы в момент отпирания автоматического замка исключалось соприкосновение витков пружины.
Автоматические замки должны оставаться в запертом состоянии под действием силы тяжести в случае прекращения функционирования постоянных магнитов или пружин.
Если запирающий элемент автоматического замка удерживается в запертом положении под действием постоянного магнита, должна быть исключена возможность его нейтрализации простым средством (например, нагреванием или ударом).
Замок двери шахты должен быть защищен от опасности накопления пыли, которая может помешать его нормальному функционированию.
5.8.5.8 Замки на дверях шахты должны быть расположены на или вблизи притвора двери и должны продолжать эффективно запирать дверь в случае ее провисания.
5.8.5.9 Замки двери шахты должны быть спроектированы и расположены таким образом, чтобы они были недоступны снаружи и изнутри при нормальном использовании, и должны быть защищены от преднамеренного неправильного использования. Осмотр рабочих частей должен быть легким, например с помощью смотровой панели.
5.8.6 Аварийное отпирание
5.8.6.1 Допускается отпирать дверь шахты только снаружи с помощью специального ключа или инструмента, например соответствующего ключевине, показанной на рисунке 11. После аварийного открывания должна быть возможность закрыть и запереть дверь без использования инструмента.

Рисунок 11 - Треугольная ключевина
5.8.6.2 Двери должны:
- или быть оборудованы блокирующим устройством, управляемым положением грузонесущего устройства, которое предотвращает отпирание двери шахты, если порог грузонесущего устройства не находится в зоне отпирания этой двери;
- или должно быть возможно только аварийное отпирание дверей шахты крайних посадочных площадок, при этом должны быть выполнены требования 5.1.4.2.1, перечисление с).
5.8.7 Защита при работе дверей
5.8.7.1 Кинетическая энергия автоматической двери шахты с жестко присоединенными к ней элементами конструкции, рассчитываемая или измеряемая при средней скорости закрывания, должна быть не более 1,69 Дж (низкий уровень кинетической энергии).
Усилие, необходимое для предотвращения закрывания или открывания двери, не должно превышать 67 Н.
В приложении ДВ приведены заданные настройки скорости открывания/закрывания для различной ширины и массы двери шахты для обеспечения этих двух требований.
Если настройки двери шахты не отвечают указанным в приложении ДВ, дверь должна быть испытана в соответствии с ГОСТ 34682.3-2020, приложение Б.5 и Б.10.
5.8.7.2 Чтобы пользователи могли беспрепятственно входить и выходить с грузонесущего устройства, выдержка времени до начала закрывания двери должна быть первоначально установлена 5 с. Система управления должна позволять регулировать время выдержки до начала закрывания двери от 2 с до 20 с. Средства регулировки выдержки времени не должны быть доступны пользователям.
5.9.1 Конструкция
5.9.1.1 Стенки грузонесущего устройства должны выдерживать нагрузку 300 Н, равномерно распределенную по круглой или квадратной площадке площадью 5 см 2 и приложенную под прямым углом в любой ее точке изнутри кабины с упругой деформацией, не превышающей 15 мм, при этом остаточная деформация не допускается.
Стенки грузонесущего устройства должны выдерживать нагрузку 1000 H, равномерно распределенную по круглой или квадратной площадке площадью 100 см 2 и приложенную под прямым углом в любой ее точке изнутри грузонесущего устройства. При этом остаточная деформация допускается не более 1 мм.
Если приводные, направляющие или подъемные механизмы, находящиеся рядом с грузонесущим устройством, представляют опасность для пользователя, они должны быть защищены кожухами или ограждением. Ограждение должно быть гладким, жестким и сплошным.
5.9.1.2 При отсутствии ограждения шахты или при не полностью огражденной шахте грузонесущее устройство со стороны входа с нижней посадочной площадки должно быть оборудовано дверью/шлагбаумом со следующими размерами:
a) при высоте подъема до 1000 мм высота двери/шлагбаума грузонесущего устройства должна составлять от 900 мм до 1100 мм, и они должны содержать промежуточную перекладину и обшивку высотой 100 мм над полом грузонесущего устройства;
b) при высоте подъема более 1000 мм дверь/шлагбаум грузонесущего устройства должны иметь высоту не менее 1 100 мм и иметь обшивку понизу высотой не менее 100 мм над уровнем пола грузонесущего устройства. Между промежуточными элементами шлагбаума не должен проходить шар диаметром 100 мм.
Двери грузонесущего устройства должны быть в состоянии выдерживать нагрузку 300 H, действующую под прямым углом в любой точке и в любом направлении на площади 5 см 2 (круглого или квадратного сечения) без остаточной деформации.
Шлагбаумы грузонесущего устройства должны быть в состоянии выдерживать нагрузку 300 H, действующую под прямым углом в любой точке и в любом направлении, без превышающей 10 мм упругой деформации и без какой-либо влияющей на безопасность остаточной деформации. Кроме того, шлагбаум должен выдерживать без влияющей на безопасность остаточной деформации усилие 1000 H, приложенное горизонтально и вертикально в точке, совпадающей с осью пола грузонесущего устройства.
Запирание двери/шлагбаума грузонесущего устройства должно соответствовать 5.8.5, а аварийное отпирание - 5.8.6.
5.9.1.3 При отсутствии ограждения шахты или при не полностью огражденной шахте края грузонесущего устройства не со стороны входа, которые находятся на расстоянии по всей высоте подъема более 10 мм от стены, должны быть защищены следующим образом:
a) при высоте подъема до 1000 мм должно быть предусмотрено ограждение высотой от 900 мм до 1100 мм, имеющее промежуточную перекладину и обшивку высотой не менее 100 мм над уровнем пола грузонесущего устройства;
b) при высоте подъема свыше 1000 мм должно быть предусмотрено ограждение высотой не менее 1100 мм, имеющее обшивку понизу высотой не менее 100 мм над уровнем пола грузонесущего устройства. Между элементами ограждения не должен проходить шар диаметром 100 мм.
Ограждение должно выдерживать нагрузку 300 H, действующую под прямым углом в любой точке и в любом направлении без остаточной деформации.
5.9.2 Чувствительные кромки, фотоэлементы или световые барьеры
5.9.2.1 Общие положения
Не имеющие ограждения стороны грузонесущего устройства, установленного в полностью огражденной шахте, должны быть оборудованы кромками безопасности, фотоэлементами или световыми барьерами, расположенными вдоль края пола грузонесущего устройства (первый луч на высоте не более 35 мм от пола).
Не имеющие ограждения стороны установленного в частично огражденную шахту или без ограждения шахты грузонесущего устройства, расположенные на расстоянии от 10 до 100 мм от частичного ограждения шахты или смежных поверхностей, должны быть оборудованы кромками безопасности или фотоэлементами, или световыми барьерами, расположенными вдоль края пола грузонесущего устройства (первый луч на высоте не более 35 мм от пола).
Чувствительные кромки, фотоэлементы или световые барьеры также требуются на любых других поверхностях грузонесущего устройства, если существует риск защемления между его элементами и смежной поверхностью. Считается, что существует риск защемления, если поверхность грузонесущего устройства находится на расстоянии менее 100 мм от смежной поверхности.
5.9.2.2 Срабатывание любой чувствительной кромки, фотоэлементов или светового барьера должно вызывать отключение электропитания двигателя и тормоза в направлении движения грузоподъемного устройства. Это должно быть достигнуто путем использования электрического устройства безопасности или цепи безопасности, отвечающим требованиям 5.5.11.
5.9.2.3 Срабатывание этих электрических устройств безопасности должно вызвать остановку грузонесущего устройства до того, как будет превышено усилие защемления 30 Н. Усилие, необходимое для срабатывания любой чувствительной кромки, не должно превышать 30 Н при измерении на каждом ее конце и в средней точке.
5.9.2.4 При нахождении грузонесущего устройства в полностью огражденной шахте горизонтальное расстояние между чувствительными кромками, фотоэлементами или световыми барьерами и ограждением шахты не должно превышать 20 мм.
Горизонтальное расстояние между грузонесущим устройством и порогами посадочных площадок не должно превышать 20 мм (см. рисунки 12, 13).
Горизонтальные расстояния между грузонесущим устройством и частично огражденной шахтой или элементами строительной части см. на рисунке 14.

1 - защитные устройства, требуемые, если b 4 менее 100 мм; 2 - уровень посадочной площадки; 3 - грузонесущее устройство; 4 - фартук (вертикальный щит)
|
Описание |
Пункт |
Обозначение |
Размер, мм |
|
Расстояние между ограждением шахты и краем грузонесущего устройства |
5.9.2.4 |
b 3 |
≤ 20 |
|
Расстояние между поручнем и неподвижной поверхностью |
5.9.7 |
b 4 |
≥ 35 |
|
Расстояние между поручнем и движущейся относительно поручня поверхностью |
5.9.7 |
b 4 |
≥ 100 |
|
Высота вертикального щита |
5.9.3 |
h 5 |
Не менее половины зоны отпирания |
|
Высота установки поручня |
5.9.7 |
h 6 |
От 850 до 950 мм |
Рисунок 12 - Размеры и зазоры для установленного в полностью огражденной шахте грузонесущего устройства, не имеющего стен, потолка или перекрытия

1 - ограждение грузонесущего устройства; 2 - уровень посадочной площадки; 3 - пол грузонесущего устройства; 4 - фартук (вертикальный щит); 5 - перекрытие грузонесущего устройства
|
Описание |
Пункт |
Обозначение |
Размер, мм |
|
Расстояние между ограждением шахты и краем грузонесущего устройства |
5.9.2.4 |
b 3 |
<20 |
|
Высота вертикального щита |
5.9.3 |
h 5 |
Не менее половины зоны отпирания |
Рисунок 13 - Размеры и зазоры для установленного в полностью огражденной шахте грузонесущего устройства, со стенами, потолком или перекрытием

1 - грузонесущее устройство; 2 - уровень посадочной площадки; 3 - вертикальный щит; 4 - зона ограждения
|
Описание |
Пункт |
Обозначение |
Размер, мм |
|
Смежные поверхности без кромок безопасности |
5.9.7 |
А |
≤ 10 |
|
Расстояние между поручнем и неподвижной поверхностью |
5.9.7 |
В |
≥ 35 |
|
Расстояние между поручнем и движущейся относительно поручня поверхностью |
5.9.7 |
С |
≥ 100 |
|
Смежные поверхности с кромками безопасности |
8.3 |
D |
От 10 до 100 мм |
|
Высота установки поручня |
5.9.7 |
Е |
От 900 до 1100 мм |
|
Высота вертикального щита |
5.9.3 |
F |
Не менее половины зоны отпирания |
Рисунок 14 - Размеры и зазоры для установленного в частично огражденную шахту или без шахты грузонесущего устройства без стен и потолка
5.9.3 Вертикальный щит (фартук)
Под каждым порогом грузонесущего устройства на всю его ширину должен быть установлен вертикальный щит.
Высота вертикального щита грузонесущего устройства, установленного в полностью огражденной шахте, должна быть не менее половины зоны отпирания двери шахты (см. рисунки 12, 13 и 14).
Высота вертикального щита грузонесущего устройства, установленного в не полностью огражденной шахте или без шахты, должна быть не менее 25 мм (см. рисунок 2).
В качестве щита могут рассматриваться элементы рамы грузонесущего устройства.
5.9.4 Покрытие пола
Покрытие пола грузонесущего устройства должно быть нескользким. При расположении грузонесущего устройства в полностью огражденной шахте покрытие пола грузонесущего устройства должно отличаться по цвету и уровню освещенности от пола посадочной площадки.
5.9.5 Перекрытие
Если грузонесущее устройство оборудовано перекрытием (потолком), то работы по техническому обслуживанию можно осуществлять с перекрытия грузонесущего устройства. В этом случае перекрытие грузонесущего устройства должно выдерживать нагрузку 1000 Н, эквивалентную массе одного человека, приложенную на площадке с размерами 0,2 х 0,2 м.
Открытие любой обеспечивающей выход на перекрытие грузонесущего устройства двери должно осуществляться с помощью ключа и препятствовать нормальной работе платформы. Возврат платформы к нормальной работе должен проводиться только с помощью устройства сброса, расположенного вне шахты и доступного только для квалифицированного персонала.
Если выход на перекрытие запрещен, то на перекрытии грузонесущего устройства должна быть предупредительная табличка в соответствии с 7.6.1.
5.9.6 Пост управления
На одной стороне грузонесущего устройства должно быть установлено следующее оборудование:
a) аппараты управления (см. 5.5.15);
b) устройство аварийной остановки "Стоп" (см. 5.5.15.5);
c) устройство управления экстренной сигнализацией (см. 5.5.16).
Расположение аппаратов управления по пунктам а), b) и с) в соответствии с таблицей 9.
5.9.7 Поручень
Поручень должен быть установлен по крайней мере на одной боковой стороне грузонесущего устройства.
Рабочая часть поручня на грузонесущем устройстве, установленном в полностью огражденной шахте, должна иметь размеры поперечного сечения от 30 мм до 45 мм. Высота верхнего края рабочей части поручня должна находиться на расстоянии от 850 до 950 мм от пола грузонесущего устройства.
Рабочая часть поручня или выполняющего его функции элемента на грузонесущем устройстве, установленном в не полностью огражденной шахте или без шахты, должна иметь размеры поперечного сечения от 25 мм до 60 мм. Высота верхнего края рабочей части поручня или выполняющего его функции элемента должна находиться на расстоянии от 900 до 1100 мм от пола грузонесущего устройства.
Минимальный радиус закругления поручня или выполняющего его функции элемента 10 мм.
Зазор между неподвижным ограждением и рабочей частью поручня должен быть не менее 35 мм.
Зазор между движущимися относительно грузонесущего устройства поверхностями и рабочей частью поручня должен быть не более 10 мм или не менее 100 мм.
Если положение поручня препятствует доступу к аппаратам управления, то в поручне должен быть разрыв, чтобы обеспечить доступ к аппаратам управления.
Если проекция поручня на вертикальную плоскость попадает в проем двери шахты, то выступающие концы поручня должны быть закрыты заглушками и изогнуты по направлению к стене грузонесущего устройства, чтобы минимизировать риск травмирования пользователя.
5.9.8 Стекло
Если в вертикальных элементах ограждения грузонесущего устройства применено стекло, то оно должно соответствовать требованиям 5.6.5.
5.9.9 Откидное сиденье
Если на грузонесущем устройстве установлено откидное сиденье, то оно должно отвечать следующим требованиям:
1) высота установки сиденья от уровня пола 500 ± 20 мм;
2) глубина от 300 до 400 мм;
3) ширина от 400 до 500 мм;
4) должно выдерживать нагрузку 100 кг.
5.9.10 Рама грузонесущего устройства
Рама грузонесущего устройства должна быть изготовлена из негорючих материалов.
5.9.11 Защита под грузонесущим устройством, установленным в не полностью огражденной шахте или без шахты
5.9.11.1 Все потенциальные опасности сжатия, возникающие из-за любой части нижней поверхности грузонесущего устройства, должны быть устранены следующим образом:
a) или путем окружения пространства под грузонесущим устройством сильфоном или аналогичным устройством для предотвращения доступа и защиты всей периферии (всего контура) грузонесущего устройства с помощью кромок безопасности;
b) путем установки поверхности безопасности по всей площади нижней поверхности грузонесущего устройства.
5.9.11.2 Срабатывание поверхности безопасности должно вызывать отключение электропитания двигателя и тормоза в направлении движения грузонесущего устройства. Это должно быть достигнуто посредством электрического устройства безопасности, отвечающего требованию 5.5.11.
5.9.11.3 Средняя величина усилия, измеренного в двух диагонально противоположных углах и в центральной точке поверхности безопасности, которое требуется для приведения в действие этого защитного устройства, не должно превышать:
a) 50 H для поверхностей с площадью, равной или меньшей 0,15 м 2;
b) 100 H для поверхностей с площадью более 0,15 м 2.
Примечание - Поверхности безопасности, работающие в направлении движения грузонесущего устройства вниз, могут принудительно отключаться, когда ближайший край поверхности безопасности находится в пределах 10 мм от уровня пола посадочной площадки.
Требования безопасности и меры защиты перечислены в разделе 5.
Соответствие этим требованиям проверяет завод-изготовитель для каждой новой модели платформы (см. ГОСТ 34682.3-2020, приложение А, таблица А.2). Метод(ы) проверки конкретного требования (визуальный контроль, испытание, измерение, расчет) за исключением испытаний узлов по ГОСТ 34682.3-2020, приложение Б устанавливает изготовитель. Все записи о проверке должны храниться изготовителем в течение выпуска конкретной модели платформы, плюс 5 лет.
Испытания проводит либо изготовитель, либо по договору с изготовителем испытательная лаборатория.
6.2.1 Ограничитель скорости
Ограничитель скорости должен быть испытан в соответствии с ГОСТ 33984.3-2017, приложение А, А.3.
6.2.2 Устройство защиты от превышения скорости при движении вверх
Устройство защиты от превышения скорости при движении вверх должно быть испытано в соответствии с ГОСТ 33984.2-2016, приложение ДБ, ДБ.6.
6.2.3 Разрывной клапан
Разрывной клапан должен быть испытан в соответствии с ГОСТ 33984.3-2017, приложение А, А.5.
6.2.4 Ловители
Ловители должны быть испытаны в соответствии с ГОСТ 33984.3-2017, приложение А, А.2.
6.2.5 Самотормозящаяся система
Самотормозящаяся система должна быть испытана в соответствии с ГОСТ 34682.3-2020, приложение Б, Б.2.
6.2.6 Останавливающее устройство безопасности
Останавливающее устройство безопасности должно быть испытано в соответствии с приложением ГОСТ 34682.3-2020, приложение Б, Б.1.
6.2.7 Замок двери шахты
Замок двери шахты должен быть испытан в соответствии с ГОСТ 33984.3-2017, приложение А, А.1.
6.3.1 По завершении монтажа и перед вводом в эксплуатацию платформа должна быть подвергнута тщательному осмотру и испытанию компетентным лицом для подтверждения следующего:
a) все аппараты управления функционируют правильно;
b) все автоматические замки дверей шахты функционируют правильно;
c) тормозной путь движущегося вниз на номинальной скорости с номинальной нагрузкой грузоподъемного устройства находится в заданных пределах;
d) если тормоз содержит две независимые системы торможения, то при испытании должно быть подтверждено, что, если одна система не работает, вторая система остановит и удержит грузонесущее устройство, движущееся вниз с номинальной скоростью и с номинальной нагрузкой;
e) все электрические устройства безопасности функционируют правильно;
f) тяговые элементы и их заделка находятся в исправном состоянии;
g) необходимые зазоры между ограждающей конструкцией шахты и грузоподъемным устройством сохраняются по всей высоте подъема;
h) состояние изоляции и заземления нормальное;
i) правильная полярность подключения к сети;
j) правильная скорость срабатывания ограничителя скорости (разрывного клапана в случае гидравлического привода) и правильное функционирование ловителей при движении грузонесущего устройства на номинальной скорости и с номинальной нагрузкой;
k) правильная работа системы эвакуации/ручного управления;
l) правильная работа аварийной сигнализации;
m) наличие и функционирование блокировочного устройства;
n) правильное отображения информации;
о) срабатывание грузовзвешивающего устройства (номинальная нагрузка + 75 кг);
р) положительный результат динамического испытания с максимальной рабочей нагрузкой и на номинальной скорости;
q) отсутствие остаточной деформации после испытаний статической нагрузкой 125 % от номинальной грузоподъемности;
r) правильные вращение предохранительной гайки, расстояние между несущей и предохранительной гайками, расположение электрического устройства безопасности;
s) при наличии привода трения соответствие трем положениям 5.4.11. При наличии противовеса проверка функционирования системы защиты от превышения скорости при движении пустого грузонесущего устройства на номинальной скорости в направлении вверх;
t) фиксация (опломбирование, краска и т.п.) окончательной настройки останавливающего устройства.
Порядок и методика выполнения проверок и испытаний должна быть включена в руководство по эксплуатации.
6.3.2 Акт (протокол), содержащий данные перечисленных выше проверок и испытаний, необходимо хранить в паспорте платформы вместе с актом ввода в эксплуатацию.
Руководство по эксплуатации должно включать информацию о том, что снятие грузонесущего устройства с ловителей и возвращение ловителей в исходное состояние проводится только квалифицированным персоналом.
Общие требования к информации, расположению и характеру информации для пользователя, сигналов и предупреждающих устройств, маркировки, знаков (пиктограмм), письменных предупреждений, сопроводительных документов (в частности, руководства по эксплуатации) содержатся в ГОСТ ISO 12100.
7.3.1 Отображаемая информация
7.3.1.1 Общие положения
На платформе должна быть указана следующая минимальная информация:
7.3.1.2 Номинальная грузоподъемность
Номинальная грузоподъемность и максимальное число пользователей. Размер текста или символов должен быть не менее 10 мм в верхнем и 7 мм нижнем регистре.
7.3.1.3 Устройства управления
Функции всех устройств управления подъемной платформой должны быть идентифицированы в соответствии с 5.5.15.1.
7.3.1.4 Устройства вызова экстренной сигнализации.
Любое устройство вызова на двустороннюю переговорную связь экстренной сигнализации, указанной в 5.5.16, должно быть окрашено в желтый цвет и обозначаться символом колокольчика.

7.3.1.5 Символ доступности для инвалидов
При установке платформы в общественных местах на каждой этажной площадке должен быть международный символ доступности. Высота символа не менее 50 мм.

7.4.1 Подробная пошаговая инструкция выполнения операции по освобождению пользователя в соответствии с 5.4.3 должна находиться на видном месте рядом с устройством управления операцией по освобождению пользователя.
7.4.2 Если имеется возможность управления устройством для перемещения грузонесущего устройства как в направлении вверх, так и в направлении вниз, то рядом с устройством должна быть установлена табличка с указанием направления движения грузонесущего устройства.
7.4.3 На платформах с гидравлическим приводом рядом с клапаном для ручного опускания должна быть следующая надпись:
"Опасно - клапан аварийного опускания"
7.5.1 Должна быть возможность идентификации главного выключателя.
7.5.2 На подъемных платформах с гидравлическим приводом рядом с главным выключателем должна быть следующая надпись:
"Выключать только при нахождении грузоподъемного устройства на нижней посадочной площадке".
7.6.1 На перекрытии грузонесущего устройства должна находиться хорошо видимая из любой двери доступа табличка, предупреждающая об опасности. Как минимум, табличка должна содержать предупреждающий об опасности знак

Табличка должна быть достаточно большой (сторона минимум 300 мм) и располагаться на видном месте, чтобы она сразу была видна любому лицу, которое может попытаться выйти на перекрытие.
7.6.2 На вертикальном щите под порогом грузонесущего устройства на стороне, примыкающей к этажной площадке, должно быть следующее предупреждение:
"Риск падения в шахту - переместить грузонесущее устройство на уровень этажной площадки - при невозможности перемещения эвакуация пользователя осуществляется только квалифицированным персоналом".
На платформах, установленных в общественных местах, должна быть размещена информация, указывающая, что платформа не предназначена для перевозки грузов.
7.8.1 Каждая поставляемая платформа сопровождается технической документацией на государственном языке государства - члена ЕврАзЭС и/или на русском языке.
7.8.2 В зависимости от типа и вида конкретной платформы состав комплекта технической документации уточняет изготовитель. Ответственность за комплектование документации несет поставщик платформы.
7.8.3 В комплект технической документации платформы входят:
- копия сертификата на платформу;
- обоснование безопасности, согласно ГОСТ 33855;
- паспорт платформы;
- монтажный (установочный) чертеж, содержащий сведения и размеры, необходимые для проверки соответствия установки платформы требованиям настоящего стандарта, а также величину нагрузок на строительную часть здания и требования к креплению элементов платформы к строительной части;
- принципиальная электрическая схема с перечнем элементов схемы;
- принципиальная гидравлическая схема с перечнем элементов схемы (при наличии гидравлического привода);
- инструкция по монтажу, пусконаладочным работам, регулировке и обкатке;
- руководство по эксплуатации, содержащее:
a) краткое описание платформы;
b) правила пользования платформой;
c) условия и требования безопасной эксплуатации платформы, в том числе объем и периодичность выполнения регламентных работ на оборудовании, порядок технического обслуживания, ремонта, утилизации;
d) порядок проведения испытаний;
e) методику безопасного освобождения пользователя;
f) назначенные показатели (назначенный срок хранения, назначенный срок службы и (или) назначенный ресурс) в зависимости от конструктивных особенностей;
g) указания о действиях владельца по истечении назначенных показателей (назначенного ресурса, срока хранения, срока службы):
- или о направлении в ремонт;
- или об утилизации;
- или о проверке и об установлении новых назначенных показателей (назначенного ресурса, срока хранения, срока службы);
h) перечень критических отказов, возможные ошибочные действия персонала, которые приводят к инциденту или аварии;
i) действия персонала в случае инцидента, критического отказа или аварии;
j) критерии предельных состояний;
k) указания по выводу платформы из эксплуатации;
l) инструкции по замене аккумулятора (при наличии), периоде его технического обслуживания и типе зарядного устройства;
m) методику проверки винта и износа гайки (при их наличии);
n) указания по использованию и меры по обеспечению безопасности, которые необходимо соблюдать при эксплуатации, включая ввод в эксплуатацию, применению по назначению, техническое обслуживание, все виды ремонта, периодическое диагностирование, испытания, транспортирование, упаковку, консервацию и условия хранения;
о) нормы браковки тяговых элементов;
р) сведения о квалификации обслуживающего персонала;
q) сведения об укомплектовании необходимыми приспособлениями и инструментом для осуществления безопасных регулировок и технического обслуживания;
r) ведомости инструмента, принадлежностей и материалов, а также сведения о запасных частях, которые по рекомендации изготовителя или поставщика платформы могут быть включены в комплект поставки платформы. Объем приобретаемых инструментов, принадлежностей, запасных частей и материалов определяет заказчик платформы при заключении контракта на ее поставку;
s) второй экземпляр предупреждающих табличек, размещенных на оборудовании;
t) другие документы по усмотрению изготовителя (поставщика) платформы и/или по требованию заказчика, оговоренные в контракте поставки платформы.
Каждая подъемная платформа должна иметь разборчивую и нестираемую маркировку со следующей минимальной информацией:
a) наименование изготовителя и/или его товарный знак;
b) год изготовления;
c) обозначение серии или модели, при их наличии;
d) серийный или идентификационный номер;
e) информацию о номинальной грузоподъемности.
В инструкции по монтажу и руководстве по эксплуатации должна содержаться следующая информация:
- размеры рабочих зон перед контроллерами (шкафами управления) должны быть достаточными, чтобы обеспечить легкую и безопасную работу с оборудованием.
В частности, высота в свету зон обслуживания должна быть не менее 2 м и:
a) в местах, где необходимо проводить техническое обслуживание и контроль, должны быть свободные рабочие зоны с размерами 0,5 x 0,6 м;
b) свободная горизонтальная площадка перед панелью управления или контроллером, размеры которой определяются следующим образом:
1) глубина, измеренная от внешней поверхности корпуса, не менее 0,7 м;
2) ширина, равная ширине панели или контроллера (шкафа), но не менее 0,5 м.
Только для существующих зданий минимальная высота в свету может быть уменьшена, но должна быть максимальной, допускаемой строительными ограничениями, но не менее 1,80 м. Когда высота составляет менее 2,0 м, соответствующие предупреждения должны быть соответствующим образом размещены на корпусе панели или контроллера.
Приложение А
(обязательное)
А.1 Область применения
В стандарте предусмотрен ряд отказов электрооборудования платформы.
В ходе анализа неисправностей некоторые отказы можно исключать при определенных условиях.
Данное приложение описывает такие условия и устанавливает требования, которые необходимо выполнять для их соблюдения
А.2 Условия исключения неисправностей
Таблица А.1 содержит:
a) перечень основных и наиболее распространенных элементов, используемых в технологиях современной электроники; элементы сгруппированы в "семейства":
1) пассивные элементы - 1
2) полупроводниковые приборы - 2
3) прочие - 3
4) печатные платы в сборе - 4
b) выявляемые неисправности:
1) разрыв цепи - I
2) короткое замыкание - II
3) изменение значения в большую сторону - III
4) изменение значения в меньшую сторону - IV
5) изменение функции - V
c) возможность и условия исключения неисправности.
Главное условие исключения неисправности заключается в том, что элементы следует использовать в условиях (с точки зрения температуры, влажности, напряжения и вибраций) не худших, чем это определено для них в стандартах, технических условиях и т.д.;
d) пояснения к таблице А.1
- слово "Нет" в графе таблицы означает, что неисправность не исключается, т.е. возможность ее возникновения должна быть рассмотрена;
- пустая графа таблицы означает, что указанный тип отказа не имеет отношения к данному случаю.
Примечание - Рекомендации по проектированию.
Признаются некоторые опасные ситуации, возникающие из-за возможности шунтирования одного или нескольких контактов безопасности при коротком замыкании или местного разрыва общего провода (земли) в сочетании с одним или несколькими другими отказами. Предлагается следовать рекомендациям, приведенным ниже, когда информация собирается из цепочки безопасности для целей управления, для дистанционного управления, аварийного управления и т.д.:
- проектировать платы и дорожки с расстояниями в соответствии с 3.6 таблицы А.1;
- организовать общие соединения с цепью безопасности на печатной плате так, чтобы общие соединения для контакторов или релейных контакторов, как указано в 5.5.6, отключались при обрыве общего провода на печатной плате;
- всегда проводить анализ отказов для цепей безопасности, как указано в 5.5.10; анализ отказов, связанный с новым и существующим оборудованием, должен быть проведен снова, если после установки платформы проведена ее модификация или в конструкцию были внесены дополнения;
- всегда использовать внешние (внеэлементные) резисторы в качестве защитных устройств входных элементов; внутренний резистор устройства не следует считать безопасным;
- компоненты использовать только в пределах спецификации изготовителя;
- учитывать обратное напряжение, поступающее от электроники; использование гальванически развязанных цепей может решить проблемы в некоторых случаях.
Таблица А.1
|
Элемент |
Исключение возможной неисправности |
Условие, необходимое для исключения неисправности |
Примечание | |||||
|
I |
II |
III |
IV |
V | ||||
|
1 Пассивные элементы | ||||||||
|
1.1 Постоянный резистор |
Нет |
1) |
Нет |
1) |
1) Только в случае пленочных резисторов с лаковой или герметизированной пленкой сопротивления и аксиальным соединением в соответствии с действующими стандартами и в случае проволочных резисторов, если они выполнены однослойной намоткой, защищенной эмалью или герметизированной | |||
|
1.2 Переменный резистор |
Нет |
Нет |
Нет |
Нет | ||||
|
1.3 Нелинейный резистор | ||||||||
|
1.3.1 С отрицательным температурным коэффициентом (NTC) |
Нет |
Нет |
Нет |
Нет | ||||
|
1.3.2 С положительным температурным коэффициентом (РТС) |
Нет |
Нет |
Нет |
Нет | ||||
|
1.3.3 Нелинейное сопротивление (VDR) |
Нет |
Нет |
Нет |
Нет | ||||
|
1.3.4 Индуктивное сопротивление (IDR) |
Нет |
Нет |
Нет |
Нет | ||||
|
1.4 Конденсатор |
Нет |
Нет |
- |
Нет | ||||
|
1.5 Индуктивные элементы |
Нет |
Нет |
Нет | |||||
|
- катушка индуктивности | ||||||||
|
- дроссель | ||||||||
|
2 Полупроводниковые приборы | ||||||||
|
2.1 Диод, светодиод (LED) |
Нет |
Нет |
Нет |
Изменение функции означает изменение значения обратного тока | ||||
|
2.2 Диод Зенера (стабилитрон) |
Нет |
Нет |
Нет |
Нет |
Изменение значения в сторону уменьшения означает изменение напряжения Зенера. Изменение функции означает изменение значения обратного тока | |||
|
2.3 Тиристор, симистор, запираемый тиристор (СТО) |
Нет |
Нет |
Нет |
Изменение функции означает самовозбуждение или блокировку элементов | ||||
|
2.4 Оптрон |
Нет |
2) |
Нет |
2) Можно исключить при условии, что оптрон соответствует ГОСТ 29283 |
Открытая цепь означает открытую цепь в одном из двух основных компонентов (светодиод и фототранзистор). Короткое замыкание означает короткое замыкание между ними | |||
|
Напряжение "фаза - земля", полученное из номинального напряжения системы до и включая среднеквадратичную и постоянную составляющие тока, В |
Предпочтительная серия импульсного выдерживаемого напряжения, В, для электроустановки (категория III) | |||||||
|
50 |
800 | |||||||
|
100 |
1500 | |||||||
|
150 |
2500 | |||||||
|
300 |
4000 | |||||||
|
600 |
6000 | |||||||
|
1000 |
8000 | |||||||
|
2.5 Гибридные схемы |
Нет |
Нет |
Нет |
Нет |
Нет | |||
|
2.6 Интегральные схемы |
Нет |
Нет |
Нет |
Нет |
Нет |
Изменение функции: колебания, при котором логический элемент "И" становится элементом "ИЛИ" и т.д. | ||
|
3 Прочие | ||||||||
|
3.1 Разъемы Клеммы Штекеры |
Нет |
3) |
3) Если класс защиты разъема не выше IP4Х, короткие замыкания разъемов можно исключить, если минимальные значения составляют не менее: - 4 мм - для длин путей токов утечки; - 3 мм - для зазоров. Это абсолютные минимальные значения, которые можно найти в соединительном устройстве, но не расстояние между контактами и не теоретические значения. Если класс защиты разъема выше IP4Х (в соответствии с ГОСТ 14254), длину путей токов утечки можно уменьшить при условии, что - класс устойчивости к загрязнениям - 3; - группа материала - III и - имеет место неоднородное поле | |||||
|
3.2 Неоновая лампа |
Нет |
Нет | ||||||
|
3.3 Трансформатор |
Нет |
4) |
5) |
5) |
4) и 5) Можно исключить при условии, что сопротивление изоляции и напряжение между полюсом и землей соответствуют пунктам 17.2 и 17.3 ГОСТ 30030-93. II означает короткое замыкание перегоревшего предохранителя |
Короткие замыкания включают в себя короткие замыкания первичной или вторичной обмоток, или между первичной или вторичной обмотками. Изменение значения означает изменение коэффициента трансформации при частичном коротком замыкании обмотки | ||
|
3.4 Плавкий предохранитель |
6) |
6) Можно исключить, если предохранитель имеет требуемый номинал |
Короткое замыкание означает короткое замыкание перегоревшего предохранителя | |||||
|
3.5 Реле |
Нет |
7) |
7) Короткие замыкания между контактами и между контактами и катушкой можно исключить, если реле отвечает требованиям ГОСТ 33984.1-2016, пункт 5.10.3.1. | |||||
|
Нет |
8) |
8) Сварку контактов исключить нельзя. Однако, если конструкция реле предусматривает наличие контактов с принудительной механической блокировкой применяют предположения, изложенные в 5.5.11.4 | ||||||
|
3.6 Печатная плата (РСВ) |
Нет |
9) |
Общие технические характеристики печатной платы соответствуют ГОСТ 23752. Основной материал должен соответствовать техническим требованиям ГОСТ 26246.10 и/или ГОСТ 26246.14. 9) Если печатная плата сконструирована согласно вышеуказанным требованиям и имеет класс защиты не выше IP4Х, короткие замыкания можно исключить, если минимальные значения составляют не менее: - 4 мм - для длин путей токов утечки; - 3 мм - для зазоров. Это абсолютные минимальные значения, которые можно найти у соединительного устройства, но не расстояние между контактами и не теоретические значения. Если класс защиты разъема выше IP4Х (в соответствии с ГОСТ 14254), длину путей токов утечки можно уменьшить до значений зазоров при условии, что: - класс устойчивости к загрязнениям - 3; - группа материала - III | |||||
|
4 Сборка элементов на печатной плате |
Нет |
10) |
10) Короткое замыкание можно исключить при условии, что короткое замыкание самого элемента можно исключить и ни методика монтажа, ни сама печатная плата не уменьшают длину путей токов утечки и зазоры ниже минимальных допустимых значений, указанных в 3.1 и 3.6 данной таблицы | |||||
Приложение В
(справочное)
В.1 Введение
В приложении перечислены дополнительные факторы, на которые при подборе платформы следует обратить внимание поставщикам и покупателям.
В.2 Выбор платформы
В.2.1 Соответствие (пригодность)
В.2.1.1 При выборе платформы учитывают возможности пользователя и вероятность изменения потребностей пользователя в будущем.
В.2.1.2 Выбирают платформу с номинальной грузоподъемностью, способную перевозить максимальный предполагаемый груз.
В.2.1.3 Необходимо убедиться, что пользователя(ей) можно будет безопасно перевозить на подъемной платформе, сидя, стоя или сидя в инвалидном кресле-коляске.
В.2.1.4 Необходимо рассмотреть возможность оборудования платформы автоматическими или ручными дверьми шахты в зависимости от потребностей пользователя.
В.2.1.5 Необходимо рассмотреть средства спасения пользователей при пожаре.
Примечание - Настоящий стандарт основывается на управлении платформой в режиме "Нормальная работа" только при непосредственном удержании аппарата управления. При включении системы аварийной эвакуации здания допускается активация функции автоматического возврата платформы с пользователем на основной посадочный этаж здания и отключения платформы.
В.2.2 Аппараты управления
В.2.2.1 Рассматривается расположение, тип и количество элементов управления, которые подойдут пользователям с различными нарушениями.
В.2.2.2 Рассматривается вопрос о необходимости ключа, электронной карты или аналогичного средства, чтобы ограничить использование подъемной платформы только авторизованными пользователями.
В.2.3 Расположение платформы
Проверяется, подходит ли предлагаемое место для расположения платформы. Например, проверяется:
a) что платформа наилучшим образом вписывается в окружающее пространство и находится на пути перемещения пользователей;
b) что местоположение площадки и предлагаемая опорная конструкция достаточно прочны для установки подъемной платформы;
c) что перед входом на грузонесущее устройство имеется свободное пространство для маневрирования размером 1500 х 1500 мм. Для зданий без общественного доступа, где пространство ограничено, могут быть меньшие размеры или прямой путь доступа шириной не менее 900 мм;
d) что климатическое исполнение платформы соответствует условиям окружающей среды в месте ее установки.
В.2.4 Рабочий цикл
Ожидаемое максимальное количество поездок в час должно быть определено покупателем и доведено до поставщика.
В.3 Электропитание и освещение
Необходимо убедиться в наличии подходящего источника питания. Необходимо убедиться, что во время работы платформы уровень освещенности посадочных площадок не менее 50 лк.
В.4 Обслуживание
Необходимо проинформировать покупателя о требованиях к осмотру, испытанию и обслуживанию подъемных платформ и о любых соответствующих национальных нормативных требованиях.
Приложение С
(справочное)
С.1 Аппараты управления
С.1.1 Рекомендуется, чтобы работа подъемной платформы осуществлялась с помощью обычных кнопок, джойстиков или подобных устройств, за исключением случаев, когда они не подходят из-за ограниченных возможностей пользователя.
С.1.2 В таких случаях размещение устройства управления, будь то на стене, инвалидной коляске, подвеске и тому подобном, должно быть таким, чтобы случайные действия пользователя были сведены к минимуму.
С.1.3 Независимо от типа используемых аппаратов управления на грузонесущем устройстве в соответствии с 5.5.15.5 должно быть установлено двухпозиционное электрическое устройство безопасности, соответствующее 5.5.11. Также могут быть установлены дополнительные останавливающие устройства, которые являются специально адаптированными переключателями либо дистанционно управляемыми.
С.2 Сопровождающее лицо
С.2.1 Если ограниченные возможности пользователя таковы, что для управления грузонесущим устройством нельзя использовать адаптированный переключатель или устройство дистанционного управления, могут быть найдены другие технические решения, которые могут позволить пользователю управлять грузонесущим устройством. Только если такое решение не доступно, следует предусмотреть нахождение на грузонесущем устройстве сопровождающего лица.
С.3 Специально адаптированные останавливающие устройства
С.3.1 Конструкция останавливающих устройств, таких как с малым усилием включения, с пневматическим приводом (подвод воздуха через трубку), срабатывающих за счет вытягивания тросика, должна быть такой, чтобы их невосприимчивость к электрическим и механическим помехам предотвращала случайный пуск грузонесущего устройства.
С.3.2 Такие устройства при необходимости могут использоваться как дополнительные к устройству для остановки, рассмотренному в С.1.3.
Приложение D
(справочное)
D.1 Периодическое освидетельствование и испытания
Платформы должны подвергаться техническому освидетельствованию с интервалом, не превышающим 12 мес (национальные правила могут требовать интервала меньшего или большего, однако максимальный требуемый интервал, указанный заводом-изготовителем, не должен быть превышен), при этом особое внимание должно уделяться проверке эффективного функционирования следующих устройств:
a) замки;
b) электрические цепи безопасности;
c) исправность заземления;
d) средства, обеспечивающие подъем, например подвеска, соединения секций винта и износ несущей гайки;
e) привод и тормоз;
f) устройства, предотвращающие свободное падение, опускание и подъем с превышением скорости, например ловители;
g) аварийная сигнализация;
h) кромки безопасности;
i) осмотр внутренних поверхностей (зазоры, поверхности и острые края);
j) осмотр направляющих и башмаков скольжения или роликовых;
k) рабочее и аварийное освещение.
Приложение ДА
(справочное)
ДА.1 Свойства и допуски
ДА.1.1 Классификация
Плоские ремни подвески должны быть классифицированы по их ширине и толщине, количеству нитей корда, диаметру корда, материалу корда, формуле корда и материалу покрытия, в том числе и его коэффициенту трения с сопрягаемым элементом (шкив трения) и минимальному разрывному усилию. Эти данные и название завода-изготовителя указывают в сопроводительных документах.
|
Нагрузка на элемент подвески |
Допуск | ||||
|
Ширина |
Толщина |
Плоскостность | |||
|
Мин |
Макс |
Мин |
Макс | ||
|
0-10 % MBF (минимальная разрывная нагрузка) |
- 5 % |
+ 5% |
- 5 % |
+ 5 % |
3 % |
ДА.1.2 Допуски размеров
Допуск на диаметр корда должен быть:
- 3 % в ненагруженном состоянии;
- минус 1 % при нагрузке 10 % от минимального разрывного усилия.
Допуски размеров плоских ремней должны соответствовать указанным в таблице ДА.1.
ДА.2 Критерии замены (браковки)
ДА.2.1 Замена тяговых ремней
ДА.2.1.1 Замененные элементы подвески должны соответствовать требованиям завода-изготовителя платформы или быть, по меньшей мере, эквивалентными по прочности, весу и конструкции.
ДА.2.1.2 При замене элементов подвески заменяют все элементы в наборе, за исключением случаев, разрешенных ДА.3.3.3.
ДА.2.1.3 Элементы в наборе должны быть новыми, все от одного и того же изготовителя и из одного и того же материала.
ДА.2.1.4 Должна быть приложена сопроводительная документация.
ДА.2.1.5 Крепления элементов подвески должны соответствовать техническим требованиям изготовителя платформы.
ДА.2.2 Замена из-за износа
Ремень должен быть заменен, если:
- стальной корд, пряди или проволоки вылезли сквозь полимерное покрытие, или
- полимерное покрытие изношено так, что виден корд и может начаться его износ, или
- имеются признаки "красной ржавчины" на любой части ремня;
- один ремень подлежит замене из-за износа, то заменяют полный комплект аналогично используемых ремней на этой платформе.
ДА.2.3 Замена из-за повреждения
ДА.2.3.1 Ремень подлежит замене в случае повреждения корда из-за внешнего воздействия. Повреждение полимерного покрытия не является браковочным признаком и не требует замены ремня, если корд не поврежден и отсутствуют следы его износа.
ДА.2.3.2 Ремень подлежит замене в случае его длительного скручивания, изгиба или иной деформации.
ДА.2.3.3 Если один из ремней подвески был поврежден во время монтажа или приемочных испытаний перед вводом платформы в эксплуатацию, допускается замена только поврежденного ремня. Элементы подвески, включая поврежденный элемент, не должны укорачиваться с момента их первоначальной установки.
ДА.2.3.3.1 Характеристики замененного ремня должны быть тождественны характеристикам заменяемого ремня.
ДА.2.3.3.2 На замененном ремне должна быть бирка.
ДА.2.3.3.3 Размеры любого из оставшихся ремней должны соответствовать таблице ДА.1.
ДА.2.3.3.4 Натяжение нового ремня должно быть проверено и отрегулировано, если необходимо. Если правильное выравнивание натяжения элемента не может быть отрегулировано через 6 мес, весь комплект элементов подвески должен быть заменен.
ДА.2.3.3.5 Заделка и крепление замененного ремня должны быть такими, как и у остальных ремней.
Приложение ДБ
(справочное)
ДБ.1 Основные положения
Конструкция здания должна быть рассчитана на то, чтобы выдерживать нагрузки и силы, которым она подвергается при работе платформы. Если в данном стандарте не указано иное для конкретных применений, эти нагрузки и силы:
- результирующие статические нагрузки;
- результирующие динамические нагрузки, в том числе возникающие при посадке на ловители. Коэффициент динамики 2.
ДБ.2 Крепление направляющих
Необходимо учитывать важность влияния осадки здания на направляющие и предусмотреть меры для минимизации этого влияния. Рассматривая здания, построенные из бетона, блоков или кирпича, можно предположить, что кронштейны направляющих, которые поддерживают направляющие, не будут подвержены смещению, вызванному движением стенок шахты (кроме сжатия).
Однако в тех случаях, когда направляющие кронштейны соединяются со строительной конструкцией посредством стальных балок или деревянных брусьев, возможна деформация этой конструкции из-за нагрузки, создаваемой при движении грузонесущего устройства через направляющие и кронштейны крепления направляющих. Кроме того, может быть перемещение несущей конструкции из-за воздействия внешних сил, таких как ветровые или снеговые нагрузки и т.д.
Любое отклонение этих балок или рам следует принимать во внимание при расчете направляющих. Общее допустимое отклонение направляющих для безопасной работы ловителей должно учитывать любое смещение направляющей из-за прогиба строительной конструкции и отклонения самой направляющей из-за нагрузки, создаваемой для нее грузонесущим устройством.
Лица, ответственные за проектирование и изготовление этих опорных конструкций, должны сотрудничать с поставщиком платформы, чтобы гарантировать, что конструкции подходят для любых условий нагрузки.
ДБ.3 Вентиляция полностью огражденной шахты
ДБ.3.1 Общие положения
Требование к вентиляции полностью огражденной шахты может быть регламентировано национальными строительными нормами конкретно либо в качестве общего требования, предъявляемого к любому пространству здания, где установлено оборудование или размещены люди (для отдыха, работы и т.д.). Настоящий стандарт не может дать точных указаний по конкретным требованиям для вентиляции таких зон, в то время как ограждение шахты является частью одной более крупной и часто сложной общей строительной среды.
Однако некоторые общие рекомендации могут быть даны.
ДБ.3.2 Вентиляция шахты
Безопасность и комфорт людей, которые едут на грузонесущем устройстве, работают в полностью огражденной шахте или тех, кто может застрять на грузонесущем устройстве или в полностью огражденной шахте, если грузонесущее устройство застряло между этажами, зависит от многих факторов:
- температура окружающей среды в полностью огражденной шахте как части здания или даже полностью автономной установки;
- воздействие прямых солнечных лучей;
- наличие летучих органических соединений, количество СO 2, качество воздуха;
- доступ свежего воздуха в полностью огражденную шахту;
- размер шахты как по площади поперечного сечения, так и по высоте;
- число, размер, расположение шахтных дверей и величина зазоров вокруг них;
- ожидаемое выделение тепла от установленного оборудования;
- стратегия пожаротушения и удаления дыма и связанная с ней система управления зданием;
- влажность, пыль, испарения;
- воздушные потоки (тепло/охлаждение) и энергосберегающая технология строительства;
- герметичность шахты и всего здания.
Грузонесущее устройство должно быть обеспечено необходимым количеством вентиляционных отверстий для обеспечения достаточного потока воздуха для максимально допустимого количества пользователей (см. 5.6.7).
Во время работы и обслуживания платформы, как правило, зазоры вокруг дверей шахты, открытие/закрытие этих дверей и эффект подсоса при перемещении грузонесущего устройства в полностью огражденной шахте могут быть достаточными для обеспечения потребностей человека в необходимом воздухообмене между лестницами, вестибюлями и полностью огражденной шахтой.
Однако для технических нужд, а в некоторых случаях для нужд человека, герметичность полностью огражденной шахты и всего здания, условия окружающей среды, особенно более высокая температура окружающей среды, тепловая радиация, влажность, качество воздуха приведут к необходимости вентиляционных отверстий и/или (в сочетании с) принудительной вентиляции и/или подачи свежего воздуха. Это может быть решено только в каждом конкретном случае. Кроме того, в случае длительной остановки (с учетом нормальных и чрезвычайных условий) грузоподъемного устройства следует обеспечить дополнительную вентиляцию.
Особое внимание должно быть уделено тем зданиям (новым и в случае реконструкции), в которых присутствуют энергоэффективные конструкции и технологии.
Полностью огражденная шахта не предназначена для вентиляции других зон здания.
В некоторых случаях это может быть чрезвычайно опасной практикой, такой как промышленная среда или подземные автостоянки, где вытягивание опасных газов через шахту может вызвать дополнительный риск для людей, перемещающихся на грузоподъемном устройстве. Исходя из этих соображений, несвежий воздух из других областей здания не должен использоваться для вентиляции закрытой шахты.
Там, где полностью огражденная шахта является частью противопожарной защиты здания, необходимо соблюдать особую осторожность. В этих случаях консультацию должны дать те, кто специализируется на таком оборудовании, или руководствоваться национальными строительными и противопожарными нормами.
Для того чтобы лицо, ответственное за работу в здании или сооружении, могло определить, требуется ли вентиляция, связанная с установкой всей платформы в здании, поставщик платформы должен предоставить необходимую информацию, позволяющую произвести соответствующие расчеты и разработать соответствующий проект здания (они должны передавать друг другу необходимую информацию и, с другой стороны, предпринять соответствующие шаги для обеспечения надлежащей эксплуатации и безопасного использования и обслуживания платформы в здании).
Приложение ДВ
(справочное)
ДВ.1 Настройки скорости для автоматических распашных дверей
В таблице ДВ.1 указано минимальное время открывания на угол от 0° до 80° или минимальное время закрывания на угол от 90° до 10° для наиболее распространенных дверей, обеспечивающее низкий уровень кинетической энергии.
|
Ширина створок двери D, м |
Масса створок двери m, кг | ||||
|
50 |
60 |
70 |
80 |
90 | |
|
Время закрытия t, с | |||||
|
0,75 |
3,0 |
3,0 |
3,0 |
3,0 |
3,5 |
|
0,85 |
3,0 |
3,0 |
3,5 |
3,5 |
4,0 |
|
1,00 |
3,5 |
3,5 |
4,0 |
4,0 |
4,5 |
|
1,20 |
4,0 |
4,5 |
4,5 |
5,0 |
5,5 |
|
Примечание - Значения времени округлено до 0,5 с. | |||||
Минимальное время открывания/закрывания двери с другими характеристиками может быть определено по формуле
,
где t - время, с;
D - ширина двери, м;
m - масса двери, кг;
2,26 - коэффициент;
j - кинетическая энергия, Дж.
ДВ.2 Настройки скорости для автоматических раздвижных дверей
В таблице ДВ.2 указано минимальное время закрывания горизонтально раздвижной двери, обеспечивающее низкий уровень кинетической энергии.
|
Путь перемещения створки двери D, м (90 % от фактической ширины створки) |
Масса створок двери m, кг | ||||||||||||||
|
150 |
140 |
130 |
120 |
110 |
100 |
90 |
80 |
70 |
60 |
50 |
40 |
30 |
20 |
10 | |
|
Скорость закрытия v, м/с | |||||||||||||||
|
0,15 |
0,16 |
0,16 |
0,17 |
0,18 |
0,18 |
0,19 |
0,21 |
0,22 |
0,24 |
0,26 |
0,29 |
0,34 |
0,41 |
0,58 | |
|
Время закрытия t, с | |||||||||||||||
|
0,7 |
4,7 |
4,6 |
4,4 |
4,2 |
4,0 |
3,9 |
3,7 |
3,5 |
3,2 |
3,0 |
2,7 |
2,5 |
2,1 |
1,8 |
1,3 |
|
0,8 |
5,4 |
5,2 |
5,0 |
4,8 |
4,6 |
4,4 |
4,2 |
3,9 |
3,7 |
3,4 |
3,1 |
2,8 |
2,4 |
2,0 |
1,4 |
|
0,9 |
6,0 |
5,8 |
5,6 |
5,4 |
5,2 |
4,9 |
4,7 |
4,4 |
4,1 |
3,8 |
3,5 |
3,1 |
2,7 |
2,2 |
1,6 |
|
1,0 |
6,7 |
6,5 |
6,3 |
6,0 |
5,8 |
5,5 |
5,2 |
4,9 |
4,6 |
4,3 |
3,9 |
3,5 |
3,0 |
2,5 |
1,8 |
|
1,1 |
7,4 |
7,1 |
6,9 |
6,6 |
6,3 |
6,0 |
5,7 |
5,4 |
5,1 |
4,7 |
4,3 |
3,8 |
3,3 |
2,7 |
1,9 |
|
1,2 |
8,0 |
7,8 |
7,5 |
7,2 |
6,9 |
6,6 |
6,2 |
5,9 |
5,5 |
5,1 |
4,7 |
4,2 |
3,6 |
3,0 |
2,1 |
|
1,3 |
8,7 |
8,4 |
8,1 |
7,8 |
7,5 |
7,1 |
6,8 |
6,4 |
6,0 |
5,5 |
5,0 |
4,5 |
3,9 |
3,2 |
2,3 |
|
1,4 |
9,4 |
9,1 |
8,7 |
8,4 |
8,0 |
7,7 |
7,3 |
6,9 |
6,4 |
5,9 |
5,4 |
4,9 |
4,2 |
3,5 |
2,5 |
|
1,5 |
10,0 |
9,7 |
9,4 |
9,0 |
8,6 |
8,2 |
7,8 |
7,3 |
6,9 |
6,4 |
5,8 |
5,2 |
4,5 |
3,7 |
2,6 |
|
Примечание - Для телескопических раздвижных дверей путь перемещения относится к быстрой створке. | |||||||||||||||
Максимальную скорость для дверей с другими массами рассчитывают с использованием уравнения для кинетической энергии, при этом при расчете принимают максимальное значение кинетической энергии 1,69 Дж.
Ec = 1/2·m·v2 = 1,69, Дж
или
м/с,
где V - скорость створки, м/с;
Е с - кинетическая энергия, Дж. Всегда равна 1,69 Дж;
m - масса створок двери, кг.
Время закрывания двери для створок с иными характеристиками определяют по формуле
,
где t - время закрывания двери, с;
D - 90 % от фактической ширины створки, м;
V - скорость закрывания, м/с.
Приложение ДГ
(справочное)
ДГ.1 Классы кресел-колясок с электроприводом
Размеры кресла-коляски главным образом определяются его классом (только для кресел-колясок с электроприводом) и предполагаемой группой пользователей в зависимости от их массы тела.
Класс А: компактное маневренное кресло-коляска, не обязательно способное преодолевать препятствия вне помещений.
Класс В: кресло-коляска достаточно компактное и маневренное при некоторых условиях внутри помещения и способное преодолевать некоторые препятствия вне помещений.
Класс С: кресло-коляска, обычно большего размера, не обязательно предназначенное для использования внутри помещения, но способное преодолевать более длинные расстояния и препятствия вне помещений.
Примечание - Как правило, к классу А относятся кресла-коляски, предназначенные прежде всего для использования в закрытых помещениях, к классу В - кресла-коляски, предназначенные для использования как в закрытых помещениях, так и вне помещений, к классу С - кресла-коляски, предназначенные для использования в основном вне помещений.
ДГ.2 Габаритные размеры кресел-колясок с электроприводом
|
Параметр |
Классы кресел-колясок | ||
|
А |
В |
С | |
|
Максимальная длина |
1200 |
1300 |
1400 |
|
Максимальная ширина |
650 |
700 |
800 |
|
Минимальный дорожный просвет |
30 |
60 |
80 |
|
Максимальный радиус поворота |
900 |
900 |
1200 |
|
Максимальная ширина для поворота на 180° |
1300 |
1500 |
1800 |

1 - максимальная длина; 2 - максимальная ширина; 3 - минимальный дорожный просвет
Рисунок ДГ.1 - Габаритные размеры кресла-коляски
сеПриложение ДД
(справочное)
Таблица ДД.1
|
Обозначение ссылочного межгосударственного стандарта |
Степень соответствия |
Обозначение и наименование ссылочного международного (европейского) стандарта |
|
ГОСТ ISO 12100-2013 |
IDT |
EN ISO 12100:2010 "Безопасность машин. Основные понятия, общие принципы проектирования" |
|
ГОСТ 13568-2017 |
IDT |
ISO 606-2015 "Высокоточные трансмиссионные роликовые и втулочные цепи, крепление и взаимодействующие звездочки" |
|
ГОСТ ISO 13857:2012 |
IDT |
ISO 13857:2008 "Безопасность машин. Безопасные расстояния для предотвращения попадания в опасные зоны верхних и нижних конечностей" |
|
ГОСТ 14254-2015 (IEC 60529:2013) |
MOD |
IEC 60529:2013 "Степени защиты, обеспечиваемые оболочками (Код IP)" |
|
ГОСТ 30331.1-2013 (IEC 60364-1:2005) |
MOD |
IEC 60364-1:2005 "Электроустановки низковольтные. Часть 1. Основные положения, оценка общих характеристик, термины и определения" |
|
ГОСТ 33984.1-2016 (EN 81-20:2014) |
MOD |
EN 81-20:2014 "Правила безопасности к устройству и установке лифтов. Лифты для перевозки людей и грузов. Часть 20. Пассажирские и грузопассажирские лифты" |
|
ГОСТ 33984.2-2016 (EN 81-20:2014) |
MOD |
EN 81-20:2014 "Правила безопасности к устройству и установке лифтов. Лифты для перевозки людей и грузов. Часть 20. Пассажирские и грузопассажирские лифты" |
|
ГОСТ 33984.3-2017 (EN 81-50:2014) |
MOD |
EN 81-50:2014 "Правила безопасности к устройству и установке лифтов. Проверки и испытания. Часть 50. Правила проектирования, расчеты, проверки и испытания лифтовых компонентов" |
|
ГОСТ 33984.4-2017 (EN 81-50:2014) |
MOD |
EN 81-50:2014 "Правила безопасности к устройству и установке лифтов. Проверки и испытания. Часть 50. Правила проектирования, расчеты, проверки и испытания лифтовых компонентов" |
|
ГОСТ МЭК 60204-1-2002 |
IDT |
IEC 60204-1:1997 "Безопасность машин. Электрооборудование машин и механизмов. Часть 1. Общие требования" |
|
ГОСТ IEC 60947-1-2017 |
IDT |
IEC 60947-1:2011 "Аппаратура распределения и управления низковольтная. Часть 1. Общие правила" |
|
ГОСТ IEC 60947-4-1-2015 |
IDT |
IEC 60947-4-1:2009 "Аппаратура коммутационная и механизмы управления низковольтные комплектные. Часть 4-1. Контакторы и пускатели электродвигателей. Электромеханические контакторы и пускатели" |
|
ГОСТ IEC 60947-5-1-2014 |
IDT |
IEC 60947-5-1:2009 "Аппаратура распределения и управления низковольтная. Часть 5-1. Аппараты и коммутационные элементы цепей управления. Электромеханические устройства цепей управления" |
|
ГОСТ IEC 61558-1-2012 |
IDT |
IEC 61558-1:2009 "Безопасность силовых трансформаторов, блоков питания, реакторов и аналогичных изделий. Часть 1. Общие требования и испытания" |
|
Примечание - В настоящей таблице использованы следующие условные обозначения степени соответствия стандартов: - IDT - идентичные стандарты; - MOD - модифицированные стандарты. | ||
Приложение ДЕ
(справочное)
Таблица ДЕ.1
|
Структура настоящего стандарта |
Структура стандарта EN 81-41:2010 | ||
|
Разделы |
Подразделы |
Разделы |
Подразделы |
|
- |
0 | ||
|
1 |
- |
1 |
- |
|
2 |
- |
2 |
- |
|
3 |
- |
3 |
- |
|
4 |
- |
4 |
- |
|
5 |
- |
5 |
- |
|
6 |
- |
6 |
- |
|
7 |
- |
7 |
- |
|
Приложения |
А |
Приложения |
А |
|
В |
В | ||
|
С |
С | ||
|
D |
D | ||
|
ДА |
- | ||
|
ДБ |
- | ||
|
ДВ |
- | ||
|
ДГ |
- | ||
|
ДД |
- | ||
|
ДЕ |
- | ||
|
- |
Е | ||
|
- |
F | ||
|
- |
G | ||
|
Библиография |
Библиография | ||
Библиография
|
[1] |
Технический регламент Таможенного союза TP ТС 010/2011 |
"О безопасности машин и оборудования" |


