ГОСТ 34655-2020 АРМАТУРА ТРУБОПРОВОДНАЯ. ПРОКЛАДКИ ОВАЛЬНОГО, ВОСЬМИУГОЛЬНОГО СЕЧЕНИЯ, ЛИНЗОВЫЕ СТАЛЬНЫЕ ДЛЯ ФЛАНЦЕВ АРМАТУРЫ. КОНСТРУКЦИЯ, РАЗМЕРЫ И ОБЩИЕ ТЕХНИЧЕСКИЕ ТРЕБОВАНИЯ
Pipeline valves. Gaskets of oval, octagonal section, lens steel for valve flanges. Design, dimensions and general technical requirements
МКС 23.040.60
Дата введения - 1 января 2021 г.
Введен впервые
Предисловие
Цели, основные принципы и общие правила проведения работ по межгосударственной стандартизации установлены ГОСТ 1.0 "Межгосударственная система стандартизации. Основные положения" и ГОСТ 1.2 "Межгосударственная система стандартизации. Стандарты межгосударственные, правила и рекомендации по межгосударственной стандартизации. Правила разработки, принятия, обновления и отмены"
Сведения о стандарте
1 Подготовлен Акционерным обществом "Научно-производственная фирма "Центральное конструкторское бюро арматуростроения" (АО "НПФ "ЦКБА")
2 Внесен Межгосударственным техническим комитетом по стандартизации МТК 259 "Трубопроводная арматура и сильфоны"
3 Принят Межгосударственным советом по стандартизации, метрологии и сертификации (протокол от 29 мая 2020 г. N 130-П)
За принятие проголосовали:
|
Краткое наименование страны по МК (ИСО 3166) 004-97 |
Код страны по МК (ИСО 3166) 004-97 |
Сокращенное наименование национального органа по стандартизации |
|
Армения |
AM |
ЗАО "Национальный орган по стандартизации и метрологии" Республики Армения |
|
Беларусь |
BY |
Госстандарт Республики Беларусь |
|
Киргизия |
KG |
Кыргызстандарт |
|
Россия |
RU |
Росстандарт |
|
Таджикистан |
TJ |
Таджикстандарт |
|
Узбекистан |
UZ |
Узстандарт |
4 Приказом Федерального агентства по техническому регулированию и метрологии от 24 ноября 2020 г. N 1153-ст межгосударственный стандарт ГОСТ 34655-2020 введен в действие в качестве национального стандарта Российской Федерации с 1 января 2021 г.
5 Стандарт подготовлен на основе применения ГОСТ Р 53561-2009 1).
──────────────────────────────
1) Приказом Федерального агентства по техническому регулированию и метрологии от 24 ноября 2020 г. N 1153-ст ГОСТ Р 53561-2009 отменен с 1 января 2021 г.
──────────────────────────────
6 Введен впервые
Настоящий стандарт распространяется на уплотнительные стальные прокладки овального, восьмиугольного сечения для фланцевых соединений трубопроводной арматуры (далее - арматура) с фланцами номинальных диаметров от DN 10 до DN 400 на номинальное давление от PN 6,3 до PN 20,0 МПа (от PN 63 до PN 200 бар или кгс/см 2) 1) по ГОСТ 33259 и фланцами номинальных диаметров от DN 10 до DN 600 на номинальное давление от PN 6,3 до PN 25,0 МПа (от PN 63 до PN 250 бар) (см. [1]), а также на линзовые прокладки для фланцевых соединений арматуры с фланцами номинальных диаметров от DN 10 до DN 400 на номинальное давление от PN 6,3 до PN 20,0 МПа (от PN 63 до PN 200 бар) по ГОСТ 33259.
──────────────────────────────
1) Далее по всему тексту стандарта единицу величины "бар" применяют вместо "бар или кгс/см2".
──────────────────────────────
Настоящий стандарт устанавливает конструкцию, размеры и общие технические требования на уплотнительные стальные прокладки овального, восьмиугольного сечения для фланцевых соединений арматуры с фланцами, имеющими уплотнительную поверхность исполнения J по ГОСТ 33259 (см. также [1]), а также конструкцию, размеры и общие технические требования на линзовые прокладки для фланцевых соединений арматуры с фланцами, имеющими уплотнительную поверхность исполнения К по ГОСТ 33259.
В настоящем стандарте использованы нормативные ссылки на следующие межгосударственные стандарты:
ГОСТ 9.014 Единая система защиты от коррозии и старения. Временная противокоррозионная защита изделий. Общие требования
ГОСТ 1050 Металлопродукция из нелегированных конструкционных качественных и специальных сталей. Общие технические условия
ГОСТ 4543 Металлопродукция из конструкционной легированной стали. Технические условия
ГОСТ 5632-2014 Нержавеющие стали и сплавы коррозионно-стойкие, жаростойкие и жаропрочные. Марки 2)
──────────────────────────────
2) В Российской Федерации при изготовлении металлопродукции для предприятий атомного энергомашиностроения до 31 декабря 2020 г. необходимо руководствоваться ГОСТ 5632-72 "Стали высоколегированные и сплавы коррозионно-стойкие, жаростойкие и жаропрочные. Марки".
──────────────────────────────
ГОСТ 6032 Стали и сплавы коррозионно-стойкие. Методы испытаний на стойкость против межкристаллитной коррозии
ГОСТ 9012 Металлы. Метод измерения твердости по Бринеллю
ГОСТ 11036 Сталь сортовая электротехническая нелегированная. Технические условия
ГОСТ 19281-2014 Прокат повышенной прочности. Общие технические условия 1)
──────────────────────────────
1) В Российской Федерации действует также ГОСТ 19281-89 "Прокат из стали повышенной прочности. Общие технические условия" в отношении продукции, поставляемой по Государственному оборонному заказу.
──────────────────────────────
ГОСТ 24856 Арматура трубопроводная. Термины и определения
ГОСТ 33259 Фланцы арматуры, соединительных частей и трубопроводов на номинальное давление до PN 250. Конструкция, размеры и общие технические требования
ГОСТ 33857 Арматура трубопроводная. Сварка и контроль качества сварных соединений. Технические требования
Примечание - При пользовании настоящим стандартом целесообразно проверить действие ссылочных стандартов и классификаторов на официальном интернет-сайте Межгосударственного совета по стандартизации, метрологии и сертификации (www.easc.by) или по указателям национальных стандартов, издаваемым в государствах, указанных в предисловии, или на официальных сайтах соответствующих национальных органов по стандартизации. Если на документ дана недатированная ссылка, то следует использовать документ, действующий на текущий момент, с учетом всех внесенных в него изменений. Если заменен ссылочный документ, на который дана датированная ссылка, то следует использовать указанную версию этого документа. Если после принятия настоящего стандарта в ссылочный документ, на который дана датированная ссылка, внесено изменение, затрагивающее положение, на которое дана ссылка, то это положение применяется без учета данного изменения. Если ссылочный документ отменен без замены, то положение, в котором дана ссылка на него, применяется в части, не затрагивающей эту ссылку.
3.1 В настоящем стандарте применены термины по ГОСТ 24856.
3.2 В настоящем стандарте применены следующие сокращения и обозначения:
КД - конструкторская документация;
МКК - межкристаллитная коррозия;
НД - нормативная документация;
ПС - паспорт;
ТУ - технические условия;
УЗК - ультразвуковой контроль;
ЦЭШЛ - центробежное электрошлаковое литье;
DN - номинальный диаметр;
PN - номинальное давление;
KCU - ударная вязкость, определенная на образце с концентратором вида U.
4.1 Прокладки по конструкции предусматривают трех типов:
1 - прокладки овального сечения;
2 - прокладки восьмиугольного сечения;
3 - линзовые прокладки.
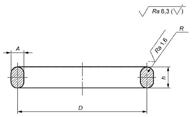
4.2 Конструкция и размеры прокладок типа 1 для фланцев по ГОСТ 33259 (см. также [1]) (исполнение J) приведены на рисунке 1 и в таблице 1.
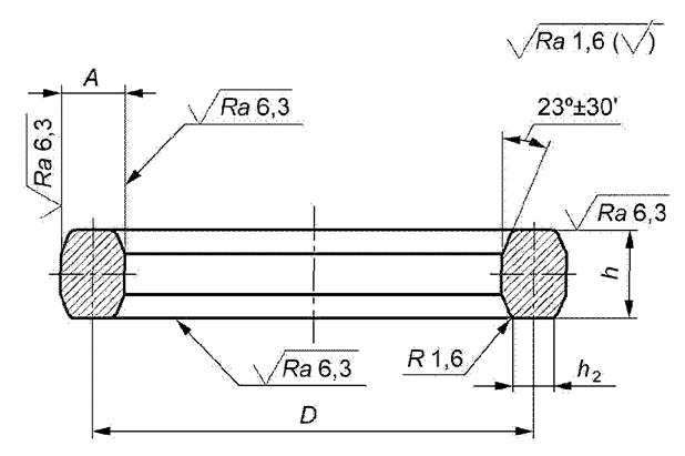
Конструкция и размеры прокладок типа 2 для фланцев по ГОСТ 33259 (исполнение J) приведены на рисунке 2 и в таблице 1, для фланцев, приведенных с учетом требований [1] (исполнение J) - на рисунке 3 и в таблице 1.

Рисунок 1 - Прокладки овального сечения типа 1 для фланцев по ГОСТ 33259 (см. также [1])

Рисунок 2 - Прокладки восьмиугольного сечения типа 2 для фланцев по ГОСТ 33259

Рисунок 3 - Прокладки восьмиугольного сечения типа 2 для фланцев (см. [1])
Размеры в миллиметрах
|
Номинальный диаметр DN для номинальных давлений PN, МПа (бар) |
D, ±0,15 |
А, ± 0,2 |
R, ± 0,1 |
h, ± 0,4 |
h 1, ± 0,2 |
h 2, ± 0,2 | |||||||||
|
для фланцев, исполнение J, по ГОСТ 33259 |
для фланцев, исполнение J (см. [1]) |
для фланцев, исполнение J, по ГОСТ 33259 |
для фланцев, исполнение J (см. [1]) |
для фланцев, исполнение J, по ГОСТ 33259 |
для фланцев, исполнение J (см. [1]) |
для фланцев, исполнение J, по ГОСТ 33259 |
для фланцев, исполнение J (см. [1]) |
для фланцев, исполнение J, по ГОСТ 33259 |
для фланцев, исполнение J (см. [1]) | ||||||
|
6,3 (63) |
10 (100) |
16 (160) |
20 (200) |
25 (250) |
Рисунки 1, 2, 3 |
Рисунки 1, 2, 3 |
Рисунок 1 |
Рисунки 1, 2 |
Рисунок 1 |
Рисунок 3 |
Рисунок 2 |
Рисунок 3 | |||
|
10 |
10 |
- |
- |
- |
35 |
- |
8 |
- |
4,0 |
- |
14 |
- |
- |
- |
- |
|
15 |
15 |
- |
- |
- |
34,14 |
6,35 |
3,18 |
11,2 |
9,7 |
4,32 | |||||
|
- |
- |
15 |
- |
- |
39,70 |
7,95 |
3,98 |
14,2 |
12,7 |
5,23 | |||||
|
- |
- |
- |
15 |
- |
40 | ||||||||||
|
- |
- |
- |
- |
15 |
- |
- |
- |
- | |||||||
|
20 |
20 |
- |
- |
45 |
42,88 |
8 |
4,0 |
14 | |||||||
|
- |
- |
20 |
20 |
- |
44,45 | ||||||||||
|
- |
- |
- |
- |
20 |
- |
- |
- |
- | |||||||
|
25 |
25 |
25 |
25 |
- |
50 |
50,80 |
8 |
4,0 |
14 | ||||||
|
- |
- |
- |
- |
25 |
- |
- |
- |
- | |||||||
|
32 |
32 |
32 |
32 |
- |
65 |
60,33 |
8 |
4,0 |
14 | ||||||
|
- |
- |
- |
- |
32 |
- |
- |
- |
- | |||||||
|
40 |
40 |
40 |
40 |
- |
75 |
68,28 |
8 |
4,0 |
14 | ||||||
|
- |
- |
- |
- |
40 |
- |
- |
- |
- | |||||||
|
50 |
50 |
- |
- |
- |
85 |
82,55 |
11 |
11,13 |
5,5 |
5,57 |
18 |
17,5 |
16,0 |
7,75 | |
|
- |
- |
50 |
50 |
- |
95 |
95,25 | |||||||||
|
- |
- |
- |
- |
50 |
- |
- |
- |
- | |||||||
|
65 |
65 |
- |
- |
- |
110 |
101,60 |
11 |
11,13 |
5,5 |
18 | |||||
|
- |
- |
65 |
- |
- |
107,95 | ||||||||||
|
- |
- |
- |
65 |
- |
130 | ||||||||||
|
- |
- |
- |
- |
65 |
- |
- |
- |
- | |||||||
|
80 |
80 |
- |
- |
- |
115 |
117,48 |
11 |
5,5 |
18 | ||||||
|
- |
- |
80 |
- |
- |
130 |
123,83 | |||||||||
|
- |
- |
- |
80 |
- |
160 |
136,53 | |||||||||
|
- |
- |
- |
- |
80 |
- |
- |
- |
- | |||||||
|
100 |
100 |
100 |
- |
- |
145 |
149,23 |
11 |
5,5 |
5,57 |
18 |
17,5 |
16,0 |
- |
7,75 | |
|
- |
- |
- |
100 |
- |
190 |
161,93 | |||||||||
|
- |
- |
- |
- |
100 |
- |
- |
- |
- | |||||||
|
125 |
125 |
- |
- |
- |
175 |
180,98 |
11 |
5,5 |
18 | ||||||
|
- |
- |
125 |
- |
- |
190 | ||||||||||
|
- |
- |
- |
125 |
- |
205 |
193,68 |
13 |
6,5 |
20 | ||||||
|
- |
- |
- |
- |
125 |
- |
- |
- |
- | |||||||
|
150 |
150 |
- |
- |
- |
205 |
211,15 |
11 |
5,5 |
18 | ||||||
|
- |
- |
150 |
- |
- |
13 |
6,5 |
20 | ||||||||
|
- |
- |
- |
150 |
- |
240 |
16 |
12,7 |
8,0 |
6,35 |
19,1 |
17,5 |
8,66 | |||
|
- |
- |
- |
- |
150 |
- |
- |
- |
- | |||||||
|
175 |
175 |
- |
- |
- |
235 |
- |
11 |
- |
5,5 |
- |
18 |
- |
- |
- |
- |
|
- |
- |
175 |
- |
- |
255 |
16 |
8,0 |
22 | |||||||
|
- |
- |
- |
175 |
- |
275 | ||||||||||
|
200 |
200 |
- |
- |
- |
265 |
269,88 |
11 |
11,13 |
5,5 |
5,57 |
18 |
17,5 |
16,0 |
7,75 | |
|
- |
- |
200 |
- |
- |
275 |
16 |
8,0 |
22 |
10 | ||||||
|
- |
- |
- |
200 |
- |
305 |
15,88 |
7,94 |
22,4 |
20,6 |
- |
10,49 | ||||
|
- |
- |
- |
- |
200 |
- |
- |
- |
- | |||||||
|
225 |
225 |
- |
- |
- |
280 |
- |
11 |
- |
5,5 |
- |
18 |
- |
- |
- |
- |
|
- |
- |
225 |
- |
- |
305 |
16 |
8,0 |
22 | |||||||
|
250 |
250 |
- |
- |
- |
320 |
323,85 |
11 |
11,13 |
5,5 |
5,57 |
18 |
17,5 |
16,0 |
7,75 | |
|
- |
- |
250 |
- |
- |
330 |
16 |
8,0 |
22 |
10 | ||||||
|
- |
- |
- |
250 |
250 |
- |
- |
15,88 |
- |
7,94 |
- |
22,4 |
20,6 |
- |
10,49 | |
|
300 |
300 |
- |
- |
- |
375 |
381,00 |
11 |
11,13 |
5,5 |
5,57 |
18 |
17,5 |
16,0 |
8 |
7,75 |
|
- |
- |
300 |
- |
- |
380 |
22 |
11,0 |
30 |
12 | ||||||
|
- |
- |
- |
300 |
300 |
- |
- |
22,23 |
- |
11,12 |
- |
28,7 |
26,9 |
- |
14,81 | |
|
350 |
- |
- |
- |
- |
420 |
419,10 |
11 |
15,88 |
5,5 |
7,94 |
18 |
22,4 |
20,6 |
- |
7,75 |
|
- |
350 |
- |
- |
- |
16 |
8,0 |
22 |
10 | |||||||
|
- |
- |
350 |
- |
- |
22 |
11,0 |
30 |
12 |
10,49 | ||||||
|
- |
- |
- |
350 |
350 |
- |
- |
25,4 |
- |
12,7 |
- |
33,3 |
31,8 |
- |
17,3 | |
|
400 |
- |
- |
- |
- |
480 |
469,90 |
11 |
11,13 |
5,5 |
5,57 |
18 |
17,5 |
16,0 |
7,75 | |
|
- |
400 |
- |
- |
- |
16 |
8,0 |
22 |
10 | |||||||
|
- |
- |
400 |
- |
- |
22 |
15,88 |
11,0 |
7,94 |
30 |
22,4 |
20,6 |
12 |
10,49 | ||
|
- |
- |
- |
400 |
400 |
- |
- |
28,58 |
- |
14,29 |
- |
36,6 |
35,1 |
- |
19,81 | |
|
500 |
500 |
- |
- |
- |
584,2 |
12,7 |
6,35 |
19,1 |
17,5 |
8,66 | |||||
|
- |
- |
500 |
- |
- |
19,05 |
9,53 |
25,4 |
23,9 |
12,32 | ||||||
|
- |
- |
- |
500 |
500 |
31,75 |
15,88 |
39,6 |
38,1 |
22,33 | ||||||
|
600 |
600 |
- |
- |
- |
692,15 |
15,88 |
7,94 |
22,4 |
20,6 |
10,49 | |||||
|
- |
- |
600 |
- |
- |
25,4 |
12,7 |
33,3 |
31,8 |
17,3 | ||||||
|
- |
- |
- |
600 |
600 |
34,93 |
17,47 |
44,5 |
41,4 |
24,82 | ||||||
Конструкция и размеры прокладок типа 3 для фланцев по ГОСТ 33259 (исполнение К) приведены на рисунке 4 и в таблице 2.

Рисунок 4 - Прокладки линзовые типа 3 для фланцев по ГОСТ 33259
В миллиметрах
|
Номинальный диаметр DN |
d
|
D 1
|
b,
|
R |
Диаметр касания d к * | |
|
Номин. |
Пред. откл. | |||||
|
10 |
10 |
20 |
7,0 |
21 |
± 0,3 |
14,0 |
|
15 |
15 |
28 |
8,5 |
29 |
19,5 | |
|
20 |
20 |
34 |
10,0 |
37 |
25,0 | |
|
25 |
25 |
40 |
12,0 |
44 |
30,0 | |
|
32 |
32 |
50 |
14,0 |
54 |
± 0,4 |
37,0 |
|
40 |
40 |
60 |
16,0 |
67 |
46,0 | |
|
50 |
50 |
70 |
18,0 |
83 |
56,5 | |
|
65 |
65 |
95 |
20,0 |
110 |
75,0 | |
|
80 |
80 |
116 |
22,0 |
130 |
± 0,5 |
88,5 |
|
100 |
100 |
140 |
26,0 |
164 |
112,0 | |
|
125 |
125 |
175 |
30,0 |
203 |
139,0 | |
|
150 |
150 |
210 |
32,0 |
242 |
165,5 | |
|
175 |
175 |
240 |
35,0 |
287 |
± 0,6 |
196,5 |
|
200 |
200 |
270 |
40,0 |
324 |
221,5 | |
|
225 |
225 |
300 |
362 |
247,5 | ||
|
250 |
250 |
330 |
45,0 |
400 |
274,0 | |
|
300 |
300 |
385 |
472 |
322,5 | ||
|
350 |
350 |
425 |
544 |
372,0 | ||
|
400 |
400 |
475 |
620 |
422,5 | ||
|
* Размер для справок. | ||||||
4.3 Примеры условных обозначений прокладок типа 1 для фланца DN 200, PN 63 из стали марки 08кп с максимальным значением твердости 110 НВ:
- для фланцев по ГОСТ 33259:
Прокладка 1-1-200-63-08кп-110 ГОСТ 34655-2020
- для фланцев, приведенных с учетом требований [1]:
Прокладка 1-2-200-63-08кп-110 ГОСТ 34655-2020
Примеры условных обозначений прокладок типа 2 для фланца DN 200, PN 160 из стали марки 08кп с максимальным значением твердости 110 НВ:
- для фланцев по ГОСТ 33259:
Прокладка 2-1-200-160-08кп-110 ГОСТ 34655-2020
- для фланцев, приведенных с учетом требований [1]:
Прокладка 2-2-200-160-08кп-110 ГОСТ 34655-2020
Примеры условных обозначений прокладок типа 3 для фланца DN 200 из стали марки 12Х18Н10Т с максимальным значением твердости 150 НВ:
Прокладка 3-200-12X18Н10Т-150 ГОСТ 34655-2020
5.1 Прокладки следует изготавливать в соответствии с требованиями настоящего стандарта по КД, утвержденной в установленном порядке.
5.2 Прокладки изготавливают из труб, поковок, раскатных колец, штампованных заготовок, сортового проката. Допускается изготавливать прокладки из листового проката методом вальцовки заготовки и обязательного контроля УЗК после пластической деформации. Изготовление прокладок из литых заготовок, в т.ч. полученных методом ЦЭШЛ, не допускается.
5.3 Перечень материалов для прокладок приведен в таблицах 3 и 4.
Материал прокладок выбирают в зависимости от условий эксплуатации соединения (температуры применения, стойкости материала к внешней и внутренней среде), а также материала фланцевого соединения, в котором устанавливается прокладка.
Допускается изготовление прокладок из других марок сталей, исходя из условий эксплуатации, по НД, утвержденным в установленном порядке.
|
Материал (марка стали) |
Температура применения, °С |
|
08кп, 10 по ГОСТ 1050 |
От - 40 до 475 |
|
20 по ГОСТ 1050 |
От - 40 до 475 |
|
10895, 10880 по ГОСТ 11036 |
От - 60 до 450 |
|
20X13 по ГОСТ 5632 |
От - 40 * до 450 |
|
09Г2С по ГОСТ 19281 |
От - 70 до 475 |
|
08Х18Н10, 08Х18Н10Т по ГОСТ 5632 |
От - 253 до 600 |
|
12Х18Н10Т по ГОСТ 5632 |
От - 253 до 600 |
|
10Х17Н13М2Т по ГОСТ 5632 |
От - 253 до 700 |
|
15Х5М по ГОСТ 4543 |
От - 40 до 560 |
|
08X13 по ГОСТ 5632 |
От - 40 до 420 |
|
* При температуре рабочей среды от минус 30 °С до минус 40 °С следует проводить испытание на ударный изгиб, при этом KCU -40 ≥ 300 кДж/м 2 (3,0 кгсм/см 2). | |
|
Материал (марка стали) |
Температура применения, °С |
|
20 по ГОСТ 1050 |
От - 40 до 475 |
|
35 по ГОСТ 1050 |
От - 40 до 425 |
|
20X13 по ГОСТ 5632 |
От - 40 * до 450 |
|
09Г2С по ГОСТ 19281 |
От - 70 до 475 |
|
12Х18Н10Т по ГОСТ 5632 |
От - 253 до 600 |
|
10Х17Н13М2Т по ГОСТ 5632 |
От - 253 до 700 |
|
10Х17Н13М3Т по ГОСТ 5632 |
От - 196 до 600 |
|
15ХМ, 15Х5М по ГОСТ 4543 |
От - 40 до 560 |
|
30ХМ по ГОСТ 4543 |
От - 50 до 450 |
|
* При температуре рабочей среды от минус 30 °С до минус 40 °С следует проводить испытание на ударный изгиб, при этом KCU -40 ≥ 300 кДж/м 2 (3,0 кгсм/см 2). | |
5.4 Прокладки типов 1 и 2 DN 200 - DN 600 допускается изготавливать сварными при условии выполнения сварных швов с полным проплавлением по всему сечению прокладки. Допускается наличие на прокладке одного поперечного сварного шва.
Требования к сварке и контроль качества сварного соединения - по ГОСТ 33857. Методы и объем контроля сварных соединений категории 3 - по ГОСТ 33857. Допускается вместо радиографического контроля проводить 100 %-ный контроль УЗК для прокладок из углеродистых и низколегированных сталей.
Гидравлические испытания прокладок допускается проводить после монтажа в составе изделия или системы.
Разность в твердости металла сварного шва и зоны термического влияния по отношению к твердости основного металла должна быть не более 20 НВ. Допускается замер твердости проводить на 2 % прокладок от партии (но не менее 2 шт.).
5.5 Для сварных прокладок температура применения указана в таблице 3.
5.6 Заготовки для изготовления прокладок следует подвергать термической обработке. Допускается подвергать термической обработке готовые прокладки. После проведения термической обработки отслоение окалины на поверхности прокладок не допускается. Допускаются цвета побежалости.
Режим термической обработки выбирает изготовитель в зависимости от марки стали.
Допускается не проводить термообработку заготовок прокладок из углеродистых и низкоуглеродистых сталей, если выполнены следующие условия:
- твердость металла не превышает максимальных значений, приведенных в приложении А;
- при изготовлении прокладок не используют технологические операции гибки, сварки и обработки давлением.
Необходимость термообработки указывают в ТУ и КД.
5.7 Прокладки, изготовленные из сталей аустенитного класса, по требованию заказчика, подвергают контролю на стойкость против МКК по ГОСТ 6032.
5.8 Твердость основного металла прокладок должна быть ниже твердости металла фланца. Разность в твердости металла фланцев и прокладок должна быть не менее 20 НВ. Измерение твердости - по ГОСТ 9012.
Измерение твердости необходимо проводить непосредственно на заготовках после термической обработки (предварительно подготовив горизонтальные участки поверхности).
Измерение твердости допускается проводить и на прокладках на наружных плоских поверхностях. Измерение твердости прокладок DN ≤ 50 проводят в одной точке, прокладок DN 65 - DN 200 - в двух диаметрально противоположных точках, для прокладок DN ≥ 200 измерение твердости проводят не менее чем в трех точках, расположенных по окружности на боковой поверхности прокладок под углом 120°. Допускается замер твердости проводить на 2 % прокладок от партии (но не менее 2 шт.).
Примечание - Под партией прокладок подразумевают прокладки, изготовленные по одной технологии, из одной марки материала и прошедшие одновременно термообработку.
5.9 Рекомендуемые значения твердости стальных прокладок и фланцев в зависимости от марки стали приведены в приложении А.
5.10 На уплотнительных поверхностях прокладок всех типов не допускаются раковины, забоины, вмятины, царапины, трещины. Исправление указанных дефектов заваркой или подчеканкой не допускается.
На уплотнительных поверхностях прокладок овального сечения (тип 1) и линзовых (тип 3) не допускаются волосовины всех направлений.
На неуплотнительных поверхностях прокладок отпечатки от прибора для контроля твердости дефектами не считаются.
5.11 Кромки прокладок не должны иметь заусенцев. Для снятия заусенцев допускается притупление острой кромки до 0,5 мм.
5.12 Прокладки должны иметь временную противокоррозионную защиту (консервацию) по ГОСТ 9.014. Прокладки из коррозионно-стойких сталей допускается не консервировать.
5.13 Маркировка на бирке, прикрепленной к каждой прокладке, должна содержать товарный знак или наименование изготовителя, условное обозначение согласно 4.3, марку материала и обозначение настоящего стандарта.
На боковую поверхность каждой прокладки наносят марку материала прокладки лазером, электрографическим или ударным (клеймение) способами, не влияющими на работоспособность прокладки, и товарный знак изготовителя (при наличии места). Маркировка прокладок из сталей аустенитного класса и железоникелевых сплавов электрографическим способом не допускается.
5.14 Упаковка прокладок должна обеспечивать защиту от повреждений при хранении и транспортировании.
5.15 Рекомендуемая форма заявки на изготовление прокладок приведена в приложении Б.
5.16 Партия прокладок должна сопровождаться ПС, удостоверяющим соответствие прокладок требованиям настоящего стандарта и КД.
Рекомендуемая форма паспорта приведена в приложении В.
5.17 Расчетная масса прокладок приведена в приложении Г.
Приложение А
(рекомендуемое)
|
Прокладки |
Фланцы исполнений J и К | ||
|
Марка стали |
Твердость, НВ, не более |
Марка стали |
Твердость, HB |
|
08кп |
110 |
20 |
130-167 |
|
10 |
130 |
20 |
150-167 |
|
20 |
130 |
20 |
150-179 |
|
10895, 10880 |
130 |
09Г2С, 10Г2 |
150-179 |
|
09Г2С |
137 |
09Г2С, 10Г2 |
160-179 |
|
15ХМ, 15Х5М |
154 |
15ХМ, 15Х5М |
174-235 |
|
30ХМ |
177 |
15ХМ, 15Х5М |
197-235 |
|
08X13 |
140 |
08Х18Н10Т |
160-179 |
|
08Х18Н10 |
150 |
08Х18Н10Т, 12Х18Н10Т |
160-179 |
|
08Х18Н10Т | |||
|
12Х18Н10Т | |||
|
10Х17Н13М2Т |
10Х17Н13М2Т |
170-200 | |
|
10Х17Н13М3Т |
10Х17Н13М3Т | ||
|
Примечание - По согласованию между заказчиком и поставщиком допускается устанавливать другие значения твердости прокладок при условии обеспечения разности в твердости по 5.8. | |||
Приложение Б
(рекомендуемое)
|
ЗАЯВКА На изготовление (поставку) партии прокладок по ГОСТ 34655-2020 |
Дата заполнения | |||||
|
"__" _______ 20__ г. | ||||||
|
Тип прокладки |
□ Тип 1
|
□ Тип 2
|
□ Тип 3
| |||
|
DN | ||||||
|
PN |
_________ МПа (_________ бар) | |||||
|
Исполнение уплотнительной поверхности фланца |
□ J - |
под прокладку овального и восьмиугольного сечения для фланцев по ГОСТ 33259 | ||||
|
□ К - |
под линзовую прокладку для фланцев по ГОСТ 33259 | |||||
|
□ J - |
под прокладку овального и восьмиугольного сечения для фланцев с учетом рекомендаций ISO 7005-1:2011 | |||||
|
Условие применения |
Температура окружающей среды: ___ °С Температура рабочей среды: ____ °С | |||||
|
Материал (марка стали) прокладок | ||||||
|
Контроль на стойкость против МКК (для сталей аустенитного класса) | ||||||
|
Материал (марка стали) фланца | ||||||
|
Твердость, НВ, не более | ||||||
|
Количество прокладок |
__________________ шт. | |||||
|
Дополнительные требования | ||||||
|
Заказчик: |
Изготовитель (поставщик) прокладок: | |||||
|
Наименование организации, адрес |
Наименование организации, адрес | |||||
|
Тел. |
Тел. | |||||
|
Тел./факс |
Тел./факс | |||||
|
|
| |||||
Ответственное лицо:
______________________ ________________ _____________________________
должность личная подпись расшифровка подписи
Приложение В
(рекомендуемое)
|
Товарный знак изготовителя
|
ПАСПОРТ ___________________________ обозначение паспорта | ||||||
|
1 Основные сведения об изделии | |||||||
|
Наименование изделия | |||||||
|
Условное обозначение прокладки | |||||||
|
Номер документа на поставку | |||||||
|
Изготовитель (поставщик), адрес | |||||||
|
Количество штук в партии | |||||||
|
Дата изготовления (поставки) | |||||||
|
Назначение |
Предназначены для уплотнения фланцевых соединений трубопроводной арматуры | ||||||
|
2 Основные технические данные | |||||||
|
Наименование параметра |
Значение | ||||||
|
DN | |||||||
|
PN, МПа (бар) | |||||||
|
Материал прокладки |
Марка стали |
____________ ГОСТ | |||||
|
Твердость, НВ, не более | |||||||
|
Контроль на стойкость против МКК (для сталей аустенитного класса) |
Номер документа о проведении контроля, дата | ||||||
|
Масса, кг | |||||||
|
Особые отметки | |||||||
|
3 Сведения о результатах контроля качества сварных соединений (заполняется для сварных прокладок) | |||||||
|
Наименование и обозначение прокладки |
Методы и объем контроля сварных соединений | ||||||
|
УЗК |
Радиографический контроль | ||||||
|
Сведения о проведении контроля 1) | |||||||
|
Номер документа о проведении контроля, дата | |||||||
|
1) При проведении контроля в соответствующей графе ставится "+", при непроведении контроля ставится "-". | |||||||
|
4 Комплектность В комплект поставки входят: - прокладки в количестве штук; - паспорт - 1 экз. на партию, поставляемую по одному заказу в один адрес. 5 Гарантии изготовителя Изготовитель (поставщик) гарантирует работоспособность прокладок при условии соблюдения потребителем условий транспортирования, хранения и эксплуатации, указанных в договоре на поставку. Гарантийный срок эксплуатации месяцев со дня ввода в эксплуатацию, но не более месяцев со дня отгрузки. 6 Временная противокоррозионная защита (консервация) | |||||
|
Дата |
Вариант защиты по ГОСТ 9.014 |
Срок консервации, годы |
Должность, инициалы, фамилия, подпись | ||
|
7 Свидетельство о приемке Прокладки __________________________________________________________ обозначение изготовлены и приняты в соответствии с требованиями ГОСТ 34655-2020, действующей технической документации и признаны годными для эксплуатации на указанные в настоящем ПС параметры Начальник ОТК ______________ ___________________ __________________ личная подпись расшифровка подписи год, месяц, число М.П. Руководитель предприятия ______________ _____________________ _________________ личная подпись расшифровка подписи год, месяц, число М.П. | |||||
Приложение Г
(справочное)
|
Номинальный диаметр DN |
Тип прокладки |
Масса прокладок, кг, для PN, бар | ||||
|
РN 63 |
РN 100 |
PN 160 |
РN 200 |
РN 250 | ||
|
DN 10 |
Тип 1 для фланцев по ГОСТ 33259 |
0,085 |
- |
- |
- | |
|
Типы 1 и 2 для фланцев (см. [1]) |
- | |||||
|
Тип 3 для фланцев по ГОСТ 33259 |
0,01 |
- | ||||
|
DN 15 |
Тип 1 для фланцев по ГОСТ 33259 |
0,085 |
0,097 |
- | ||
|
Типы 1 и 2 для фланцев (см. [1]) |
0,05 |
0,10 | ||||
|
Тип 3 для фланцев по ГОСТ 33259 |
0,025 |
- | ||||
|
DN 20 |
Тип 1 для фланцев по ГОСТ 33259 |
0,109 |
- | |||
|
Типы 1 и 2 для фланцев (см. [1]) |
0,10 |
0,11 | ||||
|
Тип 3 для фланцев по ГОСТ 33259 |
0,05 |
- | ||||
|
DN 25 |
Тип 1 для фланцев по ГОСТ 33259 |
0,121 |
- | |||
|
Типы 1 и 2 для фланцев (см. [1]) |
0,12 | |||||
|
Тип 3 для фланцев по ГОСТ 33259 |
0,06 |
- | ||||
|
DN 32 |
Тип 1 для фланцев по ГОСТ 33259 |
0,175 |
- | |||
|
Типы 1 и 2 для фланцев (см. [1]) |
0,15 | |||||
|
Тип 3 для фланцев по ГОСТ 33259 |
0,10 |
- | ||||
|
DN 40 |
Тип 1 для фланцев по ГОСТ 33259 |
0,182 |
- | |||
|
Типы 1 и 2 для фланцев (см. [1]) |
0,17 | |||||
|
Тип 3 для фланцев по ГОСТ 33259 |
0,15 |
- | ||||
|
DN 50 |
Тип 1 для фланцев по ГОСТ 33259 |
0,363 |
0,406 |
- | ||
|
Типы 1 и 2 для фланцев (см. [1]) |
0,34 |
0,39 | ||||
|
Тип 3 для фланцев по ГОСТ 33259 |
0,21 |
- | ||||
|
DN 65 |
Тип 1 для фланцев по ГОСТ 33259 |
0,470 |
0,551 |
- | ||
|
Типы 1 и 2 для фланцев (см. [1]) |
0,42 |
0,45 | ||||
|
Тип 3 для фланцев по ГОСТ 33259 |
0,45 |
- | ||||
|
DN 80 |
Тип 1 для фланцев по ГОСТ 33259 |
0,491 |
0,551 |
0,679 |
- | |
|
Типы 1 и 2 для фланцев (см. [1]) |
0,48 |
0,51 |
0,56 | |||
|
Тип 3 для фланцев по ГОСТ 33259 |
0,65 |
- | ||||
|
DN 100 |
Тип 1 для фланцев по ГОСТ 33259 |
0,683 |
0,811 |
- | ||
|
Типы 1 и 2 для фланцев (см. [1]) |
0,62 |
0,67 | ||||
|
Тип 3 для фланцев по ГОСТ 33259 |
1,1 |
- | ||||
|
DN 125 |
Тип 1 для фланцев по ГОСТ 33259 |
0,747 |
0,811 |
1,13 |
- | |
|
Типы 1 и 2 для фланцев (см. [1]) |
0,75 |
0,8 | ||||
|
Тип 3 для фланцев по ГОСТ 33259 |
1,90 |
- | ||||
|
DN 150 |
Тип 1 для фланцев по ГОСТ 33259 |
0,845 |
1,13 |
1,569 |
- | |
|
Типы 1 и 2 для фланцев (см. [1]) |
0,87 |
1,08 | ||||
|
Тип 3 для фланцев по ГОСТ 33259 |
2,73 |
- | ||||
|
DN 175 |
Тип 1 для фланцев по ГОСТ 33259 |
0,997 |
1,868 |
2,020 |
- | |
|
Типы 1 и 2 для фланцев (см. [1]) |
- | |||||
|
Тип 3 для фланцев по ГОСТ 33259 |
3,83 |
- | ||||
|
DN 200 |
Тип 1 для фланцев по ГОСТ 33259 |
1,130 |
2,020 |
2,234 |
- | |
|
Типы 1 и 2 для фланцев (см. [1]) |
1,11 |
1,99 | ||||
|
Тип 2 для фланцев по ГОСТ 33259 |
- |
2,020 |
- | |||
|
Тип 3 для фланцев по ГОСТ 33259 |
5,50 |
- | ||||
|
DN 225 |
Тип 1 для фланцев по ГОСТ 33259 |
2,2 |
2,234 |
- | ||
|
Типы 1 и 2 для фланцев (см. [1]) |
- | |||||
|
Тип 3 для фланцев по ГОСТ 33259 |
6,30 |
- | ||||
|
DN 250 |
Тип 1 для фланцев по ГОСТ 33259 |
1,370 |
2,420 |
- | ||
|
Типы 1 и 2 для фланцев (см. [1]) |
1,34 |
2,39 | ||||
|
Тип 2 для фланцев по ГОСТ 33259 |
- |
2,420 |
- | |||
|
Тип 3 для фланцев по ГОСТ 33259 |
8,7 |
- | ||||
|
DN 300 |
Тип 1 для фланцев по ГОСТ 33259 |
1,600 |
4,85 |
- | ||
|
Типы 1 и 2 для фланцев (см. [1]) |
1,57 |
4,98 | ||||
|
Тип 2 для фланцев по ГОСТ 33259 |
- |
1,6 |
5,08 |
- | ||
|
Тип 3 для фланцев по ГОСТ 33259 |
10,4 |
- | ||||
|
DN 350 |
Тип 1 для фланцев по ГОСТ 33259 |
1,790 |
3,080 |
5,350 |
- | |
|
Типы 1 и 2 для фланцев (см. [1]) |
3,09 |
7,33 | ||||
|
Тип 2 для фланцев по ГОСТ 33259 |
- |
3,080 |
5,60 |
- | ||
|
Тип 3 для фланцев по ГОСТ 33259 |
11,1 |
- | ||||
|
DN 400 |
Тип 1 для фланцев по ГОСТ 33259 |
2,050 |
3,520 |
6,120 |
- | |
|
Типы 1 и 2 для фланцев (см. [1]) |
1,94 |
3,47 |
10,07 | |||
|
Тип 2 для фланцев по ГОСТ 33259 |
- |
3,520 |
6,40 |
- | ||
|
Тип 3 для фланцев по ГОСТ 33259 |
12,87 |
- | ||||
|
DN 500 |
Тип 1 для фланцев по ГОСТ 33259 |
- | ||||
|
Типы 1 и 2 для фланцев (см. [1]) |
2,99 |
5,85 |
15,05 | |||
|
DN 600 |
Тип 1 для фланцев по ГОСТ 33259 |
- | ||||
|
Типы 1 и 2 для фланцев (см. [1]) |
5,11 |
12,1 |
22,58 | |||
Библиография
|
[1] |
ISO 7005-1:2011 |
Pipe flanges - Part 1: Steel flanges for industrial and general service piping systems (Фланцы трубопроводов. Часть 1. Стальные фланцы для промышленных трубопроводов и систем трубопроводов многоцелевого назначения) |


