ГОСТ 34643-2020 (ISO 10468:2018) ТРУБЫ И ДЕТАЛИ ТРУБОПРОВОДОВ ИЗ РЕАКТОПЛАСТОВ, АРМИРОВАННЫХ СТЕКЛОВОЛОКНОМ. МЕТОД ОПРЕДЕЛЕНИЯ ДОЛГОВРЕМЕННОЙ УДЕЛЬНОЙ КОЛЬЦЕВОЙ ЖЕСТКОСТИ ПРИ ПОЛЗУЧЕСТИ И КОЭФФИЦИЕНТА ПОЛЗУЧЕСТИ ПРИ ВОЗДЕЙСТВИИ ВЛАГИ ИЛИ В СУХИХ УСЛОВИЯХ
Fiberglass-reinforced thermosetting plastic pipes and parts of pipelines. Method for determination long-term specific ring creep stiffness and wet creep factor under wet or dry conditions
МКС 83.120
23.040.50
Дата введения - 1 августа 2020 г.
Введен впервые
Предисловие
Цели, основные принципы и общие правила проведения работ по межгосударственной стандартизации установлены ГОСТ 1.0 "Межгосударственная система стандартизации. Основные положения" и ГОСТ 1.2 "Межгосударственная система стандартизации. Стандарты межгосударственные, правила и рекомендации по межгосударственной стандартизации. Правила разработки, принятия, обновления и отмены"
Сведения о стандарте
1 Подготовлен Автономной некоммерческой организацией "Центр нормирования, стандартизации и классификации композитов" (АНО "Стандарткомпозит") при участии Объединения юридических лиц "Союз производителей композитов" (Союзкомпозит) на основе официального перевода на русский язык англоязычной версии стандарта, указанного в пункте 5, который выполнен АНО "Стандарткомпозит"
2 Внесен Техническим комитетом по стандартизации ТК 497 "Композиты, конструкции и изделия из них"
3 Принят Межгосударственным советом по стандартизации, метрологии и сертификации (протокол от 28 февраля 2020 г. N 127-П)
За принятие проголосовали:
|
Краткое наименование страны по МК (ИСО 3166) 004-97 |
Код страны по МК (ИСО 3166) 004-97 |
Сокращенное наименование национального органа по стандартизации |
|
Армения |
AM |
ЗАО "Национальный орган по стандартизации и метрологии" Республики Армения |
|
Беларусь |
BY |
Госстандарт Республики Беларусь |
|
Казахстан |
KZ |
Госстандарт Республики Казахстан |
|
Киргизия |
KG |
Кыргызстандарт |
|
Россия |
RU |
Росстандарт |
|
Узбекистан |
UZ |
Узстандарт |
4 Приказом Федерального агентства по техническому регулированию и метрологии от 28 июля 2020 г. N 417-ст межгосударственный стандарт ГОСТ 34643-2020 введен в действие в качестве национального стандарта Российской Федерации с 1 августа 2020 г.
5 Настоящий стандарт является модифицированным по отношению к международному стандарту ISO 10468:2018 "Трубы из реактопластов, армированных стекловолокном (GRP). Определение характеристик кольцевой ползучести во влажных или сухих условиях" ("Glass-reinforced thermosetting plastics (GRP) pipes - Determination of the ring creep properties under wet or dry conditions", MOD) путем изменения его структуры для приведения в соответствие с правилами, установленными ГОСТ 1.5-2001 (подразделы 4.2 и 4.3), путем изменения содержания отдельных структурных элементов, которые выделены вертикальной линией, расположенной на полях напротив соответствующего текста, а также невключения отдельных структурных элементов и ссылок.
Оригинальный текст модифицированных структурных элементов приведен в дополнительном приложении ДА.
Разделы примененного международного стандарта, не включенные в основную часть настоящего стандарта, приведены в дополнительном приложении ДБ.
Наименование настоящего стандарта изменено относительно наименования указанного международного стандарта для приведения в соответствие с ГОСТ 1.5 (подраздел 3.6).
Сведения о соответствии межгосударственных стандартов международным стандартам, использованным в качестве ссылочных в примененном международном стандарте, приведены в дополнительном приложении ДВ.
Сопоставление структуры настоящего стандарта со структурой указанного международного стандарта приведено в дополнительном приложении ДГ
6 Введен впервые
Настоящий стандарт распространяется на трубы и детали трубопроводов из реактопластов, армированных стекловолокном, и устанавливает метод определения долговременной удельной кольцевой жесткости при ползучести и коэффициента ползучести при воздействии влаги или в сухих условиях.
Испытание в сухих условиях проводят в целях оценки и контроля совместимости исходных материалов.
Испытание во влажных условиях проводят с целью определения характеристик в моделируемых условиях эксплуатации.
В настоящем стандарте использована нормативная ссылка на следующий межгосударственный стандарт:
ГОСТ 34647-2020 (ISO 10471:2018) Трубы и детали трубопроводов из реактопластов, армированных стекловолокном. Метод определения долговременной предельной деформации изгиба и долговременной предельной относительной кольцевой деформации при воздействии влаги
Примечание - При пользовании настоящим стандартом целесообразно проверить действие ссылочных стандартов и классификаторов на официальном интернет-сайте Межгосударственного совета по стандартизации, метрологии и сертификации (www.easc.by) или по указателям национальных стандартов, издаваемым в государствах, указанных в предисловии, или на официальных сайтах соответствующих национальных органов по стандартизации. Если на документ дана недатированная ссылка, то следует использовать документ, действующий на текущий момент, с учетом всех внесенных в него изменений. Если заменен ссылочный документ, на который дана датированная ссылка, то следует использовать указанную версию этого документа. Если после принятия настоящего стандарта в ссылочный документ, на который дана датированная ссылка, внесено изменение, затрагивающее положение, на которое дана ссылка, то это положение применяется без учета данного изменения. Если ссылочный документ отменен без замены, то положение, в котором дана ссылка на него, применяется в части, не затрагивающей эту ссылку.
В настоящем стандарте применены следующие термины с соответствующими определениями:
3.1 вертикальная сжимающая нагрузка F, Н: Равномерно распределенная вдоль трубы нагрузка, приложенная перпендикулярно к оси вращения и вызывающая кольцевую деформацию.
3.2 удельная кольцевая жесткость S, Н/м2: Физико-механическое свойство трубы, определяющее ее способность выдерживать нагрузку, направленную перпендикулярно к оси вращения.
Примечания
1 Удельную кольцевую жесткость определяют по формуле
,
(1)
где Е - окружной модуль упругости материала трубы на растяжение, Н/м2;
I - момент инерции площади поперечного сечения трубы на единицу длины, м4/м;
dcp - средний диаметр, м.
2 Момент инерции определяют по формуле
,
(2)
где е - среднее значение толщины стенки трубы, м.
3.3 средний диаметр dcp, м: Диаметр окружности, соответствующей середине поперечного сечения стенки трубы.
Примечания
1 Средний диаметр dcp, м, вычисляют по формуле
dср = dн - e,
(3)
где dн - среднее значение наружного диаметра трубы, м.
2 Допускается определять средний диаметр dcp по формуле
dср = dв + e,
(4)
где dв - среднее значение внутреннего диаметра трубы, м.
3.4 начальная удельная кольцевая жесткость S0, Н/м2: Начальное значение удельной кольцевой жесткости трубы, рассчитанное в соответствии с ГОСТ 34647-2020 (приложение ДА).
3.5 долговременная удельная кольцевая жесткость при ползучести Sx,1,creep, Н/м2: Значение удельной кольцевой жесткости за х лет, полученное путем экстраполяции значений удельной кольцевой жесткости, рассчитанных через заданные промежутки времени [см. ГОСТ 34647-2020 (приложение ДБ)].
3.6 кольцевая деформация y, м: Вертикальное изменение среднего диаметра трубы, уложенной горизонтально, вследствие воздействия вертикальной сжимающей нагрузки.
3.7 долговременная кольцевая деформация yх,1, м: Значение кольцевой деформации за х лет.
Сущность метода заключается в нагружении образцов, расположенных горизонтально, вертикальной сжимающей нагрузкой до достижения расчетного значения деформации. После достижения расчетного значения деформации, поддерживая вертикальную сжимающую нагрузку неизменной (постоянной), измеряют увеличивающиеся значения кольцевой деформации у каждого образца через определенные промежутки времени. По результатам испытаний определяют долговременную удельную кольцевую жесткость при ползучести и коэффициент ползучести.
При испытаниях во влажных условиях образцы погружают в воду заданной температуры и показателем рН. При испытаниях в сухих условиях образцы испытывают на воздухе при заданных температуре и влажности.
5.1 Установка для испытаний
Установка для испытаний должна обеспечивать сжатие образцов, погруженных в воду при необходимости, с постоянной скоростью нагружения, поддержание заданной постоянной вертикальной сжимающей нагрузки в течение длительного времени и ее измерение с погрешностью не более ± 1 % от измеряемой величины. Установка для испытаний должна включать нагружающие площадки по 5.2.
5.2 Площадки нагружающие
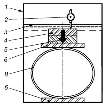
5.2.1 Нагружающие площадки должны быть выполнены в виде пары пластин или брусков. Главные оси нагружающих площадок должны быть перпендикулярны и отцентрованы к направлению приложенной сжимающей нагрузки в соответствии со схемой нагружения образца, приведенной на рисунке 1. Нагружающие площадки должны быть плоскими, гладкими, ровными и параллельными друг другу.
Нагружающие площадки должны быть изготовлены из материала, стойкого к воздействию воды (цветного металла или нержавеющей стали).
|
|
|
|
а - с помощью пластин |
б - с помощью брусков |
1 - емкость с водой; 2 - средство измерения кольцевой деформации; 3 - уровень воды; 4 - статическая нагрузка; 5 - сжимающая нагрузка F, 6 - пластины; 7 - бруски; 8 - образец; 9 - ширина плоской поверхности бруска
Рисунок 1 - Схемы нагружения образцов
5.2.2 Ширина пластин должна быть не менее 100 мм, длина - не менее длины образца.
Пластины должны быть достаточно жесткими, без видимого прогиба или деформации во время испытаний.
5.2.3 Бруски должны быть достаточно жесткими, без видимого прогиба и деформации во время испытаний. Каждый брусок должен иметь закругленные края и плоскую поверхность (см. рисунок 1) без острых краев.
Ширина бруска должна быть от 15 до 55 мм, длина - не менее длины образца.
Бруски должны быть такой формы, чтобы во время проведения испытаний они контактировали с образцом только плоской поверхностью.
5.3 Емкость с водой
Если испытание проводят во влажных условиях, то используют емкость, наполненную водой с рН (7 ± 2) и снабженную устройством, поддерживающим заданную температуру воды. Размеры емкости должны быть достаточными для обеспечения полного погружения образца в воду.
5.4 Средства измерений
5.4.1 Для измерения длины, диаметра и толщины стенки трубы используют средства измерений, обеспечивающие измерения с погрешностью не более ± 1 % от измеряемой величины.
5.4.2 Для измерения кольцевой деформации используют средства измерений с погрешностью не более ± 1 %.
Примечание - При выборе прибора для измерения кольцевой деформации образца необходимо учитывать коррозионную среду, в которой прибор будет использоваться.
6.1 Подготовка образцов
6.1.1 Образцы представляют собой отрезок трубы. Длина образцов должна быть указана в нормативном документе или технической документации на изделие, допустимое отклонение - ± 5 %. Если длина образцов не указана, то она должна составлять (300 ± 15) мм.
Торцы образцов должны быть гладкими, ровными и перпендикулярными к оси трубы.
Вдоль образцов по наружной или внутренней поверхности трубы с шагом 60° по окружности наносят прямые линии, выполняющие роль опорных линий.
6.1.2 Для испытаний используют два образца, если иное не установлено в нормативном документе или технической документации на изделие.
6.2 Кондиционирование
Образцы кондиционируют в соответствии с требованиями нормативного документа или технической документации.
7.1 Измеряют длину каждого образца вдоль опорных линий.
Рассчитывают среднюю длину каждого образца по результатам шести измерений.
7.2 Измеряют толщину стенки каждого образца с каждой стороны опорных линий.
Рассчитывают среднюю толщину стенки по результатам 12 измерений.
7.3 Измеряют внутренний диаметр посередине между каждой парой противоположных опорных линий или внешний диаметр образца. Вычисляют средний диаметр по формуле (3) или (4).
7.4 Условия проведения испытаний должны соответствовать требованиям нормативного документа или технической документации на изделие.
7.5 Определяют начальную удельную кольцевую жесткость каждого образца в соответствии с ГОСТ 34647-2020 (приложение ДА). При определении начальной удельной кольцевой жесткости образцы устанавливают в установку для испытаний таким образом, чтобы противоположные опорные линии контактировали с нагружающими площадками.
Начальную удельную кольцевую жесткость используют для задания вертикальной сжимающей нагрузки, величина которой обеспечивает необходимую кольцевую деформацию.
Скорость нагружения должна быть такой, чтобы расчетное растяжение внутренней стенки образцов в верхней и нижней их части достигло значения от 0,13 % до 0,17 % в течение 3 мин, если иное не установлено в нормативном документе или технической документации на изделие.
Расчетное растяжение εp вычисляют по формуле
.
(5)
7.6 Устанавливают образец в установку для испытаний таким образом, чтобы противоположные опорные линии (см. 7.5) контактировали с нагружающими площадками. Контакт между образцом и нагружающими площадками должен быть одинаковым по всей линии контакта, нагружающие площадки не должны быть перекошены. При проведении испытания во влажных условиях установку для испытаний помещают в емкость, которую заполняют водой так, чтобы образец был полностью погружен в воду.
Примечание - Образцы нагружают вдоль тех же опорных линий, вдоль которых определялась начальная удельная кольцевая жесткость.
7.7 К образцу прикладывают вертикальную сжимающую нагрузку F до достижения расчетной деформации εp (см. 7.5), при этом расчетная деформация εp должна быть достигнута в течение 3 мин. Фиксируют сжимающую нагрузку и кольцевую деформацию.
7.8 Долговременную кольцевую деформацию измеряют при постоянном значении вертикальной сжимающей нагрузки. Записывают долговременную кольцевую деформацию с погрешностью ± 2 % не позже, чем через 1 ч после приложения нагрузки через равные промежутки времени в течение не менее 10 000 ч. Интервалы должны быть такими, чтобы 10 показаний были взяты с примерно равным интервалом для каждого временного порядка lg(t).
Примечание - При измерении долговременной кольцевой деформации измеряют и вертикальную сжимающую нагрузку. Если вертикальная сжимающая нагрузка изменилась, то ее доводят до прежнего уровня с целью поддержания постоянного значения.
8.1 Значения удельной кольцевой жесткости при ползучести за х лет
При необходимости строят график зависимости долговременной кольцевой деформации от времени в логарифмических координатах.
Удельную кольцевую жесткость при ползучести за х лет Sx,1, Н/м2, для каждого образца на основании измеренной долговременной кольцевой деформации и соответствующих временных интервалов от 1 до 10 000 ч вычисляют по формуле
,
(6)
где f - коэффициент деформации;
F - вертикальная сжимающая нагрузка, Н;
L - средняя длина образца, м;
ух,1 - долговременная кольцевая деформация (см. 7.8), м.
Коэффициент деформации вычисляют по формуле
.
(7)
8.2 Долговременная удельная кольцевая жесткость при ползучести
Для каждого образца анализируют зависимость удельной кольцевой жесткости при ползучести за х лет от времени, определяют формулу регрессионной прямой в соответствии с ГОСТ 34647-2020 (приложение ДБ) и рассчитывают долговременную удельную кольцевую жесткость при ползучести Sx,1,creep, Н/м2.
8.3 Коэффициент ползучести
Коэффициент ползучести αx,creep вычисляют по формуле
.
(8)
Примечание - Коэффициент ползучести является средним арифметическим значением, полученным для двух образцов.
Результаты испытаний заносят в протокол испытаний, который должен содержать:
- ссылку на настоящий стандарт;
- информацию, необходимую для полной идентификации образцов: геометрические размеры образцов; участок трубы, откуда были вырезаны образцы;
- количество образцов;
- информацию об оборудовании, в том числе о применении пластин и/или брусков, ширину плоской поверхности;
- условия кондиционирования при необходимости;
- начальную удельную кольцевую жесткость S0, Н/м2, для каждого образца;
- вертикальную сжимающую нагрузку, кольцевую деформацию и расчетное растяжение в течение 3 мин для каждого образца;
- температуру и рН воды, если испытание проводилось во влажных условиях;
- график зависимости долговременной кольцевой деформации от времени в логарифмических координатах при необходимости;
- долговременную удельную кольцевую жесткость при ползучести Sx,1,creep;
- коэффициент ползучести αx,creep для каждого образца;
- общий коэффициент ползучести αx,creep (см. 8.3);
- описание образцов после испытания;
- любые факторы, влияющие на результаты испытаний;
- время проведения испытаний, ч;
- дату испытаний.
Приложение ДА
(справочное)
ДА.1
4 Принцип
Нагрузка распределяется по всей мерной длине горизонтально установленной трубы, сжимая ее диаметрально до установленного уровня, вычисляемого по формуле (8). Поверхностями приложения нагрузки являются либо опорные плиты, либо балочные бруски.
Труба подвергается воздействию постоянной нагрузки, а кольцевая деформация измеряется интервалами. Долговременная удельная кольцевая жесткость при ползучести оценивается методом экстраполяции. Для определения ползучести при влажных условиях труба погружается в воду при заданной температуре.
Коэффициент ползучести определяется, исходя из долговременной удельной кольцевой жесткости при ползучести и кольцевой жесткости одного и того же испытуемого образца при 0,1 ч. Установленный коэффициент ползучести является средним результатом для двух испытуемых образцов.
Предполагается, что значения следующих анализируемых параметров должны быть установлены в ссылочных стандартах:
a) время, к которому экстраполируются величины (см. 3.6 и 11.1);
b) температура испытания (см. 5.3 и 10.1);
c) длина испытуемого образца (см. раздел 6);
d) если применимо, параметры кондиционирования, т.е. температура, влажность и длительность (см. раздел 9);
e) сроки выдержки испытуемого образца под нагрузкой (см. 10.6);
f) уровень деформации, при которой проводится испытание;
g) следует ли проводить испытание во влажных или сухих условиях.
Примечание - Редакция раздела изменена в целях соблюдения норм русского языка, принятой терминологии и технического стиля изложения.
ДА.2
5.1 Установка для испытаний на сжатие
Установка должна содержать систему, способную прилагать нагрузку без толчков через две поверхности приложения нагрузки в соответствии с 5.2 таким образом, чтобы горизонтально расположенный испытуемый образец в соответствии с разделом 6, погруженный в воду при необходимости, можно было подвергнуть вертикальному сжатию и удерживать под воздействием постоянной нагрузки на протяжении времени испытания в соответствии с 10.6.
Оборудование должно измерять прикладываемую нагрузку в пределах ± 1 % от применяемого значения.
Необходимо убедиться, что прилагаемая нагрузка не подвергается эффекту плавучести для испытания при влажных условиях или трению.
5.2 Поверхности приложения силы
5.2.1 Общая схема
Метод позволяет использовать плиты или балочные бруски для нагрузки испытуемого образца в зависимости от выбранного способа. Такие же приспособления для распределения нагрузки (плиты, балочные бруски или плита и балочный брусок) должны использоваться для определения начальной и долговременной жесткости.
Поверхности должны оснащаться парой плит в соответствии с 5.2.2, или парой балочных брусков в соответствии с 5.2.3, или сочетанием из одной плиты и одного балочного бруска, расположенных перпендикулярно и отцентрованных в направлении применения нагрузки F, прилагаемой установкой для испытаний на сжатие, как показано на рисунке 1. Поверхности, контактирующие с испытуемым образцом, должны быть ровными, гладкими, чистыми и параллельными.
Примечание - Редакция раздела изменена в целях соблюдения норм русского языка, принятой терминологии и технического стиля изложения.
ДА.3
Требования для измерительных приборов:
a) приборы для измерения размеров (длина, диаметр, толщина стенки), как указано в разделе 8, должны иметь калиброванную точность в пределах ± 1 % измеряемого размера;
b) приборы для измерения деформации испытуемого образца в вертикальном направлении во время испытания должны иметь калиброванную точность в пределах ± 1 % от начального значения деформации;
c) приборы, используемые для измерения нагрузки, должны иметь калиброванную точность ± 1 % от применяемого значения.
При выборе прибора для измерения изменений диаметра испытуемого образца следует учитывать коррозионную среду, в которой прибор будет использоваться.
Примечание - Редакция раздела изменена, так как перечисление с) изложено в подразделе 5.1 настоящего стандарта.
ДА.4
Размеры испытуемых образов (длина, толщина и средний диаметр) должны быть определены в соответствии с ISO 3126.
Примечание - Редакция раздела изменена, так как международный стандарт ISO 3126 не принят в качестве межгосударственного.
ДА.5
10.2 Определяют и записывают, используя постоянную нагрузку, начальную удельную кольцевую жесткость S0 испытуемого образца в соответствии с ISO 7685. Используют измеренное значение S0 для пары опорных линий, обозначенное "положение 1", для оценки сжимающей нагрузки, необходимой для деформации испытуемого образца в течение 3 мин, если иное не указано в ссылочном стандарте, до достижения расчетной деформации (см. 3.11) от 0,13 % до 0,17 %.
Примечание - Редакция раздела изменена в целях более подробного описания данного действия.
Приложение ДБ
(справочное)
ДБ.1
3.6 расчетная долговременная удельная кольцевая жесткость при ползучести, Sx,creep: Расчетное значение S за х лет, вычисляемое по формуле (5):
Sx,creep = S0·αx,creep,
(5)
где х - временной интервал в годах (или часах), указанный в соответствующем стандарте;
αx,creep - коэффициент ползучести (см. 3.7);
S0 - начальная удельная кольцевая жесткость, в ньютонах на квадратный метр.
Примечание 1 к статье - Расчетная долговременная удельная кольцевая жесткость при ползучести выражается в ньютонах на квадратный метр.
3.7 коэффициент ползучести, αx,creep: Отношение долговременной удельной кольцевой жесткости при ползучести к начальной удельной кольцевой жесткости, обе величины в исходном положении, положении 1 (см. 10.2), вычисляется по формуле (6):
,
(6)
где S0,1 - кольцевая жесткость в положении 1, Н/м2, при 0,1 ч;
Sx,1,creep - долговременная удельная кольцевая жесткость при ползучести в положении 1 за время х, Н/м2.
3.10 коэффициент деформации, f: Безразмерный коэффициент, основанный на общей теории, учитывающей члены второго порядка в применении к деформации и вычисляемый по формуле (7):
,
(7)
где y1 - долговременная кольцевая деформация в положении 1, м;
dm - средний диаметр (см. 3.3) трубы, м.
3.11 расчетная деформация, εcalc,1: Деформация на внутренней поверхности в области зенита трубы и низа трубы в исходном положении, положении 1, выраженная в процентах и рассчитанная по формуле (8):
,
(8)
где y1 - кольцевая деформация в положении 1, м;
dm - средний диаметр трубы (см. 3.3), м;
е - толщина стенки трубы, м.
Примечание - Данные термины исключены из настоящего стандарта, так как они оформлены в соответствии с ГОСТ 1.5-2001 (пункт 7.9.9) в разделе 8 настоящего стандарта.
Приложение ДВ
(справочное)
Таблица ДВ.1
|
Обозначение ссылочного межгосударственного стандарта |
Степень соответствия |
Обозначение и наименование ссылочного международного стандарта |
|
ГОСТ 34647-2020 |
NEQ |
ISO 7685:1998 "Системы пластмассовых трубопроводов. Трубы из термореактивных стеклопластиков (GRP). Определение исходной удельной кольцевой жесткости" |
|
NEQ |
ISO 10928:2016 "Трубопроводы пластмассовые. Трубы и фитинги из термореактивных стеклопластиков (GRP). Методы регрессионного анализа и их применение" | |
|
Примечание - В настоящей таблице использовано следующее условное обозначение степени соответствия стандартов: - NEQ - неэквивалентные стандарты. | ||
Приложение ДГ
(справочное)
Таблица ДГ.1
|
Структура настоящего стандарта |
Структура международного стандарта ISO 10468 | ||||
|
Раздел |
Подраздел |
Пункт |
Раздел |
Подраздел |
Пункт |
|
1 |
- |
- |
1 |
- |
- |
|
2 |
- |
- |
2 |
- |
- |
|
3.1-3.5 |
- |
3.1-3.5 |
- | ||
|
3 |
- |
- |
3 |
3.6-3.7 |
- |
|
3.6-3.7 |
- |
3.8-3.9 |
- | ||
|
- |
- |
3.10-3.11 |
- | ||
|
4 |
- |
- |
4 |
- |
- |
|
5.1 |
- |
5.1 |
- | ||
|
5 |
5.2 |
5.2.1-5.2.3 |
5 |
5.2 |
5.2.1-5.2.3 |
|
5.3-5.4 |
- |
5.3-5.4 |
- | ||
|
6 |
6.1 |
6.1.1 |
6 |
- |
- |
|
6.1.2 |
7 |
- |
- | ||
|
7 |
7.1-7.3 |
- |
8 |
- |
- |
|
6 |
6.2 |
- |
9 |
- |
- |
|
7 |
7.4-7.8 |
- |
10 |
10.1-10.6 |
- |
|
8 |
8.1-8.3 |
- |
11 |
11.1-11.3 |
- |
|
9 |
- |
- |
12 |
- |
- |
|
Приложения |
ДА-ДГ |
- |
- | ||
|
Примечания 1 Разделы 6, 7 и 9 примененного международного стандарта объединены в настоящем стандарте в соответствии с ГОСТ 1.5-2001 (пункт 7.9.7). 2 Внесены дополнительные приложения ДА-ДГ в соответствии с требованиями, установленными к оформлению межгосударственного стандарта, модифицированного по отношению к международному стандарту. | |||||




