ГОСТ Р ИСО 10360-1-2017 ХАРАКТЕРИСТИКИ ИЗДЕЛИЙ ГЕОМЕТРИЧЕСКИЕ. ПРИЕМОЧНЫЕ И ПЕРЕПРОВЕРОЧНЫЕ ИСПЫТАНИЯ КООРДИНАТНО-ИЗМЕРИТЕЛЬНЫХ МАШИН. СЛОВАРЬ
Geometrical product specifications. Acceptance and reverification tests for coordinate measuring machines. Vocabulary
ОКС 17.040.30
Дата введения - 1 января 2019 г.
Введен впервые
Предисловие
1 Подготовлен Акционерным обществом "Научно-исследовательский и конструкторский институт средств измерений в машиностроении" (АО "НИИизмерения") на основе собственного перевода на русский язык англоязычной версии стандарта, указанного в пункте 4
2 Внесен Техническим комитетом по стандартизации ТК 242 "Допуски и средства контроля"
3 Утвержден и введен в действие Приказом Федерального агентства по техническому регулированию и метрологии от 23 ноября 2017 г. N 1804-ст
4 Настоящий стандарт идентичен международному стандарту ИСО 10360-1:2000 "Геометрические характеристики изделий (GPS). Приемочные и перепроверочные испытания координатно-измерительных машин (КИМ). Часть 1. Словарь" [ISO 10360-1:2000 "Geometrical Product Specifications (GPS) - Acceptance and reverification tests for coordinate measuring machines (CMM) - Part 1: Vocabulary", IDT].
Технические поправки к указанному международному стандарту, принятые после его официальной публикации, внесены в текст настоящего стандарта, а информация об их учете приведена в дополнительном приложении ДА.
Наименование настоящего стандарта изменено относительно наименования международного стандарта для приведения в соответствие с ГОСТ Р 1.5-2012 (пункт 3.5).
При применении настоящего стандарта рекомендуется использовать вместо ссылочных международных стандартов соответствующие им национальные и межгосударственные стандарты, сведения о которых приведены в дополнительном приложении ДБ
5 Введен впервые
Введение
Международный стандарт ИСО 10360 состоит из объединенных общим наименованием "Геометрические характеристики изделий. Приемочные и перепроверочные испытания координатно-измерительных машин (КИМ)" следующих частей:
- Часть 1 (ИСО 10360-1): Словарь;
- Часть 2 (ИСО 10360-2): Координатно-измерительные машины, применяемые для измерения линейных размеров;
- Часть 3 (ИСО 10360-3): Координатно-измерительные машины с осью поворотного стола в качестве четвертой оси;
- Часть 4 (ИСО 10360-4): Координатно-измерительные машины, применяемые в режиме сканирования;
- Часть 5 (ИСО 10360-5): Координатно-измерительные машины, использующие одно- и многощуповые контактные зондирующие системы;
- Часть 6 (ИСО 10360-6): Оценка погрешностей при расчете Гауссовых присоединенных элементов.
Международный стандарт ИСО 10360-1:2000 подготовлен Техническим комитетом ИСО/ТК 213 "Размерные и геометрические требования к изделиям и их проверка".
Приложения А и В настоящего стандарта приведены исключительно с целью информирования.
Настоящий стандарт устанавливает терминологию в области координатно-измерительных машин (КИМ) и их приемочных и перепроверочных испытаний.
2.1 координатно-измерительная машина (coordinate measuring machine); КИМ (СММ): Измерительная система, обеспечивающая возможность перемещения зондирующей системы и способная определять пространственные координаты точек на поверхности детали.
Примечание - Описание типов некоторых распространенных КИМ и физической реализации их координатных осей приведены в приложении А.
2.2 координатное измерение (coordinate measurement): Измерение пространственных координат, выполняемое посредством КИМ.
2.3 зона измерений (measuring volume): Диапазон измерений КИМ, установленный как совокупность пределов по всем измеряемым КИМ пространственным координатам.
2.4 система координат детали (workpiece coordinate system): Система координат, неподвижная относительно детали.
2.5 система координат машины (machine coordinate system): Система координат, неподвижная относительно физических или расчетных координатных осей КИМ.
Примечание - Описания некоторых распространенных КИМ и физической реализации их координатных осей приведены в приложении А.
2.6 зондирующая система (probing system): Система, состоящая из датчика и, если имеются, удлинителя датчика, устройства смены датчика, щупа, удлинителя щупа и устройства смены щупа (см. рисунки 1 и 2).
Примечание 1 - Зондирующая система крепится к пиноли.
Примечание 2 - Зондирующие системы не ограничены только контактными зондирующими системами.

1 - пиноль; 2 - удлинитель датчика; 3 - устройство смены датчика; 4 - датчик; 5 - устройство смены щупа; 6 - удлинитель щупа; 7 - шток щупа; 8 - щуп; 9 - наконечник щупа; 10 - диаметр наконечника; 11 - зондирующая система; 12 - система щупов
Рисунок 1 - Зондирующая система

1 - пиноль; 2 - шарнирное устройство; 3 - удлинитель датчика; 4 - устройство смены датчика; 5 - датчик; 6 - удлинитель щупа; 7 - щуп; 8 - шарнирная зондирующая система
Рисунок 2 - Шарнирная зондирующая система
2.7 зондирование (probing): Процесс, результатом которого является определение значений координат.
2.8 дискретное зондирование (discrete-point probing): Особый режим зондирования, при котором регистрацию любой индицируемой измеренной точки выполняют непосредственно после прохождения промежуточной точки.
2.9 сканирование (scanning): Особый режим зондирования, предназначенный для получения упорядоченной последовательности измеренных точек, определяющей линию на контролируемой поверхности.
2.10 программная точка (program point): Любая определенная своими координатами точка, используемая для управления перемещением заданной точки зондирующей системы.
2.11 промежуточная точка (intermediate point): Специальная программная точка, в которой не производят зондирование.
Примечание - Промежуточные точки обычно используют для управления перемещением зондирующей системы, изменения ее скорости или направления перемещения, а также для перемещения в исходное положение.
2.12 индицируемая измеренная точка (indicated measured point): Заданная точка зондирующей системы, координаты которой индицируют (регистрируют) в момент завершения зондирования (см. рисунок 3).
Примечание - Эта точку обычно задают в центре (или около центра) наконечника щупа.
2.13 скорректированная измеренная точка (corrected measured point): Оценка для точки на поверхности детали, основанная на какой-либо индицируемой измеренной точке (см. рисунки 3 и 4).
Примечание - В случае отсутствия системы щупов, прикрепленной к датчику (например, для оптической зондирующей системы), скорректированная измеренная точка может совпадать с индицируемой измеренной точкой.
2.14 целевая точка контакта (target contact point): Точка контакта, намеченная на номинальном полном геометрическом элементе (см. рисунок 3).
Примечание - В соответствии с ИСО 14660-1 номинальный полный геометрический элемент - теоретически точная поверхность.

а - индицируемая измеренная точка; b - вектор коррекции наконечника; с - скорректированная измеренная точка; d - целевая точка контакта; е - действительная точка контакта; f - реальный геометрический элемент; g - номинальный геометрический элемент, целевая линия сканирования; h - позиционная ошибка
Рисунок 3 - Названия точек (упрощенное представление)

а - индицируемая измеренная точка; b - вектор коррекции наконечника; с - скорректированная измеренная точка; d - вектор скорректированной измеренной точки; е - вектор индицируемой измеренной точки
Рисунок 4 - Вектор коррекции наконечника (упрощенное представление)
2.15 действительная точка контакта (actual contact point): Точка контакта между наконечником щупа и реальным геометрическим элементом (см. рисунок 3).
Примечание - В соответствии с ИСО 14660-1 реальный элемент - полный элемент, часть реальной поверхности детали.
2.16 вектор коррекции наконечника
(tip correction vector): Вектор, применяемый для переноса индицируемой измеренной точки в скорректированную измеренную точку (см. рисунки 3 и 4).
Примечание 1 - Вектор коррекции наконечника обычно содержит физический размер наконечника (например, радиус) и поправку на систематические погрешности зондирующей системы. Переход от индицируемой измеренной точки к скорректированной измеренной точке определяется уравнением
,
где
- вектор скорректированной измеренной точки;
- вектор индицируемой измеренной точки;
- вектор коррекции наконечника.
Примечание 2 - Общепринятой практикой является применение аппроксимированного радиуса наконечника щупа для определения модуля этого вектора и предположения о нормальности поверхности к его направлению. Диаметр наконечника, учитывающий поправку на деформацию штока щупа, обычно называют "эффективным диаметром наконечника".
2.17 приемочные испытания (КИМ) [acceptance test (of а СММ)]: Совокупность согласованных между производителем КИМ и пользователем операций, выполняемых для проверки того, что характеристики КИМ соответствуют установленным производителем нормам.
2.18 перепроверочные испытания (КИМ) [reverification test (of а СММ)]: Испытания, выполняемые в соответствии с процедурами приемочных испытаний для проверки того, что характеристики КИМ соответствуют требованиям пользователя.
2.19 промежуточная проверка (КИМ) [interim check (of а СММ)]: Проверка, назначаемая пользователем и проводимая между перепроверочными испытаниями для поддержания уровня достоверности результатов измерений на КИМ.
2.20 Гауссово радиальное расстояние R (Gaussian radial distance): Расстояние между центром сферы Гаусса (сферы по наименьшим квадратам), являющейся присоединенным геометрическим элементом, построенным по конечному числу скорректированных измеренных точек, взятых на сферической размерной мере, и любой из этих точек.
Примечание - Выявленный элемент, от которого устанавливают присоединенный элемент, определяется множеством измеренных точек, что обуславливает существование диапазона значений Гауссова радиального расстояния.
2.21 диапазон (range): Разность между наибольшим и наименьшим значением номинально одной и той же величины.
2.22 гистерезис (hysteresis): Свойство измерительного инструмента, в соответствии с которым реакция на данный входной сигнал зависит от последовательности предыдущих входных сигналов.
Примечание - Несмотря на то что гистерезис, как правило, учитывают в отношении измеряемой величины, он также может быть учтен в отношении влияющих величин.
2.23 пиноль (ram): Часть КИМ, несущая зондирующую систему.
3.1 датчик (probe): Устройство, генерирующее сигнал (или сигналы) при зондировании.
3.2 контактная зондирующая система (contacting probing system): Зондирующая система, для функционирования которой необходим физический контакт с измеряемой поверхностью.
3.3 бесконтактная зондирующая система (non-contacting probing system): Зондирующая система, для функционирования которой не требуется физический контакт с измеряемой поверхностью.
Примечание - Оптическая зондирующая система является бесконтактной зондирующей системой.
3.4 оптическая зондирующая система (optical probing system): Бесконтактная зондирующая система, которая посредством какого-либо оптического устройства при зондировании порождает скорректированную измеренную точку.
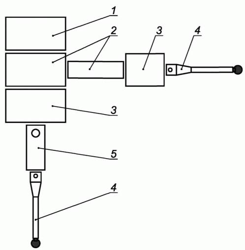
3.5 многодатчиковая система (multi-probe system): Зондирующая система, имеющая более одного датчика (см. рисунки 5 и 6).
3.6 шарнирная зондирующая система (articulating probing system): Зондирующая система, которая может быть установлена в пространстве в различных угловых положениях посредством ручного или моторизованного позиционирующего устройства (см. рисунок 2).
3.7 калибровка зондирующей системы (probing system qualification): Установление необходимых для последующих измерений параметров зондирующей системы.
3.8 многощуповая система (multiple styli, multiple stylus): Зондирующая система, содержащая более одной системы щупов с одним или более щупами, или одну систему щупов с более чем одним щупом, или многодатчиковую систему, или обеспечивающая возможность установки щупа или щупов в нескольких различных ориентациях (см. рисунки 5-9).

1 - пиноль; 2 - удлинитель датчика; 3 - датчик; 4 - щуп; 5 - удлинитель щупа
Рисунок 5 - Многодатчиковая многощуповая зондирующая система (два датчика и два одиночных щупа)

1 - пиноль; 2 - устройство смены датчика; 3 - датчик; 4 - щуп
Рисунок 6 - Многодатчиковая многощуповая зондирующая система с устройством смены датчика (два датчика, два одиночных щупа и устройство смены датчика)

1 - пиноль; 2 - датчик; 3 - щуп; 4 - удлинитель щупа
Рисунок 7 - Многощуповая зондирующая система (два одиночных щупа)

1 - пиноль; 2 - датчик; 3 - щуп в форме звезды
Рисунок 8 - Многощуповая зондирующая система (система щупов в форме звезды)

1 - пиноль; 2 - датчик; 3 - устройство смены щупа; 4 - щуп
Рисунок 9 - Многощуповая зондирующая система (два одиночных щупа и устройство смены щупа)
4.1 щуп (stylus): Механическое устройство, состоящее из наконечника щупа и штока.
4.2 наконечник щупа (stylus tip): Конструктивный элемент щупа, контактирующий с деталью.
Примечание - Наконечник щупа может иметь форму шара, цилиндра, диска, острия и т.п.
4.3 компоненты системы щупов (stylus system components): Механические компоненты (удлинители щупа и щупы), обеспечивающие возможность контакта с деталью.
4.4 система щупов (stylus system): Любая комбинация компонентов системы щупов, содержащая по крайней мере один щуп.
4.5 длина щупа (stylus length): Расстояние от центра сферического наконечника щупа до заплечика штока (см. рисунок 10).

а - длина щупа
Рисунок 10 - Длина щупа
4.6 смещение наконечника щупа (stylus tip offset): Относительные координаты центра наконечника щупа, указанные относительно базы, установленной в системе координат машины.
Примечание - База может быть установлена в центре первого откалиброванного щупа.
5.1 поворотный стол (rotary table): Устройство для установки детали, обеспечивающее ее повороты относительно осей прямолинейного перемещения КИМ.
Примечание - Поворотный стол может быть как шагового, так и бесступенчатого типа позиционирования.
5.2 наладка поворотного стола (rotary table setup): Установленная производителем процедура, служащая для выравнивания (физического или программного) оси вращения поворотного стола с системой осей прямолинейного перемещения КИМ.
6.1 скорость дискретного зондирования (discrete-point probing speed): Абсолютная величина скорости зондирующей системы относительно детали в процессе дискретного зондирования.
6.2 скорость сканирования (scanning speed): Абсолютная величина скорости зондирующей системы относительно детали в процессе сканирования.
6.3 расстояние отвода (back off distance): Расстояние от очередной программной точки до промежуточной точки, если эта промежуточная точка служит для отвода наконечника щупа и следует непосредственно после программной точки.
7.1 скорректированная сканированная точка (corrected scan point): Скорректированная измеренная точка, полученная при сканировании.
7.2 целевая линия сканирования (target scan line): Линия, на которой расположены целевые точки контакта.
7.3 скорректированная сканированная линия (corrected scan line): Линия, характеризуемая скорректированными измеренными точками, полученными при сканировании.
7.4 целевая плоскость сканирования (target scan plane): Плоскость, на которой расположены целевые точки контакта.
7.5 сканирование по заданной траектории (pre-defined path scanning): Метод сканирования, при котором перемещение зондирующей системы между двумя заданными конечными точками выполняется вдоль целевой линии сканирования.
Примечание - Конечные точки могут быть целевыми контактными точками или скорректированными измеренными точками.
7.6 следящее сканирование (not pre-defined path scanning): Метод сканирования, при котором перемещением зондирующей системы между двумя заданными конечными границами управляет обратная связь от зондирующей системы.
7.7 цикл сканирования (scan sequence): Последовательность автоматически выполняемых КИМ действий, содержащая перемещение со сканированием из одной промежуточной точки в другую.
7.8 высокая плотность точек (КИМ) [high point density (of a CMM)]: Размещение скорректированных сканированных точек, при котором расстояние между двумя соседними точками не превышает 0,1 мм.
7.9 низкая плотность точек (КИМ) [low point density (of a CMM)]: Размещение скорректированных сканированных точек, при котором расстояние между двумя соседними точками составляет не менее 1 мм.
8.1 мера (material standard): Средство измерений, воспроизводящее предписываемое значение размерной величины, характеризующей геометрический элемент.
8.2 размерная мера (material standard of size): Мера, воспроизводящая размерный элемент.
Примечание - Определение размерного элемента см. в ИСО 14660-1.
8.3 образцовая сфера (reference sphere): Сферическая размерная мера, устанавливаемая внутри зоны измерений КИМ с целью калибровки зондирующей системы.
8.4 поверочная сфера (test sphere): Сферическая размерная мера, применяемая для приемочных испытаний и перепроверочных испытаний.
9.1 погрешность показаний КИМ при измерении размера E (error of indication of a CMM for size measurement): Погрешность показаний при определении размера размерной меры посредством КИМ путем выполнения измерения расстояния между двумя зондируемыми точками на двух номинально параллельных противолежащих плоскостях по нормали к одной из плоскостей так, чтобы подход к этим точкам осуществлялся в противоположных направлениях.
Примечание - Измерение размерной меры выполняют между двумя точками на двух противолежащих поверхностях по нормали к одной из плоскостей так, чтобы подход к этим точкам осуществлялся в противоположных направлениях, см. рисунок 11 а) и b).
|
|
|
|
a) |
b) |
Рисунок 11 - Направления измерения
9.2 максимальная допустимая погрешность показаний КИМ при измерении размера МРЕЕ (maximum permissible error of indication of a CMM for size measurement): Наибольшее значение погрешности показаний КИМ при измерении размера, разрешенное спецификациями, инструкциями и т.п. на КИМ.
Примечание 1 - Максимальную допустимую погрешность показаний КИМ при измерении размера устанавливают в одной из трех следующих форм:
a) МРЕE = ±минимальное значение из: (А + L/K) и В (см. рисунок 12),
b) МРЕЕ = ± (А + L/K) (см. рисунок 13),
c) МРЕE = ± В (см. рисунок 14),
где А - положительная константа в микрометрах, устанавливаемая производителем;
K - безразмерная положительная константа, устанавливаемая производителем;
L - измеряемый размер в миллиметрах;
В - значение МРЕЕ в микрометрах, устанавливаемое производителем.
Примечание 2 - Указанные формы применимы для любых местоположения и/или ориентации размерной меры внутри зоны измерений КИМ.
|
|
|
|
Рисунок 12 - Максимальная допустимая погрешность показаний КИМ при измерении размера [см. подпункт а) примечания 1 к пункту 9.2] |
Рисунок 13 - Максимальная допустимая погрешность показаний КИМ при измерении размера [см. подпункт b) примечания 1 к пункту 9.2] |

Рисунок 14 - Максимальная допустимая погрешность показаний КИМ при измерении размера [см. подпункт с) примечания 1 к пункту 9.2]
9.3 погрешность зондирования Р (probing error): Погрешность показаний при определении диапазона радиуса размерной меры посредством КИМ путем выполнения измерений в режиме дискретного зондирования сферической поверочной сферы одним щупом (см. рисунок 15).
Примечание - Р - существенно положительная величина.

Примечание - Р ≤ МРЕР.
Рисунок 15 - Погрешность зондирования
9.4 максимальная допустимая погрешность зондирования МРЕР (maximum permissible probing error): Наибольшее значение погрешности зондирования, разрешенное спецификациями, инструкциями и т.п. на КИМ (см. рисунок 15).
Примечание 1 - Максимальную допустимую погрешность зондирования КИМ устанавливают в виде
МРЕР = А,
где А - положительная константа в микрометрах.
Примечание 2 - Значение МРЕР применимо для любого местоположения сферической размерной меры внутри зоны измерений КИМ и для любого направления зондирования.
9.5 радиальная четырехосевая погрешность FR (radial four-axis error): Радиальный диапазон погрешности показаний при измерении в системе координат детали положения центра поверочной сферы посредством КИМ с использованием оси поворотного стола в качестве четвертой координатной оси.
9.6 тангенциальная четырехосевая погрешность FT (tangential four-axis error): Тангенциальный диапазон погрешности показаний при измерении в системе координат детали положения центра поверочной сферы посредством КИМ с использованием оси поворотного стола в качестве четвертой координатной оси.
9.7 аксиальная четырехосевая погрешность FA (axial four-axis error): Аксиальный диапазон погрешности показаний при измерении в системе координат детали положения центра поверочной сферы посредством КИМ с использованием оси поворотного стола в качестве четвертой координатной оси.
9.8 максимальная допустимая радиальная четырехосевая погрешность MPEFR (maximum permissible radial four-axis error): Наибольшее значение радиальной четырехосевой погрешности, разрешенное спецификациями, инструкциями и т.п. на КИМ при использовании оси поворотного стола в качестве четвертой координатной оси.
9.9 максимальная допустимая тангенциальная четырехосевая погрешность MPEFT (maximum permissible tangential four-axis error): Наибольшее значение тангенциальный четырехосевой погрешности, разрешенное спецификациями, инструкциями и т.п. на КИМ при использовании оси поворотного стола в качестве четвертой координатной оси.
9.10 максимальная допустимая аксиальная четырехосевая погрешность MPEFA (maximum permissible axial four-axis error): Наибольшее значение аксиальной четырехосевой погрешности, разрешенное спецификациями, инструкциями и т.п. на КИМ при использовании оси поворотного стола в качестве четвертой координатной оси.
9.11 погрешность зондирования при сканировании Tij (scanning probing error): Погрешность показаний при определении диапазона радиуса поверочной сферы посредством КИМ путем выполнения измерений в режиме сканирования с применением одного щупа.
Примечание - Всего имеется четыре погрешности зондирования при сканировании, соответствующие различным комбинациям плотности точек и метода сканирования. Их обозначения приведены в следующей таблице:
|
Плотность точек |
Сканирование по заданной траектории (j = P) |
Следящее сканирование (j = N) |
|
Высокая (i = Н) |
THP |
THN |
|
Низкая (i = L) |
TLP |
TLN |
9.12 максимальная допустимая погрешность зондирования при сканировании МРЕTij (maximum permissible scanning probing error): Наибольшее значение погрешности зондирования при сканировании, разрешенное спецификациями, инструкциями и т.п. на КИМ.
Примечание 1 - Значение МРЕTji - существенно положительная величина, применимая для любого местоположения поверочной сферы внутри зоны измерений КИМ и при любом направлении зондирования.
Примечание 2 - Возможно указание различных значений МРЕTji для разных комбинаций плотности точек и метода сканирования.
9.13 время выполнения испытательного сканирования τij (time for scanning test): Интервал времени от начала первого цикла сканирования до завершения последнего цикла сканирования при испытании с заданными i и j (см. 9.11).
9.14 максимальное допустимое время выполнения испытательного сканирования MPTτij (maximum permissible time for scanning test): Наибольшее значение времени выполнения испытательного сканирования, разрешенное спецификациями, инструкциями и т.п. на КИМ.
9.15 погрешность формы фиксированной многощуповой зондирующей системы MF (fixed multiple-stylus probing system form error): Погрешность показаний при определении диапазона радиуса сферической размерной меры путем аппроксимации методом наименьших квадратов точек, измеренных на поверочной сфере посредством КИМ с применением фиксированной многощуповой системы в режиме дискретного зондирования.
9.16 погрешность размера фиксированной многощуповой зондирующей системы MS (fixed multiple-stylus probing system size error): Погрешность показаний при определении диаметра сферической размерной меры путем аппроксимации методом наименьших квадратов точек, измеренных на поверочной сфере посредством КИМ с применением фиксированной многощуповой системы в режиме дискретного зондирования.
9.17 погрешность местоположения фиксированной многощуповой зондирующей системы ML (fixed multiple-stylus probing system location error): Погрешность показаний при определении диапазона координат центра сферической размерной меры путем аппроксимации методом наименьших квадратов точек, измеренных на поверочной сфере посредством КИМ с применением фиксированной многощуповой системы в режиме дискретного зондирования.
9.18 максимальная допустимая погрешность формы фиксированной многощуповой зондирующей системы MPEMF (maximum permissible fixed multiple-stylus probing system form error): Наибольшее значение погрешности формы фиксированной многощуповой зондирующей системы, разрешенное спецификациями, инструкциями и т.п. на КИМ.
Примечание - MPEMF может устанавливаться в зависимости от длины щупа и конфигурации системы щупов.
9.19 максимальная допустимая погрешность размера фиксированной многощуповой зондирующей системы МРЕMS (maximum permissible fixed multiple-stylus probing system size error): Наибольшее значение погрешности размера фиксированной многощуповой зондирующей системы, разрешенное спецификациями, инструкциями и т.п. на КИМ.
Примечание - MPEMS может устанавливаться в зависимости от длины щупа и конфигурации системы щупов.
9.20 максимальная допустимая погрешность местоположения фиксированной многощуповой зондирующей системы MPEML (maximum permissible fixed multiple-stylus probing system location error): Наибольшее значение погрешности местоположения фиксированной многощуповой зондирующей системы, разрешенное спецификациями, инструкциями и т.п. на КИМ.
Примечание - MPEML может устанавливаться в зависимости от длины щупа и конфигурации системы щупов.
9.21 погрешность формы шарнирной зондирующей системы AF (articulated probing system form error): Погрешность показаний при определении диапазона радиуса сферической размерной меры путем аппроксимации методом наименьших квадратов точек, измеренных на поверочной сфере посредством КИМ с применением шарнирной зондирующей системы в режиме дискретного зондирования.
9.22 погрешность размера шарнирной зондирующей системы AS (articulated probing system size error): Погрешность показаний при определении диаметра сферической размерной меры путем аппроксимации методом наименьших квадратов точек, измеренных на поверочной сфере посредством КИМ с применением шарнирной зондирующей системы в режиме дискретного зондирования.
9.23 погрешность местоположения шарнирной зондирующей системы AL (articulated probing system location error): Погрешность показаний при определении диапазона координат центра сферической размерной меры путем аппроксимации методом наименьших квадратов точек, измеренных на поверочной сфере посредством КИМ с применением шарнирной зондирующей системы в режиме дискретного зондирования.
9.24 максимальная допустимая погрешность формы шарнирной зондирующей системы МРЕAF (maximum permissible articulated probing system form error): Наибольшее значение погрешности формы шарнирной зондирующей системы, разрешенное спецификациями, инструкциями и т.п. на КИМ.
Примечание - MPEAF может устанавливаться в зависимости от длины удлинителя датчика и конфигурации системы щупов.
9.25 максимальная допустимая погрешность размера шарнирной зондирующей системы МРЕAS (maximum permissible articulated probing system size error): Наибольшее значение погрешности размера шарнирной зондирующей системы, разрешенное спецификациями, инструкциями и т.п. на КИМ.
Примечание - МРЕAS может устанавливаться в зависимости от длины удлинителя датчика и конфигурации системы щупов.
9.26 максимальная допустимая погрешность местоположения шарнирной зондирующей системы MPEAL (maximum permissible articulated probing system location error): Наибольшее значение погрешности местоположения шарнирной зондирующей системы, разрешенное спецификациями, инструкциями и т.п. на КИМ.
Примечание - МРЕAL может устанавливаться в зависимости от длины удлинителя датчика и конфигурации системы щупов.
10.1 Гауссов присоединенный элемент (Gaussian associated feature), присоединенный элемент по наименьшим квадратам (least-squares associated feature): Присоединенный элемент, для которого сумма квадратов невязок минимальна.
11.1 параметризация элемента (parametrization of a feature): Выбор алгебраических переменных (параметров) для описания геометрического элемента.
Примечание 1 - Параметризация зависит от типа элемента.
Примечание 2 - Для некоторых элементов параметризация не является единственной. Например, прямая в пространстве, ось цилиндра или конуса могут быть заданы точкой на прямой (оси) и направляющими косинусами или двумя точками на этой прямой (оси).
Примечание 3 - Для некоторых элементов параметризация может определяться свойствами этого элемента, например, зависеть от того, является ли угол при вершине конуса большим или малым.
11.2 эталонный набор данных (reference data set): Набор данных, подготовленный с целью проверки программного обеспечения, служащего для определения Гауссова присоединенного элемента.
11.3 эталонное значение параметра (reference parameter value): Числовое значение параметра при эталонной параметризации, полученное выполняющей испытания организацией на основе конкретного эталонного набора данных и предназначенное для применения в качестве базы при сравнении.
11.4 эталонная параметризация (reference parametrization): Параметризация элемента, применяемая выполняющей испытания организацией.
Примечание - Параметры в рамках эталонной параметризации могут иметь размерность местоположения (миллиметры), ориентации (безразмерные направляющие косинусы), линейного размера (миллиметры) или угла (радианы).
11.5 эталонная невязка (reference residual): Невязка, соответствующая эталонному набору данных.
11.6 эталонное программное обеспечение (reference software): Программное обеспечение, предназначенное для вычисления по набору данных эталонных значений параметров и эталонных невязок для Гауссова присоединенного элемента.
11.7 невязка (residual): Длина нормали из точки в наборе данных к присоединенному элементу.
Примечание - Для некоторых присоединенных элементов (например, для цилиндра) невязка представляется числом со знаком, т.е., является положительной или отрицательной в зависимости от того, с какой стороны элемента располагается соответствующая точка данных. Для других присоединенных элементов (например, линия в пространстве) невязка не имеет знака.
11.8 алгоритм преобразования (conversion rule): Алгоритм, в соответствии с которым числовые значения параметров в контрольной параметризации преобразуют в числовые значения параметров в эталонной параметризации.
Примечание - Этот алгоритм может быть реализован в программном обеспечении.
11.9 преобразованное контрольное значение параметра (converted test parameter value): Числовое значение параметра, полученное в результате применения алгоритма преобразования к контрольному значению параметра.
Примечание - Преобразование не требуется, если тестируемое программное обеспечение применяет эталонную параметризацию. В этом случае контрольные значения параметров совпадают с преобразованными контрольными значениями параметров.
11.10 контрольное значение параметра (test parameter value): Числовое значение параметра в контрольной параметризации, вычисленное программным обеспечением при его тестировании.
11.11 контрольная параметризация (test parametrization): Параметризация элемента, применяемая для тестирования программного обеспечения.
11.12 контрольная невязка (test residual): Невязка, вычисленная программным обеспечением при его тестировании.
11.13 экстент (набора данных) [extent (of a data set)]: Часть присоединенного геометрического элемента, представленная точками.
Примечание - Экстент устанавливают, руководствуясь следующими положениями:
a) экстент линии на плоскости или в пространстве - сегмент этой линии;
b) экстент плоскости - прямоугольная область, принадлежащая этой плоскости;
c) экстент окружности на плоскости или в пространстве - дуга этой окружности;
d) экстент сферы - часть этой сферы, определяемая интервалами угловых координат (Θ,φ), в сферической системе координат (ρ, Θ, φ), начало которой расположено в центре сферы;
e) экстент цилиндра - часть этого цилиндра, определяемая интервалами угловой и линейной координат (Θ, z) в цилиндрической системе координат (r, Θ, z), ось z которой совпадает с осью цилиндра;
f) экстент конуса - часть этого конуса (не содержащая вершину), определяемая интервалами угловой и линейной координат (Θ, z) в цилиндрической системе координат (r, Θ, z), ось z которой совпадает с осью конуса;
g) экстент тора - часть этого тора, определяемая интервалами угловых координат (Θ,φ). Θ - угловая координата в цилиндрической системе координат (r, Θ, z), ось z которой совпадает с осью тора. Заданная на торе точка р определяет окружность, являющуюся пересечением тора с содержащей р полуплоскостью, границей которой является ось тора. φ - угол между проходящей через центры этой окружности и тора прямой и вектором из центра окружности в точку р.
11.14 эталонная пара (reference pair): Совокупность эталонного набора данных и соответствующих ему эталонных значений параметров.
|
Алгоритм преобразования ... |
11.8 |
|
Вектор коррекции наконечника ... |
2.16 |
|
Время выполнения испытательного сканирования ... |
9.13 |
|
Время выполнения испытательного сканирования максимальное допустимое ... |
9.14 |
|
Гауссов присоединенный элемент ... |
10.1 |
|
Гауссово радиальное расстояние ... |
2.20 |
|
Гистерезис ... |
2.22 |
|
Датчик ... |
3.1 |
|
Диапазон ... |
2.21 |
|
Длина щупа ... |
4.5 |
|
Значение параметра контрольное ... |
11.10 |
|
Значение параметра эталонное ... |
11.3 |
|
Зона измерений ... |
2.3 |
|
Зондирование ... |
2.7 |
|
Зондирование дискретное ... |
2.8 |
|
Измерение координатное ... |
2.2 |
|
Испытания перепроверочные ... |
2.18 |
|
Испытания приемочные ... |
2.17 |
|
Калибровка зондирующей системы ... |
3.7 |
|
Компоненты системы щупов ... |
4.3 |
|
Контрольное значение параметра преобразованное ... |
11.9 |
|
Линия сканирования целевая ... |
7.2 |
|
Линия сканированная скорректированная ... |
7.3 |
|
Машина координатно-измерительная, КИМ ... |
2.1 |
|
Мера ... |
8.1 |
|
Мера размерная ... |
8.2 |
|
Набор данных эталонный ... |
11.2 |
|
Наконечник щупа ... |
4.2 |
|
Наладка поворотного стола ... |
5.2 |
|
Невязка ... |
11.7 |
|
Невязка контрольная ... |
11.12 |
|
Невязка эталонная ... |
11.5 |
|
Параметризация контрольная ... |
11.11 |
|
Параметризация элемента ... |
11.1 |
|
Параметризация эталонная ... |
11.4 |
|
Пара эталонная ... |
11.14 |
|
Пиноль ... |
2.23 |
|
Плоскость сканирования целевая ... |
7.4 |
|
Плоскость точек высокая ... |
7.8 |
|
Плоскость точек низкая ... |
7.9 |
|
Погрешность аксиальная четырехосевая ... |
9.7 |
|
Погрешность аксиальная четырехосевая максимальная допустимая ... |
9.10 |
|
Погрешность зондирования ... |
9.3 |
|
Погрешность зондирования максимальная допустимая ... |
9.4 |
|
Погрешность зондирования при сканировании ... |
9.11 |
|
Погрешность зондирования при сканировании максимальная допустимая ... |
9.12 |
|
Погрешность местоположения фиксированной многощуповой зондирующей системы ... |
9.17 |
|
Погрешность местоположения фиксированной многощуповой зондирующей системы максимальная допустимая ... |
9.20 |
|
Погрешность местоположения шарнирной зондирующей системы ... |
9.23 |
|
Погрешность местоположения шарнирной зондирующей системы максимальная допустимая ... |
9.26 |
|
Погрешность показаний КИМ при измерении размера ... |
9.1 |
|
Погрешность показаний КИМ при измерении размера максимальная допустимая ... |
9.2 |
|
Погрешность радиальная четырехосевая ... |
9.5 |
|
Погрешность радиальная четырехосевая максимальная допустимая ... |
9.8 |
|
Погрешность размера фиксированной многощуповой зондирующей системы ... |
9.16 |
|
Погрешность размера фиксированной многощуповой зондирующей системы максимальная допустимая ... |
9.19 |
|
Погрешность размера шарнирной зондирующей системы ... |
9.22 |
|
Погрешность размера шарнирной зондирующей системы максимальная допустимая ... |
9.25 |
|
Погрешность тангенциальная четырехосевая ... |
9.6 |
|
Погрешность тангенциальная четырехосевая максимальная допустимая ... |
9.9 |
|
Погрешность формы фиксированной многощуповой зондирующей системы ... |
9.15 |
|
Погрешность формы фиксированной многощуповой зондирующей системы максимальная допустимая ... |
9.18 |
|
Погрешность формы шарнирной зондирующей системы ... |
9.21 |
|
Погрешность формы шарнирной зондирующей системы максимальная допустимая ... |
9.24 |
|
Проверка промежуточная ... |
2.19 |
|
Программное обеспечение эталонное ... |
11.6 |
|
Расстояние отвода ... |
6.3 |
|
Система зондирующая ... |
2.6 |
|
Система зондирующая бесконтактная ... |
3.3 |
|
Система зондирующая контактная ... |
3.2 |
|
Система зондирующая оптическая ... |
3.4 |
|
Система зондирующая шарнирная ... |
3.6 |
|
Система координат детали ... |
2.4 |
|
Система координат машины ... |
2.5 |
|
Система многодатчиковая ... |
3.5 |
|
Система многощуповая ... |
3.8 |
|
Система щупов ... |
4.4 |
|
Сканирование ... |
2.9 |
|
Сканирование по заданной траектории ... |
7.5 |
|
Сканирование следящее ... |
7.6 |
|
Скорость дискретного зондирования ... |
6.1 |
|
Скорость сканирования ... |
6.2 |
|
Смещение наконечника щупа ... |
4.6 |
|
Стол поворотный ... |
5.1 |
|
Сфера образцовая ... |
8.3 |
|
Сфера поверочная ... |
8.4 |
|
Точка измеренная индицируемая ... |
2.12 |
|
Точка измеренная скорректированная ... |
2.13 |
|
Точка контакта действительная ... |
2.15 |
|
Точка контакта целевая ... |
2.14 |
|
Точка программная ... |
2.10 |
|
Точка промежуточная ... |
2.11 |
|
Точка сканированная скорректированная ... |
7.1 |
|
Цикл сканирования ... |
7.7 |
|
Щуп ... |
4.1 |
|
Экстент ... |
11.13 |
Приложение А
(справочное)
А.1 Консольная КИМ с неподвижным столом
А.1.1 КИМ (см. рисунок А.1) состоит из трех элементов, перемещающихся по направляющим перпендикулярно друг другу, с закрепленной на первом элементе зондирующей системой. Второй элемент несет на себе первый элемент, который перемещается относительно него в вертикальном направлении.
А.1.2 Узел, состоящий из первого и второго элементов, перемещается относительно третьего элемента в горизонтальном направлении.
А.1.3 Третий элемент поддерживается только с одной стороны, имеет форму консоли и перемещается в горизонтальном направлении относительно базовой плоскости машины, предназначенной для установки детали.

Примечание - Показанные обозначения и положительные направления координатных осей приведены в качестве примера. Возможны другие концепции.
Рисунок А.1 - Консольная КИМ с неподвижным столом
А.2 КИМ с подвижным мостом
А.2.1 КИМ (см. рисунок А.2) состоит из трех элементов, перемещающихся по направляющим перпендикулярно друг другу, с закрепленной на первом элементе зондирующей системой. Второй элемент несет на себе первый элемент, который перемещается относительно него в вертикальном направлении.
А.2.2 Узел, состоящий из первого и второго элементов, перемещается относительно третьего элемента в горизонтальном направлении.
А.2.3 Третий элемент поддерживается двумя опорами, расположенными с противоположных сторон базовой плоскости машины, предназначенной для установки детали, и перемещается относительно нее в горизонтальном направлении.

Примечание - Показанные обозначения и положительные направления координатных осей приведены в качестве примера. Возможны другие концепции.
Рисунок А.2 - КИМ с подвижным мостом
А.3 Портальная КИМ
А.3.1 КИМ (см. рисунок А.3) состоит из трех элементов, перемещающихся по направляющим перпендикулярно друг другу, с закрепленной на первом элементе зондирующей системой. Второй элемент несет на себе первый элемент, который перемещается относительно него в вертикальном направлении.
А.3.2 Узел, состоящий из первого и второго элементов, перемещается относительно третьего элемента в горизонтальном направлении.
А.3.3 Третий элемент перемещается в горизонтальном направлении по двум направляющим, расположенным на некоторой высоте с противоположных сторон базовой плоскости машины, предназначенной для установки детали.

Примечание - Показанные обозначения и положительные направления координатных осей приведены в качестве примера. Возможны другие концепции.
Рисунок А.3 - Портальная КИМ
А.4 КИМ с L-образным мостом
А.4.1 КИМ (см. рисунок А.4) состоит из трех элементов, перемещающихся по направляющим перпендикулярно друг другу, с закрепленной на первом элементе зондирующей системой. Второй элемент несет на себе первый элемент, который перемещается относительно него в вертикальном направлении.
А.4.2 Узел, состоящий из первого и второго элементов, перемещается относительно третьего элемента в горизонтальном направлении.
А.4.3 Третий элемент перемещается в горизонтальном направлении по двум направляющим, одна из которых расположена на уровне (или ниже), а другая - над базовой поверхностью машины, предназначенной для установки детали.

Примечание - Показанные обозначения и положительные направления координатных осей приведены в качестве примера. Возможны другие концепции.
Рисунок А.4 - КИМ с L-образным мостом
А.5 КИМ с неподвижным мостом
А.5.1 КИМ (см. рисунок А.5) состоит из трех элементов, перемещающихся по направляющим перпендикулярно друг другу, с закрепленной на первом элементе зондирующей системой. Второй элемент несет на себе первый элемент, который перемещается относительно него в вертикальном направлении.
А.5.2 Узел, состоящий из первого и второго элементов, перемещается в горизонтальном направлении по верхней части неподвижно закрепленной по концам мостовой конструкции. Базовая поверхность машины, предназначенная для установки детали, расположена на перемещающемся горизонтально третьем элементе.

Примечание - Показанные обозначения и положительные направления координатных осей приведены в качестве примера. Возможны другие концепции.
Рисунок А.5 - КИМ с неподвижным мостом
А.6 Консольная КИМ с подвижным столом
А.6.1 КИМ (см. рисунок А.6) состоит из трех элементов, перемещающихся по направляющим перпендикулярно друг другу, с закрепленной на первом элементе зондирующей системой. Второй элемент несет на себе первый элемент, который перемещается относительно него в вертикальном направлении.
А.6.2 Второй элемент поддерживается только с одной стороны, имеет форму консоли и перемещается в горизонтальном направлении относительно базовой плоскости машины.
А.6.3 Базовая поверхность машины, предназначенная для установки детали, расположена на перемещающемся горизонтально третьем элементе.

Примечание - Показанные обозначения и положительные направления координатных осей приведены в качестве примера. Возможны другие концепции.
Рисунок А.6 - Консольная КИМ с подвижным столом
А.7 КИМ стоечного типа
А.7.1 КИМ (см. рисунок А.7) состоит из двух подвижных элементов с зондирующей системой, закрепленной на первом элементе, который перемещается в вертикальном направлении относительно базовой плоскости машины.
А.7.2 Второй элемент вместе с установленной на нем деталью перемещается в горизонтальной плоскости, параллельной базовой плоскости машины.

Примечание - Показанные обозначения и положительные направления координатных осей приведены в качестве примера. Возможны другие концепции.
Рисунок А.7 - КИМ стоечного типа
А.8 КИМ с горизонтальной пинолью
А.8.1 КИМ (см. рисунок А.8) состоит из трех элементов, перемещающихся по направляющим перпендикулярно друг другу, с закрепленной на первом элементе зондирующей системой. Второй элемент несет на себе первый элемент, который перемещается относительно него в горизонтальном направлении.
А.8.2 Узел, состоящий из первого и второго элементов, перемещается относительно третьего элемента в горизонтальном направлении.
А.8.3 Третий элемент перемещается в горизонтальном направлении относительно базовой плоскости машины, предназначенной для установки детали.

Примечание - Показанные обозначения и положительные направления координатных осей приведены в качестве примера. Возможны другие концепции.
Рисунок А.8 - КИМ с горизонтальной пинолью
А.9 КИМ с горизонтальной рукой и неподвижным столом
А.9.1 КИМ [см. рисунок А.9 а)] состоит из трех элементов, перемещающихся по направляющим перпендикулярно друг другу, с закрепленной на первом элементе зондирующей системой. Первый элемент имеет форму горизонтальной консоли, перемещающейся относительно второго элемента в вертикальном направлении.
А.9.2 Второй элемент перемещается относительно третьего элемента в горизонтальном направлении.
А.9.3 Третий элемент перемещается в горизонтальном направлении относительно базовой плоскости машины, предназначенной для установки детали.
А.9.4 Одной из альтернативных конфигураций КИМ [см. рисунок А.9 b)], иллюстрирующей использование поворотного стола, является такая, в которой поворотный стол с вертикально расположенной осью вращения установлен на базовой плоскости машины. В этом случае деталь закрепляют на поворотном столе. Все рассмотренные выше КИМ также могут быть оборудованы поворотными столами.

Рисунок А.9, лист 1 - КИМ с горизонтальной рукой и неподвижным столом

Примечание - Показанные обозначения и положительные направления координатных осей приведены в качестве примера. Возможны другие концепции.
Рисунок А.9, лист 2
А.10 КИМ с горизонтальной рукой и подвижным столом
А.10.1 КИМ (см. рисунок А.10) состоит из трех элементов, перемещающихся по направляющим перпендикулярно друг другу, с закрепленной на первом элементе зондирующей системой. Первый элемент имеет форму горизонтальной консоли, перемещающейся относительно второго элемента в вертикальном направлении.
А.10.2 Третий элемент и узел, состоящий из первого и второго элементов, перемещаются в горизонтальном направлении относительно неподвижной базы машины. Деталь устанавливают на третий элемент.

Примечание - Показанные обозначения и положительные направления координатных осей приведены в качестве примера. Возможны другие концепции.
Рисунок А.10 - КИМ с горизонтальной рукой и подвижным столом
Приложение В
(справочное)
Более подробно о матричной модели GPS см. [3].
В.1 Информация о стандарте и его применении
Настоящий стандарт устанавливает словарь в области координатно-измерительных машин, а также их приемочных и перепроверочных испытаний.
В.2 Положение в матричной модели GPS
Настоящий стандарт является общим стандартом GPS; его положения следует учитывать в пятом связующем звене цепочки стандартов на размеры, расстояния, радиусы, углы, форму, ориентацию, местоположение, биение и базы в общей матрице GPS, как это показано на рисунке В.1.
В.3 Связанные стандарты
Связанные стандарты являются стандартами цепочек стандартов, выделенных на рисунке В.1.

Рисунок В.1 - Положение в матричной модели GPS
Приложение ДА
(справочное)
В текст настоящего стандарта внесены технические поправки согласно ISO 10360-1:2000/Cor. 1:2002, Geometrical Product Specifications (GPS) - Acceptance and reverification tests for coordinate measuring machines (CMM) - Part 1: Vocabulary. TECHNICAL CORRIGENDUM 1.
Эти поправки относятся к следующим элементам стандарта:
- рисунок 10;
- пункты 6.1, 9.13 и 9.14;
- первый абзац примечания 1 к пункту 9.2;
- тематические наименования рисунков 12, 13 и 14.
Приложение ДБ
(справочное)
Таблица ДБ.1
|
Обозначение ссылочного международного стандарта |
Степень соответствия |
Обозначение и наименование соответствующего межгосударственного стандарта |
|
ИСО 14660-1 |
MOD |
ГОСТ 31254-2004 (ИСО 14660-1:1999, ИСО 14660-2:1999) "Основные нормы взаимозаменяемости. Геометрические элементы. Общие термины и определения" |
|
Примечание - В настоящей таблице использовано следующее условное обозначение степени соответствия стандарта: - MOD - модифицированный стандарт. | ||
Библиография
|
[1] |
ISO 8402:1994 |
Quality management and quality assurance - Vocabulary |
|
[2] |
ISO 14253-1:1998 |
Geometrical Product Specifications (GPS) - Inspection by measurement of workpieces and measuring instruments - Part 1: Decision rules for proving conformance or nonconformance with specification |
|
[3] |
ISO/TR 14638:1995 |
Geometrical product specifications (GPS) - Masterplan |
|
[4] |
ISO 14660-1:1999 |
Geometrical Product Specifications (GPS) - Geometrical features - Part 1: General terms and definitions |
|
[5] |
ISO 14660-2:1999 |
Geometrical Product Specifications (GPS) - Geometrical features - Part 2: Extracted median line of a cylinder and a cone, extracted median surface, local size of an extracted feature |
|
[6] |
International Vocabulary of Basic and General Terms in Metrology (VIM). BIPM, IEC, IFCC, ISO, IUPAC, IUPAP, OIML, 2nd edition, 1993 | |
|
[7] |
Guide to the expression of uncertainty in measurement (GUM). BIPM, IEC, IFCC, ISO, IUPAC, IUPAP, first edition, 1993 | |
|
[8] |
BS 6808-1:1987 |
CMMs - Part 1: Glossary of terms |
|
[9] |
ASME B89.1.12M:1990 |
Methods for performance evaluation of CMMs |
|
[10] |
EA-10/05:1995 1) |
Coordinate measuring machine calibration. Issued in January 1995 by the European cooperation for Accreditation of Laboratories (EA) |
──────────────────────────────
1) Предварительно выпущен как EAL-G17.






