ГОСТ 34607-2019 УСТРОЙСТВА БЕЗОПАСНОСТИ И УПРАВЛЕНИЯ ДЛЯ ГОРЕЛОК И ПРИБОРОВ, РАБОТАЮЩИХ НА ГАЗООБРАЗНОМ ИЛИ ЖИДКОМ ТОПЛИВЕ. УСТРОЙСТВА ДЛЯ ОБНАРУЖЕНИЯ ПРОДУКТОВ СГОРАНИЯ
Safety and control devices for burners and appliances burning gaseous or liquid fuels. Combustion products sensing devices
МКС 27.060.20
Дата введения - 1 мая 2020 г.
Введен впервые
Предисловие
Цели, основные принципы и общие правила проведения работ по межгосударственной стандартизации установлены ГОСТ 1.0 "Межгосударственная система стандартизации. Основные положения" и ГОСТ 1.2 "Межгосударственная система стандартизации. Стандарты межгосударственные, правила и рекомендации по межгосударственной стандартизации. Правила разработки, принятия, обновления и отмены"
Сведения о стандарте
1 Подготовлен Федеральным государственным унитарным предприятием "Российский научно-технический центр информации по стандартизации, метрологии и оценке соответствия" (ФГУП "СТАНДАРТИНФОРМ") на основе собственного перевода на русский язык немецкоязычной версии стандарта, указанного в пункте 5
2 Внесен Федеральным агентством по техническому регулированию и метрологии
3 Принят Межгосударственным советом по стандартизации, метрологии и сертификации (протокол от 30 октября 2019 г. N 123-П)
За принятие проголосовали:
|
Краткое наименование страны по МК (ИСО 3166) 004-97 |
Код страны по МК (ИСО 3166) 004-97 |
Сокращенное наименование национального органа по стандартизации |
|
Армения |
AM |
Минэкономики Республики Армения |
|
Беларусь |
BY |
Госстандарт Республики Беларусь |
|
Киргизия |
KG |
Кыргызстандарт |
|
Россия |
RU |
Росстандарт |
|
Узбекистан |
UZ |
Узстандарт |
4 Приказом Федерального агентства по техническому регулированию и метрологии от 30 октября 2019 г. N 1178-ст межгосударственный стандарт ГОСТ 34607-2019 введен в действие в качестве национального стандарта Российской Федерации с 1 мая 2020 г.
5 Настоящий стандарт является модифицированным по отношению к стандарту DIN EN 16340:2014 "Устройства безопасности и управления для горелок и приборов, работающих на газообразном или жидком топливе. Устройства для обнаружения продуктов сгорания" ("Sicherheits- und Regeleinrichtungen für Brenner und Brennstoffgeräte für gasförmige oder flüssige Brennstoffe - Abgasfühler", MOD) путем изменения отдельных фраз (слов, значений показателей, ссылок), которые выделены в тексте курсивом.
Сведения о соответствии ссылочных межгосударственных стандартов европейским и международным стандартам, использованным в качестве ссылочных в примененном стандарте, приведены в дополнительном приложении ДА
6 Введен впервые
Введение
В настоящий стандарт не включено приложение ZA "Разделы настоящего европейского стандарта, соответствующие основным требованиям и другим положениям директив ЕС" DIN EN 16340:2014.
Настоящий стандарт применяют совместно с ГОСТ EN 13611-2016.
Настоящий стандарт устанавливает требования безопасности к конструкции и эксплуатационным характеристикам устройств для обнаружения продуктов сгорания, предназначенных для использования в системах управления горением.
Настоящий стандарт распространяется на чувствительные устройства для измерения продуктов сгорания в горелках бытовых, коммерческих и промышленных приборов, предназначенных для сжигания:
- газообразного топлива по ГОСТ 5542, ГОСТ 20448; или
- жидкого топлива, имеющего вязкость на входе в горелку от 1,6 до 6 мм2/с (сСт) при 20 °С.
Примечание - Жидкое топливо с вязкостью более 6 мм2/с (сСт) требует предварительного нагрева для правильного распыления.
Настоящий стандарт применяют ко всем типам стационарных устройств, измеряющих компоненты дымовых газов O2, СО, СO2, Н2, СхНy, NOx, SO2 или их комбинацию.
Настоящий стандарт также применяют к чувствительным элементам устройств вытяжных систем.
Настоящий стандарт не распространяется на требования к датчикам для горючего газа, смеси горючих газов и масел.
В настоящем стандарте использованы нормативные ссылки на следующие межгосударственные стандарты:
ГОСТ 5542 Газы горючие природные промышленного и коммунально-бытового назначения. Технические условия
ГОСТ EN 13611-2016 Устройства обеспечения безопасности и устройства управления горелками и приборами, работающими на газообразном и/или жидком топливах. Общие технические требования 1)
──────────────────────────────
1) В Российской Федерации действует ГОСТ Р 55209-2012 (ЕН 13611:2007) "Устройства безопасности, регулирования и управления для газовых горелок и газовых приборов. Общие требования".
──────────────────────────────
ГОСТ 14254 (IEC 60529:2013) Степени защиты, обеспечиваемые оболочками (Код IP)
ГОСТ 20448 Газы углеводородные сжиженные топливные для коммунально-бытового потребления. Технические условия
Примечание - При пользовании настоящим стандартом целесообразно проверить действие ссылочных стандартов и классификаторов на официальном интернет-сайте Межгосударственного совета по стандартизации, метрологии и сертификации (www.easc.by) или по указателям национальных стандартов, издаваемым в государствах, указанных в предисловии, или на официальных сайтах соответствующих национальных органов по стандартизации. Если на документ дана недатированная ссылка, то следует использовать документ, действующий на текущий момент, с учетом всех внесенных в него изменений. Если заменен ссылочный документ, на который дана датированная ссылка, то следует использовать указанную версию этого документа. Если после принятия настоящего стандарта в ссылочный документ, на который дана датированная ссылка, внесено изменение, затрагивающее положение, на которое дана ссылка, то это положение применяется без учета данного изменения. Если ссылочный документ отменен без замены, то положение, в котором дана ссылка на него, применяется в части, не затрагивающей эту ссылку.
В настоящем стандарте применены термины по ГОСТ EN 13611, а также следующие термины с соответствующими определениями:
3.1 устройство для обнаружения продуктов сгорания; УОПС (combustion product sensing device; CPSD): Устройство, состоящее из чувствительного элемента (датчика) обнаружения продуктов сгорания, блока управления и блока преобразования сигнала.
Примечания
1 Блок управления УОПС и/или блок преобразования сигнала могут быть объединены в систему управления горением (см. рисунок 1).
2 Дополнительные компоненты (например, нагреватель, пламегаситель), используемые или необходимые для работы, рассматриваются как части УОПС.

Рисунок 1 - УОПС в сочетании с системой управления горением
3.2 датчик (чувствительный элемент) обнаружения продуктов сгорания; ДОПС (combustion product sensing element; CPSE): Часть УОПС, которая преобразует концентрацию исследуемого продукта сгорания в физическое значение (например, напряжение, ток, сопротивление).
3.3 блок управления ДОПС (CPSE control unit): Блок, обеспечивающий дополнительные функции для работы чувствительного элемента.
Примечание - Примером дополнительной функции является контроль нагревательного элемента.
3.4 блок преобразования сигнала (signal conditioner): Электронная схема, которая преобразует физическое значение от датчика в выходной сигнал.
Примечание - Блок преобразования сигнала может состоять из функциональной электроники, а также электроники, которая позволяет классифицировать УОПС классом В или С по ГОСТ EN 13611-2016, подраздел 4.3.
3.5 диапазон измерения (measuring range): Объявленный диапазон между двумя значениями, которые могут быть измерены УОПС с точностью, указанной в инструкциях по монтажу и эксплуатации.
3.6 смещение (offset): Положительное или отрицательное отклонение значения от нулевой точки.
3.7 точность (accuracy): Способность УОПС обеспечивать указанное значение, близкое к истинному.
3.8 линейность (linearity): Наибольшее значение отклонения между выходной характеристикой УОПС от идеальной кривой.
3.9 отклонение (drift): Разница между указанным значением или измеренным значением УОПС до и после испытания на выносливость.
3.10 диапазон температур (дымовой газ) [temperature range (flue gas)]: Диапазон температур измеряемой среды.
3.11 гистерезис (hysteresis): Максимальное значение разницы между восходящей и нисходящей характеристикой выходного сигнала УОПС (см. рисунок 2).

1 - гистерезис
Рисунок 2 - Разъяснение определений для УОПС
3.12 стабильность (повторяемость) (repeatability): Способность УОПС обеспечивать аналогичные выходные сигналы при измерении той же концентрации продукта сгорания при тех же условиях испытаний.
3.13 давление дымовых газов (flue gas pressure): Перепад давлений между давлением отходящих дымовых газов и давлением окружающей среды.
3.14 скорость дымовых газов (flue gas velocity), м/с: Скорость потока продуктов сгорания в месте измерения УОПС.
3.15 время прогрева (warm up time): Время от включения до указанной операции.
3.16 режим ожидания (stand by mode): Нерабочий режим, при котором УОПС может начать работу после запуска.
3.17 время запуска (start up time): Время от режима ожидания до указанной операции.
3.18 время отклика ТХ (response time ТХ): Временной интервал от начала изменения концентрации газа до тех пор, пока выходной сигнал УОПС не достигнет х % от конечного значения.
3.19 полезный срок службы (useful lifetime): Время, в течение которого УОПС соответствует спецификациям, указанным в эксплуатационных документах.
3.20 горючее вещество (combustibles): Газообразное, жидкое и твердое топливо.
Примечание - Горючим веществом может быть нефть, газ, биотопливо и т.д.
3.21 перекрестная чувствительность (cross sensitivity): Влияние на измеряемую величину любым предсказуемым компонентом дымовых газов.
Примечание - Компонентами дымовых газов могут быть O2, СO2, Н2O, SO2, NOx, СО, Н2, СхНy и т.д.
3.22 максимальная концентрация (maximum concentration): Наибольшая концентрация, при которой может работать УОПС.
3.23 выдерживаемая концентрация (withstand concentration): Концентрация, которую выдерживают без ухудшения характеристик после снижения ниже максимальной концентрации.
3.24 интоксикация (poisoning): Повреждение ДОПС продуктами сгорания, сокращающее полезный срок службы УОПС.
3.25 нерабочее состояние (inoperative state): Значение выходного сигнала, указывающее на нерабочее состояние УОПС.
Подраздел 4.1 ГОСТ EN 13611-2016 не применяют.
Подраздел 4.2 ГОСТ EN 13611-2016 не применяют.
Согласно ГОСТ EN 13611-2016, подраздел 4.3.
Согласно разделу 5 ГОСТ EN 13611-2016 со следующим дополнением:
Погрешность измерений испытательного оборудования, используемого для испытаний в разделах 6 и 7, не должна превышать значений, указанных в подразделе 5.2 ГОСТ EN 13611-2016 и таблице 1.
|
Тип измерения |
Погрешность |
|
Температура свыше 50 °С |
± 2 % абсолютного значения измерения, °С |
|
Концентрация испытательного газа |
1/3 от точности, указанной для испытания УОПС |
|
Скорость потока/расход |
± 10 % |
|
Перепад давления |
± 10 % |
Согласно ГОСТ EN 13611-2016, подраздел 6.1 со следующим дополнением:
Все части УОПС, контактирующие с дымовыми газами, должны выдерживать химические воздействия, которым они подвержены в нормальных условиях.
6.2.1 Внешний вид
Согласно ГОСТ EN 13611-2016, пункт 6.2.1.
6.2.2 Отверстия
Пункт 6.2.2 ГОСТ EN 13611-2016 не применяют.
6.2.3 Отверстие сапуна
Пункт 6.2.3 ГОСТ EN 13611-2016 не применяют.
6.2.4 Испытания на герметичность отверстий сапуна
Подпункт 6.2.3.2 ГОСТ EN 13611-2016 не применяют.
6.2.5 Резьбовые соединения
Пункт 6.2.4 ГОСТ EN 13611-2016 не применяют.
6.2.6 Соединения
Пункт 6.2.5 ГОСТ EN 13611-2016 не применяют.
6.2.7 Подвижные части
Пункт 6.2.6 ГОСТ EN 13611-2016 не применяют.
6.2.8 Уплотнительные заглушки
Согласно ГОСТ EN 13611-2016, пункт 6.2.7.
6.2.9 Демонтаж и повторная сборка
Согласно ГОСТ EN 13611-2016, пункт 6.2.8, исключая второй и третий абзацы со следующим дополнением:
Если закрывающие части, в том числе измерительные и контрольные точки, могут быть демонтированы для обслуживания или регулировки, то в инструкциях по монтажу и эксплуатации должно быть предусмотрено достаточное количество материалов и деталей касательно этих процедур.
6.2.10 Защита газовых отверстий от блокировки
Отверстия для впуска эталонного газа и отвода продуктов сгорания должны быть защищены от засорения или расположены таким образом, чтобы их было сложно заблокировать.
6.3.1 Общие требования к материалам
Согласно ГОСТ EN 13611-2016, пункт 6.3.1.
6.3.2 Корпус
Пункт 6.3.2 ГОСТ EN 13611-2016 не применяют.
6.3.3 Испытание на утечку корпуса после снятия неметаллических деталей
Подпункт 6.3.2.2 ГОСТ EN 13611-2016 не применяют.
6.3.4 Цинковые сплавы
Пункт 6.3.3 ГОСТ EN 13611-2016 не применяют.
6.3.5 Пружины, генерирующие закрывающую и/или уплотняющую силу
Пункт 6.3.4 ГОСТ EN 13611-2016 не применяют.
6.3.6 Устойчивость к коррозии и защита поверхности
Пункт 6.3.5 ГОСТ EN 13611-2016 не применяют.
6.3.7 Пропитка
Пункт 6.3.6 ГОСТ EN 13611-2016 не применяют.
6.3.8 Сальниковые уплотнения подвижных частей
Пункт 6.3.7 ГОСТ EN 13611-2016 не применяют.
6.3.9 Монтажные и крепежные элементы
Монтажные и крепежные элементы УОПС не должны влиять на точность измерений самого УОПС.
6.3.10 Предотвращение воспламенения
6.3.10.1 Требование
Если чувствительный элемент работает за счет нагревательного элемента и если чувствительный элемент или нагревательный элемент помещен в измеряемую среду, то должно быть предотвращено возможное воспламенение горючих материалов:
- использованием пламегасителя;
- блоком управления ДОПС класса В, предотвращающим нагревание нагревательного элемента до температуры выше температуры воспламенения предсказуемо горючих материалов при неисправности блока управления ДОПС;
- использованием нагревательного элемента, который не может превышать минимально возможную температуру воспламенения предсказуемо горючих материалов, например, используя тепловой предохранитель, не воспламеняющий горючие вещества.
В проектной документации необходимо указать как достигают это требование. Если используют блок управления ДОПС класса В, это должно быть приведено в соответствии с требованиями 6.6.3.
Если установлен пламегаситель, он должен быть сконструирован таким образом, чтобы предотвратить механическое воздействие (например, расширение ячеек), которое делает его неэффективным.
В эксплуатационных документах должны быть указаны горючие материалы, для которых подходит пламегаситель УОПС. Испытание УОПС с пламегасителем должно соответствовать 6.3.10.2.
6.3.10.2 Испытание УОПС с пламегасителем
УОПС следует устанавливать в испытательную камеру (см. рисунок 3) со следующими ограничениями:
- объем испытательной камеры должен быть в 200 раз более объема части УОПС, содержащей нагретый источник воспламенения (ДОПС, нагрев и т.д.), включая объем газа пламегасителя, но не менее 1000 см3;
- расстояния между корпусом УОПС и стенками камеры (кроме монтажной) должны быть не менее 50 мм, чтобы избежать влияние стенок;
- поток в испытательной камере должен быть таким, чтобы газообмен в пламегасителе гарантировался без охлаждения ДОПС.
Для снижения потребления испытательного газа внутри испытательной камеры допускается устанавливать взрывозащищенный вентилятор. При этом минимальное расстояние между вентилятором и УОПС должно быть 50 мм;
- испытательная газовая смесь должна состоять из 5 % пропана и 95 % воздуха;
- абсолютное давление воздуха внутри испытательной камеры должно составлять 101 кПа ± 10 %;
- температура газа внутри испытательной камеры должна быть не менее 20 °С.

1 - УОПС; 2 - испытательная камера; 3 - пламегаситель испытательной камеры; 4 - расходомер; 5 - дроссель; 6 - клапан; 7 - разрывная фольга; 8 - свободное пространство вокруг УОПС
Рисунок 3 - Приспособление для проверки зажигания
Установку необходимо выполнять в соответствии с инструкциями по монтажу и руководству по эксплуатации, уделяя особое внимание глубине погружения и углу относительно горизонтали.
Испытательная газовая смесь должна непрерывно проходить через испытательную камеру, УОПС должно работать таким образом, чтобы обеспечить максимальную указанную температуру ДОПС (смесь пропана с воздухом в соотношении 5 %/95 % является условием с наибольшей вероятностью воспламенения, поэтому никаких дополнительных требований не требуется). После стабилизации температуры испытание следует проводить в течение минимального периода 5·T60 или 1 мин, в зависимости от того, что дольше.
Во время испытания не должно происходить воспламенения.
6.3.11 Металлические сплавы для частей, контактирующих с продуктами сгорания
Части, контактирующие с продуктами сгорания, считают достаточно прочными без дополнительных испытаний, если они состоят из материалов, перечисленных в таблице 2 1).
──────────────────────────────
1) См. [1].
──────────────────────────────
|
N материала 1) |
Обозначение |
|
1,4301 |
X5CrNi 18-10 |
|
1,4307 |
X2CrNi 18-9 |
|
1,4401 |
X5CrNiMo 17-12-2 |
|
1,4404 |
X2CrNiMo 17-12-2 |
|
1,4571 |
X6CrNiMoTi 17-12-2 |
|
1,4432 |
X2CrNiMo 17-12-3 |
|
1,4539 |
X1NiCrMoCu 25-20-5 |
──────────────────────────────
1) См. [2].
──────────────────────────────
Примечание - Пригодность материалов из металлов, отличных от перечисленных в таблице 2, должна быть доказана в соответствии с А.2 [1].
6.4.1 Монтаж соединений
Пункт 6.4.1 ГОСТ EN 13611-2016 не применяют.
6.4.2 Размеры соединений
Пункт 6.4.2 ГОСТ EN 13611-2016 не применяют.
6.4.3 Резьбы
Пункт 6.4.3 ГОСТ EN 13611-2016 не применяют.
6.4.4 Муфтовые соединения
Согласно ГОСТ EN 13611-2016, пункт 6.4.4 со следующим дополнением: Это требование применимо тогда, когда газы отводятся из основного потока.
6.4.5 Фланцы
Пункт 6.4.5 ГОСТ EN 13611-2016 не применяют.
6.4.6 Обжимные фитинги
Согласно ГОСТ EN 13611-2016, пункт 6.4.6.
6.4.7 Штуцеры для измерения давления
Пункт 6.4.7 ГОСТ EN 13611-2016 не применяют.
6.4.8 Сетчатые фильтры
Пункт 6.4.8 ГОСТ EN 13611-2016 не применяют.
6.4.9 Соединения УОПС
Тип, материал и размер соединений для продуктов сгорания для эталонного, продувочного и испытательного газа должны быть указаны в эксплуатационных документах, включая тип, материал и размер шланга или металлического патрубка, если применимо.
6.5.1 Общие требования
Согласно ГОСТ EN 13611-2016, пункт 6.5.1 со следующим дополнением:
Для использования технологий зондирования газа необходимо провести анализ безопасности для описания конкретных режимов отказов, требований и испытаний в дополнение к соответствующим требованиям настоящего стандарта. В частности, определяют конкретный режим отказа ДОПС, включая режим отказа в конце срока службы.
Примечания
1 Анализ безопасности может привести к дополнительным требованиям (например, внешнему управлению) и/или дополнительным режимам отказа, которые будут включены в оценку отказов. Вместе с соответствующими требованиями настоящего стандарта это условия, при которых технология может быть использована.
2 Основной риск возгорания и/или взрыва в результате неконтролируемого соотношения газа в воздухе рассматривают как риск класса С.
6.5.2 Защита, обеспечиваемая корпусом
Степень защиты систем с их собственным корпусом должна быть минимум IP40 по ГОСТ 14254, или защита должна обеспечиваться устройством, в котором оно установлено. Для систем, предназначенных для использования на открытом воздухе, защита должна соответствовать, по меньшей мере, IP54 по ГОСТ 14254.
6.5.3 Электрические компоненты
6.5.3.1 Характеристики электрических компонентов
Согласно ГОСТ EN 13611-2016, подпункт 6.5.3.1.
6.5.3.2 Испытания
Согласно ГОСТ EN 13611-2016, подпункт 6.5.3.2.
6.5.3.3 Чувствительный элемент
Согласно ГОСТ EN 13611-2016, подпункт 6.5.3.3 со следующим дополнением:
Примечание - Для ДОПС срок службы изделия - полезный срок службы в зависимости от применения, например датчик О2, используют при применении газа или нефти.
6.6.1 Требования к конструкции и изготовлению
6.6.1.1 Предотвращение неисправности и устойчивость к неисправности
Согласно ГОСТ EN 13611-2016, подпункт 6.6.1.1 со следующим дополнением:
Для УОПС, выполняющего функции класса В или класса С, режимы отказа, определенные в соответствии с 6.5.1, следует учитывать при оценке отказа в соответствии с 6.6.3 и 6.6.4.
Если это применимо, нерабочее состояние и внешние факторы, вызывающие переход УОПС в нерабочее состояние, указывают в эксплуатационных документах.
6.6.1.2 Функция блокировки
Подпункт 6.6.1.2 ГОСТ EN 13611-2016 не применяют.
6.6.1.3 Устройство повторного включения
Подпункт 6.6.1.3 ГОСТ EN 13611-2016 не применяют.
6.6.1.4 Документация
Согласно ГОСТ EN 13611-2016, подпункт 6.6.1.4.
6.6.2 Класс А
Согласно ГОСТ EN 13611-2016, пункт 6.6.2.
6.6.3 Класс В
6.6.3.1 Требования к конструкции и изготовлению
Согласно ГОСТ EN 13611-2016, подпункт 6.6.3.1.
6.6.3.2 Первая неисправность
Текст подпункта 6.6.3.2 ГОСТ EN 13611-2016 заменяют следующим:
Первая неисправность (см. 6.5.1 и приложение Е) в каком-либо одном компоненте или любая другая неисправность вместе с неисправностью, возникшей в результате первой, должна приводить к следующему:
a) УОПС переходит в нерабочее состояние в течение времени реакции на отказ;
b) УОПС продолжает работать, причем неисправность определяют в течение объявленного времени отказоустойчивости, результатом которой является условие, приведенное в перечислении а);
c) УОПС остается работоспособным в соответствии с функциональными требованиями безопасности, указанными в настоящем стандарте.
6.6.3.3 Неисправность, выявленная во время блокировки или защитного отключения
Подпункт 6.6.3.3 ГОСТ EN 13611-2016 не применяют.
6.6.3.4 Неисправность, возникшая в нерабочем состоянии
Если УОПС находится в нерабочем состоянии без внутренней неисправности, применяют следующие требования.
Первая неисправность (вместе с любой другой неисправностью, возникшей в результате этой неисправности) в любом одном компоненте (см. 6.5.1 и приложение Е), происходящая в нерабочем состоянии УОПС, приводит к следующему:
a) УОПС останется в нерабочем состоянии;
b) УОПС снова вступит в действие, что приведет к результату, указанному в перечислении а).
Если причина нерабочего состояния более не сохраняется и УОПС снова работает, то оно должно работать в соответствии с функциональными требованиями безопасности, указанными в настоящем стандарте.
6.6.4 Класс С
6.6.4.1 Требования к конструкции и изготовлению
Согласно ГОСТ EN 13611-2016, подпункт 6.6.4.1.
6.6.4.2 Первая неисправность
Текст подпункта 6.6.4.2 ГОСТ EN 13611-2016 заменяют следующим:
Первая неисправность (см. 6.5.1 и приложение Е) в каком-либо одном компоненте или любая другая неисправность вместе с неисправностью, возникшей в результате первой, приводит к следующему:
a) УОПС переходит в нерабочее состояние в течение времени реакции на отказ;
b) УОПС продолжает работать, причем неисправность определяют в течение объявленного времени отказоустойчивости, результатом которой является условие, приведенное в перечислении а);
c) УОПС остается работоспособным в соответствии с функциональными требованиями безопасности, указанными в настоящем стандарте.
6.6.4.3 Вторая неисправность
Текст подпункта 6.6.4.3 ГОСТ EN 13611-2016 заменяют следующим:
Если оценка первой неисправности приводит к тому, что УОПС остается в рабочем состоянии в соответствии с функциональными требованиями безопасности, указанными в настоящем стандарте [см. 6.6.4.2, перечисление с)], любая дальнейшая независимая неисправность, рассматриваемая вместе с первой неисправностью, должна приводить к 6.6.4.2, перечисления а), b) или с).
Во время оценки вторую неисправность следует рассматривать только через 24 ч после первой неисправности.
6.6.4.4 Неисправности во время блокировки или защитного отключения
Подпункт 6.6.4.4 ГОСТ EN 13611-2016 не применяют.
6.6.4.5 Неисправности в нерабочем состоянии
6.6.4.5.1 Общие положения
Если УОПС находится в нерабочем состоянии без внутренней неисправности, следует выполнять оценку согласно 6.6.4.5.2 и 6.6.4.5.3.
Если УОПС находится в нерабочем состоянии с внутренней неисправностью, следует выполнять дополнительную отдельную оценку отказа в соответствии с пунктом 6.6.4.5.3.
6.6.4.5.2 Первая неисправность, возникающая в нерабочем состоянии
Если УОПС находится в нерабочем состоянии без внутренней неисправности, применяют следующие требования.
Первая неисправность (вместе с любой другой неисправностью, возникшей в результате этой неисправности) в любом одном компоненте (см. 6.5.1 и приложение Е), происходящая в нерабочем состоянии УОПС, приводит к следующему:
a) УОПС останется в нерабочем состоянии;
b) УОПС снова вступит в действие, что приведет к результату, указанному в перечислении а).
Если причина нерабочего состояния более не сохраняется и УОПС снова работает, то оно должно работать в соответствии с функциональными требованиями безопасности, указанными в настоящем стандарте.
6.6.4.5.3 Вторая неисправность, возникающая в нерабочем состоянии
Любая вторая неисправность (вместе с любой другой неисправностью, возникшей в результате этой неисправности) в любом одном компоненте (см. 6.5.1 и приложение Е), происходящая в нерабочем состоянии УОПС, приводит к условиям, указанным в 6.6.4.5.2, перечисления а) или b).
Во время оценки вторая неисправность не считается возникшей в течение 24 ч после первой неисправности.
6.6.5 Оценка цепей и конструкции
6.6.5.1 Условия испытаний
Согласно ГОСТ EN 13611-2016, подпункт 6.6.5.1 со следующим дополнением:
Дополнение перечисления е) для применения к тем частям корпуса, которые защищают людей от доступа к опасным частям.
Оценку УОПС следует:
- проводить под воздействием газа, подлежащего измерению, при концентрации приблизительно 2/3 от максимального объявленного значения диапазона измерений; или
- выполнять эквивалентной имитацией сигнала ДОПС.
6.6.5.2 Критерии испытания
Согласно ГОСТ EN 13611-2016, подпункт 6.6.5.2.
6.6.5.3 Оценка
Согласно ГОСТ EN 13611-2016, подпункт 6.6.5.3.
Согласно ГОСТ EN 13611-2016, подраздел 7.1, исключая первый абзац, со следующим дополнением:
Четвертый абзац применим только для устройств управления с питанием переменным током со следующими дополнениями:
- полный диапазон концентраций газа, как указано в эксплуатационных документах;
- полный диапазон температур, скоростей и давлений дымовых газов (продуктов сгорания), указанных в эксплуатационных документах;
- полный диапазон расходов и давлений калибровочного газа и эталонного газа, если это применимо, как указано в эксплуатационных документах.
Текст подраздела 7.2 ГОСТ EN 13611-2016 заменяют следующим:
Во время испытания на герметичность соединители шлангов для газов (например, контрольный газ, продувочный газ, эталонный газ) должны быть подключены к источнику газа или герметично закреплены, как указано в эксплуатационных документах.
Газовые соединения, затянутые вручную, должны быть установлены, как указано в эксплуатационных документах.
7.2.1 Герметичность, обеспечиваемая корпусом и окружающей средой
УОПС вместе с монтажными элементами должны обеспечивать герметичность камеры сгорания от окружающей среды.
При испытании в соответствии с 7.3.4 скорость утечки (воздуха) не должна превышать 100 см3/ч, когда УОПС подвергают перепаду давления в дымоходе по отношению к атмосферному давлению 0,2 кПа или любому более высокому перепаду давления как указано в эксплуатационных документах.
7.2.2 Герметичность УОПС, включая монтажные элементы, ниппели и соединения
Влияние утечки на точность УОПС при испытании согласно 7.3.5 должно быть указано в эксплуатационных документах.
7.3.1 Общие требования
Текст подпункта 7.2.2.1 ГОСТ EN 13611-2016 заменяют следующим:
Пределы погрешности используемого устройства должны составлять ± 1 см3 и 10 Па.
Погрешность измерения скорости утечки должна составлять ± 5 см3/ч.
7.3.2 Внешняя герметичность
Подпункт 7.2.2.2 ГОСТ EN 13611-2016 не применяют.
7.3.3 Внутренняя герметичность
Подпункт 7.2.2.3 ГОСТ EN 13611-2016 не применяют.
7.3.4 Испытания на герметичность для УОПС
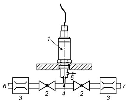
Испытание проводят с воздухом в условиях окружающей среды, а УОПС устанавливают в испытательное оборудование, как указано в эксплуатационных документах (см. рисунок 4), при этом все соединения с УОПС на месте.

1 - дымовой газ; 2 - УОПС; 3 - внутреннее уплотнение; 4 - наружное уплотнение; 5 - монтажный элемент; 6 - внутренняя утечка; 7 - внешняя утечка
Рисунок 4 - Герметичность, обеспечиваемая корпусом и монтажом
Испытание проводят с испытательным давлением 0,2 кПа по отношению к окружающей среде или при более высоком давлении, если это указано в эксплуатационных документах.
Измеряют расход от испытательного оборудования в окружающую среду, используя метод, который дает воспроизводимые результаты. Примеры подобных методов приведены в следующих приложениях:
- для испытательных давлений до 15 кПа - в приложении В (объемный метод);
- для испытательных давлений выше 15 кПа - в приложении С (метод потери давления).
Формула преобразования от метода потери давления к объемному методу приведена в приложении D. Измеренный поток должен соответствовать требованиям 7.2.1.
7.3.5 Влияние утечки на измеряемую величину
7.3.5.1 Общие требования
УОПС должно быть установлено на испытательное оборудование, как показано на рисунке 5 и указано в эксплуатационных документах, со всеми соединениями с УОПС на месте.

1 - УОПС; 2 - эталонная камера; 3 - испытательная камера; 4 - уплотнитель кабельного ввода; 5 - подача воздуха; 6 - подача испытательного газа; 7 - дроссель; 8 - расходомер; 9 - направление испытательного газа; 10 - манометр
Рисунок 5 - Испытательное оборудование для определения влияния утечки на измеряемую величину
7.3.5.2 Дымовая труба
Демонтируют запорную головку эталонной камеры 2.
Давление 10 между испытательной камерой 3 и окружающей средой должно составлять 0,2 кПа или выше, если указано в эксплуатационных документах.
Скорость испытательного газа 9 в испытательной камере должна соответствовать минимальной скорости дымовых газов, указанной в эксплуатационных документах, или 0,1 м/с, если не указано иное. Концентрация испытательного газа должна составлять 1/3 и 2/3 от диапазона измерения, указанного в эксплуатационных документах. Измерение выходного сигнала УОПС должно соответствовать требованию 7.2.2.
7.3.5.3 Окружающая дымоход среда
Перепад давлений 10 между эталонной камерой 2 и испытательной камерой 3 должен быть 20 кПа. Скорость испытательного газа 9 в испытательной камере должна соответствовать минимальной скорости дымовых газов, указанной в эксплуатационных документах, или 0,1 м/с, если не указано иное. Концентрация испытательного газа должна составлять 1/3 и 2/3 от диапазона измерения, указанного в эксплуатационных документах. Измерение выходного сигнала УОПС должно соответствовать требованию 7.2.2.
7.4.1 Общие требования
Согласно ГОСТ EN 13611-2016, пункт 7.3.1, исключая второй абзац.
7.4.2 Требования
Текст ГОСТ EN 13611-2016, подпункт 7.3.2.1 заменяют следующим:
После испытания в соответствии с 7.5 не должно быть постоянной деформации, и любая утечка не должна превышать значений, указанных в 7.2.
Если соединительные элементы (газовые или электрические соединения) могут передавать изгибающий момент к УОПС, испытание на изгиб в соответствии с 7.5.2 выполняют при максимальной изгибающей силе/моменте, указанной(ом) в эксплуатационных документах.
Подпункт 7.3.2.2 ГОСТ EN 13611-2016 заменяют следующими пунктами:
7.5.1 Испытание на кручение
Все соединительные элементы и крепления УОПС, смонтированные с крутящим моментом, должны быть в 1,3 раза более вращающего момента, указанного в эксплуатационных документах. После удаления инструмента, генерирующего крутящий момент, УОПС проверяют в соответствии с требованиями 7.4.2.
7.5.2 Испытание на изгиб
Соединительные элементы (газовые или электрические соединения) должны быть в 1,3 раза более максимального изгибающего усилия/момента, указанного в эксплуатационных документах. При воздействии силы/момента УОПС испытывают в соответствии с 7.2.
Пункт 7.4.1 ГОСТ EN 13611-2016 не применяют.
Пункт 7.4.2 ГОСТ EN 13611-2016 не применяют.
7.8.1 Эластомерные материалы, контактирующие с газом
Текст пункта 7.8.1 ГОСТ EN 13611-2016 заменяют следующим:
Для наружного уплотнения (рисунок 4), эластомеры (например, уплотнительные кольца), контактирующие с продуктами сгорания, должны соответствовать нормативному документу 1). Для внутреннего уплотнения указанный эластомер должен выдерживать механические, химические и термические воздействия, которым он подвергается.
──────────────────────────────
1) См. [3].
──────────────────────────────
7.8.2 Маркировка
Согласно ГОСТ EN 13611-2016, подпункт 7.5.2.1.
7.8.3 Испытания для маркировки
Согласно ГОСТ EN 13611-2016, подпункт 7.5.2.2.
7.8.4 Стойкость к царапанью
Подпункт 7.5.3.1 ГОСТ EN 13611-2016 не применяют.
7.8.5 Испытание на царапины
Подпункт 7.5.3.1 ГОСТ EN 13611-2016 не применяют.
7.8.6 Влагостойкость
Текст подпункта 7.5.4.1 ГОСТ EN 13611-2016 заменяют следующим:
Компоненты, контактирующие с продуктами сгорания, должны соответствовать 6.3.11.
7.8.7 Испытания на влагостойкость
Подпункт 7.5.4.2 ГОСТ EN 13611-2016 не применяют.
Подраздел 7.6 ГОСТ EN 13611-2016 не применяют.
7.10.1 Общие требования
Пункт 7.7.1 ГОСТ EN 13611-2016 не применяют.
7.10.2 Испытания на стойкость к внешним воздействующим факторам
7.10.2.1 Испытания на устойчивость к воздействию температур
Подпункт 7.7.2.1 ГОСТ EN 13611-2016 не применяют.
7.10.2.2 Испытание на устойчивость к воздействию вибрации
Согласно ГОСТ EN 13611-2016, подпункт 7.7.2.2.
7.10.3 Длительные эксплуатационные испытания
Пункт 7.7.3 ГОСТ EN 13611-2016 не применяют.
7.11.1 Общие требования
Связь между выходным сигналом УОПС и концентрацией продукта сгорания, для которого предназначено УОПС, указывают в эксплуатационных документах.
Следующие факторы могут влиять на общую точность УОПС и следует указывать в инструкциях по монтажу и в руководстве по эксплуатации:
- линейность;
- смещение;
- отклонение;
- температура дымовых газов;
- температура окружающей среды;
- гистерезис;
- повторяемость;
- давление;
- напряжение питания;
- перекрестные помехи;
- разрешение в случае обработки цифрового сигнала;
- скорость газа;
- влажность воздуха;
- монтажное положение.
Скорость испытательного газа в следующих испытаниях должна составлять 0,1 м/с, если иное не указано в проектной документации.
В тех случаях, когда используют термин "сбалансированный N2" в отношении к исследуемому газу с минимальной, 1/3 максимальной, 2/3 максимальной и максимальной концентрациях, испытательные газы смешивают с относительным количеством N2 для получения требуемой концентрации.
7.11.2 Разрешение
Для УОПС с цифровой обработкой сигналов в эксплуатационных документах указывают разрешение, с объяснением того, на чем оно основано.
7.11.3 Стабильность
7.11.3.1 Требование
Повторяемость результатов при испытании УОПС, измеренных в соответствии с 7.11.3.2, должна находиться в пределах диапазона повторяемости, как указано в эксплуатационных документах.
7.11.3.2 Испытание
Испытание на повторяемость выполняют на 1/3 максимальной, 2/3 максимальной и максимальной концентрациях заявленного диапазона измерений.
Процедура испытания:
a) УОПС подвергают действию внешних условий на период в 10 раз более заявленного времени отклика;
b) УОПС подвергают действию соответствующего газа с концентрацией, равной 1/3 заявленной максимальной концентрации на период в 10 раз более заявленного времени отклика, и после этого измеряют выходной сигнал и пересчитывают концентрацию, используя заявленную характеристику;
c) повторяют действия, приведенные в перечислениях а) и b), три раза;
d) вычисляют среднеарифметическое значение действия, полученное в перечислении b).
Повторяемость при 1/3 заявленной максимальной концентрации является максимальной, вычисленная из разницы между измеренными значениями, полученными в перечислениях b) и d), и разделенной на значение, полученное в перечислении d).
Повторяют действия, приведенные в перечислениях а), b), с) и d) при 2/3 заявленной максимальной концентрации. Повторяемость при 2/3 заявленной максимальной концентрации является максимальной, вычисленная из разницы между измеренными значениями, полученными в перечислениях b) и d) и разделенной на значение, полученное в перечислении d).
Повторяют действия, приведенные в перечислениях а), b), с) и d) при заявленной максимальной концентрации. Повторяемость при заявленной максимальной концентрации - это максимальная величина, вычисленная из разницы между измеренными значениями, полученными в перечислениях b) и d) и разделенной на значение, полученное в перечислении d).
Повторяемость - самое высокое из приведенных выше значений.
7.11.4 Гистерезис и линейность
7.11.4.1 Требование
Гистерезис, измеренный в соответствии с 7.11.4.2, должен находиться в пределах диапазона гистерезиса, указанного в эксплуатационных документах.
Линейность, измеренная в соответствии с 7.11.4.2, должна находиться в пределах линейности, указанной в эксплуатационных документах.
7.11.4.2 Испытание
Измеряют характеристику УОПС при минимальной концентрации, 1/3 максимальной, 2/3 максимальной и максимальной концентрациях и затем обратно при 2/3 максимальной, 1/3 максимальной и минимальной концентрациях три раза. Каждый раз, когда концентрация изменяется, выжидают время в 10 раз большее времени отклика Т60 прежде чем записывают измерения.
Гистерезис ЕHY при 1/3 максимальной и 2/3 максимальной концентрациях вычисляют по формуле
ЕHY=CPSDOD-CPSDOA,
(1)
где CPSDOD - измеренное максимальное значение выходного сигнала УОПС на нисходящей характеристике;
CPSDOA - измеренное минимальное значение выходного сигнала УОПС на восходящей характеристике.
Гистерезис является наибольшим значением результатов расчета ЕHY.
Линейность EL при 1/3 максимальной, 2/3 максимальной и при максимальной концентрациях вычисляют по формуле
,
(2)
где
- самое высокое или самое низкое измеренное значение выходного сигнала УОПС, вызванного отклонениями;
- номинальный выходной сигнал УОПС при определенной концентрации.
Линейность - наибольшее значение результатов расчета EL.
7.11.5 Отклонение
7.11.5.1 Требование
Отклонение, являющееся максимальной разницей между характеристиками УОПС до и после испытания на выносливость, следует измерять в соответствии с 7.11.5.2 в пределах отклонения, указанного в эксплуатационных документах.
7.11.5.2 Испытание
Измеряют характеристику УОПС как минимум для трех устройств до и после испытания на выносливость по 7.12. Вычисляют отклонение каждого устройства.
Отклонение ED при 1/3 максимальной, 2/3 максимальной и при максимальной концентрациях вычисляют по формуле
ED=CPSDODA-CPSDODB,
(3)
где CPSDODA - самое высокое или самое низкое измеренное значение выходного сигнала УОПС, вызванного отклонением;
CPSDODB - выходной сигнал УОПС при определенной концентрации до испытания на выносливость.
Отклонение - наибольшее значение результатов расчета ED.
7.11.6 Изменения напряжения питания
7.11.6.1 Требование
Изменения в выходном сигнале из-за изменений напряжения питания, измеренные в соответствии с 7.11.6.2, должны соответствовать спецификации, указанной в эксплуатационных документах.
7.11.6.2 Испытание
Измеряют выходные сигналы УОПС при 1/3 максимальной, 2/3 максимальной и максимальной заявленной концентрациях и затем обратно при минимальной заявленной концентрации три раза при минимальном, номинальном и максимальном напряжениях питания. Каждый раз, когда концентрация изменяется, выжидают время в 10 раз большее времени отклика Т60 прежде чем записывают измерения.
Влияние напряжения питания на выходной сигнал ESV при 1/3 максимальной, 2/3 максимальной и при максимальной концентрациях вычисляют по формуле
ESV=CPSDM-CPSDNSV,
(4)
где CPSDM - измеренное значение выходного сигнала УОПС, вызванного изменением напряжения питания;
CPSDNSV - значение выходного сигнала УОПС при номинальном напряжении.
Влияние напряжения питания на выходной сигнал является наивысшим значением результатов расчета ESV.
7.11.7 Влияние скорости газа
7.11.7.1 Требование
Изменения в выходном сигнале УОПС из-за изменения скорости газа в заявленном диапазоне скоростей газа должны быть в пределах спецификации, указанной в эксплуатационных документах при испытании в соответствии с 7.11.7.2.
Выходной сигнал УОПС за пределами номинального диапазона скорости газа указывают в эксплуатационных документах.
7.11.7.2 Испытание
Устанавливают УОПС в подходящее устройство для отбора проб или испытательную камеру без дымохода, чтобы избежать обратной тяги.
Продувают газом устройство для отбора проб или испытательную камеру с 1/3 максимальной заданной концентрацией газа при температуре окружающей среды и сбалансированным N2 при минимальной скорости газа, указанной в эксплуатационных документах, и, спустя три минуты, записывают сигнал УОПС (
).
Увеличивают скорость газа до максимального значения, указанного в эксплуатационных документах, и, спустя три минуты, записывают выходной сигнал УОПС (
).
Эффект скорости газа EGV вычисляют по формуле
.
(5)
7.11.8 Время отклика и смещение
7.11.8.1 Требование
Время срабатывания и смещение УОПС должны соответствовать спецификациям, указанным в эксплуатационных документах, при проведении испытаний в соответствии с 7.11.8.2 и 7.11.8.3 и при условиях окружающей среды.
Испытания на время отклика и смещение допускается объединять.
7.11.8.2 Испытание на время отклика ТХ
Время отклика приведено на рисунке 6.

t0 - переключение испытательного газа на максимальную концентрацию; t1 - t0 - время работы "в холостую" испытательного оборудования; t2 - t1 - время работы "в холостую" УОПС; T60 = t3 - t1; T90 = t4 - t1; T95 = t5 - t1; t6 - переключение испытательного газа на минимальную концентрацию; t7 - t6 - время работы "в холостую" испытательного оборудования; t8 - t7 - время работы "в холостую" УОПС; T60 = t9 - t7; T90 = t10 - t7, Т95 = t11 - t7
Рисунок 6 - Время отклика
Устанавливают УОПС в испытательную установку, которая гарантирует переход между двумя различными концентрациями. На рисунках 7 и 8 показаны два варианта этого испытания.

1 - УОПС; 2 - клапан; 3 - расходомер; 4 - испытательная камера; 5 - диффузор; 6 - скорость на УОПС; 7 - вход воздуха; 8 - вход измеряемого газа
Рисунок 7 - Альтернативное испытательное оборудование для определения времени отклика (УОПС, которое не нуждается в прямом потоке через УОПС)

1 - УОПС; 2 - клапан; 3 - расходомер; 4 - короткая трубка; 5 - поток через УОПС; 6 - вход воздуха; 7 - вход измеряемого газа
Рисунок 8 - Альтернативное испытательное оборудование для определения времени отклика (УОПС, которому необходим прямой поток через УОПС)
УОПС должно работать, как указано в эксплуатационных документах, и обеспечивать стабильность.
При минимальном расходе переключают газ в испытательное оборудование с воздуха до максимальной концентрации, дожидаются стабилизации выходного сигнала, возвращаются к воздуху, дожидаются стабилизации и записывают выходной сигнал УОПС во время этой последовательности.
Повторяют эту последовательность с максимальным расходом, указанным в эксплуатационных документах, и записывают измеренное значение.
Для расчета времени отклика Т60, T90, T95 необходимо учитывать время отключения испытательного оборудования.
Время отклика будет самым наибольшим временем Т60 испытания.
7.11.8.3 Испытание для определения смещения
Устанавливают УОПС в испытательную установку.
Записывают сигнал до тех пор, пока он не стабилизируется, и не учитывают, что показания выходного сигнала в указанное время стали ниже после следующих газовых воздействий:
- поток испытательного газа с максимальной концентрацией, указанной в эксплуатационных документах, проходит через испытательную установку, и, спустя 60 с, записывают выходной сигнал УОПС (R1).
- переключают газ на 100 %-ный N2 или воздух в зависимости от того, что применимо, и, спустя три минуты или 2·T95 в зависимости от того, что больше, записывают выходной сигнал УОПС (R2).
- переключают назад испытательный газ до максимальной концентрации и расхода, и, спустя три минуты или 2·T95 в зависимости от того, что больше, записывают выходной сигнал УОПС (R3).
Смещение - это отклонение измеренного значения от теоретической нулевой точки выходного сигнала УОПС, которое является значением R2 или значением R3 в зависимости от характеристики УОПС.
7.11.9 Давление окружающей среды
7.11.9.1 Требование
Изменение установившегося выходного сигнала УОПС в зависимости от давления окружающей среды, проверенного на 7.11.9.2, должно быть в пределах значений, указанных в эксплуатационных документах.
7.11.9.2 Испытание
Устанавливают УОПС внутри испытательной камеры (см. рисунок 5).
Испытательная камера 3 должна иметь максимальную концентрацию соответствующего газа. Как испытательная камера, так и эталонная камера должны иметь одинаковое давление р1 и равный уровень окружающего давления с допуском менее 1 кПа.
Записывают выходной сигнал после 10·T60 минимум (CPSDO1).
Не меняя концентрации газа в испытательной камере 3, очищают камеры 2 и 3 с максимальным объявленным давлением pmax, убеждаясь, что перепад давления 10 равен нулю.
Записывают выходной сигнал после 10·T60 минимум (CPSDO2).
Зависимость давления Ер от УОПС между объявленным минимальным давлением pmin и максимальным давлением pmax вычисляют по формуле
Ep=CPSDO2-CPSDO1.
(6)
7.11.10 Температура окружающей среды
7.11.10.1 Требование
Изменение установившегося выходного сигнала УОПС в зависимости от температуры окружающей среды должно быть в пределах значений, указанных в эксплуатационных документах.
7.11.10.2 Испытание
Помещают УОПС в испытательную камеру.
Последовательно проверяют температуру в испытательной камере при указанных ниже температурах и дожидаются термически статических условий. Создают поток максимальной концентрации соответствующего газа, ждут 10·T60 и измеряют выходной сигнал УОПС.
Температурная последовательность:
- при минимальной температуре окружающей среды или 0 °С в зависимости от того, что ниже (Tmin);
- при максимальной температуре окружающей среды или 60 °С в зависимости от того, что больше (Tmax).
Испытание должно быть проведено как минимум три раза. Записывают выходной сигнал при максимальной и минимальной температурах окружающей среды.
Температурную зависимость ЕТ, которая является наивысшей величиной результатов расчетов, вычисляют по формуле
,
(7)
где
- выходной сигнал CPSD при Tmax;
- выходной сигнал CPSD при Tmin.
7.11.11 Температура дымовых газов
7.11.11.1 Требование
Изменение установившегося выходного сигнала УОПС в зависимости от температуры дымовых газов должно быть в пределах значений, указанных в эксплуатационных документах.
7.11.11.2 Испытание
Устанавливают УОПС, как указано в эксплуатационных документах. Во время испытания поддерживают постоянную температуру окружающей среды.
Выставляют ДОПС на испытательный газ с постоянной концентрацией в пределах от 1/3 до 2/3 от максимальной концентрации:
- при минимальной температуре дымовых газов или 20 °С в зависимости от того, что больше (TFmin):
- при максимальной температуре дымовых газов или любой другой температуре, но не менее чем на 100 °С выше TFmin (TFmax).
Дожидаются теплового равновесия и проводят измерение выходного сигнала УОПС.
Испытание необходимо проводить как минимум три раза. Записывают разницу в выходном сигнале между максимальной и минимальной температурами.
Зависимость температуры дымохода EFT, которая является наивысшей величиной результатов расчетов, вычисляют по формуле
,
(8)
где
- выходной сигнал CPSD при TFmax;
- выходной сигнал CPSD при TFmin.
7.11.12 Перегрузка
7.11.12.1 Требование
Влияние повышенных концентраций соответствующего газа на стабильность и восстановление сигнала должно быть в пределах значений, указанных в эксплуатационных документах при испытании в соответствии с 7.11.12.2.
7.11.12.2 Испытание
Измеряют выходной сигнал УОПС со скоростью считывания более одного раза в секунду.
Подвергают ДОПС действию до 2/3 максимальной заявленной концентрации соответствующего газа для 10·T60.
Переключают газ до концентрации перегрузки 150 % максимальной заявленной концентрации или до заявленной концентрации выдерживания в зависимости от того, что менее в течение 10 мин.
Переключают назад на 2/3 от максимальной заявленной концентрации соответствующего газа, пока не будут получены оригинальные установочные показания.
R90 - это время, отсчитываемое с момента окончания концентрации перегрузки до тех пор, пока выходной сигнал не достигнет 90 % разницы от концентрации перегрузки до 2/3 значения максимальной концентрации, как указано в эксплуатационных документах (см. рисунок 9).

А - 2/3 максимальной концентрации; В - 90 % конечного значения после окончания перегрузки; t1 - начало концентрации перегрузки; t2 - конец концентрации перегрузки; t3 - время, когда выходной сигнал УОПС достигает 90 % конечного значения; R90 = t3 - t2
Рисунок 9 - Время восстановления R90
7.11.13 Зависимость от влажности
7.11.13.1 Требование
Влияние изменения влажности на установившийся выходной сигнал должно быть в пределах значения, указанного в эксплуатационных документах при испытании в соответствии с 7.11.13.2.
7.11.13.2 Испытание
Испытание следует проводить с использованием испытательного газа на 1/3 максимальной, 2/3 максимальной и максимальной заявленной концентрациях следующим образом:
a) устанавливают УОПС в испытательную установку с температурой испытательного газа 60 °С. Убеждаются, что поток испытательного газа в указанной выше концентрации является постоянным для этапов, приведенных в перечислениях b) - d);
b) настраивают канальную систему подачи газа таким образом, чтобы один канал проходил через систему увлажнителя [см. дополнительную информацию относительно газопромывателя (склянки) Дрекселя или системы подачи пара 1)], чтобы получить точку росы 60 °С, другой канал при этом останется сухим. Контролируют увлажняющий канал, пока не будет достигнута устойчивая влажность. Все трубки с влажным газом (также трубки, в которых смешиваются влажные и сухие газы) должны находиться при температуре 60 °С;
──────────────────────────────
1) См. [4].
──────────────────────────────
c) создают поток сухого газа с указанной выше концентрацией, выжидают время 10·T60 и измеряют выходной сигнал УОПС (R0);
d) переключают последовательно до следующих значений влажности (см. таблицу 3) путем смешивания газов из влажных и сухих газовых линий при одинаковой концентрации. Выжидают время 10·T60 перед измерением выходного сигнала УОПС (R30, R60, R100) и проверяют фактическую точку росы, которая будет соответствовать значениям, указанным в таблице 3. Для УОПС, предназначенных только для измерения дымовых газов с точкой росы ниже 49 °С, и соответственно с точкой росы 36 °С, измерения R100 и R60 соответственно могут быть опущены.
Примечание - Газовая горелка может достигать точки росы при 60 °С.
|
Относительная влажность rH, %, при 60 °С, 101,3 кПа |
Точка росы Тd, °С |
Давление насыщенного пара psat, кПа |
|
100 |
60 |
200 |
|
60 |
49 |
120 |
|
30 |
36 |
60 |
|
< 5 |
< 5 |
< 9 |
e) измеренная концентрация газа по количеству газа, вытесненному водяным паром Rn,dry, должна быть скорректирована по формуле
,
(9)
где n - равен 30, 60 или 100;
р - фактическое давление воздуха;
psat - давление насыщенного пара при определенной температуре точке росы;
f) коэффициент влажности Еn,H вычисляют по формуле
En,H=Rn,dry-RO.
(10)
Зависимость от влажности будет наибольшим значением коэффициента влажности Еn,H.
7.11.14 Перекрестные помехи
7.11.14.1 Требование
Влияние перекрестных помех в выходном сигнале УОПС должно соответствовать спецификации, указанной в эксплуатационных документах при испытании по 7.11.14.2. Газы, вызывающие помехи, приведенные в таблице 4, должны быть исследованы. В случае если УОПС предназначено для нескольких газов, эти газы должны быть исключены из таблицы 4.
|
Газ |
Концентрация, мг/м3 |
Объемная доля при температуре 25 °С и давлении 101,3 кПа, % |
|
O2 |
- |
3 и 21 |
|
СО |
1 000 |
0,0874 |
|
CO2 |
- |
15 |
|
СН4 |
50 |
0,0076 |
|
NO |
300 |
0,0245 |
|
SO2 |
200 |
0,0076 |
7.11.14.2 Испытание
Устанавливают УОПС в режим для испытаний.
Подают газ с типичной рабочей концентрацией, указанной в эксплуатационных документах для 10·T60, измеряют выходной сигнал R1.
Газ смешивают с газом, вызывающим помехи с концентрацией в соответствии с таблицей 4. Как только установившийся сигнал будет достигнут, выдерживают время минимум 10·T60, измеряют выходной сигнал R2 УОПС.
Повторяют испытание для всех газов, приведенных в таблице 4. Перекрестную интерференцию ЕCI вычисляют для каждого газа по формуле
.
(11)
Перекрестная интерференция будет наибольшим значением всех расчетных значений ЕCI.
7.11.15 Влияние монтажного положения
7.11.15.1 Требование
Влияние монтажного положения УОПС на выходной сигнал должно соответствовать спецификации, указанной в эксплуатационных документах при испытании в соответствии с 7.11.15.2.
7.11.15.2 Испытание
Если влияние монтажного положения исключено конструкцией УОПС, это испытание не проводят. Испытание необходимо проводить в хорошо проветриваемом помещении, не имеющем сквозняков.
Устанавливают УОПС в испытательную установку в соответствии с проектной документацией, и подают газ с типичной рабочей концентрацией, указанной в эксплуатационных документах. Измеряют выходной сигнал R1 УОПС после 10·T60 времени.
Повторяют испытание для всех заявленных монтажных положений.
Влияние монтажного положения является наивысшим значением отклонения между R1 и другими измерениями.
7.12.1 Требование
После испытания на выносливость УОПС должен отвечать следующим требованиям:
- требования точности, указанные в 7.11.4, 7.11.5 и 7.11.8.3, должны быть в пределах спецификации;
- заявленное время отклика - по 7.11.8.2.
После проверки соответствия требованиям УОПС необходимо проверить на герметичность в соответствии с 7.3.4 и 7.3.5.2.
7.12.2 Испытание
Испытания на выносливость следует выполнять с различными образцами:
а) выставляют УОПС на воздух в течение 14 дней при следующих условиях электроснабжения, температурных условиях и условиях эксплуатации:
Условия электроснабжения
Систему загружают в соответствии с условиями, указанными в эксплуатационных документах, при этом напряжение увеличивают до 110 % максимального номинального напряжения, за исключением того, что в течение 30 мин в течение каждого 24-часового периода испытания напряжение уменьшают до 90 % минимально заявленного номинального напряжения. Изменение напряжения не должно быть синхронизировано с изменением температуры. Каждый 24-часовой период также должен включать, по крайней мере, один период в течение 30 мин, в течение которого напряжение питания отключают.
Температурные условия
Температура окружающей среды и/или температура монтажной поверхности варьируются между максимальной заявленной температурой окружающей среды или 60 °С, в зависимости от того, что более, и минимальной заявленной температурой окружающей среды или 0 °С, в зависимости от того, что менее, чтобы получить температуру компонентов электронной схемы, которая должна циклически переключаться между полученными экстремумами. Скорость изменения температуры окружающей среды и/или монтажной поверхности должна составлять порядка 1 °С/мин, а экстремальные температуры поддерживаются в течение примерно 1 ч.
Условия эксплуатации
Для УОПС с нагревателем, который не нагревается непрерывно, в течение 14 дней испытаний система нагревания должна быть отключена 5000 раз и, если применимо, дополнительно 50 000 раз отключена в режим ожидания, согласно эксплуатационным документам.
В каждом отключенном состоянии ДОПС должна достигать температуры ниже 1/3 рабочей температуры, а во время каждого включения по условию ДОПС должна достигать температуры ниже 2/3 от рабочей температуры.
При этих испытаниях число завершенных циклов необходимо фиксировать, и если их число составляет менее 5000 или 50 000 соответственно, то оставшееся число циклов необходимо выполнить при заявленном номинальном напряжении и температуре окружающей среды;
b) УОПС с датчиком дымовых газов, определяющим дымовые газы в дымоходе от обычной установки горелки, при сгорании топлива согласно эксплуатационным документам. Испытательная система (горелка) должна быть отключена в течение испытательного цикла в 1000 ч не менее 1000 раз.
Если УОПС испытывают на тяжелые нефтепродукты, то испытание на легкие нефтепродукты и природный газ не требуются. Если УОПС испытывают на легкие нефтепродукты, испытание на природный газ не требуется.
Согласно ГОСТ EN 13611-2016, подраздел 9.1 со следующим дополнением и изменением.
Дополнение:
Подразделы 9.1-9.10 ГОСТ EN 13611-2016 не применимы для УОПС класса А.
Испытания на электромагнитную совместимость (ЭМС) необходимо проводить с отдельным УОПС или должны выполняться в качестве испытания системы ЭМС в случае, если блок управления ДОПС и/или блок преобразования сигнала предназначены для системы управления горением и/или газового прибора. Во время испытания на ЭМС ДОПС полностью работает.
Если в эксплуатационных документах указаны конкретные уровни нарушений напряжения питания, их следует применять во время испытаний, как описано в 9.4-9.10.
Изменение:
Критерии оценок I и II заменяют следующими:
Для критерия оценки I управление должно продолжать функционировать в соответствии с разделом 7. Для критерия оценки II управление должно:
- продолжать функционировать в соответствии с разделом 7; или
- выходной сигнал УОПС должен представлять нерабочее состояние в соответствии с 6.6.
Согласно ГОСТ EN 13611-2016, подраздел 9.2.
Согласно ГОСТ EN 13611-2016, подраздел 9.3.
Согласно ГОСТ EN 13611-2016, подраздел 9.4.
Согласно ГОСТ EN 13611-2016, подраздел 9.5.
Согласно ГОСТ EN 13611-2016, подраздел 9.6.
Согласно ГОСТ EN 13611-2016, подраздел 9.7.
Согласно ГОСТ EN 13611-2016, подраздел 9.8.
Согласно ГОСТ EN 13611-2016, подраздел 9.9.
Согласно ГОСТ EN 13611-2016, подразделы 9.10 и 9.11.
Согласно ГОСТ EN 13611-2016, раздел 8.
Согласно ГОСТ EN 13611-2016, подраздел 10.1.
Согласно ГОСТ EN 13611-2016, подраздел 10.2 со следующим дополнением:
a) полезный срок службы и режим отказа в конце срока эксплуатации (см. 6.5.1);
b) факторы, влияющие на точность, в соответствии с 7.11.1;
c) электрические данные;
d) диапазон температур окружающей среды;
e) монтажное положение;
f) присоединения для продуктов сгорания;
g) класс управляющей функции (см. 4.3);
h) соединение для эталонного газа или воздуха, если это применимо;
i) нерабочее состояние;
j) время реакции на неисправность;
k) приемлемые материалы для установки, которые не влияют на функциональность УОПС;
l) монтажные инструкции для УОПС, включая требуемые механические свойства дымовых труб и максимальный крутящий момент;
m) отравление газами, парами и твердыми веществами, что недопустимо;
n) газы, пары и твердые вещества, которые допускаются с максимально разрешенной концентрацией и эффектом взаимного влияния;
о) степень защиты согласно ГОСТ 14254;
р) диапазон измерения;
q) максимальные вибрации/удар, если применимо;
r) время прогрева,
s) время запуска;
t) максимальная концентрация;
u) выдерживаемая концентрация;
v) время отклика (см. 7.11.8);
w) перегрузка (см. 7.11.12);
х) номинальный диапазон скоростей дымовых газов и выходной сигнал УОПС за пределами номинального диапазона скоростей;
y) соотношение между выходным сигналом УОПС и концентрацией продукта сгорания, для которого указано УОПС;
z) время восстановления Т90 от концентрации перегрузки;
аа) инструкции по демонтажу и сборке закрывающих деталей, если это применимо;
bb) горючих материалов, для которых подходит пламегаситель, если это применимо.
Согласно ГОСТ EN 13611-2016, подраздел 10.3.
Приложение А
(справочное)
Приложение А ГОСТ EN 13611-2016 не применяют.
Приложение В
(справочное)
Применяют приложение В ГОСТ EN 13611-2016.
Приложение С
(справочное)
Применяют приложение С ГОСТ EN 13611-2016.
Приложение D
(обязательное)
Применяют приложение D ГОСТ EN 13611-2016.
Приложение Е
(обязательное)
Применяют приложение Е ГОСТ EN 13611-2016 со следующим дополнением:
Определенные режимы отказа ДОПС определяют согласно 6.5.1.
Приложение F
(обязательное)
Приложение F ГОСТ EN 13611-2016 не применяют.
Приложение G
(обязательное)
Приложение G ГОСТ EN 13611-2016 не применяют.
Приложение Н
(справочное)
Приложение Н ГОСТ EN 13611-2016 не применяют.
Приложение I
(обязательное)
Применяют приложение I ГОСТ EN 13611-2016.
Приложение ДА
(справочное)
Таблица ДА.1
|
Обозначение ссылочного межгосударственного стандарта |
Степень соответствия |
Обозначение и наименование ссылочного европейского, международного стандарта |
|
ГОСТ EN 13611-2016 |
IDT |
EN 13611:2015 "Устройства обеспечения безопасности и устройства управления горелками и приборами, работающими на газообразном и/или жидком топливах. Общие требования" |
|
ГОСТ 14254-2015 (IEC 60529:2013) |
MOD |
IEC 60529:2013 "Степени защиты, обеспечиваемые оболочками (Код IP)" |
|
Примечание - В настоящей таблице использованы следующие условные обозначения степени соответствия стандартов: - IDT - идентичные стандарты; - MOD - модифицированные стандарты. | ||
Библиография
|
[1] |
EN 1856-1:2009 |
Chimneys - Requirements for metal chimneys - Part 1: System chimney products (Трубы дымовые. Требования к металлическим дымовым трубам. Часть 1. Компоненты системы дымовых труб) |
|
[2] |
EN 10088-1:2005 |
Stainless steels - Part 1: List of stainless steels (Стали нержавеющие. Часть 1. Перечень нержавеющих сталей) |
|
[3] |
EN 14241-1:2013 |
Chimneys - Elastomeric seals and elastomeric sealants. Material requirements and test methods - Part 1: Seals in flue liners (Дымоходы. Эластомерные уплотнения и эластомерные уплотнители. Требования к материалам и методы испытания. Часть 1. Уплотнения из жидких прокладок) |
|
[4] |
VDI 3490:1980 (all parts) |
Measurement of gases; calibration gas mixtures (Измерение газов. Смеси калибровочных газов) |


