ГОСТ IEC 62019-2016 АРМАТУРА ЭЛЕКТРИЧЕСКАЯ. ВЫКЛЮЧАТЕЛИ И АНАЛОГИЧНАЯ АРМАТУРА БЫТОВОГО НАЗНАЧЕНИЯ. БЛОКИ ВСПОМОГАТЕЛЬНЫХ КОНТАКТОВ
Electrical accessories. Circuit-breakers and similar equipment for household use. Auxiliary contact units
МКС 29.120.50
IDT
Дата введения - 1 июля 2018 г.
Введен впервые
Предисловие
Цели, основные принципы и основной порядок проведения работ по межгосударственной стандартизации установлены в ГОСТ 1.0-2015 "Межгосударственная система стандартизации. Основные положения" и ГОСТ 1.2-2015 "Межгосударственная система стандартизации. Стандарты межгосударственные, правила и рекомендации по межгосударственной стандартизации. Правила разработки, принятия, обновления и отмены"
Сведения о стандарте
1 Подготовлен Автономной некоммерческой организацией "Научно-технический центр "Энергия" (АНО "НТЦ "Энергия") на основе собственного перевода на русский язык англоязычной версии стандарта, указанного в пункте 5
2 Внесен Федеральным агентством по техническому регулированию и метрологии
3 Принят Межгосударственным советом по стандартизации, метрологии и сертификации (протокол от 25 октября 2016 г. N 92-П)
За принятие стандарта проголосовали:
|
Краткое наименование страны по МК (ИСО 3166) 004-97 |
Код страны по МК (ИСО 3166) 004-97 |
Сокращенное наименование национального органа по стандартизации |
|
Беларусь |
BY |
Госстандарт Республики Беларусь |
|
Грузия |
GE |
Грузстандарт |
|
Киргизия |
KG |
Кыргызстандарт |
|
Россия |
RU |
Росстандарт |
|
Таджикистан |
TJ |
Таджикстандарт |
|
Узбекистан |
UZ |
Узстандарт |
4 Приказом Федерального агентства по техническому регулированию и метрологии от 23 мая 2017 г. N 412-ст межгосударственный стандарт ГОСТ IEC 62019-2016 введен в действие в качестве национального стандарта с 1 июля 2018 г.
5 Настоящий стандарт идентичен международному стандарту IEC 62019:2003 "Арматура электрическая. Выключатели и аналогичная арматура бытового назначения. Блоки вспомогательных контактов" ("Electrical accessories - Circuit-breakers and similar equipment for household use - Auxiliary contact units", IDT).
Международный стандарт IEC 62019:2003 разработан Международным техническим подкомитетом 23 Е "Автоматические выключатели и аналогичное оборудования для бытового применения" Технического комитета 23 "Электрическое вспомогательное оборудование" Международной электротехнической комиссии (IEC).
При применении настоящего стандарта рекомендуется использовать вместо ссылочных международных стандартов соответствующие им межгосударственные стандарты, сведения о которых приведены в дополнительном приложении ДА
6 Настоящий межгосударственный стандарт взаимосвязан с Техническим регламентом Таможенного союза "О безопасности низковольтного оборудования", принятым Комиссией Таможенного союза 16 августа 2011 г. N TP ТС 004/2011, и реализует его существенные требования безопасности.
Соответствие взаимосвязанному межгосударственному стандарту обеспечивает выполнение существенных требований безопасности технического регламента
7 Введен впервые
Введение
Настоящий стандарт идентичен консолидированной версии стандарта IEC 62019:2003, издание 1.1, основанного на первом его издании (1999) и изменении 1 (2002).
Настоящий стандарт распространяется на блоки вспомогательных электромеханических контактов и устанавливает:
- характеристики блоков вспомогательных контактов;
- электрические и механические требования в зависимости от выполняемых режимов, значений характеристик, и требования по испытаниям;
- функциональные требования, выполняемые блоками вспомогательных контактов в зависимости от условий окружающей среды, наличия оболочек, электроизоляционных свойств, видов выводов, условий обеспечения безопасности.
Приложение А составляет неотъемлемую часть настоящего стандарта.
Приложения В, С и D приведены исключительно с информационной целью.
Настоящий стандарт распространяется на блоки вспомогательных электромеханических контактов, объединенные (или предназначенные для взаимодействия) с автоматическими выключателями с защитой от сверхтока, а также с автоматическими выключателями, управляемыми дифференциальным током, со встроенной защитой или без защиты от сверхтока для бытовых и аналогичных электроустановок на номинальное напряжение не свыше 440 В переменного или 250 В постоянного тока и номинальный ток не свыше 10 А.
Примечание 1 - Данные требования также могут быть использованы в качестве руководства для блоков вспомогательных контактов, предназначенных для взаимодействия с другими коммутационными устройствами для бытовых и аналогичных электроустановок.
Примечание 2 - Рекомендуется получить консультацию изготовителя по поводу применения со слаботочными электроприборами (с низким уровнем тока и/или напряжения). Для слаботочных контактов потребуются особые рекомендации по IEC 60947-5-4.
Цель настоящего стандарта - установить:
a) характеристики блоков вспомогательных контактов;
b) электрические и механические требования по отношению к:
1) разным выполняемым режимам;
2) значению номинальных характеристик и маркировки;
3) испытаниям для проверки номинальных характеристик;
c) функциональные требования, выполняемые блоками вспомогательных контактов по отношению к:
1) условиям окружающей среды, в том числе внутри оболочки оборудования;
2) электроизоляционным свойствам;
3) выводам;
4) безопасности применения.
Для применения настоящего стандарта необходимы следующие ссылочные документы. Для датированных ссылок применяют только указанное издание ссылочного документа, для недатированных ссылок применяют последнее издание ссылочного документа (включая все его изменения).
IEC 60050(441):1984, International Electrotechnical Vocabulary (IEV) - Chapter 441: Switchgear, controlgear and fuses (Международный электротехнический словарь. Глава 441. Коммутационная аппаратура, аппаратура управления и предохранители)
IEC 60065:1998 1), Audio, video and similar apparatus - Safety requirements (Аудио-, видеоаппаратура и аналогичная электронная аппаратура. Требования техники безопасности)
──────────────────────────────
1) Действует IEC 60065:2014. Однако, для однозначного соблюдения требования настоящего стандарта, выраженного в датированной ссылке, рекомендуется использовать только указанное в этой ссылке издание.
──────────────────────────────
IEC 60112:1979 2), Method for determining the comparative and the proof tracking indices of solid insulating materials under moist conditions (Материалы электроизоляционные твердые. Методы определения нормативного и сравнительного индексов трекингостойкости)
──────────────────────────────
2) Действует IEC 60112:2009. Однако, для однозначного соблюдения требования настоящего стандарта, выраженного в датированной ссылке, рекомендуется использовать только указанное в этой ссылке издание.
──────────────────────────────
IEC 60249-2 (все части), Base materials for printed circuits - Part 2: Specifications (Материалы оснований для печатных плат. Часть 2. Технические условия)
IEC 60384-14:1993 3), Fixed capacitors for uses in electronic equipment - Part 14. Sectional specification: Fixed capacitors for electromagnetic interference suppression and connection to the supply mains (Конденсаторы постоянной емкости для электронной аппаратуры. Часть 14. Групповые технические условия: Конденсаторы постоянной емкости для подавления радиопомех и подключения к питающей магистрали)
──────────────────────────────
3) Действует IEC 60384-14:2016. Однако, для однозначного соблюдения требования настоящего стандарта, выраженного в датированной ссылке, рекомендуется использовать только указанное в этой ссылке издание.
──────────────────────────────
IEC 60617 (all parts), Graphical symbols fordiagrams (Обозначения условные графические для схем)
IEC 60664-3:1992 4), Insulation coordination for equipment within low-voltage systems - Part 3: Use of coating to achieve insulation coordination of printed board assemblies (Координация изоляции для оборудования в низковольтных системах. Часть 3. Использование покрытия, герметизации или заливки для защиты от загрязнения)
──────────────────────────────
4) Действует IEC 60664-3:2010. Однако, для однозначного соблюдения требования настоящего стандарта, выраженного в датированной ссылке, рекомендуется использовать только указанное в этой ссылке издание.
──────────────────────────────
IEC 60898:1995 5), Electrical accessories - Circuit-breakers for overcurrent protection for household and similar installations (Арматура электрическая. Автоматические выключатели для защиты от сверхтоков установок бытового и аналогичного назначения)
──────────────────────────────
5) Действует IEC 60898-1:2015. Однако, для однозначного соблюдения требования настоящего стандарта, выраженного в датированной ссылке, рекомендуется использовать только указанное в этой ссылке издание.
──────────────────────────────
IEC 60998-2-2:1991 6), Connecting devices for low voltage circuits for household and similar purposes - Part 2-2: Particular requirements for connecting devices as separate entities with screwless-type clamping units (Устройства соединительные для низковольтных цепей бытового и аналогичного назначения. Часть 2-2. Частные требования к соединительным устройствам как отдельным элементам с невинтовыми зажимами)
──────────────────────────────
6) Действует IEC 60998-2-2:2002. Однако, для однозначного соблюдения требования настоящего стандарта, выраженного в датированной ссылке, рекомендуется использовать только указанное в этой ссылке издание.
──────────────────────────────
IEC 60947-5-1:1997 7), Low-voltage switchgear and controlgear - Part 5: Control circuit devices and switching elements - Section one: Electromechanical control circuit devices (Аппаратура коммутационная и механизмы управления низковольтные. Часть 5. Устройства и коммутационные элементы цепей управления. Раздел 1. Электромеханические устройства цепей управления)
──────────────────────────────
7) Действует IEC 60947-5-1:2016. Однако, для однозначного соблюдения требования настоящего стандарта, выраженного в датированной ссылке, рекомендуется использовать только указанное в этой ссылке издание.
──────────────────────────────
IEC 60947-5-4:1996 8), Low-voltage switchgear and controlgear - Part 5: Control circuit devices and switching elements - Section 4: Methods of assessing the performance of low-energy contacts. Special tests (Аппаратура коммутационная и механизмы управления низковольтные комплектные. Часть 5-4. Устройства и коммутационные элементы для цепей управления. Методы оценки рабочих характеристик контактов с низким электропотреблением. Специальные испытания)
──────────────────────────────
8) Действует IEC 60947-5-4:2002. Однако, для однозначного соблюдения требования настоящего стандарта, выраженного в датированной ссылке, рекомендуется использовать только указанное в этой ссылке издание.
──────────────────────────────
IEC 61008-1:1996 9), Residual current operated circuit-breakers without integral overcurrent protection for household and similar uses (RCCBs) - Part 1: General rules (Выключатели автоматические, срабатывающие от остаточного тока, без встроенной защиты от тока перегрузки бытовые и аналогичного назначения. Часть 1. Общие правила)
──────────────────────────────
9) Действует IEC 61008-1:2013. Однако, для однозначного соблюдения требования настоящего стандарта, выраженного в датированной ссылке, рекомендуется использовать только указанное в этой ссылке издание.
──────────────────────────────
IEC 61009-1:1996 1), Residual current operated circuit-breakers with integral overcurrent protection for household and similar uses (RCBOs) - Part 1: General rules (Выключатели автоматические, срабатывающие от остаточного тока, со встроенной защитой от тока перегрузки; бытовые и аналогичного назначения. Часть 1: Общие правила)
──────────────────────────────
1) Действует IEC 61009-1:2013. Однако, для однозначного соблюдения требования настоящего стандарта, выраженного в датированной ссылке, рекомендуется использовать только указанное в этой ссылке издание.
──────────────────────────────
IEC 61210:1993 2), Connecting devices - Flat quick-connect terminations for electrical copper conductors - Safety requirements (Устройства соединительные. Плоские быстросочленяемые выводы для электрических медных проводников. Требования безопасности)
──────────────────────────────
2) Действует IEC 61210:2010. Однако, для однозначного соблюдения требования настоящего стандарта, выраженного в датированной ссылке, рекомендуется использовать только указанное в этой ссылке издание.
──────────────────────────────
ISO 306:1994 3), Plastics - Thermoplastic materials - Determination of Vicat softening temperature (VST) (Пластмассы. Термопластичные материалы. Определение температуры размягчения по Вика (VST))
──────────────────────────────
3) Действует ISO 306:2013. Однако, для однозначного соблюдения требования настоящего стандарта, выраженного в датированной ссылке, рекомендуется использовать только указанное в этой ссылке издание.
──────────────────────────────
В настоящем стандарте применены следующие термины с соответствующими определениями:
3.1
|
вспомогательный контакт (auxiliary contact): Контакт, включенный во вспомогательную цепь и механически управляемый коммутационным устройством. [IEC 60050-441]. |
3.2 блок вспомогательных контактов (auxiliary contact unit): Блок, содержащий один или несколько контактов цепи управления и/или контактов вспомогательной цепи и механически управляемый главным коммутационным устройством.
Примечание - Главным коммутационным устройством может быть автоматический выключатель, автоматический выключатель, управляемый дифференциальным током с защитой от сверхтока и без, выключатель и т.д.
3.3
|
контактный элемент (вспомогательного контакта) [contact element (of an auxiliary contact)]: Все структурные части вспомогательного контакта, неподвижные и подвижные, проводящие или изолирующие, необходимые для замыкания и размыкания одного единственного пути тока блока вспомогательных контактов. Примечание - Контактный элемент и приводная система могут образовывать целостный блок, однако часто один или несколько контактных элементов комбинируют с одним или несколькими приводными элементами. [IEC 60050-441, модифицировано] |
3.4 контактный элемент с мини-зазором (mini-gap contact element): Контактный элемент с зазором в разомкнутом положении не менее 1,2 мм, но не отвечающим пункту 1 таблицы 2.
3.5 контактный элемент с нормальным зазором (normal gap contact element): Контактный элемент с зазором в разомкнутом положении, отвечающим пункту 1 таблицы 2.
Контактные элементы классифицируют по:
4.1 Категориям применения (см. таблицу 1, подраздел 5.4);
4.2 Электрическим номинальным параметрам согласно категориям применения (см. таблицу 4);
4.3 Одному из следующих типов конструктивных элементов (см. рисунок 1):
4.3.1 Форма А - замыкающий контактный элемент одинарного разрыва;
4.3.2 Форма В - размыкающий контактный элемент одинарного разрыва;
4.3.3 Форма С - замыкающий-размыкающий трехвыводной переключающий контактный элемент одинарного разрыва;
4.3.4 Других типов (см. примечание 1).
4.4 Применимости в цепях ЗСНН и БСНН
Примечание 1 - Примеры других типов приведены на рисунке 1. (См. также раздел 3 и рисунок 4 IEC 60947-5-1).
Примечание 2 - Различие установлено между размыкающими после замыкания (перекрывающими) переключающими контактными элементами, где обе цепи замкнуты на части траектории движения подвижных контактов из одного положения в другое, и размыкающими до замыкания (не перекрывающими) переключающими контактными элементами, где обе цепи разомкнуты на части траектории движения подвижных контактов из одного положения в другое. Если не установлено иное, переключающие контактные элементы являются размыкающими до замыкания.
4.5 По типу контактного зазора:
4.5.1 с нормальным зазором (см. 3.5);
4.5.2 с мини-зазором (см. 3.4).
Тип блока вспомогательных контактов характеризует следующее:
a) Форма контактного элемента (см. рисунок 1);
b) Род тока: переменный и/или постоянный;
c) Число электрически разделенных путей тока.
Номинальные параметры вспомогательных контактов установлены согласно 5.2.1-5.2.3.
5.2.1 Номинальные напряжения
Вспомогательный контакт характеризуется следующими номинальными напряжениями.
5.2.1.1 Номинальное рабочее напряжение Ue
Номинальное рабочее напряжение вспомогательного контакта - это значение напряжения, которое в сочетании с номинальным током определяет назначение блока вспомогательных контактов и с которым соотносят испытания и категории применения.
5.2.1.2 Номинальное напряжение изоляции Ui
Номинальное напряжение изоляции вспомогательного контакта - это значение напряжения, установленное изготовителем, с которым соотносят напряжения для испытания электрической прочности изоляции, а также воздушные зазоры и расстояния утечки.
Если не установлено иное, номинальное напряжение изоляции - это максимальное номинальное напряжение вспомогательного контакта. Ни в коем случае максимальное номинальное напряжение не должно превышать номинальное напряжение изоляции.
5.2.2 Номинальный рабочий ток Ie
Номинальный рабочий ток (токи) вспомогательного контакта устанавливает изготовитель с учетом соответствующих значений номинального рабочего напряжения и номинальной частоты, а также рода тока и категории применения.
5.2.3 Номинальная частота
Частота источника питания, для которой предназначен вспомогательный контакт и которой соответствуют другие характеристики.
Примечание - Один и тот же вспомогательный контакт может быть предназначен для переменного и постоянного тока и для диапазона номинальных частот.
5.3.1 Включающая и отключающая способности в нормальных условиях
Вспомогательный контакт должен отвечать требованиям, приведенным в таблице 4 в соответствии с установленной категорией применения в нормальных условиях.
Примечание - Для вспомогательного контакта с указанной категорией применения не обязательно отдельно указывать включающую и отключающую способность.
5.3.2 Включающая и отключающая способности в аномальных условиях
Вспомогательный контакт должен отвечать требованиям, приведенным в таблице 5 в соответствии с установленной категорией применения в аномальных условиях.
Примечание - Аномальные условия могут быть обусловлены, например блокированным открытым электромагнитом или блокированным двигателем.
5.3.3 Номинальный условный ток короткого замыкания
Номинальный условный ток короткого замыкания вспомогательного контакта - это значение ожидаемого тока, установленного изготовителем, который вспомогательный контакт, защищаемый устройством защиты от короткого замыкания (УЗКЗ), указанным изготовителем, может удовлетворительно выдерживать в течение времени срабатывания УЗКЗ в заданных условиях короткого замыкания.
Стандартизованные категории применения приведены в таблице 1.
|
Род тока |
Категория |
Типичное применение |
|
Переменный ток |
АС-12 |
Управление активными нагрузками |
|
АС-13 |
Управление полупроводниковыми нагрузками с разделительным трансформатором | |
|
АС-14 |
Управление малыми электромагнитами ≤ 72 В·А Управление электромагнитами > 72 В·А | |
|
Постоянный ток |
DC-12 |
Управление активными нагрузками |
|
DC-13 |
Управление электромагнитами | |
|
DC-14 |
Управление цепями электромагнитов с ограничительными резисторами |
Примеры номинальных характеристик контактов согласно категориям применения приведены в приложении В.
Изготовитель должен указать на наличие либо отсутствие электрического разделения контактных элементов вспомогательных контактов.
Примечание - Электрически разделенные контактные элементы (см. IEC 60050-441) принадлежат к контактным элементам одного и того же блока вспомогательных контактов, однако они электрически изолированы одни от других так, чтобы их можно было соединить в электрически разделенные цепи (например, после разделительного трансформатора с питанием ЗСНН или БСНН).
На блоках вспомогательных контактов должна быть следующая маркировка:
a) наименование изготовителя или товарный знак;
b) каталожный номер.
Кроме того, следующая информация должна быть нанесена на устройство или приведена в инструкции изготовителя:
c) категория применения, например АС-14;
d) номинальное рабочее напряжение (напряжения) (Ue);
e) номинальный рабочий ток (токи) (Ie);
f) номинальный условный ток короткого замыкания, если менее 1000 А;
g) тип и максимальные номинальные характеристики УЗКЗ;
h) номинальная частота (частоты) (см. 5.2.3), кроме 50/60 Гц;
i) символ "m" для конструкции с мини-зазором, если имеется;
j) схема цепей, если вид соединений не очевиден;
k) степень защиты, кроме IP 20;
l) вид переключающего элемента, если имеется: с размыканием после замыкания (перекрывающий) или с размыканием до замыкания (не перекрывающий).
Следующая информация, если уместно, должна быть нанесена на устройство или приведена в инструкции изготовителя:
m) символ пригодности для применения в цепях БСНН и ЗСНН с обеспечением должной изоляции:
- между главным выключателем и блоком вспомогательных контактов:
или 
- между каждым главным выключателем и блоком вспомогательных контактов и между каждым путем тока блока вспомогательных контактов:

Маркировка на устройстве должна быть прочной и легко читаемой; ее нельзя размещать на винтах и съемных деталях.
Выводы должны быть четко и надежно идентифицированы согласно IEC 60445.
Защитный заземляющий вывод идентифицируют символом
.
Изготовитель в своих публикациях должен указать условия по монтажу и эксплуатации блоков вспомогательных контактов, если имеются.
Изготовитель в своих публикациях должен указать диапазон рабочих токов согласно диапазону рабочих напряжений.
Для главного коммутационного устройства применяют соответствующий раздел конкретного стандарта, например:
a) IEC 60898 (раздел 7) для автоматических выключателей;
b) IEC 61008-1 (раздел 7) для автоматических выключателей, управляемых дифференциальным током без защиты от сверхтоков (ВДТ);
c) IEC 61009-1 (раздел 7) для автоматических выключателей, управляемых дифференциальным током с защитой от сверхтоков (АВДТ).
8.1.1 Винты, токопроводящие части и соединения
Для главного коммутационного устройства применяют соответствующий пункт конкретного стандарта, например:
a) IEC 60898 (пункт 8.1.4) для автоматических выключателей;
b) IEC 61008-1 (пункт 8.1.4) для автоматических выключателей, управляемых дифференциальным током без защиты от сверхтоков (ВДТ);
c) IEC 61009-1 (пункт 8.1.4) для автоматических выключателей, управляемых дифференциальным током с защитой от сверхтоков (АВДТ).
8.1.2 Выводы для внешних проводников
a) IEC 60898 (пункт 8.1.5) для автоматических выключателей;
b) IEC 61008-1 (пункт 8.1.5) для автоматических выключателей, управляемых дифференциальным током без защиты от сверхтоков (ВДТ);
c) IEC 61009-1 (пункт 8.1.5) для автоматических выключателей, управляемых дифференциальным током с защитой от сверхтоков (АВДТ).
При применении типов и размеров выводов, не указанных в конкретном стандарте а), b) или с) на главное коммутационное устройство, применяют основополагающие стандарты на выводы (например, для IEC 60898 - IEC 61210).
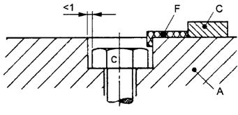
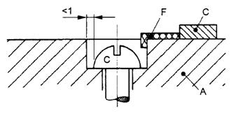
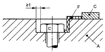
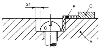
8.1.3 Воздушные зазоры и расстояния утечки (см. приложение А).
Воздушные зазоры и расстояния утечки, за исключением по 8.1.4, не должны быть менее значений, указанных в таблице 2, для устройства, установленного как при нормальной эксплуатации.
8.1.4 Воздушные зазоры и расстояния утечки для электронных цепей, присоединенных между активными проводниками или между активными проводниками и землей
Для электронных цепей, присоединенных между активными проводниками или между активными проводниками и цепью заземления, с контактами в замкнутом положении проверку воздушных зазоров и расстояний утечки заменяют испытаниями по 9.4 и 9.5.
|
Описание |
Минимальный воздушный зазор, мм |
Минимальное расстояние утечки a), b), мм | |||||||||||||
|
Номинальное напряжение, В |
Группа материала IIIa c), d) (175 B ≤ СИТ < 400 В) |
Группа материала II d) (400 В ≤ СИТ < 600 В) |
Группа материала I d) (600 В ≤ СИТ) | ||||||||||||
|
Эксплуатационное напряжение, В | |||||||||||||||
|
120 |
230 f) |
40 |
> 25 |
120 |
250 |
400 |
> 25 |
120 |
250 |
400 |
> 25 |
120 |
250 |
400 | |
|
0 |
≤ 50 |
≤ 50 |
≤ 50 | ||||||||||||
|
1 Между токоведущими частями, которые разделены, когда блок вспомогательных контактов в разомкнутом положении |
1,5 g) |
3,0 g) |
3,0 |
1,2 |
1,5 |
3,0 |
4,0 |
0,9 |
1,5 |
3,0 |
3,0 |
0,6 |
1,5 |
3,0 |
3,0 |
|
2 Между токоведущими частями разной полярности h) |
1,5 |
3,0 |
3,0 | ||||||||||||
|
3 Между цепями i), питаемыми от разных источников, один из которых БСНН или ЗСНН |
3,0 |
6,0 |
8,0 |
- |
3,0 |
6,0 |
8,0 |
- |
3,0 |
6,0 |
8,0 |
- |
3,0 |
6,0 |
8,0 |
|
- |
- |
- |
- |
Номинальное напряжение, В | |||||||||||
|
120 |
230 |
400 |
120 |
230 |
400 |
120 |
230 |
400 | |||||||
|
4 Между токоведущими частями и: - доступными поверхностями органов управления; - поверхностью, на которой смонтирован блок вспомогательных контактов j); - винтами или другими устройствами крепления блока вспомогательных контактов j); - металлическими крышками или ящиками j); - другими доступными металлическими частями k) |
1,5 |
3,0 |
3,0 |
- |
1,5 |
3,0 |
4,0 |
- |
1,5 |
3,0 |
4,0 |
- |
1,5 |
3,0 |
4,0 |
|
5 Между металлическими частями механизма и: - доступными металлическими частями k); - винтами или другими устройствами крепления блока вспомогательных контактов |
- |
- |
- |
- |
- |
- |
- |
- |
- |
- |
- |
- |
- |
- |
- |
|
a) Данные минимальные расстояния утечки равны соответствующим им минимальными воздушным зазорам, кроме номинальных напряжений 50 В и менее, где минимальный воздушный зазор равен 0,2 мм. Для расстояний утечки, соответствующим промежуточным значениям указанных значений эксплуатационного напряжения, допускается применение интерполяции. b) Для определения расстояний утечки см. приложение А. c) Для материала группы IIIb (100 В ≤ СИТ < 175 В) применяют значения группы IIIа, умноженные на 1,6. d) См. IEC 60112. е) Для эксплуатационных напряжений до 25 В включительно ссылка на IEC 60664-1. f) Данные значения также охватывают номинальные напряжения 220 В и 240 В. g) Данное значение снижают до 1,2 мм для токоведущих частей выключателей с мини-зазором, подвижных при разделении контактов. h) Не распространяется на электронные цепи, присоединенные между активными проводниками. Для электронных цепей, постоянно включенных между активными проводниками, измерение воздушных зазоров и расстояний утечки проводят только на внешних выводах. Другие измерения заменяют испытаниями по 9.4 и 9.5. i) В том числе главные цепи главного коммутационного устройства (например, автоматического выключателя, АВДТ). j) Значения удваивают, если воздушные зазоры и расстояния утечки между токоведущими частями устройства и металлическим экраном или поверхностью, на которой смонтировано вспомогательное устройство, не гарантированы его конструкцией, поскольку, если вспомогательное устройство установлено в самом неблагоприятном условии, эти расстояния недостаточны. k) В том числе металлическая фольга, контактирующая с поверхностями из изоляционного материала, доступными после монтажа, как при нормальной эксплуатации. Фольгу, с помощью стандартного испытательного пальца, заправляют в углы, канавки и т.д. Примечание 1 - Значения, приведенные для 400 В, также действительны для 440 В. Примечание 2 - Части пути нейтрали, если имеется, считают токоведущими. Примечание 3 - Правила измерения для твердой изоляции - в стадии рассмотрения. | |||||||||||||||
8.2.1 Превышение температуры
По соответствующему разделу конкретного стандарта на главное коммутационное устройство, например:
a) IEC 60898 (подраздел 8.4 и приложение С) для автоматических выключателей;
b) IEC 61008-1 (подраздел 8.4) для ВДТ.
c) IEC 61009-1 (подраздел 8.4) для АВДТ.
При сертификационных испытаниях блок вспомогательных контактов испытывают совместно с главным коммутационным устройством, имеющим наибольший номинальный ток в каждой основной конструкции (как, например, в С.3.1 IEC 60898). Испытательные токи подают одновременно к блоку вспомогательных контактов и к главному коммутационному устройству.
Соответствие проверяют испытаниями по 9.3.3.
8.2.2 Электроизоляционные свойства
a) IEC 60898 (подраздел 8.3 и приложение С) для автоматических выключателей;
b) IEC 61008-1 (подраздел 8.3) для ВДТ;
c) IEC 61009-1 (подраздел 8.3) для АВДТ.
Соответствие проверяют испытанием по 9.3.4.
8.2.3 Способность включать, проводить и отключать токи в условиях нормальной и аномальной нагрузок
Вспомогательный контакт должен быть способен включать и отключать нагрузки, а также токи перегрузки, указанные в таблицах 4 и 5 согласно категории применения по таблице 1.
Соответствие проверяют испытанием по 9.3.6.
8.2.4 Условный ток короткого замыкания
Вспомогательный контакт должен выдерживать нагрузки вследствие токов короткого замыкания.
Соответствие проверяют испытанием по 9.3.7.
Блок вспомогательных контактов может быть снабжен устройством эксплуатационного контроля для проверки работоспособности вспомогательного контакта. Оно не предназначено для применения при эксплуатации вспомогательного контакта. Устройство эксплуатационного контроля и контакты должны автоматически вернуться в исходное состояние после приведения в действие либо быть взведены по инструкции изготовителя.
Соответствие проверяют осмотром.
Главное коммутационное устройство, оснащенное блоком вспомогательных контактов, должно точно срабатывать.
Соответствие проверяют испытанием по 9.3.5.
Блоки вспомогательных контактов не содержат электронных цепей, чувствительных к электромагнитным помехам и генерирующих электромагнитные помехи, исключение составляют процессы коммутации и автоматического срабатывания главного коммутационного устройства. Поэтому их не подвергают проверке на ЭМС. Блоки вспомогательных контактов, содержащие электронные цепи, испытывают по IEC 61867.
9.1.1 Общие положения
Если проводят сертификацию блока вспомогательных контактов совместно с главным коммутационным устройством, испытание проводят на всей сборке. Если блок вспомогательных контактов сертифицируют отдельно, испытания проводят, объединив блок вспомогательных контактов с главным коммутационным устройством, имеющим наибольший номинальный токи наибольшее число полюсов и, если не установлено иное, являющимся типичным представителем серии, имеющей одну и ту же основную конструкцию, как указано в IEC 60898 (С.3.1) или IEC 61008-1 (А.3.1), или IEC 61009-1 (А.3.1).
9.1.2 Типовые испытания
Целью типовых испытаний является проверка соответствия конструкции блока вспомогательных контактов требованиям настоящего стандарта. Они содержат проверку:
a) превышения температуры (см. 9.3.3);
b) электроизоляционных свойств (см. 9.3.4);
c) включающей и отключающей способностей контакта в нормальных условиях (см. 9.3.6.3);
d) включающей и отключающей способностей контакта в аномальных условиях (см. 9.3.6.4);
e) работоспособности при условном токе короткого замыкания (см. 9.3.7);
f) соответствия требованиям к конструкции (см. 9.2).
Соответствие проверяют проведением следующих испытаний, которые указаны в стандарте на главное коммутационное устройство:
a) прочность маркировки;
b) надежность винтов, токопроводящих частей и соединений;
c) надежность выводов для внешних проводников;
d) защита от электрического удара с усилием, пониженным до 10 Н для блоков вспомогательных контактов на номинальное напряжение до 50 В переменного и/или 75 В постоянного тока включительно;
e) устойчивость к механическому удару и толчку;
f) устойчивость к аномальному нагреву и огню, но при испытательной температуре 850 °С для частей, которым стандарт на главное коммутационное устройство предписывает 960 °С;
g) теплостойкость.
Примечание - Эти испытания соответствуют следующим подпунктам:
- IEC 60898 (9.3-9.6, 9.13-9.15) для автоматических выключателей;
- IEC 61008-1 (9.3-9.6, 9.12-9.14) для ВДТ;
- IEC 61009-1 (9.3-9.6, 9.13-9.15) для АВДТ.
9.3.1 Испытания
9.3.1.1 Последовательность испытаний
Испытания проводят на типичных образцах в следующей последовательности:
a) цикл испытаний А (образец 1):
1) Превышение температуры (см. 9.3.3);
2) Электроизоляционные свойства (см. 9.3.4);
3) Требования к конструкции (см. 9.2);
b) цикл испытаний В (образец 2):
1) Включающая и отключающая способности блока вспомогательных контактов в аномальных условиях (см. 9.3.6.4 и 9.3.6.5);
c) цикл испытаний С (образец 3):
1) Включающая и отключающая способности блока вспомогательных контактов в нормальных условиях (см. 9.3.6.3 и 9.3.6.5).
Примечание - Несколько или все циклы испытания по указанию изготовителя могут быть проведены на одном образце. Однако испытания следует проводить в вышеуказанной последовательности для каждого образца.
d) цикл испытаний D (образцы 4, 5 и 6):
1) Работоспособность при условном токе короткого замыкания (см. 9.3.7);
е) цикл испытаний Е (образец 7):
Проверка точности срабатывания главного коммутационного устройства (см. 9.3.5).
Ни в одном из вышеуказанных испытаний не должно быть отказов.
9.3.1.2 Блок вспомогательных контактов, предназначенный для разных видов главных коммутационных устройств
Если блок вспомогательных контактов, предназначенный для разных видов главных коммутационных устройств, прошел полный цикл испытаний в последовательности по 9.3.1.1 с одним главным коммутационным устройством, то для других видов главных коммутационных аппаратов проводят дополнительные испытания по таблице 3.
|
Блок вспомогательных контактов, испытанный с устройством |
Дополнительное испытание с другими, главными, коммутационными, устройством по подпунктам | |||
|
АВДТ |
Автоматический выключатель |
ВДТ |
Другие | |
|
АВДТ |
- |
9.3.5 |
9.3.5 |
9.3.5 |
|
Автоматический выключатель |
9.3.5 |
- |
9.3.5 |
9.3.5 |
|
ВДТ |
9.3.3 + 9.3.5 |
9.3.3 + 9.3.5 |
- |
9.3.3 + 9.3.5 |
|
Другие |
9.3.3 + 9.3.5 |
9.3.3 + 9.3.5 |
9.3.3 + 9.3.5 |
- |
9.3.2 Общие условия испытаний
Для многополюсных блоков вспомогательных контактов испытывают два смежных полюса, а остальные полюса соединяют по рисункам 2а и 2b.
9.3.3 Превышение температуры
По мере возможности применяют следующие подпункты стандартов на главное коммутационное устройство, заменив In максимальным Ie (см. 5.2.2), установленным изготовителем:
a) IEC 60898 (подраздел 9.8) для автоматических выключателей;
b) IEC 61008-1 (подраздел 9.8) для ВДТ;
c) IEC 61009-1 (подраздел 9.8) для АВДТ.
9.3.4 Электроизоляционные свойства
Напряжение номинальной частоты в основном синусоидальной формы подают в течение 1 мин между:
- вспомогательными цепями, соединенными вместе, и корпусом;
- каждой из частей вспомогательных цепей, которая могла бы быть изолирована от других частей в нормальной эксплуатации, и всеми остальными частями, соединенными вместе;
- вспомогательными цепями, соединенными вместе, и полюсами главного коммутационного устройства во включенном положении, соединенными вместе.
Подают следующие испытательные напряжения в соответствии с номинальным напряжением вспомогательного контакта.
|
Номинальное напряжение вспомогательного контакта, В |
Испытательное напряжение, В |
|
Un ≤ 50 |
1000 |
|
50 < Un ≤ 110 |
1500 |
|
110 < Un ≤ 250 |
2000 |
|
250 < Un ≤ 400 a) |
2500 |
|
а) Также действительно для контактов на номинальное напряжение 440 В. | |
В начале испытания испытательное напряжение не должно превышать половинные указанного значения. Затем его равномерно увеличивают в течение не менее 5 с и не более 20 с до полного значения.
Во время испытания не должно быть перекрытий или пробоев.
Примечание - Разряды, не свидетельствующие о падении напряжения, не учитывают.
9.3.5 Проверка точности срабатывания главного коммутационного устройства
Если блок вспомогательных контактов установлен на главном коммутационном устройстве с автоматическим расцеплением или дистанционным управлением, он не должен нарушать точность срабатывания главного коммутационного устройства.
Проводят следующие проверки рабочих характеристик комбинации на устройствах с наибольшим числом полюсов, наименьшим In и наименьшим IΔn по соответствию:
a) IEC 60898 (8.1.2, 9.10.1.1 и 9.10.2) (только на верхнем пределе мгновенного срабатывания) для автоматических выключателей;
b) IEC 61008-1 (9.9.2.1 и 9.15) для ВДТ;
c) IEC 61009-1 (9.9.1.2а) и 9.11) для АВДТ.
9.3.6 Включающая и отключающая способности
Примечание - Испытания, указанные по IEC 60947-5-1, адаптированы по применению главных коммутационных устройств, предназначенных для бытовых и аналогичных установок.
9.3.6.1 Испытательные величины
Все испытания, связанные с проверкой номинальной включающей и отключающей способности и правильной координации между блоком вспомогательных контактов и УЗКЗ, следует проводить при значениях воздействующих величин и факторов, указанных изготовителем в соответствии с настоящим стандартом, если не установлено иное.
Испытания считают действительными, если величины, записанные в протоколе испытаний, находятся в пределах следующих допусков на указанные значения:
а) ток: + 5 %;
b) коэффициент мощности: - 0,05;
c) напряжение: ± 5 % (включая восстанавливающееся напряжение);
d) частота: ± 5 %;
e) постоянная времени: + 15 %.
9.3.6.2 Испытательные цепи
Испытательные цепи для проверки включающей и отключающей способностей приведены на рисунках 2а, 2b и 4. Полное сопротивление нагрузки размещают со стороны нагрузки вспомогательного контакта. Напряжение цепи с протекающим испытательным током не должно быть менее Ue. Если для операций включения и отключения потребуются разные значения тока, коэффициента мощности или постоянной времени, то испытательную цепь по рисунку 4 применяют с нагрузкой Ld, соответствующей рисунку 2а или 2b.
9.3.6.3 Включающая и отключающая способности блока вспомогательных контактов в нормальных условиях
Испытания предназначены для проверки способности блока вспомогательных контактов выполнять назначенную ему функцию согласно категории применения.
Испытания проводят по таблице 4.
|
Категория применения |
Нормальное условие эксплуатации | ||||||||
|
Включение 1) |
Отключение 1) |
Число и частота операций включения и отключения 5) | |||||||
|
АС |
I/Iе |
U/Uе |
Cosφ |
I/Iе |
U/Uе |
Cosφ |
Число циклов срабатывания |
Циклов срабатывания в минуту 5) |
Время включения, с |
|
АС-12 |
1 |
1 |
0,90 |
1 |
1 |
0,90 |
4000 |
4 или 2 4) |
2 |
|
АС-13 |
2 |
1 |
0,65 |
1 |
1 |
0,65 |
4000 |
4 или 2 4) |
0,05 (2) 3) |
|
АС-14 |
6 |
1 |
0,30 |
1 |
1 |
0,30 |
4000 |
4 или 2 4) |
0,05 (2) 3) |
|
АС-15 |
10 |
1 |
0,30 |
1 |
1 |
0,30 |
4000 |
4 или 2 4) |
0,05 (2) 3) |
|
DC |
I/Iе |
U/Uе |
T0,95 |
I/Iе |
U/Uе |
T0,95 |
Число циклов срабатывания |
Циклов срабатывания в минуту 5) |
Время включения, с |
|
DC-12 |
1 |
1 |
1 мс |
1 |
1 |
1 мс |
4000 |
4 или 2 4) |
2 |
|
DC-13 |
1 |
1 |
6 х Р 2) |
1 |
1 |
6 х Р 2) |
4000 |
4 или 2 4) |
2 |
|
DC-14 |
10 |
1 |
15 мс |
1 |
1 |
15 мс |
4000 |
4 или 2 4) |
0,05 (2) 3) |
|
Ie - номинальный рабочий ток; Ue - номинальное рабочее напряжение; T0,95 - время достижения 95 % установившегося тока, мс; Р - потребляемая мощность установившегося тока, Вт (Iе Ue); I - включаемый или отключаемый ток; U - напряжение до включения. 1) Допуски на испытательные величины см. 9.3.6.1. 2) Значение 6 х Р получают по эмпирической взаимосвязи, которую представляют собой большинство магнитных нагрузок постоянного тока вплоть до верхнего предела 50 Вт, т. о. 6 х Р = 300 мс. Нагрузки с потребляемой мощностью св. 50 Вт состоят из мелких параллельных нагрузок. Поэтому 300 мс является верхним пределом, независимо от потребляемой мощности. 3) Если ток отключения отличается от тока включения, время включения относится к току включения, после которого в течение заданного периода ток снижают до тока отключения. Значение в скобках - период времени включения, указанный для главного коммутационного устройства. 4) Значение 2 относится к блоку вспомогательных контактов, объединенному с главным коммутационным устройством с номинальным током св. 32 А. 5) Для блоков вспомогательных контактов, снабженных устройством эксплуатационного контроля, первые 50 циклов проводят с приведением в действие этого устройства, частота циклов срабатывания в минуту составляет 4, время включения приблизительно 2 с. Примечание 1 - Число и частота циклов срабатывания по IEC 608989 (подраздел 11.2). Примечание 2 - Значение 2 с в графе "время включения" соответствует указанному для главных коммутационных устройств (см. IEC 608989 (подраздел 11.2)). | |||||||||
9.3.6.4 Включающая и отключающая способности блока вспомогательных контактов в аномальных условиях
Вспомогательные контакты должны быть способны включать и отключать токи без повреждения в условиях, указанных в таблице 5 в соответствии с требуемой категорией применения и числом циклов срабатывания. Если иное не установлено изготовителем, все смежные контактные элементы предполагают быть противоположной полярности. Если контактные элементы формы С, Za и Zb (см. рисунок 1) не идентичной конструкции (по конструкции контактов, давлению и т.д.) и действуют в двух положениях, они должны быть испытаны в обоих положениях.
9.3.6.5 Получаемые результаты
Во время испытаний по 9.3.6.3 и 9.3.6.4 не должно быть электрических и механических повреждений, а также приваривания контактов, длительной дуги и расплавления плавкого предохранителя F. После испытания вспомогательный контакт должен отвечать требованиям 9.3.4, но при испытательном напряжении, пониженном на 500 В.
|
Категория применения |
Аномальные условия эксплуатации 1) | ||||||||||
|
Включение 2) |
Отключение 2) |
Число и частота операций включения и отключения 3) | |||||||||
|
АС |
I/Ie |
U/Ue |
Cosφ |
I/Ie |
U/Ue |
Cosφ |
Число циклов срабатывания |
Циклов срабатывания в минуту |
Время включения 3), с | ||
|
АС-12 |
Не применяют | ||||||||||
|
АС-13 |
10 |
1,1 |
0,65 |
1,1 |
1,1 |
0,65 |
10 |
4 или 2 4) |
От 0,04 до 0,2 (2) 3) | ||
|
АС-14 |
6 |
1,1 |
0,70 |
6 |
1,1 |
0,70 |
10 |
4 или 2 4) |
От 0,04 до 0,2 5) | ||
|
АС-15 |
10 |
1,1 |
0,30 |
10 |
1,1 |
0,30 |
10 |
4 или 2 4) |
От 0,04 до 0,2 5) | ||
|
DC-12 |
Не применяют | ||||||||||
|
DC-13 |
1,1 |
1,1 |
6 х Р 6) |
1,1 |
1,1 |
6 х Р 6) |
10 |
4 или 2 4) |
T0,95 до 0,3 5) | ||
|
DC-14 |
10 |
1,1 |
15 мс |
10 |
1,1 |
15 мс |
10 |
4 или 2 4) |
T0,95 до 0,2 5) | ||
|
Ie - номинальный рабочий ток; Ue - номинальное рабочее напряжение; T0,95 - время достижения 95 % установившегося тока, мс; Р - потребляемая мощность установившегося тока, Вт (le Ue); I - включаемый или отключаемый ток; U - напряжение до включения. 1) Примером аномальных условий может служить блокированный открытый электромагнит. 2) Допуски на испытательные величины см. 9.3.6.1. 3) Если ток отключения отличается от тока включения, время включения относится к току включения, после которого в течение удобного периода ток снижают до тока отключения. Значение в скобках - период времени включения, указанный для главного коммутационного устройства. 4) Значение 2 относится к блоку вспомогательных контактов, объединенному с главным коммутационным устройством с номинальным током св. 32 А. 5) Если эти значения недостижимы главным коммутационным устройством, испытание может быть разделено на испытание на включение и отдельное испытание на отключение. Для обоих испытаний время протекания тока должно соответствовать указанному времени включения. По согласованию с изготовителем время включения может быть увеличено до времени включения, указанного для главного коммутационного устройства (2 с). 6) Значение 6 х Р получают по эмпирической взаимосвязи, которую представляют собой большинство магнитных нагрузок постоянного тока вплоть до верхнего предела 50 Вт, т. о. 6 х Р = 300 мс. Нагрузки с потребляемой мощностью св. 50 Вт состоят из мелких параллельных нагрузок. Поэтому 300 мс является верхним пределом, независимо от потребляемой мощности. | |||||||||||
9.3.7 Испытание при условном токе короткого замыкания
Примечание - Имеет место только испытание при условном переменном токе короткого замыкания.
9.3.7.1 Общие условия испытания при токе короткого замыкания
Вспомогательные контакты в новом и чистом состоянии должны быть собраны с главным коммутационным устройством в новом и чистом состоянии.
9.3.7.2 Испытательная цепь и испытательные величины
Вспомогательный контакт должен быть соединен в однофазную цепь последовательно с замыкающим выключателем и УЗКЗ типа и с номинальными параметрами, указанными изготовителем (см. рисунок 3).
Катушка индуктивности в испытательной цепи должна быть с воздушным сердечником и соединена последовательно с резистором. Цепь регулируют на ожидаемый ток 1000 А, если иное не установлено изготовителем, при коэффициенте мощности от 0,5 до 0,7 и номинальном рабочем напряжении. Никаких параллельных демпфирующих нагрузок не добавляют; напряжение открытой цепи должно составлять 1,1 максимального номинального рабочего напряжения вспомогательного контакта.
Вспомогательный контакт должен быть подсоединен кабелем общей длиной 1 м, соответствующим рабочему току вспомогательного контакта.
Примечание - По согласованию с изготовителем коэффициент мощности может быть ниже 0,5.
9.3.7.3 Процедура испытания
Вспомогательный контакт может срабатывать несколько раз до испытания без нагрузки при любом токе, не превышающем номинальный.
Испытание проводят с органом управления главного коммутационного устройства в положении, соответствующем замкнутому положению испытуемого блока вспомогательных контактов. Испытание проводят замыканием включающего выключателя, который удерживают в замкнутом положении до срабатывания УЗКЗ. Испытание выполняют три раза. После каждого срабатывания УЗКЗ должен быть заменен или взведен. Интервал времени между двумя последовательными срабатываниями должен быть не менее 3 мин. Фактический интервал времени между срабатываниями должен быть указан в протоколе испытаний.
9.3.7.4 Состояние блока вспомогательных контактов после испытания
После испытания по 9.3.7.3 должна оставаться возможность размыкания вспомогательных контактов срабатыванием главного коммутационного устройства; вспомогательный контакт должен выдержать испытание на электрическую прочность изоляции по 9.3.4, но при испытательном напряжении, пониженном на 500 В.
Данные испытания заменяют проверку расстояний утечки и воздушных зазоров электронных цепей, соединенных между активными проводниками (фазными и нейтралью) и/или между активными проводниками и цепью заземления, когда контакты находятся в замкнутом положении.
Блоки вспомогательных контактов не должны создавать опасности пожара или электрического удара в аномальных условиях, случающихся в эксплуатации.
Условия использования комплектующего элемента внутри блока вспомогательных контактов должны соответствовать рабочим характеристикам, маркированным на элементе и/или приведенным в информации изготовителя.
9.4.1 Когда блоки вспомогательных контактов подвергнуты аномальным условиям, ни одна из частей не должна достигнуть температуры, способной вызвать опасность возгорания в окружении блоков вспомогательных контактов, и ни одна токоведущая часть не должна стать доступной.
Соответствие проверяют, подвергнув блок вспомогательных контактов испытанию на нагрев в условиях повреждения по 9.4.2 и проверке защиты от электрического удара по 9.2.
9.4.2 Если не указано иное, испытание проводят на блоках вспомогательных контактов, смонтированных, подсоединенных и подвергнутых нагрузке по 9.3.3.
Изучение блока вспомогательных контактов и схемы цепи показывает условия повреждения, которые должны быть приложены.
Обычно каждому испытуемому условию повреждения подвергают один отдельный образец.
Каждое из условий повреждения от а) до е) прикладывают по очереди; для каждого перечисленного проводят только одно испытание:
а) короткое замыкание через воздушные зазоры и расстояния утечки менее указанных на кривой А рисунка 5, со следующим исключением:
- в случае печатной платы, отвечающей требованиям по устойчивости к выдергиванию и расслаиванию по IEC 60249-2, значения расстояний утечки и воздушных зазоров между проводниками, один из которых может быть подсоединен к одному полюсу сети питания, взятые по рисунку 5, могут быть заменены значениями, рассчитанными по формуле
Logd = 0,78 log(B/300) минимально 0,2 мм,
где d - расстояние, мм;
В - пиковое значение напряжения, В.
Эти расстояния можно определить, обратившись к рисунку 6.
Вышеуказанные уменьшенные значения относятся только к проводникам, а не к смонтированным элементам и не к связанным с ними паяным соединениям. Лаковые или аналогичные покрытия печатных плат при расчете расстояний не учитывают.
Воздушные зазоры и расстояния утечки, отвечающие требованиям таблицы 2, и печатные платы с покрытием типа В, соответствующие IEC 60664-3, из данного испытания исключены;
b) короткое замыкание через изоляцию, состоящую из лаковых или эмалевых покрытий;
c) короткое замыкание или разрыв полупроводников;
Примечание 1 - Для интегральных схем и других полупроводниковых устройств с более, чем двумя выводами, число испытаний, требуемое теоретически, делает практически невозможным применение разомкнутого контура и/или замыкания накоротко всех комбинаций выводов. В этом случае допускается сначала провести детальный анализ всех возможных механических, тепловых и электрических отказов, которые могут произойти в блоке вспомогательных контактов вследствие сбоя электронного устройства или других элементов цепи. И только те комбинации, которые на базе этого анализа соответствуют отказам, способным вызвать несоответствие блока вспомогательных контактов требованиям двух последних абзацев данного подпункта, должны быть исследованы этим методом.
d) короткое замыкание электролитических конденсаторов;
e) короткое замыкание или обрыв резисторов, катушек индуктивности или конденсаторов.
Примечание 2 - Условие е) не нуждается в применении, если эти элементы отвечают требованиям 9.5.
Температуры, установившиеся в результате условий повреждения, измеряют для частей, указанных в таблице 6, после достижения установившегося состояния или спустя 4 ч (что короче) при каждом из повреждений по а) - е).
Эти температуры не должны превышать значений, указанных в таблице 6.
После испытания блок вспомогательных контактов может больше не быть способным отвечать требованиям к работоспособности, он должен отвечать требованиям к защите от поражения электрическим током по 9.2.
Эти требования распространяются на конденсаторы и специальные резисторы и катушки индуктивности (см. 9.5.2), применяемые в электронных цепях, подсоединенных между активными проводниками (фазными и нейтралью) и/или между активными проводниками и цепью заземления, когда контакты находятся в замкнутом положении.
9.5.1 Конденсаторы
Конденсаторы должны отвечать требованиям IEC 60065 в части защиты от электрического удара и требованиям IEC 60384-14 в части электромагнитных помех.
Эти конденсаторы должны иметь маркировку номинальным напряжением в вольтах, номинальной емкостью в микрофарадах и контрольной температурой в градусах С, или изготовитель должен предусмотреть соответствующую информацию.
9.5.2 Резисторы и катушки индуктивности
Резисторы и катушки индуктивности, замыкание накоротко или отсоединение которых может отрицательно сказаться на результате испытаний по 9.4, должны отвечать соответствующим требованиям по безопасности согласно IEC 60065.
Испытания, уже проведенные на резисторах и катушках индуктивности, соответствующих IEC 60065, в повторении не нуждаются.
|
Часть блока вспомогательных контактов |
Максимально допустимая температура в аномальных условиях, °С |
|
Доступные части: | |
|
Кнопки, рукоятки, доступные поверхности, оболочки: | |
|
- металлические; |
100 |
|
- неметаллические 1); |
100 |
|
Внутренние поверхности изоляционных оболочек; |
2) |
|
Изоляция шнуров питания и проводов 3), 6): | |
|
- ПВХ или синтетический каучук; | |
|
- натуральный каучук. |
135 |
|
Другая изоляция 3): |
135 |
|
- термопластичные материалы 4); | |
|
- непропитанная бумага; |
5) |
|
- непропитанный картон; |
105 |
|
- пропитанный хлопок, шелк, бумага и текстиль; |
115 |
|
- слоистые материалы на основе целлюлозы или текстиля, клееные: |
125 |
|
- фенол-формальдегидом, меламин-формальдегидом, фурфуролом или полиэстером: |
145 |
|
- эпоксидными смолами. |
185 |
|
- отливки из: | |
|
- фенол-формальдегида, фурфурола, меламина; | |
|
- меламин-фенольных компаундов с: | |
|
- целлюлозными наполнителями; |
165 |
|
- минеральными наполнителями; |
185 |
|
- термореактивного полиэстера с минеральными наполнителями; |
185 |
|
- алкидных смол с минеральными наполнителями |
185 |
|
- композитные материалы из: | |
|
- полиэстера со стекловолоконным армированием; |
185 |
|
- эпоксидных смол со стекловолоконным армированием; |
185 |
|
- кремниевый каучук; |
225 |
|
Части из термопластичных материалов 4) в качестве опорных или механических перегородок; |
5) |
|
Провода обмотки с изоляцией из 3), 6): | |
|
- непропитанного шелка, хлопка и т.п.; |
110 |
|
- пропитанного шелка, хлопка и т.п.; |
135 |
|
- масляно-смолистых материалов; |
170 |
|
- поливинил-формальдегидных или полиуретановых смол; |
185 |
|
- полиэфирных смол; |
190 |
|
- полиамидоэфирных смол. |
215 |
|
Пластины сердечников |
Как для соответствующих обмоток |
|
Выводы и части, которые могут контактировать с кабельной изоляцией при монтаже |
135 |
|
Примечание - Значения в данной таблице приведены по таблице 2 IEC 60065. 1) Если данная температура выше допустимой по классу соответствующего изоляционного материала, то класс материала является главенствующим фактором. 2) Допустимыми температурами для внутренних частей изоляционных оболочек являются те, которые указаны для соответствующих изоляционных материалов. 3) В данном стандарте допустимые температуры установлены на основе практического опыта в соответствии с тепловой стабильностью материалов. Приведены примеры материалов. Указаны материалы, для которых существуют ограничения по превышению температуры. Для материалов, кроме перечисленных, максимальные температуры не должны быть выше признанных удовлетворительными. 4) Натуральный каучук и синтетические каучуки не считают термопластичными материалами. 5) Ввиду разнообразия термопластичных материалов невозможно указать для них допустимые температуры. Пока вопрос находится в стадии рассмотрения, применяют следующий метод: a) на отдельном образце определяют температуру размягчения материала по условиям ISO 306 со следующими поправками на: - глубину проникновения 0,1 мм; - до того, как шаблон со шкалой будет установлен на ноль или будут сняты его начальные показания, прикладывают общее усилие 10 Н; b) установленным пределом температуры является сама температура размягчения. 6) Вопрос о возможности повышения значений температуры для проводов и кабелей с термостойкой ПВХ изоляцией - в стадии рассмотрения. | |
|
Номер рисунка |
Рисунок |
Символьное обозначение |
Форма |
Описание |
|
1а |
|
(См. примечание) |
А |
Двухвыводной контактный элемент одиночного размыкания |
|
(См. примечание) |
В | |||
|
1b |
|
(См. примечание) |
X |
Двухвыводной контактный элемент двойного размыкания |
|
(См. примечание) |
Y | |||
|
1с |
|
(См. примечание) |
С |
Трехвыводной переключающий контактный элемент одиночного размыкания |
|
1d |
|
|
Za |
Четырехвыводной переключающий контактный элемент двойного размыкания Примечание - Оба контакта одной полярности |
|
1е |
|
|
Zb |
Четырехвыводной переключающий контактный элемент двойного размыкания (оба подвижные контакты электрически не соединены) |
Рисунок 1 - Примеры контактных элементов (схематические)

Рисунок 2а - Контактные элементы одинаковой полярности, электрически не разделенные

Рисунок 2b - Контактные элементы противоположной полярности, электрически разделенные
Ld - нагрузка по рисунку 4; F - предохранитель или устройство измерения изоляции (медный провод Ø 0,1 х 50 мм); S - вспомогательный контакт (замыкающий или размыкающий)
Рисунок 2 - Испытательные цепи для контактных элементов

Примечание - В последовательных испытаниях попеременно подсоединяется к I или II.
Рисунок 3 - Цепь для испытания на условный ток короткого замыкания

R - активное и L - реактивное сопротивления для получения требуемого тока включения и коэффициента мощности соответственно; Rs - дополнительное сопротивление для получения требуемого тока отключения и коэффициента мощности (если отличаются от значений включения)
Рисунок 4 - Описание нагрузки Ld для испытательных условий, требующих разные значения токов включения и отключения и/или коэффициентов мощности (постоянной времени)

Для частей, кондуктивно соединенных с цепью питания с напряжением 220-250 В (действующее), размеры соответствуют напряжению 354 В (пиковое).
Напряжение через основную изоляцию определяют замыканием накоротко дополнительной изоляции и наоборот.
Графика по IEC 60065 (рисунок 9) определяет следующее:
Кривая А: 34 В соответствует 0,6 мм; 354 В соответствует 3,0 мм.
Кривая В: 34 В соответствует 1,2 мм; 354 В соответствует 6,0 мм.
В определенных условиях эти расстояния могут быть снижены по 9.4.2 а).
Рисунок 5 - Минимальные расстояния утечки и воздушные зазоры, измеряемые в мм

Рисунок 6 - Минимальные расстояния утечки и воздушные зазоры как функция пикового значения рабочего напряжения
Приложение А
(обязательное)
При определении воздушных зазоров и расстояний утечки рекомендуется учитывать следующее.
Если на воздушный зазор или расстояние утечки влияют одна или несколько металлических частей, сумма отрезков должна составлять, по крайней мере, минимальное предписанное значение.
Отдельные отрезки длиной менее 1 мм при расчете общей длины воздушных зазоров или расстояний утечки во внимание не принимают.
При определении расстояний утечки:
a) канавки шириной и глубиной 1 мм измеряют по контуру;
b) канавки меньшего размера не учитывают;
c) ребра высотой 1 мм измеряют:
1) по контуру, если они составляют одно целое с элементом из изоляционного материала (например, в результате литья, сварки или цементирования);
2) по кратчайшему из двух следующих путей: вдоль стыка или вдоль профиля ребра, если ребра не составляют одно целое с элементом из изоляционного материала.
Применение нижеследующих рекомендаций иллюстрировано следующими рисунками:
a) на рисунках А.1 - А.3 показано включение и исключение канавки из расстояния утечки;
b) на рисунках А.4 и А.5 показано включение и исключение ребра из расстояния утечки;
c) на рисунке А.6 показано измерение стыка, когда ребро образовано вставной изоляционной перегородкой, внешний профиль которой больше длины стыка;
d) на рисунках А.7 - А.10 показано, как определить расстояние утечки в случае, когда устройство крепления размещено в выемке в изоляционных частях изоляционного материала.
|
А.1 |
А.2 |
|
А.3 |
А.4 |
|
А.5 |
А.6 |
|
А.7 |
А.8 |
|
А.9 |
А.10 |
Рисунки А.1 - А.10 - Примеры определения расстояний утечки
Приложение В
(рекомендуемое)
|
Категория применения |
Номинальный рабочий ток Iе, А |
Параметр В·А | ||||
|
Номинальное рабочее напряжение Ue | ||||||
|
120 В |
230 В |
400 В |
440 В |
включение |
отключение | |
|
АС-15 |
6,0 |
- |
- |
7200 |
720 | |
|
АС-15 |
6,0 |
3,00 |
- |
- |
7200 |
720 |
|
АС-15 |
6,0 |
3,00 |
1,90 |
1,64 |
7200 |
720 |
|
АС-15 |
3,0 |
- |
- |
- |
3600 |
360 |
|
АС-15 |
3,0 |
1,50 |
- |
- |
3600 |
360 |
|
АС-15 |
3,0 |
1,50 |
0,95 |
0,82 |
3600 |
360 |
|
АС-15 |
1,5 |
- |
- |
- |
1800 |
180 |
|
АС-15 |
1,5 |
0,75 |
- |
- |
1800 |
180 |
|
АС-15 |
1,5 |
0,75 |
0,47 |
0,41 |
1800 |
180 |
|
АС-14 |
0,6 |
- |
- |
- |
432 |
72 |
|
АС-14 |
0,6 |
0,3 |
- |
- |
432 |
72 |
|
АС-14 |
0,3 |
- |
- |
- |
216 |
36 |
|
- |
Номинальное рабочее напряжение Ue |
- |
- | |||
|
- |
125 В |
250 В |
- |
- |
- |
- |
|
DC-13 |
2,20 |
- |
- |
- |
275 |
275 |
|
DC-13 |
2,20 |
1,10 |
- |
- |
275 |
275 |
|
DC-13 |
1,10 |
- |
- |
- |
138 |
138 |
|
DC-13 |
1,10 |
0,55 |
- |
- |
138 |
138 |
|
DC-13 |
0,55 |
- |
- |
- |
69 |
69 |
|
DC-13 |
0,55 |
0,27 |
- |
- |
69 |
69 |
|
DC-13 |
0,22 |
- |
- |
28 |
28 | |
|
DC-13 |
0,22 |
0,10 |
- |
- |
28 |
28 |
Приложение С
(рекомендуемое)
С.1 Общие положения
Индуктивные нагрузки на постоянном токе, встречающиеся в цепях управления, обычно являются реле с электромагнитным приводом, контакторами и соленоидами с железным сердечником номинальной мощностью не более 50 Вт. Влияние таких нагрузок на контакты устройства со вспомогательными контактами определяется накопленной энергией катушки индуктивности, которая в свою очередь связана со средней скоростью повышения тока в катушке или со временем заряда катушки индуктивности.
Опытным путем установлено, что индуктивные нагрузки до 50 Вт почти всегда имеют время заряда (T0,95) до 95 % их полного значения тока не более 6 мс на ватт.
С.2 Конструкция
Для определения нагрузок, испытываемых контактами, применяемыми в цепях управления постоянного тока, могут быть использованы следующие индуктивные испытательные нагрузки.
Электромагнитная цепь состоит из двух твердых стальных сердечников диаметром 44,5 мм и длиной 158,7 мм, которые крепятся винтами обоими концами к двум жестким стальным ярмам размером 25,4 х 63,5 х 152,4 мм с расстоянием между центрами крепления 101,6 мм (см. рисунок С.1). Сталь имеет сопротивление от 13,3 до 19,9 мкОм/см. (Малоуглеродистые стали холодной обработки, такие как AISI 1010, 1015, 1018 или 116 отвечают этому требованию). На одном конце каждого сердечника между концом сердечника и ярмом размещен немагнитный разделитель толщиной, регулируемой от 0,127 до 0,762 мм. Немагнитные винты применяют для крепления ярма на конце со стороны немагнитного разделителя и стальные винты на другом конце.
Катушка, параметры обмотки которой приведены в таблице С.1, окружает один из сердечников. Ток в катушке, запитанной испытательным напряжением, регулируют до значения, указанного в таблице С.1, с помощью последовательно включенного резистора.
Толщину разделителя регулируют так, чтобы ток катушки устанавливался от нуля до 95 % его полного значения в пределах, показанных на рисунке С.2. Если кривая тока падает ниже минимального предела времени, сечение стального ярма увеличивают, а если выше максимального предела, сечение уменьшают.
Размеры в миллиметрах

Рисунок С.1 - Конструкция нагрузки для испытания контактов на постоянном токе
|
Конструкция катушки | |||||
|
Испытательное напряжение, В |
Число витков |
Сечение провода, мм2 |
Приблизительное сопротивление катушки, Ом |
Предел тока с последовательным сопротивлением, А |
Мощность при испытательном напряжении, Вт |
|
125 |
7000 |
0,52 |
74 |
1,10 |
138 |
|
250 |
14000 |
0,26 |
295 |
0,55 |
138 |
|
600 |
33400 |
0,10 |
1680 |
0,20 |
120 |

Рисунок С.2 - Пределы времени тока для испытания на постоянном токе (нагрузки)
Приложение ДА
(обязательное)
Таблица ДА.1
|
Обозначение ссылочного международного стандарта |
Степень соответствия |
Обозначение и наименование соответствующего межгосударственного стандарта |
|
IEC 60050-441:1984 |
IDT |
ГОСТ "Международный электротехнический словарь. Глава 441: Коммутационная аппаратура, аппаратура управления и предохранители" |
|
IEC 60065:1998 |
IDT |
ГОСТ IEC 60065-2013 "Аудио-, видео- и аналогичная электронная аппаратура. Требования безопасности" |
|
IEC 60112:1979 |
MOD |
ГОСТ 27473-87 "Материалы электроизоляционные твердые. Метод определения сравнительного и контрольного индексов трекингостойкости во влажной среде" |
|
IEC 60249-2 (все части) |
MOD |
ГОСТ 26246 (все части) Материал электроизоляционный фольгированный |
|
IEC 60384-14:1993 |
IDT |
ГОСТ "Конденсаторы постоянной емкости для электронной аппаратуры. Часть 14: Групповые технические условия: Конденсаторы постоянной емкости для подавления радиопомех и подключения к питающей магистрали" |
|
IEC 60617 (все части) |
- |
* |
|
IEC 60664-3:1992 |
IDT |
ГОСТ "Координация изоляции для оборудования низковольтных систем. Часть 3. Использование покрытий, заливки компаундом и формовки для защиты от загрязнений" |
|
IEC 60898:1995 |
IDT |
ГОСТ 30325-1995 "Аппаратура малогабаритная электрическая. Автоматические выключатели для защиты от сверхтоков бытового и аналогичного назначения" * |
|
IEC 60998-2-2:1991 |
IDT |
ГОСТ IEC 60998-2-2-2013 "Соединительные устройства для низковольтных цепей бытового и аналогичного назначения. Часть 2-2. Дополнительные требования к соединительным устройствам с безвинтовыми зажимами, используемыми в качестве отдельных" |
|
IEC 60947-5-1:1997 |
IDT |
ГОСТ IEC 60947-5-1-2014 "Аппаратура распределения и управления низковольтная. Часть 5-1. Аппараты и коммутационные элементы цепей управления. Электромеханические устройства цепей управления" |
|
IEC 60947-5-4:1996 |
IDT |
ГОСТ IEC 60947-5-4-2014 "Аппаратура распределения и управления низковольтная. Часть 5-4. Аппараты и коммутационные элементы цепей управления. Методы оценки эксплуатационных характеристик низкоэнергетических контактов. Специальные испытания" |
|
IEC 61008-1:1996 |
IDT |
ГОСТ IEC 61008-1-2012 "Выключатели автоматические, управляемые дифференциальным током, бытового и аналогичного назначения без встроенной защиты от сверхтоков. Часть 1. Общие требования и методы испытаний" |
|
IEC 61009-1:1996 |
IDT |
ГОСТ IEC 61009-1-2014 "Выключатели автоматические, срабатывающие от остаточного тока со встроенной защиты от тока перегрузки, бытовые и аналогичного назначения. Часть 1. Общие правила" |
|
IEC 61210:1993 |
IDT |
ГОСТ IEC 61210-2011 "Устройства присоединительные. Зажимы плоские быстросоединяемые для медных электрических проводников. Требования безопасности" |
|
ISO 306:1994 |
MOD |
ГОСТ 15088-2014 "Пластмассы. Метод определения температуры размягчения термопластов по Вика" |
|
* Соответствующий межгосударственный стандарт отсутствует. Примечание - В настоящей таблице использованы следующие условные обозначения степени соответствия стандартов: - IDT - идентичные стандарты; - MOD - модифицированные стандарты. | ||
──────────────────────────────
* В Российской Федерации действует ГОСТ Р 50345-2010 "Аппаратура малогабаритная электрическая. Автоматические выключатели для защиты от сверхтоков бытового и аналогичного назначения. Часть 1. Автоматические выключатели для переменного тока".
──────────────────────────────
Библиография
|
IEC 60112 |
Method for determining the comparative and the proof tracking indices of solid insulating materials under moist conditions 1) (Материалы электроизоляционные твердые. Методы определения нормативного и сравнительного индексов трекингостойкости) |
|
IEC 60445 |
Basic and safety principles for man-machine interface, marking and identification - Identification of equipment terminals and of terminations of certain designated conductors, including general rules for an alphanumeric system 1) (Обозначение выводов для оборудования и концов проводов определенного назначения и общие правила для буквенно-цифровой системы обозначения) |
|
IEC 60664-1:1992 |
Insulation coordination for equipment within low-voltage systems - Part 1: Principles, requirements and tests (Координация изоляции для оборудования в низковольтных системах. Часть 1. Принципы, требования и испытания) |
|
IEC 61867 |
Electrical accessories for household and similar use - Electromagnetic compatibility (EMC) 1) (Электрические принадлежности бытового и аналогичного назначения. Электромагнитная совместимость (ЭМС)) |
──────────────────────────────
1) На момент издания IEC 62019:2003, указанные стандарты находились в переиздании.




















