Введен в действие приказом Федерального агентства по техническому регулированию и метрологии от 29 ноября 2019 г. N 1305-ст
Межгосударственный стандарт ГОСТ 34614.4-2019 (EN 1176-4:2017)
"ОБОРУДОВАНИЕ И ПОКРЫТИЯ ИГРОВЫХ ПЛОЩАДОК. Часть 4. ДОПОЛНИТЕЛЬНЫЕ ТРЕБОВАНИЯ БЕЗОПАСНОСТИ И МЕТОДЫ ИСПЫТАНИЙ КАНАТНЫХ ДОРОГ"
Playground equipment and surfacing. Part 4. Additional specific safety requirements and test methods for cableways
МКС 97.200.40
Дата введения - 1 августа 2020 г.
Введен впервые
Предисловие
Цели, основные принципы и общие правила проведения работ по межгосударственной стандартизации установлены ГОСТ 1.0 "Межгосударственная система стандартизации. Основные положения" и ГОСТ 1.2 "Межгосударственная система стандартизации. Стандарты межгосударственные, правила и рекомендации по межгосударственной стандартизации. Правила разработки, принятия, обновления и отмены"
Сведения о стандарте
1 Подготовлен Рабочей группой, состоящей из представителей Научно-производственного республиканского унитарного предприятия "Белорусский государственный институт стандартизации и сертификации" (БелГИСС) и Федерального государственного унитарного предприятия "Российский научно-технический центр информации по стандартизации, метрологии и оценке соответствия" (ФГУП "СТАНДАРТИНФОРМ") на основе собственного перевода на русский язык немецкоязычной версии европейского стандарта, указанного в пункте 5
2 Внесен Государственным комитетом по стандартизации Республики Беларусь и Федеральным агентством по техническому регулированию и метрологии
3 Принят Межгосударственным советом по стандартизации, метрологии и сертификации (протокол от 13 ноября 2019 г. N 56)
За принятие проголосовали:
|
Краткое наименование страны по МК (ИСО 3166) 004-97
|
Код страны по МК (ИСО 3166) 004-97
|
Сокращенное наименование национального органа по стандартизации
|
|
Беларусь
|
BY
|
Госстандарт Республики Беларусь
|
|
Киргизия
|
KG
|
Кыргызстандарт
|
|
Россия
|
RU
|
Росстандарт
|
|
Таджикистан
|
TJ
|
Таджикстандарт
|
|
Узбекистан
|
UZ
|
Узстандарт
|
4 Приказом Федерального агентства по техническому регулированию и метрологии от 29 ноября 2019 г. N 1305-ст межгосударственный стандарт ГОСТ 34614.4-2019 (EN 1176-4:2017) введен в действие в качестве национального стандарта Российской Федерации с 1 августа 2020 г.
5 Настоящий стандарт является модифицированным по отношению к европейскому стандарту EN 1176-4:2017 "Оборудование и покрытия игровых площадок. Часть 4. Дополнительные требования безопасности и методы испытаний канатных дорог" ("Spielplatzgeräte und Spielplatzböden - Teil 4. Zusätzliche besondere sicherheitstechnische Anforderungen und Prüfverfahren für Seilbahnen", MOD) путем изменения отдельных фраз (слов, значений показателей, ссылок), которые выделены в тексте курсивом.
Сведения о соответствии ссылочных межгосударственных стандартов европейским стандартам, использованным в качестве ссылочных в примененном европейском стандарте, приведены в дополнительном приложении ДА
6 Введен впервые
Введение
Серия стандартов ГОСТ 34614 под общим наименованием "Оборудование и покрытия игровых площадок" включает в себя следующие части:
- часть 1. Общие требования безопасности и методы испытаний;
- часть 2. Дополнительные требования безопасности и методы испытаний качелей;
- часть 3. Дополнительные требования безопасности и методы испытаний горок;
- часть 4. Дополнительные требования безопасности и методы испытаний канатных дорог;
- часть 5. Дополнительные требования безопасности и методы испытаний каруселей;
- часть 6. Дополнительные требования безопасности и методы испытаний качалок;
- часть 7. Инструкции по установке, осмотру, техническому обслуживанию и эксплуатации;
- часть 10. Дополнительные требования безопасности и методы испытаний для полностью закрытого игрового оборудования;
- часть 11. Дополнительные требования безопасности и методы испытаний пространственных игровых сетей.
1 Область применения
Настоящий стандарт распространяется на канатные дороги, по которым или вдоль которых перемещаются дети под действием собственной массы. Настоящий стандарт устанавливает дополнительные требования безопасности к стационарно устанавливаемым детским канатным дорогам.
2 Нормативные ссылки
В настоящем стандарте использованы нормативные ссылки на следующие межгосударственные стандарты:
ГОСТ 34614.1-2019 Оборудование и покрытия для игровых площадок. Часть 1. Общие требования безопасности и методы испытаний;
ГОСТ 34614.2-2019 Оборудование и покрытия для игровых площадок. Часть 2. Дополнительные специальные требования безопасности и методы испытаний качелей;
ГОСТ 34614.6-2019 Оборудование и покрытия для игровых площадок. Часть 6. Дополнительные специальные требования безопасности и методы испытаний качалок.
Примечание - При пользовании настоящим стандартом целесообразно проверить действие ссылочных стандартов и классификаторов на официальном интернет-сайте Межгосударственного совета по стандартизации, метрологии и сертификации (www.easc.by) или по указателям национальных стандартов, издаваемым в государствах, указанных в предисловии, или на официальных сайтах соответствующих национальных органов по стандартизации. Если на документ дана недатированная ссылка, то следует использовать документ, действующий на текущий момент, с учетом всех внесенных в него изменений. Если заменен ссылочный документ, на который дана датированная ссылка, то следует использовать указанную версию этого документа. Если после принятия настоящего стандарта в ссылочный документ, на который дана датированная ссылка, внесено изменение, затрагивающее положение, на которое дана ссылка, то это положение применяется без учета данного изменения. Если ссылочный документ отменен без замены, то положение, в котором дана ссылка на него, применяется в части, не затрагивающей эту ссылку.
3 Термины и определения
В настоящем стандарте применены следующие термины с соответствующими определениями:
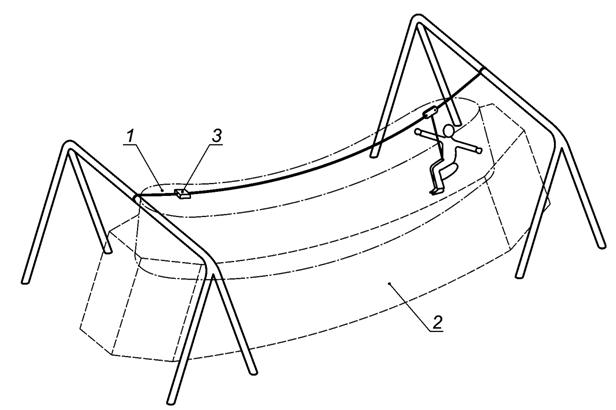
3.1 канатная дорога (cableway): Оборудование детской игровой площадки, на котором или вдоль каната которого могут перемещаться дети под действием силы тяжести.
Примечание - См. рисунок 1.
3.2 канатная дорога с подвесом (hanging type cableway): Канатная дорога, обеспеченная подвесной системой, которая включает захват для рук пользователя.
3.3 канатная дорога с сиденьем (seating type cableway): Канатная дорога, оборудованная подвесной системой с сиденьем.
3.4 зона старта (starting point): Участок оборудования, на котором пользователь может взяться за захват или сесть на сиденье и привести в движение оборудование.
3.5 зона движения (area of travel): Участок, на котором пользователь может свободно передвигаться без препятствий.
3.6 зона остановки (terminus): Наиболее удаленный от места посадки участок, которого может достичь пользователь после перемещения через зону движения.
3.7 каретка (traveller): Подвижный элемент оборудования, обеспечивающий перемещение пользователя вдоль каната под воздействием его собственной массы.
Примечание - См. рисунок 1.
3.8 подвесной элемент (suspension element): Элемент оборудования между кареткой и сиденьем или захватом для рук.
3.9 подвесная система (suspension assembly): Система элементов, расположенная под кареткой.
Пример - Подвесной системой может быть захват для рук и/или сидение.

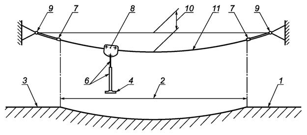
а) Канатная дорога с сиденьем

b) Канатная дорога с захватом
1 - зона остановки/зона старта; 2 - зона движения; 3 - зона остановки/зона старта; 4 - сиденье; 5 - захват для рук; 6 - подвесной элемент; 7 - устройство остановки; 8 - каретка; 9 - точка крепления каната; 10 - провисание каната; 11 - канат
Рисунок 1 - Элементы канатной дороги
4 Требования безопасности
4.1 Общие положения
Канатные дороги должны соответствовать требованиям ГОСТ 34614.1, если в настоящем стандарте не установлено иное.
4.2 Основание и точки крепления каната
Основание и точки крепления каната должны быть сконструированы таким образом, чтобы обеспечивались расчетные нагрузки (статические и динамические), передаваемые канатом в соответствии с ГОСТ 34614.1.
На канатной дороге должно быть предусмотрено регулировочное устройство, обеспечивающее надлежащее провисание каната в течение всего срока службы.
4.3 Расчет нагрузок, действующих на канат канатной дороги
Канат должен выдерживать воздействующие на него нагрузки в соответствии с ГОСТ 34614.1-2019, приложение А.
4.4 Остановка
При проведении контроля функции торможения в зоне остановки в соответствии с приложением А скорость каретки должна постепенно снижаться до ее полной остановки, при этом подвесной элемент не должен раскачиваться на угол более 45°.
Примечание - Данное испытание проводят с учетом начальной скорости.
4.5 Каретка
Каретка должна быть сконструирована таким образом, чтобы предотвратить соскальзывание, и должна быть защищена с боков элементами, ограничивающими доступ пользователя к подвижным элементам.
В отверстия для каната может проходить стержень-палец диаметром 8 мм (см. ГОСТ 34614.1-2019, рисунок D.10 приложения D) при этом при погружении на 70 мм стержень не должен застревать между любыми подвижными элементами.
На каждом канате может быть только одна каретка.
Каретка и подвесной элемент не должны повреждать канат при эксплуатации.
4.6 Подвесной элемент
Для канатной дороги с сиденьем не допускается применение жестких подвесных элементов.
Конструкция гибкого подвесного элемента должна исключать опасность удушения.
Если каретка оснащена тяговым элементом, его конструкция должна исключать опасность удушения.
4.7 Параллельные канатные дороги
Для параллельных канатных дорог расстояние между канатами должно быть не менее 2000 мм.
4.8 Захваты для рук
Конструкция захвата для рук пользователя на подвесной канатной дороге должна предусматривать возможность его высвобождения от захвата в любое время. Если захват имеет форму замкнутой петли, то она не должна быть из гибкого материала, который может затянуться вокруг кистей или рук, препятствуя быстрому освобождению пользователя. Конструкция петли должна обеспечивать соблюдение требований ГОСТ 34614.1-2019, пункт 4.2.7.
Должна быть исключена возможность взобраться на захват.
Конец жесткого захвата (не имеющего форму петли) должен соответствовать требованиям ГОСТ 34614.6-2019, приложение Е.
Примечание - Данное требование необходимо для снижения опасности повреждения глаз концом захвата.
Подвесные элементы канатной дороги, за которые пользователи могут держаться с помощью рук, должны соответствовать требованиям ГОСТ 34614.1-2019, пункт 4.2.4.6.
4.9 Сиденья
Сиденья должны иметь конструкцию, позволяющую пользователю в любой момент спрыгнуть с него. Не допускается применение сидений, имеющих форму петли или замкнутого кольца.
При проведении испытания в соответствии с ГОСТ 34614.2-2019, приложение С максимальные значения ускорений не должны превышать 50 g, а среднее напряжение смятия - 90 Н/см2.
4.10 Скорость
При проведении испытания в соответствии с приложением В максимальная скорость каретки не должна превышать 7 м/с.
4.11 Высота свободного падения
Высота свободного падения для всех типов канатных дорог должна быть измерена в ненагруженном состоянии, а сиденье или захват должны быть подвешены вертикально под канатом. Для канатных дорог с катанием в положении сидя высота свободного падения не должна превышать 2000 мм.
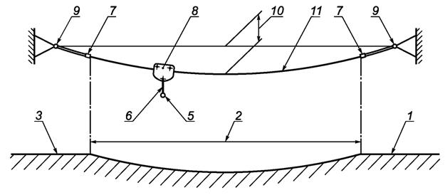
Для канатных дорог с катанием в висячем положении высота свободного падения должна быть измерена от захвата до поверхности игровой площадки за вычетом 1500 мм, так как пользователь не должен иметь доступ к канату (см. рисунок 2). В подвешенном положении высота свободного падения Н2 не должна превышать 1500 мм (см. рисунок 2).
Провисание каната и, следовательно, расстояние между поверхностью игровой площадки и канатом, поверхностью игровой площадки и захватом (клиренс), поверхностью игровой площадки и сиденьем (клиренс) зависят от температуры. Максимальные и минимальные установленные размеры заданы при расчетной температуре 15 °С.

С1 - расстояние от подвесного каната до сиденья; С2 - расстояние от подвесного каната до захвата; H1 - клиренс; Н2 - высота свободного падения
Рисунок 2 - Определение высоты каната, клиренса и высоты свободного падения
4.12 Клиренс
Клиренс - это расстояние от нижней части сиденья или нижней точки захвата до поверхности игровой площадки (см. таблицу 1).
Таблица 1 - Клиренс
|
Тип
|
Клиренс
|
|
Канатная дорога с сиденьем (см. рисунок 2)
|
Не менее 350 мм - под нагрузкой 69,5 кг
|
|
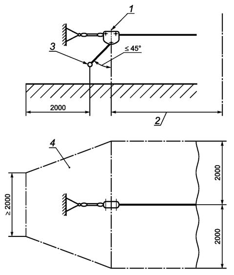
Для всех канатных дорог с подвесом, за исключением дорог с жестким подвесным элементом (см. рисунок 3)
|
Не менее 1500 мм в зоне старта - в ненагруженном состоянии;
не менее 2000 мм в зоне движения - под нагрузкой 69,5 кг
|
|
Канатная дорога с подвесом и жестким подвесным элементом
|
Не менее 2000 мм на старте и участке движения - под нагрузкой 69,5 кг
|
|
Примечание - Для канатной дороги с подвесом, где каретка, подвесной элемент и захват для рук жестко зафиксированы вместе, клиренс должен быть увеличен с целью снижения опасности травмирования головы.
|

1 - зона старта; 2 - зона движения; - клиренс
Рисунок 3 - Канатная дорога с подвесом, определение клиренса
4.13 Расстояние от подвесного каната до сиденья/захвата
Расстояние от подвесного каната канатной дороги до сиденья, измеренное, как показано на рисунке 2, должно быть не менее 2100 мм, за исключением того случая, когда подвижные элементы каретки защищены, тогда оно может быть уменьшено до расстояния не менее 1800 мм, так как доступ для пользователя отсутствует и исключен риск защемления пальцев.
Длина подвесного каната захвата С2, измеренная, как показано на рисунке 2, должна составлять не менее 300 мм.
4.14 Зона приземления и пространство падения
В пространстве падения и зоне приземления не должно быть таких препятствий, которые могут травмировать пользователя, пространство падения и зона приземления должны соответствовать зонам приземления, представленным на рисунках 4 и 5. В дополнение к требованиям, установленным ГОСТ 34614.1, необходимо обеспечить, чтобы размеры пространства падения и зоны приземления составляли не менее 2000 мм в любую сторону от оси каната и на расстояние не менее 2000 мм от точки максимального раскачивания захвата или сиденья (при раскачивании под углом не более 45° при плотном прилегании каретки к устройству остановки). Зона приземления может быть уменьшена симметрично в зоне остановки до общей ширины не менее 2000 мм (см. рисунок 4). В зоне приземления должен быть обеспечен необходимый уровень демпфирования удара, эквивалентный высоте свободного падения 1000 мм. При высоте свободного падения более 1000 мм, свойства ударопоглощающего покрытия должны быть пропорционально увеличены.
Примечание - Пример пространства падения приведен на рисунке 6.
Если стартовая платформа с трапом для доступа изготовлена из различных материалов, включающих древесину и металл, то ударопоглощающее покрытие может не применяться до высоты свободного падения не более 1000 мм.

1 - конец движения; 2 - зона движения; 3 - максимальная точка отклонения при раскачивании захвата или сиденья (см. 4.14); 4 - зона приземления
Рисунок 4 - Зона приземления в зоне остановки

1 - ось подвесного элемента; 2 - свободное пространство (см. ГОСТ 34614.1-2019, пункт 4.2.8.2.3); 3 - ширина зоны приземления (см. 4.14)
Рисунок 5 - Свободное пространство и зона приземления вдоль каната

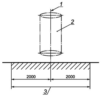
1 - свободное пространство; 2 - пространство падения; 3 - остановка
Рисунок 6 - Пример свободного пространства и пространства падения канатной дороги
5 Протоколы испытаний
Протоколы испытаний должны соответствовать требованиям ГОСТ 34614.1-2019, см. раздел 5 и включать следующую информацию:
a) подтверждение того, что протоколы испытаний оформлены в соответствии с настоящим стандартом;
b) подтверждение соответствия требованиям ГОСТ 34614.1, относящимся к пространственным игровым сетям, и настоящему стандарту;
c) обозначение настоящего стандарта.
6 Информация, предоставляемая поставщиком/изготовителем
В дополнение к требованиям ГОСТ 34614.1-2019, раздел 6 изготовитель канатной дороги должен предоставить следующую информацию:
a) данные по специальному инструменту для регулировки провисания каната;
b) инструкции по правильной установке оборудования на конструкции основания;
c) значения допустимых уклонов трассы;
d) максимальное и минимальное значения провисания каната;
e) инструкции по установке и регулировке каната (в зависимости от температуры, см. 4.11);
f) инструкции по правильному креплению каната (радиус подвеса);
g) инструкции по техническому обслуживанию и уходу за элементами, включая допустимые уклоны трассы;
h) периодичность проверки конструкции.
7 Маркировка оборудования
Пространственные игровые сетки должны иметь маркировку в соответствии с ГОСТ 34614.1-2019, см. раздел 7.
Маркировку наносят на оборудование на видном и доступном месте при установке. Маркировка должна быть видна после монтажа оборудования на месте эксплуатации.
Приложение А
(обязательное)
Метод контроля функции торможения
А.1 Основные положения
При использовании канатных дорог скорость движения влияет на торможение. Высокие скорости в зоне остановки могут быть причиной сильного раскачивания пользователя, как показано на рисунке 4. Для проверки эффективности торможения и угла раскачивания, сиденье или захват нагружают грузом массой (69,5 ± 0,5) кг (см. ГОСТ 34614.1-2019, приложение А) и приводят в движение из зоны старта по направлению к зоне остановки. Сиденье или захват оценивают на возможность плавного торможения в зоне остановки и измеряют угол раскачивания.
А.2 Оборудование
Груз массой (69,5 ± 0,5) кг.
А.3 Порядок проведения
Сиденье или захват нагружают грузом (см. А.2). Приводят в движение каретку в зоне старта, отклоняя подвесной элемент на угол 30° в направлении, противоположном движению, и отпускают.
Визуально оценивают на возможность плавного торможения в зоне остановки и регистрируют максимальный угол отклонения подвесного элемента при раскачивании в момент остановки.
Приложение В
(обязательное)
Метод определения максимальной скорости каретки
В.1 Основные положения
Сиденье или захват нагружают грузом массой (69,5 ± 0,5) кг (см. ГОСТ 34614.1-2019, приложение А) и приводят в движение из зоны старта. Определяют скорость каретки.
В.2 Оборудование
Груз массой (69,5 ± 0,5) кг.
В.3 Порядок проведения
Сиденье или захват нагружают грузом (см. В.2). Приводят в движение каретку в зоне старта, отклоняя подвесной элемент на угол 30° в направлении, противоположном движению, и отпускают.
Скорость каретки, м/с, рассчитывают по времени и пройденному пути.
Приложение ДА
(справочное)
Сведения о соответствии ссылочных межгосударственных стандартов европейским стандартам, использованным в качестве ссылочных в примененном европейском стандарте
Таблица ДА.1
|
Обозначение ссылочного межгосударственного стандарта
|
Степень соответствия
|
Обозначение и наименование ссылочного европейского стандарта
|
|
ГОСТ 34614.1-2019
|
MOD
|
EN 1176-1:2017 "Оборудование и покрытия игровых площадок. Общие требования безопасности и методы испытаний"
|
|
ГОСТ 34614.2-2019
|
MOD
|
EN 1176-2:2017 "Оборудование и покрытия игровых площадок. Дополнительные требования безопасности и методы испытаний качелей"
|
|
ГОСТ 34614.6-2019
|
MOD
|
EN 1176-6:2017 "Оборудование и покрытия игровых площадок. Дополнительные требования безопасности и методы испытаний качалок"
|
|
Примечание - В настоящей таблице использовано следующее условное обозначение степени соответствия стандартов:
- MOD - модифицированные стандарты.
|