ГОСТ 34614.6-2019 (EN 1176-6:2017) ОБОРУДОВАНИЕ И ПОКРЫТИЯ ИГРОВЫХ ПЛОЩАДОК. Часть 6. ДОПОЛНИТЕЛЬНЫЕ ТРЕБОВАНИЯ БЕЗОПАСНОСТИ И МЕТОДЫ ИСПЫТАНИЙ КАЧАЛОК
Playground equipment and surfacing. Part 6. Additional specific safety requirements and test methods for rocking equipment
МКС 97.200.40
Дата введения - 1 августа 2020 г.
Введен впервые
Предисловие
Цели, основные принципы и общие правила проведения работ по межгосударственной стандартизации установлены ГОСТ 1.0 "Межгосударственная система стандартизации. Основные положения" и ГОСТ 1.2 "Межгосударственная система стандартизации. Стандарты межгосударственные, правила и рекомендации по межгосударственной стандартизации. Правила разработки, принятия, обновления и отмены"
Сведения о стандарте
1 Подготовлен рабочей группой, состоящей из представителей научно-производственного республиканского унитарного предприятия "Белорусский государственный институт стандартизации и сертификации" (БелГИСС) и Федерального государственного унитарного предприятия "Российский научно-технический центр информации по стандартизации, метрологии и оценке соответствия" (ФГУП "СТАНДАРТИНФОРМ") на основе собственного перевода на русский язык немецкоязычной версии стандарта, указанного в пункте 5
2 Внесен Государственным комитетом по стандартизации Республики Беларусь и Федеральным агентством по техническому регулированию и метрологии
3 Принят Межгосударственным советом по стандартизации, метрологии и сертификации (протокол от 13 ноября 2019 г. N 56)
За принятие проголосовали:
|
Краткое наименование страны по МК (ИСО 3166) 004-97 |
Код страны по МК (ИСО 3166) 004-97 |
Сокращенное наименование национального органа по стандартизации |
|
Беларусь |
BY |
Госстандарт Республики Беларусь |
|
Киргизия |
KG |
Кыргызстандарт |
|
Россия |
RU |
Росстандарт |
|
Таджикистан |
TJ |
Таджикстандарт |
|
Узбекистан |
UZ |
Узстандарт |
4 Приказом Федерального агентства по техническому регулированию и метрологии от 29 ноября 2019 г. N 1307-ст межгосударственный стандарт ГОСТ 34614.6-2019 (EN 1176-6:2017) введен в действие в качестве национального стандарта Российской Федерации с 1 августа 2020 г.
5 Настоящий стандарт является модифицированным по отношению к европейскому стандарту EN 1176-6:2017 "Оборудование и покрытия игровых площадок. Часть 6. Дополнительные требования безопасности и методы испытаний качалок" ("Spielgeräte und Oberflächen - Teil 6: zusätzliche spezifische Sicherheitsanforderungen und Prüfνerfahren für schaukelgeräte", MOD), путем изменения отдельных фраз (слов, значений показателей, ссылок), которые выделены в тексте курсивом.
Сведения о соответствии ссылочных межгосударственных стандартов европейским стандартам, использованным в качестве ссылочных в примененном европейском стандарте, приведены в дополнительном приложении ДА
6 Введен впервые
Введение
Серия стандартов ГОСТ 34614 под общим наименованием "Оборудование и покрытия игровых площадок" состоит из следующих частей:
часть 1 - Общие требования безопасности и методы испытаний;
часть 2 - Дополнительные требования безопасности и методы испытаний качелей;
часть 3 - Дополнительные требования безопасности и методы испытаний горок;
часть 4 - Дополнительные требования безопасности и методы испытаний канатных дорог;
часть 5 - Дополнительные требования безопасности и методы испытаний каруселей;
часть 6 - Дополнительные требования безопасности и методы испытаний качалок;
часть 7 - Инструкции по установке, осмотру, техническому обслуживанию и эксплуатации;
часть 10 - Дополнительные требования безопасности и методы испытаний для полностью закрытого игрового оборудования;
часть 11 - Дополнительные требования безопасности и методы испытаний пространственных игровых сетей.
Настоящий стандарт распространяется на качалки, которые являются оборудованием игровых площадок, как установлено в 3.1. Некоторые требования, установленные в настоящем стандарте, допускается применять также для оборудования, для которого качание не является основной функцией.
Настоящий стандарт устанавливает дополнительные требования безопасности и методы испытаний для стационарных качалок и качалок-балансиров, предназначенных для детей.
Требования настоящего стандарта обеспечивают защиту пользователя от возможных опасностей, возникающих при эксплуатации оборудования.
Примечание - Рекомендации по оценке безопасности других видов качалок/качалок-балансиров приведены в приложении А.
В настоящем стандарте использована нормативная ссылка на следующий межгосударственный стандарт:
ГОСТ 34614.1-2019 (EN 1176-1:2017) Оборудование и покрытие игровых площадок. Часть 1. Общие требования безопасности и методы испытаний
В настоящем стандарте применены термины по ГОСТ 34614.1, а также следующие термины с соответствующими определениями:
3.1 качалки; качалки-балансиры (rocking equipment; seesaw): Оборудование, приводимое в движение пользователем и характеризующееся в общем случае наличием жесткого элемента, качающегося вокруг центральной опоры.
Примечания
1 Оборудование может иметь одно или несколько мест для сидения или стояния.
2 На рисунке 1а) приведены основные элементы качалок. На рисунке 1b) приведены основные элементы качалок-балансиров.
3 Движение качалок/качалок-балансиров зависит от типа и конфигурации устройства крепления (см. рисунки 2-7).

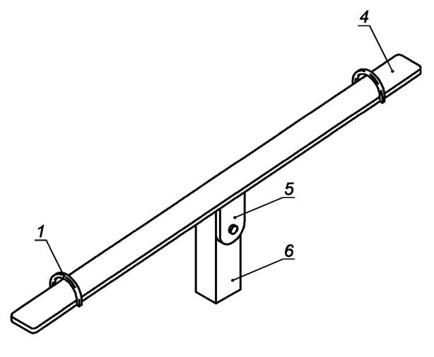
а) Качалка

b) Качалка-балансир
1 - рукоятка; 2 - корпус; 3 - опора для ног; 4 - место для сидения/стояния; 5 - несущий элемент; 6 - основание
Рисунок 1 - Основные элементы качалок/качалок-балансиров
3.2 осевые качалки-балансиры (тип 1) [axial seesaw (type 1)]: Оборудование, которое совершает движение только в вертикальной плоскости.
Примечание 1 - См. рисунок 2.

Рисунок 2 - Пример осевых качалок-балансиров (тип 1)
3.3 качалки-балансиры/качалки на одной опоре (типы 2А и 2В) (single point seesaw/single point rocking equipment): Оборудование с несущим элементом на одной точке опоры.
Примечания
1 См. рисунок 3.
2 К типовым несущим элементам на одной точке опоры относят: спиральные пружины, рессоры, блоки кручения и сжатия.
|
|
|
|
а) Тип 2А с определенным основным направлением движения |
b) Тип 2В с движением в разных направлениях |
Рисунок 3 - Примеры качалок-балансиров/качалок на одной опоре (типы 2А и 2В)
3.4 качалки-балансиры/качалки с несколькими опорами (типы 3А и 3В) (multi point seesaw/multi point rocking equipment): Оборудование с несколькими несущими элементами.
Примечания
1 См. рисунок 4.
2 Направление движения зависит от расположения и типа несущих элементов.
|
|
|
|
а) Тип 3А с определенным направлением движения |
b) Тип 3В с движением в разных направлениях |
Рисунок 4 - Примеры качалок-балансиров/качалок на нескольких опорах (типы 3А и 3В)
3.5 шатунная качалка (тип 4) (rocking seesaw): Оборудование, устанавливаемое таким образом, чтобы движение, которое, как правило, является горизонтальным, направлялось несколькими параллельными осями только в одном направлении (назад-вперед).
Примечание - См. рисунок 5.

Рисунок 5 - Пример шатунной качалки (тип 4)
3.6 маховые качалки с опорой, расположенной над посадочными местами (качалка с вращением вокруг центральной оси) (тип 5) (sweeping seesaw supported above the users position): Качалка, обеспечивающая как вертикальное, так и горизонтальное движение (многостороннее движение), в результате которого возникают маховые движения.
Примечание - См. рисунок 6.

1 - круговое движение вокруг точки крепления; 2 - движение при качании
Рисунок 6 - Пример маховой качалки с опорой, расположенной над посадочными местами
3.7 качалки-балансиры с одной осью, расположенной на высоте (тип 6) (overhead single axis seesaw): Оборудование с одной осью качания, расположенной на высоте, и местами для пользователей на гибких подвесах, расположенных ниже, создающих дополнительное колебательно-вращательное движение.
Примечание - См. рисунок 7.

1 - ограниченное колебательное движение; 2 - движение при качании
Рисунок 7 - Пример качалок-балансиров с одной осью, расположенной на высоте (тип 6)
3.8 корпус оборудования (equipment body): Основная подвижная часть оборудования, соединенная с несущим(и) элементом(ами).
3.9 несущий элемент (supporting component): Элемент конструкции, который соединяет корпус оборудования с основанием.
3.10 основание (anchorage): Элемент конструкции, обеспечивающий установку и фиксацию оборудования на покрытии/поверхности игровой площадки.
3.11 амортизация (damping): Суммарное действие несущего(их) элемента(ов), направленное на гашение скорости движения оборудования и ударного действия в крайних положениях.
3.12 диапазон движения (range of movement): Максимальное горизонтальное и/или вертикальное отклонение сиденья или места для стояния при использовании от центральной точки в положении равновесия до максимально удаленного положения.
4.1 Общие положения
Качалки/качалки-балансиры должны соответствовать требованиям ГОСТ 34614.1, если в настоящем стандарте не установлено иное.
4.2 Высота свободного падения
Максимальная высота свободного падения, измеренная по центру сиденья/места для стояния в крайних положениях движения, должна соответствовать значениям, установленным в таблице 1.
|
Тип |
Максимальная высота свободного падения (см. 4.2), мм |
Максимальный угол наклона сиденья/места для стояния (см. 4.4) |
Клиренс 1), мм |
|
1 |
1500 |
20 |
Не менее 230 |
|
2А |
1000 |
30 |
Произвольный |
|
2В |
1000 |
30 |
Не менее 230 |
|
3А |
1000 |
30 |
Произвольный |
|
3В |
1000 |
30 |
Не менее 230 |
|
4 |
2000 |
20 |
Не менее 230 |
|
5 |
2000 |
- |
Не менее 230 |
|
6 |
- |
Не менее 230 | |
|
1) За исключением типа 4 (см. 5.3) минимальный клиренс может не обеспечиваться, если: - конструкцией обеспечивается эффект амортизации, например, когда несущий элемент является пружиной; - движение конструкции осуществляется главным образом в горизонтальном направлении (отклоняющий эффект). | |||
4.3 Угол наклона сиденья/места для стояния
При проведении испытаний в соответствии с приложением В, максимальный угол наклона сиденья/места для стояния должен соответствовать значениям, установленным в таблице 1.
4.4 Защемление, раздавливание
При проведении испытаний в соответствии с приложением С проемы во всех доступных соединениях и несущих элементах должны соответствовать ГОСТ 34614.1-2019 (пункты 4.2.6 и 4.2.7).
Примечание - Данное требование предназначено для предотвращения защемления и раздавливания.
4.5 Ограничение движения
Движение оборудования должно постепенно замедляться по отношению к крайним точкам таким образом, чтобы не могло произойти внезапной остановки или внезапного изменения направления движения, например в результате амортизации.
Примечания
1 Эффект амортизации может быть:
a) постоянным, если эффект сохраняется на протяжении всего диапазона движения; или
b) переменным, если эффект зависит от скорости, массы и/или положения качающихся элементов конструкции оборудования.
2 Благодаря замедлению движения снижается риск повреждения позвоночника в результате внезапной ударной нагрузки, например, путем применения пружины или других амортизирующих элементов.
4.6 Опоры для ног
Опоры для ног должны быть прочно закреплены и не должны проворачиваться без применения инструмента.
При испытаниях согласно приложению Е ни один из конструктивных элементов опоры для ног не должен выходить за пределы калибра.
4.7 Опоры для рук
Опоры для рук должны быть прочно закреплены и не должны проворачиваться без применения инструмента.
Для оборудования, доступного для пользования маленькими детьми, размер рукояток следует выбирать из минимальных значений диапазона. Рекомендуемый диаметр - не более 30 мм.
При испытании согласно приложению Е конструктивные элементы опоры для рук не должны выходить за пределы калибра.
Примечание - Данное требование направлено на снижение опасности повреждения глаз выступающими конструктивными элементами опор для рук (поручней, рукояток), обеспечивая площадь торцевого конца опор для рук (поручней, рукояток) не менее 15 см2.
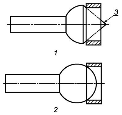
4.8 Форма профиля
Конструктивные элементы бокового профиля, которые могут ударить проходящего мимо ребенка или пользователя оборудования, не должны иметь выступы с радиусом закругления менее 20 мм (см. рисунок 8).
Изменения в профиле качалки на переднем и заднем торцах качалки, выступающие из общего профиля качалки, должны быть закруглены с радиусом не менее 20 мм.

Рисунок 8 - Форма профиля со скругленными углами
4.9 Защемление (застревание)
Конструкция оборудования должна исключать возможность защемления пользователя между нижней точкой подвижного элемента оборудования и поверхностью игровой площадки (см. таблицу 1). Это может быть достигнуто путем:
a) наличия минимального клиренса 230 мм; или
b) использования амортизатора;
c) применения в конструкции оборудования отклоняющего эффекта.
При проведении испытаний в соответствии с приложением С, если несущий элемент является доступным, он не должен сжиматься более чем на 5 %, и должна обеспечиваться возможность введения стержня диаметром 12 мм в зазоры переменной величины в несущем элементе, имеющие ширину более 8 мм при расположении качалки во всех крайних положениях.
4.10 Пространство падения
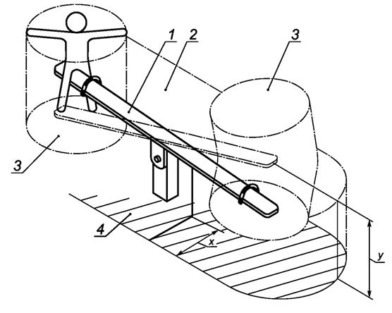
Для оборудования типов 1, 2, 3 и 4 при измерении пространства падения по периметру должно обеспечиваться расстояние не менее 1000 мм (см. рисунок 9). Если оборудование предназначено для использования в положении стоя, то пространство падения должно составлять не менее 1500 мм.
Для оборудования типов 2, 3 и 4 зона приземления должна иметь критическую высоту падения не менее 600 мм.

1 - пространство, занимаемое оборудованием; 2 - пространство падения; 3 - свободное пространство; 4 - зона приземления; х - расширение пространства падения; y - критическая высота падения
Рисунок 9 - Примеры пространства падения с качалки типа 1
Для оборудования типов 5 и 6 требования к зоне и пространству падения должны соответствовать ГОСТ 34614.1-2019 (подпункты 4.2.8.2.4 и 4.2.8.2.5).
4.11 Прикрытие основания
У качалок со свободной высотой падения менее 600 мм, предназначенных для одного пользователя, любая выступающая из поверхности часть основания должна иметь размеры менее чем 1,3 ширины сидения (см. рисунок 10).

Рисунок 10 - Прикрытие основания
5.1 Осевые качалки-балансиры (тип 1)
Отклонение в горизонтальной плоскости продольной оси оборудования, измеренное при испытании в соответствии с приложением D на расстоянии 2000 мм от оси опоры, должно быть не более 140 мм (см. рисунок 11).
При этом должна быть обеспечена предусматриваемая амортизация.

1 - сиденье
Рисунок 11 - Отклонения в горизонтальной плоскости качалок-балансиров типа 1
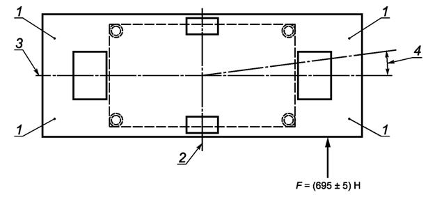
5.2 Качалки-балансиры/качалки на нескольких опорах (тип 3А)
Для оборудования типа 3А при проведении испытаний в соответствии с приложением D под нагрузкой, определяемой исходя из количества пользователей, предусмотренного для данного оборудования, угол отклонения продольной оси при вращении вокруг вертикальной оси не должен превышать 5° (см. рисунок 12).

1 - положение сиденья; 2 - горизонтальная ось качалки; 3 - продольная ось качалки; 4 - отклонение продольной оси при приложении нагрузки F
Рисунок 12 - Отклонение для оборудования на нескольких опорах типа 3А (вид сверху)
5.3 Шатунная качалка (тип 4)
Общий диапазон движения не должен превышать 600 мм.
Клиренс во всех положениях карусели должен составлять не менее 230 мм.
5.4 Качалки с одной осью вращением вокруг одной центральной оси, расположенной на высоте (тип 6)
Высота свободного падения качалки с одной осью, расположенной на высоте, не должна превышать 1000 мм при измерении согласно рисунку 12.
Свободное пространство качалки типа 6 для пользователей, находящихся в сидячем положении, должно соответствовать требованиям ГОСТ 34614.1-2019 (подпункт 4.2.8.2.3).

α - максимальный угол отклонения перекладины в процессе эксплуатации; Y - высота свободного падения
Рисунок 13 - Высота свободного падения качалки-балансира с одной осью, расположенной на высоте (тип 6)
Так как основным движением пользователя является качание, угол отклонения конструктивного элемента, совершающего маховые движения, при эксплуатации не должен превышать 20°.
5.5 Принудительное перемещение
Требования по принудительному перемещению не распространяются на оборудование типов 2, 3 и 4.
Протоколы испытаний должны соответствовать ГОСТ 34614.1-2019 (раздел 5) и содержать дополнительные сведения:
- подтверждение, что протоколы испытаний оформлены в соответствии с настоящим стандартом;
- подтверждение соответствия требованиям настоящего стандарта и ГОСТ 34614.1;
- обозначение настоящего стандарта, включая дату утверждения.
Маркировка качалок должна соответствовать ГОСТ 34614.1-2019 раздел 7.
Маркировка должна быть нанесена в том месте, где она будет видна при установке качалок на месте эксплуатации.
Приложение А
(обязательное)
Некоторые виды оборудования могут иметь несущие элементы, предназначенные для обеспечения движения. Такое оборудование характеризуется различными размерами и конфигурациями, и, возможно, для обеспечения безопасности такого оборудования необходимо будет установить дополнительные требования, которые не рассматриваются в настоящем стандарте.
В случае возникновения противоречий при определении требований и методов испытаний, представленных в настоящем стандарте, следует отдать предпочтение профессиональному решению аккредитованной испытательной лаборатории.
Приложение В
(обязательное)
В.1 Основные положения
К сиденью/месту для стояния, расположенному в наиболее неблагоприятном положении, прикладывают нагрузку и измеряют угол наклона, при этом проверяют, касаются ли крайние точки оборудования поверхности игровой площадки.
В.2 Оборудование
В.2.1 Устройство для приложения нагрузки в соответствии с ГОСТ 34614.1-2019 (таблица А.1).
В.2.2 Устройство для приложения нагрузки для оборудования типа 2В, обеспечивающее нагрузки:
- (167,0 ± 2,1) Н - для детей возрастной группы до 4 лет;
- (279 ± 5) Н - для детей возрастной группы до 8 лет.
В.3 Порядок проведения
В.3.1 Нагрузку прикладывают к каждому сиденью/месту для стояния в положении равновесия в соответствии с ГОСТ 34614.1-2019 (таблица А.1). Место для пользователя отклоняют на максимальный установленный угол наклона согласно таблице 1 и отпускают. Если посадочное место не двигается к поверхности игровой площадки или возвращается к своему положению равновесия, то оборудование соответствует требованиям к максимально возможному углу наклона сиденья/места для стояния.
В.3.2 Для оборудования типа 2В прикладывают нагрузку в соответствии с В.2.2, при этом выбирают наиболее неблагоприятное расположение для предусмотренной возрастной группы пользователей.
Измеряют и регистрируют угол посадочного места для сидения/стояния.
Проверяют и регистрируют, касаются ли поверхности игровой площадки крайние точки оборудования.
Приложение С
(обязательное)
С.1 Основные положения
К несущим элементам оборудования прикладывают соответствующую нагрузку и измеряют сжатие несущих элементов. Оборудование приводят в движение в направлении его крайних положений. Проверяют на возможность проникновения стержня диаметром 12 мм между несущим элементом и его смежными элементами при движении оборудования.
С.2 Оборудование
С.2.1 Устройство, обеспечивающее приложение нагрузки (695 ± 5) Н вертикально по осевой линии к поверхности каждого сиденья/места для стояния.
С.2.2 Устройство для испытания оборудования типа 2В, обеспечивающее приложение нагрузки:
- (167,0 ± 2,1) Н - для детей возрастной группы до 4 лет;
- (279 ± 5) Н - для детей возрастной группы до 8 лет.
С.2.3 Стержень диаметром 12 мм из ГОСТ 34614.1-2019, приложение D, рисунок D.13 для испытания цепей.
С.3 Порядок проведения
С.3.1 К оборудованию прикладывают нагрузку (695 ± 5) Н (см. 2.1) и отмечают, сжимается ли несущий элемент более чем на 5 %. Для оборудования типа 2В прикладывают нагрузку в соответствии с С.2.2, при этом выбирают возрастную группу, которая предположительно представляет самый неблагоприятный случай.
С.3.2 Оборудование приводят в движение до того момента, пока оно не достигнет одной из своих крайних точек. Проверяют возможность введения стержня (С.2.3) между несущим элементом и его смежными элементами.
Испытание проводят во всех крайних положениях.
Регистрируют, можно ли вставить стержень во всех крайних положениях.
Приложение D
(обязательное)
D.1 Основные положения
Прикладывают нагрузку и измеряют отклонение продольной оси оборудования в горизонтальной плоскости.
D.2 Оборудование
D.2.1 Устройство, обеспечивающее приложение горизонтальной нагрузки (695 ± 5) Н.
D.3 Порядок проведения
Горизонтальную нагрузку (695 ± 5) Н прикладывают перпендикулярно к центру расположения сиденья/места для стояния.
Если амортизирующий механизм включает элементы, установленные в покрытии, то следует обеспечивать контакт качалок-балансиров с амортизирующим элементом.
Измеряют отклонение от исходного положения.
Регистрируют результаты.
Приложение Е
(обязательное)
Е.1 Оборудование
Калибр - согласно рисунку Е.1.

Рисунок Е.1 - Кольцевой калибр
Е.2 Порядок проведения
Калибр (см. рисунок Е.1) прикладывают к выступающим конструктивным элементам опор для рук или ног вдоль центральной оси. Определяют, выступает ли опора для рук или ног за пределы калибра (см. рисунок Е.2).

1 - недопустимо; 2 - допустимо; 3 - выступающий элемент
Рисунок Е.2 - Установка калибра
Приложение ДА
(справочное)
Таблица ДА.1
|
Обозначение ссылочного межгосударственного стандарта |
Степень соответствия |
Обозначение и наименование ссылочного европейского стандарта |
|
ГОСТ 34614.1-2019 |
MOD |
EN 1176-1:2017 "Оборудование и покрытия детских игровых площадок. Часть 1. Общие требования безопасности и методы испытаний" |
|
Примечание - В настоящей таблице использовано следующее условное обозначение степени соответствия стандарта: - MOD - модифицированный стандарт. | ||






