ГОСТ 34614.5-2019 (EN 1176-5:2008) ОБОРУДОВАНИЕ И ПОКРЫТИЯ ИГРОВЫХ ПЛОЩАДОК. Часть 5. ДОПОЛНИТЕЛЬНЫЕ ТРЕБОВАНИЯ БЕЗОПАСНОСТИ И МЕТОДЫ ИСПЫТАНИЙ КАРУСЕЛЕЙ
Playground equipment and surfacing. Part 5. Additional safety requirements and test methods for carousels
МКС 97.200.40
Дата введения - 1 августа 2020 г.
Введен впервые
Предисловие
Цели, основные принципы и общие правила проведения работ по межгосударственной стандартизации установлены ГОСТ 1.0 "Межгосударственная система стандартизации. Основные положения" и ГОСТ 1.2 "Межгосударственная система стандартизации. Стандарты межгосударственные, правила и рекомендации по межгосударственной стандартизации. Правила разработки, принятия, обновления и отмены"
Сведения о стандарте
1 Подготовлен рабочей группой, состоящей из представителей научно-производственного республиканского унитарного предприятия "Белорусский государственный институт стандартизации и сертификации" (БелГИСС) и Федерального государственного унитарного предприятия "Российский научно-технический центр информации по стандартизации, метрологии и оценке соответствия" (ФГУП "СТАНДАРТИНФОРМ") на основе собственного перевода на русский язык немецкоязычной версии стандарта, указанного в пункте 5
2 Внесен Государственным комитетом по стандартизации Республики Беларусь и Федеральным агентством по техническому регулированию и метрологии
3 Принят Межгосударственным советом по стандартизации, метрологии и сертификации (протокол от 13 ноября 2019 г. N 56)
За принятие проголосовали:
|
Краткое наименование страны по МК (ИСО 3166) 004-97 |
Код страны по МК (ИСО 3166) 004-97 |
Сокращенное наименование национального органа по стандартизации |
|
Беларусь |
BY |
Госстандарт Республики Беларусь |
|
Киргизия |
KG |
Кыргызстандарт |
|
Россия |
RU |
Росстандарт |
|
Таджикистан |
TJ |
Таджикстандарт |
|
Узбекистан |
UZ |
Узстандарт |
4 Приказом Федерального агентства по техническому регулированию и метрологии от 29 ноября 2019 г. N 1306-ст межгосударственный стандарт ГОСТ 34614.5-2019 (EN 1176-5:2008) введен в действие в качестве национального стандарта Российской Федерации с 1 августа 2020 г.
5 Настоящий стандарт является модифицированным по отношению к европейскому стандарту EN 1176-5:2008 "Оборудование и покрытия игровых площадок. Часть 5. Дополнительные требования безопасности и методы испытаний каруселей" ("Spielgeräte und Oberflächen - Teil 6: zusätzliche spezifische Sicherheitsanforderungen und Prüfνerfahren für Karussells", MOD) путем изменения отдельных фраз (слов, значений показателей, ссылок), которые выделены в тексте курсивом.
Сведения о соответствии ссылочных межгосударственных стандартов европейским стандартам, использованным в качестве ссылочных в примененном европейском стандарте, приведены в дополнительном приложении ДА
6 Введен впервые
Введение
Серия стандартов ГОСТ 34614 под общим наименованием "Оборудование и покрытия игровых площадок" состоит из следующих частей:
часть 1 - Общие требования безопасности и методы испытаний;
часть 2 - Дополнительные требования безопасности и методы испытаний качелей;
часть 3 - Дополнительные требования безопасности и методы испытаний горок;
часть 4 - Дополнительные требования безопасности и методы испытаний канатных дорог;
часть 5 - Дополнительные требования безопасности и методы испытаний каруселей;
часть 6 - Дополнительные требования безопасности и методы испытаний качалок;
часть 7 - Инструкции по установке, осмотру, техническому обслуживанию и эксплуатации;
часть 10 - Дополнительные требования безопасности и методы испытаний для полностью закрытого игрового оборудования;
часть 11 - Дополнительные требования безопасности и методы испытаний пространственных игровых сетей.
Настоящий стандарт распространяется на карусели, которые используются в качестве оборудования игровых площадок, как установлено в 3.1-3.6.
Настоящий стандарт устанавливает дополнительные требования безопасности к стационарным каруселям диаметром более 500 мм, предназначенным для детей.
Настоящий стандарт не распространяется на карусели, для которых вращение не является основной функцией.
Настоящий стандарт не распространяется на карусели с механизированным приводом, карусели для парков и барабаны.
В настоящем стандарте использованы нормативные ссылки на следующие межгосударственные стандарты:
ГОСТ 34614.1-2019 (EN 1176-1:2017) Оборудование и покрытие игровых площадок. Часть 1. Общие требования безопасности и методы испытаний
ГОСТ 34614.2-2019 (EN 1176-2:2017) Оборудование и покрытие игровых площадок. Часть 2. Дополнительные требования безопасности и методы испытаний качелей
Примечание - При пользовании настоящим стандартом целесообразно проверить действие ссылочных стандартов и классификаторов на официальном интернет-сайте Межгосударственного совета по стандартизации, метрологии и сертификации (www.easc.by) или по указателям национальных стандартов, издаваемым в государствах, указанных в предисловии, или на официальных сайтах соответствующих национальных органов по стандартизации. Если на документ дана недатированная ссылка, то следует использовать документ, действующий на текущий момент, с учетом всех внесенных в него изменений. Если заменен ссылочный документ, на который дана датированная ссылка, то следует использовать указанную версию этого документа. Если после принятия настоящего стандарта в ссылочный документ, на который дана датированная ссылка, внесено изменение, затрагивающее положение, на которое дана ссылка, то это положение применяется без учета данного изменения. Если ссылочный документ отменен без замены, то положение, в котором дана ссылка на него, применяется в части, не затрагивающей эту ссылку.
В настоящем стандарте применены термины по ГОСТ 34614.1, а также следующие термины с соответствующими определениями:
3.1 карусель (carousel): Оборудование, имеющее одно или несколько посадочных мест, вращающееся вокруг вертикальной или наклонной оси без раскачивания.
3.2 карусель типа А (вращающиеся сиденья) (carousel type A, rotating chairs): Карусель без сплошной вращающейся платформы, на которой места для пользователей выполнены в виде сидений или поручней, которые жестко соединены с центральной осью через несущую конструкцию (см. рисунок 1).

Рисунок 1 - Пример карусели типа А (вращающиеся сиденья)
3.3 карусель типа В (классическая карусель) (carousel type В, classic carousel): Карусель с вращающейся платформой, на которой посадочные места размещены непосредственно по внешней стороне платформы и/или оборудованы дополнительными сиденьями или поручнями, жестко закрепленными на платформе и/или на центральной оси (см. рисунок 2).

Рисунок 2 - Пример карусели типа В (классическая карусель)
3.4 карусель типа С (вращающиеся грибки, подвесные поручни) (carousel type С, spinning mushrooms, hanging glides): Карусель, у которой посадочные места жестко закреплены на нижней стороне несущей конструкции (вращающиеся грибки) или размещены на гибких подвесных элементах (подвесные поручни), закрепленных на нижней стороне несущей конструкции (см. рисунок 3).

Рисунок 3 - Пример карусели типа С (вращающиеся грибки, подвесные поручни)
3.5 карусель типа D (карусель, движущаяся по направляющей) (carousel type D, track-driven carousel): Карусель, вращающаяся по ровной или волнообразной круговой направляющей, приводимая в движение с помощью мускульной силы (рук или ног), передаваемой ведущим колесам.

Вид X (увеличено)
Рисунок 4 - Пример карусели типа D (карусель, движущаяся по направляющим)
3.6 карусель типа Е (большой вращающийся диск) (carousel type Е, giant revolving disks): Карусель, представляющая собой большой вращающийся диск с наклонной осью (как установлено в 4.5), не имеющая конкретно обозначенных мест для пользователей (см. рисунок 5).
Примечание - Карусель приводится во вращение весом и физической силой пользователя для достижения скорости вращения не более скорости бега пользователя.

Рисунок 5 - Пример карусели типа Е (большой вращающийся диск)
3.7 посадочные места (user station): Сиденье или платформа, и/или поручни на карусели, которые позволяют ребенку находиться на месте или приводить в движение карусель.
Примечание - Посадочные места могут иметь жесткое соединение с несущей конструкцией либо размещены на ней так, что могут перемещаться.
3.8 область карусели (carousel range): Пространство, в котором при эксплуатации происходит движение посадочных мест карусели и их несущей конструкции.
3.9 клиренс Н2 (ground clearance): Расстояние между движущимися элементами конструкции карусели и поверхность игровой площадки (см. рисунок 6).
3.10 диаметр карусели d (carousel diameter): Диаметр окружности, описываемой во время эксплуатации карусели наиболее удаленным от центра оси вращения конструктивным элементом.
3.11 ось карусели (carousel axis): Центральная ось, жестко соединенная с фундаментом или элементами монтажа, на которой расположена вращающаяся несущая конструкция.
Примечание - Если конструкция карусели имеет круговую направляющую, ось карусели представляет собой теоретическую линию.
4.1 Общие положения
Карусели должны соответствовать требованиям ГОСТ 34614.1, если в настоящем стандарте не установлено иное.
Примечание - Требования к высоте расположения поручней карусели, приведенные в ГОСТ 34614.1-2019, пункт 4.2.4.2, не применяют.
4.2 Высота свободного падения и зона приземления
Высота свободного падения карусели в любой точке должна составлять не более 1000 мм, за исключением каруселей типа С.
Для каруселей типа С высота свободного падения должна быть измерена от захвата до поверхности игровой площадки за вычетом 1500 мм (см. также 5.3.4).
Поверхность в зоне приземления вокруг карусели должна иметь критическую высоту падения не менее 1000 мм.
4.3 Свободное пространство/пространство падения
Основной риск каруселей связан с центробежной силой, возникающей при вращении. Свободное пространство и пространство падения карусели совпадают. Наглядное изображение свободного пространства/пространства падения приведено на рисунке 6.
Примечание - Следует учитывать также тот факт, что под воздействием центробежной силы пользователь может покинуть карусель во время движения. Поэтому следует обеспечить, чтобы в свободном пространстве отсутствовали препятствия.

a)

b)
1 - платформа карусели; 2 - свободное пространство; d - диаметр карусели; l - свободное пространство/пространство падения вокруг карусели; H1 - пространство над каруселью; Н2 - клиренс
Рисунок 6 - Наглядное изображение свободного пространства, пространства падения и клиренса каруселей
Если не установлено иное, свободное пространство/пространство падения карусели должно быть следующим:
a) не менее 2000 мм - вокруг карусели;
b) не менее 2000 мм - свободное пространство над каруселью.
Если карусели установлены рядом с другим оборудованием для игровых площадок, зоны приземления карусели и другого оборудования для игровых площадок не должны пересекаться.
4.4 Посадочные места
Дополнительно к требованиям ГОСТ 34614.1, относительно мест защемления частей тела пользователей (например, рук, ног), следует также обратить внимание на возможность зацепления или защемления одежды (например, курток) во время выхода пользователей с карусели.
Посадочные места карусели типа А, которые оборудованы сиденьями, должны быть оснащены спинками или поручнями.
4.5 Оси
Угол наклона оси опоры карусели не должен превышать более 5° от вертикали.
4.6 Скорость вращения
Карусели, оборудованные механическими устройствами повышения скорости, например педалями или ручным приводом, не должны развивать максимальную скорость на краю конструкции при нормальных или предсказуемых условиях эксплуатации более 5 м/с.
Примечание - Карусели, не оборудованные механическими устройствами повышения скорости, не должны достигать скорости вращения 5 м/с, так как это выше обычной скорости бега ребенка.
4.7 Поручни
Если места для пользователей оснащены поручнями, они должны соответствовать требованиям ГОСТ 34614.1-2019 (пункт 4.2.4.6).
4.8 Несущая способность и устойчивость
Несущую способность определяют по количеству пользователей на одной карусели, которое должно соответствовать максимальному количеству установленных посадочных мест, или должно быть рассчитано согласно ГОСТ 34614.1-2019 (пункт А.2.6.2).
Для каруселей следует учитывать следующие варианты нагружения:
a) нагрузка Ftot равномерно распределена по всей карусели;
b) нагрузка Ftot (1/4 Lpr или 1/2 Аpr) равномерно распределена по одной половине карусели.
5.1 Карусель типа А (вращающиеся сиденья)
Диаметр карусели d должен составлять не более 2000 мм (см. рисунок 6).
Клиренс Н2 должен составлять не менее 400 мм (см. рисунок 6).
На каруселях должно быть предусмотрено не менее трех посадочных мест, равномерно распределенных по всей окружности карусели.
Все элементы конструкции, вращающиеся вокруг оси карусели, не должны иметь заусенцев и должны иметь радиус закругления не менее 5 мм.
Сиденья и конструктивные элементы, выступающие над краем сиденья или внешними краями/сторонами (в обоих направлениях вращения) как элементы конструкции карусели, не должны развивать максимальное ускорение более 50 g, а среднее значение напряжения смятия не должно превышать 90 Н/см2 при испытании согласно ГОСТ 34614.1-2019 (приложение В).
5.2 Карусель типа В (классическая карусель)
5.2.1 Общие положения
Для данного типа карусели существует опасность защемления одежды пользователя под платформой карусели. Дополнительную опасность могут представлять такие элементы, как болты и надстроечные элементы, выступающие в пространство между нижней стороной платформы карусели и установочной поверхностью.
Для предотвращения рисков, связанных с этими опасностями, необходимо соблюдать требования 5.2.2-5.2.6.
Карусель должна иметь прочную круглую сплошную платформу. Находящиеся на платформе элементы должны вращаться в том же направлении, что и платформа.
Надстроечные элементы не должны выступать за внешний край платформы.
Карусели типа В, оборудованные расположенным в центре рулевым колесом, должны иметь конструкцию, не допускающую каких-либо защемлений; например, центральная несущая стойка и рулевое колесо должны быть полностью закрыты и не иметь каких-либо выступающих частей.
Карусель может иметь платформу:
- на одном уровне с поверхностью игровой площадки согласно 5.2.2; или
- выступающую над поверхностью игровой площадки на высоту не менее 60 мм.
5.2.2 Вращающаяся платформа на одном уровне с установочной поверхностью
Зазор по вертикали между поверхностью игровой площадки и внешним краем платформы должен быть не более 8 мм при измерении вдоль радиуса карусели (см. рисунок 7).
Смещение по вертикали между верхней поверхностью платформы и поверхностью игровой площадки должно быть не более 20 мм (см. рисунок 7).

1 - ось вращения; А - зазор по вертикали; В - смещение по вертикали
Рисунок 7 - Зазор и смещение по вертикали
5.2.3 Вращающаяся платформа, выступающая над поверхностью игровой площадки
Если клиренс до поверхности площадки под каруселью составляет 60-110 мм (см. рисунок 8а), то его протяженность должна составлять минимум 300 мм от края карусели по направлению к оси, клиренс от нижней части платформы до других поверхностей должен быть не менее 60 мм. Нижняя поверхность вращающейся платформы должна быть ровной на расстоянии первых 500 мм по направлению к оси.
Если клиренс между поверхностью игровой площадки и нижней частью вращающейся платформы составляет 110-400 мм, то вращающаяся платформа должна соответствовать 5.2.4 или 5.2.6.
Если клиренс составляет более 400 мм [как показано на рисунках 8b) и 8с)], то нижняя сторона вращающейся платформы должна быть ровной на всей протяженности.

a)

b)

c)
──────────────────────────────
а Ровная нижняя сторона вращающейся платформы.
──────────────────────────────
1 - ось; 2 - вращающаяся платформа; 3 - фундамент; 4 - поверхность игровой площадки
Рисунок 8 - Клиренс под каруселью типа В
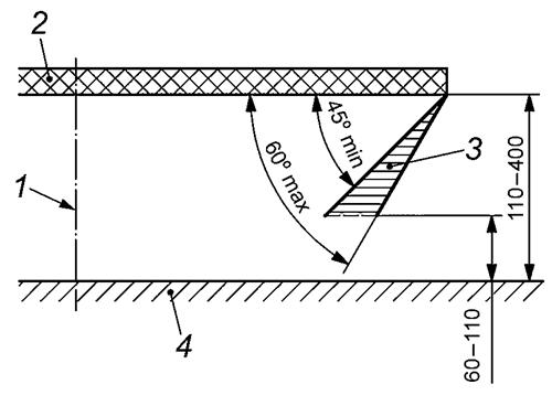
5.2.4 Вращающаяся платформа с клиренсом 110 - 400 мм, оборудованная защитной юбкой
Если расстояние (клиренс) от поверхности игровой площадки до нижней стороны вращающейся платформы составляет 110 - 400 мм, защитная юбка не должна выступать за пределы заштрихованной зоны как показано на рисунке 9.
Необходимо обеспечивать на всей карусели минимальный клиренс 110 мм (см. рисунок 9) для того, чтобы не допустить защемления.
Расстояние между поверхностью игровой площадки и нижней точкой защитной юбки должно составлять 60-110 мм. Защитная юбка может размещаться в пределах 45° - 60° от платформы карусели.
Защитную юбку изготавливают из прочного материала для обеспечения ее защитных свойств в течение всего периода эксплуатации карусели.

1 - ось; 2 - платформа карусели; 3 - область допустимого размещения защитной юбки карусели; 4 - поверхность игровой площадки
Рисунок 9 - Требования к защитной юбке, если клиренс вращающейся платформы составляет 110-400 мм
5.2.5 Вращающаяся платформа с клиренсом более 400 мм, оборудованная защитной юбкой
Если расстояние от поверхности игровой площадки до нижней стороны вращающейся платформы составляет более 400 мм, защитная юбка не должна выступать за пределы заштрихованной зоны, как приведено на рисунке 10.
Конструкция профиля защитной юбки должна быть такой, чтобы по мере удаления от оси вращения увеличивался бы ее клиренс.
Расстояние между поверхностью игровой площадки и нижней точкой защитной юбки должно составлять от 60 до 110 мм. Защитная юбка не должна располагаться под углом более 45° к платформе карусели.
Защитную юбку изготавливают из прочного материала, обеспечивающего ее защитные функции в течение всего периода эксплуатации карусели.

1 - платформа карусели; 2 - область допустимого размещения защитной юбки карусели; 3 - поверхность игровой площадки
Рисунок 10 - Требования к защитной юбке, если клиренс под вращающейся платформой составляет более 400 мм
5.2.6 Вращающаяся платформа с клиренсом под ней более 110 мм без защитной юбки
Нижняя часть вращающейся платформы карусели с клиренсом более 110 мм должна представлять собой сплошную ровную поверхность. Расстояние между поверхностью и поверхностью игровой площадки должно либо оставаться неизменным [см. рисунок 8 b)], либо уменьшаться от периферии платформы в сторону оси [см. рисунок 8 с)].
5.3 Карусель типа С (вращающиеся грибки, подвесные поручни)
5.3.1 Общие положения
Подвесные посадочные места должны быть расположены на одной высоте. Элементы подвеса посадочных мест должны быть гибкими.
Примечание - Данное условие можно обеспечить использованием канатов или цепей.
Если опоры для рук имеют жесткую и несплошную конструкцию, минимальная свободная высота под ними должна составлять 1800 мм. Ниже данного уровня не должны располагаться какие-либо жесткие несплошные элементы.
5.3.2 Надежность конструкции
При испытаниях согласно ГОСТ 34614.2-2019 (приложение С) на элементах конструкции не должны появляться трещины, следы остаточной деформации или повреждения, соединения не должны ослабевать. Не должно быть никаких следов износа элементов, видимых невооруженным глазом.
5.3.3 Требования к ударной прочности подвесных посадочных мест
При испытаниях согласно ГОСТ 34614.2-2019 (приложение В) посадочных мест, расположенных на высоте менее 2 м от поверхности игровой площадки, максимальное значение ускорения не должно превышать 50 g, а среднее значение напряжения смятия в момент удара - не более 90 Н/см2. Испытания проводят на демонтированных сиденьях.
5.3.4 Свободное пространство/пространство падения
На каруселях типа С, оборудованных подвесными посадочными местами, свободное пространство и пространство падения измеряют при отклонении подвесов посадочных мест на угол 30° к вертикали.
Дополнительно к вышеуказанному пространству добавляют область шириной не менее 1000 мм, внутри которой не должно быть препятствий.
5.4 Карусель типа D (карусель, движущаяся по направляющим)
5.4.1 Приводы
Конструкция ручного или педального привода должна позволять пользователю вращать его при помощи рук или ног. Ручные или педальные приводы должны быть оснащены механизмом свободного хода.
Если привод колес осуществляется с помощью цепных, зубчатых передач, карданных валов или аналогичных устройств, то он должен быть защищен корпусом со всех сторон для предотвращения доступа к механизму.
Хотя бы один из размеров любого доступного отверстия в корпусе карусели не должен превышать 5 мм.
Расстояние между рукояткой и корпусом и/или другими неподвижными элементами конструкции должно быть не менее 12 мм. Наличие острых кромок не допускается.
Кромки защитного корпуса, приводов, педалей и других элементов, с которыми возможен контакт пользователя, должны иметь радиус закругления не менее 3 мм и не иметь заусенцев.
Корпуса должны быть соединены с элементами оборудования таким образом, чтобы исключалась возможность случайного отсоединения и снятия их без применения инструмента.
5.4.2 Ведущие колеса
Ведущие колеса, приводящие в движение карусель, движущуюся по направляющим посредством мышечной силы, должны быть закрыты, чтобы исключить контакт с ними при эксплуатации.
5.4.3 Элементы несущей конструкции
Элементы несущей конструкции, к которым непосредственно крепятся посадочные места и на которых установлены приводы, должны быть расположены на вращающейся оси.
При проведении испытаний согласно приложению А, за исключением каруселей, движущихся по направляющим с прямым приводом ведущих колес, элементы несущей конструкции не должны приподниматься более чем на 100 мм.
5.4.4 Направляющие
Карусели, движущиеся по направляющим, за исключением каруселей, движущихся по направляющим с прямым приводом ведущих колес, должны иметь такую конструкцию, чтобы верхние края направляющих располагались на уровне установочной поверхности. Если направляющие имеют волнообразную форму, то и установочная поверхность должна иметь соответствующую форму.
Оборудование с прямым приводом ведущих колес должно иметь такую конструкцию, при которой доступ к пространству между ведущим колесом и направляющими невозможен. Максимальное расстояние между ведущим колесом и направляющими не должно превышать 8 мм.
5.5 Карусель типа Е (большой вращающийся диск)
5.5.1 Общие положения
Большие вращающиеся диски должны иметь форму круга с центральной осью вращения (т.е. они вращаются вокруг своей центральной точки крепления).
Примечания
1 Данное требование предусмотрено для предотвращения выталкивания пользователя с оборудования при подъеме платформы карусели при вращении.
2 Наклон платформы создает значительные нагрузки на конструкции. Конструкция опорного подшипника и фундамент должны выдерживать такие нагрузки.
5.5.2 Верхняя поверхность
Верхняя поверхность большого вращающегося диска должна быть сплошной, ровной, без выступов.
Примечание - Верхняя поверхность может находиться в эксплуатации, пока на ней не появятся создающие опасность движения неровности, а края и выступы профиля остаются закругленными.
Наличие поручней и перил не допускается.
5.5.3 Нижняя поверхность
Нижняя поверхность больших вращающихся дисков должна быть сплошной и ровной без радиальных изменений клиренса.
5.5.4 Клиренс
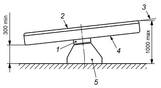
Клиренс должен быть не менее 300 мм при использовании сыпучего материала покрытия и не менее 400 мм для покрытий, изготовленных из сплошных материалов, например синтетических материалов. Измерения проводят как показано на рисунке 11.
5.5.5 Свободное пространство/пространство падения
Свободное пространство вокруг большого вращающегося диска должно составлять не менее 3000 мм (см. l на рисунке 6).

1 - подшипник; 2 - верхняя поверхность; 3 - наклон; 4 - нижняя поверхность; 5 - опора/фундамент
Рисунок 11 - Пример клиренса карусели типа Е (большой вращающийся диск)
Протоколы испытаний должны соответствовать ГОСТ 34614.1-2019 (раздел 5) и содержать следующие дополнительные сведения:
- подтверждение, что протоколы испытаний оформлены в соответствии с настоящим стандартом;
- подтверждение соответствия требованиям ГОСТ 34614.1;
- обозначение настоящего стандарта, включая дату утверждения.
Маркировка каруселей должна соответствовать ГОСТ 34614.1-2019 (раздел 7).
Маркировка должна быть нанесена в том месте, где она будет видна при установке карусели на месте эксплуатации.
Приложение А
(обязательное)
А.1 Краткое описание
Испытательную нагрузку прикладывают к конструкции карусели вертикально вдоль оси вала вращения, для того чтобы проверить возможность приподнимания карусели, отсоединения от вала и смещения элементов несущей конструкции.
А.2 Метод испытания
Испытательную нагрузку (500 ± 10) Н прикладывают к вращающейся конструкции карусели вертикально вдоль оси несущей конструкции, чтобы проверить возможность отсоединения карусели от несущего вала, и регистрируют следующие данные:
а) отсоединилась ли несущая конструкция от вала вращения;
б) если несущая конструкция не отсоединилась от вала вращения, следует указать размер смещения в миллиметрах.
Приложение ДА
(справочное)
Таблица ДА.1
|
Обозначение ссылочного межгосударственного стандарта |
Степень соответствия |
Обозначение и наименование ссылочного европейского стандарта |
|
ГОСТ 34614.1-2019 |
MOD |
EN 1176-1:2017 "Оборудование и покрытия детских игровых площадок. Часть 1. Общие требования безопасности и методы испытаний" |
|
ГОСТ 34614.2-2019 |
MOD |
EN 1176-2:2017 "Оборудование игровых площадок. Часть 2. Дополнительные специальные требования безопасности и методы испытаний качелей" |
|
Примечание - В настоящей таблице использовано следующее условное обозначение степени соответствия стандартов: - MOD - модифицированные стандарты. | ||


