ГОСТ IEC 62841-2-1-2019 МАШИНЫ РУЧНЫЕ, ПЕРЕНОСНЫЕ И САДОВО-ОГОРОДНЫЕ ЭЛЕКТРИЧЕСКИЕ. БЕЗОПАСНОСТЬ И МЕТОДЫ ИСПЫТАНИЙ. Часть 2-1. ЧАСТНЫЕ ТРЕБОВАНИЯ К РУЧНЫМ СВЕРЛИЛЬНЫМ И УДАРНЫМ СВЕРЛИЛЬНЫМ МАШИНАМ
Electric motor-operated hand-held tools, transportable tools and lawn and garden machinery. Safety and test methods. Part 2-1. Particular requirements for hand-held drills and impact drills
МКС 25.140.20
IDT
Дата введения - 1 июля 2020 г.
Взамен ГОСТ IEC 60745-2-1-2014
Предисловие
Цели, основные принципы и общие правила проведения работ по межгосударственной стандартизации установлены ГОСТ 1.0 "Межгосударственная система стандартизации. Основные положения" и ГОСТ 1.2 "Межгосударственная система стандартизации. Стандарты межгосударственные, правила и рекомендации по межгосударственной стандартизации. Правила разработки, принятия, обновления и отмены"
Сведения о стандарте
1 Подготовлен Акционерным обществом "ИНТЕРСКОЛ" (АО "ИНТЕРСКОЛ") на основе собственного перевода на русский язык англоязычной версии стандарта, указанного в пункте 5
2 Внесен Межгосударственным техническим комитетом по стандартизации МТК 262 "Инструмент механизированный и ручной"
3 Принят Межгосударственным советом по стандартизации, метрологии и сертификации (протокол от 30 октября 2019 г. N 123-П)
За принятие проголосовали:
|
Краткое наименование страны по МК (ИСО 3166) 004-97 |
Код страны по МК (ИСО 3166) 004-97 |
Сокращенное наименование национального органа по стандартизации |
|
Беларусь |
BY |
Госстандарт Республики Беларусь |
|
Киргизия |
KG |
Кыргызстандарт |
|
Россия |
RU |
Росстандарт |
|
Узбекистан |
UZ |
Узстандарт |
4 Приказом Федерального агентства по техническому регулированию и метрологии от 30 октября 2019 г. N 1117-ст межгосударственный стандарт ГОСТ IEC 62841-2-1-2019 введен в действие в качестве национального стандарта Российской Федерации с 1 июля 2020 г.
5 Настоящий стандарт идентичен международному стандарту IEC 62841-2-1:2017 "Машины ручные, переносные и садово-огородные электрические. Безопасность. Часть 2-1. Частные требования к ручным сверлильным и ударным сверлильным машинам" ("Electric motor-operated hand-held tools, transportable tools and lawn and garden machinery - Safety - Part 2-1: Particular requirements for handheld drills and impact drills", IDT).
Международный стандарт разработан Техническим комитетом Международной электротехнической комиссии IEC/TC 116 "Безопасность ручного электрического механизированного инструмента".
Официальные экземпляры международного стандарта, на основе которого подготовлен настоящий стандарт, имеются в Федеральном информационном фонде стандартов.
Наименование настоящего стандарта изменено относительно наименования указанного международного стандарта для приведения в соответствие с ГОСТ 1.5 (подраздел 3.6).
При применении настоящего стандарта рекомендуется использовать вместо ссылочных международных стандартов соответствующие им межгосударственные стандарты, сведения о которых приведены в дополнительном приложении ДА
6 Настоящий стандарт взаимосвязан с техническими регламентами Таможенного союза TP ТС 010/2011 "О безопасности машин и оборудования", TP ТС 004/2011 "О безопасности низковольтного оборудования" и реализует их требования безопасности
7 Взамен ГОСТ IEC 60745-2-1-2014
Введение
Настоящий стандарт входит в серию стандартов, устанавливающих требования безопасности и методы испытаний ручных, переносных и садово-огородных электрических машин.
Настоящий стандарт применяют совместно с IEC 62841-1-2014.
Настоящий стандарт устанавливает частные требования безопасности и методы испытаний ручных сверлильных и ударных сверлильных машин, которые дополняют, изменяют или заменяют соответствующие разделы, подразделы, пункты, таблицы и рисунки IEC 62841-1:2014. Пункты, дополняющие IEC 62841-1:2014, имеют нумерацию начиная со 101.
Номера разделов, пунктов, таблиц и рисунков настоящего стандарта соответствуют приведенным в IEC 62841-2-1.
В настоящем стандарте методы испытаний ручных сверлильных и ударных сверлильных машин выделены курсивом.
Примечание - По рекомендации МЭК внимание национальных комитетов обращается на тот факт, что производителям машин и испытательным лабораториям потребуется переходный период после принятия данного международного стандарта для изготовления продукции в соответствии с новыми требованиями и переоснащения оборудованием (приборами) для проведения новых или пересмотренных испытаний, поэтому настоящий стандарт рекомендуется ввести в действие в качестве национального стандарта не ранее чем через 36 мес с даты его публикации.
Применяют соответствующий раздел IEC 62841-1 со следующим дополнением.
Дополнение:
Настоящий стандарт распространяется на ручные сверлильные и ударные сверлильные машины. Настоящий стандарт распространяется на сверлильные машины, используемые для завинчивания и отвинчивания винтов с помощью специальных отверток-вставок (бит).
Настоящий стандарт не распространяется на перфораторы даже в том случае, если они могут быть использованы как сверлильная машина.
Примечание - На перфораторы распространяется IEC 62841-2-6.
Применяют соответствующий раздел IEC 62841-1 со следующим дополнением.
Дополнение:
ISO 185:2005, Grey cast irons - Classification
ISO 630-2:2011, Structural steels - Part 2: Technical delivery conditions for structural steels for general purposes
Применяют соответствующий раздел IEC 62841-1 со следующими дополнениями.
Дополнение:
3.101 сверлильная машина (drill): Машина, оснащенная типичным трехкулачковым или коническим патроном и специально предназначенная для сверления отверстий в различных материалах, таких как металл, пластмасса, древесина и т.п.
Примечание - Со сверлильной машиной допускается использование иных рабочих органов (инструментов), отличных от сверл, таких как зенкеры и отвертки вставки.
3.102 ударная сверлильная машина (impact drill): Машина, оснащенная патроном, специально предназначенная для выполнения отверстий в бетоне, камне и других аналогичных материалах, по внешнему виду и конструкции похожая на сверлильную машину, но в отличие от нее обладает встроенным ударным механизмом, воздействующим в осевом направлении на вращающийся выходной шпиндель.
Примечание 1 - Некоторые ударные сверлильные машины имеют устройство для отключения ударного механизма, т.е. допускается использование как обычной сверлильной машины.
Примечание 2 - С ударной сверлильной машиной допускается использование иных рабочих органов (инструментов), отличных от сверл, таких как зенкеры и отвертки вставки.
3.103 сверлильная машина с алмазной коронкой (diamond core drill): Сверлильная или ударная сверлильная машина, предназначенная для работы с алмазной коронкой и оснащенная или не оснащенная жидкостной системой для бурения таких материалов, как бетон или кирпичная кладка (см. рисунок I.103).
Применяют соответствующий раздел IEC 62841-1.
Применяют соответствующий раздел IEC 62841-1 со следующим дополнением.
5.17 Дополнение:
Массу машины определяют с учетом сверлильного патрона и вспомогательной рукоятки, при ее наличии.
Применяют соответствующий раздел IEC 62841-1.
Применяют соответствующий раздел IEC 62841-1.
Применяют соответствующий раздел IEC 62841-1 со следующими дополнениями.
8.1 Дополнение:
Сверлильные и ударные сверлильные машины должны иметь следующую маркировку:
- номинальная частота вращения на холостом ходу.
8.3 Дополнение:
Патроны сверлильных и ударных сверлильных машин должны иметь маркировку наибольшего диаметра закрепляемого рабочего инструмента.
8.14.1 Дополнение:
Сверлильные машины должны содержать дополнительные указания, приведенные в 8.14.1.101. Эта часть может быть напечатана отдельно от раздела "Общие предупреждения по безопасности электрической машины".
8.14.1.101 Дополнительные указания мер безопасности при работе со сверлильными машинами
1) Указания мер безопасности при выполнении всех операций
a) При работе ударной сверлильной машиной следует использовать средства защиты органов слуха. Воздействие шума может вызывать потерю слуха.
Примечание - Приведенное выше предупреждение распространяется исключительно на ударные сверлильные машины.
b) Необходимо использовать дополнительную(ые) рукоятку(и), поставляемую(ые) вместе с машиной. Потеря управления может вызвать телесное повреждение.
Примечание - Приведенное выше предупреждение распространяется только на машины с дополнительной(ыми) рукояткой(ами).
c) Перед применением машины следует убедиться в ее надежной фиксации. Эта машина обеспечивает высокий выходной крутящий момент, и ее ненадлежащая фиксация во время работы может вызвать потерю контроля и привести к получению телесных повреждений.
d) Удерживают машину за изолированные поверхности захвата, так как при выполнении операции рабочий инструмент может прикоснуться к скрытой проводке или собственному кабелю. При прикосновении рабочего инструмента к находящемуся под напряжением проводу доступные металлические части ручной машины могут попасть под напряжение и вызвать поражение оператора электрическим током.
Примечание - Для сверлильных машин, которые могут быть использованы с насадками-отвертками, после слов "рабочий инструмент" добавляют "или крепеж".
2) Указания мер безопасности при использовании длинных рабочих органов
a) Запрещено работать на частоте вращения, превышающей максимальную частоту вращения рабочего органа. На высокой частоте вращения рабочий орган может согнуться, если допускается свободное вращение без контакта с объектом обработки, что может привести к получению телесных повреждений.
b) Всегда начинают сверление с низкой частоты вращения и с кончиком рабочего органа, опирающегося на объект обработки. На высокой частоте вращения рабочий орган может согнуться, если допускается свободное вращение без контакта с объектом обработки, что может привести к получению телесных повреждений.
c) Прикладывают усилие только параллельно оси вращения рабочего органа и избегают приложения чрезмерного усилия. Рабочие органы могут изгибаться, вызывая повреждения или потерю контроля, что может привести к получению телесных повреждений.
8.14.2 а) Дополнение:
101) максимальный диаметр алмазной коронки для сверлильной машины с алмазной коронкой
102) инструкции по креплению машины, для машин с максимальным выходным крутящим моментом более 100 Н·м, измеренным в соответствии с 19.102.
103) инструкции по сбору пыли при выполнении работ, в ходе которых образуется значительное количество пыли, таких как бурение и сверление алмазной коронкой.
Применяют соответствующий раздел IEC 62841-1.
Применяют соответствующий раздел IEC 62841-1.
Применяют соответствующий раздел IEC 62841-1.
Применяют соответствующий раздел IEC 62841-1 со следующими дополнениями:
12.2.1 Замена:
Машина работает непрерывно до достижения теплового равновесия с отключенным ударным механизмом, при его наличии, при этом шпиндель нагружают приложением к нему тормозного момента, составляющего 80 % момента, необходимого для достижения номинального тока или номинальной потребляемой мощности.
12.5 Дополнение
Для ударных сверлильных машин предельный уровень температуры, указанный для внешнего корпуса, не распространяется на корпус ударного механизма.
Применяют соответствующий раздел IEC 62841-1.
Применяют соответствующий раздел IEC 62841-1.
Применяют соответствующий раздел IEC 62841-1.
Применяют соответствующий раздел IEC 62841-1.
Применяют соответствующий раздел IEC 62841-1 со следующими дополнениями.
17.2 Замена - для ударных сверлильных машин:
Ударные сверлильные машины работают на холостом ходу при выключенном ударном механизме, если он может быть выключен, в течение 12 ч при напряжении, равном 1,1 номинального напряжения или 1,1 верхнего предела диапазона номинального напряжения, а затем в течение 12 ч - при напряжении, равном 0,9 номинального напряжения или 0,9 нижнего предела диапазона номинального напряжения. Работа в течение 12 ч не обязательно должна быть непрерывной. При этом устанавливают самое высокое значение частоты вращения в пределах самого высокого диапазона.
Каждый цикл работы состоит из периода "Включено", составляющего 100 с, и периода "Выключено", составляющего 20 с, при этом продолжительность периода "Выключено" входит в продолжительность наработки.
Во время испытания машину устанавливают в три различных положения, при этом продолжительность работы при каждом испытательном напряжении составляет около 4 ч в каждом из положений.
Примечание 1 - Изменение положения необходимо для исключения чрезмерного скопления графитной пыли в одном месте. Примеры трех положений: горизонтальное, вертикальное вверх и вертикальное вниз.
Затем ударную сверлильную машину устанавливают в испытательное устройство. Испытательное устройство предназначено для приложения достаточного осевого усилия к машине через упругую среду, которая поглощает удары и вибрацию, для обеспечения устойчивой работы ударного механизма. Пример испытательного устройства показан на рисунке 101. Машина работает при номинальном напряжении или при среднем значении диапазона номинальных напряжений в течение четырех периодов времени по 6 ч с перерывами между периодами работы, составляющими не менее 30 мин. Ударный механизм, который можно включить и выключить произвольно, при испытании должен быть включенным.
В процессе испытания машина должна работать в повторно-кратковременном режиме, при этом каждый цикл работы состоит из времени работы продолжительностью 30 с и перерыва продолжительностью 90 с, в течение которого машина выключена.
Машину допускается включать и выключать, не пользуясь выключателем, встроенным в машину, если его конструкция позволяет это сделать.
В ходе данного испытания допускается заменять графитные щетки, при этом машину смазывают маслом или пластичной смазкой, как при нормальном применении. При механическом отказе, не влияющем на выполнение требований настоящего стандарта, можно заменить вышедшую из строя деталь.
Если превышение температуры любой части машины окажется более величины превышения температуры, определенной испытанием по 12.1, то применяют принудительное охлаждение или делают паузы в работе, при этом периоды пауз в установленное общее время работы не засчитывают. При применении принудительного охлаждения оно не должно изменять поток воздуха машины или вызывать перераспределение отложений графитной пыли.
В ходе этого испытания встроенные в машину устройства защиты от перегрузки не должны срабатывать.
Примечание 2 - Контроль температуры внешних поверхностей поможет избежать механических отказов.
Применяют соответствующий раздел IEC 62841-1 со следующими изменениями.
18.8 Замена таблицы 4.
|
Тип и назначение важной для безопасности функции |
Требуемый уровень эффективности |
|
Выключатель питания предотвращает нежелательное включение для машин с MR,max ≤ 25 Н·м , измеренное в соответствии с 19.102 |
а |
|
Выключатель питания предотвращает нежелательное включение для машин с MR,max > 25 Н·м, измеренное в соответствии с 19.102 |
b |
|
Выключатель питания обеспечивает требуемое выключение для машин с MR,max ≤ 25 Н·м, измеренное в соответствии с 19.102 |
b |
|
Выключатель питания обеспечивает требуемое выключение для машин с MR,max > 25 Н·м, измеренное в соответствии с 19.102 |
с |
|
Выключатель питания обеспечивает требуемое выключение для машин, которые в соответствии с 8.14.1.101 необходимо закрепить |
Должен быть оценен с использованием условий отказа по 18.6.1 без потери важной для безопасности функции |
|
Обеспечение требуемого направления вращения для машин, которые в соответствии с 8.14.1.101 не требуют закрепить |
Не является важной для безопасности функцией |
|
Обеспечение требуемого направления вращения для машин, которые в соответствии с 8.14.1.101 необходимо закрепить |
с |
|
Любое электронное устройство управления, необходимое для прохождения испытания по 18.3 |
а |
|
Устройство ограничения частоты вращения, предотвращающее превышение частоты вращения выходного шпинделя более 130 % номинальной частоты вращения (холостого хода) |
а |
|
Устройство ограничения частоты вращения, предотвращающее превышение частоты вращения выходного шпинделя более 130 % номинальной частоты вращения (холостого хода) |
а |
|
Предотвращение превышения тепловых пределов по 18.4 |
а |
|
Предотвращение самовозврата в соответствии с 23.3 для машин с MR,max ≤ 25 Н·м, измеренное в соответствии с 19.102 |
а |
|
Предотвращение самовозврата в соответствии с 23.3 для машин с MR,max > 25 Н·м, измеренное в соответствии с 19.102 |
b |
|
Ограничение крутящего момента в соответствии с 19.102 |
с |
|
Предотвращение нежелательной блокировки выключателя питания в положении "Включено" для машин с MR,max ≤ 25 Н·м, измеренное в соответствии с 19.102 |
b |
|
Предотвращение нежелательной блокировки выключателя питания в положении "Включено" для машин с MR,max > 25 Н·м, измеренное в соответствии с 19.102 |
с |
Применяют соответствующий раздел IEC 62841-1 со следующими изменениями.
19.1 Дополнение:
Испытание с испытательным щупом типа "В" по IEC 61032:1997 не распространяется на патрон и любые принадлежности, которые могут быть в него вставлены.
19.101 Ключи сверлильных патронов должны быть сконструированы таким образом, чтобы они легко выпадали из занимаемого положения при отпускании. Это требование не исключает наличия скоб для удержания ключа в определенном месте, когда он не используется. Не допускается наличие металлических скоб, закрепленных на кабеле (шнуре) питания ручной машины.
Соответствие проверяют путем осмотра и проведением испытания вручную.
Ключ вставляют в сверлильный патрон без затягивания, а затем отпускают. Ключ должен выпасть в течение 2 с.
19.102 Рукоятки
19.102.1 Общие положения
Конструкция рукоятки(ок) должна обеспечивать контроль оператором статического момента остановки (блокировки) шпинделя машины во время работы. В зависимости от конструкции рукоятки крутящий момент не должен превышать соответствующие максимальные значения, показанные на рисунках 104-107.
На рисунке 102 показано расположение S для различных конструкций рукоятки, где оператор захватывает выключатель питания естественным образом. Для конструкций, где оператор не может захватывать выключатель питания естественным образом, S должно быть расположено на выключателе питания в наименее благоприятном положении для измерения реактивного крутящего момента. Это расположение S, показанное на рисунках 104-107, использовано для определения плеча силы для расчета крутящего момента.
На рисунке 103 показано расположение F для различных конструкций дополнительных рукояток с гардами, где оператор захватывает рукоятку естественным образом. Это расположение F, показанное на рисунках 106 и 107, использовано для определения плеча силы для расчета крутящего момента.
Соответствие проверяют проведением испытаний, указанных в 19.102.2 и 19.102.3, и расчетов по рисункам 104-107.
19.102.2 Испытательное оборудование
Испытательное оборудование, используемое для испытания по 19.102.3, должно отвечать следующим требованиям:
a) преобразователь крутящего момента и датчик угла поворота должны непрерывно контролировать крутящий момент и вращение, производимые выходным шпинделем машины во время испытания по 19.102.3;
b) преобразователь крутящего момента должен быть подключен к осциллографу или другому оборудованию для сбора данных, позволяющему отображать график крутящего момента по времени на шпинделе машины при испытании по 19.102.3;
c) датчик крутящего момента должен быть рассчитан на измерение крутящего момента, составляющего не менее 150 % от статического момента остановки (блокировки) шпинделя машины или момента проскальзывания муфты (MR) с точностью измерения ± 1 %;
d) угол поворота должен быть измерен с точностью ± 2°;
e) оборудование для сбора данных, используемое для измерения сигнала крутящего момента во время испытания, должно иметь частоту дискретизации не менее 15 кГц, но полоса пропускания должна быть ограничена фильтром нижних частот первого порядка с частотой отсечки от 0,9 до 1,1 кГц, для того чтобы минимизировать влияние переходных процессов;
f) устройство, которое во время испытания соединено с машиной, должно затормаживать шпиндель при угле поворота, равном от 30° до 60°. Это устройство должно быть торсионным или другим элементом, который остается в равновесии во время испытания;
g) регулируемый источник питания, подключенный к машине во время испытания, должен обеспечивать номинальное напряжение и номинальную частоту, указанные на маркировочной табличке машины (например, 120 В переменного тока, частота 60 Гц). Он также должен иметь соответствующий размер, так что падение напряжения во время испытания не должно отклоняться от номинального напряжения или верхнего предела диапазона номинального напряжения более чем на 7 %.
Соответствие проверяют путем осмотра и измерения.
19.102.3 Процедура испытания
Перед испытанием образец работает не менее 5 минут на холостом ходу.
Все измерения проводят с использованием образца машины, настроенной на прямое вращение.
Образец подключают к измерительному прибору и фиксируют во время испытания. Измерение проводят с использованием семи измерений на одном образце, каждое измерение проводят следующим образом:
1) максимально быстро переводят выключатель питания машины в положение "Включено" и удерживают его до полной остановки шпинделя машины;
2) записывают измеренный крутящий момент.
а) На машинах без механической муфты предельного момента выходной крутящий момент определяют для сигналов:
I) которые стабильны не менее 2 мс после начального пика (если имеется), значение выходного крутящего момента измеряют по стабильной области на интервале Т, не превышающем 100 мс. Если в этом интервале наблюдается вариация, то используют среднее значение (см. рисунок 108),
II) которые стабильны менее 2 мс после начального пика, значение выходного крутящего момента составляет среднеквадратичное значение сигнала от момента включения машины до достижения максимального крутящего момента (см. рисунок 109).
Если в машине использована(ы) электронная(ые) схема(ы), которая(ые) оказывает(ют) влияние на выходной крутящий момент в вышеуказанном испытании, то выходной крутящий момент:
- принимает значение i) или ii) со всеми функциями, влияющими на выходной крутящий момент, когда данные функции считают важными для безопасности и оценивают их в соответствии с 18.8, или
- принимает наибольшее значение i) или ii), когда все функции, влияющие на выходной крутящий момент, не являются важными для безопасности в соответствии с 18.8 и когда:
101) все функции, влияющие на выходной крутящий момент, включены,
102) каждая функция, влияющая на выходной крутящий момент, поочередно отключается. Если выходной крутящий момент превышает значение, когда все функции включены, то испытание, в результате которого достигается максимальное значение выходного крутящего момента, повторяют дважды, в ходе каждого испытания допускается использование нового образца.
Примечание - Сигналы крутящего момента могут иметь переходный пик с относительно стабильным сигналом после пика. Устойчивый сигнал может проявлять относительно медленное изменение, например при нагреве обмоток. Устойчивый сигнал также может проявлять периодическое изменение сигнала из-за пульсации крутящего момента. Усреднение в течение этого стабильного периода дает значение крутящего момента. Переходный пик и устойчивая область не всегда присутствуют.
b) Для машин с механической муфтой предельного момента выходной крутящий момент определяют как максимальное значение первого пика, который возникает после начала испытания. Более поздние пики, даже если они имеют большие значения, не учитывают (см. рисунок 110);
3) между испытаниями необходимо отсоединить шпиндель от испытательного оборудования и запустить машину на холостом ходу в течение не менее 3 с. Дают машине остыть не менее 2 мин до следующего испытания.
MR рассчитывают как среднее значение пяти испытаний из выборки, равной семи, из которой исключают максимальное и минимальное значения измерения. Стандартное отклонение пяти измерений должно быть рассчитано и составлять менее 5 %. В противном случае испытательное оборудование должно быть отрегулировано для достижения требуемой повторяемости. В тех случаях, когда электронная схема, оказывающая влияние на крутящий момент, отключена, MR вычисляют как среднее значение результатов трех испытаний по 19.102.3, пункт 2) а), перечисление 2.
Примечание - Признается, что функции отключения, оказывающие влияние на крутящий момент, могут приводить к такому испытанию, в ходе которого машина будет показывать постоянное ухудшение последующих результатов.
Применяют соответствующий раздел IEC 62841-1.
Применяют соответствующий раздел IEC 62841-1 со следующим дополнением:
21.18.1.1 Дополнение:
Машины с максимальным крутящим моментом более 100 Н·м не должны быть снабжены устройством блокировки в положении "Включено".
Соответствие проверяют путем проведения измерения в соответствии с 19.102 и осмотра.
Для машины с максимальным крутящим моментом не более 100 Н·м устройство блокировки в положении "Включено", при его наличии, должно быть расположено вне зоны захвата или должно иметь такую конструкцию, при которой оно не может быть случайно включено ни левой, ни правой рукой оператора при работе ими по назначению. Указанной зоной захвата считают зону между любой рукой оператора и машиной, когда указательный палец этой руки находится на приводе выключателя машины.
Соответствие требованию проверяют путем проведения осмотра или проведением следующего испытания для выключателя питания с устройства блокировки в положении "Включено".
Не допускается приведение в действие устройства блокировки выключателя питания в положении "Включено" прямым краем поверочной линейки длиной 25 мм, когда выключатель питания находится в положении "Включено". Поверочную линейку прикладывают во всех направлениях таким образом, чтобы она пересекала поверхность устройства блокировки выключателя питания в положении "Включено" и любые иные примыкающие к нему поверхности.
21.35 Этот пункт не применяют.
Примечание - Пылеудаление описано в 8.14.2, перечисление а) 103).
Применяют соответствующий раздел IEC 62841-1.
Применяют соответствующий раздел IEC 62841-1 со следующим дополнением:
23.3 Замена первого абзаца:
Защитные устройства или цепи должны быть несамовосстанавливающегося типа в том случае, если машина не оснащена выключателем питания с самовозвратом, не предусматривающим блокировку в положении "Включено".
Применяют соответствующий раздел IEC 62841-1.
Применяют соответствующий раздел IEC 62841-1.
Применяют соответствующий раздел IEC 62841-1.
Применяют соответствующий раздел IEC 62841-1.
Применяют соответствующий раздел IEC 62841-1.
Размеры в миллиметрах

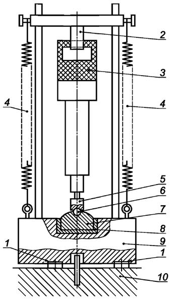
1 - эластичный материал для поглощения вибрации и предотвращения резонанса; 2 - скоба, приспособленная к рукоятке машины; 3 - машина; 4 - механический пружинный или пневматический механизм, создающий осевое усилие; 5 - пуансон; 6 - шар из закаленной стали диаметром 38 мм; 7 - промежуточная плита из закаленной стали массой М2 и диаметром D; 8 - диски из синтетической резины (или из материала с аналогичными свойствами) с твердостью по Шору А от 70 до 80, толщиной от 6 до 7 мм, плотно пригнанной к стенкам; 9 - стальное основание массой М1 с цилиндрической выемкой, диаметр выемки на 1 мм более диаметра промежуточной плиты, а дно выемки снабжено пазами; 10 - наземная опора, такая как бетонный блок, большой и достаточно твердый, для обеспечения стабильности испытательного стенда во время испытания
|
Номинальная потребляемая мощность машины, Вт |
Диаметр промежуточной плиты D, мм |
Масса стального фундамента М1, кг |
Масса промежуточной плиты М2, кг |
Общая масса пуансона и хвостовика М3, кг |
|
Не более 700 |
100 |
90 |
От 1,0 до 1,25 |
0,7 |
|
Св. 700 до 1200 |
140 |
180 |
От 2,25 до 2,81 |
1,4 |
|
Св.1200 до 1800 |
180 |
270 |
От 3,8 до 4,75 |
2,3 |
|
Св. 1800 до 2500 |
220 |
360 |
От 6,0 до 7,5 |
3,4 |
Рисунок 101 - Пример испытательной установки

S - место на рукоятке машины со встроенным выключателем питания, где оператор захватывает выключатель питания естественным образом и/или в наименее благоприятном положении для измерения реактивного крутящего момента
Рисунок 102 - Расположение точки S на разных рукоятках машины со встроенным выключателем питания
Размеры в миллиметрах

1 - гарда; F - расположение руки на гарде при естественном захвате; d - малый диаметр; Н - высота гарды
Рисунок 103 - Место расположения точки F на рукоятках с гардами разных конструкций

S - расположение руки на выключателе питания, где оператор естественно захватывает выключатель питания и/или в наименее благоприятном положении на выключателе питания для измерения реакционного крутящего момента; х - точка измерения, равная 80 мм, или оставшаяся длина рукоятки, в зависимости от того, что менее, удаленная от S в направлении, где рука захватывает инструмент; а - расстояние до плеча рычага; MR,max - максимальный крутящий момент
Рисунок 104 - Измерение вращательного момента для инструментов с одной ручкой

S - расположение руки на выключателе питания, где оператор естественно захватывает выключатель питания и/или в наименее благоприятном положении на выключателе питания для измерения реакционного крутящего момента; х - точка измерения, равная 80 мм, или оставшаяся длина рукоятки, в зависимости от того, что менее, удаленная от S в направлении, где рука захватывает инструмент; а1; а2 - расстояние от рычажного рычага; MR,max - максимальный крутящий момент реакции
Рисунок 105 - Измерение крутящего момента в ручном инструменте

S - расположение руки на выключателе питания, где оператор естественно его захватывает и/или в наименее благоприятном положении на выключателе питания для измерения реакционного крутящего момента; F - расположение руки на фланце, где оператор естественно захватывает; х - точка измерения, равная 80 мм, или оставшаяся длина рукоятки, в зависимости от того, что менее, удаленная от S в направлении, где рука захватывает инструмент; a1, а2, a3 - расстояние от рычажного рычага; MR,max - максимальный крутящий момент реакции
Рисунок 106 - Измерение крутящего момента в ручном инструменте

1 - использовано значение a3 или a4, если рукоятка может быть заблокирована, и это указано в соответствии с 8.14.2, перечисление b) 6); 2 - измеряют от точки на осевой линии до поверхности захвата, которая обеспечивает наибольшее значение; S - расположение руки на выключателе питания, где оператор захватывает выключатель питания естественным образом и/или в наименее благоприятном положении для измерения реакционного крутящего момента; F - расположение руки на гарде при естественном захвате; х - точка измерения на 80 мм или оставшаяся длина рукоятки в зависимости от того, что менее, удаленная от S в направлении захвата инструмента рукой; а1, а2, а3, a4 - расстояние рычага; MR,max - максимальный крутящий момент реакции
Рисунок 107 - Измерение реактивного крутящего момента для машин с несколькими рукоятками

М - крутящий момент; t - время; Т - область стабильного сигнала, 2 мс < T < 100 мс
Рисунок 108 - Пример крутящего момента машины со стабильной областью сигнала

1 - максимальный крутящий момент; М - крутящий момент; t - время
Рисунок 109 - Пример крутящего момента машины без стабильной области сигнала

1 - максимальный крутящий момент; М - крутящий момент; t - время
Рисунок 110 - Пример крутящего момента машины со стабильной областью сигнала менее 2 мс
Приложения
Применяют соответствующий раздел IEC 62841-1 со следующими изменениями.
Приложение I
(справочное)
I.2 Определение шумовых характеристик (тест-код, класс 2)
Применяют соответствующий раздел IEC 62841-1 со следующими изменениями:
I.2.4 Условия установки и монтажа электрических машин при испытании на шум
Дополнение:
Сверлильные машины подвешивают.
Ударные сверлильные машины удерживаются оператором для сверления вертикально вниз в соответствии с пунктом I.2.5.
I.2.5 Условия работы
Дополнение:
Сверлильные машины испытывают на холостом ходу без каких-либо аксессуаров; все устройства настройки частоты вращения настроены на самое высокое значение.
Примечание - Экспериментальные исследования показали, что значения шумовых характеристик сверлильных машин при работе на холостом ходу и под нагрузкой очень схожи. В целях упрощения процедуры измерения шумовых характеристик испытания проводят на холостом ходу.
Для ударных сверлильных машин установка скорости должна соответствовать рекомендованной производителем для сверления в бетон буром диаметром 8 мм.
Ударные сверлильные машины испытывают под нагрузкой, как показано на рисунке I.101, и в соответствии с условиями, указанными в таблицах I.101 и I.102.
|
Цемент |
Вода |
Заполнители b) | |
|
450 кг а) |
220 л а) |
1 450 кг | |
|
Фракции, мм |
Содержание, % | ||
|
От 0 до 0,25 |
12 ± 3 | ||
|
От 0 до 0,5 |
50 ± 5 | ||
|
От 0 до 1 |
80 ± 5 | ||
|
От 0 до 4 |
100 | ||
|
Прочность на сжатие через 28 дней должна составлять 40 Н/мм2. | |||
|
а) Водоцементное отношение должно составлять (0,49 ± 0,02) (допуск на массу цемента и воды составляет ± 10 % для того, чтобы производитель бетонной смеси обеспечил прочность на сжатие на используемом цементе). b) Не применяют заполнители высокого класса (марки) прочности на сжатие, такие как кварцевая порода или гранит, и заполнители очень низкого класса (марки) прочности на сжатие, такие как известняк. | |||
|
Ориентация |
Бурение вертикально вниз в бетонный блок, имеющий состав, указанный в таблице I.101, и минимальные размеры 500 x 500 x 200 мм и поддерживаемый на упругом материале. Бетонный блок, его опоры и машина должны быть ориентированы таким образом, чтобы ее геометрический центр находился на 1 м выше отражающей плоскости. Центр бетонного блока должен располагаться под верхним микрофоном |
|
Рабочий инструмент |
Для всей серии испытаний используют новый рабочий орган диаметром 8 мм, с полезной длиной, приблизительно равной 100 мм, рекомендованный изготовителем для сверления в бетоне |
|
Усилие подачи |
(150 ± 30) Н в дополнение к массе машины |
|
Цикл испытания |
Измерение начинают в тот момент, когда бур достигает глубины около 10 мм, и заканчивают, когда глубина достигает примерно 80 мм |
I.2.9 Декларирование и проверка величин испускаемого шума
Дополнение:
Для стандартного отклонения воспроизводимости метода предполагается значение σR0 1,5 дБ, и для типичного стандартного отклонения производства ожидаются величины соответственно KрА и KWA, которые для сверлильных машин, как ожидается, будут составлять 5 дБ.
Примечание - Значения KрА и KWA увеличены для учета шума при нагрузке.
I.3 Вибрация
Применяют соответствующий раздел IEC 62841-1 со следующими изменениями:
I.3.3.2 Место измерения
Дополнение:
На рисунках I.101 и I.103 указаны места установки измерительных преобразователей для различных типов машин.
I.3.5.1 Общие положения
Дополнение:
Машины с питанием от аккумуляторных батарей испытывают с самой легкой аккумуляторной батареей в соответствии с K.8.14.2, перечисление е) 2).
I.3.5.3 Условия работы
Дополнение:
Ударные сверлильные машины испытывают по I.3.5.3.101 и I.3.5.3.102 при отключенном ударном механизме, при возможности его выключения.
Сверлильные машины с алмазными сверлами испытывают по I.3.5.3.103.
I.3.5.3.101 Сверлильные машины
Сверлильные машины, кроме сверлильных машин с алмазными сверлами, испытывают под нагрузкой, соблюдая условия, указанные в таблицах I.103 и I.104, при этом все устройства настройки частоты вращения настраивают на самое высокое значение.
|
Ориентация |
Бурение вертикально вниз в пластину серого чугуна толщиной 20 мм, как указано в ISO 185:2005, класс 250, или мягкую сталь, аналогичную типу S235 в соответствии с ISO 630-2:2011. Заготовка должна быть зажата или надлежащим образом закреплена на деревянной доске на высоте, обеспечивающей оператору удобную позу |
|
Рабочий инструмент |
Каждый оператор использует новое или вновь заточенное сверло типа HSS-R для своей серии испытаний. Сверла должны быть оснащены стандартным буровым долотом, подходящим для скорости машины и диаметра в соответствии с таблицей I.104. Буровое долото 10 мм должно быть выполнено в предварительно просверленных отверстиях диаметром 3 мм |
|
Усилие подачи |
В соответствии с таблицей I.104 применяют к рукоятке машины |
|
Цикл испытания |
Серия испытаний должна состоять из бурения пяти отверстий. Измерение начинают в тот момент, когда сверло касается пластины, и прекращают через 8 с или непосредственно перед завершением сверления |
|
Примечание - Это испытание также репрезентативно для сверления в другие материалы без воздействия. | |
|
Номинальная частота вращения на холостом ходу, 1/мин |
Диаметр рабочего органа, мм |
Усилие подачи, Н |
|
Более 5500 |
1,5 |
10 ± 2 |
|
От 3100 до 5499 |
3 |
50 ± 10 |
|
От 1000 до 3099 |
5 |
150 ± 30 |
|
Менее 1000 |
10 |
200 ± 30 |
I.3.5.3.102 Ударные сверлильные машины
Для ударных сверлильных машин настройка частоты вращения должна соответствовать рекомендуемой производителем для бурения рабочим органом диаметром 8 мм.
Ударные сверлильные машины испытывают под нагрузкой, как показано на рисунке I.101, при бурении в бетонный блок в соответствии с таблицей I.101 и с условиями, указанными в таблице I.105.
|
Ориентация |
Бурение бетонного блока вертикально вниз, имеющего минимальные размеры 500 х 500 х 200 мм и поддерживаемого на упругом материале |
|
Рабочий инструмент |
Для всей серии испытаний используют новый или заточенный бур диаметром 8 мм, с полезной длиной, приблизительно равной 100 мм, рекомендованной изготовителем для сверления в бетоне |
|
Усилие подачи |
(150 ± 30) Н в дополнение к массе машины |
|
Цикл испытания |
Измерение начинают в тот момент, когда бур достигает глубины около 10 мм, и прекращают в тот момент, когда глубина достигает примерно 80 мм |
I.3.5.3.103 Сверлильные машины с алмазной коронкой
Сверлильные машины с алмазной коронкой, снабженные функцией удара, также должны быть испытаны как ударные сверлильные машины.
Сверлильные машины с алмазной коронкой испытывают под нагрузкой в соответствии с таблицей I.106.
Настройки машины (частота вращения, система подачи жидкости, удар и т.д.) должны соответствовать рекомендациям для сверления в материал, указанный для испытания, а также типу и диаметру бурового долота согласно данным таблицы I.106.
Если машина предназначена для сверления с пылесборным устройством, то оно должно находиться на месте во время работы машины.
Если машина подходит для сверления в бетон с жидкостной системой, устройство для сбора жидкости, при его наличии, должно находиться на месте во время работы машины.
|
Ориентация |
Если машина предназначена для сверления в бетон с жидкостной системой: сверление вертикально вниз в бетонный блок, имеющий состав, указанный в таблице I.107, и имеющий размеры 500 x 500 и 200 мм в высоту, поддерживаемые на упругом материале. Если машина предназначена для бурения без жидкости, испытание проводят горизонтально в песчано-известковой или кирпичной стене с минимальной толщиной 200 мм |
|
Рабочий инструмент |
Для всей серии испытаний используют новую или заточенную алмазную коронку диаметром, составляющим 75 % от максимального диаметра, указанного в соответствии с 8.14.2, перечисление а) 101), но не более 100 мм |
|
Усилие подачи |
Усилие подачи, прикладываемое к машине, должно быть определено следующим образом: необходимо сверлить с использованием инструмента, увеличивая силу подачи до тех пор, пока скорость не будет значительно уменьшена нагрузкой или устройством, которое влияет на крутящий момент. Уменьшают силу подачи до тех пор, пока сила подачи не достигнет стабильной работы. Используют это усилие подачи для испытания или усилие 250 Н в зависимости от того, что менее |
|
Цикл испытания |
Измерение начинают в тот момент, когда алмазная коронка достигает глубины между 5 и 10 мм, и прекращают: - через 1 мин, или - когда бетонный блок просверлен насквозь, или - когда достигается максимальная глубина алмазной коронки, в зависимости от того, что достигнуто первым |
|
Цемент |
Вода |
Заполнители b) | |
|
330 кг а) |
183 л а) |
1844 кг | |
|
Фракции, мм |
Содержание, % | ||
|
От 0 до 2 |
38 ± 3 | ||
|
От 0 до 8 |
50 ± 5 | ||
|
От 0 до 16 |
80 ± 5 | ||
|
От 0 до 32 |
100 | ||
|
Прочность на сжатие через 28 дней должна составлять 40 Н/мм2. | |||
|
а) Водоцементное отношение должно составлять (0,55 ± 0,02) (допуск на массу цемента и воды составляет ± 10 % для того, чтобы производитель бетонной смеси обеспечил прочность на сжатие на используемом цементе). b) Не применяют заполнители высокого класса (марки) прочности на сжатие, такие как кварцевая порода или гранит, и заполнители очень низкого класса (марки) прочности на сжатие, такие как известняк. | |||
I.3.6.1 Отчетные величины вибрации
Дополнение:
Если измерено более одного режима работы, то должен быть указан результат ah для каждого применимого режима работы:
- ah,D - среднее значение вибрации во вращательном режиме в соответствии с I.3.5.3.101 (для стали и других материалов);
- ah,ID - среднее значение вибрации в ударно-вращательном режиме в соответствии с I.3.5.3.102;
- ah,DD - среднее значение вибрации в режиме "алмазное бурение" в соответствии с I.3.5.3.103.
I.3.6.2 Декларация величины полной вибрации
Дополнение:
Должна быть задекларирована величина полной вибрации ah на рукоятке с наибольшей вибрационной эмиссией, а также неопределенность измерения K:
- для сверлильных машин - значения ah,D с описанием режима работы "сверление в металл";
- для ударных сверлильных машин с функцией безударного сверления - значения ah,ID с описанием рабочего режима "ударное сверление в бетон" и значения ah,D с описанием рабочего режима "сверление в металл";
- для ударных сверлильных машин без функции безударного сверления - значения ah,ID с описанием рабочего режима "ударное сверление в бетон";
- для сверлильных машин с алмазной коронкой без ударного механизма - значения ah,DD с описанием режима работы "сверление в бетон";
- для сверлильных машин с алмазной коронкой с ударным механизмом - значения ah,ID с описанием режима работы "ударное сверление в бетон" и значения ah,DD с описанием режима работы "сверление в бетон".

1 - оператор, стоящий на устройстве для измерения усилия, прилагаемого к инструменту; 2 - бетонный блок; 3 - упругий материал
Рисунок I.101 - Применение нагрузки

Рисунок I.102 - Положения преобразователей на сверлильной и ударной сверлильной машинах

Рисунок I.103 - Положения преобразователей на сверлильной машине с алмазной коронкой
Приложение K
(обязательное)
При отсутствии иных указаний в данном приложении применимы все пункты настоящего стандарта. Если не указано иное, то требования, установленные в данном приложении, заменяют требования основной части настоящего стандарта.
K.8.14.1.101 Замена пункта 1), перечисление d):
d) Удерживают машину за изолированные поверхности захвата, так как при выполнении операции рабочий инструмент может прикоснуться к скрытой проводке. При прикосновении рабочего инструмента к находящемуся под напряжением проводу доступные металлические части ручной машины могут попасть под напряжение и вызвать поражение оператора электрическим током.
Примечание - Для сверлильных машин, которые могут быть использованы с насадками-отвертками, после слов "рабочий инструмент" добавляют "или крепеж".
K.12.1 Дополнение:
Для ударных сверлильных машин предельный уровень температуры, указанный для внешнего корпуса, не распространяется на корпус ударного механизма.
K.12.2.1 Этот пункт не применяют.
K.12.5 Этот пункт не применяют.
K.17.2 Этот пункт не применяют.
K.18.8 Замена таблицы 4.
|
Тип и назначение важной для безопасности функции |
Требуемый уровень эффективности |
|
Выключатель питания предотвращает нежелательное включение для машин с MR,max ≤ 25 Н·м, измеренное в соответствии с 19.102 |
а |
|
Выключатель питания предотвращает нежелательное включение для машин с MR,max > 25 Н·м, измеренное в соответствии с 19.102 |
b |
|
Выключатель питания обеспечивает требуемое выключение для машин с MR,max ≤ 25 Н·м, измеренное в соответствии с 19.102 |
а |
|
Выключатель питания обеспечивает требуемое выключение для машин с MR,max > 25 Н·м, измеренное в соответствии с 19.102 |
с |
|
Выключатель питания обеспечивает требуемое выключение для машин, которые в соответствии с 8.14.1.101 необходимо закрепить |
с |
|
Обеспечение требуемого направления вращения для машин, которые в соответствии с 8.14.1.101 не требуют закрепления |
Не является важной для безопасности функцией |
|
Обеспечение требуемого направления вращения для машин, которые в соответствии с 8.14.1.101 необходимо закрепить |
b |
|
Устройство ограничения частоты вращения, предотвращающее превышение частоты вращения выходного шпинделя более 130 % номинальной частоты вращения (холостого хода) |
а |
|
Предотвращение самовозврата в соответствии с 23.3 для машин с MR,max ≤ 25 Н·м, измеренное в соответствии с 19.102 |
а |
|
Предотвращение самовозврата в соответствии с 23.3 для машин с MR,max > 25 Н·м, измеренное в соответствии с 19.102 |
b |
|
Ограничение крутящего момента в соответствии с 19.102 |
с |
|
Предотвращение нежелательной блокировки выключателя питания в положении "Включено" для машин с MR,max ≤ 25 Н·м, измеренное в соответствии с 19.102 |
а |
|
Предотвращение нежелательной блокировки выключателя питания в положении "Включено" для машин с MR,max > 25 Н·м, измеренное в соответствии с 19.102 |
с |
K.19.102.1 Общие положения
Конструкция рукоятки(ок) должна обеспечивать осуществляемый оператором контроль статического момента остановки (блокировки) шпинделя машины во время работы. В зависимости от конструкции рукоятки крутящий момент не должен превышать соответствующие максимальные значения, показанные на рисунках 104-107.
На рисунке 102 представлено расположение S для различных конструкций рукоятки, где оператор захватывает выключатель питания естественным образом. Для тех конструкций рукояток, где оператор не может захватывать выключатель питания естественным образом, S должно располагаться на выключателе питания в наименее благоприятном положении для измерения реактивного крутящего момента. Это расположение S, показанное на рисунках 104-107, использовано для определения плеча силы для расчета крутящего момента.
На рисунке 103 представлено расположение F для различных конструкций дополнительных рукояток с гардами, где оператор захватывает рукоятку естественным образом. Это расположение F, показанное на рисунках 106 и 107, используется для определения плеча силы для расчета крутящего момента.
Соответствие проверяют проведением испытаний, указанных в K.19.102.2 и K.19.102.3, и расчетов согласно рисункам 104-107.
K.19.102.2 Испытательное оборудование
Испытательное оборудование, используемое для испытания по K.19.102.3, должно отвечать следующим требованиям:
a) преобразователь крутящего момента и датчик угла поворота должны непрерывно контролировать крутящий момент и вращение, производимые выходным шпинделем машины во время испытания по K.19.102.3;
b) преобразователь крутящего момента должен быть подключен к осциллографу или другому оборудованию для сбора данных, позволяющему отображать график крутящего момента по времени на шпинделе машины при испытании по K.19.102.3;
c) датчик крутящего момента должен быть рассчитан на измерение крутящего момента, составляющего не менее 150 % от статического момента остановки (блокировки) шпинделя машины или момента проскальзывания муфты MR с точностью измерения ± 1 %;
d) угол поворота должен быть измеряем с точностью ± 2°;
e) оборудование для сбора данных, используемое для измерения сигнала крутящего момента во время испытания, должно иметь частоту дискретизации не менее 15 кГц, но полоса пропускания должна ограничиваться фильтром нижних частот первого порядка с частотой отсечки от 0,9 до 1,1 кГц, чтобы минимизировать влияние переходных процессов;
f) соединение, которое во время испытания соединено с машиной, должно затормаживать машину при угле поворота, равном от 30° до 60°. Соединение, которое выполняет это требование, должно быть торсионным элементом или другим подобным устройством, остающимся в равновесии во время испытания.
Соответствие проверяют осмотром и измерением.
K.19.102.3 Процедура испытания
Перед испытанием образец работает не менее 5 мин на холостом ходу с использованием любой подходящей аккумуляторной батареи. Образец испытывают вместе с его предполагаемой аккумуляторной батареей. Если для использования с машиной указано несколько аккумуляторных батарей, следует применять аккумуляторную батарею с наибольшим током короткого замыкания. В начале испытания аккумуляторная батарея должна быть полностью заряжена.
Перед испытанием образец работает не менее 5 мин на холостом ходу.
Все измерения проводят с использованием образца машины, настроенной на прямое вращение.
Образец подключают к измерительному прибору и фиксируют во время испытания. Измерение проводят с использованием семи измерений на одном образце, каждое измерение проводят следующим образом:
1) максимально быстро переводят выключатель питания машины в положение "Включено" и удерживают его до полной остановки шпинделя машины;
2) записывают измеренный крутящий момент.
а) На машинах без механической муфты предельного момента выходной крутящий момент определяют для сигналов:
I) которые стабильны не менее 2 мс после начального пика (если имеется), значение выходного крутящего момента измеряют по стабильной области на интервале Т, не превышающем 100 мс. Если в этом интервале наблюдается вариация, то используют среднее значение (см. рисунок 108),
II) которые стабильны менее 2 мс после начального пика, значение выходного крутящего момента составляет среднеквадратичное значение сигнала от момента включения машины до достижения максимального крутящего момента (см. рисунок 109).
Если в машине использована(ы) электронная(ые) схема(ы), которая(ые) оказывает(ют) влияние на выходной крутящий момент в вышеуказанном испытании, то выходной крутящий момент:
- принимает значение i) или ii) со всеми функциями, влияющими на выходной крутящий момент, когда данные функции считают важными для безопасности и оценивают их в соответствии с 18.8, или
- принимает наибольшее значение i) или ii), когда все функции, влияющие на выходной крутящий момент, не являются важными для безопасности в соответствии с 18.8 и когда:
101) все функции, влияющие на выходной крутящий момент, включены,
102) каждая функция, влияющая на выходной крутящий момент, поочередно отключается. Если выходной крутящий момент превышает значение, когда все функции включены, то испытание, в результате которого достигается максимальное значение выходного крутящего момента, повторяют дважды, в ходе каждого испытания допускается использование нового образца.
Примечание - Сигналы крутящего момента могут иметь переходный пик с относительно стабильным сигналом после пика. Устойчивый сигнал может проявлять относительно медленное изменение, например при нагреве обмоток. Устойчивый сигнал также может проявлять периодическое изменение сигнала из-за пульсации крутящего момента. Усреднение в течение этого стабильного периода дает значение крутящего момента. Переходный пик и устойчивая область не всегда присутствуют.
b) Для машин с механической муфтой предельного момента выходной крутящий момент определяют как максимальное значение первого пика, который возникает после начала испытания. Более поздние пики, даже если они имеют большие значения, не учитывают (см. рисунок 110);
3) между испытаниями необходимо отсоединить шпиндель от испытательного оборудования и запустить машину на холостом ходу в течение не менее 3 с. Дают машине остыть не менее 2 мин до следующего испытания.
MR рассчитывают как среднее значение пяти испытаний из выборки, равной семи, из которой исключают максимальное и минимальное значения измерения. Стандартное отклонение пяти измерений должно быть рассчитано и составлять менее 5 %. В противном случае испытательное оборудование должно быть отрегулировано для достижения требуемой повторяемости. В тех случаях, когда электронная схема, оказывающая влияние на крутящий момент, отключена, MR вычисляют как среднее значение результатов трех испытаний по K.19.102.3, пункт 2) а), перечисление 2.
Примечание - Признается, что функции отключения, оказывающие влияние на крутящий момент, могут приводить к такому испытанию, в ходе которого машина будет показывать постоянное ухудшение последующих результатов.
Приложение L
(обязательное)
При отсутствии иных указаний в данном приложении применимы все пункты настоящего стандарта. Если не указано иное, то требования, установленные в данном приложении, заменяют требования основной части настоящего стандарта.
L.19.102.1 Общие положения
Конструкция рукоятки(ок) должна обеспечивать осуществляемый оператором контроль статического момента остановки (блокировки) шпинделя машины во время работы. В зависимости от конструкции рукоятки крутящий момент не должен превышать соответствующие максимальные значения, показанные на рисунках 104-107.
На рисунке 102 представлено расположение S для различных конструкций рукоятки, где оператор захватывает выключатель питания естественным образом. Для тех конструкций рукояток, где оператор не может захватывать выключатель питания естественным образом, S должно располагаться на выключателе питания в наименее благоприятном положении для измерения реактивного крутящего момента. Это расположение S, показанное на рисунках 104-107, использовано для определения плеча силы для расчета крутящего момента.
На рисунке 103 показано расположение F для различных конструкций дополнительных рукояток с гардами, где оператор захватывает рукоятку естественным образом. Это расположение F, показанное на рисунках 106 и 107, использовано для определения плеча силы для расчета крутящего момента.
Соответствие проверяют проведением испытаний, указанных:
- в 19.102.2 и 19.102.3 в условиях эксплуатации от сети;
- K.19.102.2 и K.19.102.3 в условиях эксплуатации от аккумуляторной батареи;
- расчетами, представленными на рисунках 104-107.
Приложение ДА
(справочное)
Таблица ДА.1
|
Обозначение ссылочного международного стандарта |
Степень соответствия |
Обозначение и наименование соответствующего межгосударственного стандарта |
|
IEC 62841-1:2014 |
IDT |
ГОСТ IEC 62841-1-2014 "Машины ручные, переносные и садово-огородные электрические. Безопасность и методы испытаний. Часть 1. Общие требования" |
|
ISO 185:2005 |
NEQ |
ГОСТ 1412-85 "Чугун с пластинчатым графитом для отливок. Марки" |
|
ISO 630-2:2011 |
NEQ |
ГОСТ 27772-2015 "Прокат для строительных стальных конструкций. Общие технические условия" |
|
Примечание - В настоящей таблице использованы следующие условные обозначения степени соответствия стандартов: - IDT - идентичные стандарты; - NEQ - неэквивалентные стандарты. | ||
Библиография
Применяют соответствующий раздел IEC 62841-1 со следующим дополнением:
IEC 62841-2-6 - Electric motor-operated hand-held tools, transportable tools and lawn and garden machinery - Safety - Part 2-6: Particular requirements for hand-held hammers (Машины ручные, переносные и садово-огородные электрические. Безопасность и методы испытаний. Часть 2-6. Частные требования к ручным перфораторам и молоткам)


