электронный сборник нормативных документов по строительству
Обновления
17.04.2026 00:01
электронный сборник нормативных документов по строительству

ГОСТ Р МЭК 60794-1-24-2020 КАБЕЛИ ОПТИЧЕСКИЕ. Часть 1-24. ОБЩИЕ ТЕХНИЧЕСКИЕ ТРЕБОВАНИЯ. ОСНОВНЫЕ МЕТОДЫ ИСПЫТАНИЙ ОПТИЧЕСКИХ КАБЕЛЕЙ. МЕТОДЫ ЭЛЕКТРИЧЕСКИХ ИСПЫТАНИЙ

Утв. и введен в действие приказом Федерального агентства по техническому регулированию и метрологии от 14 февраля 2020 г. N 60-ст
Национальный стандарт РФ ГОСТ Р МЭК 60794-1-24-2020
"КАБЕЛИ ОПТИЧЕСКИЕ. Часть 1-24. ОБЩИЕ ТЕХНИЧЕСКИЕ ТРЕБОВАНИЯ. ОСНОВНЫЕ МЕТОДЫ ИСПЫТАНИЙ ОПТИЧЕСКИХ КАБЕЛЕЙ. МЕТОДЫ ЭЛЕКТРИЧЕСКИХ ИСПЫТАНИЙ"

Optical fibre cables. Part 1-24. Generic specification. Basic optical cable test procedures. Electrical test methods


ОКС 33.180.10

Дата введения - 1 августа 2020 г.
Введен впервые

Предисловие

1 Подготовлен Открытым акционерным обществом "Всероссийский научно-исследовательский, проектно-конструкторский и технологический институт кабельной промышленности (ОАО "ВНИИКП") на основе собственного перевода на русский язык англоязычной версии стандарта, указанного в пункте 4

2 Внесен Техническим комитетом по стандартизации ТК 46 "Кабельные изделия"

3 Утвержден и введен в действие Приказом Федерального агентства по техническому регулированию и метрологии от 14 февраля 2020 г. N 60-ст

4 Настоящий стандарт идентичен международному стандарту МЭК 60794-1-24:2014 "Кабели оптические. Часть 1-24. Общие технические требования. Основные методы испытаний оптических кабелей. Методы электрических испытаний" (IEC 60794-1-24:2014 "Optical fibre cables - Part 1-24: Generic specification - Basic optical cable test procedures - Electrical test methods", IDT).

Международный стандарт МЭК 60794-1-24:2014 разработан подкомитетом 86А "Волокна и кабели" Технического комитета ТК 86 "Волоконная оптика" Международной электротехнической комиссии (МЭК)

5 Введен впервые

6 Некоторые положения международного стандарта, указанного в пункте 4, могут являться объектом патентных прав. МЭК не несет ответственности за идентификацию подобных патентных прав

1 Область применения

Настоящий стандарт распространяется на волоконно-оптические кабели (далее - кабели), предназначенные для применения с телекоммуникационным оборудованием и устройствами аналогичного принципа действия, а также на кабели, содержащие как оптические волокна (ОВ), так и электрические токопроводящие жилы.

Цель настоящего стандарта - определение методов испытаний, используемых для формирования единых требований к характеристикам кабеля при электрических воздействиях.

В тексте настоящего стандарта словосочетание "оптический кабель" может означать группы ОВ, микромодули с ОВ и т.д.

2 Нормативные ссылки

Отсутствуют.

3 Метод Н1. Испытание кабелей (типа OPGW и ОРАС) на протекание тока при коротком замыкании в ЛЭП

3.1 Цель испытания

Целью данного испытания является оценка характеристик кабеля типа OPGW (оптический кабель, встроенный в грозозащитный трос) при типовом коротком замыкании в линии электропередачи (ЛЭП), или кабеля типа ОРАС (кабель, присоединенный к проводу) при коротком замыкании в проводе ЛЭП, являющимся несущим для этого кабеля.

3.2 Испытуемый образец

3.2.1 Испытание кабеля типа OPGW

3.2.1.1 Метод испытания двух образцов

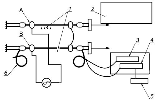
Типовая схема оборудования для испытания двух образцов (А и В) кабеля типа OPGW на протекание тока короткого замыкания в ЛЭП приведена на рисунке 1.

Два образца, каждый длиной не менее 10 м, должны быть оснащены с каждой стороны подходящими концевыми заделками. К образцу А должны быть подключены датчики температуры (один или более), которые вводят в отверстия, просверленные в стенке оптического модуля, для контроля температуры оптического модуля. К образцу В должны быть подключены датчики температуры (один или более), которые подключают к проволокам кабеля типа OPGW, для контроля температуры кабеля типа OPGW.

Контроль приращения вносимых оптических потерь осуществляют с помощью источника оптического излучения и измерителя оптической мощности, которые подключают к каждому концу испытуемого ОВ образца В.

Измеряемая длина ОВ должна быть не менее 100 м (в случае, если испытуемый образец короче 100 м, следует соединить ОВ в шлейф).

3.2.1.2 Метод испытания одного образца

Образец, длиной не менее 10 м, должен быть оснащен с каждой стороны подходящими концевыми заделками. К образцу должны быть подключены датчики температуры (один или более), которые вводят через повивы проволок кабеля типа OPGW к поверхности оптического модуля, для контроля температуры оптического модуля. Датчики температуры (один или более) подключают к проволокам кабеля типа OPGW, для контроля температуры кабеля типа OPGW.

Контроль приращения вносимых оптических потерь осуществляют с помощью источника оптического излучения и измерителя оптической мощности, которые подключают к каждому концу испытуемого ОВ.

Измеряемая длина ОВ должна быть не менее 100 м (в случае, если испытуемый образец короче 100 м, следует соединить ОВ в шлейф).

3.2.2 Испытание кабеля типа ОРАС

Типовая схема оборудования для испытания кабеля типа ОРАС на протекание тока короткого замыкания в проводе ЛЭП приведена на рисунке 2.

Испытуемый образец кабеля типа ОРАС, длиной не менее 10 м, должен быть подсоединен к несущему проводу подходящими фитингами. К несущему проводу должны быть подключены датчики температуры (один или более), для контроля температуры провода в процессе проведения испытания.

Контроль приращения вносимых оптических потерь осуществляют с помощью источника оптического излучения и измерителя оптической мощности, которые подключают к концам испытуемого кабеля типа ОРАС.

Измеряемая длина ОВ должна быть не менее 100 м (в случае, если испытуемый образец короче 100 м, следует соединить ОВ в шлейф).

3.3 Испытательное оборудование

image001.jpg

1 - датчики для измерения температуры: проволок, оптического модуля; 2 - устройство регистрации температуры; 3 - источник оптического излучения; 4 - измеритель оптической мощности; 5 - регистрирующее устройство; 6 - шлейф ОВ; А, В - испытуемые образцы

Рисунок 1 - Типовая схема оборудования для испытания двух образцов (А и В) кабеля типа OPGW на протекание тока короткого замыкания в ЛЭП

image002.jpg

1 - датчик для измерения температуры несущего провода; 2 - устройство регистрации температуры; 3 - источник оптического излучения; 4 - измеритель оптической мощности; 5 - регистрирующее устройство; 6 - шлейф ОВ; А - присоединенный кабель; В - несущий провод

Рисунок 2 - Типовая схема оборудования для испытания кабеля типа ОРАС на протекание тока короткого замыкания в проводе ЛЭП

3.4 Порядок проведения испытания

3.4.1 Испытание кабеля типа OPGW

Общие положения проведения испытания:

- усилие натяжения: (15 ± 5) % от нормируемого значения прочности при разрыве;

- длина испытуемого образца каждый - более 10 м;

- измеряемая длина ОВ - более 100 м;

- исходное значение температуры образца - по согласованию между заказчиком (потребителем) и изготовителем;

- значение тока при коротком замыкании в ЛЭП - по согласованию между заказчиком (потребителем) и изготовителем;

- продолжительность протекания тока при коротком замыкании в ЛЭП - по согласованию между заказчиком (потребителем) и изготовителем;

- число воздействующих импульсов - не менее 3;

- форма волны импульса тока должна быть симметричной после 3-го цикла.

Импульсы тока следует подавать с помощью металлических кабелей, которые перед каждой подачей импульса охлаждают до температуры, значение которой не более, чем на 5 °С превышает исходное значение температуры.

Оптические потери испытуемых ОВ необходимо контролировать непрерывно, в течение не менее 2 мин до приложения импульса тока и не менее 5 мин после приложения импульса тока. Необходимо контролировать температуру кабеля типа OPGW и температуру его оптического модуля.

3.4.2 Испытание кабеля типа ОРАС

Общие положения проведения испытания:

- усилие натяжения - по согласованию между заказчиком (потребителем) и изготовителем;

- длина испытуемого образца - не менее 10 м;

- измеряемая длина ОВ - не менее 100 м;

- исходное значение температуры образца - по согласованию между заказчиком (потребителем) и изготовителем;

- максимальное значение температуры несущего провода - в соответствии с установленным в технических условиях на конкретное кабельное изделие;

- продолжительность протекания тока при коротком замыкании в ЛЭП - в соответствии с установленной в технических условиях на конкретное кабельное изделие;

- число воздействующих импульсов - не менее 3;

- форма волны импульса тока должна быть симметричной после 3-го цикла.

Исходное значение температуры несущего провода должно быть согласовано между заказчиком (потребителем) и изготовителем.

Импульсы тока следует подавать на несущий провод после охлаждения его перед каждой подачей импульса до температуры, значение которой не более, чем на 5 °С превышает исходное значение температуры.

Оптические потери испытуемых ОВ необходимо контролировать непрерывно, в течение не менее 2 мин до приложения импульса тока и не менее 5 мин, после приложения импульса тока. Необходимо контролировать температуру несущего провода.

3.4.3 Порядок проведения испытания кабелей типа OPGW и ОРАС

Кабели типа OPGW и ОРАС должны быть демонтированы по окончании испытания на воздействие тока короткого замыкания в ЛЭП.

Каждый элемент конструкции кабеля должен быть отделен и проверен на наличие дефектов, изменение цветовой окраски, деформацию или видимое повреждение. Особое внимание должно быть уделено участкам кабеля вблизи концевых заделок и центральной части.

3.5 Оценка результатов

Критерии соответствия требованиям проводимого испытания должны быть установлены в технических условиях на конкретное кабельное изделие.

По завершении испытания максимальное значение температуры, достигаемое каким-либо элементом кабеля типа OPGW, должно находиться в пределах допустимого диапазона температур, установленного изготовителем конструктивного элемента.

Температура несущего провода, к которому прикреплен кабель типа ОРАС, в процессе проведения испытания не должна превышать максимально допустимое значение температуры, установленное в технических условиях на конкретное кабельное изделие.

При контрольном осмотре по окончании испытания не должно быть дефектов, изменения цветовой окраски, деформации или видимого повреждения.

3.6 Информация, указываемая в технических условиях на конкретное кабельное изделие

3.6.1 Испытание кабеля типа OPGW:

- используемая процедура испытания (метод испытания с применением одного образца или метод испытания с применением двух образцов);

- исходное значение температуры образца;

- значение тока при коротком замыкании ЛЭП;

- продолжительность протекания тока при коротком замыкании ЛЭП;

- число импульсов тока.

3.6.2 Испытание кабеля типа ОРАС:

- значение усилия натяжения несущего провода;

- исходное значение температуры образца;

- максимальное значение температуры, достигаемое несущим проводом;

- продолжительность протекания тока при коротком замыкании ЛЭП;

- число импульсов тока.

4 Метод Н2. Испытание кабелей (типа OPGW и ОРАС), применяемых на ЛЭП, на молниестойкость

4.1 Цель испытания

Целью испытания является оценка воздействия на кабель типа OPGW или ОРАС разряда молнии.

4.2 Общие положения

Испытание на молниестойкость проводят только для сравнения различных конструкций кабеля типа OPGW.

При испытании кабель типа ОРАС должен быть прикреплен к несущему проводу так, чтобы как можно более точно моделировать возможную реальную ситуацию, а испытание на молниестойкость проводят для определения того факта, что при воздействии разряда молнии не происходит существенного повреждения оболочки.

4.3 Испытуемый образец

Испытание проводят на центральной части образца кабеля типа OPGW или ОРАС, подсоединенного к несущему проводу. Длина образца между крепежными зажимами должна быть не менее 1 м.

4.4 Испытательное оборудование

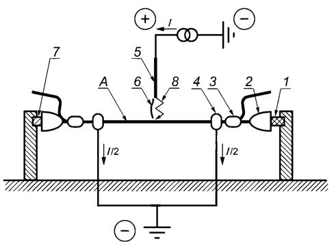
Типовая схема оборудования для испытания на молниестойкость, приведена на рисунке 3.

image003.jpg

1 - датчик для измерения температуры; 2 - изолятор; 3 - зажим крепления; 4 - симметричные зажимы заземления; 5 - электрод с гладкой поверхностью (предпочтительно медно-вольфрамовый); 6 - плавкая вставка для поджига дуги разряда; 7 - устройство измерения усилия натяжения; 8 - зазор между электродом и поверхностью кабеля, равный 6 см; А - испытуемый образец (включая несущий провод кабеля типа ОРАС)

Рисунок 3 - Типовая схема оборудования для испытания на молниестойкость

Электрод, представляющий собой медный или стальной пруток (предпочтительно медно-вольфрамовый), должен быть расположен выше испытуемого образца кабеля. Электрод и образец должны быть соединены друг с другом плавкой металлической вставкой. Значение усилия натяжения, приложенного к испытуемому образцу, должно быть равно нормируемому усилию натяжения, составляющему 15 % - 25 % значения прочности при разрыве. По согласованию между заказчиком (потребителем) и изготовителем может быть приложено другое значение усилия натяжения.

При проведении испытания кабеля типа ОРАС металлическая плавкая вставка должна быть по возможности плотно присоединена к точке, в которой кабель типа ОРАС и фитинг (при наличии) контактируют с несущим проводом.

4.5 Порядок проведения испытания

Образец подвергают воздействию разряда, моделирующего разряд молнии, вызывающий эффекты плавления.

Таблица 1 - Параметры испытания

Параметры испытания

Класс 0

Класс 1

Класс 2

Класс 3

Ток, А

100

200

300

400

Продолжительность воздействия, с

0,5

0,5

0,5

0,5

Переносимый заряд, К

50

100

150

200

Параметры испытания выбирают в соответствии с таблицей 1 или по согласованию между заказчиком (потребителем) и изготовителем, в зависимости от конструктивных характеристик.

Исходное значение температуры образца кабеля должно быть (23 ± 5) °С. Испытание проводят на пяти образцах, при тех же условиях.

4.6 Оценка результатов

По окончании испытания должны быть учтены следующие критерии соответствия требованиям:

a) любой постоянный или временный прирост оптических потерь, значение которого превышает установленное значение, следует оценивать как повреждение кабелей типа OPGW или ОРАС;

b) для кабеля типа OPGW в случае, если будет обнаружена хотя бы одна оборванная проволока, должно быть рассчитано остаточное значение прочности, учитывая число проволок оставшихся целыми. В случае, если расчетное значение оставшейся прочности при разрыве составляет менее 75 % изначального значения прочности при разрыве, то это следует считать повреждением.

4.7 Информация, указываемая в протоколе испытания

Условия испытания: класс 0, класс 1, класс 2 или класс 3.

5 Метод Н3. Испытание металлических элементов кабеля на электрическую целостность

5.1 Цель испытания

Целью испытания кабеля на целостность является подтверждение того факта, что металлические элементы кабеля сохраняют электрическую целостность по длине кабеля. Обеспечение электрической целостности важно для уравнивания потенциалов и для заземления, обеспечения передачи тонального сигнала при проведении трассопоисковых работ, а также для других приложений, и может быть использовано в качестве критерия "качество изготовления". Как правило, испытание проводят только на обеспечение целостности электрической цепи в результате прохождения тока, не выполняя контроля омического сопротивления или характеристики электропроводности. Металлические конструктивные элементы могут быть испытаны индивидуально или же в виде объединенной группы. Поскольку последний вариант испытания применяют наиболее часто, то все элементы кабеля объединяют при испытании в группу, если не установлено иное.

Примечание - Технические условия на конкретное кабельное изделие могут предусматривать наличие у него силовых конструктивных элементов, не обеспечивающих непрерывности по длине кабеля. Это представляет собой особый случай, которому должно быть уделено внимание в технических условиях на конкретное кабельное изделие.

5.2 Испытуемый образец

Испытание проводят на строительной длине кабеля. Так как это испытание не является разрушающим, то по его окончании кабель может быть поставлен заказчику.

5.3 Испытательное оборудование

В качестве испытательного оборудования могут быть использованы средства измерения, позволяющие проверить электрическую непрерывность. Как правило, в состав такого оборудования входят:

- омметр;

- низковольтная испытательная осветительная цепь.

5.4 Порядок проведения испытания

Испытание проводят следующим образом, если не оговорено иное:

1) Разделывают каждый конец кабеля таким образом, чтобы обеспечить возможность подключения испытательного оборудования к металлическим конструктивным элементам кабеля, индивидуальным или сгруппированным, как установлено в технических условиях на конкретное кабельное изделие.

Эта процедура может быть выполнена на небольшом участке длины разделки оболочки или иных покрытий кабеля.

2) Подключают испытательное оборудование к обоим концам кабеля, соответствующим образом организуя схему испытания.

Регистрируют наличие или отсутствие проводимости, или записывают значение омического сопротивления элементов кабеля, если это предусмотрено техническими условиями на конкретное кабельное изделие.

5.5 Оценка результатов

Необходимо обеспечивать целостность металлических конструктивных элементов. Требование может предъявляться как к индивидуальным, так и к сгруппированным конструктивным элементам кабеля. Измеряемое значение омического сопротивления не должно превышать максимального нормируемого значения, если это предусмотрено в технических условиях на конкретное кабельное изделие.

5.6 Информация, указываемая в технических условиях на конкретное кабельное изделие

В технических условиях на конкретное кабельное изделие указывают следующую информацию:

a) метод проведения измерения металлических элементов - индивидуально или в группе;

b) необходимость измерения омического сопротивления и его максимально допустимого значения;

c) любой специальный критерий, который должен быть учтен.

Последние добавленные документы

Яндекс.Метрика