ГОСТ Р ИСО 15604-2019 УДОБРЕНИЯ. ОПРЕДЕЛЕНИЕ РАЗЛИЧНЫХ ФОРМ АЗОТА В ОДНОЙ И ТОЙ ЖЕ ПРОБЕ, СОДЕРЖАЩЕЙ АЗОТ В ВИДЕ НИТРАТНОГО, АММИАЧНОГО АЗОТА, МОЧЕВИНЫ И ЦИАНАМИДА
Fertilizers. Determination of different forms of nitrogen in the same sample, containing nitrogen as nitric, ammoniacal, urea and cyanamide nitrogen
ОКС 65.080
Дата введения - 1 января 2021 г.
Введен впервые
Предисловие
1 Подготовлен Акционерным обществом "Всероссийский научно-исследовательский институт сертификации" (АО "ВНИИС") на основе официального перевода на русский язык англоязычной версии указанного в пункте 4 стандарта, который выполнен АО "ВНИИС"
2 Внесен Техническим комитетом по стандартизации ТК 025 "Качество почв, грунтов и органических удобрений"
3 Утвержден и введен в действие Приказом Федерального агентства по техническому регулированию и метрологии от 9 августа 2019 г. N 490-ст
4 Настоящий стандарт идентичен международному стандарту ИСО 15604:2016 "Удобрения. Определение различных форм азота в одной и той же пробе, содержащей азот в виде нитратного, аммиачного азота, мочевины и цианамида" (ISO 15604:2016 "Fertilizers - Determination of different forms of nitrogen in the same sample, containing nitrogen as nitric, ammoniacal, urea and cyanamide nitrogen", IDT).
Международный стандарт разработан Техническим комитетом ISO/ТС 134 "Удобрения и вещества, улучшающие качество почвы" Международной организации по стандартизации (ISO).
При применении настоящего стандарта рекомендуется использовать вместо ссылочных международных стандартов соответствующие им национальные и межгосударственные стандарты, сведения о которых приведены в дополнительном приложении ДА
5 Введен впервые
Настоящий стандарт устанавливает методы определения содержания любой из форм азота в присутствии любой другой формы азота.
Метод применим к любому из удобрений, перечисленных в [1] (приложение I), содержащих азот в различных формах.
В настоящем стандарте использованы нормативные ссылки на следующие стандарты. Для датированных ссылок применяют только указанное издание ссылочного стандарта. Для недатированных - последнее издание (включая все изменения).
ISO 3696, Water for analytical laboratory use - Specification and test methods (Вода для лабораторного анализа. Технические требования и методы испытаний)
ISO 14820-2, Fertilizers and liming materials - Sampling and sample preparation - Part 2: Sample preparation (Удобрения и известковые материалы. Отбор и приготовление проб. Часть 2. Приготовление проб)
ISO 25475, Fertilizers - Determination of ammoniacal nitrogen (Удобрения. Определение содержания аммиачного азота)
EN 12944-1, Fertilizers and liming materials - Vocabulary - Part 1: General terms (Удобрения, известковые материалы и улучшители почвы. Словарь. Часть 1. Общие термины)
EN 12944-2, Fertilizers and liming materials - Vocabulary - Part 2: Terms relating to fertilizers (Удобрения, известковые материалы и улучшители почвы. Словарь. Часть 2. Термины, относящиеся к удобрениям)
EN 15562, Fertilizers - Determination of cyanamide nitrogen (Удобрения. Определение содержания цианамида азота)
В настоящем стандарте применены термины по ЕН 12994-1 и ЕН 12994-2.
4.1 Общий растворимый и нерастворимый азот
В соответствии с перечнем удобрений, приведенным в [2], данное испытание применимо к продукции, содержащей цианамид кальция.
В случае отсутствия нитратов испытуемую пробу минерализуют разложением по методу Кьельдаля.
В случае присутствия нитратов испытуемую пробу минерализуют методом Кьельдаля после восстановления с помощью металлического железа и хлорида двухвалентного олова. В обоих случаях аммиак определяют в соответствии с ИСО 25475.
Примечание - Если в ходе испытаний установлено, что количество нерастворимого азота более чем 0,5 %, это означает, что удобрение содержит другие формы нерастворимого азота, не включенные в [1] (приложение I).
4.2 Формы растворимого азота
4.2.1 Общие положения
Формы растворимого азота, упомянутые в 4.2.2-4.2.7, определяют по разным аликвотам, взятым из одного раствора испытуемой пробы.
4.2.2 Общий растворимый азот
4.2.2.1 В случае отсутствия нитратов - по методу Кьельдаля. Затем определяют аммиак по ИСО 25475.
4.2.2.2 В случае присутствия нитратов - методом Кьельдаля по аликвотной части, взятой из раствора после восстановления методом Ульша. Затем определяют аммиак по ИСО 25475.
4.2.3 Общий растворимый азот, за исключением нитратного азота
Определяют методом Кьельдаля после выделения в кислой среде нитратного азота с помощью сульфата двухвалентного железа. Затем определяют аммиак по ИСО 25475.
4.2.4 Определение нитратного азота по разнице
4.2.4.1 В случае отсутствия цианамида кальция нитратный азот определяют по разнице между результатами азота, полученными по 4.2.2.2, и азота, определенного по 4.2.3, или между значением общего растворимого азота (см. 4.2.2) и суммой аммиачного азота и органического азота мочевины (см. 4.2.5 и 4.2.6).
4.2.4.2 В случае присутствия цианамида кальция нитратный азот определяют по разнице между значением азота, определенного согласно 4.2.2.2, и азота, определенного согласно 4.2.3, или между значением азота, определенным согласно 4.2.2.2, и суммой азота, определенного согласно 4.2.5-4.2.7.
4.2.5 Аммиачный азот
4.2.5.1 Содержание аммиачного азота или аммиачного и нитратного азота определяют по ИСО 25475.
4.2.5.2 В случае присутствия азота мочевины и/или азота цианамида в пробе проводят холодную дистилляцию. После слабого подщелачивания аммиак абсорбируется в титрованном растворе серной кислоты, после чего определяют содержание аммиачного азота по ИСО 25475.
4.2.6 Азот мочевины
4.2.6.1 Определяют с помощью преобразования с использованием уреазы в аммиак, который титрируется титрованным раствором соляной кислоты.
4.2.6.2 Методом гравиметрии с ксантгидролом: соосажденный биурет может быть посчитан вместе с азотом мочевины без серьезного искажения, так как абсолютное значение его содержания в комплексных удобрениях, как правило, остается низким.
4.2.6.3 Определяют по разнице в соответствии с данными таблицы 1.
|
Пробы |
Нитратный азот |
Аммиачный азот |
Азот цианамида |
Разница |
|
1 |
Отсутствует |
Присутствует |
Присутствует |
4.2.2.1 - (4.2.5.2 + 4.2.7) |
|
2 |
Присутствует |
Присутствует |
Присутствует |
4.2.3 - (4.2.5.2 + 4.2.7) |
|
3 |
Отсутствует |
Присутствует |
Отсутствует |
4.2.2.1 - 4.2.5.2 |
|
4 |
Присутствует |
Присутствует |
Отсутствует |
4.2.3 - 4.2.5.2 |
4.2.7 Азот цианамида
Методом высаживания в виде соединения серебра азот определяют в осадке методом Кьельдаля.
5.1 Общие принципы
Используют только реактивы признанной аналитической чистоты (ч. д. а.) и дистиллированную или деминерализованную воду (степень чистоты 3 в соответствии с ИСО 3696).
5.2 Калия сульфат, ч. д. а.
5.3 Порошок железа, ч. д. а.
Установленное количество железа должно восстанавливать не менее чем 50 мг нитратного азота.
5.4 Калия тиоцианат, ч. д. а.
5.5 Калия нитрат, ч. д. а.
5.6 Аммония сульфат, ч. д. а.
5.7 Карбамид, ч. д. а.
5.8 Кислота серная разбавленная
Разбавляют один объем серной кислоты (р20 = 1,84 г/см3) одним объемом воды.
5.9 Титрованный раствор серной кислоты концентрацией с = 0,1 моль/дм3.
5.10 Раствор гидроксида натрия, водный раствор массовой концентрацией примерно 30 %, не содержащий аммиак.
5.11 Титрованный раствор гидроксида натрия или калия концентрацией с = 0,2 моль/дм3, не содержащий карбонаты.
5.12 Раствор хлорида двухвалентного олова
Растворяют 120 г SnCl2·2H2O в 400 см3 концентрированной соляной кислоты (р20 = 1,18 г/см3) и доводят водой до 1 дм3. Раствор должен быть совершенно чистым и должен быть приготовлен непосредственно перед использованием.
Следует проводить проверку восстанавливающей силы раствора двухвалентного олова: растворяют 0,5 г SnCl2 в 2 см3 концентрированной соляной кислоты (р20 = 1,18 г/см3) и доводят водой до 50 см3. Затем добавляют 5 г соли Рошеля (тетрагидрат двойной натриево-калиевой соли винной кислоты KNaC4H4O6·4H2O) и достаточное количество бикарбоната натрия, для того чтобы по лакмусовой бумажке раствор был щелочным.
Титруют йодным раствором (I2) концентрацией с = 0,05 моль/дм3 в присутствии раствора крахмала в качестве индикатора.
1 см3 раствора йода концентрацией с = 0,05 моль/дм3 соответствует 0,01128 г SnCl2·2H2O.
Не менее 80 % общего содержания олова, присутствующего в растворе, приготовленного таким образом, должно быть в двухвалентной форме. Для титрования должно быть использовано не менее 35 см3 раствора йода I2 концентрацией с = 0,05 моль/дм3.
5.13 Кислота серная концентрированная, р20 = 1,84 г/см3.
5.14 Кислота соляная разбавленная
Смешивают один объем соляной кислоты (р20 = 1,18 г/см3) и один объем воды.
5.15 Кислота уксусная массовой концентрацией от 96 % до 100 %.
5.16 Раствор серной кислоты, содержащий около 30 % H2SO4 (массовая концентрация).
5.17 Сульфат двухвалентного железа кристаллический FeSO47H2O.
5.18 Титрованный раствор серной кислоты концентрацией с = 0,05 моль/л.
5.19 Спирт октиловый.
5.20 Насыщенный раствор карбоната калия.
5.21 Титрованный раствор гидроксида натрия или гидроксида калия концентрацией с = 0,1 моль/дм3 (без содержания карбонатов).
5.22 Насыщенный раствор гидроксида бария.
5.23 Раствор карбоната натрия массовой концентрацией 10 %.
5.24 Кислота соляная концентрацией с = 2 моль/дм3.
5.25 Титрованный раствор соляной кислоты концентрацией с = 0,1 моль/дм3.
5.26 Раствор уреазы
Помещают 0,5 г активной уреазы в 100 см3 воды. Используя соляную кислоту концентрацией 0,1 моль/дм3 (5.25), измеряя значение рН-метром, доводят рН до 5,4 ед. рН.
5.27 Ксантгидрол
Используют раствор этанола или метанола концентрацией 95 % (5.32) (не следует использовать продукцию, дающую большую долю нерастворимых частиц). Раствор может храниться 3 мес в хорошо закупоренной бутылке в темном месте.
5.28 Катализатор
Используют от 0,3 до 0,4 г оксида меди на одно определение или эквивалентное количество пентагидрата сульфата меди, равное от 0,95 до 1,25 г на одно определение.
5.29 Гранулы, препятствующие кипению, промытые в соляной кислоте и прокаленные.
5.30 Растворы индикаторов
5.30.1 Раствор А
Растворяют 1 г метилового красного в 37 см3 раствора гидроксида натрия концентрацией 0,1 моль/дм3 и доводят водой до 1 дм3.
5.30.2 Раствор В
Растворяют 1 г метиленового синего в воде и доводят водой до 1 дм3.
5.30.3 Смешанный раствор индикаторов
Смешивают один объем раствора А с двумя объемами раствора В.
Данный индикатор: фиолетовый - в кислотном растворе, серый - в нейтральном растворе и зеленый - в щелочном растворе. Используют 0,5 см3 (10 капель) данного раствора индикатора.
5.30.4 Раствор метилового красного индикатора
Растворяют 0,1 г метилового красного в 50 см3 этанола концентрацией 95 %. Доводят до 100 см3 водой и, при необходимости, фильтруют. Данный индикатор (четыре или пять капель) может быть использован вместо индикатора, описанного в 5.30.3.
5.31 Индикаторная бумага (чувствительная от рН 6 до рН 8), лакмус бромтимоловый синий.
5.32 Этанол или метанол, раствор концентрацией 95 %.
6.1 Перегонные аппараты
Перегонные аппараты состоят из круглодонной колбы соответствующей вместимости, соединенной с холодильником при помощи насадки, предохраняющей от переброса перегоняемой жидкости. Оборудование изготовлено из боросиликатного стекла.
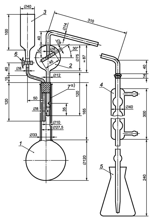
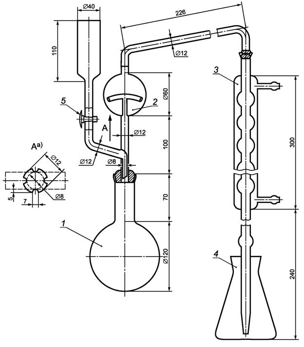
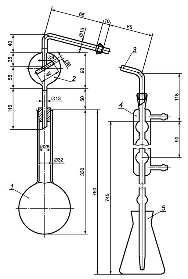
Примечание - Конструкции различных типов перегонных аппаратов, рекомендованных для данного определения, представлены на рисунках 1-4.
При условии статистической эквивалентности результатов можно использовать автоматические перегонные аппараты.

1 - круглодонная колба с длинным горлышком вместимостью 1000 см3; 2 - дистилляционная трубка с насадкой, предохраняющей от переброса перегоняемой жидкости, соединенная с холодильником с помощью шарового соединения (N 18) (шаровое соединение с холодильником может быть заменено соответствующим резиновым соединением); 3 - воронка с политетрафторэтиленовым (PTFE) вентилем (6) для добавления гидроксида натрия (вентиль также может быть заменен резиновым соединением с зажимом); 4 - холодильник (шесть шаров) с шаровым соединением (N 18) на входе, соединенный на выходе со стеклянной удлинительной трубкой с помощью небольшого резинового соединения (если присоединение дистилляционной трубки осуществляется с помощью резиновой трубки, шаровое соединение может быть заменено подходящей резиновой пробкой); 5 - колба для сбора дистиллята вместимостью 500 см3; 6 - вентиль из политетрафторэтилена (PTFE)
──────────────────────────────
а) Отверстие.
──────────────────────────────
Рисунок 1 - Перегонный аппарат 1

1 - круглодонная колба с коротким горлышком вместимостью 1000 см3 с шаровым соединением (N 35); 2 - дистилляционная трубка с насадкой, предохраняющей от переброса перегоняемой жидкости, с шаровым соединением (N 35) на входе и шаровым соединением (N 18) на выходе, соединенная сбоку с воронкой политетрафторэтиленовым (PTFE) вентилем (5) для добавления гидроксида натрия; 3 - холодильник (шесть шаров) с шаровым соединением (N 18) на входе, соединенный на выходе со стеклянной удлинительной трубкой с помощью небольшого резинового соединения; 4 - колба для сбора дистиллята вместимостью 500 см3; 5 - вентиль из политетрафторэтилена (PTFE)
──────────────────────────────
а) Увеличенный поперечный разрез.
──────────────────────────────
Рисунок 2 - Перегонный аппарат 2

1 - круглодонная колба с длинным горлышком вместимостью 750 или 1000 см3 с расширением к горлышку; 2 - дистилляционная трубка с насадкой, предохраняющей от переброса перегоняемой жидкости, и шаровым соединением (N 18) на выходе; 3 - изогнутая трубка с шаровым соединением (N 18) на входе и воронка для стекания капель (присоединение к дистилляционной трубке может быть осуществлено с помощью резиновой трубки вместо шарового соединения); 4 - холодильник (шесть шаров), соединенный на выходе со стеклянной удлинительной трубкой с помощью небольшого резинового соединения; 5 - колба для сбора дистиллята вместимостью 500 см3
Рисунок 3 - Перегонный аппарат 3

1 - круглодонная колба с длинным горлышком вместимостью 1000 см3 с расширением к горлышку; 2 - дистилляционная трубка с насадкой, предохраняющей от переброса перегоняемой жидкости, с шаровым соединением (N 18) на выходе, соединенная сбоку с воронкой политетрафторэтиленовым (PTFE) вентилем (5) для добавления гидроксида натрия (шаровое соединение может быть заменено подходящей резиновой пробкой; вентиль также может быть заменен резиновым соединением с подходящим зажимом); 3 - холодильник (шесть шаров) с шаровым соединением (N 18) на входе, соединенный на выходе со стеклянной удлинительной трубкой с помощью резинового соединения (если присоединение дистилляционной трубки осуществляется с помощью резиновой трубки, шаровое соединение может быть заменено подходящей резиновой пробкой); 4 - колба для сбора дистиллята вместимостью 500 см3; 5 - вентиль из политетрафторэтилена (PTFE)
Рисунок 4 - Перегонный аппарат 4
6.2 Аппарат для определения аммиачного азота
В соответствии с аналитическим методом (8.2.5.3) (см. рисунок 1).
Аппарат состоит из резервуара специальной формы со шлифом, боковой горловиной, соединительной трубкой с насадкой, предохраняющей от переброса перегоняемой жидкости, и перпендикулярной трубкой для подачи воздуха. Трубки могут быть присоединены к резервуару с помощью простой перфорированной резиновой пробки. Необходимо придать подходящую форму концам трубок, через которые осуществляется подача воздуха, так как пузырьки газа должны быть равномерно распределены по всему объему растворов, содержащихся в резервуаре и в абсорбере. Наилучшая расстановка состоит из небольших грибообразных трубок с внешним диаметром 20 мм и шестью отверстиями диаметром 1 мм, расположенными по краю.
6.3 Аппарат для определения азота мочевины
В соответствии с уреазным методом (8.2.6.1).
Состоит из колбы Эрленмейера вместимостью 300 см3 с делительной воронкой и небольшим абсорбером.
6.4 Ротационный шейкер 35-40 об/мин.
6.5 рН-метр.
6.6 Печь, в которой может поддерживаться температура 130 °С.
6.7 Стеклянная посуда:
a) пипетки вместимостью 2, 5, 10, 20, 25, 50 и 100 см3;
b) колбы Кьельдаля с длинным горлышком вместимостью 300 и 500 см3;
c) мерные колбы вместимостью 100, 250, 500 и 1000 см3;
d) стеклянные тигли с фильтром из пористого стекла, диаметр пор 5-15 мкм;
e) ступки.
Отбор проб не является частью метода, определенного в настоящем стандарте. Рекомендованный метод отбора проб представлен в [1].
Подготовка проб должна быть произведена в соответствии с ИСО 14820-2.
8.1.1 В случае отсутствия нитратов
8.1.1.1 Разложение
Взвешивают навеску пробы с точностью 1 мг, содержащую максимум 100 мг азота. Помещают в колбу перегонного аппарата (см. 6.1). Добавляют от 10 до 15 г сульфата калия (см. 5.2), катализатор (см. 5.28) и несколько гранул, препятствующих бурлению (см. 5.29). Затем добавляют 50 см3 разбавленной серной кислоты (см. 5.8) и тщательно размешивают. Сначала колбу осторожно нагревают, время от времени помешивая, пока не перестанет формироваться пена. Далее нагревают колбу таким образом, чтобы жидкость постоянно кипела, и поддерживают кипение в течение 1 ч после того, как раствор станет прозрачным, следя за тем, чтобы никакие органические вещества не прилипали к стенкам колбы. Оставляют остыть. Осторожно добавляют, помешивая, около 350 см3 воды, удостоверяются в том, что растворение наиболее полное. Оставляют остыть и присоединяют колбу к перегонному аппарату (см. 6.1).
8.1.1.2 Дистилляция аммиака
При помощи градуированной пипетки в приемник аппарата переносят 50 см3 титрованного раствора серной кислоты концентрацией 0,1 моль/дм3 (см. 5.9). Добавляют индикатор (см. 5.30.3 или 5.30.4). Удостоверяются в том, что конец удлинительной трубки холодильника находится как минимум на 1 см ниже уровня раствора.
Соблюдая необходимые меры предосторожности, для того чтобы не допустить потери аммиака, в дистилляционную колбу осторожно добавляют достаточное количество концентрированного раствора гидроксида натрия (см. 5.10), чтобы сделать жидкость сильно щелочной (как правило, достаточно 120 см3). Проверяют с помощью добавления нескольких капель фенолфталеина. В конце процесса дистилляции раствор в колбе должен по-прежнему оставаться щелочным. Нагревание колбы настраивают таким образом, чтобы дистиллировать 150 см3 за 30 мин. С помощью индикаторной бумажки (см. 5.31) проверяют, что дистилляция полностью завершена. Если это не так, дистиллируют еще 50 см3 и повторяют проверку, пока дополнительный дистиллят не будет реагировать на индикаторную бумажку нейтрально (см. 5.31). Затем опускают приемник, дистиллируют еще несколько миллилитров и ополаскивают конец удлинительной трубки холодильника. Излишки кислоты титрируют титрованным раствором гидроксида калия или натрия концентрацией 0,2 моль/л (см. 5.11), пока индикатор не изменит цвет.
8.1.1.3 Холостое испытание
Проводят холостое испытание (исключая испытуемую пробу) при аналогичных условиях и принимают во внимание данные показатели при расчете окончательного результата.
8.1.1.4 Представление результатов
Массовую долю содержания азота во взятом для анализа удобрении WN, %, вычисляют по формуле
,
(1)
где 50 - объем титрованного раствора гидроксида натрия или калия концентрацией 0,2 моль/дм3, используемого для холостого испытания, проведенного путем перенесения пипеткой в приемник аппарата (см. 6.1), см3 [50 см3 титрованного раствора серной кислоты концентрацией 0,1 моль/дм3 (см. 5.9)];
V - объем титрованного раствора гидроксида натрия или калия концентрацией 0,2 моль/дм3, используемого для анализа, см3;
m - масса испытуемой пробы, г.
8.1.2 В случае присутствия нитратов
8.1.2.1 Подготовка пробы
Взвешивают навеску пробы с точностью 1 мг, содержащую не более 40 мг нитратного азота.
8.1.2.2 Восстановление нитратов
Испытуемую пробу смешивают в небольшой ступке с водой объемом 50 см3. С минимальным количеством воды перемещают в колбу Кьельдаля вместимостью 500 см3. Добавляют 5 г восстановленного железа (см. 5.3) и 50 см3 раствора хлорида двухвалентного олова (см. 5.12). Взбалтывают и оставляют отстояться на 30 мин. За это время снова размешивают раствор через 10 и 20 мин.
8.1.2.3 Метод Кьельдаля
Добавляют 30 см3 серной кислоты (см. 5.13), 5 г сульфата калия (см. 5.2), необходимое количество катализатора (см. 5.28) и несколько гранул, препятствующих бурлению (см. 5.29). Осторожно нагревают, слегка наклонив колбу.
Медленно увеличивают температуру нагревания и часто взбалтывают раствор, для того чтобы сохранять смесь в состоянии суспензии; жидкость темнеет и затем становится прозрачной с формированием желто-зеленой безводной взвеси сульфата железа. Затем продолжают нагревание в течение 1 ч после получения прозрачного раствора, не доводя его до кипения. Оставляют остыть. Осторожно дают содержимому колбы впитать немного воды и затем понемногу, небольшими порциями, добавляют 100 см3 воды. Содержимое колбы перемешивают и переносят в мерную колбу вместимостью 500 см3. Доводят до нужного объема водой. Размешивают. Фильтруют через сухой фильтр в сухой резервуар.
8.1.2.4 Анализ раствора
В колбу перегонного аппарата (см. 6.1) пипеткой переносят пробу, содержащую максимум 100 мг азота. Разбавляют водой (при этом объем полученного раствора должен быть не более 350 см3), добавляют несколько гранул, препятствующих бурлению (см. 5.29), присоединяют колбу к перегонному аппарату и продолжают определение в соответствии с 8.1.1.2.
8.1.2.5 Холостое испытание
См. 8.1.1.3.
8.1.2.6 Представление результатов
Массовую долю содержания азота во взятом для анализа удобрении WN, %, вычисляют по формуле
,
(2)
где 50 - объем титрованного раствора гидроксида натрия или калия концентрацией 0,2 моль/дм3, используемого для холостого испытания, проведенного путем перенесения пипеткой в приемник аппарата (см. 6.1), см3 [50 см3 титрованного раствора серной кислоты концентрацией 0,1 моль/дм3 (см. 5.9)];
V - объем титрованного раствора гидроксида натрия или калия концентрацией 0,2 моль/дм3, используемого для анализа, см3;
m - масса испытуемой пробы, присутствующая в аликвотной части, приведенной в 8.1.2.4, г.
Если удобрения содержат/не содержат азот цианамида, различные растворимые формы азота определяют в тот же день, когда приготовлен раствор, начиная с азота цианамида и азота мочевины, если они присутствуют.
8.2.1 Подготовка раствора для анализа
8.2.1.1 Навеска для испытания
Взвешивают навеску пробы массой 10 г с точностью 1 мг и помещают в мерную колбу вместимостью 500 см3.
8.2.1.2 Если удобрения не содержат азот цианамида
В колбу добавляют 50 см3 воды, а затем 20 см3 разбавленной соляной кислоты (см. 5.14). Ее взбалтывают и оставляют отстояться до тех пор, пока не прекратится выделение углекислого газа. Затем добавляют 400 см3 воды и взбалтывают на протяжении 30 мин в ротационном шейкере (см. 6.4). Доводят до нужного объема водой, перемешивают и фильтруют через сухой фильтр в сухой резервуар.
В обоих случаях различные растворимые формы азота определяют в тот же день, когда приготовлен раствор, начиная с азота цианамида и азота мочевины, если они присутствуют.
8.2.1.3 Если удобрения содержат азот цианамида
В колбу добавляют 400 см3 воды и несколько капель метилового красного (см. 5.30.4). Если необходимо, раствор подкисляют уксусной кислотой (см. 5.15). Добавляют в избытке 15 см3 уксусной кислоты (см. 5.15). Взбалтывают в ротационном шейкере (см. 6.4) в течение 2 ч. Если необходимо, раствор в ходе операции снова окисляют с помощью уксусной кислоты (см. 5.15). Доводят до нужного объема водой, перемешивают, немедленно фильтруют через сухой фильтр в сухой резервуар и сразу же определяют азот цианамида.
В обоих случаях различные растворимые формы азота определяют в тот же день, когда приготовлен раствор, начиная с азота цианамида и азота мочевины, если они присутствуют.
8.2.2 Общий растворимый азот
8.2.2.1 В случае отсутствия нитратов
С помощью пипетки в колбу Кьельдаля вместимостью 300 см3 переносят аликвотную часть фильтрата (см. 8.2.1.2 или 8.2.1.3), содержащую не более 100 мг азота. Добавляют 15 см3 концентрированной серной кислоты (см. 5.13), 0,4 г оксида меди или 1,25 г сульфата меди (см. 5.28) и несколько гранул, препятствующих бурлению (см. 5.29). Сначала нагревают при низкой температуре, для того чтобы начался процесс разложения, а затем на более высокой температуре, до тех пор, пока жидкость не станет бесцветной или слегка зеленоватой и пока не появятся белые пары. После охлаждения раствор в количественном соотношении переносят в колбу для дистилляции, разбавляют водой (при этом объем полученного раствора должен быть не более 500 см3) и добавляют несколько гранул, препятствующих бурлению (см. 5.29). Колбу присоединяют к перегонному аппарату (см. 6.1) и продолжают определение в соответствии с 8.1.1.2.
8.2.2.2 В случае присутствия нитратов
С помощью градуированной пипетки в колбу Эрленмейера вместимостью 500 см3 переносят аликвотную часть фильтрата (см. 8.2.1.2 или 8.2.1.3), содержащую не более 40 мг нитратного азота. На данном этапе анализа общее количество азота не имеет значения. Добавляют 10 см3 серной кислоты концентрацией 30 % (см. 5.16), затем 5 г восстановленного железа (см. 5.3) и незамедлительно накрывают колбу Эрленмейера часовым стеклом. Медленно нагревают до тех пор, пока реакция не станет стабильной, но не бурной. В этот момент нагревание прекращают и дают колбе отстояться в течение как минимум 3 ч при комнатной температуре. Используя воду, жидкость в количественном соотношении переносят в мерную колбу вместимостью 250 см3, оставляя нерастворившееся железо, и доводят до метки водой. Тщательно перемешивают и с помощью градуированной пипетки переносят в колбу Кьельдаля вместимостью 300 см3 аликвотную часть, содержащую не более 100 мг азота. Добавляют 15 см3 концентрированной серной кислоты (см. 5.13), 0,4 г оксида меди или 1,25 г сульфата меди (см. 5.28) и несколько гранул, препятствующих бурлению (см. 5.29). Сначала нагревают при низкой температуре, для того чтобы начался процесс разложения, а затем на более высокой температуре, до тех пор, пока жидкость не станет бесцветной или слегка зеленоватой и пока не появятся белые пары. После охлаждения раствор в количественном соотношении переносят в колбу для дистилляции, разбавляют водой (при этом объем полученного раствора должен быть примерно 500 см3) и добавляют несколько гранул, препятствующих бурлению (см. 5.29). Колбу присоединяют к перегонному аппарату (см. 6.1) и продолжают определение в соответствии с 8.1.1.2.
8.2.2.3 Холостое испытание
См. 8.1.1.3.
8.2.2.4 Представление результатов
Массовую долю содержания азота во взятом для анализа удобрении WN, %, вычисляют по формуле
,
(3)
где 50 - объем титрованного раствора гидроксида натрия или калия концентрацией 0,2 моль/дм3, используемого для холостого испытания, проведенного путем перенесения пипеткой в приемник аппарата (см. 6.1), см3 [50 см3 титрованного раствора серной кислоты концентрацией 0,1 моль/дм3 (см. 5.9)];
V - объем титрованного раствора гидроксида натрия или калия концентрацией 0,2 моль/дм3, используемого для анализа, см3;
m - масса испытуемой пробы, присутствующая в аликвотной части, приведенной в 8.2.2.1 или 8.2.2.2, г.
8.2.3 Общий растворимый азот, за исключением нитратного азота
8.2.3.1 Определение
С помощью градуированной пипетки в колбу Кьельдаля вместимостью 300 см3 переносят аликвотную часть фильтрата (см. 8.2.1.2 или 8.2.1.3), содержащую не более 50 мг азота для определения. Разбавляют водой (при этом объем полученного раствора должен быть 100 см3), добавляют 5 г сульфата двухвалентного железа (см. 5.17), 20 см3 концентрированной серной кислоты (см. 5.13) и несколько гранул, препятствующих бурлению (см. 5.29). Сначала нагревают при более низкой температуре, затем при более высокой температуре до появления белых паров. Далее продолжается процесс разложения, который длится 15 мин. Нагрев прекращают, добавляют катализатор (см. 5.28) и поддерживают температуру на таком уровне, чтобы еще на протяжении 10-15 мин выделялись белые пары. После охлаждения содержимое колбы Кьельдаля в количественном соотношении переносят в колбу для дистилляции (см. 6.1). Разбавляют водой (при этом объем полученного раствора должен быть примерно 500 см3) и добавляют несколько гранул, препятствующих бурлению (см. 5.29). Колбу присоединяют к перегонному аппарату и продолжают определение в соответствии с 8.1.1.2.
8.2.3.2 Холостое испытание
См. 8.1.1.3.
8.2.3.3 Представление результатов
Массовую долю содержания азота во взятом для анализа удобрении WN, в процентах, вычисляют по формуле
,
(4)
где 50 - объем титрованного раствора гидроксида натрия или калия концентрацией 0,2 моль/дм3, используемого для холостого испытания, проведенного путем перенесения пипеткой в приемник аппарата (см. 6.1), см3 [50 см3 титрованного раствора серной кислоты концентрацией 0,1 моль/дм3 (см. 5.9)];
V - объем титрованного раствора гидроксида натрия или калия концентрацией 0,2 моль/дм3, используемого для анализа, см3;
m - масса испытуемой пробы, присутствующая в аликвотной части, взятой для определения, г.
8.2.4 Нитратный азот
8.2.4.1 В случае отсутствия цианамида кальция
Определяют содержание азота с помощью подсчета разницы между результатами, полученными в 8.2.2.4 и 8.2.3.3, и/или результатом, полученным в 8.2.2.4, и суммой результатов, полученных в (8.2.5.2 или 8.2.5.5) и (8.2.6.3, или 8.2.6.5, или 8.2.6.6).
8.2.4.2 В случае присутствия цианамида кальция
Определяют содержание азота с помощью подсчета разницы между результатами, полученными в 8.2.2.4 и 8.2.3.3, и между результатом, полученным в 8.2.2.4, и суммой результатов, полученных в 8.2.5.5, 8.2.6.3, или 8.2.6.5, или 8.2.6.6 и 8.2.7.
8.2.5 Аммиачный азот
8.2.5.1 Только в случае присутствия аммиачного азота и аммиачного и нитратного азота
С помощью градуированной пипетки в колбу перегонного аппарата (см. 6.1) переносят аликвотную часть фильтрата (см. 8.2.1.2), содержащую не более 100 мг аммиачного азота. Добавляют воду (при этом объем полученного раствора должен быть не более 350 см3) и несколько гранул, препятствующих бурлению (см. 5.29) для облегчения закипания. Колбу присоединяют к перегонному аппарату (см. 6.1), добавляют 20 см3 раствора гидроксида натрия (5.10), затем дистиллируют и осуществляют определение в соответствии с 8.1.1.2.
8.2.5.2 Представление результатов
Массовую долю содержания аммиачного азота во взятом для анализа удобрении WN (аммиачный), %, вычисляют по формуле
,
(5)
где 50 - объем титрованного раствора гидроксида натрия или калия концентрацией 0,2 моль/дм3, используемого для холостого испытания, проведенного путем перенесения пипеткой в приемник аппарата (см. 6.1), см3 [50 см3 титрованного раствора серной кислоты концентрацией 0,1 моль/дм3 (см. 5.9)];
V - объем титрованного раствора гидроксида натрия или калия концентрацией 0,2 моль/дм3, используемого для анализа, см3;
m - масса испытуемой пробы, присутствующая в аликвотной части, взятой для определения, г.
8.2.5.3 В случае присутствия азота мочевины и/или цианамида
С помощью градуированной пипетки в сухую колбу аппарата (см. 6.2) переносят аликвотную часть фильтрата (8.2.1.2 или 8.2.1.3), содержащую не более 20 мг аммиачного азота. Затем собирают аппарат. С помощью пипетки в колбу Эрленмейера вместимостью 300 см3 переносят 50 см3 титрованного раствора серной кислоты концентрацией 0,05 моль/дм3 (см. 5.18) и количество воды, достаточное, чтобы уровень жидкости был приблизительно на 5 см выше отверстия приемной трубки. Через боковую горловину реакционной колбы вводят воду таким образом, чтобы довести раствор примерно до 50 см3. Размешивают. Добавляют несколько капель октилового спирта (см. 5.19), чтобы избежать пенообразования во время аэрации. Затем раствор подщелачивают с помощью насыщенного раствора карбоната кальция (см. 5.20) объемом 50 см3 и незамедлительно начинают вытеснять аммиак, освобожденный таким образом из холодной суспензии.
Необходимый сильный поток воздуха (скорость потока около 3 дм3/мин) должен быть предварительно очищен за счет прохождения через промывную колбу, содержащую разбавленную серную кислоту и разбавленный гидроксид натрия. Вместо использования сжатого воздуха работа также может быть осуществлена в вакууме (водная помпа) при условии, что приточная трубка соединена с резервуаром, используемым для сбора аммиака, достаточно плотно. Как правило, выделение аммиака завершается после 3 ч. Тем не менее целесообразно в этом убедиться, сменив приемную колбу. После окончания операции колбу отделяют от аппарата, конец трубки и стенки колбы промывают небольшим количеством воды. Избыток кислоты титрируют титрованным раствором гидроксида натрия или калия концентрацией 0,1 моль/дм3 (см. 5.21) до тех пор, пока индикатор (см. 5.30.3 или 5.30.4) не приобретет серый цвет.
8.2.5.4 Холостое испытание
См. 8.1.1.3.
8.2.5.6 Представление результатов
Массовую долю содержания аммиачного азота во взятом для анализа удобрении WN (аммиачный), %, вычисляют по формуле
,
(6)
где 50 - объем титрованного раствора гидроксида натрия или калия концентрацией 0,1 моль/дм3, используемого для холостого испытания, проведенного путем перенесения пипеткой в колбу Эрленмейера вместимостью 300 см3 (см. 6.2), см3 [50 см3 титрованного раствора серной кислоты концентрацией 0,05 моль/дм3 (см. 5.16)];
V - объем титрованного раствора гидроксида натрия или калия концентрацией 0,1 моль/дм3, используемого для анализа, см3;
m - масса испытуемой пробы, присутствующая в аликвотной части, взятой для анализа, г.
8.2.6 Азот мочевины
8.2.6.1 Уреазный метод
С помощью градуированной пипетки в мерную колбу вместимостью 500 см3 переносят аликвотную часть фильтрата (см. 8.2.1.2 или 8.2.1.3), содержащую не более 250 мг азота мочевины. Для того чтобы получить осадок фосфатов, добавляют некоторое количество насыщенного раствора гидроксида бария (см. 5.22) до прекращения образования осадка. Затем удаляют избыток ионов бария (и все растворенные ионы кальция) при помощи раствора карбоната натрия массовой концентрацией 10 % (см. 5.23).
Оставляют отстояться и проверяют, продолжает ли образовываться остаток. Доводят до метки, размешивают и фильтруют через гофрированный фильтр. При помощи пипетки переносят 50 см3 фильтрата в колбу Эрленмейера аппарата (см. 6.3) вместимостью 300 см3. Подкисляют фильтрат соляной кислотой концентрацией 2 моль/дм3 (см. 5.24) до получения значения рН = 3 ед. рН при измерении рН-метром (см. 6.5). Затем при помощи гидроксида натрия или гидроксида калия концентрацией 0,1 моль/дм3 (см. 5.21) поднимают значение рН до 5,4 ед. рН.
Во избежание потерь аммиака в ходе уреазного разложения колбу Эрленмейера закрывают пробкой, снабженной делительной воронкой и небольшим поглощающим фильтром в виде пузырька, наполненного ровно 2 см3 титрованного раствора соляной кислоты концентрацией 0,1 моль/дм3 (см. 5.25). С помощью делительной воронки вводят 20 см3 раствора уреазы (см. 5.26) и оставляют отстояться в течение 1 ч при температуре от 20 °С до 25 °С. Затем с помощью пипетки переносят 25 см3 титрованного раствора соляной кислоты концентрацией 0,1 моль/дм3 (см. 5.25) в делительную воронку, позволяют ей стечь в раствор и промывают небольшим количеством воды. Аналогичным образом переносят содержимое защитного резервуара в раствор, содержащийся в колбе Эрленмейера. Избыток кислоты титрируют титрованным раствором гидроксида натрия концентрацией 0,1 моль/дм3 (см. 5.21) до достижения значения рН = 5,4 ед. рН согласно показаниям рН-метра.
После осаждения растворами гидроксида бария и карбоната натрия следует довести раствор до определенной метки, отфильтровать и максимально быстро нейтрализовать.
Примечание - Титрирование может быть также проведено с индикатором (5.30.3), но конечную точку титрирования в таком случае будет отследить сложнее.
8.2.6.2 Холостое испытание
См. 8.1.1.3.
8.2.6.3 Представление результатов
Массовую долю содержания азота мочевины во взятом для анализа удобрении WN (мочевины), %, вычисляют по формуле
,
(7)
где V1 - объем титрованного раствора гидроксида натрия или калия концентрацией 0,1 моль/дм3, используемого для холостого испытания, см3;
V2 - объем титрованного раствора гидроксида натрия или калия концентрацией 0,1 моль/дм3, используемого для анализа, см3;
m - масса испытуемой пробы, присутствующая в аликвотной части, взятой для анализа, г.
8.2.6.4 Гравиметрический метод с ксантгидролом
С помощью градуированной пипетки в химический стакан вместимостью 250 см3 переносят аликвотную часть фильтрата (см. 8.2.1.2 или 8.2.1.3), содержащую не более 20 мг мочевины. Добавляют 40 см3 уксусной кислоты (см. 5.15). Перемешивают стеклянной палочкой в течение 1 мин, оставляют на 5 мин, для того чтобы весь осадок отстоялся. Отфильтровывают содержимое на плоском фильтре в химический стакан вместимостью 100 см3, промывают несколькими миллилитрами уксусной кислоты (см. 5.15), затем по капле добавляют к фильтрату 10 см3 ксантгидрола (см. 5.27), постоянно размешивая стеклянной палочкой. Оставляют отстояться до появления осадка, после чего снова размешивают в течение 1-2 мин. Оставляют отстояться на 1,5 ч. Фильтруют через стеклянный фильтрующий тигель, который до этого высушен и взвешен, слегка нажимая на него сверху, промывают три раза 5 см3 этилового спирта (см. 5.32), не пытаясь удалить всю уксусную кислоту. Помещают остаток в печь и держат при температуре приблизительно 130 °С (но не выше 145 °С) в течение 1 ч. Оставляют остыть в эксикаторе и взвешивают.
8.2.6.5 Представление результатов
Массовую долю содержания азота мочевины во взятом для анализа удобрении WN (мочевины + биурет), %, вычисляют по формуле
,
(8)
где m1 - масса осадка, г;
m2 - масса испытуемой пробы, присутствующая в аликвотной части, взятой для определения, г.
Корректируют для холостого испытания. Биурет может быть посчитан вместе с азотом мочевины без серьезного искажения, так как абсолютное значение его содержания в комплексных удобрениях, как правило, остается низким.
8.2.6.6 Метод определения по разнице
Азот мочевины также может быть рассчитан в соответствии с таблицей 2.
Таблица 2
|
Пробы |
Нитратный азот |
Аммиачный азот |
Азот цианамида |
Азот мочевины |
|
1 |
Отсутствует |
Присутствует |
Присутствует |
(8.2.2.4) - (8.2.5.5 + 8.2.7) |
|
2 |
Присутствует |
Присутствует |
Присутствует |
(8.2.3.3) - (8.2.5.5 + 8.2.7) |
|
3 |
Отсутствует |
Присутствует |
Отсутствует |
(8.2.2.4) - (8.2.5.5) |
|
4 |
Присутствует |
Присутствует |
Отсутствует |
(8.2.3.3) - (8.2.5.5) |
8.2.7 Азот цианамида
Отбирают аликвотную часть фильтрата (см. 8.2.1.3), содержащую от 10 до 30 мг азота цианамида и помещают в химический стакан вместимостью 250 см3. Анализ продолжают в соответствии с ЕН 15562.
9.1 В некоторых случаях может быть определена разница между общим азотом, полученным непосредственно из навески пробы (см. 8.1) и общим растворимым азотом (см. 8.2.2). Тем не менее разница должна быть не более 0,5 %. В противном случае удобрение содержит нерастворимые формы азота, отсутствующие в перечне приложения I [2].
9.2 Перед каждым анализом проверяют правильность работы аппаратуры и корректность применяемого метода при помощи титрованного раствора, содержащего различные формы азота в соотношении, близком к соотношению в испытуемой пробе. Данный титрованный раствор готовят из титрованных растворов тиоцината калия (см. 5.4), нитрата калия (см. 5.5), сульфата аммония (см. 5.6) и мочевины (см. 5.7).
Протокол испытания должен содержать следующую информацию:
a) всю информацию, необходимую для полной идентификации пробы;
b) используемый метод испытания со ссылкой на ИСО 15604;
c) полученные результаты испытания, выраженные в виде массовой доли различных форм азота в удобрении, %;
d) дату отбора и подготовки проб (если известно);
e) дату окончания анализа;
f) все операционные подробности испытания, не указанные в настоящем стандарте или рассматриваемые как необязательные, а также сведения обо всех случаях, которые произошли во время осуществления метода и могли повлиять на результат(ы) испытаний.
Приложение ДА
(справочное)
Таблица ДА.1
|
Обозначение ссылочного международного стандарта |
Степень соответствия |
Обозначение и наименование соответствующего национального, межгосударственного стандарта |
|
ISO 3696 |
MOD |
ГОСТ Р 52501-2005 (ИСО 3696:1987) "Вода для лабораторного анализа. Технические условия" |
|
ISO 14820-2 |
IDT |
ГОСТ EN 14820-2-2013 "Удобрения и известковые материалы. Отбор проб и подготовка проб. Часть 2. Подготовка проб" |
|
ISO 25475 |
IDT |
ГОСТ EN 15475-2013 "Удобрения. Определения содержания аммонийного азота" |
|
EN 12944-1 |
- |
* |
|
EN 12944-2 |
- |
* |
|
EN 15562 |
- |
ГОСТ EN 15562-2013 "Удобрения. Определение содержания цианамида азота" |
|
* Соответствующий национальный, межгосударственный стандарт отсутствует. До его принятия рекомендуется использовать перевод на русский язык данного международного стандарта. Примечание - В настоящей таблице использованы следующие условные обозначения степени соответствия стандартов: - IDT - идентичные стандарты; - MOD - модифицированные стандарты. | ||
Библиография
|
[1] |
ISO 14820-1, Fertilizers and liming materials - Sampling and sample preparation - Part 1: Sampling (Удобрения и известковые материалы. Отбор и приготовление проб. Часть 1. Отбор проб) |
|
[2] |
Regulation (ЕС) No 2003/2003 of the European Parliament and of the Council of 13 October 2003 relating to fertilisers. Official Journal L 304, 21/11/2003 P.0001-0194, Annex I, Annex IV, method 2.6.1 (Регламент N 2003/2003 об удобрениях Европейского парламента и Совета Европейского союза от 13 октября 2003 г. Official Journal L 304, 21/11/2003, с. 1-194, Приложение I, Приложение IV, метод 2.6.1) |


