ГОСТ Р ИСО 22476-4-2017 ГЕОТЕХНИЧЕСКИЕ ИССЛЕДОВАНИЯ И ИСПЫТАНИЯ. ИСПЫТАНИЯ ПОЛЕВЫЕ. Часть 4. ИСПЫТАНИЕ ПРЕССИОМЕТРОМ МЕНАРДА
Geotechnical investigation and testing. Field testing. Part 4. Test, using Menard pressuremeter
ОКС 93.020
Дата введения - 1 января 2020 г.
Введен впервые
Предисловие
1 Подготовлен Акционерным обществом "Научно-исследовательский центр "Строительство" (АО "НИЦ "Строительство") - Научно-исследовательский, проектно-изыскательский и конструкторско-технологический институт оснований и подземных сооружений им. Н.М. Герсеванова" (НИИОСП им. Н.М. Герсеванова) на основе официального перевода на русский язык англоязычной версии указанного в пункте 4 международного стандарта, который выполнен Федеральным государственным унитарным предприятием "Российский научно-технический центр информации по стандартизации, метрологии и оценке соответствия" (ФГУП "СТАНДАРТИНФОРМ")
2 Внесен Техническим комитетом по стандартизации ТК 465 "Строительство"
3 Утвержден и введен в действие Приказом Федерального агентства по техническому регулированию и метрологии от 24 ноября 2017 г. N 1838-ст
4 Настоящий стандарт идентичен международному стандарту ИСО 22476-4:2012 "Геотехнические исследования и испытания. Полевые испытания. Часть 4. Прессиометрическое испытание по Менарду" (ISO 22476-4:2012 "Geotechnical investigation and testing - Field testing - Part 4: Menard pressuremeter test", IDT).
Наименование настоящего стандарта изменено относительно наименования указанного международного стандарта для приведения в соответствие с ГОСТ Р 1.5-2012 (пункт 3.5).
При применении настоящего стандарта рекомендуется использовать вместо ссылочных международных и европейского стандартов соответствующие им национальные стандарты, сведения о которых приведены в дополнительном приложении ДА
5 Введен впервые
Настоящий стандарт устанавливает требования к оборудованию, выполнению и отчетности по испытанию с применением прессиометра Менарда.
Примечание 1 - Настоящий стандарт устанавливает требования к прессиометрическим испытаниям по Менарду как части геотехнических исследований и проведению испытаний согласно ЕН 1997-1 и ЕН 1997-2.
Настоящий стандарт дает описание метода для проведения прессиометрического испытания по Менарду. Эти испытания проводят в грунтах естественного залегания, преобразованных или непреобразованных насыпях в слабых и скальных грунтах, залегающих на суше, или на шельфе.
Результаты прессиометрических испытаний в настоящем стандарте предназначены для количественного определения прочностных и деформационных характеристик грунта. Они могут давать литологическую информацию. Их можно также объединять с прямым исследованием (т.е. с отбором монолитов согласно ИСО 22475-1) или сравнивать с другими полевыми испытаниями грунтов [см. ЕН 1997-2:2007, пункты 2.4.1 (2) Р, 4.1 (1) Р и 4.2.3 (2) Р].
Испытание по Менарду с применением прессиометра выполняют путем радиального расширения трехкамерного зонда, размещенного в грунте (см. рисунок 1). Во время нагнетания объема жидкости в зонд происходит расширение трех его камер, что сначала приводит наружную оболочку зонда в соприкосновение со стенкой прессиометрического кармана, а затем давит на нее, деформируя грунт. Приложенное давление и общее увеличение объема зонда измеряют и регистрируют с тем, чтобы установить зависимость между напряжением и деформацией грунта во время испытания.
Вместе с результатами исследований согласно ИСО 22475-1 или по меньшей мере с идентификацией и описанием грунта согласно ИСО 14688-1 и ИСО 14689-1, полученными во время прессиометрических испытаний, результаты испытаний согласно настоящему стандарту могут быть использованы для количественного определения следующих характеристик грунта:
- модуля Менарда EM;
- предельного давления по Менарду pLM;
- давление ползучести по Менарду рfM.
Настоящий стандарт распространяется на зонды, характеризующиеся как зонды типа G диаметром 60 мм. Настоящая часть стандарта применяется для глубин испытаний до 50 м и максимального давления при испытаниях до 5 МПа.
Примечание 2 - Прессиометрические испытания по Менарду проводят также зондами других диаметров и размеров карманов, например представленных ниже.
|
Зонд |
Диаметр бурения, мм | ||
|
Обозначение |
Диаметр, мм |
мин. |
макс. |
|
АХ |
44 |
46 |
52 |
|
ВХ |
58 |
60 |
66 |
|
NX |
70/74 |
74 |
80 |
Существует два альтернативных метода записи данных:
- метод А - данные записывают вручную;
- метод В - данные регистрируют автоматически.
Следующие нормативные документы являются обязательными для применения настоящего документа. Для датированных ссылок применяют только указанное издание. Для недатированных ссылок - последнее издание нормативного документа (включая все изменения к нему).
ISO 14688-1, Geotechnical investigation and testing - Identification and classification of soil - Part 1: Identification and description (Геотехнические исследования и испытания. Идентификация и классификация грунтов. Часть 1. Идентификация и описание)
ISO 14689-1, Geotechnical investigation and testing - Identification and testing - Identification and classification of rock - Part 1: Identification and description (Геотехнические исследования и испытания. Идентификация и классификация горной породы. Часть 1. Идентификация и описание)
ISO 22475-1, Geotechnical investigation and testing - Sampling methods and groundwater measurements - Part 1: Technical principles for execution (Геотехнические исследования и испытания. Методы отбора проб и измерения подземных вод. Часть 1. Технические принципы для выполнения)
ENV 13005:1999, Guide to the expression of uncertainty in measurement (Руководство для выражения погрешности в измерении)
В настоящем стандарте применены следующие термины с соответствующими определениями:
3.1.1 прессиометр (измеритель давления) (pressuremeter): Все оборудование, которое используется для проведения испытаний прессиометром, исключая средства, необходимые для размещения прессиометрического зонда в грунте.
Примечание 1 - Прессиометр включает в себя зонд, опускаемый в скважину, блок управления для измерения давлений и объемов, обозначенный CU (control unit), линии (кабели, шланги, трубопроводы) для соединения зонда с блоком управления (CU) и (для метода В) регистратор данных, встроенный в блок управления или связанный с ним.
Примечание 2 - См. рисунок 2.
3.1.2 карман для прессиометрического испытания (pressuremeter test pocket): Круглая цилиндрическая выемка, образованная в грунте, для размещения прессиометрического зонда.
3.1.3 прессиометрическая скважина (pressuremeter borehole): Скважина, в которой изготовляют прессиометрические карманы с круглыми поперечными сечениями для размещения в них прессиометрического зонда.
3.1.4 прессиометрическое испытание (pressuremeter test): Процесс расширения прессиометрического зонда в грунте, обеспечивающий расширение кармана с измерением объема в зависимости от времени и приращения давлений по определенной программе.
Примечание - См. рисунок 4 и F.1.
3.1.5 прессиометрическое зондирование (pressuremeter sounding): Серия последовательных испытаний прессиометром Менарда в данной скважине, т.е. формирование серии испытательных карманов для размещения зонда и выполнение в них прессиометрических по глубине испытаний.
Примечание - См. F.2.
3.1.6 показания прессиометрического давления pr (pressuremeter pressure reading): Давление pr, которое считывают на уровне расположения блока управления (CU) в контуре подачи жидкости в центральную измерительную камеру.
3.1.7 потеря давления (pressure loss): Разность между давлением внутри зонда и давлением, приложенным к стенке кармана.
3.1.8 потеря объема (volume loss): Разность между объемом жидкости, фактически введенной в зонд, и объемом, который считывается средством измерений.
3.1.9 необработанная прессиометрическая кривая (raw pressuremeter curve): График зависимости введенного объема, зарегистрированного за 60 с (V60), от приложенного на каждой ступени давления pr.
3.1.10 скорректированная прессиометрическая кривая (corrected pressuremeter curve): Графическое построение кривой скорректированных объемов V в сравнении с исправленным давлением р.
Примечание - См. рисунок 5.
3.1.11 ползучесть по Менарду (Menard creep): Разность объемов, зарегистрированных через 60 и 30 с на каждой ступени давления:
V60-V30=ΔV60/30.
3.1.12 скорректированная кривая ползучести по Менарду (corrected Menard creep curve): Графическое построение скорректированной кривой ползучести по Менарду относительно откорректированного давления каждой ступени нагружения.
Примечание - См. рисунок 5.
3.1.13 запись геотехнических исследований с применением прессиометра (pressuremeter log): Графический отчет о результатах прессиометрических испытаний, которые были выполнены последовательно в карманах на разных глубинах в одной и той же скважине, вместе со всей информацией, собранной в течение бурения.
Примечание - См. приложение F.
3.1.14 прессиометрический модуль деформации грунта по Менарду ЕM (Menard pressuremeter modulus): Е - модуль, полученный из участка прессиометрической кривой между точками (p1, V1) и (p2, V2).
Примечание - См. рисунок 5 и приложение D.
3.1.15 предельное прессиометрическое давление на грунт по Менарду рLM (Menard pressuremeter limit pressure): Давление, при котором объем испытательного кармана на глубине расположения измерительной камеры увеличился в два раза по сравнению с исходным объемом.
Примечание - См. приложение D.
3.1.16 прессиометрическое давление ползучести pfM (pressuremeter creep pressure): Давление, полученное по кривой ползучести.
Примечание - См. приложение D.
3.1.17 оператор (operator): Квалифицированный специалист, который выполняет испытание.
3.1.18 обсадная труба (casing): Трубы фиксированной длины, вставленные в ствол скважины для предотвращения его обрушения или предотвращения потери промывочной жидкости в окружающий грунт, расположенный выше кармана.
В настоящем стандарте применены обозначения, приведенные в таблице 1.
|
Символ |
Наименование |
Единица измерения |
|
а |
Коэффициент потери объема в аппаратуре |
см3/МПа |
|
dci |
Наружный диаметр внутренней части зонда с перфорированной трубой |
мм |
|
di |
Внутренний диаметр тарировочного цилиндра, используемого для поверки потери объема |
мм |
|
dc |
Наружный диаметр центральной измерительной камеры, включая любую дополнительную защиту, например перфорированную трубу |
мм |
|
dt |
Диаметр бурового инструмента |
мм |
|
е |
Толщина стенки тарировочного цилиндра, используемого для поверки потери объема |
мм |
|
lp |
Длина тарировочного цилиндра, используемого для поверки потери объема |
мм |
|
lg |
Длина каждой ограждающей камеры |
мм |
|
lgs |
Длина каждой ограждающей камеры для прессиометрического зонда с короткой центральной измерительной камерой |
мм |
|
lgl |
Длина каждой ограждающей камеры для прессиометрического зонда с длинной центральной измерительной камерой |
мм |
|
lm |
Длина вдоль оси перфорированной секции перфорированной трубы |
мм |
|
lc |
Длина центральной измерительной камеры прессиометрического зонда, измеренная после установки мембраны |
мм |
|
lcs |
Длина короткой центральной измерительной камеры после установки мембраны |
мм |
|
lc1 |
Длина длинной центральной измерительной камеры после установки мембраны |
мм |
|
mE |
Минимальное, строго положительное значение характеристики наклона mi |
см3/МПа |
|
mi |
Наклон скорректированной прессиометрической кривой между точками с координатами (pi-1, Vi-1) и (pi, Vi) |
см3/МПа! |
|
p |
Давление, приложенное зондом на грунт после коррекции |
МПа |
|
pe |
Коррекция на жесткость мембраны, обычно называемая потерей давления зонда |
МПа |
|
pE |
Давление в начале участка кривой, показывающего наклон кривой mЕ |
МПа |
|
pe1 |
Окончательная потеря давления в зонде |
МПа |
|
pfM |
Прессиометрическое давление ползучести |
МПа |
|
pg |
Давление газа, приложенное к ограждающим камерам прессиометрического зонда по индикатору блока управления |
МПа |
|
ph |
Гидростатическое давление между индикатором блока управления и центральной измерительной камерой прессиометрического зонда |
МПа |
|
pk |
Давление газа в ограждающих камерах |
МПа |
|
pLM |
Предельное прессиометрическое давление на грунт по Менарду |
МПа |
|
p*LM |
Чистое предельное прессиометрическое давление на грунт по Менарду |
МПа |
|
pLMH |
Прессиометрическое предельное давление на грунт по Менарду, экстраполированное гиперболическим методом |
МПа |
|
pLMDH |
Прессиометрическое предельное давление на грунт по Менарду, экстраполированное двойным гиперболическим методом |
МПа |
|
pLMR |
Прессиометрическое предельное давление на грунт по Менарду, экстраполированное методом кривой обратной зависимости |
МПа |
|
pm |
Потеря давления мембраны центральной измерительной камеры для соответствующего расширения |
МПа |
|
pr |
Показание давления на уровне преобразователя блока управления в гидравлическом контуре центральной измерительной камеры |
МПа |
|
pc |
Давление жидкости в центральной измерительной камере прессиометрического зонда |
МПа |
|
pt |
Величина давления, поддерживаемого на каждой ступени в соответствии с программой приложения нагрузки |
МПа |
|
p1 |
Уточненное давление начала диапазона давления для определения прессиометрического модуля |
МПа |
|
p2 |
Уточненное давление конца диапазона давления для определения прессиометрического модуля |
МПа |
|
t |
Время |
с |
|
ti |
Время, необходимое для перехода к следующей ступени давления |
с |
|
th |
Время, в течение которого удерживается уровень давления на ступени |
с |
|
us |
Поровое давление на глубине испытания |
МПа |
|
z |
Уровень расположения |
м |
|
zc |
Уровень расположения средства измерения давления жидкости, нагнетаемой в измерительную камеру |
м |
|
zcg |
Уровень расположения средства измерения давления газа, нагнетаемого в ограждающие камеры прессиометрического зонда |
м |
|
zN |
Уровень земной поверхности в зоне прессиометрического зондирования |
м |
|
zp |
Уровень расположения центра измерительной камеры во время испытания |
м |
|
zW |
Уровень расположения подземных вод (или свободной водной поверхности в морской или речной окружающей среде) |
м |
|
CU |
Блок управления давлением и объемом |
- |
|
E |
Тип прессиометрического зонда, в котором три камеры образованы тремя разделительными мембранами по одной линии |
- |
|
EM |
Прессиометрический модуль Менарда |
МПа |
|
G |
Тип прессиометрического зонда, в котором центральная измерительная камера образована специально предназначенной мембраной, над которой устанавливают наружную мембрану для создания ограждающих камер (см. рисунок 2) |
- |
|
Ko |
Коэффициент давления грунта в состоянии покоя на глубине испытания |
- |
|
V |
Значение объема после установки нуля и коррекции данных, впрыснутого в центральную измерительную камеру и измеренного через 60 с после начала удержания давления |
см3 |
|
Vc |
Исходный объем центральной измерительной камеры, включая перфорированную трубу, если она применяется |
см3 |
|
Vm |
Средний скорректированный объем между V1 и V2 |
см3 |
|
Vp |
Объем, полученный на испытании поверки потери объема (см. рисунок В.2) |
см3 |
|
VE |
Значение объема жидкости, введенной в центральную измерительную камеру для давления рЕ, после коррекции данных |
см3 |
|
VL |
Значение объема жидкости, введенной в центральную измерительную камеру при удвоении начального объема полости прессиометра, после коррекции данных |
см3 |
|
Vr |
Объем жидкости, введенной в зонд, считываемый на блоке управления перед коррекцией данных |
см3 |
|
Vt |
Объем центральной измерительной камеры, при необходимости включающий объем щелевой трубы |
см3 |
|
V1 |
Скорректированный объем камеры прессиометра в начале диапазона давления (см. рисунок 5) |
см3 |
|
V2 |
Скорректированный объем камеры прессиометра в конце диапазона давления (см. рисунок 5) |
см3 |
|
V30 |
Объем жидкости, введенной в центральную измерительную камеру через 30 с после начала ступени нагружения |
см3 |
|
V60 |
Объем жидкости, введенной в центральную измерительную камеру через 60 с после начала ступени нагружения |
см3 |
|
β |
Коэффициент, используемый для установки диапазона давления для определения прессиометрического модуля |
- |
|
γ |
Удельный вес грунта в момент испытания |
кН/м3 |
|
γi |
Удельный вес жидкости, введенной в центральную измерительную камеру |
кН/м3 |
|
γW |
Удельный вес воды |
кН/м3 |
|
λg |
Скорость изменения напора газа при pk на метр глубины |
м-1 |
|
ν |
Коэффициент Пуассона |
- |
|
σνs |
Полное вертикальное напряжение в грунте на глубине испытания |
кПа |
|
σhs |
Полное горизонтальное напряжение в грунте на глубине испытания |
кПа |
|
Δp |
Приращение давления при нагружении |
МПа |
|
Δp1 |
Начальное приращение давления |
кПа |
|
ΔV60/30 |
Изменение введенного объема жидкости в период от 30 до 60 с после начала ступени нагружения - ползучесть по Менарду |
см3 |
|
ΔV60/60 |
60-секундное изменение объема между последовательными ступенями давления |
см3 |
Принцип прессиометрического испытания по Менарду показан на рисунке 1.

1 - поверхность земли; 2 - грунт; 3 - карман; 4 - расширяющийся зонд - прессиометр; р - приложенное давление
А-А - осевое сечение; В-В - поперечное сечение
Рисунок 1 - Принципиальная схема испытания с применением прессиометра Менарда
Прессиометр, показанный схематически на рисунке 2, должен включать в себя:
- трехкамерный зонд;
- колонну штанг для спуска и подъема зонда;
- блок управления (CU);
- коммуникации (кабели, шланги, трубопроводы), соединяющие блок управления с зондом.
Блок управления (CU) должен включать в себя:
- оборудование для нагнетания давления, чтобы раздувать зонд и поддерживать постоянные значения давления, требуемые на протяжении испытания;
- оборудование для сохранения необходимого перепада давления между центральной измерительной и ограждающей камерами;
- устройство, обеспечивающее прямое считывание показаний приборов, а в случае метода В - автоматическую регистрацию параметров, требующих измерения (время, давление и объем).
Средства измерения давления жидкости в центральной измерительной камере и давления газа в ограждающих камерах должны быть расположены:
- над земной поверхностью;
- внутри зонда, не более чем на 1 м выше середины центральной измерительной камеры.
В первом случае блок управления (CU) должен быть обеспечен средствами проверки значения установившегося давления в зонде.
Должны быть предоставлены средства измерений глубины проведения испытаний, обеспечивающие необходимую точность измерений.
В зависимости от разновидности и состояния грунта используют два типа зонда:
- зонд с гибкой оболочкой;
- зонд с гибкой оболочкой, снабженный либо дополнительной более жесткой защитой, либо щелевой трубой.
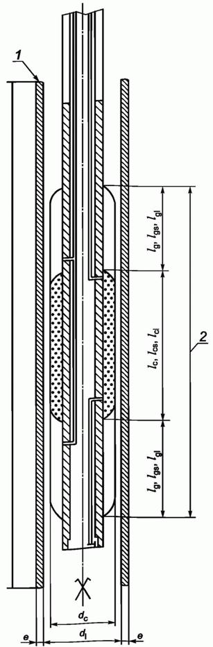
Описание этих зондов дано на рисунке 3 а) и b) соответственно, а их геометрические свойства - в таблице А.1.
Если зонд забивается или залавливается в грунт (см. С.3), то он должен быть оснащен более жесткой защитой и щелевой трубой, соединенной с удлиняющей трубой, которая заканчивается острием или режущим башмаком.
4.2.1 Зонд с гибкой оболочкой
Зонд должен быть изготовлен из трех цилиндрических камер круглого поперечного сечения, расположенных вдоль одной оси (см. рисунок А.1). Во время испытания эти камеры должны расширяться одновременно с давлением на стенку кармана. Зонд включает в себя:
- одну центральную измерительную камеру с наружным диаметром dс и длиной lс (lс1 для длинного зонда или lcs для короткого зонда - см. таблицу А.1), которая должна расширяться радиально в кармане и создавать равномерное напряжение на стенке кармана. Эта камера должна раздуваться путем нагнетания жидкости, которая считается несжимаемой;
- две ограждающие камеры с наружным диаметром dg и длиной lg (lgl или lgs), расположенные над и под центральной измерительной камерой. Эти ограждающие камеры должны быть предназначены для создания на стенке кармана напряжения, близкого по значению, но не превышать напряжение, создаваемое центральной измерительной камерой. Ограждающие камеры должны раздуваться под давлением газа.
Зонд должен состоять из пустотелого стального каркаса цилиндрической формы, в котором имеются каналы для введения необходимого количества жидкости, чтобы раздувать зонд. Зонд должен быть оснащен мембраной центральной измерительной камеры и гибким натянутым сверху рукавом. Стальной каркас на своей наружной поверхности должен, как правило, иметь сеть канавок, которые равномерно распределяют жидкость в центральной измерительной камере под мембраной. К этому цилиндру должны быть прикреплены мембрана и гибкая оболочка. Верхняя часть каркаса должна иметь резьбу, посредством которой она должна соединяться с колонной штанг, выходящих на поверхность, с помощью которых зонд перемещается по вертикали. Мембрана центральной измерительной камеры должна изолировать жидкость центральной измерительной камеры от газа ограждающих камер. Гибкая оболочка, которая перекрывает мембрану центральной измерительной камеры, должна обеспечивать замкнутый объем ограждающих камер. Вокруг оболочки может быть добавлена гибкая защита из тонких стальных полос. Эти стальные полосы обычно шириной 17 мм, перекрывающиеся (почти наполовину) или изолированные, заводятся под фиксирующие кольца (см. рисунок А.1). Трубопроводы или шланги для подвода жидкости должны соединять камеры зонда с блоком управления давлением и объемом (CU). Сливной кран измерительной камеры должен быть в нижней части стального каркаса.
Примечание - Гибкая защита может быть добавлена для предохранения мембраны от повреждения острыми выступами стенки кармана.
4.2.2 Зонд с щелевой трубой
Зонд с щелевой трубой должен состоять из двух частей:
- внутренней части, состоящей из трех цилиндрических камер круглого сечения, расположенных вдоль одной оси;

|
1 - блок управления (CU); 1а - нагнетание, дифференциальное нагнетание и устройства для нагнетания; 1b - средство измерения давления и объема; 1с - получение, запоминание и распечатка данных (для метода В); 2 - соединительные линии (шланги, трубопроводы); 2а - подводящий трубопровод для нагнетания жидкости; 2b - подводящий трубопровод для нагнетания газа; 3 - система измерения глубины; |
4 - штанги; 5 - прессиометрический зонд; 5а - верхняя ограждающая камера; 5b - центральная измерительная камера; 5с - нижняя ограждающая камера; 6 - поверхность земли; 7 - карман для зонда на испытании с применением прессиометра; 8 - корпус зонда полый; 9 - сочленение зонда со штангой |
Рисунок 2 - Принципиальная схема прессиометра Менарда
|
|
|
а) Прессиометрический зонд с гибкой оболочкой |
b) Прессиометрический зонд с щелевой трубкой |
|
1 - полый корпус зонда; 2 - мембрана измерительной камеры; 3 - внешний рукав или гибкая оболочка; 4 - впуск жидкости в измерительную камеру; 5 - впуск газа в ограждение; Размеры см. в приложении А |
6 - дренирующий выпуск измерительной камеры; 7 - щелевая труба; 8 - штанги; 9 - соединение "зонд - штанга" |
Рисунок 3 - Прессиометрический зонд (схематическое представление)
- наружной части, изготовленной из щелевой стальной трубы (см. рисунок А.1). Если щелевая труба залавливается или забивается в грунт, то она должна быть оснащена удлинительной трубой, заканчивающейся острым концом или режущим башмаком.
Внутренняя часть зонда включает в себя:
- одну центральную измерительную камеру с наружным диаметром dc и длиной lc (lc1 для длинного зонда или lcs для короткого зонда - см. таблицу А.1), которая должна расширяться радиально в перфорированной трубе и прикладывать равномерное напряжение на стенку этой трубы. Эта камера должна раздуваться путем нагнетания жидкости, которую считают несжимаемой;
- две ограждающие камеры с наружным диаметром dg и длиной lg (lgl или lgs), расположенные над и под центральной измерительной камерой. Эти ограждающие камеры предназначены для создания на стенке щелевой трубы напряжения, близкого по значению, но не превышать напряжение, создаваемое центральной измерительной камерой. Ограждающие камеры должны раздуваться под давлением газа.
Во время испытания все камеры должны раздуваться одновременно, передавая давление на внутреннюю стенку щелевой трубы, которая в свою очередь передает давление на стенку кармана.
Наружная стальная труба должна иметь: по меньшей мере шесть осевых или спиралевидных прорезей, равномерно распределенных по длине окружности [рисунок 3 b)]. Длина lm щелевой трубы измеряется вдоль осевой линии. Эта длина должна быть больше следующего значения:
1,3(lc+2lg) или 800 мм.
До начала и после расширения зонда значение каждой прорези трубы не должно превышать 0,4 мм. После расширения щелевая труба и щели должны быть способными восстанавливать свои начальные форму и размер.
Узел щелевого участка трубы следует фиксировать с помощью гибких креплений с тем, чтобы обеспечивать радиальное расширение зонда с минимальным сопротивлением.
Блок управления (CU) скомпонован вместе с цилиндрическим волюметром, оснащен устройством подачи давления и комплектом измерительного оборудования. Блок CU должен управлять расширением камеры зонда и обеспечивать одновременное считывание показаний давления жидкости и газа, а также объем нагнетаемой в прессиометр жидкости в зависимости от времени.
Устройство для подачи давления должно обеспечивать:
- достижение предельного давления прессиометра или давление pr не менее 5 МПа;
- поддержание на постоянном уровне значения давления в измерительной камере и ограждающих камерах на каждой ступени в течение установленного периода времени;
- приращение давления на 0,5 МПа не менее чем за 20 с, которое фиксируется блоком управления (CU);
- контроль перепада давления между измерительной камерой и защитными камерами;
- нагнетание жидкости в измерительную камеру объемом более 700 см3.
Кроме того, клапан в блоке управления, расположенный между волюметром и средством измерений давления, должен позволять перекрывать подачу жидкости.
Гибкие коммуникации (трубопроводы или шланги) должны соединять блок управления давлением и объемом (CU) с зондом. Они должны подавать жидкость в измерительную камеру и газ в ограждающие камеры. Линии могут быть параллельными или коаксиальными. Когда линии являются коаксиальными, то по центральной линии подводится жидкость, а по внешней линии - газ.
Рабочая жидкость, нагнетаемая в измерительную камеру, является либо водой, либо жидкостью подобной вязкости. Она не должна замерзать при эксплуатации.
4.6.1 Время
Точность устройства, используемого для измерения времени, должна соответствовать требованиям приложения Е.
4.6.2 Давление и объем
Разрешающая способность устройств для измерения давления и объема должна соответствовать требованиям приложения Е.
4.6.3 Отображение считываний
В месте проведения испытаний блок управления давлением и объемом (CU) должен давать одновременное и мгновенное отображение следующих данных: время, давление жидкости, подаваемой в измерительную камеру, объем поданной жидкости и давление газа в ограждающих камерах.
4.6.4 Цилиндр для поверки потери объема
Главными свойствами тарировочного стального цилиндра (рисунок В.1) должны быть следующие:
- измеренный внутренний диаметр di не должен превышать 66 мм;
- толщина стенки е должна быть не менее 8 мм;
- длина lр должна превышать 1 м или длину lm щелевой части, в зависимости от того, что больше.
Регистратор данных, т.е. устройство для приема и записи данных согласно методу В, должен быть оснащен следующими приборами:
- внутренним генератором тактовых или синхронизирующих импульсов;
- принтер;
- запоминающим устройством, считываемым компьютером.
Регистратор данных предназначен для фиксации необработанных данных от преобразователей, нулевых отсчетов, поверочных коэффициентов и идентификации каждого датчика и результирующих поверочных данных давления и объема.
Регистратор данных не должен мешать проведению испытания, как задано в 5.7, и не должен затруднять проведение измерений другими измерительными устройствами. Он должен автоматически:
- регистрировать свои собственные параметры идентификации: дату, час, минуту, секунду, номер CU, номер регистратора данных, номер запоминающего устройства;
- обеспечивать ввод информации, необходимой для идентификации испытания, как приведено в 5.4;
- предотвращать ввод данных давления и объема или другой информации, не полученной в ходе процесса испытания.
Регистратор данных должен включать в себя устройство аварийной сигнализации или специальный дисплей для следующих событий:
- запоминающее устройство не установлено на свое место;
- нет параметров идентификации испытания, записанных согласно 5.4;
- нет электропитания.
Оболочка, мембрана и щелевая труба в случае использования должны быть выбраны согласно ожидаемым при испытаниях значениям давления и деформации грунта. Каждая из этих частей должна соответствовать техническим условиям, представленным в приложении А. Затем зонд должен быть подключен к блоку управления через подводящие коммуникации.
Вся система должна быть заполнена жидкостью без воздушных пузырьков.
Калибровка и коррекция должны быть выполнены согласно приложению В. Копии результатов калибровки должны быть доступными в месте проведения испытания.
При испытаниях с применением прессиометра весьма важно обеспечить высокое качество поверхности стенки кармана. Для этого следует соблюдать процедуры и требования, изложенные в приложении С.
Качество подготовки карманов имеет важное значение в получении приемлемых результатов прессиометрических испытаний.
Чтобы получить удовлетворительный карман для испытаний, необходимо выполнить три условия:
- оборудование и метод, использованный для приготовления испытательного кармана, должны причинять наименьшее возможное нарушение грунта на его стенке (см. С.1);
- диаметр режущего инструмента должен отвечать заданным допускам (см. С.2.2);
- прессиометрическое испытание должно быть выполнено сразу после формирования кармана (см. таблицу С.1, а также С.1.2 и С.1.3).
Примечание - Качество испытательного кармана отражается на форме прессиометрической кривой и значении разброса результатов испытаний.
Блок управления давлением и объемом (CU) и регистратор данных должны быть защищены от прямых солнечных лучей.
Положение прессиометрического зондирования должно быть отражено на чертеже с указанием подробностей своего местоположения.
Если зондирование является наклонным, то его наклон и направление должны быть записаны в протоколе испытаний (см. приложение F).
В качестве следующего шага для каждого зондирования необходимо следующее:
- устройство получения и регистрации данных, т.е. регистратор данных должен быть установлен в "нулевое" исходное положение (метод В);
- начальное показание каждого преобразователя должно быть проверено и, если оно приемлемо, зарегистрировано (методы А и В).
Параметры идентификации испытания должны быть записаны либо в запоминающем устройстве, либо в справочном листке технических данных со вторым экземпляром, полученным посредством копировальной бумаги (см. приложение F). К ним относятся:
- идентификация оператора испытания;
- номер файла;
- номер зондирования;
- тип зонда;
- технология бурения кармана (см. приложение С);
- идентификация и характеристика грунта согласно ИСО 14688-1 и ИСО 14689-1;
- метод установки зонда;
- контрольные ссылки на поверки (см. приложение В);
- уровень расположения преобразователя давления zc или значение zc - zN для этого преобразователя (см. приложение D);
- уровень расположения места проведения испытания zs или глубина (zN - zs) расположения зонда (см. рисунок D.1);
- регулировка дифференциального давления (см. В.4.4).
Программа приложения нагрузки на прессиометрическом испытании должна отражать взаимосвязь между временем и давлением, приложенным посредством зонда к грунту (см. рисунок 4).
На каждом уровне давления необходимо сохранять его постоянное значение в центральной измерительной камере и ограждающих камерах в течение времени th = 60 с.
Если колебания pr в течение удержания давления превышают 25 кПа или составляют 5 % значения текущего давления pr, то при использовании методов А и В должно быть зарегистрировано конечное значение давления.
Решение о выборе начального приращения давления Δp1 должен принимать оператор по результатам проведения бурения, изучения керна и выбуренной породы и в соответствии с инструкцией. Сразу после записи начальных показаний оператор должен следить за параметром ползучести ΔV60/30 и за разностями ΔV60/30 между показаниями объема в течение последовательных периодов времени 60 с. В результате он может изменять приращение давления с тем, чтобы:
- получить приблизительно десять точек за весь период испытаний и
- достичь при этом конца испытания (см. 5.7.2).

pt - целевое давление;
Δp - приращение давления;
pr - уровень поддерживаемого давления в течение th;
С - фаза приложения нагрузки;
t - время;
ti - время приращения давления;
th - длительность поддержания давления;
D - фаза снятия нагрузки
Рисунок 4 - Программа приложения нагрузки для прессиометрического испытания по Менарду
Время ti для подъема давления путем следующего шага приращения на Δp должно быть не более 20 с при длине подводящей магистрали до 50 м. Для магистрали более 50 м (при свертывании в спираль) должна быть сделана соответствующая корректировка времени ti. По завершении испытания, как изложено в 5.7.2, должно быть выполнено снятие нагрузки монотонно и без остановок.
Давление газа в ограждающих камерах должно быть ниже давления в центральной измерительной камере по меньшей мере на двойную потерю давления pm мембраны центральной измерительной камеры, как определено в В.2.
На уровне расположения блока управления (CU) разность давлений, которую необходимо поддерживать относительно выше упомянутого давления в центральной камере зонда, называется перепадом давления. Она должна быть вычислена, как в В.4.4. Этот перепад давления должен быть установлен до начала испытания и должен подвергаться проверкам на каждом уровне поддержания давления.
На месте проведения работ перед проведением испытаний оператор должен представить таблицу, показывающую перепады давления в функции глубины в соответствии с типом используемого зонда.
Процесс расширения должен включать в себя:
- приложение равномерного давления к стенке кармана через прессиометрический зонд в соответствии с программой приложения нагрузки;
- регистрацию изменений объема измерительной камеры со временем в зависимости от давления в измерительной камере.
5.7.1 Считывания и регистрации
На каждом уровне поддержания давления должны быть сняты следующие показания:
- по методу А - давление жидкости, необходимое согласно программе приложения нагрузки, следует регистрировать один раз, а объем жидкости нагнетаемой в зонд - через 15, 30 и 60 с после достижения заданного уровня давления. Значения давления жидкости и газа, перепад давления и их колебания следует контролировать. Чрезмерное колебание должно быть отмечено (см. также 5.5);
- в методе В - приложенное давление и объем жидкости, поданной в зонд, должны быть измерены и зарегистрированы через следующие интервалы времени: 1, 15, 30 и 60 с.
Для проверки могут быть использованы показания давлений газа в те же самые моменты времени.
За начало отсчета времени для каждого уровня поддержания давления принимают окончание соответствующего периода приращения давления ti.
5.7.2 Конец испытания
Если не задано иное, то испытание заканчивается при сборе достаточных данных для намеченной цели в пределах полных эксплуатационных возможностей оборудования. Такими моментами для окончания испытания могут быть следующие:
- когда давление pr достигает по меньшей мере 5 МПа; или
- когда объем жидкости, нагнетаемой в центральную измерительную камеру, превышает 600 см3 (450 см3 для короткого зонда с перфорированной трубой); или
- когда зонд разрывается.
Примечание - В случае если такие условия не выполняются, испытание может быть также полностью проанализировано для трех уровней поддержания давления за пределами полученного значения рfM.
Способ обратной засыпки карманов, образовавшихся в результате прессиометрического зондирования, должен быть согласован и проведен в соответствии с ИСО 22475-1 и действующими на национальном уровне правилами, техническими или административными требованиями. Необходимо принимать во внимание естественное залегание пластов, загрязнение грунта и его несущую способность.
При необходимости обратная засыпка выработки для прессиометрического зондирования должна быть завершена, что должно быть подтверждено документально в протоколе испытания.
Следует соблюдать правила обеспечения безопасности, действующие на национальном уровне, например в отношении:
- средств индивидуальной защиты;
- чистого воздуха при работе в замкнутых объемах;
- обеспечения безопасности персонала и оборудования.
Буровые установки должны отвечать требованиям ИСО 22475-1.
6.1.1 Листок технических данных для метода А
Все данные, как показано в F.1, должны быть полностью и безошибочно зарегистрированы, кроме показаний на первой секунде.
Оператор должен заверить лист технических данных своей подписью и указать свою фамилию полностью прописными буквами.
6.1.2 Распечатка данных на месте проведения работ по методу В
Для каждого испытания на месте проведения работ должна быть распечатана следующая информация:
a) до начала определенного испытания:
1) идентификация оператора;
2) заявление, что испытание будет соблюдать положения настоящего стандарта;
3) параметры регистратора данных:
- номер блока управления и регистрации (номер регистратора данных, если отдельно от блока),
- номер запоминающего устройства,
- ввод информации для идентификации испытания, как перечислено в 5.4;
b) в начале испытания:
1) дата (год, месяц, день, час и минута) на старте испытания;
c) в конце каждого уровня поддержания давления:
1) номер шага нагружающего давления в последовательности;
2) одно считывание давления жидкости в интервале времени между началом удержания давления и спустя 15 с, скорректированное по меньшей мере до трех значащих цифр;
3) считывания объема жидкости через 30 и 60 с после начала поддержания уровня давления, округленного с точностью до см3;
4) разность между этими двумя считываниями, т.е. ΔV60/30;
5) разность между считываниями объема жидкости в момент 60 с для текущего и предшествующего уровня поддержания давления ΔV60/60;
d) в момент завершения испытания:
1) дата и время в момент завершения испытания;
2) компьютерный график по точкам считывания объема Vr в сравнении с показаниями давления pr в момент 60 с, что дает необработанную прессиометрическую кривую;
3) оператор должен заверить полную распечатку подписью, указав свою фамилию полностью прописными буквами.
6.1.3 Необработанная прессиометрическая кривая
Необработанная прессиометрическая кривая должна быть получена по точкам, считанным с блока управления (CU) Vr в зависимости от pr через каждые 60 с.
По методу В необработанная прессиометрическая кривая должна быть распечатана на принтере регистратора данных.
Скорректированная прессиометрическая кривая (рисунок 5) должна давать объем V центральной измерительной камеры зонда в функции давления р, приложенного к стенке кармана:
V=f(p),
где р - давление в момент 60 с, приложенное наружной оболочкой зонда к стенке кармана после коррекции на гидростатический напор и потерю давления (см. D.1.2 и D.1.3);
V - соответствующий объем жидкости, добавленной в зонд после установки нуля (см. В.4.1) и коррекции на потерю объема (см. D.1).
Скорректированная прессиометрическая кривая должна быть определена последовательностью координат (р, V), показанных на рисунке 5. В начале прессиометрического испытания стенка кармана должна быть нагружена зондом до тех пор, пока она не возвратится приблизительно к своему исходному состоянию. Наклон прессиометрической кривой должен быть достаточно постоянным. После завершения этой фазы скорость радиального расширения зонда с ростом давления должна увеличиться.

1 - скорректированная прессиометрическая кривая; 2 - скорректированная кривая ползучести
Рисунок 5 - График по данным прессиометрического испытания по Менарду
Кривая ползучести должна быть построена, как показано в нижней части рисунка 5 (согласно D.3). По изменению в скорости ползучести может быть получена важная информацию об испытании.
Параметры прессиометрического испытания должны быть получены по информации, зарегистрированной на листке технических данных (метод А) либо на распечатке, либо в запоминающем устройстве (метод В).
Сперва данные должны быть проверены в том виде, как они были зарегистрированы, для оценки возможности анализа кривой (см. приложение D).
Затем должны быть использованы методы, изложенные в приложении А, для того чтобы:
- установить давление ползучести pfM на прессиометрическом испытании (D.3);
- установить предельное прессиометрическое давление по Менарду (D.4);
- вычислить прессиометрический модуль Менарда ЕM (D.5).
Результаты испытания должны быть представлены в таком виде, чтобы третья сторона была способна проверить и полностью понять представленные результаты.
Полевой отчет должен содержать все данные, собранные в полевых условиях (см. 5.4 и 6.1).
Полевой отчет должен быть подписан оператором, отвечающим за проведение полевых испытаний (см. 6.1.1 и 6.1.2).
Протокол испытания должен включать в себя параметры идентификации прессиометрического испытания (см. 5.4) и файлы прессиометрического испытания по Менарду (6.1). Протокол испытания должен быть подписан руководителем, ответственным за проведение полевых испытаний в рамках проекта.
7.3.1 Файл прессиометрического испытания по Менарду
Файл для единичного прессиометрического испытания должен содержать, как показано в приложении F, скорректированные данные, прессиометрическую кривую и параметры прессиометрического испытания.
Он также должен содержать полевые отчеты, включая копию подписанного листа технических данных (см. 6.1.1) или подписанную распечатку (см. 6.1.2), а для метода В - соответствующие данные в электронном виде, записанные в запоминающем устройстве, как изложено в 4.7.
Файл испытания должен содержать по меньшей мере следующие данные:
a) ссылка на настоящий стандарт;
b) тип использованного метода испытания: А или В;
c) идентификационный номер точки зондирования, где выполнялись прессиометрические испытания;
d) отметку уровня места проведения испытания или его глубину относительно верхнего уровня зондирования или верха обсадной трубы;
e) вид бурения и тип бурильного инструмента, который был использован для создания кармана и промежуточных этапов бурения;
f) время завершения изготовления испытательного кармана с точностью до минуты;
g) тип, марку и серийный номер блока управления и регистратора данных, если он используется отдельно от блока контроля;
h) информацию о последних проверках всех использованных устройств контроля и измерения (см. В.1);
i) время начала испытания с точностью до минуты;
j) тип использованного зонда (Е или G) и его детализацию (щелевая труба, короткий или длинный зонд, потеря объема и результаты испытания в целях поверки потери давления, как указано в приложении В);
k) перепад давления (pi - pg) на уровне расположения блока управления (CU);
l) таблицу давления жидкости и отсчеты объема в моменты 1 (только метод В), 15, 30 и 60 с на каждом уровне поддержания давления;
m) координаты р, V каждой точки, использованной для построения графика скорректированной криволинейной зависимости прессиометрического испытания;
n) все сбои, произошедшие в ходе испытания (например, разрыв зонда);
o) отметку верхнего уровня zN во время прессиометрического зондировании и преобразователей давления zc, как показано в F.1 и на рисунке D.1;
р) отметку уровня бурового раствора в выработке и уровня подземных вод zW, если он известен;
q) название фирмы, выполняющей прессиометрическое зондирование, т.е. бурение и испытание;
r) кривую по скорректированным прессиометрическим данным и использованные методы для внесения поправок на потерю давления и объема;
s) прессиометрический модуль Менарда ЕM и метод, использованный для его получения;
t) предельное прессиометрическое давление pLM по Менарду и метод, использованный для его получения;
u) давление ползучести pfM и метод, использованный для его получения;
v) идентификацию и характеристику грунта в соответствии с ИСО 14688-1 и ИСО 14689-1 для кармана, в котором проводится прессиометрическое испытание.
7.3.2 Журнал записей прессиометрических испытаний
Журнал прессиометрических испытаний, как показано в F.2, должен содержать как минимум следующее:
a) ссылку на настоящий стандарт;
b) тип использованного метода: А или В;
c) схему расположения мест прессиометрического зондирования и в необходимом случае ссылку на системы координат для привязки точек зондирования;
d) отметку уровня поверхности земли zN прессиометрической скважины относительно заявленных исходных данных;
e) уровень буровой жидкости в скважине в процессе прессиометрического зондирования в заданные моменты времени и положение уровня подземных вод (если известно);
f) методику изготовления кармана в соответствии с таблицей С.1 и даты изготовления различных карманов;
g) наклон и направление прессиометрического зондирования;
h) информацию о слое грунта;
i) графическое представление прессиометрических параметров в зависимости от глубины с масштабной шкалой глубины:
- модуль Менарда ЕM, полученный по прессиометрическому испытанию,
- предельное прессиометрическое давление pLM по Менарду,
- прессиометрическое давление ползучести.
Значения давления и прессиометрические модули должны быть даны по меньшей мере с точностью до двух значащих цифр.
Примечание - Для каждого участка рекомендуется иметь общий масштаб для всех записей в журнале прессиометрических испытаний;
j) комментарии о методе испытания, сбоях и любую другую информацию о факторах, которые могут влиять на результаты испытания.
Приложение А
(обязательное)
А.1 Геометрические технические условия для зондов
Таблицу А.1 необходимо читать вместе с 4.1 и рисунками 3 и А.1.
Таблица А.1
|
Параметр |
Символ |
Ед. изм. |
Значение |
Допуск | ||
|
Зонд с гибкой оболочкой |
Длина центральной измерительной камеры |
lc |
мм |
210 |
-5 0 | |
|
Длина ограждающей камеры |
lg |
мм |
120 |
± 15 | ||
|
Наружный диаметр |
dc |
мм |
58 |
± 2 | ||
|
Зонд с перфорированной трубой [см. рисунки 3 b) и А.1] |
Внутренняя часть короткой центральной измерительной камеры |
Длина центральной измерительной камеры |
lsc |
мм |
210 |
- 2 0 |
|
Длина ограждающей камеры |
lgs |
мм |
200 |
± 5 | ||
|
Наружный диаметр центральной измерительной камеры |
dci |
мм |
44 |
± 2 | ||
|
Внутренняя часть длинной центральной измерительной камеры |
Длина центральной измерительной камеры |
lci |
мм |
370 |
± 5 | |
|
Длина ограждающей камеры |
lgl |
мм |
110 |
± 5 | ||
|
Наружный диаметр центральной измерительной камеры |
dci |
мм |
44 |
± 2 | ||
|
Перфорированная труба |
Наружный диаметр |
dc |
мм |
59 |
± 5 | |
|
Длина щели (вдоль оси трубы) |
lm |
мм |
> 800 |
- | ||
Примечание - В некоторых случаях внутренняя часть щелевой трубы, описанной выше, используется как зонд с наружным диаметром 44 мм и гибкой оболочкой в скважине меньшего диаметра. Напротив, могут быть использованы зонды диаметром 76 мм. Они состоят либо из зонда диаметром 74 мм с гибкой оболочкой, либо из зонда диаметром 58 мм с гибкой оболочкой, который используется как внутренняя часть щелевого трубного зонда.
А.2 Выбор прессиометрического зонда и компонентов
Потеря давления в зонде прессиометра, включая щелевую трубу, в случае ее использования должна быть как можно меньше по сравнению с ожидаемым значением предельного давления на глубине испытания.
При выборе главных компонентов зонда необходимо руководствоваться следующими условиями:
a) для мембраны центральной камеры
pm≤80 кПа;
b) для целого зонда
если pLM ≤ 900 кПа, то pe1 ≤ pl/4 + 25 кПа;
если pLM ≥ 900 кПа, то pe1 ≤ min{[pl/18 + 200 кПа]; 350 кПа}.

1 - осевая линия зонда; 2 - трубопровод подвода газа; 3 - трубопровод подвода жидкости; 4 - мембрана и кольца крепления оболочки; 5 - резиновая оболочка; 6 - резиновая мембрана центральной измерительной камеры; 7 - спускной кран; 8 - щелевая труба
Рисунок А.1 - Принципиальная конструкция прессиометрического зонда (здесь показано, как зонд предохраняется щелевой трубой, также см. 4.2.2)
Приложение В
(обязательное)
В.1 Средства измерения
Все устройства контроля и измерения должны периодически проходить проверку и поверку в сравнении с образцовыми стандартами (ЕНВ 13005:1999), чтобы подтвердить надежность и правильность измерений. Интервал поверки должен быть достаточный для возможности проверки необходимой разрешающей способности.
Примечание 1 - Проверка необходимой разрешающей способности может быть сделана на основе записи предыдущих поверок.
Должна быть принята во внимание неопределенность измерений, рассмотренная в Е.2.
Если одна часть системы была отремонтирована или заменена, то должна быть выполнена новая поверка средств измерения.
Копия отчета о самом последнем поверочном испытании должна быть доступной на месте проведения работ.
Кроме поверки средств измерения к результатам непосредственно полученных измерений должны быть внесены поправки на потери давления и объема во всем оборудовании. Если жесткость мембраны центральной измерительной камеры не указана поставщиком, то она должна быть независимо определена в соответствии с В.2.
Примечание 2 - Потеря давления происходит из-за дополнительной жесткости мембраны центральной измерительной камеры, гибкой оболочки и щелевой трубы (если используется). Она изменяется вместе с объемом раздутого зонда.
Примечание 3 - Потеря объема происходит из-за расширения нагнетательного трубопровода, устройства измерения давления и сжатия газа, содержащегося в жидкости, нагнетаемой в центральную измерительную камеру. Она изменяется вместе с ростом давления в зонде.
В.2 Потеря давления одной мембраной центральной измерительной камеры
Значение pm потери давления от раздутия мембраны, которое является постоянным для каждой партии мембран центральной измерительной камеры, должно быть получено от поставщика мембраны. Если эта информация отсутствует, то значение pm должно быть установлено путем проведения испытания на раздутие каждой мембраны по В.2.1 и В.2.2.
Значение потери давления от раздутия мембраны должно быть известно до проведения испытания с тем, чтобы ввести поправку в разницу давлений между центральной измерительной камерой и ограждающими камерами.
В.2.1 Приготовление прессиометрического зонда для проверки потери давления мембраной центральной камеры
Зонд должен быть оснащен только мембраной центральной измерительной камеры, которая соединяется короткой подводящей линией (менее 2 м) и удерживается вертикально. Центральная измерительная камера и подающая магистраль должны быть полностью заполнены жидкостью, обеспечивая удаление воздушных пузырьков. Затем мембрана должна быть раздута по меньшей мере в три раза путем нагнетания объема жидкости, равного 700 см3 (или 550 см3 для короткого зонда, используемого в пределах щелевой трубы).
Для этой операции блок наддува и считывания должен быть подключен к устройству измерения давления, обеспечивающего точность показаний не менее 10 кПа.
Устройство, измеряющее нагнетаемый объем, должно быть установлено на нуль при размещении центра измерительной камеры на уровне положения средства измерений давления.
В.2.2 Измерение потери давления мембраной центральной камеры
Мембрана должна раздуваться с приращениями давления Δp, равными 10 кПа. Каждый уровень давления должен удерживаться постоянным в течение 60 с. Объем жидкости V60, измеренный в момент 60 с, должен быть использован для построения графика кривой зависимости:
V60=f(p).
Потеря давления от раздутия мембраны pm должна быть задана давлением, соответствующим 700 см3 жидкости, поданной в камеру (550 см3 для короткого зонда в щелевой трубе).
В.3 Проверка средств измерений на месте проведения исследования
Отсчеты аналоговых и цифровых измерительных приборов блока управления (CU) должны быть сопоставлены с любым другим доступным средством измерений (например, с показаниями дисплея регистратора данных, дополнительными манометрами и т.д.) по меньшей мере в начале работы на каждом новом объекте. Любое различие должно быть тщательно проанализировано.
Далее блок управления должен быть проверен на правильную работу средств измерений давления и объема, как задано в соответствующей методике, например путем сравнения показаний, полученных на разных преобразователях давления, а в случае метода В - между волюметром и дисплеем регистратора данных.
Оборудование должно быть скорректировано, заменено или отремонтировано, если разность между показаниями превышает следующие значения:
a) для показаний давления:
5 % среднего значения двух показаний или
1 % полной шкалы измерения, в зависимости от того, что больше;
b) для объемов: 3 см3.
В.4 Коррекция показаний
Жесткость мембраны и оболочки в сборе уменьшается в течение их первого расширения, и это должно быть сведено к минимуму путем предварительного расширения, как изложено в В.4.1.
Операции, описание которых дано в В.4.2 и В.4.3, должны быть проведены в следующих случаях:
- при каждой смене конфигурации прессиометрического зонда;
- при каждой смене подводящих коммуникаций между зондом и блоком нагнетания и считывания;
- через интервалы, зависящие от загруженности прессиометра, например раз в неделю при ежедневной эксплуатации.
Эти операции должны быть выполнены, когда зонд готов к погружению в прессиометрический карман, т.е. когда магистрали подключены и газовые пузырьки удалены из центральной измерительной камеры и гидравлического контура.
В.4.1 Предварительная прокачка зонда и обнуление средства измерения объема
Перед использованием зонда его сначала необходимо надуть не меньше трех раз на открытом воздухе путем нагнетания 700 см3 жидкости в центральную измерительную камеру (550 см3 в короткий зонд с щелевой трубой).
После этого проводят следующие операции:
- средство измерения объема должно быть установлено на нуль путем регулировки объема жидкости, но в то же время центр измерительной камеры сохраняется на уровне средства измерения давления;
- включают устройство получения и регистрации показаний, т.е. регистратор данных (метод В);
- начальный отсчет каждого преобразователя должен быть проверен и в зависимости от типа испытаний зафиксирован (методы А и В).
В.4.2 Поверочное испытание на потерю объема в оборудовании
Зонд (с натянутой резиновой оболочкой или оснащенный щелевой трубой) должен быть помещен в цилиндр для поверки потерь давления согласно описанию в 4.6.4 и рисунку В.1. Зонд должен быть надут путем приращения давления Δp сначала на 100 кПа до тех пор, пока перфорированная труба не коснется цилиндра поверки. После этого момента равными приращениями давление в зонде поднимают до его максимального номинального значения. Во время второй части этого поверочного испытания каждый уровень давления следует прикладывать в пределах 20 с и удерживать 60 с.
Давление в ограждающих камерах должно соответствовать условиям, указанным в В.4.4.
В.4.2.1 Получение поправки на потерю объема для оборудования
Значение поданного в камеру объема в конце каждого уровня давления должно быть зафиксировано и использовано при построении графика
Vr=f(pr),
представляющего собой кривую поправки на потерю объема.
Коэффициент потери объема α, на который ссылаются в D.1.4, фактически отражает наклон прямой, соответствующей части графика после соприкосновения зонда с поверочным цилиндром (см. рисунок В.2):
Vr=Vp+αpr,
где Vp отвечает точке пересечения оси объема с прямой линией наилучшего соответствия, проведенной к построенным точкам.
Значение α должно быть меньше 6 см3/МПа (когда прессиометр подключен к магистралям длиной не более 50 м).
Более высокие значения α говорят о неадекватном заполнении жидкостью, утечке в гидравлическом контуре или другой проблеме. Все оборудование, включая блок управления, подводящие коммуникации и зонд, должны быть снова проверены.

1 - тарировочный цилиндр; 2 - прессиометрический зонд
Рисунок В.1 - Тарировочный цилиндр для определения поправки на потерю объема
В.4.2.2 Получение объема Vc центральной измерительной камеры
Начальный внешний объем центральной измерительной камеры определяют по формуле
Vc=0,25πlcdi2-Vp,
где Vp - пересечение оси объема прямой линией наилучшего соответствия, полученного в В.4.2.1;
lc - длина центральной измерительной камеры, измеренная при установке мембраны в стальной каркас зонда, как показано на рисунке В.1 и в таблице А.1. При оснащении зонда щелевой трубой, lс = lcs для короткого зонда и lс = lс1 для длинного зонда;
di - внутренний диаметр тарировочного цилиндра. Это значение должно быть записано в протоколе прессиометрического испытания.

Vr - объем жидкости в конце каждого уровня поддержания давления;
pr - давление в измерительной камере;
Vp - пересечение прямой линией Vr = Vp - αpr.
Рисунок В.2 - Поверка на потерю давления. Пример
В.4.3 Поверочное испытание на потерю давления в зонде
Зонд должен быть размещен вблизи средства измерений давления, как показано на рисунке В.3, и на открытом воздухе. Зонд должен быть надут, как если бы он находился в земле, путем приращения давления Δp, равного 1/5 ожидаемой потери давления в зонде ре1. Каждое приращение давления следует удерживать 60 с. Общий объем жидкости, введенной в измерительную камеру, должен составлять не менее 700 см3 (550 см3 для короткого зонда с щелевой трубой).
Примечание - Потеря давления ре1 в зонде зависит от типа мембраны, оболочки и щелевой трубы (если она установлена), которые используются. Предпочтительно адаптироваться к типу грунта, который надо исследовать. Эта потеря давления может колебаться между 0,05 и 0,2 МПа.
Результирующая кривая объема в сравнении с давлением V60 = f(pe) показана на рисунке В.4. Значение zc - zs должно быть сведено к минимуму с тем, чтобы можно было пренебречь поправкой к измеренному давлению (см. D.1.1 и рисунок D.1).
Значения давления, полученные по этой кривой для каждой ступени давления, должны быть использованы для коррекции потери давления (см. D.1.3).
Конечная потеря давления зондом ре1 (см. рисунок В.4) должна соответствовать показанию давления для введенного в камеру объема жидкости, равного 700 см3 (или 550 см3 для короткого зонда с щелевой трубой).

1 - прессиометрический зонд; 2 - средство измерения давления; 3 - регулятор давления; 4 - поверхность земли; z - уровень
Рисунок В.3 - Положение зонда и регулятора давления во время поверки на потерю давления

Рисунок В.4 - Пример графика потери давления для прессиометрического зонда
В.4.4 Оценка давления газа в ограждающих камерах для данного испытания
Давление газа в ограждающих камерах не должно быть выше давления в центральной измерительной камере. Значение давления ограждающей камеры должно быть установлено перед каждым испытанием и зафиксировано на первом уровне поддержания давления.
В течение приложения давления рс в центральной измерительной камере давление газа рk в ограждающих камерах следует регулировать согласно следующим правилам (см. таблицу 1 в 3.2 и D.1 в отношении обозначений).
Для зонда типа G, где ограждающие камеры создаются всей оболочкой, давление газа рk в ограждающих камерах должно быть ниже давления в центральной измерительной камере, но достаточно высокое, чтобы поддерживать оболочку прессиометрического зонда в цилиндрической форме
pc-3pm≤pk≤pc-2pm
или
pr+(ph-3pm)≤pk≤pr+(ph-2pm)
и pk=0 до тех пор, пока pr + (рр - 2рm) = 0,
где pc - давление жидкости в центральной измерительной камере; рс = pr + ph;
pm - потеря давления на мембране центральной измерительной камеры;
pk - давление газа в ограждающих камерах. Так как удельный вес газа изменяется с ростом давления, то
pk=pg[1+λg(zcg-zp)].
Так как значения zc и zcg будут положительными, то значение zp должно быть отрицательным и выражение (zcg - zp) фактически будет представлять сумму абсолютных значений |zcg| и |zp|;
pr - отсчет давления жидкости в CU на уровне zc;
ph - напор в магистрали подачи жидкости между датчиком давления жидкости и центральной измерительной камерой ph = γ1 (zc - zp) согласно D.1.1;
pg - показание прибора в CU о давлении газа в ограждающих камерах. Средство измерений в CU отражает показания уровня zcg и уровня зонда zs;
λg - скорость изменения напора газа при давлении рk в расчете на метр глубины.
Когда нет данных о λ, то рекомендуется принимать λg = 1,15·10-4 на метр или
λg=1,15·10-4 м-1.
Примечание 1 - Для практических целей изменение удельного веса газа допускается не учитывать при разности уровней между CU и зондом менее 30 м и давлении газа менее 5 МПа. В этом случае рk = рg.
Примечание 2 - Для большинства целей допущение zcg = zc является приемлемым.

1 - поверхность земли; 2 - блок управления (CU); 3 - прессиометрический зонд; 4 - магистраль подачи газа; 5 - магистраль подачи жидкости zc и zcg будут положительными, a zp - отрицательным
Рисунок В.5 - Детализация давлений и уровней в процессе прессиометрического испытания по Менарду
Приложение С
(обязательное)
С.1 Общие предположения
Проведение прессиометрического испытания и подготовку серии карманов для размещения прессиометрического зонда следует рассматривать вместе. Качество стенки каждого кармана обусловливает качество каждого испытания. Чтобы разместить зонд в грунте и получить действительные прессиометрические параметры по Менарду, способ образования кармана должен быть адаптирован к перечисленному ниже типу грунта (см. таблицу С.2). Если условия естественного залегания грунта неизвестны, то для исключения неожиданностей и сбоев на место проведения исследования должно быть доставлено оборудование для нескольких разных способов испытаний.
Если используется технология размещения зонда в грунте, отличная от способов, перечисленных в С.2 или С.3, то подрядная организация должна быть способной по соответствующему запросу подтвердить, что предложенный способ также дает прессиометрические результаты удовлетворительного качества (см. D.2.2).
С.1.1 Расстояние между испытаниями и минимальная глубина зонда в грунте
В любом случае при прессиометрическом зондировании расстояние между двумя последовательными испытаниями должно быть не менее 0,75 м. Расстояние между расположением центральной камеры зонда для двух последовательных испытаний должно быть равным 1 м.
Глубина zc ниже уровня земли в прессиометрическом зондировании должна быть не менее 0,75 м.
Зонд должен быть размещен в кармане таким образом, что верхняя часть его длины в расширенном состоянии находилась по меньшей мере на 0,5 м от края кармана.
Если прессиометрический карман создается со дна скважины большего размера, то глубина расположения центральной камеры должна быть не менее 0,75 м от условного дна скважины.
Нижняя часть длины зонда в расширенном состоянии не должна располагаться ближе 0,3 м от дна кармана.
С.1.2 Максимальная длина бурения до размещения прессиометрического зонда
Когда карман выполняют путем бурения, прессиометрический зонд должен быть установлен в этот карман как можно быстрее по завершении бурения (см. С.1.3). Бурение следует проводить отдельно для каждого испытания. Однако возможно бурение сразу для нескольких испытаний, если позволяют грунтовые условия и время, как показано в таблице С.1.
|
Тип грунта |
Максимальная непрерывная длина стадии бурения или забивки, в метрах | ||
|
Адаптированное роторное бурениеb |
Ударно-вращательное бурениеb |
Задавливание, забивка и виброзабивкаc | |
|
Ил и мягкая глина, мягкий суглинок |
1а |
- |
1а |
|
Твердые суглинки |
2 |
2 |
3 |
|
Суглинки средней пластичности |
5 |
4 |
4 |
|
Илистые грунты: | |||
|
- над уровнем грунтовых вод |
4 |
3 |
3 |
|
- ниже уровня грунтовых вод |
2а |
1а |
- |
|
Рыхлые песчаные грунты: | |||
|
- над уровнем грунтовых вод |
3 |
2 |
- |
|
- ниже уровня грунтовых вод |
1а |
1а |
- |
|
Средней плотности и плотные песчаные грунты |
5 |
5 |
4 |
|
Крупные гравий и галька |
3 |
5 |
3 |
|
Крупнообломочные сцементированные грунты |
4 |
5 |
3 |
|
Рыхлые неоднородные грунты, другие грунты, не указанные выше (например, валунная глина) |
2 |
3 |
2 |
|
Выветрелая скальная порода |
4 |
5 |
3 |
|
а Или необходимый интервал между двумя последовательными испытаниями. b См. таблицу С.2 в отношении приемлемой технологии. с Не применяется к способу STDTM (см. С.2.6.3). | |||
С.1.3 Время между подготовкой кармана и испытанием
При изготовлении карманов путем бурения или задавливания стакана прессиометрическое испытание должно быть выполнено сразу же после их изготовления и в течение одной рабочей смены.
Если сам прессиометрический зонд непосредственно забивается или задавливается в грунт внутри щелевой трубы, возможны два способа проведения испытания:
- после остановки забивки на каждой глубине испытания или
- после завершения забивки или задавливания путем обратного подъема колонны обсадных труб или штанг между испытаниями.
Примечание 1 - Первый способ предполагает некоторую задержку во времени между окончанием забивки или задавливания и началом испытания, необходимую для гарантированного восстановления порового давления.
Примечание 2 - Второй способ применяют, только если диаметр колонны обсадных труб такой же, как и диаметр щелевой трубы. Этот способ обеспечивает восстановление порового давления воды для верхних испытаний без дополнительной задержки.
С.2 Способы размещения зонда без смещения грунта
С.2.1 Общие положения
Во-первых, при изготовлении испытательного кармана бурением особое внимание должно быть уделено качеству стенки полученного кармана. Во-вторых, диаметр кармана должен соответствовать диаметру прессиометрического зонда. Для любого требования, не считая способы отбора проб грунта, особенностей пробоотборников и диаметров скважин, ссылка на ИСО 22475-1 является обязательной.
Указания таблицы С.2 должны быть приняты во внимание при выборе метода и соответствующего оборудования.
При выборе метода и оборудования необходимо учитывать, что стенка испытательного кармана должна быть как можно более гладкой, а диаметр кармана должен быть как можно более выдержанным по всей его длине.
Примечание - Если диаметр испытательного кармана значительно изменяется, например по причине отслоения грунта или в случае, когда форма кармана не является цилиндрической, качество испытания будет ухудшаться.
С.2.2 Диаметр режущего инструмента для создания кармана
При определении диаметра необходимого режущего инструмента для бурения испытательного кармана должны быть приняты во внимание три фактора:
- требуемый диаметр кармана;
- излишнее увеличение диаметра кармана в результате раскачивания режущего инструмента, или размывания стенки буровым раствором, или того и другого вместе;
- выпучивание грунта, возникающее между извлечением режущего инструмента и размещением зонда.
Выпучивание или набухание грунта внутрь может быть уменьшено путем использования соответствующего бурового раствора.
Диаметр инструмента должен быть не более 1,08dc (см. таблицу А.1 и примечание 2 в разделе 1).
При выборе оборудования для места работы в условиях естественного залегания грунта следует иметь в распоряжении несколько разных диаметров режущего инструмента с тем, чтобы выбрать наиболее оптимальный для получения необходимого диаметра кармана.
В зависимости от вида грунта для изготовления прессиометрического кармана может быть использован один из технических приемов, представленных в таблице С.2.
С.2.3 Вращательное бурение
С.2.3.1 Бурение скважины без обсадки (OHD - open hole drilling)
Вращательное бурение без обсадки ствола скважины осуществляется буровой установкой и заключается во вращении бурового снаряда, снабженного породоразрушающим наконечником, с приложением вертикального усилия с транспортировкой выбуренной породы на поверхность вместе с потоком промывочной жидкости.
Примечание - Данный метод не описан в ИСО 22475-1 (см. С.2.1 и С.2.2).
В качестве породоразрушающего наконечника следует использовать долото режущего (лопастного) типа или шарошечное долото для твердых пород специальной конструкции с осевыми выпускными соплами в нижней части долота.
Для разбуривания испытательного кармана выше уровня подземных вод допускается использовать ручной винтовой бур (шнек). Он состоит из двух трубчатых стальных сегментов с режущей кромкой или режущими пластинками шнека, прикрепленными сваркой к общей штанге в форме почти полной трубы, но с диаметрально противоположными продольными прорезями. Лопасти шнека соединяются в нижней части с винтовым буром. Пластины также блокируют выпадение захваченного грунта. Ручку прикрепляют сверху удлинительной штанги.
Ручное шнековое бурение (НА) дает хорошие результаты в глинистом грунте мягкой и средней пластичности.
Примечание - В зависимости от пластичности и классификации грунта использование ручного шнека может быть затруднительным. Стенки кармана могут быть повреждены слишком частыми извлечениями режущего инструмента. Этот способ используется для испытаний на небольшой глубине (от 4 до 6 м).
Напротив, ручное шнековое бурение с осевым нижним выбросом пульпы (НАМ для ручного шнека с буровым раствором) может быть использовано также для стабилизации стенок кармана. Такое бурение может быть использовано в глинах, показывающих предельные давления до 0,5 МПа до тех пор, пока:
- пластины шнека остаются острыми и
- диаметр шнека немного превышает диаметр прессиометрического зонда, но все же находится в пределах, не превышающих на 8 % диаметр зонда.
Необходимо обращать внимание на то, чтобы шнек не просто выдавливал очень мягкий грунт.
С.2.3.2 Технические условия для улучшения работы
Вращающееся буровое долото должно продвигаться вперед в грунте, удовлетворяя при этом следующим условиям:
- низкое вертикальное давление на бурильный инструмент, медленное вращение (меньше 60 об/мин) и
- медленное и управляемое движение буровой жидкости, соответствующей виду грунта, в котором осуществляется бурение.
Буровой раствор должен вызывать минимальное повреждение стенки прессиометрического кармана. Следует применять раствор достаточной вязкости, чтобы транспортировать выбуренную породу на низких скоростях работы насоса.
С.2.4 Бурение проходным шнеком (CFA)
Проходной шнек состоит из короткой стальной спиральной ленты, приваренной к тонкому стальному стержню с режущим наконечником. Этот стержень подсоединяется к буровым штангам или дополнительным секциям шнека, соединенным с бурильной колонной. Диаметр режущего наконечника должен быть немного больше диаметра шнека для предотвращения затирания стенки кармана. Во время извлечения шнек должен вращаться.
Примечание - Данный метод не описан в ИСО 22475-1 (см. С.2.1).
Когда используется проходной шнек с полым стержнем для одновременного бурения и укрепления начального ствола скважины, то конец шнека необходимо держать закрытым. Большую осторожность надо проявлять при снятии заглушки шнека, чтобы не повредить испытательную зону за счет возникшего всасывания.
С.2.5 Роторное колонковое бурение (CD)
При колонковом бурении используют колонковую трубу для отбора керна и вращательный способ бурения.
Оборудование и режущий инструмент следует выбирать с расчетом, чтобы циркуляция глинистого раствора не разрушала прессиометрические испытательные карманы. Применение ИСО 22475-1 ограничено (см. С.2.1 и С.2.2).
Этот способ дает подробное описание литологии и мощности разных слоев грунта. Кроме того, образец керна можно использовать для лабораторных испытаний, но приоритет должен быть отдан качеству стенки кармана.
С.2.6 Вращательно-ударное бурение (RP и RPM)
С.2.6.1 Общие положения
Для грунтов, для которых этот способ является приемлемым (см. таблицу С.2), можно использовать вращательное ударное бурение, заключающееся в проведении прессиометрического зондирования путем подъема и сброса бурового долота под действием пневматического или гидравлического давления. Разрушение грунта под действием бурового долота увеличивается за счет его вращения.
С.2.6.2 Вращательно-ударное сухое бурение (RP)
Удаление выбуренной породы осуществляется продувкой воздухом. При использовании этого способа надо иметь данные о содержании воды, глины и прочности грунта. Этот способ может быть использован главным образом для испытаний на небольших глубинах из-за ограничения в создании необходимого давления воздуха.
С.2.6.3 Вращательно-ударное бурение с использованием буровых растворов (RPM)
При использовании этого способа образование кармана осуществляется быстрым возвратным поступательным и вращательным движением молота. Удаление разбуренного грунта осуществляется за счет циркуляции буровой жидкости.
С.2.7 Задавливаемые, забивные или виброзабивные грунтоносы (РТ, TWT, DT и VDT)
С.2.7.1 Общие положения
Для определенных условий естественного залегания (см. таблицу С.2) грунтонос с круглым поперечным сечением может задавливаться, забиваться и вибрационным способом погружаться в грунт. Труба грунтоноса должна иметь внутренний скошенный режущий край, чтобы минимизировать предварительное напряжение стенки кармана до начала испытания.
Примечание - Устройства для отбора проб, характеризуемые далее, не соответствуют ИСО 22475-1, но их можно классифицировать как методы отбора проб, соответствующие категории выборки С согласно ИСО 22475-1.
С.2.7.2 Залавливаемые грунтоносы (РТ и TWT)
Для создания прессиометрического кармана в мягких и средней пластичности глинистых грунтах и в илистых грунтах выше уровня подземных вод можно использовать задавливаемые грунтоносы. Если карман не может быть получен однократным воздействием, то следует выбрать другой метод изготовления испытательного кармана. Для того чтобы избежать повреждения стенки кармана и нижележащих слоев, которые надо испытывать на деформацию, требуется извлечение полного керна.
Труба должна подниматься на поверхность медленно, чтобы предотвратить выпучивание стенки кармана вследствие эффекта всасывания.
В донных илистых отложениях и мягкой глине следует применять тонкостенные грунтоносы.
С.2.7.3 Забивные (DT) и виброзабивные грунтоносы (VDT)
Для грунтов большей пластичности (см. таблицу С.2) следует применять трубы с толстыми стенками. Их можно забивать трамбовкой или вибрационным молотом.
С.2.8 Щелевая труба с внутренним отделяющимся инструментом и циркуляцией бурового раствора (STDTM)
В некоторых условиях естественного залегания (см. таблицу С.2) можно использовать технический способ STDTM. Он включает в себе создание кармана с использованием открытой щелевой трубы, которая является неотъемлемой частью обсадной трубы для крепления ствола скважины ближе к ее нижнему концу. Можно выбирать один из двух методов:
- обсадная труба забивается с минимальным смещением грунта путем использования режущего башмака с внутренним скосом. Грунт внутри обсадной трубы удаляется соответствующим буровым долотом;
- обсадная труба опускается за счет быстрого возвратно-поступательного действия молота. Бурение проводится одновременно с заглублением обсадной трубы. Режущий инструмент с подачей буровой жидкости либо слегка выступает от башмака обсадной трубы, либо находится на одном уровне с ней.
Перед каждой серией прессиометрических испытаний бурильную колонну извлекают на поверхность. Затем зонд должен быть установлен в центре щелевой трубы.
С.3 Размещение зонда забивной перфорированной трубой (DST)
В структурно неустойчивых грунтах, обладающих плывунными свойствами, при невозможности предотвратить обрушение стенок испытательного кармана зонд можно затолкнуть или забить в грунт непосредственно или внутри щелевой трубы с забивным острием или режущим башмаком.
Между зондом и острием или режущим башмаком должна быть установлена удлинительная труба по диаметру зонда или щелевая труба с тем, чтобы предотвратить эффект уплотнения грунта на уровне зонда.
В некоторых случаях проводится бурение направляющего отверстия значительно меньшего диаметра, чем прессиометрический зонд. Это может потребоваться для облегчения процесса погружения зонда. После бурения небольшого по размеру открытого отверстия карман расширяют до необходимого значения диаметра путем задавливания или вибрационного продвижения зонда.


Приложение D
(обязательное)
D.1 Получение скорректированной прессиометрической кривой
D.1.1 Общие положения
Значения давления и объема, считываемые во время испытания, должны быть скорректированы:
- для гидравлического напора ph;
- потери давления зонда ре;
- потери объема всего оборудования во время нагнетания жидкости
D.1.2 Коррекция гидравлического напора зонда
Во время испытания на данном уровне zs давление в центральной камере должно быть равно сумме давления на регуляторе давления и гидростатического напора ph между уровнем расположения устройства измерения давления и центром прессиометрического зонда (см. рисунок D.1)
ph=γ1(zc-zs).
D.1.3 Поправка на потерю давления зонда
Эта поправка касается потери давления ре прессиометрического зонда в зависимости от Vr (см. В.4.3 и рисунок В.4). Эта экспериментальная кривая должна быть описана одной из следующих математических функций в зависимости от цели анализа испытания. Методы перечисляются, начиная от приближенного (грубый анализ) до детально разработанного (исследовательская работа):
- первый метод - линейная интерполяция между экспериментальными точками;
- второй метод - интерполяция типа степенной зависимости
pe(Vr)=b(Vr)m+c,
где m - выбирают между 0 и 1;
b и с - получают методом среднеквадратической регрессии;
- третий метод - двойное гиперболическое регулирование.
Поскольку потеря давления зависит от типа мембраны и оболочки, щелевой трубы (при ее наличии) и объема нагнетаемой жидкости, скорректированное давление имеет вид
p=pr(Vr)-pe(Vr).

1 - прессиометрический зонд; 2 - прессиометрический ствол скважины; 3 - обсадная труба; 4 - уровень воды; 5 - поверхность дна акватории; 6 - устройство измерения давления жидкости; 7 - блок управления (CU); z - отметка уровня
Рисунок D.1 - Положение уровня зонда и блока управления во время испытания
D.1.4 Поправка на потерю объема
Коррекция потери объема, касающаяся экспериментальной кривой потери объема прессиометрического зонда, которая была показана в В.4.2.2, должна быть осуществлена с использованием коэффициента α, полученного по методу линейной регрессии (см. В.4.2.1).
Для данного значения давления рr объем Vr должен быть скорректирован с тем, чтобы учесть потери объема зонда, коммуникаций и измерительной системы
V=Vr(pr)-αpr.
Примечание - Поправка на потерю объема не является обязательной в грунтах от мягкой до средней жесткости.
Вместо метода линейной регрессии предпочтение следует отдавать разработанным методам, например гиперболической модели или прямой линейной связи между экспериментальными точками.
D.1.5 Скорректированная прессиометрическая кривая
Уменьшенные значения объема и давления, считанные на каждом уровне давления за истекшее время 60 с, получают из следующих уравнений:
p=pr+ph-pe(Vr),
V=Vr-Ve(p).
Прессиометрическая кривая должна быть построена в координатах давления по горизонтальной оси и объема по вертикальной оси (ЕН 1997-2:2007, пункт 4.4.3(5), таблица 4.1).
D.2 Оценка качества прессиометрического испытания
D.2.1 Анализ прессиометрического испытания
Скорректированную прессиометрическую кривую следует анализировать вместе с исправленной кривой ползучести, принимая во внимание следующее:
- наклон mi участков прямой линии между экспериментальными точками
.
- и значения ползучести по Менарду ΔV60/30 (см. рисунки 5 и D.2).
Скорректированную прессиометрическую кривую следует анализировать вместе с исправленной кривой ползучести, принимая во внимание наклон mi и значения ползучести по Менарду ΔV60/30 на каждом уровне поддерживаемого давления (см. рисунки 5 и D.2). В завершенном испытании последовательность считываний можно разделить на три последовательные группы:
- первая группа состоит из показаний считываний, полученных во время расширения зонда вплоть до касания поверхности зонда и стенки кармана; они обычно демонстрируют высокие значения ползучести по Менарду;
- вторая группа в нижнем диапазоне давлений состоит из показаний, которые соответствуют низкому наклону графика mi и малым значениям давления ползучести по Менарду. Эта группа отражает псевдопластическую часть кривой;
- третья группа в верхнем диапазоне давлений демонстрирует все более высокие значения наклона и давления ползучести по Менарду. Эта группа идентифицирует пластическую фазу.
Давление ползучести по Менарду pfM должно быть обнаружено в переходной зоне между последними двумя группами (см. D.3).
Модуль Менарда EM должен быть получен из второй группы считываний (см. D.5).
Предельное давление по Менарду pLM должно быть получено из третьей группы считываний (см. D.4).
Область на прессиометрической кривой между первой и второй группой используют для того, чтобы определять момент соприкосновения зонда со стенкой кармана.
D.2.2 Качество прессиометрического испытания
Разброс контрольных точек и форма прессиометрической кривой должны отражать качество испытательного кармана.
Если стенка испытательного кармана является почти безупречной и испытание выполнено в идеальных условиях, то первая группа показаний должна завершиться до начала снятия отсчетов первого уровня давления, что указывает на высокое качество испытания.
Чтобы установить все три параметра pfM, pLM и EM требуются по меньшей мере две точки данных во второй группе и две точки данных в третьей группе.
Если в испытании одна группа считываний является неполной или пропущенной, то это оказывает следующее влияние на определение этих трех параметров;
- если прессиометрическая кривая включает в себя только вторую и третью группы считываний с меньшим числом, чем две точки данных во второй группе, то значения EM и pfM не могут быть получены;
- если прессиометрическая кривая включает в себя только первую и вторую группы показаний (т.е. одна или ни одной точки данных в третьей группе), то значения pLM и pfM не могут быть получены.
Примечание - Прессиометрическая кривая, которая включает в себя только две последние группы считываний, может быть получена из испытания, выполненного в рыхлом грунте или в слишком узком кармане. Слишком большой карман может дать прессиометрическую кривую, которая включает в себя только первые две группы считываний.

1 - начальная оценка; 2 - конечная проверка; 3 - двойная гиперболическая аппроксимирующая кривая; 4 - обратная прямая линия объема, соответствующая последним трем значениям; 5 - пример соответствия точек ползучести; i - начальный
──────────────────────────────
а Скорректированные точки результатов прессиометрического испытания, подобранные с двойной гиперболической кривой.
b Точки данных прессиометрической ползучести (шкала объема увеличена в 10 раз).
с Скорректированные точки данных прессиометрического испытания на 1/V шкале (шкала обратных величин объема на вертикальной оси, правая сторона).
d Точки сохраняются для получения EM после окончательной проверки для pLM и pfM.
е Черная точка, оставленная для pLM (D.4.2).
f Две серые точки, первоначально ограничивающие псевдопластический диапазон (D.5.1).
Рисунок D.2 - Анализ кривой прессиометрического испытания. Пример
D.3 Прессиометрическое давление ползучести
Если имеются показания по меньшей мере как во второй, так и в третьей группе, то должна быть сделана количественная оценка давления ползучести pfM с использованием следующих графических анализов:
- графический анализ диаграммы (р, ΔV60/30) Две прямые линии должны быть начерчены на графике (р, ΔV60/30): первая линия, связанная с точками данных второй группы, и вторая линия, связанная с точками данных третьей группы, как показано на рисунке D.2. Абсцисса пересечения двух прямых линий должна давать первое значение для pfM, обозначаемое рfMi;
- графический анализ диаграммы (р, ΔV60). Граничную линию для второй группы точек (псевдопластическая фаза) прессиометрической кривой и третьей группы точек (большие деформации) обозначают как абсциссу p2i.
Значение давления ползучести должно лежать между pfMi и p2i. Чем ближе pfMi и p2i, тем выше качество испытания.
Эта величина должна быть подтверждена во время окончательной проверки (см. D.6) при рассмотрении значений pLM и EM, определяемых в следующих разделах.
D.4 Прессиометрическое предельное давление
D.4.1 Определение
Так как прессиометрическое предельное давление определяют при удвоении объема центральной измерительной камеры, который также называют объемом кармана, и в связи с тем, что фиксируемый объем не включает в себя исходный объем Vc центральной измерительной камеры (см. В.2.2.1), предельное давление должно быть откорректировано подавлению, для которого скорректированный объем, добавленный в центральную камеру зонда, определяется по выражению (см. рисунок D.2)
VL=Vc+2V1.
D.4.2 Прямое решение
Если во время испытания нагнетаемый объем становится таким, что объем центральной камеры прессиометрического зонда начинает превышать
Vc+2V1,
то предельное давление должно быть получено путем линейной интерполяции.
D.4.3 Методы экстраполяции
D.4.3.1 Общие положения
Если во время испытания объем добавленной в камеру жидкости менее Vc + 2V1, использовать прямой метод невозможно. Поэтому предельное давление должно быть экстраполировано.
Каждый из двух методов экстраполяции, изложенных в D.4.3.2 и D.4.3.3, должен быть применен к результатам испытания. Окончательное значение предельного давления, которое надо зафиксировать в протоколе испытания, должно быть установлено по методу, изложенному в D.4.4.
Для этих методов экстраполяция разрешается, только когда число ступеней давлений, приложенных свыше давления pfM, по меньшей мере равно двум (см. D.6).
Если предельное давление не будет получено прямым методом или методами экстраполяции, то значение предельного давления должно быть указано в отчете как pLM> р, где р - последнее приложенное скорректированное давление.
D.4.3.2 Метод обратной величины (1/V)
Пары считывания показаний (р, V) должны быть преобразованы в значения (р, 1/V), по которым строится график. Линейная регрессия должна быть выполнена на основе последних трех отсчетов.
Эта экстраполяция должна быть получена путем выражения
Y=Ap+B
с
Y=V-1,
где А и В - коэффициенты, полученные путем метода наименьших квадратов Y на р.
Предельное давление должно быть установлено по уравнению
.
D.4.3.3 Двойной гиперболический метод
Прессиометрическая кривая должна быть аппроксимирована прямой линией, касательной к двум гиперболическим участкам, в соответствии с уравнением
.
Коэффициенты А5 и А6 являются абсциссами вертикальных асимптот каждой гиперболы.
Матрица четырех коэффициентов [А] = [A1, А2, А3, А4] должна быть получена для значений пределов асимптот А5 и А6 путем следующего преобразования
[A]=[Xt·X]-1·[Xt·V],
где
.
А5 и А6 найдены путем анализа наименьших квадратов по V на основе метода Гаусса-Ньютона.
Предельное давление pLMDH должно быть установлено для VL = Vc + 2V1 из двойного гиперболического уравнения, представленного выше, с использованием аналитического выражения, представленного единственным положительным решением как 0
LMDH <А6 в уравнении третьей степени
.
Примечание - Сведения о математическом моделировании см. в [2]-[4].
D.4.4 Предельное давление путем экстраполяции, конечный шаг
Сумма ошибок ∑i|Vвычисленный-Vизмеренный| для каждой экстраполированной кривой, полученной двумя методами, изложенными в D.4.3.2 и D.4.3.3, должна быть вычислена и разделена на число использованных точек. Предельное давление pLM должно быть определено методом, обеспечивающим получение наименьшей средней ошибки.
D.5 Получение прессиометрического модуля Менарда
D.5.1 Выбор псевдопластического диапазона
Анализ скорректированной прессиометрической кривой следует начинать с вычисления наклона mi каждого линейного участка между двумя смежными точками данных (см. рисунок 5)
,
где pi, Vi - координаты для начала участка N i (i ≥ 1).
Наименьшее значение mi, всегда положительное, обозначают mЕ. Координаты начальной точки этого участка (рЕ, VE) и его конца (p'E,V'E) используются для вычисления коэффициента β следующим образом
,
где ΔV - допустимое отклонение для объема V, принятого первоначально 3 см3.
В первом приближении псевдопластический диапазон, по которому определяют прессиометрические модули, должен быть получен путем включения всех последующих участков, наклон которых меньше в β раз минимального градиента mЕ, не равного нулю. Этот диапазон должен быть затем растянут в обоих направлениях от исходной точки первого такого участка до конца самого последнего участка. Координаты исходной точки псевдопластического диапазона должны быть обозначены как (р1, V1), а координаты конца этого диапазона - (р2, V2). Если число интервалов n становится слишком малым (например, n <3), то интервал допустимого отклонения δV должен быть увеличен. Должна быть сделана инженерная оценка, например путем рассмотрения р2, близкого или равного pfMi.
Примечание - В любой момент считывания на испытании и отчетности об испытании быстрая аппроксимация границ псевдопластического диапазона (р1, V1), (р2, V2) может быть получена путем анализа вариации DV/DP между удержаниями давления.
D.5.2 Прессиометрический модуль Менарда EM
D.5.2.1 Общие положения
В соответствии с типом оболочки зонда прессиометрический модуль должен быть получен путем использования уравнений, приведенных в D.5.2.2 или D.5.2.3.
D.5.2.2 Гибкая оболочка
,
где ν - коэффициент Пуассона, обычно принимаемый 0,33.
Модуль EM должен быть задан в мегапаскалях.
D.5.2.3 Щелевая труба
При использовании щелевой трубы модуль EMдолжен быть получен из уравнения в D.5.2.2 или из следующего уравнения
,
где
- объем центральной измерительной камеры после поверки;
- объем центральной измерительной камеры, включая щелевую трубу;
Vm=(V1+V2)/2.
Примечание - Дополнительную информацию в отношении этого уравнения см. в [4].
Соответствующее уравнение, использованное согласно либо D.5.2.2, либо D.5.2.3, должно быть указано в отчете.
D.6 Окончательная проверка прессиометрических параметров
Перед завершением интерпретации прессиометрического испытания значения р1, р2, pfM (в полевых условиях) или pLM (в лаборатории) должны быть отмечены на горизонтальной оси прессиометрической испытательной кривой (см. рисунок 5 и D.2) и проверены с исправленной кривой в целях выявления любых погрешностей или некорректной экстраполяции и проверки выбора границ для трех параметров (pfM, pLM, EM).
При получении предельного давления путем экстраполяции и его фиксации в протоколе испытания оно не должно быть ниже последнего значения откорректированного давления, приложенного к грунту.
Приложение Е
(обязательное)
Е.1 Разрешающая способность средств измерения
Так как показания давления и объема регистрируются вручную или с помощью преобразователей, то должно быть принято во внимание, что их разрешающая способность зависит либо от дисплея (для метода А данные регистрируются вручную), либо от регистратора данных (для метода В данные регистрируются автоматически).
Необходимо руководствоваться минимальными требованиями к средствам измерения, используемым при прессиометрическом испытании по Менарду, как показано в таблице Е.1.
|
Средство измерения для |
Единица измерения |
Диапазон измерения минимум |
Минимальная допустимая разрешающая способность. Метод А |
Минимальная допустимая разрешающая способность. Метод В |
|
Глубины |
м |
- |
0,2 |
0,2 |
|
Времени |
с |
- |
1 |
0,5 |
|
Давления |
кПа |
0-5000 |
1 % или 25а |
1 % или 15а |
|
Объема |
см3 |
0-700 |
2 |
1 |
|
а Допустимая минимальная разрешающая способность должна быть большим значением из двух. Относительная разрешающая способность должна применяться к измеренному значению, а не к диапазону измерения. | ||||
Е.2 Погрешности измерений
Должна быть рассмотрена зависимость точности измерений от оборудования и типа средств измерения давления и объема, включенных в состав оборудования.
Погрешность определяется как интервал, в рамках которого будет встречаться истинная мера величины.
Погрешности в прессиометрическом испытании должны быть вычислены согласно следующим возможным источникам (перечень может быть расширен):
- влияние температуры окружающей среды и переходных процессов;
- плохая продувка оборудования от пузырьков воздуха;
- получение данных;
- смещение нуля средства измерений во время испытания;
- качество испытательного кармана;
- изменчивость грунтов;
- оператор.
Приложение F
(обязательное)
Несмотря на то что содержание записей по формам F.1 и F.2 относится к нормативным минимальным требованиям, выбор формата может быть свободным.
F.1 Паспорт прессиометрического испытания по Менарду


Примечание - При использовании метода А, где давление и объем за 1 с не измеряются, соответствующие графы не принимают во внимание.
F.2 Журнал записи результатов прессиометрического испытания по Менарду
|
Журнал записей испытания с прессиометром в соответствии с ISO 22476-4 |
Наклон прессиометрического зондирования (если есть) |
Номер файла | |||||||||||||||||||||
|
метод А □ |
метод В □ |
Направление зондирования на север
|
N зондирования прессиометром | ||||||||||||||||||||
|
Координаты x = y = zN = |
N генерального плана/расположения оборудования | ||||||||||||||||||||||
|
Возвышение z (м) |
Глубина ниже подземных вод (zN) (м) |
Информация о напластованиях земли |
Уровни воды |
Бурильные инструменты Техника и даты формирования кармана Даты укрепления ствола скважины |
Прессиометрическое предельное давление pLMa Прессиометрическое давление оползания рrа (МПа) |
Прессиометрический модуль Менарда ЕMа (МПа) | |||||||||||||||||
|
0 |
0 |
1 |
2 |
3 |
4 |
5 |
0 |
10 |
20 |
30 |
40 |
50 | |||||||||||
|
1 |
1 | ||||||||||||||||||||||
|
2 |
2 | ||||||||||||||||||||||
|
3 |
3 | ||||||||||||||||||||||
|
4 |
4 | ||||||||||||||||||||||
|
5 |
5 | ||||||||||||||||||||||
|
6 |
6 | ||||||||||||||||||||||
|
7 |
7 | ||||||||||||||||||||||
|
8 |
8 | ||||||||||||||||||||||
|
9 |
9 | ||||||||||||||||||||||
|
10 |
10 | ||||||||||||||||||||||
|
Комментарии |
Компания |
Фамилия Подпись | |||||||||||||||||||||
а Арифметические или логарифмические шкалы являются приемлемыми.
Приложение ДА
(справочное)
Таблица ДА.1
|
Обозначение ссылочного международного (европейского) стандарта |
Степень соответствия |
Обозначение и наименование соответствующего национального стандарта |
|
ISO 14688-1 |
- |
* |
|
ISO 14689-1 |
- |
* |
|
ISO 22475-1 |
IDT |
ГОСТ Р ИСО 22475-1-2017 "Геотехнические исследования и испытания. Методы отбора проб и измерения грунтовых вод. Часть 1. Технические принципы выполнения" |
|
ENV 13005:1999 |
- |
* |
|
* Соответствующий национальный стандарт отсутствует До его принятия рекомендуется использовать перевод на русский язык данного международного (европейского) стандарта. Перевод данного международного (европейского) стандарта находится в Федеральном информационном фонде стандартов. Примечание - В настоящем стандарте использовано следующее условное обозначение степени соответствия стандартов: - IDT - идентичные стандарты. | ||
Библиография
|
[1] |
ISO 10012 |
Measurement management systems - Requirements for measurement processes and measuring equipment (Системы менеджмента измерений. Требования для процессов измерений и измерительного оборудования) |
|
[2] |
General document: Menard L. The Interpretation of Pressuremeter Tests Results. Sols-Soils No. 26, Paris, 1975 | |
|
[3] |
Modelling the pressuremeter curve: Baud J.-P., Gambin M., Uprichard S.T. Modeling and Automatic Analysis of a Menard Pressuremeter Test, in: Geotechnique et Informatique, Proceedings of a Symposium Organised by ENPC in Paris. Presses des Ponts, Paris, 1992 | |
|
[4] |
EN 1997-1 |
Eurocode 7: Geotechnical design - Part 1: General rules (Еврокод 7. Геотехническое проектирование. Часть 1. Общие правила) |
|
[5] |
EN 1997-2 |
Eurocode 7: Geotechnical design - Part 2: Ground investigation and testing (Еврокод 7. Геотехническое проектирование. Часть 2. Исследование земли и проведение испытаний) |


