ГОСТ 34611-2019 АРМАТУРА ТРУБОПРОВОДНАЯ. МЕТОДИКА ПРОВЕДЕНИЯ ИСПЫТАНИЙ НА СЕЙСМОСТОЙКОСТЬ
Pipeline valves. Method of Seismic resistance testing
МКС 23.060.01
ОКПД2 28.14.1
Дата введения - 1 августа 2020 г.
Введен впервые
Предисловие
Цели, основные принципы и общие правила проведения работ по межгосударственной стандартизации установлены ГОСТ 1.0 "Межгосударственная система стандартизации. Основные положения" и ГОСТ 1.2 "Межгосударственная система стандартизации. Стандарты межгосударственные, правила и рекомендации по межгосударственной стандартизации. Правила разработки, принятия, обновления и отмены"
Сведения о стандарте
1 Разработан Акционерным обществом "Научно-производственная фирма "Центральное конструкторское бюро арматуростроения" (АО "НПФ "ЦКБА")
2 Внесен Межгосударственным техническим комитетом по стандартизации МТК 259 "Трубопроводная арматура и сильфоны"
3 Принят Межгосударственным советом по стандартизации, метрологии и сертификации (протокол от 30 октября 2019 г. N 123-П)
За принятие проголосовали:
|
Краткое наименование страны по МК (ИСО 3166) 004-97 |
Код страны по МК (ИСО 3166) 004-97 |
Сокращенное наименование национального органа по стандартизации |
|
Армения |
AM |
Минэкономики Республики Армения |
|
Беларусь |
BY |
Госстандарт Республики Беларусь |
|
Киргизия |
KG |
Кыргызстандарт |
|
Россия |
RU |
Росстандарт |
|
Узбекистан |
UZ |
Узстандарт |
4 Приказом Федерального агентства по техническому регулированию и метрологии от 30 октября 2019 г. N 1125-ст межгосударственный стандарт ГОСТ 34611-2019 введен в действие в качестве национального стандарта Российской Федерации с 1 августа 2020 г.
5 Введен впервые
Введение
Сейсмостойкость является одной из основных характеристик трубопроводной арматуры, обеспечивающих безопасность при ее установке в наземных технологических системах объектов различных отраслей промышленности.
В настоящем стандарте приведены:
а) требования по установке арматуры на вибростенд;
б) различные методики испытаний арматуры:
1) по определению собственных частот колебаний:
- при вибрационном воздействии;
- ударным воздействием;
2) на сейсмостойкость:
- при действии вибрационных нагрузок, имитирующих вибрационное воздействие землетрясения (с учетом требований ГОСТ 30546.1, ГОСТ 30546.2 и ГОСТ 30630.0.0);
- статическим методом.
В приложениях к стандарту приведены:
а) схемы установки и крепления арматуры к испытательному вибростенду;
б) примеры:
1) задания параметров вибрационного воздействия;
2) крепления арматуры к платформе вибростенда;
3) установки на вибростенд клапана при испытании на сейсмостойкость статическим методом;
4) результатов измерений, полученных при испытании клапана виброударным воздействием. Результаты представлены в виде акселерограмм ударных воздействий и спектров частот колебаний;
в) рекомендуемая форма протокола испытаний.
Стандарт разработан авторским коллективом: В.В. Ширяев, Ю.И. Тарасьев, Е.А. Жамов, М.И. Силивина, С.Н. Дунаевский (АО "НПФ "ЦКБА").
Настоящий стандарт устанавливает методики проведения испытаний трубопроводной арматуры на сейсмостойкость.
Настоящий стандарт распространяется на любую трубопроводную арматуру, для которой обязательными являются требования по сейсмостойкости, изложенные в ГОСТ 30546.1 и [1].
В настоящем стандарте использованы нормативные ссылки на следующие межгосударственные стандарты:
ГОСТ 12.1.010 Система стандартов безопасности труда. Взрывобезопасность. Общие требования
ГОСТ 12.2.003 Система стандартов безопасности труда. Оборудование производственное. Общие требования безопасности
ГОСТ 28231 (МЭК 68-2-47-82) Основные методы испытаний на воздействие внешних факторов. Часть 2. Испытания. Крепление элементов, аппаратуры и других изделий в процессе динамических испытаний, включая удар (Еа), многократные удары (Eb), вибрацию (Fc и Fd), линейное ускорение (Ga) и руководство
ГОСТ 30546.1-98 Общие требования к машинам, приборам и другим техническим изделиям и методы расчета их сложных конструкций в части сейсмостойкости
ГОСТ 30546.2-98 Испытания на сейсмостойкость машин, приборов и других технических изделий. Общие положения и методы испытаний
ГОСТ 30630.0.0-99 Методы испытаний на стойкость к внешним воздействующим факторам машин, приборов и других технических изделий. Общие требования
ГОСТ 30630.1.1-99 Методы испытаний на стойкость к механическим внешним воздействующим факторам машин, приборов и других технических изделий. Определение динамических характеристик конструкции
ГОСТ 30630.1.2-99 Методы испытаний на стойкость к механическим внешним воздействующим факторам машин, приборов и других технических изделий. Испытания на воздействие вибрации
ГОСТ 30630.5.4-2013 (IEC 60721-2-6:1990) Воздействие природных внешних условий на технические изделия, общая характеристика. Землетрясения
ГОСТ 31901-2013 Арматура трубопроводная для атомных станций. Общие технические условия
ГОСТ 33257-2015 Арматура трубопроводная. Методы контроля и испытаний
ГОСТ 33852-2016 Арматура трубопроводная. Задвижки шиберные для магистральных нефтепроводов. Общие технические условия
ГОСТ ИСО 7626-5-99 Вибрация и удар. Экспериментальное определение механической подвижности. Часть 5. Измерения, использующие ударное возбуждение возбудителем, не прикрепляемым к конструкции
Примечание - При пользовании настоящим стандартом целесообразно проверить действие ссылочных стандартов и классификаторов на официальном интернет-сайте Межгосударственного совета по стандартизации, метрологии и сертификации (www.easc.by) или по указателям национальных стандартов, издаваемым в государствах, указанных в предисловии, или на официальных сайтах соответствующих национальных органов по стандартизации. Если на документ дана недатированная ссылка, то следует использовать документ, действующий на текущий момент, с учетом всех внесенных в него изменений. Если заменен ссылочный документ, на который дана датированная ссылка, то следует использовать указанную версию этого стандарта. Если после принятия настоящего стандарта в ссылочный документ, на который дана датированная ссылка, внесено изменение, затрагивающее положение, на которое дана ссылка, то это положение применяется без учета данного изменения. Если ссылочный документ отменен без замены, то положение, в котором дана ссылка на него, применяется в части, не затрагивающей эту ссылку.
В настоящем стандарте применены следующие термины с соответствующими определениями:
3.1.1 акселерометр (вибропреобразователь): Датчик, предназначенный для измерения виброускорений и воспроизводящий электрический сигнал, пропорциональный ускорению действующих на него механических колебаний.
3.1.2
|
акселерограмма: Зависимость ускорения колебаний от времени. [1] |
3.1.3
|
амплитуда гармонических колебаний (вибрации): Максимальное значение величины (характеризующей вибрацию) при гармонических колебаниях (вибрации). [ГОСТ 24346-80, статья 30] |
3.1.4
|
амплитудно-частотная характеристика конструкции; АЧХ конструкции: Зависимость от частоты коэффициента усиления колебаний контрольной точки конструкции изделия относительно колебаний его основания в установившемся режиме колебаний. [ГОСТ 30546.1-98, статья 3.2] |
3.1.5 вибрационное нагружение (вибрационное воздействие): Воздействие вибрации в определенной полосе частот.
3.1.6
|
вибрация: Движение точки или механической системы, при котором происходят колебания характеризующих его скалярных величин. [ГОСТ 24346-80, статья 3] |
3.1.7 виброметр: Электронный прибор, предназначенный для измерения параметров колебательного вибрационного процесса.
3.1.8 виброударное воздействие: Механический удар ненормируемой силы и длительности, обеспечивающий вибрационный отклик арматуры с амплитудами, необходимыми для измерений вибрационных характеристик (виброускорений в местах установки вибропреобразователей).
3.1.9 виброударный сигнал: Электрический сигнал, полученный с вибропреобразователя после нанесения удара по механической колебательной системе.
3.1.10
|
виброперемещение: Составляющая перемещения, описывающая вибрацию. [ГОСТ 24346-80, статья 13] |
3.1.11 виброускорение: Производная виброскорости по времени - скорость изменения скорости измеряется в м/с2 или в единицах g (ускорение свободного падения).
3.1.12 вынесенная масса арматуры: Масса, в килограммах, равная суммарной массе конструктивных деталей (элементов), расположенных выше основного разъема или отнесенных от центра масс арматуры.
3.1.13
|
гармонические колебания (вибрация): Колебания (вибрация), при которых значения колеблющейся величины (характеризующей вибрацию) изменяются во времени по закону: A·sin(ω·t+φ), где t - время; А, ω, φ - постоянные параметры; А - амплитуда; (ω·t+φ) - фаза; φ - начальная фаза; ω - угловая частота. [ГОСТ 24346-80, статья 29] |
3.1.14 интенсивность землетрясения: Мера величины сотрясения земной поверхности при землетрясении на охваченной им территории.
Примечания
1 Интенсивность землетрясения определяют в баллах одной из принятых сейсмологических шкал интенсивности либо значениями максимальных кинематических параметров колебаний земной поверхности (например, ускорением).
2 Кинематические параметры колебаний земной поверхности более предпочтительны, т.к. являются количественной мерой оценки сейсмического воздействия.
3 В Российской Федерации интенсивность сейсмических воздействий измеряют в баллах (от 1 до 12 баллов) по шкале MSK-64 (см. [2]).
4 Краткое содержание шкалы MSK-64 (см. [2]) приведено в ГОСТ 30630.5.4-2013 (таблица 1 и приложение Б).
3.1.15
|
испытания на сейсмостойкость: Проверка соответствия арматуры требованиям сейсмостойкости. [ГОСТ 24856-2014, статья 8.9] |
3.1.16
|
максимальное расчетное землетрясение (МРЗ): Землетрясение максимальной интенсивности на площадке АС с повторяемостью один раз в 10000 лет. [1] |
3.1.17 отметка места установки оборудования или трубопровода: Высота точки крепления оборудования или трубопровода относительно нижней плоскости фундамента здания.
3.1.18
|
проектное землетрясение (ПЗ): Землетрясение максимальной интенсивности на площадке АС с повторяемостью один раз в 1000 лет. [1] |
3.1.19
|
резонансные колебания (вибрация): Вынужденные колебания (вибрация) системы, соответствующие одному из максимумов амплитудно-частотной характеристики. [ГОСТ 24346-80, статья 126] |
3.1.20
|
резонанс конструкции изделия: Явление увеличения амплитуды вынужденных колебаний конструкции изделия в два раза и более при постоянном внешнем воздействии, возникающее на частотах вибрационных нагрузок, близких к частоте собственных колебаний конструкции изделия. [ГОСТ 30630.0.0-99, статья 3.16] |
3.1.21
|
резонансная частота колебаний системы: Частота, при которой осуществляется резонанс. Примечание - В системе с демпфированием резонансные частоты перемещения, скорости и ускорения различны. [ГОСТ 24346-80, статья 128] |
3.1.22
|
сейсмопрочность: Свойство арматуры сохранять прочность и герметичность относительно внешней среды во время и после землетрясения. [ГОСТ 31901-2013, статья 3.1.52] |
3.1.23
|
сейсмостойкость: Свойство арматуры сохранять прочность, герметичность относительно внешней среды и функционирование (работоспособность) во время и после землетрясения. [ГОСТ 31901-2013, статья 3.1.53] |
3.1.24
|
сейсмостойкая арматура: Арматура, сохраняющая прочность, герметичность относительно окружающей среды и функционирование во время и после землетрясения. [ГОСТ 24856-2014, статья 2.37] |
3.1.25
|
спектр воздействия: Совокупность абсолютных значений максимальных амплитуд при соответствующих частотах синусоидальной вибрации, воздействующих на изделие. Примечание - Спектр воздействия выражают в форме зависимости между максимальной амплитудой синусоидальной вибрации и частотой. [ГОСТ 30546.1-98, статья 3.14] |
3.1.26
|
спектр воздействия землетрясения: Спектр воздействия, для которого спектр ответа является спектром ответа акселерограммы землетрясения. Примечание - Как правило, спектр воздействия землетрясения базируется на спектре ответа, соответствующем относительному демпфированию 5 %. [ГОСТ 30546.1-98, статья 3.15] |
3.1.27
|
спектр колебаний (вибрации): Совокупность соответствующих гармоническим составляющим значений величины, характеризующей колебания (вибрацию), в которой указанные значения располагаются в порядке возрастания частот гармонических составляющих. Примечания 1 Периодическим и почти периодическим колебаниям соответствует дискретный спектр, непериодическим - непрерывный спектр. 2 Примеры спектров колебаний - см. термины 50-52. [ГОСТ 24346-80, статья 46] |
3.1.28
|
спектр ответа: Совокупность абсолютных значений максимальных ответных ускорений линейно-упругой системы с одной степенью свободы (осциллятора) при заданном акселерограммой воздействии, определенных в зависимости от собственной частоты и параметра демпфирования осциллятора. [ГОСТ 30546.1-98, статья 3.13] |
3.1.29
|
спектр частот: Совокупность частот гармонических составляющих колебаний, расположенных в порядке возрастания. [ГОСТ 24346-80, статья 47] |
3.1.30
|
спектральный анализ колебаний (вибрации): Определение спектра колебаний (вибрации) или спектра частот. [ГОСТ 24346-80, статья 53] |
3.1.31 собственная частота колебаний (вибрации): Частота, с которой любая механическая система, выведенная из положения равновесия и предоставленная самой себе, совершает колебания.
В настоящем стандарте применены следующие обозначения:
А - амплитуда, м/с2;
DN - номинальный диаметр арматуры;
PN - номинальное давление;
Рр - давление рабочее;
Т - период импульса колебаний, с;
f - частота, Гц;
g - ускорение свободного падения, м/с2 (g = 9,81 м/с2).
В настоящем стандарте применены следующие сокращения:
АС - атомная станция;
АЧХ - амплитудно-частотная характеристика;
ВИП - вибропреобразователь (акселерометр);
ЗЭл - запирающий элемент;
ИТТ - исходные технические требования;
КД - конструкторская документация;
МРЗ - максимальное расчетное землетрясение;
НД - нормативная документация;
ПЗ - проектное землетрясение;
ПМ - программа и методика испытаний;
ПС - паспорт;
РЭл - регулирующий элемент;
РЭ - руководство по эксплуатации;
ТЗ - техническое задание;
ТТ - технические требования;
ТУ - технические условия.
4.1 При предъявлении к изделиям требований по стойкости к воздействию землетрясения (сейсмостойкости) следует исходить из уровня интенсивности землетрясения и уровня установки изделий над нулевой отметкой (далее - высотная отметка) на месте эксплуатации арматуры. Эти требования должны соответствовать требованиям по стойкости (устойчивости и/или прочности) арматуры к воздействию синусоидальной вибрации в течение 1 мин.
В соответствии с ГОСТ 30546.1-98 (пункт 4.1) сейсмические воздействия считают приложенными к изделию в местах его крепления, если в ИТТ (ТЗ) не указаны иные требования.
4.2 Требования, предъявляемые к арматуре, формирует заказчик с учетом действия внешних воздействующих факторов (сейсмических нагрузок) на объекте, на котором арматура будет эксплуатироваться, и исходя из требований конкретного промышленного объекта, сооружаемого в сейсмоактивной зоне.
4.3 Подтверждение сейсмостойкости арматуры
4.3.1 Сейсмостойкость арматуры подтверждают с учетом поэтажных акселерограмм и спектров ответа на высотных отметках на месте эксплуатации изделия.
4.3.2 Сейсмопрочность (прочность и герметичность относительно внешней среды) арматуры во время и после землетрясения подтверждают расчетами.
Примечание - Расчеты проводят в соответствии с методиками, устанавливаемыми в НД той отрасли промышленности, в которой предполагается эксплуатировать арматуру.
4.3.3 Сейсмостойкость арматуры в части функционирования (работоспособности) во время и после землетрясения подтверждают экспериментальным исследованием (обоснованием) и/или расчетами.
Примечание - Не допускается распространять результаты расчетов на сейсмостойкость на конструктивно подобные изделия.
4.3.4 Допускается по согласованию с заказчиком сейсмостойкость обратных клапанов и арматуры с ручным приводом подтверждать расчетом на сейсмопрочность.
4.3.5 Сейсмостойкость арматуры АС:
- сейсмостойкость арматуры АС, относящейся к I категории сейсмостойкости (см. [1], подпункт 2.6.1), подтверждают испытаниями при вибрационных нагрузках, имитирующих сейсмическое воздействие до МРЗ включительно;
- сейсмостойкость арматуры АС, относящейся ко II категории сейсмостойкости (см. [1], подпункт 2.6.2), подтверждают по требованию заказчика (при указании в ТУ) при вибрационных нагрузках, имитирующих сейсмическое воздействие до ПЗ включительно.
Примечания
1 Арматура AC I категории сейсмостойкости (см. [1], пункт 2.9) должна:
- сохранять способность выполнять функции, связанные с обеспечением безопасности АС (обеспечивать прочность и герметичность относительно внешней среды), во время и после прохождения землетрясения интенсивностью до МРЗ включительно;
- сохранять работоспособность (функционирование) во время и после прохождения землетрясения интенсивностью до ПЗ включительно.
2 Арматура AC II категории сейсмостойкости (см. [1], пункт 2.10) должна сохранять работоспособность (функционирование) после прохождения землетрясения интенсивностью до ПЗ включительно.
4.3.6 При испытаниях по подтверждению сейсмостойкости арматуры допускается не учитывать нагрузки от трубопроводов при условии подтверждения расчетом сейсмопрочности патрубков арматуры с учетом воздействия нагрузок от трубопроводов.
Примечания
1 Требования по стойкости патрубков арматуры к нагрузкам от трубопроводов задают в ИТТ или ТЗ.
2 Нормативные значения нагрузок от трубопровода:
- для общепромышленной арматуры в соответствии с НД 1) или другим НД той отрасли промышленности, в которой предполагается эксплуатировать арматуру;
──────────────────────────────
1)В Российской Федерации рекомендуется СТ ЦКБА 092-2014 "Арматура для магистральных трубопроводов. Нормативные нагрузки от трубопровода. Методики расчета и численные значения" (разработчик - АО "НПФ "ЦКБА").
──────────────────────────────
- для арматуры АС (см. [3]).
4.4 Заказчик в ИТТ или ТЗ задает интенсивность землетрясения в баллах по шкале MSK-64 [2] либо указывает максимальные (нормированные) значения виброускорений с указанием мест (точек), в которых они нормируются.
В КД (в т.ч. ТУ) на арматуру указывают интенсивность землетрясения, при которой обеспечивается ее сейсмостойкость.
4.5 Нормированные значения виброускорений
4.5.1 В качестве нормированных воздействий землетрясений принимают требования ГОСТ 30546.1-98 (пункты 4.2-4.4).
Заказчик арматуры (проектант системы) задает конкретные значения спектров ответа и указывает в ТЗ дополнительные места крепления арматуры к строительным конструкциям, при их наличии.
4.5.2 Для нулевой отметки используют следующие значения ускорений для горизонтального направления, условной интенсивности землетрясения 9 баллов по шкале MSK-64 [2]:
- обобщенный спектр воздействия землетрясений - по ГОСТ 30546.1-98 (рисунок 1);
- обобщенные спектры ответа - по ГОСТ 30546.1-98 (рисунок 2).
Примечание - Понятие условной интенсивности землетрясения в соответствии с ГОСТ 30546.1-98 (таблица Б.1, примечание).
Значения ускорений для других условных интенсивностей землетрясений и уровней установки изделий над нулевой отметкой определяют по ГОСТ 30546.1-98 (путем умножения ускорений, определенных по рисункам 1 и 2, на коэффициенты, приведенные в таблицах 1 и 2:
- таблица 1 - для всех изделий, кроме арматуры АС;
- таблица 2 - для арматуры АС).
Значения ускорений в вертикальном направлении воздействия составляют 0,7 от значений ускорений в горизонтальном направлении.
4.5.3 Для арматуры АС:
- применяют данные, приведенные в [4] и ГОСТ 30546.1-98 (рисунки 1 и 2, а также таблица 2);
- обобщенные спектры ответа горизонтальных и вертикальных колебаний при относительном демпфировании (в долях критического) К = 0,02 и сейсмичности площадки 9 баллов приведены в [4] (рисунки П9.1 и П9.2);
- ускорения для других значений сейсмичности площадки и уровней установки над нулевой отметкой вычисляют путем умножения ускорений, определенных по ГОСТ 30546.1-98 (рисунок 2; см. также [4], рисунки П9.1 и П9.2), на коэффициенты, приведенные в ГОСТ 30546.1-98 (таблица 2);
- при отсутствии возможности получить от проектировщика систем АС данные о максимально возможных значениях ускорений, а также при отсутствии спектров динамического воздействия в качестве исходных данных принимают значения унифицированных инерционных нагрузок, применяемых в качестве нагрузок от сейсмического воздействия при расчете арматуры АС, и приведенные в [3] (подпункт 2.5.4.5);
- если обобщенные спектры ответа, заданные заказчиком, превышают значения, приведенные в [3], то данные заказчика следует принимать как исходные требования.
4.5.4 По требованию заказчика амплитуды ускорений могут быть уточнены и изменены.
4.5.5 Для примера в таблицах А.1, А.3, А.5 и А.6 (приложение А) приведены параметры испытаний, задаваемые при испытании арматуры, предназначенной для эксплуатации в системах магистральных трубопроводов и атомной энергетики:
- таблицы А.1 и А.3 - для арматуры (шиберных задвижек), предназначенной для эксплуатации в системах магистральных трубопроводов;
- таблицы А.5 и А.6 - для арматуры АС.
4.6 Условия распространения результатов испытаний арматуры на сейсмостойкость
4.6.1 Распространение результатов испытаний одной арматуры на другую однотипную арматуру должно быть обосновано.
4.6.2 Возможность применения обоснования и распространения результатов испытаний согласовывают с заказчиком на этапе согласования ТЗ/ТУ (ТТ для импортной арматуры) и указывают в ПМ.
В каждом конкретном случае типовые образцы для испытаний согласовывают с заказчиком.
4.6.3 По согласованию с заказчиком допускается распространять результаты испытаний на конструктивно подобные изделия при условии, что собственные частоты изделий не менее 33 Гц.
В случае если собственные частоты менее 33 Гц, то для возможности распространения результатов испытаний на другие изделия необходимо подготовить обосновывающие документы, в которых представлены данные по соотношению жесткости конструкций, величин масс и т.д., из которых можно было бы сделать заключение о возможности распространения на них результатов испытаний образца.
Для примера в А.2.4 (приложение А) приведены условия распространения результатов испытаний на сейсмостойкость арматуры, предназначенной для эксплуатации в технологических системах атомной энергетики.
4.7 Испытания арматуры на сейсмостойкость проводят на вибростендах, обеспечивающих требуемые технические характеристики (параметры) как по номенклатуре, так и по величине. В зависимости от этих характеристик в соответствии с ГОСТ 30546.2 применяют соответствующие методы испытаний.
4.8 Перед испытаниями арматуры на сейсмостойкость проводят испытания по определению собственных частот колебаний арматуры с целью определения динамических свойств изделия и получения исходной информации для последующего выбора метода испытаний на сейсмостойкость.
4.9 Испытания отдельных блоков (узлов) арматуры
4.9.1 В соответствии с ГОСТ 30630.0.0-99 (пункты 4.5 и 4.6) допускается проводить испытания на сейсмостойкость отдельных блоков (узлов) арматуры. Для арматуры такими блоками являются узлы, находящиеся выше соединения "корпус - крышка".
4.9.2 Испытания проводят в следующих случаях:
- при отсутствии технической возможности обеспечения требуемых параметров сейсмического (вибрационного) воздействия;
- если масса и габаритные размеры арматуры не позволяют проводить ее испытания на существующем испытательном оборудовании.
4.9.3 Расчетные значения первых собственных частот арматуры в сборе и блока, подвергаемого испытаниям, не должны отличаться более чем на 5 %.
4.9.4 Возможность испытания блоков (узлов) арматуры и порядок их испытаний устанавливают в ПМ и согласовывают с заказчиком.
4.9.5 При разбивке приводной арматуры на блоки (узлы) испытание привода следует проводить в сборе с крышкой изделия.
4.10 Направления вибрационных воздействий
4.10.1 Испытания проводят при вибрационном воздействии в трех взаимно перпендикулярных направлениях по отношению к изделию, если иное не указано КД (ТУ, ПМ) - в соответствии с ГОСТ 30630.1.2-99 (подпункт 4.3.9).
Допускается проводить испытания последовательно в каждом направлении.
4.10.2 При вертикальной установке арматуры на платформу вибростенда направления воздействия вибрационной нагрузки следующие:
- горизонтально-продольное направление воздействие (ось Х) - направление, параллельное направлению оси патрубков арматуры и оси трубопровода;
- горизонтально-поперечное направление воздействия (ось Y) - направление, перпендикулярное оси патрубков арматуры и оси трубопровода;
- вертикальное направление воздействия (ось Z) - направление вертикально вверх вдоль вертикальной оси арматуры.
Допускается другое обозначение осей.
4.10.3 В технически обоснованных случаях, при согласовании с заказчиком, допускается проводить испытания в одном, наиболее опасном для арматуры, положении, без сокращения общего времени вибрационных воздействий, имитирующих сейсмические.
4.11 Методы испытаний арматуры
4.11.1 Метод воздействия акселерограммы землетрясения в соответствии с ГОСТ 30546.2-98 (приложение А).
4.11.2 Настоящий стандарт устанавливает следующие методы вибрационного воздействия при испытаниях арматуры:
- метод фиксированных частот (метод 102-3 по ГОСТ 30630.1.2-99);
- метод плавного изменения частот синусоидальных колебаний в указанном диапазоне (метод 100-1 по ГОСТ 30630.1.1-99);
- метод статического воздействия.
4.12 Методики испытаний арматуры
4.12.1 Методику испытаний на сейсмостойкость выбирает разработчик арматуры в соответствии с конструктивными особенностями арматуры, а также в зависимости от:
- требований заказчика по сейсмостойкости;
- результатов расчета собственных частот колебаний;
- результатов испытаний по определению собственных частот колебаний;
- технических характеристик электродинамических и электрогидравлических установок вибростендов, используемых при испытаниях.
4.12.2 Методику испытаний устанавливают в ПМ.
4.12.3 В разделе 8 приведены:
а) методики определения собственных (резонансных) частот колебаний:
1) при вибрационном воздействии;
2) ударным воздействием;
б) методики испытаний на сейсмостойкость:
1) при действии нагрузок, имитирующих вибрационное воздействие землетрясения (интенсивность землетрясения) - с учетом требований ГОСТ 30546.1, ГОСТ 30630.0.0;
2) статическим методом.
4.12.4 По требованию заказчика допускается проводить дополнительные испытания, не указанные в настоящем стандарте, по специально разработанным методикам, согласованным в установленном порядке.
4.12.5 При испытаниях для всех направлений воздействия амплитуда виброускорения должна быть не ниже нормированного значения.
4.12.6 Параметры испытательных режимов устанавливают по показаниям средств измерений, установленных в контрольной точке.
4.13 Контрольная точка
4.13.1 Испытательный режим устанавливают в контрольной точке по показаниям средств измерения. Расположение контрольной точки указывают в ПМ.
4.13.2 Контрольную точку выбирают в соответствии с ГОСТ 30546.2-98 (пункт 4.19) в одном из следующих мест:
- на платформе вибростенда рядом с одной из точек крепления арматуры, если изделие крепят непосредственно на платформе;
- на технологической оснастке (переходной раме), если арматуру крепят на оснастку.
Допускается выбирать контрольную точку на платформе вибростенда, если средства крепления технологической оснастки к платформе обеспечивают передачу сейсмических воздействий от платформы к оснастке с минимальными искажениями, при этом значение отклонения ускорения в месте крепления арматуры к оснастке должно быть не более ± 25 % от значения ускорения в контрольной точке.
Допускается по согласованию с заказчиком выбирать контрольную точку непосредственно на изделии при условии, что масса изделия не менее чем в 10 раз превышает массу измерительного преобразователя и жесткость изделия обеспечивает контроль с заданной точностью параметров воздействия.
4.13.3 В соответствии с ГОСТ 30546.2-98 (пункт 4.21) в контрольной точке допускаются следующие отклонения параметров испытательных режимов:
|
амплитуда перемещения ... |
± 15 % |
|
амплитуда ускорения ... |
± 15 % |
|
частота вибрации 1) на частотах до 35 Гц ... |
± 0,5 Гц |
──────────────────────────────
1)При испытаниях методом фиксированных частот.
──────────────────────────────
|
продолжительность воздействия ... |
± 10 % |
|
значение коэффициента нелинейных искажений по ускорению в диапазоне частот выше 20 Гц ... |
не более 25 % |
|
значение амплитуды ускорения в направлении, перпендикулярном к основному направлению вибрации, измеренное в контрольной точке ... |
не более 25 % от значения амплитуды ускорения в основном направлении |
Примечания
1 Допускается значение коэффициента нелинейных искажений более 25 % в отдельных поддиапазонах частот, при этом частоты гармоник, создающие нелинейные искажения более 25 %, не должны приходиться на резонансную область частот изделия.
2 Допускается значение поперечных составляющих более 25 % в отдельных поддиапазонах частот, не приходящихся на резонансную область частот изделий.
5.1 Организационную процедуру испытаний, включающую порядок испытаний, а также порядок предъявления арматуры комиссии, ее возврат, регистрацию отказов, а также приостановку и возобновление испытаний устанавливают в ПМ.
5.2 Испытания проводит комиссия по ПМ разработчика арматуры, согласованной и утвержденной в установленном порядке.
5.3 На испытания вместе с арматурой представляют комплект документов, включающий в себя:
- сборочный чертеж арматуры;
- ТУ;
- расчет по определению собственных частот и оценки прочности при сейсмических нагрузках;
- протокол предварительных испытаний (при проведении приемочных испытаний);
- ПС арматуры;
- РЭ арматуры и ее комплектующих;
- ПМ арматуры.
Конкретный комплект документов указывают в ПМ.
Испытаниям подвергают арматуру в собранном, отрегулированном и настроенном виде, прошедшую предварительные испытания.
5.4 Испытания следует проводить при температуре окружающего воздуха не ниже 5 °С. Атмосферное давление и относительная влажность окружающего воздуха не регламентируются.
5.5 В качестве испытательных сред применяют воду или воздух. Требования, предъявляемые к качеству испытательных сред, регламентируют в ПМ на конкретную арматуру.
5.6 Температура испытательной среды - в соответствии с ГОСТ 33257.
5.7 Расположение испытательного вибростенда должно гарантировать безопасность персонала, не участвующего в испытании.
5.8 Установку арматуры на вибростенд, а также затяжку крепежа и визуальный контроль арматуры, высота которой превышает 1,5 м, следует проводить со специальных площадок (стапелей).
5.9 Измерение давления испытательной среды следует проводить двумя показывающими средствами измерения одного типа, предела измерения, одинаковых классов точности и цены деления. Для контроля давления следует применять средства измерения, имеющие одинаковую точность во всем диапазоне измерения. Класс точности средств измерения давления - в соответствии с ГОСТ 33257-2015 (пункт 6.12).
6.1 Испытания следует проводить с соблюдением правил, изложенных в инструкции по охране труда, утвержденной в установленном порядке.
6.2 Требования безопасности к вибростендам, испытательному оборудованию, средствам измерения и приборам - в соответствии с ГОСТ 12.2.003.
6.3 К проведению испытаний допускается персонал, имеющий соответствующую квалификацию и прошедший специальное (теоретическое, производственное) обучение по охране труда.
6.4 Персонал, проводящий испытания, должен:
- знать устройство испытательных стендов, на которых проводят испытания;
- изучить устройство испытуемого изделия, ПМ и РЭ;
- пройти инструктаж по охране труда.
6.5 В испытаниях должны принимать участие не менее двух человек. Во время испытаний не допускается находиться на испытательном участке одному испытателю.
6.6 В процессе запуска вибростенда и обеспечения режима воздействия до установленной величины персонал должен находиться на безопасном расстоянии от испытуемой арматуры или в укрытии. Безопасное расстояние должно быть указано в инструкции по охране труда.
При проведении испытаний персонал, проводящий испытания, должен выполнять требования ГОСТ 12.1.010 и требования безопасности, изложенные в НД предприятия, проводящего испытания, а также инструкцию по технике безопасности при работе на вибростенде.
6.7 Если испытательной средой является жидкость, то воздух из внутренних полостей арматуры должен быть удален.
6.8 При проведении испытаний запрещается:
- лицам, не участвующим в проведении испытаний, находиться на испытательной площадке;
- лицам, участвующим в проведении испытаний, находиться со стороны заглушек;
- испытывать арматуру при отсутствии ПС и РЭ на арматуру и привод, а также ТУ и ПМ;
- ремонтировать арматуру, находящуюся под давлением.
6.9 При испытаниях не допускается повышение:
а) давления среды в корпусе арматуры свыше 1,5 PN (при испытаниях на прочность);
б) перепада давления в закрытой арматуре:
1) при испытании водой - свыше 1,1·PN;
2) при испытании воздухом - свыше PN.
6.10 Внешний осмотр арматуры проводят только при снятии вибрационного воздействия и отключении вибростенда.
6.11 Все работы, связанные с устранением обнаруженных дефектов, проводят только при отключенном вибростенде, а также при отсутствии давления в арматуре и напряжения в электрических цепях электрооборудования.
7.1 Установка и крепление арматуры к платформе вибростенда
7.1.1 Установку и крепление арматуры к платформе осуществляют при помощи технологической оснастки, состоящей из соединенных между собой монтажных плит, стоек, упоров, ребер жесткости и обеспечивающей передачу сейсмических воздействий от платформы вибростенда к испытуемой арматуре с минимальными искажениями.
7.1.2 Арматуру, конструкция которой не предусматривает крепление к строительным конструкциям, крепят на платформе вибростенда путем закрепления за патрубки изделия или с помощью переходной конструкции (рамы).
7.1.3 Арматуру, в конструкции которой предусмотрены места крепления на объекте к строительным конструкциям, крепят на платформе вибростенда в соответствии с требованиями ТУ/ПМ. Крепление арматуры к платформе стенда допускается только в местах крепления к строительным конструкциям, указанных в КД.
7.1.4 Арматуру устанавливают на технологическую оснастку таким образом, чтобы ее можно было перемонтировать в сборе с технологической оснасткой в трех взаимно перпендикулярных положениях. Требование относится к испытаниям на однокомпонентном стенде.
7.1.5 В соответствии с ГОСТ 28231 арматуру в сборе с технологической оснасткой устанавливают таким образом, чтобы вертикальная ось, проходящая через центр масс всей конструкции (арматуры вместе с технологической оснасткой), была близка к геометрическому центру платформы вибростенда.
7.1.6 Примеры установки и крепления арматуры к платформе вибростенда приведены в приложении Б и таблице 1:
- рисунки Б.1 и Б.2 - установка и крепление к платформе однокомпонентного вибростенда;
- рисунок Б.3 - крепление к платформе трехкомпонентного вибростенда;
- рисунок Б.4 - установка и крепление к платформе двухкомпонентного вибростенда.
|
Вибростенд |
Способ крепления арматуры к платформе вибростенда |
Номер рисунка |
Примечание |
|
Однокомпонентный |
С помощью переходной конструкции |
Б.1 (приложение Б) |
Для изменения направления воздействия вибрации арматуру вместе с переходной конструкцией переворачивают на платформе |
|
С помощью угловых опор |
Б.2 (приложение Б) |
Для изменения направления воздействия вибрации арматуру переворачивают в угловых опорах | |
|
Вибростенд |
Способ крепления арматуры к платформе вибростенда |
Номер рисунка |
Примечание |
|
Двух- и трехкомпонентный |
За патрубки (фланцы) арматуры |
Б.3 (приложение Б) |
Арматуру устанавливают на платформе в положение, указанное в ТУ/ПМ. В ходе испытаний положение арматуры не изменяется |
7.1.7 При необходимости в ПМ может быть приведена принципиальная схема раскрепления арматуры или крепежного приспособления, используемого при проведении испытаний.
7.2 Переходная рама
Требования к раме:
- в местах крепления рамы к платформе вибростенда должна обеспечиваться плотность прилегания опорной поверхности к платформе;
- жесткость рамы, монтажных плит и крепежных приспособлений должна обеспечивать передачу вибрационных воздействий к испытуемой арматуре с минимальными искажениями, при этом ускорение на патрубках арматуры вблизи узлов крепления арматуры к раме должно отличаться от ускорения платформы не более чем на 10 %;
- узлы крепления переходной рамы (монтажных плит) к платформе вибростенда должны сохранять прочность с учетом максимального веса испытуемых изделий при горизонтальных и вертикальных воздействиях на платформу вибростенда с ускорением до 5 g.
7.3 Вибропреобразователи (ВИП)
7.3.1 Места установки ВИП назначают с учетом наибольшей ответственности узлов арматуры, влияющих на ее прочность и функционирование, и указывают в ПМ.
Окончательно места установки определяют после испытаний по определению собственных частот.
Места (точки) установки ВИП выбирают:
- вблизи центра масс вынесенных масс (приводных устройств, стойки, бугеля, кронштейна, управляющих клапанов, соединительных трубок и т.д.);
- вблизи центра масс арматуры (для арматуры с ручным приводом);
- исходя из требований получения достоверного и стабильного отклика (вибрационного сигнала) на виброударное воздействие.
Места (точки) установки ВИП указывают в ПМ для каждого конкретного изделия и уточняют в процессе подготовки к проведению испытаний.
Рекомендуемые места установки ВИП:
- платформа вибростенда;
- переходная рама;
- крышка, стойка, корпус или фланцы арматуры;
- привод - точка, наиболее близкая к центру масс привода;
- арматура - точка, наиболее близкая к центру масс арматуры с ручным приводом.
7.3.2 По высоте конструкции арматуры устанавливают от четырех до шести ВИП, которые подключают к виброизмерительному прибору (виброметру), обеспечивающему многоканальную регистрацию, оперативную обработку и спектральный анализ вибрационных и виброударных сигналов в широком диапазоне частот и амплитуд колебаний в соответствии с требованиями ГОСТ ИСО 7626-55.
7.3.3 Примеры установки ВИП приведены на рисунках Б.1-Б.3 (приложение Б) и В.1 (приложение В).
8.1.1 Испытания проводят при задании требования в ИТТ или ТЗ.
8.1.2 Испытания проводят с учетом требований ГОСТ 30546.1 и ГОСТ 30630.1.1-99 (пункты 4.2-4.3).
8.1.3 Способ и метод испытаний указывают в ПМ.
8.1.4 Арматуру устанавливают на платформу вибростенда с помощью технологической оснастки в соответствии с 7.1-7.2.
8.1.5 Направление вибрационного воздействия в соответствии с 4.10 и ГОСТ 30630.1.2-99 (подпункт 4.3.9).
Направления вибрационного воздействия указывают в ПМ.
8.1.6 Вид испытательной среды указывают в ПМ.
8.1.7 Испытания проводят при подаче в корпус арматуры испытательной среды давлением, указанным в ПМ.
Если в ПМ не указано иное, испытания проводят при следующих параметрах:
а) испытания по определению собственных частот колебаний - проводят без давления в корпусе;
б) испытания на сейсмостойкость - проводят при:
1) давлении, равном номинальному (рабочему) PN (Рр) - ЗЭл (РЭл) в открытом положении. Допускается проводить испытания в два этапа:
- этап 1 - без подачи испытательной среды и давления;
- этап 2 - с подачей испытательной среды давлением PN (Рр);
2) перепаде давления, равном рабочему давлению - ЗЭл (РЭл) в закрытом положении (по требованию заказчика).
8.1.8 Во время испытаний последовательно выполняют следующие действия:
а) определяют собственные (резонансные) частоты колебаний (АЧХ арматуры) одним из способов:
1) при вибрационном воздействии в соответствии с 8.2;
2) ударным воздействием в соответствии с 8.3;
б) проводят испытания на сейсмостойкость одним из методов:
1) при действии вибрационных нагрузок, имитирующих заданные в ИТТ (ТЗ) сейсмические нагрузки в соответствии с 8.4;
2) статическим методом в соответствии с 8.5.
8.1.9 Значения собственных частот колебаний арматуры, полученные при установке на платформу вибростенда (испытания при вибрационном воздействии в соответствии с 8.2), являются более точными по сравнению с собственными частотами, полученными при проведении испытаний ударным воздействием (испытания в соответствии с 8.3).
8.1.10 Если при испытаниях по определению АЧХ ударным воздействием значение зафиксированной собственной частоты изделия расходится с расчетным значением низшей собственной частоты колебания, то следует повторить испытания по определению АЧХ на вибростенде.
8.1.11 Испытания на сейсмостойкость допускается не проводить, если ранее арматура выдержала испытания при действии вибрационных нагрузок, превышающих заданные заказчиком.
8.1.12 По согласованию с заказчиком испытания по подтверждению сейсмостойкости допускается проводить статическим методом в случае, если наименьшая (первая) собственная частота колебаний арматуры выше (больше) значения допустимой низшей собственной частоты колебаний, установленной в НД отрасли промышленности, в которой предполагается эксплуатировать изделие.
8.2.1 При испытаниях рекомендуется применять многоканальные виброметры-анализаторы, позволяющие проводить запись вибрационных сигналов с целью построения в заданном диапазоне сканирования частоты АЧХ.
8.2.2 Рекомендуется изделие нагружать вибрацией с амплитудой виброускорения, составляющей примерно 50 % от амплитуды, заданной для подтверждения сейсмостойкости арматуры.
8.2.3 До начала испытаний определяют ориентировочные значения собственных (резонансных) частот арматуры во всем диапазоне требований по частоте путем расчета и/или оценки результатов испытаний арматуры аналогичных конструкций.
8.2.4 Вибрационную нагрузку задают и контролируют в месте крепления арматуры к оснастке.
8.2.5 Испытания арматуры по обнаружению (отсутствию) резонансных частот проводят в заданной полосе частот.
Испытания проводят при плавном изменении частоты синусоидальных колебаний в диапазоне частот от 1 до 40 Гц. Допускается проводить испытания в диапазоне частот от 5 до 33 Гц. При возбуждении гармонических колебаний весь частотный диапазон разбивают на октавные поддиапазоны: от 1 до 2, от 2 до 4, от 4 до 8, от 8 до 13, от 16 до 40 Гц.
8.2.6 Контролируют величину виброперемещения в центре масс привода либо в точке, наиболее близкой к центру масс арматуры (для арматуры без привода). После окончания испытаний проводят сравнение значений виброперемещения в центре масс и виброперемещения в контрольной точке во всем диапазоне частот.
8.2.7 Признаком резонанса является увеличение в два и более раз амплитуды ускорения в центре масс привода (испытуемого изделия или отдельных частей изделия) по сравнению с амплитудой ускорения в точках крепления изделия на платформе вибростенда.
8.2.8 Определенную при испытаниях первую резонансную частоту с достаточной точностью можно считать собственной частотой колебаний арматуры.
8.2.9 Режимы нагружения при определении АЧХ указывают в ПМ и согласовывают с заказчиком.
В ПМ указывают:
- места установки ВИП;
- поддиапазоны частоты Δf, Гц;
- амплитуду виброускорения на платформе, м/с2;
- скорость сканирования, окт/мин;
- регистрируемый параметр.
Примечание - Рекомендуемая скорость сканирования - не более 1 окт/мин.
8.2.10 По результатам испытаний:
- определяют значение низшей собственной частоты колебаний (низшей резонансной частоты);
- уточняют методы нагружения при испытании на сейсмостойкость.
8.2.11 В таблицах А.1 и А.5 (приложение А) приведены примеры задания параметров вибрационного воздействия для определения АЧХ арматуры, предназначенной для эксплуатации в системах магистральных трубопроводов и атомной энергетики:
- таблица А.1 - для арматуры, предназначенной для эксплуатации в системах магистральных трубопроводов;
- таблица А.5 - для арматуры АС.
8.3.1 Методика основана на экспериментальном определении АЧХ арматуры при спектральном анализе собственных механических колебаний, возбуждаемых импульсным (виброударным) воздействием.
8.3.2 Арматуру крепят на жесткой монтажной плите (основании) за патрубки или фланцы при помощи хомутов, струбцин, уголков, швеллеров, ребер жесткости. Крепление должно максимально соответствовать креплению арматуры в условиях эксплуатации.
8.3.3 Виброударное воздействие создают при ударе металлическим молотком через промежуточную прокладку. В зависимости от конструкции арматуры молотком ударяют в районе привода арматуры либо в районе, близком к центру масс.
8.3.4 Перед проведением испытаний проводят предварительный подбор и опробование средств возбуждения - ударного молотка, прокладки, а также силы воздействия и места сосредоточения ударов. Массу молотка, жесткость прокладки и величину ударного воздействия подбирают экспериментально.
Сочетание места удара и составляющих удара (величины ударного воздействия, а также материала, толщины и жесткости прокладки) должно обеспечивать уверенный и стабильный отклик арматуры и достоверную регистрацию виброударных сигналов необходимой амплитуды и длительности.
8.3.5 Виброударное воздействие создают поочередно по трем взаимно перпендикулярным направлениям (осям) в системе координат, связанной с арматурой. Принятые направления осей указаны в 4.10. Отклонение от направления виброударного воздействия - не более ± 5°.
8.3.6 Для каждого направления вибрационного воздействия за собственную частоту колебаний арматуры принимают наименьшее значение частоты, при котором зафиксировано максимальное значение амплитуды виброускорения в спектре АЧХ спектра частот колебаний.
8.3.7 Результаты измерений приводят в графическом виде:
- график зависимости ударных ускорений от времени - акселерограмма ударных воздействий;
- график зависимости амплитудных значений виброускорений от частоты в точках установки ВИП - спектр частот колебаний.
8.3.8 Для примера на рисунках Г.1-Г.6 (приложение Г) приведены результаты измерений, полученные при испытаниях клапана по определению первой собственной частоты колебаний ударным воздействием по трем взаимно перпендикулярным осям Х, Y и Z при направлениях ударов, указанных на рисунке В.1 (приложение В), место установки ВИП - точка 2 на рисунке В.1 (приложение В):
- акселерограммы ударных воздействий приведены на рисунках Г.1, Г.3 и Г.5;
- спектры собственных частот колебаний приведены на рисунках Г.2, Г.4 и Г.6.
Из графиков рисунков Г.2, Г.4 и Г.6 видно, что первая (наименьшая) собственная частота колебаний является наиболее выраженной.
Примечание - При испытаниях возможные помехи во внимание не принимались, т.к. в низкочастотной области спектра частот амплитуда помех в несколько раз меньше измеренной собственной частоты колебаний.
8.4.1 Испытания проводят в диапазоне частот от 1 до 40 Гц, при этом нижняя граница может быть изменена из условия, что она будет на 5 Гц ниже первой собственной частоты арматуры. По согласованию с заказчиком допускается проводить испытания в диапазоне частот от 5 до 33 Гц.
8.4.2 В ПМ указывают:
- направления вибрационного воздействия;
- время вибрационного воздействия;
- параметры вибрационного воздействия (нормированные и испытаний) в зависимости от направления воздействия, определенные в соответствии с 4.5 и 4.12.5;
- допустимые значения виброускорений в местах установки ВИП [при задании в ИТТ (ТЗ, ТУ)];
Примечание - для арматуры АС допустимые значения виброускорений задаются на патрубках изделия и в центре масс привода;
- скорость сканирования, окт/мин;
- контрольные точки;
- места установки ВИП;
- необходимость наработки циклов "закрыто-открыто-закрыто" во время вибрационного воздействия при давлении в корпусе и патрубках, равном PN;
- количество нарабатываемых циклов;
- методику испытаний;
- объем контрольных проверок после окончания испытаний;
- критерии оценки результатов испытаний.
8.4.3 В таблицах А.1-А.7 (приложение А) приведены примеры задания параметров вибрационного воздействия на арматуру, предназначенную для эксплуатации в системах магистральных трубопроводов и атомной энергетики:
а) арматура для систем магистральных трубопроводов:
1) таблица А.1 - параметры вибрационного воздействия при определении АЧХ задвижек;
2) таблица А.2 - значения нормированных параметров;
3) таблица А.3 - значения параметров испытаний на сейсмостойкость;
б) арматура АС:
1) таблица А.4 - значения унифицированных инерционных нагрузок, применяемых в качестве нагрузок от сейсмического воздействия при расчете арматуры АС (см. [3], пункт 2.5.4.5), - нормированные параметры;
2) таблица А.5 - параметры вибрационного воздействия при определении АЧХ;
3) таблица А.6 - параметры вибрационного воздействия при испытании на сейсмостойкость;
4) таблица А.7 - допустимые значения виброускорений на патрубках в центре масс привода.
8.4.4 В процессе испытаний следует фиксировать моменты наступления предельных состояний и отказы арматуры.
Во время вибрационного воздействия не допускаются:
а) разрушения, механические повреждения и трещины, а также видимые деформации материала корпусных деталей и сварных швов;
б) ослабления винтовых соединений и креплений;
в) ложные срабатывания, включение и отключение привода;
г) невыполнение функции "закрыто-открыто-закрыто" вследствие заклинивания подвижных частей;
д) нарушения:
1) плотности материала корпусных деталей и сварных швов;
2) герметичности относительно внешней среды уплотнений подвижных и неподвижных соединений;
3) функционирования изделия.
При наработке циклов "закрыто-открыто-закрыто" во время и после вибрационного воздействия перемещение подвижных частей арматуры должно быть плавным, без рывков и заеданий, сигнализаторы крайних положений, а также моментные выключатели должны срабатывать четко и стабильно.
8.4.5 После окончания испытаний следует провести контрольные проверки.
8.4.5.1 Рекомендуется провести испытания, включающие в себя испытания на:
- прочность и плотность материала корпусных деталей и сварных швов;
- герметичность относительно внешней среды по уплотнению подвижных и неподвижных соединений;
- герметичность затвора;
- проверку функционирования (работоспособности).
8.4.5.2 Методики контрольных проверок и критерии оценки результатов в соответствии с ПМ.
8.4.5.3 В качестве критерия оценки герметичности затвора допускается применять указанное в ПМ допустимое значение утечки в затворе после окончания ресурсных испытаний.
8.4.6 Арматуру следует считать выдержавшей испытания на сейсмостойкость при положительных результатах:
- оценки технического состояния арматуры во время и после вибрационного воздействия;
- контрольных проверок.
8.4.7 Для примера в А.1.3.11 и А.2.3.10 (приложение А) представлен объем испытаний (контрольных проверок), которые проводят после испытаний на сейсмостойкость арматуры, предназначенной для эксплуатации в системах магистральных трубопроводов и атомной энергетики соответственно.
8.5.1 Статическую нагрузку (усилие) прикладывают к арматуре в горизонтальной плоскости в направлении, для которого было определено наименьшее значение собственной частоты колебаний.
8.5.2 Порядок проведения испытаний:
- закрепить арматуру на монтажной плите (основании) за штатные места крепления, обеспечив жесткость крепления, максимально приближенную к креплению арматуры в условиях эксплуатации;
- в испытуемую арматуру подать испытательную среду давлением, равным рабочему Рр;
- закрыть арматуру крутящим моментом Мкр, указанным в ПМ (ТУ);
- в центр вынесенных масс арматуры приложить и зафиксировать статическую нагрузку (силу) F1, Н, величину которой рассчитывают по формуле
F1≥1,1·F·K,
(1)
где F - вынесенная масса, кг;
- коэффициент результирующего воздействия,
где а = 3 g - ускорение, действующее на арматуру в горизонтальном направлении при сейсмическом воздействии по ГОСТ 30546.1-98 (пункт 4.2);
b = 2 g - ускорение, действующее на арматуру в вертикальном направлении при сейсмическом воздействии по ГОСТ 30546.1-98 (пункт 4.2);
- провести наработку трех циклов "открыто-закрыто" от привода.
8.5.3 Усилие (фиксированную нагрузку) прикладывают в течение времени, необходимого для измерения этого усилия и проверки функционирования арматуры.
8.5.4 При наработке циклов следует контролировать: давление испытательной среды в корпусе, время срабатывания и работу сигнализаторов крайних положений.
8.5.5 В процессе приложения статической нагрузки (силы) следует проводить оценку технического состояния арматуры - выявление повреждений, приводящих к нарушению ее функционирования, а также обнаружение и фиксация:
- механических повреждений и трещин;
- ослаблений винтовых соединений и креплений;
- ложных срабатываний, включений и отключений электропривода, пневмо-, гидропривода, электромагнитов и др.;
- заклинивания подвижных частей и, как следствие, невыполнения функции "открыто-закрыто".
8.5.6 После окончания испытаний следует провести контрольные проверки арматуры в соответствии с 8.4.5.
8.5.7 Арматуру следует считать выдержавшей испытания на сейсмостойкость, если выполняется требование 8.4.6.
8.5.8 Схема приложения усилия (статической нагрузки) при проведении испытаний на сейсмостойкость статическим методом клапана приведена, для примера, на рисунке В.2 (приложение В).
9.1 Параметры средств измерений и испытательных вибростендов должны соответствовать параметрам, указанным в ПС или документах на это оборудование.
Вибростенды и испытательное оборудование должны быть аттестованы в соответствии с требованиями НД 1) государств, проголосовавших за принятие настоящего стандарта.
──────────────────────────────
1)В Российской Федерации действует ГОСТ Р 8.568-2017 "Государственная система обеспечения единства измерений. Аттестация испытательного оборудования. Основные положения".
──────────────────────────────
9.2 При всех видах испытаний следует применять средства измерения, имеющие действующие клейма и/или действующие документы (свидетельства о поверке, свидетельства о калибровке и т.д.) на территории государств 2), проголосовавших за принятие настоящего стандарта.
──────────────────────────────
2)В Российской Федерации действует Порядок проведения поверки средств измерений, требования к знаку поверки и содержанию свидетельства о поверке, утвержденный приказом Министерства промышленности и торговли РФ от 2 июля 2015 г. N 1815.
──────────────────────────────
9.3 Средства измерений, применяемые при испытаниях, должны обеспечивать заданные в ПМ (ТУ) погрешности измерений контролируемых параметров.
Погрешность измерений величин не должна превышать следующих значений:
амплитуда перемещения ... ± 5 %
амплитуда ускорения ... ± 5 %
частота вибрации (колебаний) ... ± 5 %
10.1 Для обработки результатов испытаний применение специальных методик не требуется.
10.2 По результатам испытаний оформляют протокол. Рекомендуемая форма протокола приведена в приложении Д.
Приложение А
(справочное)
А.1 Испытания шиберных задвижек, предназначенных для эксплуатации в системах магистральных трубопроводов
А.1.1 Общие положения
А.1.1.1 Испытаниям на сейсмостойкость подвергают шиберные задвижки (далее - задвижки) следующих исполнений:
- сейсмостойкого (С) - задвижки для районов с сейсмичностью свыше 6 до 9 баллов по шкале MSK-64 (см. [2]) включительно;
- повышенной сейсмостойкости (СП) - задвижки для районов с сейсмичностью свыше 9 до 10 баллов по шкале MSK-64 (см. [2]) включительно.
А.1.1.2 В соответствии с ГОСТ 33852-2016 (пункт 5.4.2.4) низшая собственная частота колебаний задвижек должна быть не ниже 18 Гц.
А.1.1.3 Испытаниям подвергают задвижку, заполненную водой.
А.1.1.4 Обязательные места установки ВИП: патрубки арматуры, центр масс привода и места крепления арматуры к платформе вибростенда.
Примечание - Другие места установки ВИП в соответствии с ПМ на конкретную задвижку.
А.1.2 Испытания по определению собственной частоты колебаний задвижки
А.1.2.1 Испытания проводят без давления среды в корпусе задвижки.
А.1.2.2 Для определения АЧХ в диапазоне частот от 1 до 40 Гц задвижку нагружают гармоническими колебаниями в поперечном направлении вибрационного воздействия.
А.1.2.3 Изделие нагружают вибрацией с плавно меняющейся частотой (сканированием) с амплитудой виброускорения, равной примерно 50 % от заданной для испытаний на сейсмостойкость.
А.1.2.4 Параметры вибрационного воздействия приведены в таблице А.1.
|
Поддиапазон частоты Δf, Гц |
От 1 до 2 |
От 2 до 4 |
От 4 до 8 |
От 8 до 16 |
От 16 до 40 |
|
Амплитуда виброускорения на платформе |
0,10 g |
0,15 g |
0,10 g | ||
|
Скорость сканирования, окт/мин |
1 | ||||
|
Регистрируемый параметр |
Виброускорение в точке установки ВИП | ||||
А.1.2.5 При испытаниях амплитуду виброускорения задают и контролируют в месте крепления задвижки к оснастке.
А.1.2.6 По результатам испытаний:
- определяют резонансные частоты;
- уточняют методы нагружения при испытании на сейсмостойкость.
А.1.3 Испытания на сейсмостойкость
А.1.3.1 Задвижку испытывают последовательно в трех взаимно перпендикулярных направлениях.
А.1.3.2 Время вибрационного воздействия при испытаниях в соответствии с ПМ.
А.1.3.3 Испытания проводят при следующих давлениях воды:
- при закрытом положении ЗЭл - перепад давления на шибере равен номинальному давлению ΔP = PN (давление, равное PN, подают в любой патрубок, в другом патрубке давление равно атмосферному). При изменении горизонтального направления воздействия колебаний с продольного на поперечное следует создать перепад давления ΔP со стороны другого патрубка;
- при открытом положении ЗЭл давление в корпусе и патрубках равно номинальному PN.
А.1.3.4 При воздействии колебаний проводят наработку одного цикла "закрыто-открыто-закрыто" при давлении в корпусе и патрубках, равном PN. Перемещение подвижных частей арматуры должно быть плавным, без рывков и заеданий, сигнализаторы крайних положений, а также моментные выключатели должны срабатывать четко и стабильно.
А.1.3.5 Нормированные значения амплитуд виброускорения в зависимости от интенсивности землетрясения, направления вибрационного воздействия и поддиапазона частот приведены в таблице А.2.
|
Интенсивность землетрясения по шкале MSK-64 [2], балл |
Направление вибрационного воздействия |
Амплитуда виброускорения для поддиапазонов частот Δf | ||||
|
от 1 до 2 |
от 2 до 4 |
от 4 до 8 |
от 8 до 16 |
от 16 до 35 | ||
|
9 |
Горизонтальные |
0,10 g - 0,25 g |
0,25 g |
0,25 g |
0,25 g - 0,20 g |
0,20 g - 0,10 g |
|
Вертикальное |
0,07 g - 0,17 g |
0,17 g |
0,17 g |
0,17 g - 0,14 g |
0,14 g - 0,07 g | |
|
10 |
Горизонтальные |
0,20 g - 0,50 g |
0,50 g |
0,50 g |
0,50 g - 0,40 g |
0,40 g - 0,20 g |
|
Вертикальное |
0,14 g - 0,35 g |
0,35 g |
0,35 g |
0,35 g - 0,28 g |
0,28 g - 0,14 g | |
А.1.3.6 Изменение амплитуды виброускорения в поддиапазонах частот - линейное.
Допускается проводить испытания на фиксированных частотах с соответствующей амплитудой виброускорения и временем воздействия 1 мин на каждой частоте.
А.1.3.7 Значения максимальной амплитуды виброускорений при испытаниях:
а) при горизонтальных направлениях вибрационного воздействия:
1) при интенсивности землетрясения 9 баллов - 2,5 м/с2 (0,25 g);
2) при интенсивности землетрясения 10 баллов - 5,0 м/с2 (0,50 g);
б) при вертикальном направлении вибрационного воздействия (70 % от амплитуды виброускорения при горизонтальных направлениях воздействия):
1) при интенсивности землетрясения 9 баллов - 1,7 м/с2 (0,17 g);
2) при интенсивности землетрясения 10 баллов - 3,5 м/с2 (0,35 g).
А.1.3.8 Значения амплитуд виброускорения в зависимости от интенсивности землетрясения, направления вибрационного воздействия и поддиапазона частот, а также скорость сканирования при испытаниях на сейсмостойкость задвижки приведены в таблице А.3.
|
Интенсивность землетрясения по шкале MSK-64 [2], балл |
Направление вибрационного воздействия |
Амплитуда виброускорения для поддиапазонов частот Δf |
Скорость сканирования, окт/мин, не более | ||||
|
от 1 до 2 |
от 2 до 4 |
от 4 до 8 |
от 8 до 16 |
от 16 до 35 | |||
|
9 |
Горизонтальные |
0,17 g |
0,25 g |
0,25 g |
0,22 g |
0,15 g |
1,0 |
|
Вертикальное |
0,12 g |
0,17 g |
0,17 g |
0,15 g |
0,10 g | ||
|
10 |
Горизонтальные |
0,35 g |
0,50 g |
0,50 g |
0,45 g |
0,30 g | |
|
Вертикальное |
0,24 g |
0,35 g |
0,35 g |
0,31 g |
0,21 g | ||
А.1.3.9 Во время вибрационного воздействия не допускаются:
а) разрушения, механические повреждения и трещины, а также видимые деформации материала корпусных деталей и сварных швов;
б) ослабление винтовых соединений и креплений;
в) ложные срабатывания, включение и отключение привода;
г) невыполнение функции "закрыто-открыто-закрыто" вследствие заклинивания подвижных частей;
д) нарушения:
1) плотности материала корпусных деталей и сварных швов;
2) герметичности относительно внешней среды уплотнений подвижных и неподвижных соединений;
3) функционирования изделия.
А.1.3.10 В процессе испытаний следует фиксировать моменты наступления предельных состояний и отказов.
А.1.3.11 После окончания испытаний следует провести контрольную проверку - испытание на герметичность затвора. Методика контроля - в соответствии с КД (ПМ).
Параметры контроля:
- перепад давления на затворе - 0,05·PN; 0,5·PN; 1,1·PN;
- время выдержки при каждом перепаде давления перед началом контроля - не менее 10 мин;
- продолжительность измерения утечки - не менее 3 мин.
Критерий оценки - утечки в затворе не допускаются.
А.1.3.12 Задвижку считают выдержавшей испытания на сейсмостойкость при:
- положительной оценке технического состояния арматуры во время и после окончания испытаний;
- положительных результатах контрольных проверок.
А.2 Испытания арматуры, предназначенной для эксплуатации в технологических системах АС
А.2.1 Общие положения
А.2.1.1 В соответствии с ГОСТ 31901 арматура АС (кроме регулирующей), относящаяся к I категории сейсмостойкости (а также ко II категории сейсмостойкости - по требованию заказчика) (см. [1]), должна быть сейсмостойкой. Остальная арматура должна быть сейсмопрочной.
А.2.1.2 Для арматуры, относящейся к I категории сейсмостойкости (см. [1]), нагрузки от сейсмического воздействия должны соответствовать воздействию уровня МРЗ. Для арматуры, относящейся ко II категории сейсмостойкости, нагрузки от сейсмического воздействия должны соответствовать воздействию уровня ПЗ.
А.2.1.3 В качестве нормированных параметров приняты значения унифицированных инерционных нагрузок, применяемых в качестве нагрузок от сейсмического воздействия при расчете арматуры АС (см. [3], пункт 2.5.4.5). Значения унифицированных инерционных нагрузок приведены в таблице А.4.
Примечание - По требованию заказчика (при согласовании ПМ) значения виброускорения (амплитуды) могут быть уточнены и изменены.
|
Собственная частота первой формы колебаний, Гц |
Направление вибрационного воздействия |
Место задания виброускорения |
Виброускорение |
|
Св. 33 |
Горизонтальные 1) |
Во всех точках модели |
3 g |
|
Вертикальное |
2 g | ||
|
До 33 включ. 2), 3) |
Горизонтальные 1) |
В центре масс привода |
8 g |
|
На оси трубопровода |
3 g | ||
|
Вертикальное |
В центре масс привода |
5 g | |
|
На оси трубопровода |
2 g | ||
|
1) Для наиболее опасного направления воздействия. 2) Для арматуры с вынесенной массой. 3) В окрестности резонанса ответным виброускорениям 5 g и 8 g в центре масс привода будут соответствовать ускорения на оси трубопровода значительно меньшие, чем 2 g и 3 g. | |||
А.2.1.4 Изделие следует испытывать при установке на платформу вибростенда последовательно в одном из трех положений (в случае однокомпонентного вибростенда) или в одном положении (в случае многокомпонентного вибростенда). Изделие с установленными ВИП закрепляют на жестком основании способом, аналогичным способу крепления в технологической системе на месте эксплуатации.
А.2.1.5 Обязательные места установки ВИП: патрубки арматуры, центр масс привода и места крепления арматуры к платформе вибростенда.
Примечание - Другие места установки ВИП в соответствии с ПМ на конкретную арматуру.
А.2.1.6 Вид испытательной среды в соответствии с ПМ.
А.2.2 Определение собственных частот колебаний
А.2.2.1 Собственную частоту колебаний изделия определяют в каждом из трех взаимно перпендикулярных направлений вибрационного воздействия.
А.2.2.2 Испытания проводят при плавном изменении частоты синусоидальных колебаний. Параметры вибрационного воздействия приведены в таблице А.5.
|
Диапазон частот f, Гц |
От 1 до 33 |
|
Амплитуда виброускорения на платформе |
До 0,1 g |
|
Скорость сканирования, окт/мин |
1 |
|
Регистрируемый параметр |
Виброускорение в точках установки ВИП |
А.2.2.3 При испытаниях амплитуду виброускорения задают и контролируют в месте крепления арматуры к оснастке.
А.2.2.4 По результатам испытаний:
- определяют резонансные частоты;
- уточняют методы нагружения при испытании на сейсмостойкость.
А.2.3 Испытания на сейсмостойкость
А.2.3.1 К испытаниям допускают образцы изделий, прошедшие испытания на подтверждение ресурса.
А.2.3.2 Параметры гармонических колебаний при испытаниях:
- диапазон частот - от 1 до 40 Гц (допускается по согласованию с заказчиком проводить испытания в диапазоне частот от 5 до 33 Гц);
- уровни ускорения вибрационного воздействия на платформе - от 0,1 g до 3 g.
А.2.3.3 Испытания проводят в два этапа:
- этап 1 - без подачи испытательной среды и давления в изделие;
- этап 2 - с подачей в изделие испытательной среды давлением PN (Рр), если в ПМ не указано иное.
А.2.3.4 Время вибрационного воздействия при испытаниях - в соответствии с ПМ.
А.2.3.5 Арматуру испытывают в трех взаимно перпендикулярных направлениях одновременно. Допускается прикладывать вибрационные нагрузки последовательно (поочередно) в трех взаимно перпендикулярных направлениях по осям Х, Y, Z. Обозначение осей в соответствии с 4.10 настоящего стандарта.
А.2.3.6 При плавном изменении частоты вибрации от нижней частоты к верхней и обратно регистрируют значения виброускорений в точках установки ВИП. Параметры вибрационного воздействия приведены в таблице А.6. Виброускорение на платформе вибростенда должно быть таким, чтобы на патрубках изделия и в центре масс привода виброускорение не превысило допустимые значения, указанные в таблице А.7 (с учетом собственной частоты первой формы колебаний арматуры и направления вибрационного воздействия).
|
Диапазон частот f, Гц |
От 5 до 33 |
|
Амплитуда виброускорения на платформе |
От 0,1 g до 3 g |
|
Скорость сканирования, окт/мин |
1 |
|
Регистрируемый параметр |
Виброускорение в точках установки ВИП |
|
Собственная частота первой формы колебаний арматуры, Гц |
Направление вибрационного воздействия |
Место установки ВИП |
Допустимое виброускорение, не более |
Скорость сканирования, окт/мин, не более |
Примечание |
|
От 5 до 33 включ. |
Горизонтальные |
В центре масс привода |
8 g |
1,0 |
Испытания проводят при динамическом воздействии на резонансных частотах 1), 2) |
|
На патрубках |
3 g | ||||
|
Вертикальное |
В центре масс привода |
5 g | |||
|
На патрубках |
2 g | ||||
|
Св. 33 |
Горизонтальные |
В центре масс привода |
3 g |
Допускается проводить испытания методом статического нагружения в наиболее опасном направлении | |
|
На патрубках | |||||
|
Вертикальное |
В центре масс привода |
2 g | |||
|
На патрубках | |||||
|
1) Нижняя граница АЧХ динамического воздействия - не ниже 5 Гц. 2) Для арматуры с собственной частотой первой формы колебаний более 10 Гц допускается принимать частоту воздействия на 5 Гц меньше собственной частоты первой формы колебаний. | |||||
А.2.3.7 При испытаниях по этапу 1 (без подачи испытательной среды и давления) регламент вибрационного воздействия в соответствии с А.2.3.6.
После окончания вибрационного воздействия следует провести проверку функционирования арматуры путем наработки трех циклов "открыто-закрыто-открыто" от привода, подключенного к пульту управления, или от ручного дублера привода.
Перемещение подвижных частей арматуры должно быть плавным, без рывков и заеданий, сигнализаторы крайних положений, а также моментные выключатели должны срабатывать четко и стабильно.
А.2.3.8 При испытаниях по этапу 2 (при подаче среды в корпус арматуры) - регламент вибрационного воздействия в соответствии с А.2.3.6.
В процессе вибрационного воздействия следует провести:
- наработку трех циклов "закрыто-открыто-закрыто" от привода (количество циклов может быть уточнено и изменено в ПМ);
- визуальный контроль внешнего вида арматуры с целью оценки его технического состояния в части выявления повреждений, приводящих к нарушению ее функционирования.
А.2.3.9 В процессе испытаний следует фиксировать моменты наступления предельных состояний и отказов. Во время и после вибрационного воздействия не допускаются:
а) разрушения, механические повреждения, трещины и видимые деформации материала корпусных деталей и сварных швов;
б) ослабления винтовых соединений и креплений;
в) ложные срабатывания, включение и отключение привода;
г) невыполнение функции "закрыто-открыто-закрыто" вследствие заклинивания подвижных частей;
д) нарушения:
1) плотности материала корпусных деталей и сварных швов;
2) герметичности относительно внешней среды уплотнений подвижных и неподвижных соединений;
3) функционирования изделия.
А.2.3.10 После окончания испытаний следует провести контрольные проверки, включающие в себя испытания на:
- прочность и плотность материала корпусных деталей и сварных швов;
- герметичность относительно внешней среды по уплотнению подвижных и неподвижных соединений;
- герметичность затвора;
- проверку функционирования.
Методики контрольных проверок и критерии оценки результатов испытаний указывают в КД (ПМ) в соответствии с 8.4.5.2-8.4.5.3.
А.2.3.11 Арматуру АС считают выдержавшей испытания на сейсмостойкость при:
- положительной оценке технического состояния арматуры во время и после окончания испытаний;
- положительных результатах контрольных проверок.
А.2.4 Условия распространения результатов испытаний на сейсмостойкость
А.2.4.1 Допускается распространять результаты испытаний на конструктивно подобные изделия, изготавливаемые по одинаковой технологии, если испытан хотя бы один типовой образец арматуры из следующих групп:
- до DN 100 включительно;
- свыше DN 100 до DN 500 включительно;
- свыше DN 500.
А.2.4.2 Условия распространения результатов испытаний в пределах размерного ряда:
- номинальный диаметр DN испытанного образца не должен отличаться более чем в два раза от номинальных диаметров DN исполнений арматуры, в отношении которых планируется зачесть результаты испытаний;
- собственная частота изделий размерного ряда не менее 33 Гц.
А.2.4.3 Допускается распространять результаты испытаний представителей размерного ряда на арматуру аналогичной конструкции, первоначально не вошедшую в размерный ряд ТУ. Такое распространение должно быть обосновано.
А.2.4.4 Решение о распространении результатов испытаний может быть принято комиссией, проводящей испытания, либо разработчиком и заказчиком.
Приложение Б
(справочное)
Б.1 Пример установки и крепления затвора дискового с электроприводом к платформе однокомпонентного вибростенда приведен на рисунке Б.1.
Б.2 Примеры установки и крепления клапана к платформе с указанием мест установки ВИП приведены на рисунках:
- при установке на однокомпонентный вибростенд - рисунок Б.2;
- при установке на трехкомпонентный вибростенд - рисунок Б.3.
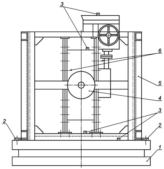
Б.3 Пример установки и крепления задвижки с электроприводом на платформу двухкомпонентного вибростенда приведен на рисунке Б.4.

1 - платформа вибростенда; 2 - крепежные планки; 3 - места установки ВИП; 4 - затвор дисковый с электроприводом; 5 - переходная рама; 6 - переходные фланцы
Рисунок Б.1 - Принципиальная схема установки и крепления затвора дискового с электроприводом к платформе однокомпонентного вибростенда

а) расположение привода перпендикулярно платформе (вертикально), крепление арматуры с помощью угловых опор

б) расположение привода параллельно платформе (горизонтально), крепление арматуры с помощью угловых опор

в) расположение привода параллельно платформе (горизонтально), крепление арматуры за магистральные фланцы корпуса
1, 3, 4, 6 - места установки ВИП; 2 - испытуемое изделие; 5 - угловая опора; 7 - платформа вибростенда
Рисунок Б.2 - Примеры установки и крепления арматуры к платформе однокомпонентного вибростенда с указанием мест (точек) установки ВИП

1 - платформа вибростенда; 2 - места установки ВИП; 3 - угловые опоры; 4 - штуцер для подачи среды; 5 - испытуемое изделие; 6 - швеллер, привариваемый к платформе вибростенда
Рисунок Б.3 - Крепление арматуры к платформе трехкомпонентного вибростенда с указанием мест (точек) установки ВИП

1 - задвижка; 2 - стропы для подвешивания платформы вместе с задвижкой; 3 - опоры; 4 - ребро жесткости; 5 - шпильки; 6 - плита; 7 - платформа вибростенда; 8 - штуцер для подачи среды
Рисунок Б.4 - Принципиальная схема установки и крепления к платформе двухкомпонентного вибростенда задвижки с электроприводом
Приложение В
(рекомендуемое)
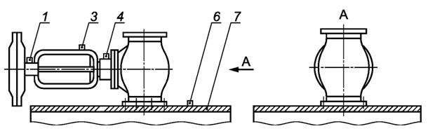
В.1 Места установки ВИП и направления нанесения ударов при определении собственных частот клапана ударным воздействием приведены на рисунке В.1.

1, 2, 3, 4, 6 - места (точки) установки ВИП; 5 - клапан; 7 - монтажная плита
Примечание - Направления нанесения ударов указаны стрелками.
Рисунок В.1 - Места установки ВИП и направления нанесения при определении ударов собственных частот колебаний клапана ударным воздействием
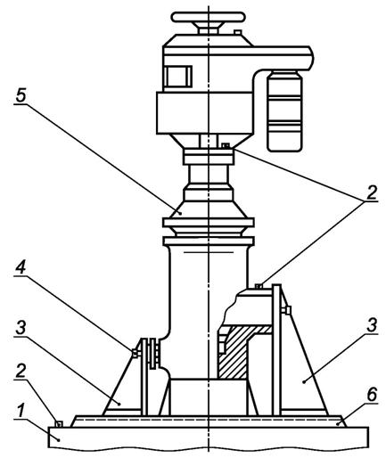
В.2 Схема приложения усилия при испытании на сейсмостойкость статическим методом приведена на рисунке В.2.

1 - монтажная плита; 2 - клапан; 3 - трос; 4 - динамометр; 5 - гидропресс; 6 - стойка с упорами; 7 - массив
Рисунок В.2 - Схема приложения усилия при испытании клапана на сейсмостойкость статическим методом
Приложение Г
(справочное)
Г.1 Места (точки) установки ВИП на клапане указаны на рисунке В.1 (приложение В).
Г.2 Пример результатов измерений при определении собственных частот колебаний виброударным воздействием на клапан при установке ВИП в точке 2 приведен на рисунках:
- акселерограммы ударных воздействий - рисунки Г.1, Г.3 и Г.5;
- спектры собственных частот колебаний - рисунки Г.2, Г.4 и Г.6.

Рисунок Г.1 - Акселерограмма ударного воздействия в точке 2. Нанесение удара в направлении оси Y

Рисунок Г.2 - Спектр частот колебаний в точке 2. Нанесение удара в направлении оси Y

Рисунок Г.3 - Акселерограмма ударного воздействия в точке 2. Нанесение удара в направлении оси X

Рисунок Г.4 - Спектр частот колебаний в точке 2. Нанесение удара в направлении оси X

Рисунок Г.5 - Акселерограмма ударного воздействия в точке 2. Нанесение удара в направлении оси Z

Рисунок Г.6 - Спектр частот колебаний в точке 2. Нанесение удара в направлении оси Z
Приложение Д
(рекомендуемое)
Д.1 Рекомендуемая форма протокола испытаний
УТВЕРЖДАЮ
________________________
"__" ___________ 20__ г.
ПРОТОКОЛ N
испытаний ___________________________________ на сейсмостойкость
обозначение и наименование изделия
Комиссия в составе (должность, Ф.И.О.):
1 __________________________________________________________________
2 __________________________________________________________________
3 __________________________________________________________________
назначенная приказом от ______________ N ___, в период с "__" ___________
20__ г. по "__" _________ 20__ г. в соответствии с программой и методикой
испытаний ____________________________________ провела испытания арматуры
_________________________________________________ DN _______ PN _________
обозначение и наименование арматуры
1 Цель испытаний ___________________________________________________
цель проводимых испытаний, задачи,
_________________________________________________________________________
решаемые в процессе испытаний
2 Объект испытаний _________________________________________________
наименование изделия, номер чертежа,
_________________________________________________________________________
технические характеристики название документа, в соответствии с которым
проводят испытания
3 Место проведения испытаний _______________________________________
название предприятия,
_________________________________________________________________________
свидетельство об аккредитации, наименование испытательного вибростенда
и сертификаты
4 Условия проведения испытаний:
- температура окружающего воздуха - ___ °С;
- относительная влажность воздуха - ___ %;
- атмосферное давление - ___ кПа.
5 Метрологическое обеспечение испытаний ____________________________
приборы, применяемые
_________________________________________________________________________
при испытаниях, номера свидетельств о поверке, дата поверки
6 Результаты испытаний _____________________________________________
величины, выявленные в процессе испытаний
_________________________________________________________________________
собственных (резонансных) частот, уровни (амплитуды) ускорений,
_________________________________________________________________________
полученные на элементах конструкции изделия при воздействии
_________________________________________________________________________
при воздействии в трех взаимно перпендикулярных направлениях
7 Перечень дефектов, обнаруженных при испытаниях ___________________
_________________________________________________________________________
_________________________________________________________________________
|
Обозначение изделия |
Описание обнаруженных дефектов |
Анализ причин возникновения дефекта |
Меры, принятые по устранению дефекта |
8 Замечания и рекомендации _________________________________________
перечень замечаний, выявленных в процессе
_________________________________________________________________________
испытаний рекомендации о необходимости дополнительных
или повторных испытаний
9 Заключение _______________________________________________________
выводы по результатам испытаний
_________________________________________________________________________
Подписи ___________________________ ___________________________________
личная подпись инициалы, фамилия
___________________________ ___________________________________
личная подпись инициалы, фамилия
___________________________ ___________________________________
личная подпись инициалы, фамилия
Библиография
|
[1] |
НП-031-01 |
Федеральные нормы и правила в области использования атомной энергии. Нормы проектирования сейсмостойких атомных станций |
|
[2] |
MSK-64 |
Шкала сейсмической интенсивности MSK-1964 |
|
[3] |
НП-068-05 |
Федеральные нормы и правила в области использования атомной энергии. Трубопроводная арматура для атомных станций. Общие технические требования |
|
[4] |
ПНАЭ Г-7-002-86 |
Правила и нормы в атомной энергетике. Нормы расчета на прочность оборудования и трубопроводов атомных энергетических установок |


