ГОСТ 32560.2-2013 (ISO 23953-2:2005) ШКАФЫ, ПРИЛАВКИ И ВИТРИНЫ ХОЛОДИЛЬНЫЕ ТОРГОВЫЕ. ТРЕБОВАНИЯ, МЕТОДЫ И УСЛОВИЯ ИСПЫТАНИЙ
Trade refrigerated display cabinets. Requirements, methods and test conditions
МКС 97.130.20
Дата введения - 1 января 2016 г.
Введен впервые
Предисловие
Цели, основные принципы и основной порядок проведения работ по межгосударственной стандартизации установлены ГОСТ 1.0-92 "Межгосударственная система стандартизации. Основные положения" и ГОСТ 1.2-2009 "Межгосударственная система стандартизации. Стандарты межгосударственные, правила и рекомендации по межгосударственной стандартизации. Правила разработки, принятия, применения, обновления и отмены"
Сведения о стандарте
1 Подготовлен Российским союзом предприятий холодильной промышленности
2 Внесен Техническим комитетом по стандартизации N 271 "Установки холодильные"
3 Принят Межгосударственным советом по стандартизации, метрологии и сертификации (протокол от 3 декабря 2013 г. N 62-П)
За принятие проголосовали:
|
Краткое наименование страны по МК (ИСО 3166) 004-97 |
Код страны по МК (ИСО 3166) 004-97 |
Сокращенное наименование национального органа по стандартизации |
|
Армения |
AM |
Минэкономики Республики Армения |
|
Беларусь |
BY |
Госстандарт Республики Беларусь |
|
Киргизия |
KG |
Кыргызстандарт |
|
Россия |
RU |
Росстандарт |
|
Таджикистан |
TJ |
Таджикстандарт |
|
Узбекистан |
UZ |
Узстандарт |
4 Приказом Федерального агентства по техническому регулированию и метрологии от 22 августа 2014 г. N 961-ст межгосударственный стандарт ГОСТ 32560.2-2013 (ISO 23953-2:2005) введен в действие в качестве национального стандарта Российской Федерации с 1 января 2016 г.
5 Настоящий стандарт модифицирован по отношению к международному стандарту ISO 23953-2:2005 Refrigerated display cabinets - Part 2: Classification, requirements and test conditions (Шкафы, прилавки и витрины охлаждаемые. Часть 2. Классификация, требования и условия испытания) с учетом изменения 1 ISO 23953-2:2005/Amd 1:2012 и содержит дополнительные положения, которые уточняют требования международного стандарта.
Дополнительные слова, фразы, значения отдельных показателей, включенные в текст стандарта для уточнения требований международного стандарта, выделены в тексте подчеркиванием сплошной горизонтальной линией. Англоязычные аббревиатуры терминов и понятий заменены на обозначения, принятые в странах ЕАСС.
Наименование настоящего стандарта изменено относительно наименования указанного международного стандарта в связи с особенностями построения межгосударственной системы стандартизации и требованиями ГОСТ 1.5.
Полный перечень технических отклонений с разъяснением причин их внесения приведен в приложении ДА.
Перевод с английского языка (en).
Официальные экземпляры международного стандарта, на основе которого подготовлен настоящий межгосударственный стандарт, и международных стандартов, на которые даны ссылки, имеются в Федеральном информационном фонде технических регламентов и стандартов Российской Федерации.
Степень соответствия - модифицированная (MOD)
6 Введен впервые
Введение
ISO (Международная организация по стандартизации) - всемирное объединение национальных органов по стандартизации (комитетов - членов ISO). Работу по подготовке международных стандартов, как правило, осуществляют через Технические комитеты ISO. Каждое государство - член ISO, заинтересованное в деятельности, для которой Технический комитет был создан, имеет право быть представленным в этом комитете.
Международные правительственные и неправительственные организации, имеющие связи с ISO, также принимают участие в работе ISO. ISO тесно сотрудничает с Международной электротехнической комиссией (IEC) по всем вопросам стандартизации в области электротехники. Международные стандарты разрабатывают в соответствии с правилами, приведенными в Директивах ISO/IEC, часть 2.
Основная задача Технических комитетов - подготовка международных стандартов. Проекты международных стандартов, принятые Техническими комитетами, рассылают национальным органам по стандартизации (комитетам - членам ISO) на голосование. Их опубликование в качестве Международных стандартов требует одобрения по меньшей мере 75 % членов, принимающих участие в голосовании.
Следует обратить внимание на то, что некоторые элементы настоящего стандарта могут быть объектом патентных прав. ISO не несет ответственности за идентификацию какого-либо или всех таких патентных прав.
ISO 23953-2, а также изменение 1 к нему (ISO 23953-2:2005/Amd 1:2012) были подготовлены Европейским комитетом по стандартизации (CEN), Техническим комитетом CEN/TC 44 "Бытовая холодильная техника и торговое холодильное оборудование" в сотрудничестве с Техническим комитетом ИСО/ ТК 86 "Охлаждение и кондиционирование воздуха", подкомитет SC 7 "Испытания и оценка шкафов и витрин торгового холодильного оборудования", в соответствии с Соглашением о техническом сотрудничестве между ISO и CEN (Венское соглашение).
Первое издание ISO 23953-2, а также первое издание [1] в совокупности с изменением 1 (ISO 23953-2:2005/Amd 1:2012), отменяют и заменяют ISO 1992-1:1974, ISO 1992-4:1974, ISO 1992-5:1974, ISO 1992-6:1974, ISO 5160-1:1979 и ISO 5160-2:1980 и являются результатом технического пересмотра перечисленных отменяемых стандартов.
ISO 23953 состоит из следующих частей под общим названием "Шкафы, прилавки и витрины холодильные торговые. Требования, методы и условия испытаний":
- часть 1. Термины и определения;
- часть 2. Классификация, требования и условия испытания
Настоящий стандарт устанавливает требования к конструкции, характеристикам и производительности холодильных шкафов, витрин и прилавков, используемых при торговле продуктами питания и их демонстрации [далее - торгового холодильного оборудования (ТХО)]. Стандарт определяет классификацию и обозначения различных видов ТХО, методики проведения испытаний по подтверждению указанных требований, а также перечень характеристик, которые должны быть заявлены производителем.
Стандарт не распространяется на торговые автоматы или шкафы, предназначенные для использования на предприятиях общественного питания или в аналогичных организациях, не занимающихся розничной торговлей продуктами питания, а также на оборудование, устанавливаемое на всех видах транспорта, и оборудование, предназначенное для эксплуатации в тропиках и иных специальных условиях. Стандарт не регламентирует виды продовольственных товаров, размещаемых в ТХО.
В настоящем стандарте использованы нормативные ссылки на следующие межгосударственные стандарты:
ГОСТ 29265-91 (ИСО 817-74) Хладагенты органические (хладоны). Цифровые обозначения
ГОСТ EN 378-2-2014 Системы холодильные и тепловые насосы. Требования безопасности и охраны окружающей среды. Часть 2. Проект, конструкция, изготовление, испытания, маркировка и документация
ГОСТ МЭК 60335-1-2008 Безопасность бытовых и аналогичных электрических приборов. Часть 1. Общие требования
Примечание - При пользовании настоящим стандартом целесообразно проверить действие ссылочных стандартов в информационной системе общего пользования - на официальном сайте Федерального агентства по техническому регулированию и метрологии в сети Интернет или по ежегодному информационному указателю "Национальные стандарты", который опубликован по состоянию на 1 января текущего года, и по выпускам ежемесячного информационного указателя "Национальные стандарты" за текущий год. Если ссылочный стандарт заменен (изменен), то при пользовании настоящим стандартом следует руководствоваться заменяющим (измененным) стандартом. Если ссылочный стандарт отменен без замены, то положение, в котором дана ссылка на него, применяется в части, не затрагивающей эту ссылку.
В настоящем стандарте применены термины по [5], а также следующие обозначения и сокращения:
tраб - время работы оборудования (running time) - время за период в 24 ч, в течение которого работает компрессор (или открыт электромагнитный клапан подачи хладагента в испаритель) или циркулирует промежуточный хладоноситель (или открыт электромагнитный клапан подачи хладоносителя в теплообменный аппарат);
tраб75 - заключительные 75 % времени работы оборудования перед выключением для очередного оттаивания, 0,75tpaб (75 % of the running time between defrosts, excluding the time just after defrost, 0,75 trun);
tст - время стоянки (stopping time) - время за период в 24 ч, в течение которого не работает компрессор (или закрыт электромагнитный клапан подачи хладагента в испаритель) или не циркулирует промежуточный хладоноситель (или закрыт электромагнитный клапан подачи хладоносителя в теплообменный аппарат) без учета времени оттаивания;
tотт - время оттаивания (defrost time) - время за период в 24 ч, в течение которого в целях оттаивания оборудования не работает компрессор (или закрыт электромагнитный клапан подачи хладагента в испаритель) или не циркулирует промежуточный хладоноситель (или закрыт электромагнитный клапан подачи хладоносителя в теплообменный аппарат) без учета времени стоянки;
qm - массовый расход жидкого хладагента или промежуточного хладоносителя, кг/с (mass flow rate of liquid refrigerant or secondary refrigerant in kilograms per second);
Δt - отрезок времени между двумя последовательными измерениями контролируемого параметра оборудования (time between two consecutive measuring samples);
Nмакс - число измерений произвольного параметра оборудования за период в 24 ч (number of measuring samples in 24 hours);
N75 - число измерений произвольного параметра оборудования за период в течение 75 % времени работы между двумя последовательными периодами оттаивания без учета времени оттаивания (number of measuring samples during 75 % of the running time period between 2 defrosts, excluding time just after defrost);
nотт - число операций по оттаиванию оборудования за период в 24 ч (number of defrosts during 24 h);
Епотр - количество электрической энергии, потребляемой образцом за период в 24 ч, кВт·ч (direct electrical energy consumption, in kilowatt hours per 24 h period);
Е1неп - количество электрической энергии, потребляемой единичным образцом оборудования для охлаждения за период в 24 ч при использовании непосредственного охлаждения с помощью вынесенной парокомпрессионной холодильной машины, кВт·ч (refrigeration electrical energy consumption, in kilowatt hours per 24 h period, for remote cabinet for compression-type refrigerating system);
Е1пром - количество электрической энергии, потребляемой единичным образцом оборудования для охлаждения за период в 24 ч при использовании охлаждения с помощью промежуточного хладоносителя, кВт·ч (refrigeration electrical energy consumption, in kilowatt hours per 24 h period, for remote cabinet for indirect refrigerating system);
Еполн - полное количество электрической энергии, потребляемой оборудованием за период в 24 ч, кВт·ч (total energy consumption in kilowatt hours per 24 h period);
tотн - относительное время работы оборудования (relative or percentage running time),
,
где tраб + tст + tотт = 24 ч;
Ф - текущее значение холодопроизводительности (instant heat extraction rate);
ТХО - торговое холодильное оборудование (refrigerated commercial equipment).
h8, h4 - значение удельной энтальпии хладагента, кДж/кг, на выходе из испарителя единичного образца оборудования и на входе в него (в точках 8 и 4 соответственно диаграммы состояния "давление-энтальпия" согласно рисунку 31с для используемого хладагента) (specific enthalpy in kilojoules per kilogram, where state at point 8 corresponds to refrigerant outlet, and state at point 4 to refrigerant inlet, of cabinet);
θ7 - средняя температура хладагента на выходе из испарителя единичного образца оборудования, градусы Цельсия (refrigerant mean temperature at evaporator outlet, in degrees Celsius);
θср - среднеарифметическое значение температуры кипения хладагента, градусы Цельсия, полученное с использованием табличных данных о свойствах хладагента на линии насыщения при давлении р7 (согласно рисунку 31с) за время работы оборудования tраб (arithmetic average of evaporator-saturated temperature obtained from pressure p7 by referring to table of saturation properties for refrigerant in use - during trun, in degrees Celsius)
Tcp, К = θср + 273,15;
θмин - среднеарифметическое значение температуры кипения хладагента, градусы Цельсия, полученное с использованием табличных данных о свойствах хладагента на линии насыщения при давлении р7, за заключительный период работы оборудования перед выключением для очередного оттаивания продолжительностью 10 % от времени tраб (arithmetic average of evaporator-saturated temperature obtained from pressure p7 by referring to table of saturation properties for refrigerant in use - during the last 10 % of all running periods, in degrees Celsius).
θвх - температура промежуточного хладоносителя на входе в теплообменный аппарат единичного образца оборудования, градусы Цельсия (secondary refrigerant temperature at cabinet inlet, in degrees Celsius);
θвых - температура промежуточного хладоносителя на выходе из теплообменного аппарата единичного образца оборудования, градусы Цельсия (secondary refrigerant temperature at cabinet outlet, in degrees Celsius);
θ - средняя температура промежуточного хладоносителя в теплообменном аппарате единичного образца оборудования, градусы Цельсия (secondary refrigerant median temperature, in degrees Celsius), θ=(θвх+θвых)/2;
θср - среднеарифметическое значение средней температуры θ промежуточного хладоносителя, в теплообменном аппарате единичного образца оборудования, градусы Цельсия, за время работы оборудования tpaб (arithmetic average of the secondary refrigerant median temperature (θ) during trun, in degrees Celsius);
θмин - среднеарифметическое значение средней температуры θ промежуточного хладоносителя в теплообменном аппарате единичного образца оборудования, градусы Цельсия, за заключительный период работы оборудования перед выключением для очередного оттаивания продолжительностью 10 % времени tpaб (arithmetic average of the secondary refrigerant median temperature (θ) during last 10 % of all running periods, in degrees Celsius);
qmраб - среднеарифметическое значение массового расхода промежуточного хладоносителя, кг/с, за время работы оборудования tpaб (arithmetic average of the secondary refrigerant mass flow during trun, in kilograms per second);
cвх - удельная теплоемкость промежуточного хладоносителя на входе в теплообменный аппарат единичного образца оборудования, кДж/кг·К (specific heat of secondary refrigerant, in kilojoules per kilogram per degree Celsius at cabinet inlet);
свых - удельная теплоемкость промежуточного хладоносителя на выходе из теплообменного аппарата единичного образца оборудования, кДж/кг·К (specific heat of the secondary refrigerant, in kilojoules per kilogram per degree Celsius, at cabinet outlet);
рвхраб, рвыхраб - перепад давления промежуточного хладоносителя между входом в теплообменный аппарат единичного образца оборудования и выходом из него в течение времени работы оборудования tраб, Н/м2 (pressure drop between inlet and outlet of cabinet during trun, in newtons per);
Енас - количество электрической энергии, потребляемой насосом единичного образца оборудования для обеспечения циркуляции промежуточного хладоносителя за период в 24 ч. кВт·ч (pumping electrical energy consumption);
v - удельный объем промежуточного хладоносителя, м3/кг (specific volume of secondary refrigerant, in cubic metres per kilogram).
4.1.1.1 Прочность и жесткость
Оборудование и его части проектируют и изготавливают таким образом, чтобы обеспечить его прочность и сохранность формы при нормальных условиях эксплуатации, транспортирования и использования по назначению. При этом обращают внимание на следующее:
а) внутренние элементы, в том числе полки, ящики, вешалки, крюки и т.д., и их крепления должны выдерживать заданные нагрузки;
б) выдвижные полки, лотки и ящики, если они предусмотрены конструкцией, должны сохранять свою форму и возможность беспрепятственного выдвижения при полной загрузке;
в) все подвижные внутренние элементы, которые оснащены стопорными устройствами в целях предотвращения их случайного удаления, должны сохранять свою несущую способность при полной загрузке и выдвижении до предела, предусмотренного стопорным устройством;
г) стопорные устройства должны сохранять работоспособность во всем диапазоне предусмотренных нагрузок.
4.1.1.2 Трубопроводы и их соединения
Гибкие трубопроводы и подвижные соединения, в том числе трубопроводы на эластичных опорах, должны быть закреплены таким образом, чтобы они не могли перепутываться друг с другом или воздействовать вредными вибрациями на другие части оборудования. Все остальные трубопроводы и соединения надежно закрепляют и предусматривают их достаточную свободную длину и/или оснащают их виброизоляторами в целях предотвращения усталостных разрушений. В случае необходимости трубопроводы и трубопроводная арматура должны быть соответствующим образом теплоизолированы.
4.1.1.3 Удаление конденсата
Предусмотренные конструкцией дренажи, поддоны или иные устройства для сбора талой воды (конденсата), в том числе с возможностью ее последующего выпаривания, должны быть достаточно вместимыми, легкодоступными для очистки и легко вынимаемыми.
Любой приемник конденсата или талой воды или группа приемников, требующие опорожнения вручную, должны иметь вместимость, обеспечивающую непрерывную работу по крайней мере в течение 48 ч нормальной эксплуатации в соответствующем классе температур, для которого предназначено оборудование.
4.1.1.4 Закрытое холодильное оборудование (самозакрывающееся)
Закрытое самозакрывающееся холодильное оборудование должно удовлетворять следующим специальным требованиям.
Самозакрывающиеся двери должны иметь возможность открытия под разными углами, вплоть до 80°, и из различных позиций должны автоматически возвращаться в закрытое положение и плотно закрываться в соответствии с 5.2.1.
В низкотемпературном оборудовании прозрачные двери и крышки не должны покрываться конденсатом при заданных производителем температурах внутри охлаждаемого объема. Стеклянные двери должны иметь возможность нагрева внутренней поверхности для удаления с нее влаги с целью обеспечения прозрачности дверей после закрытия. При наличии в оборудовании крышек или створок с горизонтальным скольжением данное требование не предъявляется.
Крепеж и петли дверей при нормальных условиях эксплуатации должны обеспечивать плавное закрытие и открытие и длительную работу без излишнего износа.
Уплотнители дверей и крышек оборудования в закрытом состоянии должны предотвращать попадание наружного воздуха в охлаждаемый объем.
Двери, створки и крышки оборудования не должны открываться самопроизвольно.
Уплотнители должны быть изготовлены из материала, характеристики которого соответствуют условиями эксплуатации (особенно температурным). Если закрытие дверей осуществляют при помощи механического запорного устройства, должны быть предусмотрены ограничители или другие средства, предотвращающие чрезмерную деформацию уплотнителя.
4.1.1.5 Стыки, соединения и швы
Конструкция и устройство стыков, соединений и швов в полезном объеме оборудования должны препятствовать накоплению возможных загрязнений.
Конструкция и устройство стыков, соединений и швов в полезном объеме оборудования должны обеспечивать легкость устранения любых возможных загрязнений.
4.1.1.6 Противовирусная и антимикробная защита
Открытые витрины и лари должны быть оснащены экранами для противовирусной и антимикробной защиты. Экран должен представлять собой защиту от опасности заражения, исходящей от потребителей, путем исключения как возможности прямого контакта с пищевыми продуктами, не позволяя трогать их руками, так и воздушно-капельного воздействия на пищевые продукты в результате кашля, чихания и т.д. в случае экспонирования и продажи пищевых продуктов без упаковки.
Для этого сумма вертикального А и горизонтального В размеров экрана для противовирусной и антимикробной защиты, как показано на рисунке 1, должна быть не менее 1500 мм.

Рисунок 1 - Размеры экрана противовирусной и антимикробной защиты
Внутренний объем ТХО в части, предназначенной для размещения в ней пищевых продуктов, не должен содержать застойных зон и должен предусматривать возможность осуществления процедур очистки, дезинфекции и сушки его поверхности.
4.1.2.1 Общие требования
Материалы и покрытия конструктивных элементов оборудования должны быть прочными и не должны портиться, покрываться плесенью и выделять запахи.
При нормальных условиях эксплуатации материалы, контактирующие с пищевыми продуктами, должны быть устойчивыми к влаге, не должны быть токсичными и не должны загрязнять пищевые продукты. Указанные материалы должны быть разрешены для контакта с пищевыми продуктами соответствующими национальными нормативными документами и должны выдерживать многократную санитарную обработку дезинфицирующими средствами, обладать антимикробными или бактериостатическими свойствами.
4.1.2.2 Износостойкость
Внутренние и внешние покрытия конструктивных элементов должны быть устойчивы к износу и обеспечивать возможность проведения эффективной гигиенической очистки. Покрытия в нормальных условиях эксплуатации или в процессе очистки не должны растрескиваться, откалываться, истираться, размягчаться, лопаться или деформироваться каким-либо другим образом.
4.1.2.3 Устойчивость к коррозии
Металлические части, используемые в конструкции оборудования, должны иметь коррозионную стойкость, соответствующую их расположению и назначению.
4.1.3.1 Эффективность теплоизоляции
Теплоизоляция должна быть эффективной и прочно закрепленной таким образом, чтобы не допустить ее деформации. В частности, теплоизоляционный материал не должен быть подвержен усадке и не должен при нормальных рабочих условиях допускать накопления влаги (4.2.4).
4.1.3.2 Гидроизоляция
Для предотвращения ухудшения теплоизоляционных свойств теплоизоляционного материала должны быть приняты соответствующие меры с целью его защиты от попадания влаги.
4.1.3.3 Сохранность теплоизоляционного материала
Волокнистые и допускающие пыление теплоизоляционные материалы изолируют от внутреннего и наружного пространства покрытием, исключающим попадание частиц теплоизоляционного материала в это пространство.
Если в теплоизоляционном материале изнутри проделывают отверстия, должны быть предусмотрены меры, исключающие попадание частиц теплоизоляционного материала внутрь полезного объема оборудования, предназначенного для нахождения в нем продуктов питания.
При использовании волокнистых теплоизоляционных материалов не допускается засовывание твердого щупа диаметром 1 мм в любое отверстие, через которое можно получить доступ к теплоизоляционному материалу, при любых манипуляциях щупом следует прикладывать предельно малое усилие.
4.1.4.1 Проектирование и монтаж
Проектирование и монтаж всех элементов холодильной системы ТХО, находящихся под действием избыточного давления, выполняют с учетом максимального рабочего давления, которое действует во время эксплуатации или стоянки ТХО.
Для ТХО со встроенным компрессорно-конденсаторным холодильным агрегатом или элементов ТХО, которые перед транспортированием заполнены хладагентом, проектирование и монтаж должны выполняться с учетом значения максимальной температуры окружающей среды при транспортировании.
Все элементы ТХО, заполненные хладагентом, должны соответствовать требованиям ГОСТ EN 378-2.
4.1.4.2 Защита от водяного конденсата
Должны быть предусмотрены соответствующие средства, предотвращающие вредное воздействие воды, конденсирующейся на холодной поверхности корпуса ТХО и его элементов, на работу холодильной системы и/или ее приборов автоматики и контроля.
4.1.4.3 Защита холодильной системы от перегрузки
Холодильная система оборудования, оснащенного дверями, створками или крышками, должна работать без отказов, если дверь, створка или крышка оборудования остается открытой, а оборудование работает при температуре окружающей среды, соответствующей классу температур (см. таблицу 3), для которого предназначено оборудование.
Если дверь, створка или крышка остается открытой (например, во время загрузки продукта) или оставлена открытой случайно, при нормальных условиях эксплуатации в действие должно вступить автоматическое устройство для защиты приводного двигателя компрессора от перегрузки.
4.1.4.4 Выбор хладагента и хладоносителя
При принятии решения об использовании в холодильной системе того или иного хладагента и хладоносителя необходимо принимать во внимание теплофизические свойства хладагентов и хладоносителей, экологические ограничения на их использование с учетом положений разделов 1.1 и 1.2 Решения коллегии Евразийской экономической комиссии [3], а также возможные опасности, связанные с применением некоторых хладагентов и хладоносителей из-за их токсичности, взрывоопасности, воспламеняемости и т.д. в основном и промежуточном контурах холодильного оборудования, а также с возможностью их попадания на пищевые продукты в случае частичного нарушения герметичности контуров охлаждения. Информация для хладагентов по этому вопросу приведена в [2]. Для выбора хладоносителя теплофизические свойства и параметры безопасности следует уточнять у производителей хладоносителя. Следует учитывать токсикологические характеристики основных компонентов хладоносителя, его возможное влияние на органолептические свойства продуктов, а также на микробиологическую безопасность.
Захоронение в объектах размещения отходов производства и потребления ТХО, утратившего свои потребительские свойства, без извлечения хладагентов из указанного оборудования в целях их восстановления, утилизации или уничтожения запрещено.
Электрооборудование должно соответствовать требованиям [6] и ГОСТ МЭК 60335-1.
Оборудование должно быть оснащено приборами, показывающими температуру воздуха в различных, наиболее репрезентативных точках охлаждаемого объема и дающими представление о функционировании холодильной системы и информацию о ее рабочем состоянии.
Примечание - Как правило, измеряемая температура воздуха не совпадает с температурой пищевых продуктов в охлаждаемом объеме.
4.1.6.1 Приборы для измерения температуры
В качестве приборов для измерения температуры должны быть использованы такие приборы, которые отвечают следующим требованиям:
- на приборах для измерения температуры должен отображаться или присутствовать символ единицы измерения (°С);
- диапазон измерения должен составлять по крайней мере от минус 25 °С до плюс 15 °С;
- деление аналоговой шкалы или наименьший численный шаг цифровой шкалы должны быть не более 1 К;
- максимальная ошибка измерения не должна превышать 2 К во всем диапазоне измерений;
- постоянная времени t90 измерительного прибора должна быть не более 20 мин.
Примечание - t90 - время, в течение которого фиксируется внезапное изменение на 90 % в сторону увеличения или уменьшения температуры умеренно подвижного воздуха (скорость 1 м/с) от начальной температуры 20 °С.
4.1.6.2 Расположение датчика температуры
Расположение датчика температуры должно быть выбрано таким образом, чтобы обеспечить корректность измерения, доступность для проведения контрольного измерения (поверки) на месте в процессе эксплуатации и легкость замены.
Примечания
1 Датчик температуры или термометр считают "доступным", если он может быть поверен без демонтажа с оборудования. Для проведения замены допускают снятие крышек люка доступа или приборной панели (панелей).
2 Для оборудования с охлаждением естественной конвекцией расположение датчика температуры в направляющих воздуховодах также считают "доступным", если датчик может быть введен в направляющий воздуховод и/или удален из него без применения специального инструмента.
Везде, где это возможно, способ крепления датчика не должен сопровождаться подводом или отводом тепла по отношению к датчику.
Датчик температуры должен быть защищен от лучистого теплового потока со стороны внешней окружающей среды.
Определение места расположения датчика температуры является составной частью тепловых испытаний ТХО. Во время тепловых испытаний измеряют температуру воздуха в заданном месте расположения датчика и получаемые значения указывают в протоколе испытаний.
3 В случае установки электронного процессора на табло может отображаться расчетная температура.
4 Для записи и отображения температуры могут быть использованы показания одного или двух датчиков температуры. Датчик температуры может быть таким же, как те, которые используют для контроля охлаждения. В случае неисправности (выхода значения температуры за пределы допустимого диапазона) может быть подан сигнал тревоги. Однако этот вариант не отвечает требованиям [3].
5 Гарантию того, что расположение датчика температуры соответствует национальным нормативным документам, определяющим требования к контролю температуры продуктов питания, дают поставщик оборудования и пользователь.
4.1.6.3 Количество приборов для измерения температуры
В ТХО устанавливают следующее количество приборов для измерения температуры:
- один измерительный прибор для каждого образца оборудования, оснащенного собственным холодильным контуром либо контуром хладоносителя;
- для нескольких образцов оборудования одного температурного класса, оснащенных единым (общим) холодильным контуром либо контуром хладоносителя, как минимум один измерительный прибор максимум на два образца оборудования с общей длиной не более 3,75 м;
- для нескольких образцов оборудования различных температурных классов, оснащенных единым (общим) холодильным контуром либо контуром хладоносителя, количество приборов для измерения температуры должно соответствовать указанным выше требованиям, при этом для каждого температурного класса устанавливают свои отдельные приборы для измерения температуры.
Требование отсутствия запаха и вкуса не является обязательным. Дополнительный метод испытания приведен в приложении В.
Исполнение оборудования должно соответствовать одному из температурных классов, установленных в таблице 1. Производительность оборудования определяют в процессе испытаний, методы и условия проведения которых указаны в 5.3.3.
Примечание - В приложении Б приведено сравнение условий работы оборудования при штатной эксплуатации и в процессе лабораторных испытаний.
|
Класс ТХО |
Максимальная температура, θah, самого теплого пакета, не более а) |
Минимальная температура, θb, самого холодного пакета, не менее а) |
Минимальная температура, θal, самого теплого пакета, не более а) |
|
°С | |||
|
L1 |
- 15 |
- |
- 18 |
|
L2 |
- 12 |
- |
- 18 |
|
L3 |
- 12 |
- |
- 15 |
|
М1 |
+ 5 |
- 1 |
- |
|
М2 |
+ 7 |
- 1 |
- |
|
Н1 |
+ 10 |
+ 1 |
- |
|
Н2 |
+ 10 |
- 1 |
- |
|
S |
Специальные значения | ||
|
а) См. рисунок 28. Примечание - Отличие термометрических контрольных пакетов от обычных пакетов описано в 5.3.1.5. | |||
В охлаждаемом объеме ТХО (за исключением оборудования, в котором предусмотрено оттаивание вручную) не должно происходить накопление льда, инея и снега на внутренних поверхностях оборудования (за исключением поверхности контрольных пакетов), а также накопление или образование талой воды, так как это приводит к ухудшению характеристик оборудования. Выполнение этого требования подтверждают результатами испытаний, методы и условия проведения которых указаны в 5.3.3.3.
Выбранные способы оттаивания (автоматического или ручного) не должны оказывать влияния на температурный режим.
Для отдельных образцов оборудования или их части, для которых выбрано оттаивание вручную, производитель должен предоставить все необходимые инструкции для правильной работы системы оттаивания.
На производительность оборудования не должна оказывать влияние конденсация водяных паров в охлаждаемом объеме. Количество воды, образующееся в результате конденсации паров, определяют в процессе испытаний, методы и условия проведения которых указаны в 5.3.4.
Холодопроизводительность и потребление энергии должны быть указаны производителем.
Количество электрической энергии, Епотр, кВт·ч, потребляемой оборудованием за период в 24 ч, количество электрической энергии, Е1, кВт·ч, потребляемой единичным образцом оборудования для охлаждения за период в 24 ч при использовании непосредственного охлаждения с помощью вынесенной парокомпрессионной холодильной машины или при использовании охлаждения с помощью хладоносителя, а также полное количество электрической энергии, Еполн, кВт·ч, потребляемой оборудованием за период в 24 ч, определяют в процессе испытаний, методы и условия проведения которых указаны в 5.3.5 и 5.3.6.
При экспериментальном определении параметров ТХО все измерения и испытания должны проводиться для одного и того же образца оборудования. Допускается проводить индивидуальные испытания образца оборудования с целью определения конкретной характеристики.
В таблице 2 приведен перечень испытаний и проверок в соответствии с требованиями раздела 4. Каждый образец оборудования должен соответствовать указанным требованиям, подтверждением чему должно быть проведение соответствующего испытания (проверки) с использованием методов, описанных ниже.
К перечню испытаний, которые могут быть проведены за пределами помещения испытательной лаборатории, относят проверку конструкционных характеристик с внешним осмотром, проверку геометрических размеров и проверку отсутствия запаха и вкуса.
Эффективность уплотнения дверей, створок и крышек проверяют следующим образом (при неработающем оборудовании).
Вставьте полоску бумаги соответствующей длины шириной 50 мм и толщиной не более 0,08 мм в любом месте проема. Уплотнение признают эффективным, если при закрытой двери, створке или крышке полоска не проскальзывает при приложении к ней усилия до 0,1 Н включительно.
Измерения выполняют на неработающем оборудовании при температуре окружающей среды от 16 до 30 °С.
Для образцов оборудования, имеющих съемные элементы, габаритные размеры определяют как с учетом размеров этих элементов, так и без них. Если образец оборудования оснащен домкратами и другими устройствами для регулировки высоты, следует указывать минимальную высоту, необходимую для размещения образца.
При измерении полезного внутреннего объема, необходимого для нормального функционирования образца оборудования, следует из полного внутреннего объема образца вычесть объем, занимаемый полками, выступами и другими внутренними элементами, которые должны быть установлены при работе оборудования.
Общую площадь открытой поверхности обзора образца (TDA) рассчитывают в соответствии с приложением А.
К перечню испытаний, которые следует проводить внутри помещения испытательной лаборатории, относят испытания по определению следующих характеристик:
- температуры контрольных пакетов (имитаторов продуктов) и проверки работоспособности системы оттаивания;
- влияния на работу образца конденсации водяных паров;
- потребления электрической энергии;
- холодопроизводительности.
Испытания по определению перечисленных характеристик проводят одновременно.
Общим для всех испытаний, указанных в 5.3.3-5.3.6, является то, что все эти испытания проводят внутри помещения испытательной лаборатории. Кроме того, общими для них являются требования к помещению для проведения испытаний, требования к контрольным пакетам (имитаторам продуктов) и требования к измерительным приборам и инструментам.
5.3.1.1 Помещение для проведения испытаний - общая характеристика, стены, полы, потолки, лучистый тепловой поток
Помещение для проведения испытаний должно представлять собой пространство в виде параллелепипеда, в котором две противоположные боковые стенки предназначены для создания равномерного горизонтального воздушного потока в этом помещении. Одну из таких стенок называют боковой рабочей стенкой подачи воздушного потока, а другую - боковой рабочей стенкой отражения воздушного потока. Расстояние, разделяющее эти две боковые стенки, называют "длиной" помещения для проведения испытаний. Минимальные полезные размеры (длина, ширина, высота) помещения для проведения испытаний устанавливают в зависимости от габаритных размеров (длина, глубина, высота) и от расположения открытых витрин образцов оборудования (см. 5.3.2.1).
Потолок и две других стены помещения для проведения испытаний, не являющиеся рабочими, должны быть теплоизолированы и изнутри покрыты металлическими листами.
При строительстве нового помещения для проведения испытаний в качестве теплоизоляционного материала следует использовать твердый пенополиуретан (теплопроводность λ не более 0,03 Вт/м·К) с толщиной не менее 60 мм.
|
Наименование характеристики или требования |
Пункт |
- | |
|
Технических требований |
Методов испытаний | ||
|
Проверка уплотнения дверей, створок и крышек |
4.1 |
5.2.1 |
Вне помещения испытательной лаборатории (см. 5.2) |
|
Геометрические размеры противовирусного экрана |
4.1.1.6 |
5.2.2 | |
|
Отсутствие запаха и вкуса (не обязательно) |
- |
Приложение В | |
|
Температура |
4.2.2 |
5.3.3 |
Внутри помещения испытательной лаборатории (см. 5.3) |
|
Оттаивание |
4.2.3 |
5.3.3 | |
|
Конденсация водяных паров |
4.2.4 |
5.3.4 | |
|
Потребление энергии |
4.2.5 |
5.3.5 и 5.3.6 | |
Примечания
1 Некоторые образцы оборудования оснащают устройствами (клапанами) выравнивания давления в охлаждаемом объеме (внутреннем объеме образца) с атмосферным давлением. В этом случае при снижении давления во внутреннем объеме образца наружный воздух быстро и легко проникает во внутренний объем образца, и давление во внутреннем объеме образца вновь становится равным атмосферному давлению. Работоспособность указанных устройств не может быть проверена описанным методом.
2 Для определения наиболее неблагоприятных мест проема, в которых следует проверять эффективность уплотнения дверей, створок и крышек, необходимо включить освещение внутреннего объема образца оборудования, закрыть дверь, створку или крышку и осмотреть периметр проема на предмет выявления мест, в которых может быть замечен выходящий из внутреннего объема свет.
Пол должен быть выполнен из бетона или иного материала с эквивалентными теплофизическими свойствами и/или оснащен теплоизоляцией с таким расчетом, чтобы внешние климатические условия не оказывали влияния на его температуру.
В помещении для проведения испытаний должно быть установлено люминесцентное освещение, обеспечивающее освещенность помещения на уровне (600 ± 100) лк (освещенность измеряют на высоте 1 м над полом). Освещение должно быть включено непрерывно в течение всего периода проведения испытаний. Работа осветительных приборов не должна приводить к повышению температуры воздуха в помещении для проведения испытаний более чем на 2 К за весь период проведения испытаний. Стены, потолки и любые внутренние поверхности помещения, предназначенного для испытания ТХО, должны быть окрашены в светло-серый цвет (например, NCS 2706-G90Y или RAL 7032) с коэффициентом излучения (степенью черноты) между 0,9 и 1 при температуре 25 °С.
5.3.1.2 Помещение для проведения испытаний (без испытываемого оборудования) - температурные характеристики и параметры воздушной среды
Экспериментальное подтверждение температурных характеристик и параметров воздушной среды помещения для проведения испытаний проводят не реже одного раза в год:
- без испытываемого оборудования при включенном освещении;
- в климатических условиях, соответствующих 3-му классу (см. таблицу 3);
- с измерением скорости, температуры и относительной влажности воздуха в различных точках двух вертикальных плоскостей, параллельных боковым рабочим стенкам, на расстоянии 600 мм от каждой из рабочих стенок и
- с измерением скорости, температуры и относительной влажности воздуха в точке, расположенной в геометрическом центре помещения для проведения испытаний.
Эти точки измерения образуют двумерную сетку, шаг которой не более 500 мм в горизонтальном и вертикальном направлениях. Периферические линии, соединяющие точки измерения, должны быть расположены на расстоянии не более 500 мм от двух других стен, пола и потолка.
В случае, когда в помещении имеются препятствия/неоднородности, занимающие в проекции на рабочие стенки площадь более одного квадратного метра, определение температурных характеристик и параметров воздушной среды проводят на трехмерной сетке, которую строят параллельным переносом плоскости двумерной сетки по высоте на расстояние не менее 1 м.
Среднюю горизонтальную скорость воздуха измеряют в течение 1 мин. с интервалом не более 5 с. Значение горизонтальной скорости воздуха должно составлять от 0,1 до 0,2 м/с. Отклонение температуры воздуха, измеряемой в каждой из точек, перечисленных выше, от значения, предусмотренного соответствующим климатическим классом, должно составлять не более ± 2 К.
Влажность воздуха в помещении для проведения испытаний должна соответствовать значениям, предусмотренным соответствующим климатическим классом. Допустимое отклонение относительной влажности, измеряемой в каждой из точек, перечисленных выше, должно составлять не более ± 3 %.
Температуру поверхности стен, потолка и пола измеряют в непосредственной близости от точек, которые образованы пересечениями периферических линий сетки, определенных выше. Отклонение температуры поверхности стен, потолка и пола от температуры воздуха, измеренной в ближайшей точке сетки, должно составлять не более ± 2 К.
5.3.1.3 Помещение для проведения испытаний - условия испытаний
5.3.1.3.1 Климатические классы ТХО
Испытания проводят при значениях параметров окружающей среды, соответствующих одному из климатических классов в соответствии с таблицей 3.
|
Климатический класс |
Температура воздуха по сухому термометру, °С |
Относительная влажность воздуха, % |
Температура точки росы, °С |
Массовое содержание водяного пара в сухом воздухе (влагосодержание), г/кг |
|
0 |
20 |
50 |
9,3 |
7,3 |
|
1 |
16 |
80 |
12,6 |
9,1 |
|
8 |
23,9 |
55 |
14,3 |
10,2 |
|
2 |
22 |
65 |
15,2 |
10,8 |
|
3 |
25 |
60 |
16,7 |
12,0 |
|
4 |
30 |
55 |
20,0 |
14,8 |
|
6 |
27 |
70 |
21,1 |
15,8 |
|
5 |
40 |
40 |
23,9 |
18,8 |
|
7 |
35 |
75 |
30,0 |
27,3 |
|
Примечание - Массовое содержание водяного пара в атмосфере сухого воздуха является одним из основных параметров, влияющих на производительность и энергопотребление ТХО. Таким образом, климатические классы ТХО в данной таблице ранжированы по возрастанию массы водяного пара в сухом воздухе. См. также приложение Б по сравнению условий работы оборудования при штатной эксплуатации и в процессе лабораторных испытаний. | ||||
Во время испытаний в помещении для проведения испытаний поддерживают значения температуры и влажности, определяемые соответствующим климатическим классом (см. 5.3.1.3.2). Допустимые отклонения значений температуры и влажности от значений, заданных соответствующим климатическим классом, должны составлять не более ± 1 К по температуре и ± 5 % по относительной влажности. Исключением является 3 климатический класс, для которого допустимое отклонение относительной влажности должно составлять не более ± 3 %.
5.3.1.3.2 Расположение точек измерения параметров окружающей среды при испытаниях ТХО
Точки для измерения температуры окружающего воздуха и относительной влажности размещают на половине длины образца оборудования в соответствии со схемами, представленными на рисунках 2-5.
При испытаниях открытых прилавков и витрин островного типа с подачей воздуха от середины точки для измерения температуры и относительной влажности окружающего воздуха размещают с двух сторон оборудования [см. рисунок 3, а), б), в) и г)].
При испытаниях оборудования со встроенным компрессорно-конденсаторным агрегатом следует предусматривать предотвращение влияния теплого воздушного потока, выходящего из конденсатора, на показания средств измерения температуры в точках измерения путем использования воздушных дефлекторов или иных соответствующих устройств (см. 5.3.2.1, рисунок 10).

Рисунок 2 - Точки размещения датчиков измерения температуры и относительной влажности окружающего воздуха в помещении для проведения испытаний для двух типичных образцов горизонтальных открытых витрин и одного прилавка
|
|
|
а) Горизонтальная открытая витрина островного типа |
б) Горизонтальная открытая витрина островного типа |
| |
|
в) Горизонтальная открытая двусторонняя витрина островного типа с подачей воздуха от середины | |
Рисунок 3, лист 1 - Точки размещения датчиков измерения температуры и относительной влажности окружающего воздуха в помещении для проведения испытаний для двух типичных образцов горизонтальных открытых прилавков-витрин островного типа [а) и б)], двусторонней витрины островного типа с подачей воздуха от середины [в)], открытого шкафа-горки [г)]

г) Открытый шкаф-горка
Рисунок 3, лист 2

Рисунок 4 - Точки размещения датчиков измерения температуры и относительной влажности окружающего воздуха в помещении для проведения испытаний типичного образца вертикального открытого многоярусного шкафа

Рисунок 5 - Точки размещения датчиков измерения температуры и относительной влажности окружающего воздуха в помещении для проведения испытаний типичного образца вертикального многоярусного холодильного шкафа со стеклянной дверью
5.3.1.4 Требования к контрольным пакетам (имитаторам продуктов) в течение срока их службы
При испытаниях ТХО внутренний объем образца оборудования заполняют контрольными пакетами (имитаторами продуктов) в форме параллелепипедов. Размеры и масса контрольных пакетов должны соответствовать значениям, указанным в таблице 4.
Для новых контрольных пакетов допустимые отклонения от значений, указанных в таблице 4, составляют:
1) ± 2 мм для линейных размеров от 25 до 50 мм;
2) ± 4 мм для линейных размеров от 100 до 200 мм;
3) ± 2 % по массе.
|
Размеры, мм |
Масса, граммы |
|
50 х 100 х 100 |
500 |
|
50 х 100 х 200 |
1000 |
|
Для более полной загрузки оборудования дополнительно допускается использовать контрольные пакеты со следующими параметрами: | |
|
25 х 100 х 200 |
500 |
В результате частого использования и механических нагрузок масса и размеры контрольного пакета могут изменяться. Необходимо не реже одного раза в год в течение всего срока службы пакета проверять его параметры на соответствие допустимым пределам их изменения, приведенным ниже.
а) Потеря массы: не более 5 %.
б) Состояние оболочки: отсутствие отверстий, обнаруживаемых невооруженным глазом человеком с нормальным зрением.
в) Изменение линейных размеров:
1) ± 4 мм для размеров 25 и 50 мм;
2) ± 8 мм для размеров 100 и 200 мм.
При обнаружении того, что хотя бы по одному параметру значение этого параметра выходит за допустимые пределы, пакет подлежит замене.
Каждый контрольный пакет состоит из наполнителя и оболочки.
Наполнитель контрольных пакетов должен иметь следующий состав в граммах (в расчете на 1000 г):
- оксиэтилметилцеллюлоза: 230,0 ± 0,1,
- вода: 764,2 ± 0,1,
- хлористый натрий: 5,0 ± 0,1,
- парахлорметакрезол: 0,8 ± 0,1.
Температура замерзания этого состава равна минус 1 °С (ее теплофизические свойства аналогичны теплофизическим свойствам постной говядины).
При температуре минус (1 ± 0,5) °С значение удельной энтальпии наполнителя контрольных пакетов должно составлять 285 кДж/кг при условии, что удельная энтальпия наполнителя равна 0 кДж/кг при температуре минус 40 °С. Данные об изменении значения удельной энтальпии наполнителя контрольных пакетов при изменении температуры приведены на рисунке 6, а также в таблицах 5 и 6.
|
Температура, °С |
Удельная энтальпия, кДж/кг |
|
- 40 |
0 |
|
- 30 |
19 |
|
- 25 |
28 |
|
- 20 |
39 |
|
- 18 |
43 |
|
- 16 |
49 |
|
- 14 |
55 |
|
- 12 |
63 |
|
- 10 |
73 |
|
- 9 |
79 |
|
- 8 |
85 |
|
- 7 |
93 |
|
- 6 |
102 |
|
- 5 |
114 |
|
- 4 |
129 |
|
- 3 |
152 |
|
- 2 |
194 |
|
- 1 |
285 |
|
0 |
297 |
|
+ 10 |
334 |
|
+ 20 |
371 |
|
Изменение температуры, °С |
Прирост удельной энтальпии, кДж/кг |
|
От - 30 до - 20 |
20 ± 2 |
|
От 10 до 20 |
37 ± 4 |
|
От - 30 до + 20 |
352 ± 7 |

X - температура, °С; Y - удельная энтальпия, кДж/кг
Рисунок 6 - Изменение значения удельной энтальпии наполнителя контрольных пакетов при изменении температуры
В процессе подготовки материала наполнителя для компенсации его испарения к нему добавляют около 4 % воды.
В качестве оболочки контрольного пакета используют любой синтетический материал, например листовой полиэтилен, препятствующий обмену влагой между материалом наполнителя и окружающей средой. Коэффициент излучения (степень черноты) поверхности оболочки должен быть равен 0,9 ± 0,05 при 25 °С.
Оболочка должна быть многослойной, при этом для внутреннего слоя (изолирующего) используют полиэтилен высокого давления толщиной 120 мкм, а для наружного слоя используют политерефталат толщиной 12,5 мкм. Листы соединяют друг с другом и после заполнения оболочки наполнителем запаивают ее.
Соответствие параметров контрольного пакета указанным выше требованиям должно быть подтверждено поставщиком контрольных пакетов или заключением соответствующей независимой аккредитованной лаборатории.
5.3.1.5 Требования к термометрическим контрольным пакетам в течение срока их службы
Некоторые из контрольных пакетов массой 500 г (размеры 50 х 100 х 100 мм), описанные в 5.3.1.4, оснащают средствами измерения температуры таким образом, чтобы эти средства измерения температуры находились в непосредственном контакте с наполнителем в геометрическом центре пакета. При этом предпринимают все необходимые меры предосторожности для предотвращения любой возможности попадания воздуха через отверстия в оболочке контрольного пакета, предназначенные для введения внутрь пакета средства измерения температуры, во избежание окисления и потери массы материала наполнителя, а также сведения к минимуму теплопроводности средства измерения температуры. Контрольные пакеты, оснащенные средствами измерения температуры, называют термометрическими контрольными пакетами (см. рисунок 7).

Рисунок 7 - Термометрический контрольный пакет
В результате частого использования и механических нагрузок масса и размеры термометрического контрольного пакета могут изменяться. Необходимо не реже одного раза в год в течение всего срока службы пакета проверять его параметры на соответствие допустимым пределам их изменения, приведенным в 5.3.1.4. При обнаружении того, что хотя бы по одному параметру значение этого параметра выходит за допустимые пределы, термометрический контрольный пакет подлежит замене.
5.3.1.6 Альтернативные варианты наполнения контрольных пакетов
В качестве альтернативы для наполнения контрольных пакетов, имеющих размеры согласно таблице 4, допускают использование иных составов с плотностью (480 ± 80) кг/м3. Такие пакеты также могут быть использованы для загрузки оборудования, за исключением рядов и столбцов, содержащих термометрические контрольные пакеты.
В качестве оболочки контрольных пакетов с альтернативным наполнителем используют коробки из пластика любой плотности с номинальной толщиной не более 1 мм. В качестве оболочки не допускается применять пористые или вспененные материалы. Коробки не должны иметь выступов и неровностей, которые могут привести к появлению зазоров при укладке пакетов в вертикальные столбцы. Противоположные грани коробок должны быть практически параллельными, а затраты на их изготовление минимально возможными. Швы и стыки на коробках не должны приводить к появлению зазоров при укладке пакетов в горизонтальные ряды.
Цвет коробок должен быть не слишком темным, чтобы не слишком заметно поглощать тепловое излучение. Принято считать, что цвета типа пастельного, светло-розового, бледно-голубого или бледно-зеленого удовлетворяют такому требованию.
Альтернативные пористые материалы для наполнения контрольных пакетов, такие как натуральная, синтетическая или целлюлозная губка, пропитывают водой.
|
Температура, °С |
Удельная энтальпия, кДж/кг |
|
- 5 |
0 |
|
- 4 |
3 |
|
- 3 |
4 |
|
- 2 |
7 |
|
- 1 |
10 |
|
0 |
45 |
|
+ 1 |
172 |
|
+ 2 |
183 |
|
+ 3 |
194 |
|
+ 4 |
206 |
|
+ 5 |
218 |
|
Изменение температуры, °С |
Прирост удельной энтальпии, кДж/кг |
|
От - 5 до - 1 |
10 |
|
От - 1 до + 1 |
162 |
|
От 1 до 5 |
46 |
|
От - 5 до + 5 |
218 |

X - температура, °С; Y - удельная энтальпия, кДж/кг начало отсчета значений энтальпии: минус 5 °С
Рисунок 8 - Изменение значения удельной энтальпии альтернативного наполнителя контрольных пакетов при изменении температуры
5.3.1.7 Требования к измерениям, измерительным приборам и средствам измерений. Точность измерений
Все измерения проводят с использованием измерительных приборов и средств измерений, имеющих действующие свидетельства о поверке и применяемых в соответствии с требованиями технической документации.
Средства измерения температуры должны обеспечивать погрешность измерений не более ± 0,5 К. Для измерения температуры воздуха датчики температуры помещают в центр цилиндра из меди или медно-цинкового сплава массой не более 25 г с наружными размерами (диаметр и высота) не более 12,5 мм каждый и запаивают в этом цилиндре.
При испытаниях оборудования, предназначенного для использования в системах с охлаждением хладоносителем, температуру хладоносителя измеряют с погрешностью не более ± 0,1 К (см. 5.3.6.2.2).
Плотность светового потока на единицу площади поверхности (освещенность) в помещении для проведения испытаний измеряют с погрешностью не более ± 10 %.
Давление измеряют с погрешностью не более ± 10 %.
Относительную влажность измеряют с погрешностью не более ± 3 %.
Потребление электроэнергии измеряют с погрешностью не более ± 2 % (см. 5.3.5).
Временные интервалы измеряют с погрешностью не более ± 1 %. Значения всех температур измеряют не реже чем через каждые 60 с. Временной интервал для измерения массового расхода хладагента, температуры на входе и выходе в теплообменные аппараты, давления на входе и на всасывании должен составлять не более 20 с (см. 5.3.6.2).
Скорость воздуха измеряют прибором лабораторного типа с погрешностью не более ± 10 % и порогом чувствительности не более 0,03 м/с для диапазона измерений от 0 до 1,5 м/с в горизонтальном воздушном потоке при температуре окружающего воздуха, соответствующей выбранному климатическому классу.
Массовый расход измеряют с погрешностью не более ± 1 % (см. 5.3.6).
5.3.2.1 Выбор для испытаний образца ТХО, его установка и размещение в помещении для проведения испытаний
Образец ТХО для проведения испытаний выбирают из числа однотипных образцов оборудования, находящихся на складе или изготовленных на производстве таким образом, чтобы по конструкции и технологии ввода в эксплуатацию он полностью соответствовал данному типу оборудования.
Образец ТХО, включая все компоненты, необходимые для его нормальной работы, должен быть собран, смонтирован, установлен в помещении для проведения испытаний и подготовлен к эксплуатации в соответствии с инструкциями производителя. Все необходимые для его нормальной эксплуатации аксессуары, которым следует в течение всего срока эксплуатации находиться в составе оборудования, должны быть на своих местах.
Внутри помещения для проведения испытаний образец ТХО должен быть расположен следующим образом (см. рисунок 9):
- для вертикальных шкафов со стеклянной дверью длиной менее 1,6 м и горизонтальных закрытых витрин расстояния Х ≥ 1,5 м и В ≥ 0,5 м;
- для остального оборудования Х = 2,0 м и В ≥ 1,0 м;
- для открытых вертикальных шкафов и комбинированных шкафов с открытым верхом, относимых согласно приложению А [5] к семействам ТХО VC1, VC2, VC3, VF1, VF2, YC1, YC2, YF1, YF2, YM5, YM6, расстояние Y ≥ 1,5 м;
- для горизонтальных витрин, вертикальных шкафов со стеклянной дверью длиной, равной или более 1,6 м? и комбинированных витрин и прилавков с верхней стеклянной крышкой, относимых согласно приложению А [5] к семействам ТХО НС1, НС2, НС3, НС4, НС5, НС6, HF1, HF3, HF4, HF5, HF6, VC4, VF4, YC3, YC4, YF3, YF4, YM7, YM8, расстояние Y ≥ 0,8 м;
- расстояние А ≥ 0,8 м;
- при расстоянии A ≥ 1,5 м расстояние Y = А;
- высота помещения С для вертикальных шкафов должна превышать высоту шкафа не менее чем на 0,5 м.
При испытаниях по проверке работоспособности образца ТХО согласно 5.3.2 или по определению влияния на работу образца конденсации водяных паров согласно 5.3.4 ТХО пристенного исполнения, а также оборудование с встроенным компрессорно-конденсаторным агрегатом оснащают вертикальной панелью. Панель устанавливают со стороны задней стенки корпуса образца на расстоянии dp, соответствующем предписанному изготовителем образца [см. 7.3 а) и рисунок 9], а при отсутствии указаний от изготовителя - непосредственно на задней стенке корпуса образца.

dp - расстояние от задней стенки образца до панели, предписанное изготовителем; 1 - боковая рабочая стенка подачи воздушного потока в помещении для проведения испытаний; 2 - боковая рабочая стенка отражения воздушного потока в помещении для проведения испытаний; 3 - вертикальная панель, устанавливаемая на задней стенке образца ТХО (должна иметь те же высоту и ширину, что и испытуемый образец); а - горизонтальный воздушный поток (параллельно плоскости открытой части образца в продольном направлении)
Рисунок 9 - Размещение образца ТХО в помещении для проведения испытаний
При испытаниях вертикальных шкафов и шкафов-горок, когда поток теплого воздуха, проходящего через конденсатор, пересекает направление воздушного потока в помещении для проведения испытаний от одной боковой стенки корпуса шкафа к другой боковой стенке, воздушный дефлектор располагают, как показано на рисунке 10. Таким образом, создают канал между задней стенкой корпуса и вертикальной панелью. Этот канал закрывают со стороны боковой рабочей стенки подачи воздушного потока в помещении для проведения испытаний и открывают с противоположной стороны. Сверху канал также закрывают на высоте, равной высоте шкафа.
Расстояние dp между задней стенкой корпуса и вертикальной панелью определяет производитель образца оборудования [см. 7.3 б)]. Для горизонтальных закрытых витрин организация воздушного канала с тыльной части образца не требуется.
Примечание - Как правило, вместимость горизонтальных закрытых витрин намного меньше, чем вертикальных шкафов.
Теплый воздух, выходящий из конденсатора, как правило, удаляют воздушным потоком, создаваемым в помещении для проведения испытаний.
Направление движения воздушного потока в помещении для проведения испытаний должно быть параллельно продольной оси испытываемого образца согласно 5.3.2.2. Направление движения теплого воздушного потока, выходящего из конденсатора, как правило, должно совпадать с направлением движения воздушного потока в помещении для проведения испытаний. Не допускают встречного движения воздушного потока, выходящего из конденсатора, по отношению к движению воздушного потока в помещении для проведения испытаний.
Если конструкция испытуемого образца не позволяет организовать движение воздушного потока, выходящего из конденсатора, в том же направлении, в котором организовано движение воздушного потока в помещении для проведения испытаний, допускают организацию перекрестного движения воздушных потоков (см. рисунок 11).

dp - расстояние от задней стенки образца до панели, предписанное изготовителем; Н - высота воздушного канала (равна высоте шкафа); L - длина воздушного канала (равна длине шкафа); а - направление воздушного потока в помещении для проведения испытаний (параллельно плоскости открытой части образца в продольном направлении)
Рисунок 10 - Размеры и расположение воздушного канала между задней стенкой корпуса и вертикальной панелью

1 - термометрический контрольный пакет; а - направление воздушного потока в помещении для проведения испытаний (параллельно плоскости открытой части образца в продольном направлении); b - направление движения теплого воздушного потока, выходящего из конденсатора
Рисунок 11, лист 1 - Организация перекрестного движения воздушных потоков в помещении для проведения испытаний

Рисунок 11, лист 2
5.3.2.2 Организация воздушного потока в помещении для проведения испытаний
В помещении для проведения испытаний должно быть организовано направленное движение воздушного потока. Воздушный поток должен быть параллельным, насколько это возможно, плоскости открытой части образца в продольном направлении. Продольное направление определяют как наибольшую горизонтальную длину корпуса образца. При неработающем образце скорость движения воздуха в трех точках вдоль линии А-А (см. рисунок 12) должна составлять 0,2-0,1 м/с. Для образцов закрытого оборудования направление воздушного потока должно быть таким, чтобы воздух проникал внутрь образца, когда его дверь (двери, створки) открыты.
Для закрытых витрин с крышками или распашными створками, такими, что ось вращения крышек или створок перпендикулярна к продольной оси корпуса, направление движения воздушного потока должно быть параллельно плоскости витрин при открытых крышках (створках) с возможностью поступления воздуха во внутреннее пространство витрин.
При проведении испытаний двери и крышки открывают, обеспечивая доступ воздуха во внутреннее пространство витрин. Откидные двери и крышки с возможностью их открытия вправо или влево открывают в том же направлении, в котором их будут открывать в процессе эксплуатации.
Перед началом испытаний следует проверить работу оборудования для организации направленного движения воздушного потока и параметры воздушного потока в помещении для проведения испытаний с тем, чтобы подтвердить готовность помещения к испытаниям. Содержание и методы проверки определяет руководитель испытаний.
5.3.2.3 Загрузка оборудования контрольными пакетами (имитаторами продуктов)
5.3.2.3.1 Общие требования
Перед началом испытаний образец оборудования полностью загружают контрольными пакетами (имитаторами продуктов), в том числе термометрическими контрольными пакетами (см. 5.3.1.4 и 5.3.1.5) согласно схемам, приведенным на рисунках 13-26. Температура контрольных пакетов при загрузке должна быть равна температуре, значение которой ожидают получить в процессе испытаний.
Оборудование, которое в процессе эксплуатации в ночное время будут выключать, загружают контрольными пакетами в период его работы (см. также 5.3.2.4) при температуре пакетов, равной нижнему значению температуры термометрического контрольного пакета соответствующего температурного класса (см. таблицу 1) с допустимым превышением (0-2) К.
Для загрузки используют пакеты массой 500 и 1000 г.
Для наиболее полной загрузки допускается дополнительно использовать пакеты следующих размеров:
- 25 х 100 х 200 мм.
Контрольные пакеты размещают вровень друг с другом.
Каждую полку образца оборудования загружают таким образом, чтобы контрольные пакеты образовывали продольные ряды шириной 200 мм по глубине полки параллельно направлению воздушного потока, обдувающего образец.
Между рядами пакетов и пакетами, прилегающими к внутренним стенкам образца, оставляют зазор шириной (25 ± 5) мм.
Допускается между рядами пакетов устанавливать разделители толщиной (25 ± 5) мм при условии, что установка разделителей не окажет заметного влияния на циркуляцию воздуха, а материал разделителей имеет теплопроводность, близкую к теплопроводности теплоизоляции.
Свободное пространство по длине, если оно есть, ликвидируют путем заполнения контрольными пакетами для формирования с той или иной стороны одного или двух регулировочных рядов шириной от 100 до 300 мм.

А-А - линия измерения скорости воздушного потока; Х-Х - опорная линия, соединяющая конец верхней части и конец нижней части корпуса образца; 1 - возможное расположение встроенного компрессорно-конденсаторного агрегата; а - движение воздушного потока параллельно к плоскости открытой части образца (в продольном направлении)
Рисунок 12 - Схема организации движения воздуха в помещении для проведения испытаний
Все оставшиеся пустоты шириной менее 25 мм заполняют деревянными вертикальными перегородками, которые располагают примерно посередине расстояния, разделяющего два соседних термометрических контрольных пакета.
Для загрузки передвижных холодильных шкафов или многоярусных шкафов с высотой свободного объема более 500 мм допускается использовать деревянные бруски (см. рисунок 25). Толщину каждого слоя деревянных брусков определяет руководитель испытаний.
Пример: В качестве загрузочных деревянных брусков используют куски лакированной снаружи клееной буковой фанеры с хорошей водостойкостью, размеры которых по ширине и толщине составляют 200 х 50 мм соответственно, а высоту подбирают по высоте загрузки.
В качестве опоры для термометрических контрольных пакетов допускается использовать металлическую сетку, которую укладывают на нижние по отношению к термометрическим контрольным пакетам ряды.
Если иное не указано в руководстве или инструкции производителя, контрольные пакеты и деревянные бруски размещают на стандартных европоддонах (1200 х 800 х 144) мм или на аналогичных поддонах на той же высоте. Поверхность поддона покрывают листом пластика или картона.
Если в комплектацию оборудования входят специальные тележки для хранения на них продуктов, испытания проводят вместе с тележками. В этом случае термометрические контрольные пакеты располагают, как указано на рисунке 25, но внутри тележек.
Примечание - Полки оборудования, предназначенного для хранения (демонстрации, продажи) легко деформируемых пищевых продуктов, загружают только сверху.
5.3.2.3.2 Высота загрузки
Высота загрузки образца ТХО контрольными пакетами должна соответствовать следующим требованиям:
а) В горизонтальных образцах высота загрузки должна быть равна высоте полезного объема образца с допустимым отклонением в пределах от 0 до минус 15 мм (см. рисунки 13, 15-20).
б) В открытых вертикальных шкафах, оснащенных по меньшей мере двумя или более полками, расположенными одна над другой, высота загрузки должна быть на 25 мм меньше высоты полезного объема между двумя смежными полками с допустимым отклонением в пределах от 0 до 25 мм (см. рисунки 21-23, 25).
в) Во всех открытых образцах, предназначенных для хранения (демонстрации, продажи) легкодеформируемых пищевых продуктов, не допускающих многослойной укладки, высота загрузки должна быть равна 100 мм (например, см. рисунки 14, 24).
Примечание - Фраза "предназначенных для хранения (демонстрации, продажи) легкодеформируемых пищевых продуктов, не допускающих многослойной укладки" означает, что пищевые продукты размещают, как правило, на наклонных полках с высотой укладки не более 100 мм. Такую укладку могут также использовать для горизонтальных полок. Предполагается, что в этом случае в технической документации производителя указана предельная высота загрузки, а также тип загрузки при проведении испытаний оборудования.
г) В закрытых вертикальных шкафах высота загрузки должна быть равна половине высоты полезного объема между двумя смежными полками с допустимым отклонением в пределах от + 25 до 0 мм (см. рисунок 26).
5.3.2.3.3 Размещение термометрических контрольных пакетов
Термометрические контрольные пакеты размещают в соответствии со схемами, показанными на рисунках 15-26.
5.3.2.3.3.1 Размещение термометрических контрольных пакетов в продольном сечении образца
В образцах с длиной не более 700 мм термометрические контрольные пакеты размещают в двух поперечных сечениях, отстоящих на 75 мм от боковых стенок образца, таким образом, чтобы каждое из этих двух сечений проходило через геометрический центр пакета.
В образцах с длиной более 700 мм дополнительно к указанным выше сечениям термометрические контрольные пакеты размещают в третьем поперечном сечении, расположенном на половине длины образца с допустимым отклонением ± 75 мм, при этом данное сечение также должно проходить через геометрический центр пакета. Если пространство на половине длины образца занято какой-либо механической конструкцией, термометрические контрольные пакеты, которые должны быть размещены в третьем поперечном сечении, устанавливают на внутренней стенке образца со смещением на 325 мм в сторону боковой рабочей стенки подачи воздушного потока помещения для проведения испытаний.
5.3.2.3.3.2 Размещение термометрических контрольных пакетов в поперечном сечении образца
В образцах с глубиной полок (полезного объема) не более 550 мм термометрические контрольные пакеты размещают в двух продольных сечениях, проходящих через геометрический центр пакета и расположенных на расстоянии 50 мм от задней стенки образца и на расстоянии 50 мм от плоскости, ограничивающей загрузку образца спереди (см. рисунки 13-26).
В образцах с глубиной полок (полезного объема) более 550 мм дополнительно к указанным выше сечениям термометрические контрольные пакеты размещают в третьем продольном сечении, также проходящем через геометрический центр пакета и расположенном на половине глубины полок (полезного объема) образца с допустимым отклонениями:
-
мм от плоскости нагнетания воздуха в оборудовании с охлаждением принудительным обдувом [см. рисунки 13-15, 17 а) и 17 б), 21-25],
- d/2 ± 50 мм от двух испарителей (теплообменных аппаратов) при их симметричном расположении в оборудовании с охлаждением естественной конвекцией (см. рисунки 18-20),
-
мм от испарителей (теплообменных аппаратов) остального оборудования с охлаждением естественной конвекцией (см. рисунок 16).
По высоте загрузки полезного объема и каждой полки оборудования термометрические контрольные пакеты размещают в верхнем и нижнем горизонтальных слоях загрузки. Если расстояние между геометрическими центрами термометрических контрольных пакетов по высоте превышает 400 мм, термометрические контрольные пакеты размещают еще в одном горизонтальном слое загрузки (см. рисунки 22, 23, 25).
В образцах, оснащенных по меньшей мере четырьмя расположенными одна над другой полками, как минимум любые две из которых строго идентичны и имеют:
а) одинаковую форму и размеры (длина, глубина и высота загрузки),
б) одинаковую организацию обдува (подача воздуха и его отвод),
в) одинаковые условия лучистого теплообмена, в частности одно и то же место расположения нижнего и верхнего осветительных устройств и их одинаковую мощность излучения, термометрические контрольные пакеты размещают:
- на нижней из двух одинаковых полок (см. рисунок 22, где вторая и третья полки сверху идентичны);
- на центральной из трех одинаковых полок (см. рисунки 23, 26, где вторая, третья и четвертая полки сверху идентичны).

1 - термометрический контрольный пакет; l - длина витрины; d - глубина основания полезного объема; h - предельная высота загрузки; а - движение воздуха в помещении для проведения испытаний параллельно плоскости открытой поверхности витрин (в продольном направлении); b - направление принудительного обдува в полезном объеме витрины
Рисунок 13 - Размещение контрольных пакетов, в том числе термометрических, в горизонтальной открытой витрине самообслуживания с охлаждением принудительным обдувом

1 - термометрический контрольный пакет; l - длина витрины; d - глубина основания полезного объема; а - движение воздуха в помещении для проведения испытаний параллельно плоскости открытой поверхности витрин (в продольном направлении); b - направление принудительного обдува в полезном объеме витрины
Рисунок 14 - Размещение контрольных пакетов, в том числе термометрических, в горизонтальной открытой витрине самообслуживания с охлаждением принудительным обдувом, предназначенной для хранения (продажи) легкодеформируемых пищевых продуктов, не допускающих многослойной укладки

1 - термометрический контрольный пакет; l - длина витрины; d - глубина основания полезного объема; а - движение воздуха в помещении для проведения испытаний параллельно плоскости поверхности витрин (в продольном направлении); b - направление принудительного обдува в полезном объеме витрины
Рисунок 15 - Размещение контрольных пакетов, в том числе термометрических, в горизонтальной закрытой витрине с охлаждением принудительным обдувом

1 - термометрический контрольный пакет; l - длина витрины; d - глубина основания полезного объема; а - движение воздуха в помещении для проведения испытаний параллельно плоскости поверхности витрин (в продольном направлении); b - направление циркуляции воздуха в полезном объеме витрины
Рисунок 16 - Размещение контрольных пакетов, в том числе термометрических, в горизонтальной закрытой витрине с охлаждением естественной конвекцией

а) открытая витрина островного типа с охлаждением принудительным обдувом
1 - термометрический контрольный пакет; h - предельная высота загрузки; d - глубина основания полезного объема; l - длина витрины; а - движение воздуха в помещении для проведения испытаний параллельно плоскости поверхности витрин (в продольном направлении); b - направление принудительного обдува в полезном объеме витрины
Рисунок 17, лист 1 - Размещение контрольных пакетов, в том числе термометрических, в горизонтальных открытых витринах островного типа с охлаждением принудительным обдувом

b) горизонтальная открытая двусторонняя витрина островного типа с охлаждением принудительным обдувом и подачей воздуха от середины
1 - термометрический контрольный пакет; h - предельная высота загрузки; d - глубина основания полезного объема; l - длина витрины; а - движение воздуха в помещении для проведения испытаний параллельно плоскости поверхности витрин (в продольном направлении); b - направление принудительного обдува в полезном объеме витрины
Рисунок 17, лист 2

1 - термометрический контрольный пакет; l - длина витрины; d - глубина основания полезного объема; h - предельная высота загрузки; а - движение воздуха в помещении для проведения испытаний параллельно плоскости поверхности витрин (в продольном направлении)
Рисунок 18 - Размещение контрольных пакетов, в том числе термометрических, в горизонтальной открытой витрине островного типа с охлаждением естественной конвекцией

1 - термометрический контрольный пакет; l - длина витрины; d - глубина основания полезного объема; h - предельная высота загрузки
Рисунок 19 - Размещение контрольных пакетов, в том числе термометрических, в горизонтальном закрытом ларе островного типа со стеклянной крышкой и плоским днищем полезного объема при наличии или отсутствии теплообменных труб

l - длина витрины; d - глубина основания полезного объема; h - предельная высота загрузки; 1 - термометрический контрольный пакет
Рисунок 20 - Размещение контрольных пакетов, в том числе термометрических, в горизонтальном закрытом ларе островного типа со стеклянной крышкой и ступенчатым днищем полезного объема при наличии или отсутствии теплообменных труб

1 - термометрический контрольный пакет; l - длина горки; d - глубина основания полезного объема; h - предельная высота загрузки на каждой полке горки; а - движение воздуха в помещении для проведения испытаний параллельно плоскости поверхности горки (в продольном направлении); b - направление принудительного обдува в полезном объеме горки
Рисунок 21 - Размещение контрольных пакетов, в том числе термометрических, в вертикальной открытой горке с охлаждением принудительным обдувом

1 - термометрический контрольный пакет; l - длина шкафа; d - глубина основания полезного объема; h - предельная высота загрузки на каждой полке шкафа; а - движение воздуха в помещении для проведения испытаний параллельно плоскости поверхности шкафа (в продольном направлении); b - направление принудительного обдува в полезном объеме шкафа
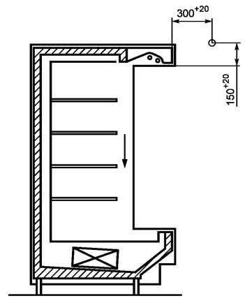
Рисунок 22 - Размещение контрольных пакетов, в том числе термометрических, в вертикальном открытом многоярусном шкафу с охлаждением принудительным обдувом

l - длина шкафа; 1 - термометрический контрольный пакет; d - глубина основания полезного объема; h - предельная высота загрузки на каждой полке шкафа; а - движение воздуха в помещении для проведения испытаний параллельно плоскости поверхности шкафа (в продольном направлении); b - направление принудительного обдува в полезном объеме шкафа
Рисунок 23 - Размещение контрольных пакетов, в том числе термометрических, в вертикальном открытом многоярусном шкафу с охлаждением принудительным обдувом

l - длина шкафа; d - глубина основания полезного объема; 1 - термометрический контрольный пакет; 2 - зеркало; а - движение воздуха в помещении для проведения испытаний параллельно плоскости поверхности шкафа (в продольном направлении); b - направление принудительного обдува в полезном объеме шкафа
Рисунок 24 - Размещение контрольных пакетов, в том числе термометрических, в вертикальном открытом многоярусном шкафу с охлаждением принудительным обдувом, предназначенном для хранения (продажи) легкодеформируемых пищевых продуктов, не допускающих многослойной укладки

1 - термометрический контрольный пакет; 2 - решетка; 3 - деревянный брусок; l - длина шкафа; d - глубина основания полезного объема; h - предельная высота загрузки на каждой полке шкафа; а - движение воздуха в помещении для проведения испытаний параллельно плоскости поверхности шкафа (в продольном направлении); b - направление принудительного обдува в полезном объеме шкафа
Рисунок 25 - Размещение контрольных пакетов, в том числе термометрических, в вертикальном открытом передвижном многоярусном шкафу с охлаждением принудительным обдувом

l - длина шкафа; 1 - термометрический контрольный пакет; d - глубина основания полезного объема; h - предельная высота загрузки на каждой полке шкафа; а - направление принудительного обдува в полезном объеме шкафа
Рисунок 26 - Размещение контрольных пакетов, в том числе термометрических, в вертикальном закрытом шкафу со стеклянной дверью и охлаждением принудительным обдувом
5.3.2.4 Требования к работе оборудования в процессе проведения испытаний
При испытаниях оборудования с выносным компрессорно-конденсаторным агрегатом условия эксплуатации должны соответствовать предписаниям, установленным производителем оборудования.
При наличии в составе оборудования регулируемых автоматических процессоров их настраивают таким образом, чтобы обеспечить достижение температур термометрических контрольных пакетов, предусмотренных соответствующим температурным классом. При отсутствии возможности регулирования автоматических процессоров оборудование испытывают при той настройке, которая была установлена производителем оборудования.
В процессе испытаний необходимо соблюдать режим оттаивания оборудования, рекомендованный производителем. До начала испытаний оборудование должно быть включено и проработать в режиме обкатки без загрузки не менее 2 ч при температуре и влажности окружающего воздуха, соответствующих заданному климатическому классу. В течение этого времени система охлаждения, приборы управления и контроля, а также система оттаивания должны работать устойчиво. Если за указанный период оборудование не выходит на установившийся режим работы, продолжительность режима обкатки увеличивают до момента выхода на установившийся режим работы.
По окончании режима обкатки оборудование заполняют контрольными пакетами, в том числе термометрическими, в соответствии с 5.3.2.3.
После загрузки оборудование должно работать до момента выхода на установившийся температурный режим согласно 5.3.2.5 и далее продолжать работу в течение времени, необходимого для проведения испытания согласно 5.3.2.6. В течение всех этих периодов непрерывно записывают температуру термометрических пакетов, а параметры окружающей среды в помещении для проведения испытаний поддерживают на уровне, соответствующем заданному климатическому классу согласно 5.3.1.
Для оборудования, которое при штатной эксплуатации выключают на ночь, допускается не требовать выхода на установившийся режим работы. Такое оборудование должно отработать в режиме обкатки без загрузки не менее 2 ч, а также не менее 2 ч после загрузки перед началом испытаний.
5.3.2.5 Установившийся температурный режим
Установившимся температурным режимом называют такой режим работы оборудования, при котором температура, измеряемая с помощью термометрических пакетов, циклически изменяется во времени, причем длительность каждого цикла зависит от времени между двумя последовательными периодами оттаивания.
Считают, что оборудование работает на установившемся температурном режиме, если значения температуры, измеряемой с помощью термометрических пакетов, для двух соседних циклов отличаются в соответствующих точках кривой "температура - время" не более чем на ± 0,5 К.
Для закрытых образцов выход на установившийся режим обеспечивают до того, как в процессе испытаний двери (створки) будут открывать в заданной последовательности согласно 5.3.3.2. Если образец оснащен внутренним освещением, оно должно работать непрерывно.
Для открытых образцов, оснащенных освещением и ночными крышками (чехлами), выход на установившийся режим обеспечивают при непрерывно работающем освещении и снятых ночных крышках (чехлах).
5.3.2.6 Продолжительность испытаний
Продолжительность испытаний составляет:
а) для оборудования, которое при штатной эксплуатации выключают на ночь, - не менее 12 ч;
б) для остального оборудования, в том числе закрытого, - не менее 24 ч при работе на установившемся температурном режиме.
5.3.2.7 Работа освещения и особенности испытания оборудования, оснащаемого ночными крышками
5.3.2.7.1 Освещение
Если оборудование имеет встроенное освещение, испытания такого оборудования проводят согласно 5.3.3, 5.3.4, 5.3.5 и 5.3.6 следующим образом:
а) первое испытание - включают освещение, и оборудование работает не менее 24 ч;
б) второе испытание - включают освещение, и оборудование работает не менее 12 ч, затем выключают освещение, после чего оборудование работает еще не менее 12 ч.
5.3.2.7.2 Ночные крышки (чехлы)
Если предусмотрено оснащение открытого оборудования ночными крышками (чехлами), испытания такого оборудования проводят согласно 5.3.3, 5.3.4, 5.3.5 и 5.3.6 следующим образом:
а) первое испытание - включают освещение, удаляют ночные крышки, и оборудование работает непрерывно не менее 24 ч;
б) второе испытание - включают освещение, удаляют ночные крышки, и оборудование работает не менее 12 ч, затем выключают освещение, устанавливают ночные крышки, после чего оборудование работает еще не менее 12 ч.
5.3.2.8 Особенности испытания оборудования, оснащаемого дополнительными устройствами
Если в состав оборудования входят какие-либо устройства, предназначенные для повышения его производительности и/или улучшения других характеристик, такое оборудование испытывают дополнительно по отдельной программе, что отражают в протоколе испытаний согласно разделу 6.
5.3.2.9 Параметры жидкого хладагента на входе в образец ТХО
Жидкий хладагент должен иметь на входе в образец ТХО температуру, не более чем на 10 К выше температуры воздуха в помещении для проведения испытаний, предусмотренной соответствующим климатическим классом согласно 5.3.1.3.1. Во время испытаний не допускается внезапное вскипание (преждевременное дросселирование) хладагента в жидкостной магистрали. Контроль выполнения указанных требований осуществляют в течение всего периода проведения испытаний.
5.3.2.10 Подвод электрической энергии
Отклонение напряжения питающего тока - не более ± 2 %, частоты - не более ± 1 % от номинальных значений, приведенных на паспортной табличке образца, если не указано иное.
5.3.2.11 Испытания нескольких образцов в одном и том же помещении для проведения испытаний одновременно
Если в одном и том же помещении для проведения испытаний одновременно проводят испытания более чем одного образца ТХО, то должны быть приняты соответствующие меры, такие, например, как использование перегородок, чтобы для каждого испытуемого образца обеспечить выполнение требований к параметрам окружающей среды в помещении для проведения испытаний, предусмотренных 5.3.1 и 5.3.2.
5.3.3.1 Условия испытаний
Образец ТХО при проведении температурных испытаний размещают в помещении для проведения испытаний и загружают контрольными пакетами, в том числе термометрическими, согласно 5.3.1 и 5.3.2, с соблюдением требований инструкции производителя образца. Испытания проводят при параметрах окружающей среды в помещении для проведения испытаний, соответствующих климатическому классу согласно 5.3.1.3.1, для которого предназначен данный образец. Продолжительность испытаний определяют согласно 5.3.2.6, при этом в течение всего периода испытаний осуществляют регистрацию измеряемых параметров. Освещение и ночные крышки, если таковые имеются, задействуют в соответствии с 5.3.2.7.
5.3.3.2 Образцы закрытого ТХО
Образцы закрытого ТХО испытывают полностью укомплектованными и загруженными независимо от количества дверей (створок, крышек). Во время испытаний каждую дверь (створку, крышку) оборудования, предназначенного для продажи (демонстрации, хранения) замороженных продуктов, открывают и закрывают шесть раз в час. Каждую дверь (створку, крышку) оборудования, предназначенного для продажи (демонстрации, хранения) охлажденных продуктов открывают и закрывают десять раз в час. Двери, предназначенные для обслуживания, чистки или загрузки образца, оставляют закрытыми. Если испытываемый образец оснащен двумя и более дверьми (крышками, створками), их открытие и закрытие после начала испытаний осуществляют поочередно в шахматном порядке: например, при наличии двух дверей в образце для замороженных продуктов обеспечивают следующую последовательность их открытия и закрытия:
- дверь N 1 закрыта, дверь N 2 открывают и закрывают через 5 мин.;
- дверь N 1 открывают и закрывают через 10 мин., дверь N 2 открывают и закрывают через 15 мин. и так далее.
В образце для охлажденных продуктов обеспечивают следующую последовательность открытия и закрытия двух дверей:
- дверь N 1 закрыта, дверь N 2 открывают и закрывают через 3 мин.;
- дверь N 1 открывают и закрывают через 6 мин., дверь N 2 открывают и закрывают через 9 мин. и так далее.
Навесные двери и крышки открывают на угол не менее 60°, раздвижные стеклянные двери, крышки и створки открывают таким образом, чтобы площадь открытой поверхности составляла не менее 80 % максимальной площади открытой поверхности.
В течение каждого часа испытаний двери (крышки, створки) оборудования, предназначенного для продажи (демонстрации, хранения) замороженных продуктов, должны быть открыты в общей сложности не менее чем на 6 с, а оборудования, предназначенного для продажи (демонстрации, хранения) охлажденных продуктов, - не менее чем на 15 с. В течение первого часа испытаний допускается открывать двери на время, меньшее указанного, то есть до 4 с в оборудовании, предназначенном для продажи (демонстрации, хранения) замороженных продуктов, и до 13 с в оборудовании, предназначенном для продажи (демонстрации, хранения) охлажденных продуктов. При этом на угол не менее 60° двери должны быть открыты на 4 с.
Перед началом 12-часового периода каждая дверь (крышка, створка) должна быть открыта в течение 3 мин. Если испытуемый образец оснащен двумя и более дверьми (крышками, створками), каждую из них открывают на 3 мин., а затем закрывают поочередно.
Во время всего периода испытаний продолжительностью 24 ч циклическое открытие и закрытие осуществляют в течение первых 12 ч.
Испытания закрытого ТХО по 5.3.2.7.1 b) не проводят.
5.3.3.3 Горизонтальная открытая двусторонняя витрина островного типа с подачей воздуха от середины
5.3.3.3.1 При испытаниях открытой двусторонней витрины островного типа с подачей воздуха от середины различают следующие конструктивные варианты ее исполнения:
а) один ларь, оборудование для подачи воздуха (вентиляторы, воздуховоды) и/или воздухоохладители (испарители) используют одновременно для обеих половин образца;
б) один ларь, оборудование для подачи воздуха (вентиляторы, воздуховоды) и/или воздухоохладители (испарители), полностью автономны; стороны образца равные и симметричные, а все электрические компоненты (вентиляторы, нагреватели для удаления конденсата, нагреватели оттаивания), испарители (воздухоохладители), термостатические расширительные вентили одни и те же в каждом охлаждаемом объеме, система контроля температуры, система управления оттаиванием установлены симметрично и в каждом конкретном охлаждаемом объеме работают автономно.
Процедура испытаний:
- для варианта конструкции а)
Трубопроводы подсоединяют таким образом, чтобы все внутренние теплообменные аппараты были объединены одним общим трубопроводом подачи хладагента (хладоносителя) в образец и одним общим трубопроводом отвода хладагента (хладоносителя) из образца. Даже если образец оснащен, например, двумя испарителями с раздельными жидкостными магистралями и магистралями всасывания, эти магистрали объединяют внутри корпуса образца или снаружи соответственно в один общий жидкостной трубопровод и один общий трубопровод всасывания. Температуру, давление и массовый расход хладагента (хладоносителя) измеряют на общих трубопроводах. В местах установки на трубопроводах средств измерения и измерительных приборов трубопроводы закрывают теплоизоляцией. Обе половины образца загружают термометрическими контрольными пакетами. Температуру контролируют для обеих сторон [см. рисунок 27 а)].
- для варианта конструкции б)
Допускается проводить испытания только одной половины образца, рассматривая ее как отдельный образец. Испытываемую половину загружают термометрическими контрольными пакетами и подключают к холодильной системе (см. рисунок 27 b).
5.3.3.3.2 Измерение и расчет количества электрической энергии, потребляемой образцом Wпотр, и количества электрической энергии, потребляемой образцом для охлаждения W1, (см. 5.3.6) при испытаниях открытой двусторонней витрины островного типа с подачей воздуха от середины выполняют следующим образом:
- для варианта конструкции б) измерение и расчет проводят по результатам испытания только одной половины образца, после чего полученный результат удваивают;
- для варианта конструкции а) действуют, рассматривая образец как самостоятельную единицу.
Общую площадь поверхности обзора образца (TDA) рассчитывают в соответствии с рисунком А.8 обязательного приложения А:
- для расчета TDA см. рисунок А.8.

а) Вариант конструктивного исполнения а)

б) Вариант конструктивного исполнения б)
1 - измерение температуры и давления (см. 5.3.6.2.1 и рисунок 31); 2 - измерение массового расхода хладагента/хладоносителя (см. 5.3.6.2.1 и рисунок 31); 3 - подача жидкого хладагента/хладоносителя (см. 5.3.6.2.1 и рисунок 31); 4 - выход паров хладагента или жидкого хладоносителя (см. 5.3.6.2.1 и рисунок 31); 5 - конденсатное устройство
Рисунок 27 - Горизонтальная открытая двусторонняя витрина островного типа с подачей воздуха от середины
5.3.3.4 Испытания на оттаивание
Испытания на оттаивание проводят после температурных испытаний. По окончании периода оттаивания для закрытого оборудования или не менее чем через 12 ч после начала оттаивания для открытого оборудования образец ТХО выключают и при необходимости полностью разгружают с максимально возможной скоростью. Все поверхности образца в охлаждаемом объеме, за исключением контрольных пакетов, а если необходимо, то и дополнительные устройства и различные аксессуары после их разборки и демонтажа, проверяют на наличие остатков воды, льда, снега или инея.
При наличии явно очевидных остатков воды, льда, снега или инея и/или при отклонении температуры термометрических контрольных пакетов от допустимых значений испытания на оттаивание проводят повторно при тех же условиях и без изменения настройки регулировочных устройств.
5.3.3.5 Поведение во времени температуры, измеряемой термометрическими контрольными пакетами
В процессе температурных испытаний по результатам измерения строят следующие зависимости изменения температур термометрических контрольных пакетов от времени:
а) температуры самого теплого термометрического контрольного пакета (то есть максимальное пиковое значение самой высокой температуры) - см. рисунок 28;
б) температуры самого холодного термометрического контрольного пакета (то есть минимальное значение самой низкой температуры) - см. рисунок 28;
в) текущего среднеарифметического значения температур, измеряемых с помощью всех термометрических контрольных пакетов, - см. рисунок 29.
Значения температур всех термометрических контрольных пакетов, зарегистрированные в процессе испытаний, если потребуется, должны быть доступны для ознакомления.
Если образец оборудования рассчитан на использование в нескольких температурных классах, зависимости а), б) и в) строят для каждого класса в отдельности.

θ - температура; θah - максимальное значение температуры самого теплого термометрического контрольного пакета; θal - минимальное значение температуры самого теплого термометрического контрольного пакета (только для оборудования, предназначенного для замороженных продуктов, см. 4.2.2, таблица 1); θb - минимальное значение температуры самого холодного термометрического контрольного пакета (только для оборудования, предназначенного для охлажденных продуктов, см. 4.2.2, таблица 1); t - текущее время; Т - продолжительность периода испытаний; а - температура самого теплого термометрического контрольного пакета; b - температура самого холодного термометрического контрольного пакета
Рисунок 28 - Температуры самого теплого и самого холодного термометрических контрольных пакетов (зависимости а и b)

θ - температура; θm - среднее значение температуры; t - текущее время; Т - продолжительность периода испытаний; а - текущая величина среднеарифметического значения температуры, измеряемой с помощью всех термометрических контрольных пакетов
Рисунок 29 - Среднеарифметическое значение температур, измеряемых с помощью всех термометрических контрольных пакетов (зависимость с)
5.3.3.6 Расчет средней температуры
Текущее среднеарифметическое значение температуры θcn, измеряемой с помощью всех термометрических контрольных пакетов, в момент времени n (зависимость а на рисунке 29) рассчитывают по следующему уравнению:
,
(1)
где n - индекс момента времени, в который осуществляют измерение температуры;
k - индекс данного термометрического контрольного пакета;
Kмаксс - число всех термометрических контрольных пакетов, загруженных в образец;
(θk)n - температура k-го термометрического контрольного пакета в момент времени n.
Среднеарифметическое значение температуры θmc по результатам полного Nмакс числа измерений температуры всех Kмаксс термометрических контрольных пакетов, загруженных в образец, рассчитывают по следующей формуле:
,
(2)
где Nмакс - полное число измерений температуры за весь период испытаний Т.
Указанная формула справедлива только для постоянных интервалов времени в течение периода испытаний.
5.3.4.1 Условия испытаний
Образец оборудования устанавливают в помещении для проведения испытаний и загружают контрольными пакетами в соответствии с 5.3.1 и 5.3.2, действуя согласно инструкции производителя и обеспечивая параметры окружающей среды в соответствии с климатическим классом, для работы в котором предназначен данный образец (см. таблицу 3). После этого включают образец на время работы в соответствии с 5.3.2.6, в течение которого регистрируют значения измеряемых параметров. Освещение и ночные крышки, если таковые имеются, задействуют в соответствии с 5.3.2.7. Допускается совмещать испытания по определению количества воды, образующегося в результате конденсации водяного пара, и температурные испытания.
Если образец оборудования оснащен нагревателями для удаления водяного конденсата, которые можно включать и выключать пользователю, то такие нагреватели должны быть выключены. Однако если такие нагреватели предназначены для удаления конденсата с внешней поверхности образца, испытания по определению количества воды, образующегося в результате конденсации водяного пара, повторяют с включенными нагревателями.
Перед началом испытаний все внешние поверхности корпуса тщательно вытирают насухо чистой тканью. Если образец оснащен автоматическим оборудованием для оттаивания, испытания проводят в течение периода, когда конденсация представляется наиболее вероятной.
5.3.4.2 Результаты испытаний
Образец считают выдержавшим испытания, если в период проведения испытаний на контрольных пакетах визуально не обнаружены конденсированный водяной пар или капли влаги и при условии, в зависимости от метода, используемого для обнаружения конденсации водяного пара, получения следующих результатов:
a) температура всех наружных поверхностей образца за счет использования соответствующей теплоизоляции, обдува и подогрева, остается выше температуры точки росы климатического класса, для работы в котором предназначен данный образец (см. таблицу 3), в результате чего влаги на этих поверхностях не обнаружено;
b) внутренние поверхности практически свободны от влаги или льда;
c) зеркала, которые во время оттаивания могут периодически запотевать, после включения охлаждения вновь начинают давать четкие отражения.
5.3.4.3 Обработка и представление результатов испытаний
В процессе испытаний определяют площади участков наружной поверхности образца, на которых обнаружены запотевание, капли или струи воды. Эти участки обозначают буквами F, D и R соответственно. После этого выполняют эскиз образца с использованием условных обозначений, приведенных на рисунке 30, на котором указывают максимальную площадь и степень конденсации влаги, обнаруженные при испытаниях.
|
F - помутнение/запотевание; D - капли влаги; R - струящаяся вода |
Рисунок 30 - Условные обозначения степени конденсации влаги
5.3.5.1 Условия испытаний
Образец оборудования устанавливают в помещении для проведения испытаний и загружают контрольными пакетами в соответствии с 5.3.1 и 5.3.2, действуя согласно инструкции производителя и обеспечивая параметры окружающей среды в соответствии с климатическим классом, для работы в котором предназначен данный образец (см. таблицу 3). После этого включают образец на время работы в соответствии с 5.3.2.6, в течение которого регистрируют значения измеряемых параметров. Освещение и ночные крышки, если таковые имеются, задействуют в соответствии с 5.3.2.7.
Испытания по определению потребления электрической энергии проводят одновременно с температурными испытаниями.
5.3.5.2 Оборудование со встроенным компрессорно-конденсаторным агрегатом
Для оборудования со встроенным компрессорно-конденсаторным агрегатом количество электрической энергии, потребляемой образцом Епотр, равно полному количеству электрической энергии Еполн, потребляемой оборудованием, так как оно включает в себя в том числе и потребление электрической энергии для охлаждения. Для такого оборудования потребление электрической энергии для охлаждения Е1 не определяют.
Полное количество электрической энергии Еполн, потребляемой оборудованием, в том числе потребление электрической энергии для охлаждения, определяют в киловатт-часах за 24-часовой период. В этот период компрессорно-конденсаторный агрегат работает в режиме включения/выключения, а все другие потребители электрической энергии образца включены в течение относительного времени работы оборудования (отношения времени работы оборудования к сумме времени работы оборудования и времени стоянки без учета времени оттаивания).
5.3.5.3 Оборудование с выносным компрессорно-конденсаторным агрегатом
Для оборудования с выносным компрессорно-конденсаторным агрегатом количество электрической энергии, потребляемой образцом Епотр, не включает в себя потребление электрической энергии для охлаждения E1.
Количество электрической энергии, потребляемой образцом Епотр, определяют только для тех потребителей электрической энергии, которыми оснащен данный образец и которые задействованы за 24-часовой период в течение относительного времени работы оборудования.
Для получения количества электрической энергии, потребляемой образцом Епотр, суммируют количества электрической энергии, потребляемые каждым потребителем электрической энергии образца за 24-часовой период в течение относительного времени работы оборудования, за исключением блока управления (процессора).
Примечание - Если по техническим причинам слишком сложно измерить отдельно потребление электрической энергии каждым потребителем, входящим в состав образца, допускается измерять потребление электрической энергии Епотр образцом в целом.
5.3.6.1 Условия испытаний
5.3.6.1.1 Общие требования
Образец оборудования устанавливают в помещении для проведения испытаний и загружают контрольными пакетами в соответствии с 5.3.1 и 5.3.2, действуя согласно инструкции производителя и обеспечивая параметры окружающей среды в соответствии с климатическим классом, для работы в котором предназначен данный образец (см. таблицу 3).
После этого включают образец на время работы в соответствии с 5.3.2.6, в течение которого регистрируют значения измеряемых параметров. Освещение и ночные крышки, если таковые имеются, задействуют в соответствии с 5.3.2.7. Испытания проводят одновременно с температурными испытаниями.
Трубопроводы для хладагента подсоединяют к образцу в соответствии со схемами, приведенными ниже.
Температуру хладагента на входе в образец и на выходе из него измеряют датчиками температуры, установленными непосредственно внутри соответствующих трубопроводов или вставленными в специальные гнезда, или закрепленными на трубопроводах медными хомутами. Датчики располагают на трубопроводах входа хладагента в образец и выхода из него на расстоянии не более 150 мм от наружной стенки образца [см. рисунки 31 а) и 32 а)].

а) Схема подключения образца ТХО к выносному компрессорно-конденсаторному агрегату (системе)

б) Схема подключения образца ТХО к выносному компрессорно-конденсаторному агрегату (системе)
1 - вход в компрессор; 2 - выход из компрессора; 3 - смотровое стекло переохлажденной жидкости перед расходомером; 3' - дополнительное смотровое стекло переохлажденной жидкости за расходомером; 4 - точка измерения параметров на входе в образец; 5 - вход в расширительное устройство; 6 - выход из расширительного устройства и вход в испаритель; 7 - выход из испарителя и точка измерения перегрева пара; 8 - точка измерения параметров на выходе из образца; 9 - клапан на входе хладагента в образец (при работе образца открыт, при выключении и оттаивании закрыт); 10 - устройство для измерения массового расхода хладагента (расходомер); 11 - регенеративный теплообменник, если таковой имеется; 12 - образец ТХО; 13 - расширительное устройство; 14 - испаритель; 15 - компрессор; 16 - конденсатор; 17 - жидкостной ресивер; 20 - теплоизоляция (на участке трубопровода длиной не менее 150 мм по обе стороны от места установки датчика температуры); 21 - к регистрирующему устройству (например, самописцу); 22 - трубопровод для хладагента; 23 - медное гнездо для монтажа датчика температуры (заполняют глицерином или иной аналогичной жидкостью); а - подача хладагента, как правило, в состоянии переохлажденной жидкости; b - выход хладагента, как правило, в состоянии перегретого пара; с - плоскость подключение трубопроводов холодильной системы к трубопроводам образца
Рисунок 31 - Подключение оборудования, предназначенного для работы с выносным компрессорно-конденсаторным агрегатом (системой)
Если в качестве датчиков температуры используют термопары или им подобные устройства, электрические кабели таких датчиков оснащают защитой от внешних электромагнитных излучений и располагают таким образом, чтобы исключить влияние на работу датчиков любых других внешних воздействий.
Датчики температуры и соединительные трубопроводы на выходе из образца закрывают теплоизоляцией. Теплоизоляцию устанавливают на участке трубопровода, начинающемся от наружной стенки образца и заканчивающемся в точке, отстоящей от точки измерения температуры далее по трубопроводу на расстоянии не менее 150 мм.
Для измерения массового расхода хладагента на трубопроводе подачи жидкого хладагента в образец устанавливают расходомер (устройство для измерения расхода).
За расходомером ниже по потоку, а при необходимости дополнительно перед расходомером, на трубопроводе подачи жидкого хладагента в образец устанавливают смотровое стекло для контроля сплошности жидкого хладагента и отсутствия свободных паровых включений в нем на входе в образец во время проведения испытаний.
Перед расходомером выше по потоку на расстоянии (150 ± 10) мм от расходомера устанавливают еще один датчик температуры, закрепляемый, как указано выше. Участок трубопровода с этим датчиком температуры также закрывают теплоизоляцией. Длина теплоизолированного участка трубопровода в этом месте должна составлять вверх по потоку от места установки датчика не менее 150 мм и вниз по потоку до входа в расходомер.
Для систем с выносным компрессорно-конденсаторным агрегатом давление хладагента измеряют в трубопроводе на выходе из образца на расстоянии не более 150 мм от наружной стенки образца. Для систем охлаждения с помощью хладоносителя давление хладоносителя измеряют в трубопроводах на входе в образец и на выходе из него также на расстоянии не более 150 мм от наружной стенки образца.
Холодопроизводительность образца определяют расчетным путем на основании измерений в процессе испытаний температуры, давления и массового расхода хладагента (хладоносителя). Погрешность определения холодопроизводительности не должна превышать ± 5 %.
5.3.6.1.2 Условия испытаний образцов, предназначенных для подключения к выносному компрессорно-конденсаторному агрегату
Выносной компрессорно-конденсаторный агрегат (систему) подключают к образцу в соответствии со схемой, показанной на рисунке 31 а).
Для проведения испытаний выбирают компрессорно-конденсаторный агрегат, который должен работать следующим образом:
- давление хладагента на выходе из образца должно быть равно давлению кипения в испарителе образца или температура хладагента на выходе из образца должна соответствовать значению, указанному производителем образца;
- на вход в образец должен поступать жидкий хладагент, не содержащий свободных паровых включений (пузырей), с температурой, превышающей температуру воздуха в помещении для проведения испытаний не более чем на 10 К, либо в переохлажденном состоянии, если это указано. В обоих случаях задают значение температуры жидкого хладагента на входе в образец.
На выходе из компрессора может быть установлен маслоотделитель, чтобы свести к минимуму содержание масла в хладагенте.
5.3.6.1.3 Условия испытаний образцов, предназначенных для подключения к системам охлаждения с помощью хладоносителя
Систему охлаждения с помощью хладоносителя подключают к образцу, предназначенному для работы в составе этой системы, в соответствии со схемой, показанной на рисунке 32 а).
Система охлаждения с помощью хладоносителя должна обеспечивать подачу хладоносителя с температурой на входе в образец и массовым расходом хладоносителя, указанными производителем образца.
Во время оттаивания и/или снижения потребности в охлаждении хладоноситель должен циркулировать через перепускной клапан.
5.3.6.2 Определение холодопроизводительности
5.3.6.2.1 Определение холодопроизводительности образцов, предназначенных для подключения к выносному компрессорно-конденсаторному агрегату [см. рисунок 31 а)]
Текущее значение холодопроизводительности в киловаттах определяют как:
Фn=gm(h8-h4),
(3)
для каждого текущего n-го измерения (Фn = 0 кВт во время выключения образца и при оттаивании).
5.3.6.2.2 Определение холодопроизводительности образцов, предназначенных для подключения к системам охлаждения с помощью хладоносителя [см. рисунок 32а)]
Текущее значение холодопроизводительности в киловаттах определяют как:
Фn=gm[(свых·Твых)-(свх·Твх)],
(4)
для каждого текущего n-го измерения (Фn = 0 кВт во время выключения образца и при оттаивании).

а) Схема подключения образца ТХО к системе охлаждения хладоносителя

б) Схема подключения образца ТХО к системе охлаждения хладоносителя
1 - устройство для измерения массового расхода хладоносителя (расходомер); 2 - к регистрирующему устройству (например, самописцу); 3 - смотровое стекло; 4 - теплоизоляция (на участке трубопровода длиной не менее 150 мм по обе стороны от места установки датчика температуры); 5 - трубопровод для хладоносителя; 6 - медное гнездо для монтажа датчика температуры (заполняют глицерином или иной аналогичной жидкостью); 7 - теплообменник; 8 - образец ТХО; 9 - клапан на входе хладоносителя в образец (при работе образца открыт, при выключении и оттаивании закрыт); 10 - клапан перепуска хладоносителя (при работе образца закрыт, при выключении и оттаивании открыт); а - подача хладоносителя в образец; b - выход хладоносителя из образца; с - плоскость подключение трубопроводов системы охлаждения хладоносителя к трубопроводам образца
Рисунок 32 - Подключение оборудования, предназначенного для работы с системой охлаждения хладоносителя
5.3.6.3 Методики расчета
5.3.6.3.1 Общие положения
Суммирование полученных в течение 24 ч текущих значений холодопроизводительности Фn, в киловаттах, производят следующим образом:
а) Полное количество теплоты, Qполн, в киловатт-часах, отведенное из охлаждаемого объема (см. рисунки 33-35) находят как:
,
(5)
Фn = 0 при оттаивании и во время остановки образца.
б) Количество теплоты, отведенное из охлаждаемого объема при непрерывной работе на установившемся режиме в течение 75 % продолжительности периода охлаждения за исключением периода времени сразу после оттаивания, Q75, в киловатт-часах (см. рисунок 33), находят как:
.
(6)
Установлены следующие разновидности значений холодопроизводительности оборудования с отводом теплоты из охлаждаемого объема непосредственно холодильным агентом или хладоносителем:
Фраб - средняя холодопроизводительность, обеспечиваемая единичным образцом оборудования за суммарное время его работы (без учета времени оттаивания и стоянки) в течение всего периода испытаний, кВт;
Фраб75 - средняя холодопроизводительность, обеспечиваемая единичным образцом оборудования при работе в установившемся режиме на заключительном этапе длительностью 75 % суммарного времени работы (за исключением времени работы сразу после оттаивания) за весь период испытаний, кВт;
Ф24 - средняя холодопроизводительность оборудования в течение всего периода испытаний, кВт;
Ф24-отт - средняя холодопроизводительность оборудования в течение всего периода испытаний без учета времени оттаивания, кВт.
5.3.6.3.2 Определение значений холодопроизводительности (см. рисунки 33-35)
Холодопроизводительность, обеспечиваемую единичным образцом оборудования за суммарное время его работы (без учета времени оттаивания и стоянки) в течение всего периода испытаний, Фраб, находят как среднеарифметическое текущих значений холодопроизводительности Фn, полученных в ходе испытаний, только за время фактической работы оборудования tраб:
.
(7)
Холодопроизводительность, обеспечиваемую единичным образцом оборудования при работе в установившемся режиме длительностью 75 % от суммарного времени работы (за исключением времени работы сразу после оттаивания) за весь период испытаний, находят как среднеарифметическое текущих значений холодопроизводительности Фn, полученных в ходе испытаний, за время работы оборудования на установившемся режиме t75:
.
(8)
Среднюю холодопроизводительность оборудования в течение всего периода испытаний Ф24 находят как среднеарифметическое текущих значений холодопроизводительности Фn, полученных за весь период испытаний, включая время работы, стоянки и оттаивания (tpaб, tст и tотт):
.
(9)
Среднюю холодопроизводительность оборудования в течение всего периода испытаний без учета времени оттаивания Ф24-отт находят как среднее арифметическое текущих значений холодопроизводительности Фn, полученных за весь период испытаний, за исключением времени оттаивания (tотт), то есть в течение суммарного времени стоянки и работы (tст и tраб):
.
(10)
Значение Ф24-отт используют в формуле для расчета количества электроэнергии Е1, потребляемой оборудованием для охлаждения за время испытаний (24 ч), см. 5.3.6.3.3.
5.3.6.3.3 Расчет Е1
Количество электроэнергии Е1, в киловатт-часах, потребляемой оборудованием для охлаждения за время испытаний (24 ч) при использовании для охлаждения выносного компрессорно-конденсаторного агрегата (системы) рассчитывают по формуле:
,
(11)
где температуру конденсации Тк принимают постоянной и равной 308,15 К (значение температуры конденсации, равное 35 °С, при пересчете на шкалу Кельвина).
Для оборудования, в котором для отвода теплоты из охлаждаемого объема используют хладоноситель, температуру кипения не измеряют. Однако в целях расчета количества электроэнергии Е1, потребляемой оборудованием для охлаждения, принимают, что среднее значение температуры кипения в системе охлаждения теплоносителя на 3 К ниже среднего значения температуры хладоносителя на входе в образец (в теплообменный аппарат образца) θвх. То есть температуру кипения в системе охлаждения теплоносителя Тср в этом случае рассчитывают следующим образом:
Тср=θвх-ЗК.
(12)
Кроме того, для оборудования, в котором для отвода теплоты из охлаждаемого объема используют хладоноситель, необходимо учитывать потребление энергии насосом (насосами), обеспечивающим циркуляцию хладоносителя. Это потребление энергии не измеряют, оно зависит от конструкции контура и физических свойств хладоносителя. Для расчета количества энергии, потребляемой насосом, Енас, в киловатт-часах за 24-часовой период, используют следующую формулу, предполагая при этом, что КПД насоса равен 0,5, а потери давления в контуре хладоносителя в 2,5 раза превышают перепад давления на теплообменном аппарате образца:
.
(13)
Коэффициент τ в приведенной выше формуле учитывает время работы насоса в часах в течение суток. Как правило, значение τ принимают равным:
- для оборудования с оттаиванием с помощью нагретого хладоносителя τ = 19 ч/24 ч;
- для остального оборудования τ = 18 ч/24 ч.
В связи с отсутствием достоверных (измеренных) данных, принятые значения τ рассматривают как предварительные, которые могут потребовать корректировки.
С учетом изложенного количество электроэнергии E1, в киловатт-часах, потребляемой оборудованием для охлаждения за время испытаний (24 ч) при использовании для охлаждения промежуточного хладоносителя, рассчитывают по формуле:
,
(14)
где температуру конденсации Тк принимают постоянной и равной 308,15 К (35 °С).
Примечание - Расчетное значение потребления энергии оборудованием с отводом теплоты из охлаждаемого объема непосредственно холодильным агентом или хладоносителем справедливо применительно к стандартному холодильному оборудованию. Хотя фактическое потребление энергии холодильным оборудованием, как правило, отличается от расчетного значения, математически можно показать, что "порядок оценки" будет тем же.
5.3.6.3.4 Расчет Еполн
Полное количество электрической энергии, потребляемой оборудованием за 24 ч, рассчитывают по формуле:
Еполн=Епотр+Е1.
(15)

а) Постоянное давление кипения, установившийся режим

б) Постоянное давление кипения, установившийся режим, неустановившийся режим с ночными крышками
А - базовый период испытаний (24 ч); В - период работы образца в режиме охлаждения; С - период времени работы (tpaб); D - период времени стоянки (tст); Е - период времени оттаивания (tотт); F - период времени для контролирования температуры кипения (tраб·10%); G - изменение температуры кипения; Н - текущее значение холодопроизводительности (Фn); I - полное количество теплоты, отводимой из охлаждаемого объема (Qполн = площади под кривой); J - среднеарифметическое значение температуры кипения (θср); K - среднеарифметическое значение температуры кипения, полученное за заключительный период работы оборудования продолжительностью 10 % времени tpaб (θмин); L - заключительный период времени работы оборудования перед выключением для очередного оттаивания продолжительностью 75 % времени работы оборудования, 0,75tраб; М - 12-часовой период (в сумме), когда ночные крышки (чехлы) установлены; N - 12-часовой период (в сумме), когда ночные крышки (чехлы) сняты
Рисунок 33 - Охлаждение в образце с отводом теплоты из охлаждаемого объема хладагентом. Постоянная температура кипения - Установившийся режим

А - базовый период испытаний (24 ч); В - период работы образца в режиме охлаждения; С - период времени работы (tpaб); D - период времени стоянки (tст); Е - период времени оттаивания (tотт); F - период времени для контролирования температуры кипения (tраб·10%); G - изменение температуры кипения; Н - текущее значение холодопроизводительности (Фn); I - полное количество теплоты, отводимой из охлаждаемого объема (Qполн = площади под кривой); J - среднеарифметическое значение температуры кипения (θср); K - среднеарифметическое значение температуры кипения, полученное за заключительный период работы оборудования продолжительностью 10 % от времени tраб (θмин)
Рисунок 34 - Охлаждение в образце с отводом теплоты из охлаждаемого объема хладагентом. Неустановившийся режим (включение-выключение компрессора)

А - базовый период испытаний (24 ч); В - период работы образца в режиме охлаждения; С - период времени работы (tpaб); D - период времени стоянки (tст); Е - период времени оттаивания (tотт); F - период времени для контролирования температуры кипения (tраб·10%); G - температура хладоносителя на выходе из теплообменного аппарата образца (θвых); Н - текущее значение холодопроизводительности (Фn); I - полное количество теплоты, отводимой из охлаждаемого объема (Qполн = площади под кривой); О - температура хладоносителя на входе в теплообменный аппарат образца (θвх); Р - среднее значение температуры хладоносителя в теплообменном аппарате образца (θ); R - среднеарифметическое значение средней температуры хладоносителя в теплообменном аппарате образца (θср); S - среднеарифметическое значение средней температуры хладагента, полученное за заключительный период работы оборудования продолжительностью 10 % времени tраб (θмин)
Рисунок 35 - Охлаждение в образце с отводом теплоты из охлаждаемого объема хладоносителем - Неустановившийся режим
Общую информацию о каждом проведенном испытании и конкретные результаты испытаний представляют следующим образом.
Примечание - Информация, размещаемая непосредственно на образце оборудования, должна соответствовать 7.2.
Испытания проводят по 5.2.1. Эффективность уплотнения дверей, створок и крышек указывают в акте испытаний.
Испытания проводят по 5.2.1. По результатам испытаний заполняют таблицу по форме таблицы 9.
Испытание на отсутствие запаха и вкуса (если проводят) см. приложение В.
Общие требования к условиям испытаний согласно 5.3.1.
В отчет помещают сведения в соответствии с таблицей 10.
В отчет помещают сведения о подготовке образца к испытаниям в соответствии с таблицей 11.
Требования к испытаниям согласно 5.3.3.
В отчет помещают сведения в соответствии с таблицей 12.
|
Наименование параметра, размерность |
Обозначение |
Число значащих цифр после запятой |
|
Установочные габаритные размеры, мм |
L, Н, W |
0 |
|
Внешние размеры зоны обслуживания, мм |
- |
0 |
|
Общая площадь охлаждаемых поверхностей (полок) по каждому заявленному температурному классу, м2 |
- |
2 |
|
Площадь открытой поверхности, м2 |
- |
2 |
|
Общая площадь обзора открытой поверхности, м2 |
TDA |
2 |
|
Площадь поверхности обзора продуктов питания (по усмотрению руководителя испытаний), м2 |
VPA |
2 |
|
Число внутренних полезных охлаждаемых объемов различных температурных классов |
I |
0 |
|
Внутренний полезный охлаждаемый объем, м3, по каждому заявленному температурному классу |
- |
3 |
|
Экран противовирусной и антимикробной защиты, мм (см. рисунок 1) |
А + В |
0 |
|
Подпункт методов испытаний |
Описание условий |
|
5.3.1.1 |
Подтверждение того, что условия в помещении для проведения испытаний, загрузка образца контрольными пакетами, наполнители контрольных пактов (деревянные бруски), термометрические контрольные пакеты, средства измерений соответствуют 5.3.1 с указанием при необходимости того, что в контрольных пакетах используют альтернативные варианты наполнения согласно 5.3.1.6 |
|
5.3.1.3 |
Подтверждение того, что испытания проводят в условиях соответствия параметров воздуха в помещении для проведения испытаний климатическому классу, для использования в котором предназначен испытуемый образец |
|
Подпункт методов испытаний |
Описание условий |
Обозначение | ||
|
5.3.2.1 |
Размеры помещения для проведения испытаний и расположение в нем образца в соответствии с требованиями рисунка 9, мм |
X, В, Y, А | ||
|
5.3.2.1 |
Расстояние от задней стенки корпуса образца до вертикальной панели для ТХО пристенного исполнения, а также для оборудования со встроенным компрессорно-конденсаторным агрегатом, мм |
dp | ||
|
5.3.2.3 |
Номер рисунка, в соответствии с которым образец загрузили контрольными пакетами |
- | ||
|
5.3.2.4 |
Метод контроля температуры, организация процесса начала и окончания оттаивания, данные о настройке параметров рабочего процесса, расположение датчиков |
- | ||
|
5.3.2.7 |
Наличие или отсутствие в процессе испытаний ночных крышек (чехлов), включение или выключение освещения |
- | ||
|
5.3.2.6 |
Используют ли альтернативные варианты наполнения контрольных пакетов согласно 5.3.1.6 |
- | ||
|
5.3.2.9 |
Цифровое обозначение хладагента по ГОСТ 29265 (для образца с отводом теплоты из охлаждаемого объема хладагентом выносного компрессорно-конденсаторного агрегата) |
- | ||
|
5.3.2.9 |
Для образца с отводом теплоты от охлаждаемого объема хладоносителем |
Химический состав хладоносителя |
- | |
|
Концентрация (процентное содержание компонентов) хладоносителя |
- | |||
|
Теплофизические свойства хладоносителя |
Удельная теплоемкость на входе в образец и выходе из него, кДж/кг·к |
Свх/Свых | ||
|
Плотность, кг/м3 |
ρ | |||
|
Температура начала Кристаллизации, °С |
tн. кр | |||
|
Температурный диапазон эксплуатации, °С |
Δtэксп. | |||
|
Подпункт методов испытаний |
Описание результатов |
Обозначение | |
|
5.3.3.1 |
Для образцов, оснащенных ночной крышкой и/или освещением: результаты первого или второго испытания по 5.3.2.7.1 и 5.3.2.7.2 или обоих испытаний (при проведении двух испытаний представляют результаты обоих) |
- | |
|
5.3.3.5 |
Зависимости от времени следующих температур, °С, - самого теплого и самого холодного термометрических пакетов, экстремальные значения этих же температур θah, θb и, если необходимо, θal в соответствии с температурным классом образца согласно таблице 1, 4.2.2, 5.3.3.5 и рисунку 28 |
θah θb θal | |
|
5.3.3.6 |
Среднеарифметическое значение температур, измеряемых с помощью всех термометрических контрольных пакетов согласно 5.3.3.5 и рисунку 29 |
- | |
|
Согласно 4.1.6 |
Для образцов, оснащенных системой отображения температуры: расположение датчика и максимальные зарегистрированные значения температуры, °С |
При работе на установившемся режиме |
- |
|
При наиболее высокой температуре охлаждаемого объема, во время или сразу после оттаивания |
- | ||
|
Условия, когда фиксация температуры могла быть приостановлена (например, при оттаивании) |
- | ||
|
5.3.3.4 |
Результаты оттаивания, проверяемые в соответствии с 5.3.3.4 |
- | |
Требования к испытаниям согласно 5.3.4.
В отчет помещают сведения в соответствии с таблицей 13.
|
Подпункт методов испытаний |
Описание результатов |
Обозначение |
|
5.3.4.1 |
Для образцов, оснащенных ночной крышкой и/или освещением: результаты первого или второго испытания по 5.3.2.7.1 и 5.3.2.7.2 или обоих испытаний (при проведении двух испытаний представляют результаты обоих) |
- |
|
5.3.4.1 |
Включены или выключены нагреватели для удаления водяного конденсата, которые можно включать и выключать пользователю |
- |
|
5.3.4.2 |
Продолжительность периода наблюдений, часы |
- |
|
Выполнение эскиза образца по 5.3.4.3 |
- |
Требования к испытаниям согласно 5.3.5.
В отчет помещают сведения в соответствии с таблицей 14.
|
Подпункт методов испытаний |
Описание результатов |
Обозначение | |
|
5.3.5.1 |
Для образцов, оснащенных ночной крышкой и/или освещением: результаты первого или второго испытания по 5.3.2.7.1 и 5.3.2.7.2 или обоих испытаний (при проведении двух испытаний представляют результаты обоих) |
- | |
|
5.3.5.2 |
Для образцов со встроенным компрессорно-конденсаторным агрегатом |
Количество электрической энергии, потребляемой образцом (= полное количество электрической энергии, потребляемой оборудованием) за период в 24 ч, кВт·ч |
Епотр (Еполн) |
|
Частота включения/выключения компрессора |
- | ||
|
Относительное время работы |
tотн | ||
|
5.3.5.3 |
Для образцов с выносным компрессорно-конденсаторным агрегатом количество электрической энергии, потребляемой образцом |
Епотр | |
Требования к испытаниям согласно 5.3.6.
В отчет помещают сведения в соответствии с таблицей 15.
|
Подпункт методов испытаний |
Описание результатов |
Обозначение | |
|
5.3.6.1.1 |
Для образцов, оснащенных ночной крышкой и/или освещением: результаты первого или второго испытания по 5.3.2.7.1 и 5.3.2.7.2 или обоих испытаний (при проведении двух испытаний представляют результаты обоих) |
- | |
|
5.3.6.1.2, см. рисунки 31, 33, 34 |
Для образца с отводом теплоты из охлаждаемого объема хладагентом |
Зависимости от времени и средние значения давления всасывания при работе, Па |
р8 |
|
Температура хладагента на выходе из образца, °С |
θ8 | ||
|
среднеарифметическое значение температуры кипения хладагента, °С, в течение всего времени работы |
θср | ||
|
Среднеарифметическое значение температуры кипения хладагента, °С, за заключительный период работы оборудования продолжительностью 10 % времени tраб |
θмин | ||
|
Среднеарифметическое значение перегрева хладагента на всасывающей магистрали в точке выхода из образца, К |
- | ||
|
Среднеарифметическое значение перегрева хладагента на всасывающей магистрали в точке выхода из испарителя образца, К |
- | ||
|
Зависимости от времени и средние значения температуры жидкого хладагента на входе в образец, °С |
θ4 | ||
|
Зависимости от времени и средние значения массового расхода хладагента, кг/с |
qm | ||
|
5.3.6.1.3, см. рисунки 29 и 32 |
Для образца с отводом теплоты из охлаждаемого объема хладоносителем |
Зависимости от времени и средние значения температуры хладоносителя на входе в образец, °С |
θвх |
|
Зависимости от времени и средние значения температуры хладоносителя на выходе из образца, °С |
θвых | ||
|
Среднеарифметическое значение температуры хладоносителя, °С, в течение всего времени работы |
θср | ||
|
Среднеарифметическое значение температуры хладоносителя, °С, за заключительный период работы оборудования продолжительностью 10 % времени tраб |
θмин | ||
|
Зависимости от времени и средние значения массового расхода хладоносителя, кг/с |
qm | ||
|
Перепад давления между входом в теплообменный аппарат единичного образца оборудования и выходом из него в течение времени работы оборудования tраб, Н/м2 |
рвх раб рвых раб | ||
|
5.3.6.3 |
Значения холодопроизводительности образца, полученные на основании обработки результатов перечисленных выше измерений, кВт |
Фраб | |
|
Фраб75 | |||
|
Ф24 | |||
|
Ф24-отт | |||
|
5.3.6.3 |
Количество электрической энергии, в киловатт-часах, потребляемой оборудованием для охлаждения за время испытаний (24 ч) |
Е1 | |
|
Полное количество электрической энергии, в киловатт-часах, потребляемой оборудованием за время испытаний (24 ч) |
Еполн | ||
|
Для образцов при работе в неустановившемся режиме (включение-выключение компрессора) относительное время работы оборудования, % |
tотн·100 | ||
Каждый образец должен иметь на внутренней поверхности (варианты размещения см. рисунок 38) четко нанесенную и нестираемую линию, как показано на рисунке 36 [или линии, см. рисунок 36 б)], предельной загрузки, определяющую границы полезного объема, внутри которого обеспечивают поддержание заданной температуры. В образце, где превышение загрузки невозможно, линию предельной загрузки не наносят.
Линия предельной загрузки может быть сплошной [см. рисунок 36 а)] или повторяться с интервалами [см. рисунок 36 б)], исключающими возможность не заметить ее. Длина одного штриха прерывистой линии предельной загрузки должна быть не менее 50 мм, при этом каждый отдельный штрих прерывистой линии предельной загрузки должен содержать не менее одного равностороннего треугольника со стороной 5,5
Если линия предельной загрузки не может быть нанесена на внутреннюю поверхность образца из-за особенностей его конструкции, на видном месте наружной поверхности образца должен быть нанесен эскиз, показывающий предел загрузки данного образца. Такой же эскиз должен быть помещен в инструкцию (справочное руководство) производителя по эксплуатации образца.

а) Непрерывная линия предельной загрузки

б) Прерывистая линия предельной загрузки
а - обозначение предела загрузки
Рисунок 36 - Маркировка предельной загрузки

Рисунок 37 - Размеры линии предельной загрузки

Рисунок 38 - Варианты размещения линии предельной загрузки
На каждый образец в легкодоступном для обозрения месте наносят разборчиво читаемую и неудаляемую информацию следующего содержания:
а) наименование или товарный знак или то и другое производителя (не обязательно совпадающие с наименованием или товарным знаком производителя компрессорно-конденсаторного агрегата);
б) модель и серийный номер образца в совокупности с компрессорно-конденсаторным агрегатом (агрегатами) и другим смежным оборудованием или иную информацию, необходимую для надлежащей идентификации образца при его обслуживании и ремонте, в том числе при замене вышедших из строя деталей;
в) описание внутренних деталей и арматуры образца;
г) всю информацию, относящуюся к источнику электропитания, для подключения к которому предназначен образец;
д) для образцов со встроенным компрессорно-конденсаторным агрегатом обозначение (обозначения) используемого (используемых) хладагента (хладагентов) по ГОСТ 29265 и его (их) масса в образце;
е) для образцов с выносным компрессорно-конденсаторным агрегатом обозначение в соответствии с ГОСТ EN 378-2.
С каждым образцом производитель предоставляет следующую информацию:
а) Общие габаритные размеры при монтаже образца;
б) Общие габаритные размеры зоны обслуживания образца, в том числе расстояние dp между задней стенкой корпуса и вертикальной панелью при испытаниях по 5.3.2.1, если такие испытания проведены;
в) Для образца каждого температурного класса по 4.2.2:
1) площадь открытой поверхности;
2) площадь открытой поверхности обзора образца (TDA) (см. приложение А);
3) площадь поверхности обзора продуктов питания (VPA) (факультативно);
4) полезный объем;
5) площадь поверхности внутренних охлаждаемых полок, если это возможно;
6) для образцов, оснащенных ночной крышкой и/или освещением, по результатам первого или второго испытания по 5.3.2.7.1 и 5.3.2.7.2 или обоих испытаний (в последнем случае по информации о результатах обоих испытаний) представляют:
- потребление электрической энергии (Епотр), в киловатт-часах за 24 ч, измеренное в соответствии с методом испытаний, описанным в 5.3.5, и
- информацию о холодопроизводительности в соответствии с 5.3.6, если образец не оснащен встроенным компрессорно-конденсаторным агрегатом.
Примечание - Для температурных и климатических классов образца по 4.2.2 и 5.3.1.3.1;
г) По каждому температурному классу, для обеспечения которого предназначен образец, производитель должен предоставить следующую информацию об особенностях измерения и значениях температуры в охлаждаемом объеме, реализованных в процессе испытаний по 5.3.2:
- место расположения датчика температуры в охлаждаемом объеме;
- максимальное значение температуры, отображенное на наружном табло или измеренное датчиком при работе образца на установившемся режиме;
- максимальное значение температуры, отображенное на наружном табло или измеренное датчиком в течение или сразу после оттаивания;
- условия, при которых отображение температуры на наружном табло может быть прервано (например, в течение периода оттаивания).
Приложение А
(обязательное)
А.1 Общие положения
TDA определяют по сумме вертикальных и горизонтальных проекций площадей доступных обозрению продуктов питания, м2. Для многоярусных витрин и шкафов-горок площадь горизонтальной проекции измеряют в плоскости, отстоящей от пола на расстоянии 1,55 м, принимая во внимание доступные обозрению продукты питания, расположенные в передней части ярусов (полок) (см. рисунок А.3).
А.2 Измерение TDA в холодильных витринах и горках
А.2.1 Общие положения
Для образцов, оснащенных застекленными крышками, закрывающими продукты питания, при определении TDA принимают во внимание светопроницаемость (степень прозрачности) Тg материала крышек согласно данным таблицы А.1.
|
Материал остекления |
Tg, % |
|
Однослойное антибликовое стекло |
98 |
|
Однослойное стекло |
90 |
|
Двухслойное стекло или сдвоенное однослойное стекло |
81 |
|
Трехслойное стекло без покрытия |
73 |
|
Специальное стекло с отражающим покрытием или подогреваемой поверхностью |
Значение получают путем измерения по [5] |
Площадь поверхности непрозрачных элементов остекления, козырьков, поручней, окантовок вычитают из полученных расчетных значений TDA.
А.2.2 Расчет TDA
Общую площадь открытой поверхности обзора рассчитывают по формуле:
TDA=(Ho·Loh)+(Hg·Tgh·Lgh)+(Vo·Lov)+(Vg·Tgv·Lgv),
(A.1)
где H - ширина горизонтальной проекции, метры;
V - высота вертикальной проекции, метры;
L - длина корпуса образца без учета ширины боковых стенок;
Тg - светопроницаемость (степень прозрачности) материала крышек;
О - открытая поверхность;
g - застекленная поверхность;
h - горизонтальная плоскость;
v - вертикальная плоскость;
w - конец стенки.
Примечания
1 Площадь остекления поверхности в разных измерениях может быть различной, например, для вертикального измерения (Tgv) и горизонтальной крышки (Tgh).
2 Для образцов с остеклением на двух или более сторонах корпуса TDA рассчитывают по общей площади остекления [см. рисунки А.2 (островная витрина), А.8 и А.9].
Рисунки А.1-А.10 иллюстрируют расчеты TDA для наиболее распространенных образцов ТХО с длиной 2,5 м.
Размеры в метрах

|
Loh = 2,500 |
Нo = 0,350 |
Loh = 2,400 |
Ho = 0,350 | |||
|
Тgh = 90 % |
Lgh = 2,400 |
Hg = 0,194 |
Tgh = 90 % |
Lgh = 2,500 |
Hg = 0,194 | |
|
Lov = 2,500 |
Vo = 0 |
Lov= 2,500 |
Vo = 0 | |||
|
Tgv = 90 % |
Lgv = 2,400 |
Vg = 0,185 |
Tgv = 90 % |
Lgv = 2,500 |
Vg = 0,185 | |
|
TDA=(Ho·Loh)+(Hg·Tgh·Lgh)+(Vo·Lov)+ +(Vg·Tgv·Lgv) |
1,694 |
TDA=(Ho·Loh)+(Hg·Tgh·Lgh)+(Vo·Lov)+ +(Vg·Tgv·Lgv) |
1,693 |
Рисунок А.1 - Горизонтальный открытый прилавок
Размеры в метрах

|
Loh = 2,500 |
Ho = 0,770 |
Loh = 2,500 |
Ho = 1,176 | |||
|
Tgh = 90 % |
Lgh = 2,500 |
Hg = 0,012 |
Tgh = 100 % |
Lgh = 2,500 |
Hg = 0 | |
|
Lov = 2,500 |
Vo = 0 |
Lov = 2,500 |
Vo = 0 | |||
|
Tgv = 90 % |
Lgv = 2,500 |
Vg = 0,090 |
Tgv1 = 81 % |
Lgv1 = 2,400 |
Vg1 = 0,058 | |
|
Tgv2 = 81 % |
Lgv2 = 2,400 |
Vg2 = 0,058 | ||||
|
TDA=(Ho·Loh)+(Hg·Tgh·Lgh)+(Vo·Lov)+ +(Vg·Tgv·Lgv) |
2,155 |
TDA=(Ho·Loh)+(Hg·Tgh·Lgh)+(Vo·Lov)+ +(Vg·Tgv·Lgv) |
3,166 |
Рисунок А.2 - Горизонтальная открытая витрина островного типа
Размеры в метрах

|
Loh = 2,500 |
Ho = 0,291 |
Loh = 2,500 |
Ho = 0,761 | |||
|
Tgh = 100 % |
Lgh = 2,500 |
Hg = 0 |
Tgh = 100 % |
Lgh = 2,500 |
Hg = 0 | |
|
Lov = 2,500 |
Vo = 1,367 |
Lov = 2,500 |
Vo = 0,546 | |||
|
Tgv = 100 % |
Lgv = 2,500 |
Vg = 0 |
Tgv = 81 % |
Lgv = 2,400 |
Vg = 0,175 | |
|
TDA=(Ho·Loh)+(Hg·Tgh·Lgh)+(Vo·Lov)+ +(Vg·Tgv·Lgv) |
4,145 |
TDA=(Ho·Loh)+(Hg·Tgh·Lgh)+(Vo·Lov)+ +(Vg·Tgv·Lgv) |
3,608 |
Рисунок А.3 - Вертикальный многоярусный шкаф и горка
Размеры в метрах

|
Loh = 2,500 |
Ho = 0,321 | |
|
Tgh = 100 % |
Lgh = 2,500 |
Hg = 0 |
|
Lov = 2,500 |
Vo = 1,367 | |
|
Tgv = 100 % |
Lgv = 2,500 |
Vg = 0 |
|
TDA=(Ho·Loh)+(Hg·Tgh·Lgh)+(Vo·Lov)+(Vg·Tgv·Lgv) |
4,220 |
Рисунок А.4 - Вертикальный передвижной шкаф
Размеры в метрах

|
Loh = 2,500 |
Ho = 0,306 | |
|
Tgh = 100 % |
Lgh = 2,500 |
Hg = 0 |
|
Lov = 2,500 |
Vo = 0 | |
|
Tgvt = 73 % |
Lgv = 2,500 |
Vgt = 0,731 |
|
Tgvb = 73 % |
Lgv = 2,400 |
Vgb = 0,058 |
|
TDA=(Ho·Loh)+(Hg·Tgh·Lgh)+(Vo·Lov)+(Vg·Tgv·Lgv) |
2,067 |
Рисунок А.5 - Комбинированный шкаф со стеклянной верхней дверью, открытый внизу
Размеры в метрах

|
Loh = 2,500 |
Ho = 0,800 |
Loh = 2,500 |
Ho = 1,084 | |||
|
Tgh = 100 % |
Lgh = 2,500 |
Hg = 0 |
Tgh = 100 % |
Lgh = 2,500 |
Hg = 0 | |
|
Lov = 2,500 |
Vo = 0 |
Lov = 2,500 |
Vo = 0 | |||
|
Tgv = 73 % |
Lgv = 2,400 |
Vg = 0,058 |
Tgv = 100 % |
Lgv = 2,500 |
Vg = 0 | |
|
TDA=(Ho·Loh)+(Hg·Tgh·Lgh)+(Vo·Lov)+ +(Vg·Tgv·Lgv) |
2,102 |
TDA=(Ho·Loh)+(Hg·Tgh·Lgh)+(Vo·Lov)+ +(Vg·Tgv·Lgv) |
2,710 |
Рисунок А.6 - Горизонтальная открытая витрина островного типа
Размеры в метрах

|
Loh = 2,500 |
Ho = 0 | |
|
Tgh = 100 % |
Lgh = 2,500 |
Hg = 0 |
|
Lov = 2,500 |
Vo = 0 | |
|
Tgv = 64 % |
Lgv = 2,2500 |
Vg = 1,053 |
|
TDA=(Ho·Loh)+(Hg·Tgh·Lgh)+(Vo·Lov)+(Vg·Tgv·Lgv) |
1,516 |
Рисунок А.7 - Вертикальный шкаф со стеклянной дверью
Размеры в метрах

|
Loh = 2,500 |
Ho = 0,800 | |
|
Tgh = 100 % |
Lgh = 2,500 |
Hg = 0 |
|
Lov = 2,500 |
Vo = 0 | |
|
Tgv = 73 % |
Lgv = 2,400 |
Vgt = 0,058 |
|
Tgw = 73 % |
wgv = 0,058 |
Vgb = 0,800 |
|
TDA=(Ho·Loh)+(Hg·Tgh·Lgh)+(Vo·Lov)+(Vg·Tgv·Lgv)+(2·Tgw·Vgw·Wgd) |
2,169 |
Рисунок A.8 - Горизонтальная открытая витрина островного типа на конце образца
Размеры в метрах

|
Loh = 2,500 |
Ho = 0,291 | |
|
Tgh = 100 % |
Lgh = 2,500 |
Hg = 0 |
|
Lov = 2,500 |
Vo = 1,367 | |
|
Tgv = 100 % |
Lgv = 2,500 |
Vgt = 0 |
|
Tgw = 81 % |
wgv = 1,022 |
Vgb = 0,415 |
|
TDA=(Ho·Loh)+(Hg·Tgh·Lgh)+(Vo·Lov)+(Vg·Tgv·Lgv)+(2·Tgw·Vgw·Wgd) |
4,832 |
Рисунок А.9 - Вертикальный охлаждаемый многоярусный шкаф на конце образца
Размеры в метрах

|
Loh1 = 2,500 |
Ho1 = 0,770 | |
|
Lgh2 = 2,500 |
Ho2 = 0,770 | |
|
Tgh1 = 73 % |
Lgh1 = 2,400 |
Hg1 = 0,012 |
|
Tgh2 = 73 % |
Lgh2 = 2,400 |
Hg2 = 0,012 |
|
Tgv1 = 73 % |
Lgv1 = 2,400 |
Vg1 = 0,090 |
|
Tgv2 = 73 % |
Lgv2 = 2,400 |
Vg2 = 0,090 |
|
TDA=(Ho1·Loh1)+(Ho2·Loh2)+(Hg1·Tgh1·Lgh1)+(Hg2·Tgh2·Lgh2)+ +(Vg1·Tgv1·Lgv1)+(Vg2·Tgv2·Lgv2) |
4,207 |
|
Loh1 = 2,500 |
Ho1 = 0,770 | |
|
Lgh2 = 2,500 |
Ho2 = 0,770 | |
|
Tgh1 = 73 % |
Lgh1 = 2,400 |
Hg1 = 0,012 |
|
Tgv2 = 73 % |
Lgh2 = 2,400 |
Hg2 = 0,012 |
|
Tgw1 = 73 % |
Lgv1 = 2,400 |
Vg1 = 0,090 |
|
Tgw2 = 73 % |
Lgv2 = 2,400 |
Vg2 = 0,090 |
|
TDA=(Ho1·Loh1)+(Ho2·Loh2)+(Hg1·Tgh1·Lgh1)+(Hg2·Tgh2·Lgh2)+(Vo·Lov)+ +(Vg1·Tgv1·Lgv1)+(Vg2·Tgv2·Lgv2) |
4,207 |
Рисунок A.10 - Двусторонняя витрина островного типа с подачей воздуха от середины
Приложение Б
(справочное)
В помещении для проведения испытаний невозможно смоделировать полный спектр различных климатических условий и различные способы загрузки оборудования в магазинах. По этой причине для испытаний в помещении создают лабораторные условия, соответствующие определенным климатическим классам и вариантам загрузки, после чего образцы ТХО классифицируют и проводят сравнение.
Для открытых витрин и прилавков результаты испытаний в лаборатории не могут быть непосредственно перенесены на работу оборудования в магазинах.
Таблица Б.1
|
Наименование показателя |
Помещение для проведения испытаний |
Торговый зал |
|
Условия работы образца |
По [1] |
Определяется национальным законодательством в соответствующей сфере |
|
Температура термометрических контрольных пакетов в соответствующих температурных классах Н2, Н1, М2, М1, L3, L2, L1 определена |
Температура каждого типа продуктов питания может отличаться [зависит от упаковки (размеры, материал, коэффициент излучения) и теплофизических свойств] | |
|
Загрузка стандартизована и на протяжении всего испытания не меняется |
Непрерывное изменение загрузки в течение дня | |
|
Окружающее пространство |
Климатические условия в помещении для проведения испытаний постоянные и соответствуют вполне определенному климатическому классу (например, класс 3: 25 °С, относительная влажность 60 %) |
Заметное изменение температуры и влажности в течение суток, в частности между днем и ночью |
|
Небольшое изменение температуры по высоте помещения |
Значительное расслоение температуры в зоне магазина, прилегающей к охлаждаемым продуктам питания, что благоприятно сказывается на работе образца | |
|
Непрерывный горизонтальный воздушный поток со скоростью |
Кратковременные возмущения внутренней атмосферы в результате действий потребителей, которые создают местные неоднородности состояния атмосферы, распределенные во времени и пространстве | |
|
Окружающее пространство |
Тепловой лучистый поток от внутренних стен помещения определен |
Неопределенность теплового лучистого потока от внутренних поверхностей магазина, зависящего от изоляции и покрытия стен, расслоения внутренней атмосферы, типа освещения |
|
Оценку производительности выполняют по: |
Температуре термометрических пакетов, меняющейся менее чем на 0,5 К после 24 ч работы образца на установившемся режиме |
Температуре продуктов питания в образце, которая, в свою очередь, зависит не только от работы оборудования, но и от начальной температуры продуктов при загрузке, воздействия лучистого теплового потока (продукты, наиболее подверженные воздействию лучистого теплового потока, будут первыми отобраны потребителями) |
|
Холодопроизводительности и потреблению электроэнергии, определяемых по [1] |
Реальным потребностям магазина на основании цифровых данных для расчета холодильной системы и ежегодного потребления энергии с учетом сезона (зима/лето), суточного цикла (день/ночь), периодов, когда магазин открыт |
Приложение В
(справочное)
В.1 Подготовка и проведение испытания
В.1.1 Температура окружающей среды
Температура окружающего воздуха должна быть в пределах от 16 до 30 °С.
В.1.2 Очистка
Оборудование до начала испытания очищают изнутри в соответствии с инструкциями производителя, после чего промывают чистой водой и насухо протирают.
В.1.3 Установка температуры
Оборудование включают для работы в течение 48 ч, при этом с помощью управляющих устройств в соответствии с инструкциями производителя задают значение температуры в охлаждаемом объеме, соответствующее температурному классу образца по 4.2.2.
В.1.4 Вещества, используемые для проведения испытания
В качестве веществ для проведения испытаний каждого шкафа (витрины, прилавка) или отделения шкафа используют:
- 100 см3 питьевой воды;
- ломтик свежего несоленого сливочного масла 75 х 35 х 5 мм.
Каждое из перечисленных выше веществ берут в количестве не менее шести в качестве пробных для определения возможного изменения запаха и вкуса и не менее шести в качестве контрольных.
Пробные вещества помещают в чашки Петри, контрольные вещества - в герметично закупоренную стеклянную тару.
Перед испытанием все чашки Петри для пробных веществ и тару для контрольных веществ обрабатывают дымящей азотной кислотой, а затем промывают дистиллированной водой до полного отсутствия запаха.
Пробные вещества в чашках Петри и контрольные вещества в герметично закупоренной стеклянной таре помещают рядом друг с другом в каждый шкаф (витрину, прилавок) или отделение шкафа (витрины, прилавка).
В.1.5 Период испытаний
Пробные вещества и контрольные вещества выдерживают в работающем оборудовании в течение 48 ч, при этом двери (створки, крышки) оборудования, если таковые имеются, должны быть закрыты, а внутри оборудования поддерживают значение температуры в охлаждаемом объеме, соответствующее температурному классу образца по 4.2.2. Через 48 ч пробные вещества закрывают.
Затем пробные вещества и контрольные вещества удаляют из оборудования и подогревают до температуры около 20 °С.
В.2 Проведение экспертизы
В.2.1 Условия проведения экспертизы
Экспертизу пробных веществ и контрольных веществ проводят путем опроса не менее чем трех экспертов-дегустаторов, знакомых с методом испытания, не более чем через 2 ч после удаления пробных веществ и контрольных веществ из оборудования.
Каждому эксперту выдают:
- два комплекта с пробной водой;
- два комплекта с контрольным образцом воды;
- два комплекта с пробным маслом;
- два комплекта с контрольным образцом масла.
Эксперт не должен знать, какие комплекты принадлежат к пробной, а какие - к контрольной категории.
Каждый эксперт независимо друг от друга в письменной форме представляет свое заключение о результатах дегустации каждого комплекта.
В.2.2 Обработка результатов дегустации
Результаты дегустации оценивают по следующей шкале:
Уровень 0: отсутствие посторонних запахов и/или постороннего привкуса.
Уровень 1: легкий посторонний запах и/или посторонний привкус.
Уровень 2: безусловно заметный посторонний запах и/или посторонний привкус.
Уровень 3: явно заметный сильный посторонний запах и/или посторонний привкус.
Если при осреднении отдельных результатов средний уровень оценки отсутствия посторонних запахов и/или постороннего привкуса превышает уровень 1, испытание повторяют.
Повторное испытание проводят в следующей последовательности:
- оттаивание испарителя;
- очистка оборудования по В.1.2;
- работа оборудования без загрузки в течение одной недели;
- повторное оттаивание испарителя;
- установка температуры по В.1.3 для повторного испытания на отсутствие запаха и вкуса.
Приложение ДА
(справочное)
Таблица ДА.1
|
Структурный элемент (раздел, подраздел, пункт, подпункт) |
Модификация | |
|
Раздел 1 |
Дополнить первое предложение первого абзаца после слов "их демонстрации" словами "[далее - торгового холодильного оборудования (ТХО)]". Дополнить второй абзац после слов "предназначенные для использования на" словами "предприятиях общественного" и после слов "продуктами питания" словами "а также на оборудование, устанавливаемое на всех видах транспорта, и оборудование, предназначенное для эксплуатации в тропиках и иных специальных условиях" | |
|
Подраздел 3.1 |
Дополнить в пояснения всех условных обозначений после слов "электромагнитный клапан" словами "подачи хладагента в испаритель" или "подачи хладоносителя в теплообменный аппарат". Дополнить перечень сокращений аббревиатурой "ТХО" - торговое холодильное оборудование (refriqerated commercial equipment) | |
|
Подраздел 3.2 |
Дополнить в первой строке после слов "точках 8 и 4 соответственно" словами "диаграммы состояния "давление-энтальпия" для используемого хладагента". Дополнить во второй строке после слова "оборудования" словами "градусы Цельсия" | |
|
Подраздел 3.3 |
Дополнить в пояснения всех условных обозначений "на входе" или "на выходе" словами "в теплообменный аппарат" или "из теплообменного аппарата". Заменить размерность удельной теплоемкости " кДж/кг·°С" на " кДж/кг·К". Дополнить предпоследнюю строчку после слов "потребляемой насосом" словами "единичного образца оборудования для обеспечения циркуляции вторичного хладоносителя за период в 24 ч. кВт·ч " | |
|
Подпункт 4.1.1.6 |
Изложить в редакции: 4.1.1.6 Противовирусная и антимикробная защита Открытые витрины и лари должны быть оснащены экранами для противовирусной и антимикробной защиты. Дополнить пункт абзацем: Внутренний объем ТХО в части, предназначенной для размещения в ней пищевых продуктов, не должен содержать застойных зон и должен предусматривать возможность осуществления процедур очистки, дезинфекции и сушки его поверхности | |
|
Подпункт 4.1.3.3 |
Дополнить первым абзацем: Волокнистые и допускающие пыление теплоизоляционные материалы изолируют от внутреннего и наружного пространства покрытием, исключающим попадание частиц теплоизоляционного материала в это пространство | |
|
Подпункт 4.1.4.4 |
Дополнить второй абзац после слов "хладагентов и хладоносителей" словами "экологические ограничения на их использование с учетом положений разделов 1.1 и 1.2 Решения коллегии Евразийской экономической комиссии [4], а также возможные опасности, связанные с применением некоторых хладагентов и хладоносителей из-за их токсичности, взрывоопасности, воспламеняемости и т.д. в основном и промежуточном контурах холодильного оборудования, а также с возможностью их попадания на пищевые продукты в случае частичного нарушения герметичности контуров охлаждения. Информация для хладагентов по этому вопросу приведена в [2]. Для выбора хладоносителя теплофизические свойства и параметры безопасности следует уточнять у производителей хладоносителя. Следует учитывать токсикологические характеристики основных компонентов хладоносителя, его возможное влияние на органолептические свойства продуктов, а также на микробиологическую безопасность. Захоронение в объектах размещения отходов производства и потребления ТХО, утратившего свои потребительские свойства, без извлечения хладагентов из указанного оборудования в целях их восстановления, утилизации или уничтожения запрещено" | |
|
Пункт 4.1.6 |
После слов: "Оборудование должно быть оснащено приборами, показывающими температуру воздуха", дополнить словами "в различных, наиболее репрезентативных точках" | |
|
Подпункт 4.1.6.1 |
Заменить "1 °С" на "1 К" | |
|
Подпункт 4.1.6.2 |
Дополнить примечание 4 после слов "В случае неисправности" словами "(выхода значения температуры за пределы допустимого диапазона)" | |
|
Подпункт 4.1.6.3 |
Дополнить после слов "холодильным контуром" словами "либо вторичным контуром промежуточного хладоносителя". Дополнить заголовок таблицы 1 после слова "температур" словом "термометрических". Дополнить таблицу 1 примечанием: "Отличие термометрических контрольных пакетов от обычных пакетов описано в 5.3.1.5" | |
|
Подпункт 5.3.1.1 |
После слов "Освещение должно быть включено непрерывно в течение всего периода проведения испытаний" дополнить словами: "Работа осветительных приборов не должна приводить к повышению температуры воздуха в помещении для проведения испытаний более, чем на 2 К за весь период проведения испытаний". Дополнить последний абзац после слов "коэффициентом излучения" словами "(степенью черноты)" | |
|
Подпункт 5.3.1.2 |
Дополнить третий абзац после слов "трехмерной сетке" словами "которую строят параллельным переносом плоскости двумерной сетки по высоте на расстояние не менее 1 метра" Заменить размерность "°С" в допуске на значение температур на "К" | |
|
Подпункт 5.3.1.3.1 |
Заменить размерность "°С" в допуске на значение температур на "К" | |
|
Подпункт 5.3.1.4 |
Дополнить первый абзац после слов "контрольными пакетами (имитаторами продуктов)" словами "в форме параллелепипедов". Дополнить подпункт б) после слов "невооруженным глазом" словами "человеком с нормальным зрением" Заменить "230" на "230,0 ± 0,1", "764,2" на "764,2 ± 0,1", "5" на "5,0 ± 0,1", "0,8" на "0,8 ± 0,1". Дополнить последний абзац после слова "независимой" словом "аккредитованной" | |
|
Подпункт 5.3.1.7 |
Дополнить первый абзац после слов "свидетельства о поверке" словами "и применяемых в соответствии с требованиями технической документации" | |
|
Подпункт 5.3.2.1 |
Дополнить четвертую строку перечисления во втором абзаце после слов "стеклянной дверью" словами "длиной равной или более 1,6 м" | |
|
Подпункт 5.3.2.3.1 |
Заменить в шестом абзаце "25" на "25 ± 5". Дополнить девятый абзац словами "Толщину каждого слоя деревянных брусков определяет руководитель испытаний" | |
|
Подпункт 5.3.2.3.3.1 |
Дополнить второй абзац после слов "допустимым отклонением ± 75 мм" словами "при этом данное сечение также должно проходить через геометрический центр пакета" | |
|
Подпункт 5.3.2.5 |
Заменить размерность "°С" допуска на значение температур на "К" | |
|
Подпункт 5.3.2.9 |
Дополнить после слов "климатическим классом" словами "согласно 5.3.1.3.1" | |
|
Подпункт 5.3.3.2 |
Дополнить после слов "открытие" словами "и закрытие". Дополнить начало четвертого абзаца словами "В течение каждого часа испытаний" | |
|
Подпункт 5.3.5.3 |
Дополнить второй абзац после слов "данный образец" словами "и которые задействованы за 24-часовой период в течение относительного времени работы оборудования". Дополнить третий абзац после слов "энергии образца" словами "за 24-часовой период в течение относительного времени работы оборудования" | |
|
Подпункт 5.3.6.1.1 |
Дополнить пятый абзац после слов "таких датчиков" словами "оснащают защитой от внешних электромагнитных излучений" | |
|
Пункт 6.2.1 |
Дополнить после слов "створок и крышек" словами "указывают в акте испытаний" | |
|
Пункт В.1.5 |
Дополнить после слов "значение температуры" словами "в охлаждаемом объеме, соответствующее температурному классу образца по 4.2.2" | |
|
Пункт В.2 |
Дополнить последний абзац после слов "о результатах дегустации" словами "каждого комплекта" |
Библиография
|
[1] |
ИСО 23953-1:2005 |
Refrigerated display cabinets - Part 1: Vocabulary (Шкафы, прилавки и витрины охлаждаемые. Часть 1. Термины и определения) |
|
[2] |
EN 378-1 |
Refrigerating systems and heat pumps - Safety and environmental requirements - Part 1: Basic requirements, definitions, classification and selection criteria (Установки холодильные и тепловые насосы. Требования безопасности и охраны окружающей среды. Часть 1. Основные требования, определения, классификация и критерии выбора) |
|
[3] |
EN 12830 |
Temperature recorders for the transport, storage and distribution of chilled, frozen, deep-frozen/quick-frozen food and ice-cream - Tests, performance, suitability [Регистраторы температурные для транспортирования, хранения и распределения охлажденных, замороженных и глубоко/быстрозамороженных пищевых продуктов и мороженого. Испытания, эксплуатационные характеристики и пригодность к применению (редакция, согласованная ЕС)] |
|
[4] |
Решение Коллегии Евразийской экономической комиссии от 16.08.2012 N 134 (ред. от 04.06.2013) "О нормативных правовых актах в области нетарифного регулирования" | |
|
[5] |
ИСО 9050 |
Glass in building; determination of light transmittance, solar direct transmittance, total solar energy transmittance and ultraviolet transmittance, and related glazing factors (Стекло строительное. Определение коэффициентов пропускания света, пропускания прямых солнечных лучей, полного пропускания солнечной энергии и пропускания ультрафиолетовых лучей и соответствующих характеристик остекления) |


